Нормативные документы размещены исключительно с целью ознакомления учащихся ВУЗов, техникумов и училищ.
Объявления:

МЕЖГОСУДАРСТВЕННЫЙ СТАНДАРТ

ОГНЕУПОРЫ И ОГНЕУПОРНОЕ СЫРЬЕ

МЕТОД ОПРЕДЕЛЕНИЯ ОКСИДА ЖЕЛЕЗА (III)

ГОСТ 2642.5-97

МЕЖГОСУДАРСТВЕННЫЙ СОВЕТ
ПО СТАНДАРТИЗАЦИИ, МЕТРОЛОГИИ И СЕРТИФИКАЦИИ

Минск

ПРЕДИСЛОВИЕ.

1 РАЗРАБОТАН Межгосударственным Техническим комитетом по стандартизации МТК 9; Украинским Государственным научно-исследовательским институтом огнеупоров (УкрНИИО).

ВНЕСЕН Государственным комитетом Украины по стандартизации, метрологии и сертификации.

2 ПРИНЯТ Межгосударственным Советом по стандартизации, метрологии и сертификации (протокол № 11 от 23 апреля 1997 г.).

За принятие проголосовали:

Наименование государства

Наименование национального органа по стандартизации

Азербайджанская Республика

Азгосстандарт

Республика Армения

Армгосстандарт

Республика Беларусь

Госстандарт Беларуси

Республика Казахстан

Госстандарт Республики Казахстан

Киргизская Республика

Киргизстандарт

Российская Федерация

Госстандарт России

Республика Таджикистан

Таджикгосстандарт

Туркменистан

Главная государственная инспекция Туркменистана

Республика Узбекистан

Узгосстандарт

Украина

Госстандарт Украины

3. Постановлением Государственного комитета Российской Федерации по стандартизации и метрологии от 15 декабря 1999 г. № 513-ст межгосударственный стандарт ГОСТ 2642.5-97 введен в действие непосредственно в качестве государственного стандарта Российской Федерации с 1 июля 2000 г.

4. ВЗАМЕН ГОСТ 2642.5-86.

СОДЕРЖАНИЕ

Предисловие. 1

1. Область применения. 2

2. Нормативные ссылки. 2

3. Общие требования. 2

4. Фотометрический метод определения оксида железа (iii) с сульфосалициловой кислотой (при массовой доле от 0,05 до 6 %). 2

5. Комплексонометрический метод определения оксида железа (iii) (при массовой доле от 0,3 до 10 %). 4

6. Титриметрический титанометрический метод определения оксида железа (iii) (при массовой доле от 2,5 до 20 %). 5

7. Фотометрический метод определения оксида железа (iii) с о-фенантролином (при массовой доле от 0,01 до 2,5 %). 7

8. Атомно-абсорбционный метод определения оксида железа (iii) (при массовой доле от 0,01 до 10 %). 8

9. Фотометрический метод определения металлического железа в муллитовых, муллитокорундовых и корундовых огнеупорных материалах и изделиях (при массовой доле от 0,01 до 0,6 %). 8

МЕЖГОСУДАРСТВЕННЫЙ СТАНДАРТ

ОГНЕУПОРЫ И ОГНЕУПОРНОЕ СЫРЬЕ

Метод определения оксида железа (III)

Refractories and refractory raw materials.
Method for determination of iron (III) oxide

ГОСТ
2642.5-97

Дата введения 2000-07-01

1. ОБЛАСТЬ ПРИМЕНЕНИЯ.

Настоящий стандарт распространяется на огнеупорное сырье, материалы и изделия кремнеземистые, алюмосиликатные, глиноземистые, глиноземоизвестковые, высокомагнезиальные, магнезиально-известковые, магнезиально-шпинелидные, магнезиально-силикатные и устанавливает методы определения оксида железа (III):

- фотометрические - с сульфосалициловой кислотой от 0,05 до 6 % и о-фенантролином от 0,01 до 2,5 %;

- комплексонометрический - от 0,3 до 10 %;

- титриметрический титанометрический - от 2,5 до 20 %;

- атомно-абсорбционный - от 0,01 до 10 %;

- фотометрический метод определения металлического железа - от 0,01 до 0,6 %.

2. НОРМАТИВНЫЕ ССЫЛКИ.

В настоящем стандарте использованы ссылки на следующие стандарты:

ГОСТ 83-79 Натрий углекислый. Технические условия.

ГОСТ 199-78 Натрий уксуснокислый 3-водный. Технические условия.

ГОСТ 2642.0-86 Огнеупоры и огнеупорное сырье. Общие требования к методам анализа.

ГОСТ 2642.3-97 Огнеупоры и огнеупорное сырье. Методы определения оксида кремния (IV).

ГОСТ 2642.4-97 Огнеупоры и огнеупорное сырье. Методы определения оксида алюминия.

ГОСТ 3117-78 Аммоний уксуснокислый. Технические условия.

ГОСТ 3118-77 Кислота соляная. Технические условия.

ГОСТ 3760-79 Аммиак водный. Технические условия.

ГОСТ 4139-75 Калий роданистый. Технические условия.

ГОСТ 4199-76 Натрий тетраборнокислый 10-водный. Технические условия.

ГОСТ 4204-77 Кислота серная. Технические условия.

ГОСТ 4221-76 Калий углекислый. Технические условия.

ГОСТ 4478-78 Кислота сульфосалициловая 2-водная. Технические условия.

ГОСТ 5456-79 Гидроксиламина гидрохлорид. Технические условия.

ГОСТ 6563-75 Изделия технические из благородных металлов и сплавов. Технические условия.

ГОСТ 7172-76 Калий пиросернокислый.

ГОСТ 10484-78 Кислота фтористоводородная. Технические условия.

ГОСТ 10652-73 Соль динатриевая этилендиамин-N, N, N¢, N¢-тетрауксусной кислоты 2-водная (трилон Б).

ГОСТ 10929-76 Водорода пероксид. Технические условия.

ГОСТ 13610-79 Железо карбонильное радиотехническое. Технические условия.

ГОСТ 13997.5-84 Материалы и изделия огнеупорные цирконийсодержащие. Методы определения окиси железа.

ГОСТ 27067-86 Аммоний роданистый. Технические условия.

3. ОБЩИЕ ТРЕБОВАНИЯ.

Общие требования к методам анализа и безопасности труда - по ГОСТ 2642.0.

4. ФОТОМЕТРИЧЕСКИЙ МЕТОД ОПРЕДЕЛЕНИЯ ОКСИДА ЖЕЛЕЗА (III) С СУЛЬФОСАЛИЦИЛОВОЙ КИСЛОТОЙ (ПРИ МАССОВОЙ ДОЛЕ ОТ 0,05 ДО 6 %).

4.1. Сущность метода.

Метод основан на измерении оптической плотности образующегося в аммиачной среде комплекса трисульфосалицилата железа при использовании сульфосалициловой кислоты в качестве комплексообразователя.

4.2. Аппаратура, реактивы и растворы.

Печь муфельная с терморегулятором, обеспечивающая нагрев до температуры 950 - 1000 °С.

Тигли платиновые № 100-7 и № 100-10 по ГОСТ 6563.

Колориметр фотоэлектрический лабораторный или спектрофотометр.

Натрий углекислый по ГОСТ 83.

Натрий тетраборнокислый 10-водный по ГОСТ 4199, обезвоживают при температуре (400 ± 20) °С.

Калий углекислый по ГОСТ 4221.

Смесь для сплавления: углекислый натрий, тетраборнокислый натрий безводный и углекислый калий смешивают в отношении 1 : 1 : 1 или углекислый натрий и тетраборнокислый натрий - в отношении 2 : 1.

Калий пиросернокислый по ГОСТ 7172.

Кислота серная по ГОСТ 4204, разбавленная 1 : 9.

Кислота фтористоводородная по ГОСТ 10484.

Кислота соляная по ГОСТ 3118, разбавленная 1 : 1 и 1 : 3.

Аммиак водный по ГОСТ 3760.

Кислота сульфосалициловая 2-водная по ГОСТ 4478, раствор с массовой долей 30 %.

Аммоний виннокислый средний по нормативной документации, раствор с массовой долей 25 %.

Железа оксид по нормативной документации, х. ч., или железо карбонильное по ГОСТ 13610.

Стандартный раствор оксида железа (III): 0,1 г высушенного при (110 ± 5) °С в течение 1 ч оксида железа помещают в коническую колбу вместимостью 500 см3, приливают 50 см3 соляной кислоты (1 : 1) и, накрыв колбу, нагревают на водяной бане до полного растворения. Затем раствор охлаждают, переводят в мерную колбу вместимостью 1000 см3, доводят водой до метки и перемешивают. Стандартный раствор имеет массовую концентрацию оксида железа (III) 0,0001 г/см3 (раствор А).

Градуировочный стандартный раствор оксида железа (III): 20 см3 стандартного раствора А пипеткой переносят в мерную колбу вместимостью 100 см3, прибавляют 1 см3 серной кислоты (1 : 9), доводят водой до метки и перемешивают. Градуировочный стандартный раствор имеет массовую концентрацию оксида железа (III) 0,00002 г/см3 (раствор Б).

4.3. Проведение анализа.

4.3.1. Исходные растворы для проведения анализа готовятся следующим образом.

Для получения исходного раствора навеску материала массой 0,2 - 0,5 г смешивают в платиновом тигле с 3 - 5 г смеси для сплавления и сплавляют в муфельной печи при температуре (950 ± 50) °С в течение 20 - 40 мин. Остывший сплав помещают в стакан, в который предварительно налито 60 см3 нагретой до 60 - 70 °С соляной кислоты (1 : 3); растворение ведут при нагревании.

Раствор охлаждают, переводят в мерную колбу вместимостью 250 см3, доводят до метки водой и перемешивают (раствор 1).

При проведении анализа кремнеземистых, полукислых, шамотных огнеупоров и огнеупорных глин с массовой долей оксида кремния (IV) более 40 % исходный раствор готовят по ГОСТ 2642.4, 3.3.1 (раствор 2).

Для определения оксида железа (III) можно использовать аликвотную часть раствора, полученного по ГОСТ 2642.3, разделы 4, 7, 9.

4.3.2. Объем аликвотной части исходных растворов 1 или 2, в зависимости от массовой доли оксида железа (III), приведен в таблице 1.

Таблица 1

Массовая доля оксида железа (III), %

Объем аликвотной части раствора, см3

От 0,05 до 1,00 включ.

25

Св. 1,00 » 3,00 »

10

» 3,00 » 6,00 »

5

Аликвотную часть раствора помещают в мерную колбу вместимостью 100 см3, прибавляют 2 см3 виннокислого аммония, 15 см3 раствора сульфосалициловой кислоты, раствор аммиака до появления устойчивой желтой окраски и еще 3 см3 в избыток. Раствор охлаждают, доводят до метки водой и перемешивают, в случае выпадения осадка или появления мути раствор следует отфильтровать.

Оптическую плотность раствора измеряют на фотоколориметре с синим светофильтром (область светопропускания 400 - 450 нм) в кювете толщиной слоя 30 или 50 мм (допускается использовать кюветы другой толщиной слоя в зависимости от типа колориметра при выполнении условий пункта 12 ГОСТ 2642.0). В качестве раствора сравнения используют раствор контрольного опыта, содержащий все применяемые реактивы.

Массу оксида железа (III) в граммах находят по градуировочному графику.

4.3.3. Для построения градуировочного графика в мерные колбы вместимостью 100 см3 помещают аликвотные части градуировочного стандартного раствора Б: 1,0; 2,5; 5,0; 10,0; 15,0; 20,0; 25,0; 30,0 см3, что соответствует 0,00002; 0,00005; 0,0001; 0,0002; 0,0003; 0,0004; 0,0005; 0,0006 г оксида железа (III).

Далее анализ проводят по 4.3.2.

По найденным значениям оптической плотности и соответствующим им массам оксида железа (III) в граммах строят градуировочный график.

4.4. Обработка результатов.

4.4.1. Массовую долю оксида железа (III) X, %, вычисляют по формуле

                                                      (1)

где т - масса оксида железа (III), найденная по градуировочному графику, г;

250 - исходный объем раствора, см3;

V - объем аликвотной части раствора, см3;

m1 - масса навески, г.

4.4.2. Нормы точности и нормативы контроля точности определений массовой доли оксида железа (III) приведены в таблице 2.

Таблица 2

В процентах

Массовая доля оксида железа (III), %

Нормы точности и нормативы контроля точности

D

dк

d2

d

От 0,01 до 0,02 включ.

0,007

0,009

0,008

0,005

Св. 0,02 » 0,05 »

0,011

0,014

0,012

0,007

» 0,05 » 0,1 »

0,016

0,020

0,017

0,011

» 0,1 » 0,2 »

0,022

0,028

0,023

0,014

» 0,2 » 0,5 »

0,04

0,05

0,04

0,02

» 0,5 » 1,0 »

0,05

0,06

0,05

0,03

» 1 » 2 »

0,07

0,09

0,08

0,05

» 2 » 5 »

0,11

0,14

0,12

0,07

» 5 » 10 »

0,16

0,20

0,17

0,11

» 10 » 20 »

0,22

0,28

0,23

0,14

5. КОМПЛЕКСОНОМЕТРИЧЕСКИЙ МЕТОД ОПРЕДЕЛЕНИЯ ОКСИДА ЖЕЛЕЗА (III) (ПРИ МАССОВОЙ ДОЛЕ ОТ 0,3 ДО 10 %).

5.1. Сущность метода.

Метод основан на титровании железа раствором трилона Б при рН 1,5 - 2,0 в присутствии сульфосалициловой кислоты в качестве индикатора.

5.2. Реактивы и растворы.

Соль динатриевая этилендиамин-N, N, N¢, N¢-тетрауксусной кислоты 2-водная (трилон Б) по ГОСТ 10652, раствор молярной концентрации 0,025 моль/дм3.

Кислота соляная по ГОСТ 3118, раствор молярной концентрации 1 моль/дм3.

Индикаторная бумага Конго.

Стандартный раствор оксида железа (III): 1,0 г оксида железа (III), высушенного при температуре (110 ± 5) °С в течение 1 ч, помещают в коническую колбу вместимостью 500 см3, приливают 100 см3 раствора соляной кислоты (1 : 1) и, накрыв колбу, нагревают на водяной бане до полного растворения. Затем раствор охлаждают, переводят в мерную колбу вместимостью 1000 см3, доливают до метки и перемешивают. Стандартный раствор имеет массовую концентрацию оксида железа (III) 0,001 г/см3 (раствор В).

Остальные реактивы и растворы - по 4.2.

Массовая концентрация раствора трилона Б по оксиду железа (III) устанавливается следующим образом.

В коническую колбу вместимостью 300 см3 помещают 20 см3 стандартного раствора оксида железа (III), приливают примерно 100 см3 воды и 2 - 3 см3 соляной кислоты. Раствор нагревают до 60 - 70 °С, нейтрализуют аммиаком до изменения цвета бумаги Конго (появления легкой мути), приливают 10 см3 раствора соляной кислоты 1 моль/дм3, несколько капель раствора сульфосалициловой кислоты в качестве индикатора и титруют раствором трилона Б от красно-фиолетовой до соломенно-желтой окраски раствора.

Массовую концентрацию трилона Б С, г/см3 оксида железа (III), вычисляют по формуле

                                                           (2)

где 20 - объем стандартного раствора железа, см3;

0,001 - массовая концентрация стандартного раствора оксида железа (III), г/см3;

V - объем раствора трилона Б, израсходованного на титрование, см3.

Выполняют не менее трех титрований и вычисляют средний результат.

5.3. Проведение анализа.

Исходные растворы готовят по 4.3.1 или по ГОСТ 2642.4, 3.3.1; 3.3.2; 3.3.4.3.

Полученные исходные растворы нагревают до 60 - 70 °С и нейтрализуют раствором аммиака до изменения цвета бумаги Конго (выпадение легкой мути).

Затем прибавляют 10 см3 раствора соляной кислоты 1 моль/дм3, несколько капель раствора сульфосалициловой кислоты и титруют раствором трилона Б до перехода окраски раствора из красно-фиолетовой в соломенно-желтую.

5.4. Обработка результатов.

5.4.1. Массовую долю оксида железа (III) X1, %, вычисляют по формуле

                                                         (3)

где V1 - объем раствора трилона Б, израсходованного на титрование, см3;

С - массовая концентрация раствора трилона Б, г/см3;

т - масса навески, г.

5.4.2. Нормы точности и нормативы контроля точности определений массовой доли оксида железа (III) приведены в таблице 2.

6. ТИТРИМЕТРИЧЕСКИЙ ТИТАНОМЕТРИЧЕСКИЙ МЕТОД ОПРЕДЕЛЕНИЯ ОКСИДА ЖЕЛЕЗА (III) (ПРИ МАССОВОЙ ДОЛЕ ОТ 2,5 ДО 20 %).

6.1. Сущность метода.

Метод основан на восстановлении роданидного комплекса железа раствором сернокислой или солянокислой соли титана (III). Метод имеет большие преимущества при анализе хромсодержащих огнеупоров, так как не требует предварительного отделения хрома.

6.2. Аппаратура, реактивы и растворы.

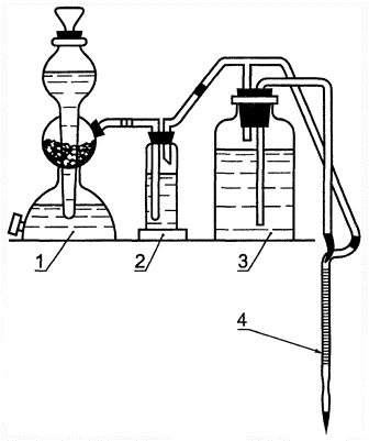
Установка для хранения раствора соли титана (III) приведена на рисунке 1.

Тигли платиновые по ГОСТ 6563 № 100-10.

1 - аппарат Киппа; 2 - промывалка для газа, заполненная раствором сернокислого титана (III) 50 г/дм3; 3 - сосуд с рабочим раствором; 4 - бюретка.

Рисунок 1.

Натрий углекислый по ГОСТ 83.

Калий пиросернокислый по ГОСТ 7172.

Кислота серная по ГОСТ 4204.

Кислота соляная по ГОСТ 3118, разбавленная 1 : 1.

Кислота фтористоводородная по ГОСТ 10484.

Титан (III) сернокислый, раствор с массовой долей 15 % по нормативной документации, разбавленный 1 : 10. На каждый 1 дм3 разбавленного раствора соли титана прибавляют 10 см3 серной кислоты. Раствор хранят в среде водорода или углекислого газа в установке, показанной на рисунке 1.

Калий роданистый по ГОСТ 4139, раствор с массовой долей 10 %.

Аммоний роданистый по ГОСТ 27067, раствор с массовой долей 5 %.

Железа оксид по нормативной документации, х. ч., или железо карбонильное по ГОСТ 13610.

Стандартный раствор оксида железа (III) В (см. 5.2).

Массовую концентрацию раствора сернокислого титана (III) по оксиду железа (III) устанавливают следующим образом.

Отмеряют 25 см3 стандартного раствора оксида железа (III) в коническую колбу вместимостью 300 см3, прибавляют 10 см3 раствора соляной кислоты (1 : 1), 50 - 70 см3 воды, 5 см3 раствора роданистого калия или роданистого аммония, 0,3 - 0,5 г углекислого натрия и титруют при энергичном перемешивании раствором сернокислого титана (III) до исчезновения красной окраски.

Массовую концентрацию раствора сернокислого титана (III) C1, г/см3, оксида железа (III), вычисляют по формуле

                                                          (4)

где 25 - объем стандартного раствора В оксида железа (III), см3;

0,001 - массовая концентрация стандартного раствора В по оксиду железа (III), г/см3;

V - объем раствора сернокислого титана (III), израсходованного на титрование, см3.

6.3. Проведение анализа.

Для проведения анализа исходные растворы готовят по 4.3.1 (кроме хромсодержащих материалов). После растворения сплавов полученные растворы переводят в коническую колбу вместимостью 300 см3.

При анализе хромсодержащих материалов навеску материала массой 0,5 г смешивают в платиновом тигле № 100-10 с 7 - 10 г пиросернокислого калия и сплавляют в муфельной печи при температуре 850 - 900 °С до полного разложения пробы. Сплав охлаждают и растворяют горячей водой с добавлением 15 - 20 см3 соляной кислоты.

В полученные исходные растворы прибавляют по 5 см3 раствора роданистого калия или роданистого аммония, 0,3 - 0,5 г углекислого натрия и сразу титруют раствором сернокислого титана (III) до исчезновения красной окраски раствора.

6.4. Обработка результатов.

6.4.1. Массовую долю оксида железа (III) Х2, %, вычисляют по формуле

                                                         (5)

где V - объем раствора сернокислого титана (III), израсходованного на титрование, см3;

С1 - массовая концентрация раствора сернокислого титана (III), выраженная в г/см3 оксида железа (III);

т - масса навески, г.

6.4.2. Нормы точности и нормативы контроля точности определений массовой доли оксида железа (III) приведены в таблице 2.

7. ФОТОМЕТРИЧЕСКИЙ МЕТОД ОПРЕДЕЛЕНИЯ ОКСИДА ЖЕЛЕЗА (III) С О-ФЕНАНТРОЛИНОМ (ПРИ МАССОВОЙ ДОЛЕ ОТ 0,01 ДО 2,5 %).

7.1. Сущность метода.

Метод основан на предварительном восстановлении общего железа гидроксиламином соляно-кислым. Двухвалентные ионы железа образуют с 1,10-фенантролином оранжево-красный комплекс, оптическую плотность которого измеряют при длине волны 510 нм или при использовании зеленого светофильтра.

7.2. Аппаратура, реактивы и растворы.

Спектрофотометр или колориметр фотоэлектрический лабораторный.

Кислота соляная по ГОСТ 3118, разбавленная 1 : 1.

Кислота серная по ГОСТ 4204, разбавленная 1 : 9.

Натрий уксуснокислый 3-водный по ГОСТ 199, раствор с массовой долей 20 % или аммоний уксуснокислый по ГОСТ 3117, раствор с массовой долей 20 %.

о-Фенантролин, раствор с массовой долей 0,25 %.

Гидроксиламин солянокислый по ГОСТ 5456, раствор с массовой долей 10 %.

Пероксид водорода по ГОСТ 10929, раствор с массовой долей 3 %.

Бумага индикаторная универсальная по нормативной документации.

Железа оксид по нормативной документации, х. ч.

Стандартный раствор железа массовой концентрации оксида железа (III) 0,0001 г/см3 (раствор А), готовят по 4.2.

Градуировочный стандартный раствор железа массовой концентрации оксида железа (III) 0,00001 г/см : 20 см3 стандартного раствора А переносят пипеткой в мерную колбу вместимостью 200 см3, прибавляют 2 см3 серной кислоты (1:9), доводят до метки водой и перемешивают (раствор Б).

7.3. Проведение анализа.

7.3.1. Исходные растворы для проведения анализа готовят по 4.3.1, можно также использовать аликвотную часть раствора, полученного после отделения оксида кремния (IV) по ГОСТ 2642.3, разделы 4, 6, 7, 9.

В мерную колбу вместимостью 100 см3 помещают аликвотную часть раствора, объем которой приведен в таблице 3.

Таблица 3

Массовая доля оксида железа (III), %

Объем аликвотной части раствора, см3

От 0,01 до 0,5 включ.

25

Св. 0,5 » 1,5 »

10

» 1,5 » 2,5 »

5

Приливают 2 см3 раствора гидроксиламина солянокислого, перемешивают и оставляют стоять на 10 мин. Затем добавляют 5 см3 раствора о-фенантролина, 10 - 15 см3 раствора натрия уксуснокислого или аммония уксуснокислого, рН раствора 3,5 - 4 (по универсальной индикаторной бумаге). Доводят водой до метки, перемешивают и через 15 мин измеряют оптическую плотность раствора при длине волны 510 нм или при использовании зеленого светофильтра в кювете толщиной поглощающего слоя 30 мм.

Раствором сравнения служит раствор контрольного опыта, содержащий все применяемые реактивы. Массу оксида железа (III) в граммах находят по градуировочному графику, который строят в тех же условиях.

7.3.2. Для построения градуировочного графика в мерные колбы вместимостью 100 см3 отмеряют аликвотные части градуировочного стандартного раствора Б: 0,5; 1,0; 5,0; 10,0; 15,0; 20,0; 25,0; 30,0 см3, что соответствует 0,000005; 0,00001; 0,00005; 0,0001; 0,00015; 0,0002; 0,00025; 0,0003 г оксида железа (III).

Далее поступают, как указано в 7.3.1. По найденным значениям оптической плотности и соответствующим им массам оксида железа (III) в граммах строят Градуировочный график.

7.4. Обработка результатов.

7.4.1. Массовую долю оксида железа (III) Х3, %, вычисляют по формуле

                                                          (6)

где т - масса оксида железа (III), найденная по градуировочному графику, г;

V - общий объем исходного раствора, см3;

m1 - масса навески, г;

V1 - объем аликвотной части раствора, см3.

7.4.2. Нормы точности и нормативы контроля точности определений массовой доли оксида железа (III) приведены в таблице 2.

8. АТОМНО-АБСОРБЦИОННЫЙ МЕТОД ОПРЕДЕЛЕНИЯ ОКСИДА ЖЕЛЕЗА (III) (ПРИ МАССОВОЙ ДОЛЕ ОТ 0,01 ДО 10 %).

8.1. Сущность метода.

Метод основан на измерении атомной абсорбции железа в пламени воздух-ацетилен при длине волны 248 нм.

8.2. Аппаратура, реактивы и растворы.

Атомно-абсорбционный спектрофотометр с источником излучения для железа.

Фоновый раствор: около 5 г смеси для сплавления растворяют в 60 см3 раствора соляной кислоты (1 : 3). Затем раствор переводят в мерную колбу вместимостью 250 см3, доводят водой до метки и перемешивают.

Стандартный раствор оксида железа (III) и остальные реактивы - по 4.2.

8.3. Проведение анализа.

8.3.1. Исходные растворы для проведения анализа готовят по 4.3.1.

8.3.2. Для определения массовой доли оксида железа (III) аликвотную часть раствора от 5 до 50 см3 в зависимости от массовой доли оксида железа (III) помещают в мерную колбу вместимостью 100 см3, доводят водой до метки, перемешивают и измеряют атомную абсорбцию железа в пламени воздух-ацетилен при длине волны 248 нм.

Массу оксида железа (III) в граммах находят по градуировочному графику.

8.3.3. Для построения градуировочного графика в мерные колбы вместимостью 100 см3 отмеряют аликвотные части градуировочного стандартного раствора Б: 1,0; 2,5; 5,0; 10,0; 15,0; 20,0; 25,0 см3, что соответствует 0,00002; 0,00005; 0,0001; 0,0002; 0,0003; 0,0004; 0,0005 г оксида железа (III), приливают по 25 см3 фонового раствора, доводят водой до метки, перемешивают и измеряют атомную абсорбцию железа в пламени воздух-ацетилен при длине волны 248 нм.

По найденным значениям абсорбции, за вычетом абсорбции контрольного опыта, и соответствующим им массам оксида железа (III) в граммах строят градуировочный график. Градуировочный график строят для каждой партии проб.

8.4. Обработка результатов.

8.4.1. Массовую долю оксида железа (III) Х4, %, вычисляют по формуле

                                                         (7)

где m1 - масса оксида железа (III), найденная по градуировочному графику, г;

т - масса навески, содержащаяся в 100 см3 конечного раствора, г.

8.4.2. Нормы точности и нормативы контроля точности определений массовой доли оксида железа (III) приведены в таблице 2.

9. ФОТОМЕТРИЧЕСКИЙ МЕТОД ОПРЕДЕЛЕНИЯ МЕТАЛЛИЧЕСКОГО ЖЕЛЕЗА В МУЛЛИТОВЫХ, МУЛЛИТОКОРУНДОВЫХ И КОРУНДОВЫХ ОГНЕУПОРНЫХ МАТЕРИАЛАХ И ИЗДЕЛИЯХ (ПРИ МАССОВОЙ ДОЛЕ ОТ 0,01 ДО 0,6 %).

9.1. Определение массовой доли металлического железа проводят по ГОСТ 13997.5, раздел 3.

9.2. Нормы точности и нормативы контроля точности определений массовой доли металлического железа в пересчете на оксид железа (III) приведены в таблице 2.

Ключевые слова: огнеупоры, огнеупорное сырье, оксид железа (III), комплексонометрический метод, титриметрический метод, фотометрический метод, атомно-абсорбционный метод

 

2008-2013. ГОСТы, СНиПы, СанПиНы - Нормативные документы - стандарты.