
ГОСУДАРСТВЕННЫЕ СТАНДАРТЫ СОЮЗА ССР
ВИНТЫ САМОНАРЕЗАЮЩИЕ
С ПОТАЙНОЙ ГОЛОВКОЙ
ДЛЯ МЕТАЛЛА И ПЛАСТМАССЫ
ГОСТ 10619-80*
Государственный комитет СССР по стандартам
МОСКВА - 1986
ГОСУДАРСТВЕННЫЙ СТАНДАРТ СОЮЗА ССР
|
ВИНТЫ САМОНАРЕЗАЮЩИЕ С ПОТАЙНОЙ ГОЛОВКОЙ ДЛЯ МЕТАЛЛА И ПЛАСТМАССЫ Конструкция и размеры Self-tapping countersunk screws |
ГОСТ Взамен в
части винтов |
Постановлением Государственного комитета СССР по стандартам от 30 декабря 1980 г. № 6109 срок введения установлен
с 01.01.82
Несоблюдение стандарта преследуется по закону
1. Настоящий стандарт распространяется на самонарезающие винты с потайной головкой для металла и пластмассы класса точности В с номинальным диаметром резьбы от 2,5 до 8 мм.
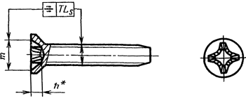
2. Конструкция и размеры винтов должны соответствовать указанным на чертеже и в табл. 1, 2.
Исполнение 1

Исполнение 2

____________
* Размер для справок.
Таблица 1
Размеры в мм
|
2,5 |
3 |
4 |
5 |
6 |
8 |
|||
|
Шаг резьбы Р |
крупный |
1,25 |
1,75 |
2,00 |
2,5 |
3,5 |
||
|
мелкий |
1,0 |
1,5 |
1,75 |
2,0 |
||||
|
Диаметр головки D |
Номин. |
4,7 |
5,6 |
7,4 |
9,2 |
11,0 |
14,5 |
|
|
Пред. откл. по h 14 |
-0,30 |
-0,36 |
-0,43 |
|||||
|
Высота головки k, не более |
1,50 |
1,65 |
2,20 |
2,50 |
3,00 |
4,00 |
||
|
Ширина шлица п |
Номин. |
0,6 |
0,8 |
1,0 |
1,2 |
1,6 |
2,0 |
|
|
Не менее |
0,66 |
0,86 |
1,06 |
1,26 |
1,66 |
2,06 |
||
|
Не более |
0,80 |
1,00 |
1,20 |
1,51 |
1,91 |
2,31 |
||
|
Глубина шлица t |
Не менее |
0,5 |
0,6 |
0,8 |
1,0 |
1,2 |
1,6 |
|
|
Не более |
0,73 |
0,85 |
1,10 |
1,35 |
1,60 |
2,10 |
||
|
Допуск биения в заданном направлении (2IT14) |
0,60 |
0,72 |
0,86 |
|||||
|
Допуск симметричности шлица относительно стержня в диаметральном выражении (2IT14) |
0,50 |
0,60 |
0,72 |
|||||
|
Номер крестообразного шлица |
1 |
2 |
3 |
|||||
|
Диаметр крестообразного шлица m, не более |
2,6 |
2,8 |
4,0 |
4,5 |
6,5 |
7,4 |
||
|
Глубина крестообразного шлица, h |
1,05 |
1,25 |
1,55 |
2,05 |
2,45 |
3,40 |
||
|
Глубина вхождения калибра в крестообразный шлиц |
Не более |
1,2 |
1,4 |
1,8 |
2,3 |
3,0 |
3,9 |
|
|
Не менее |
0,9 |
1,1 |
1,3 |
1,8 |
2,5 |
3,4 |
||
|
Недовод резьбы, не более |
0,8 |
1,0 |
||||||
Примечание. Крестообразный шлиц - по ГОСТ 10753-80.
Таблица 2
мм
|
Длина винта l |
Номинальный диаметр резьбы d |
||||||
|
Номин. |
Пред. откл. по js 17 |
2,5 |
3 |
4 |
5 |
6 |
8 |
|
6 |
± 0,75 |
|
|
- |
- |
- |
- |
|
8 |
|
|
|
- |
- |
- |
|
|
10 |
|
|
|
|
- |
- |
|
|
12 |
± 0,90 |
|
|
|
|
|
- |
|
14 |
|
|
|
|
|
- |
|
|
16 |
|
|
|
|
|
|
|
|
(18) |
|
|
Стандартные длины |
|
|||
|
20 |
± 1,05 |
- |
|
|
|
|
|
|
(22) |
- |
- |
|
|
|
|
|
|
25 |
- |
- |
|
|
|
|
|
|
30 |
- |
- |
|
|
|
|
|
|
35 |
± 1,25 |
- |
- |
|
|
|
|
|
40 |
- |
- |
- |
|
|
|
|
|
45 |
- |
- |
- |
|
|
|
|
|
50 |
- |
- |
- |
- |
|
|
|
Примечание. Длины l, заключенные в скобки, применять не рекомендуется.
Пример условного обозначения:
винта в исполнении 1, диаметром 5 мм, длиной 30 мм, из материала группы 01, без покрытия, с крупным шагом резьбы
Винт 5´30.01 ГОСТ 10619-80
То же, в исполнении 2, диаметром 5 мм, с мелким шагом резьбы, длиной 30 мм, из материала группы 01, с цинковым покрытием толщиной 6 мкм, хроматированным
Винт 2-5´1.5´30.01.016 ГОСТ 10619-80
(Измененная редакция, Изм. № 1).
3. Технические требования, резьба, методы контроля, правила приемки, упаковка и маркировка - по ГОСТ 10618-80.
4. Теоретическая масса винтов указана в справочном приложении 1.
5. (Исключен, Изм. № 1).
Справочное
|
Длина винта l, мм |
Номинальный диаметр резьбы d, мм |
|||||
|
2,5 |
3 |
4 |
5 |
6 |
8 |
|
|
Масса 1000 шт. стальных винтов с крупным шагом резьбы, кг » |
||||||
|
6 |
0,20 |
0,30 |
- |
- |
- |
- |
|
8 |
0,26 |
0,38 |
0,72 |
- |
- |
- |
|
10 |
0,32 |
0,46 |
0,86 |
1,34 |
- |
- |
|
12 |
0,37 |
0,54 |
1,00 |
1,56 |
2,48 |
- |
|
14 |
0,43 |
0,62 |
1,14 |
1,78 |
2,81 |
- |
|
16 |
0,49 |
0,70 |
1,28 |
2,00 |
3,14 |
4,21 |
|
18 |
0,54 |
0,78 |
1,42 |
2,22 |
3,47 |
4,78 |
|
20 |
- |
0,86 |
1,56 |
2,44 |
3,80 |
5,35 |
|
22 |
- |
- |
1,70 |
2,66 |
4,13 |
5,92 |
|
25 |
- |
- |
1,91 |
2,99 |
4,62 |
6,77 |
|
30 |
- |
- |
2,19 |
3,54 |
5,43 |
8,19 |
|
35 |
- |
- |
2,47 |
4,09 |
6,24 |
9,61 |
|
40 |
- |
- |
- |
4,64 |
7,05 |
11,03 |
|
45 |
- |
- |
- |
5,19 |
7,86 |
12,45 |
|
50 |
- |
- |
- |
- |
8,67 |
13,87 |
ПРИЛОЖЕНИЕ 2. (Исключено, Изм. № 1).