
ГОСУДАРСТВЕННЫЙ СТАНДАРТ СОЮЗА ССР
ГАЗЫ
УГЛЕВОДОРОДНЫЕ СЖИЖЕННЫЕ
ТОПЛИВНЫЕ ДЛЯ КОММУНАЛЬНО-БЫТОВОГО
ПОТРЕБЛЕНИЯ
ТЕХНИЧЕСКИЕ УСЛОВИЯ
ГОСТ 20448-90
ИЗДАТЕЛЬСТВО
СТАНДАРТОВ
Москва
ГОСУДАРСТВЕННЫЙ СТАНДАРТ СОЮЗА ССР
|
ГАЗЫ УГЛЕВОДОРОДНЫЕ СЖИЖЕННЫЕ Технические условия Liquefied hydrocarbon fuel gases for domestic use. Specifications |
ГОСТ |
Срок действия с 01.01.92
до 01.01.97
Настоящий стандарт распространяется на сжиженные углеводородные газы, предназначенные в качестве топлива для коммунально-бытового потребления и промышленных целей.
Обязательные требования к качеству продукции изложены в п. 1.3.1 (табл. 2, показатели 3, 4, 6), разделах 2 и 3.
Поправка, ИУС 7-2001 г.
1.1. Углеводородные сжиженные газы должны изготовляться в соответствии с требованиями настоящего стандарта по технологическому регламенту, утвержденному в установленном порядке.
1.2. Марки
1.2.1. В зависимости от содержания основного компонента марки сжиженных газов приведены в табл. 1.
Таблица 1
|
Наименование |
Код ОКП |
|
|
ПТ СПБТ ВТ |
Пропан технический Смесь пропана и бутана технических Бутан технический |
02 7236 0101 02 7236 0102 02 7236 0103 |
Применение различных марок сжиженных газов в зависимости от макроклиматических районов страны приведено в приложении.
1.3. Характеристики
1.3.1. По физико-химическим показателям сжиженные газы должны соответствовать требованиям и нормам, приведенным в табл. 2.
Таблица 2
|
Норма для марки |
Метод испытания |
|||
|
ПТ |
СПБТ |
БТ |
||
|
1. Массовая доля компонентов, % |
|
По ГОСТ 10679 |
||
|
сумма метана, этана и этилена |
Не нормируется |
|
||
|
сумма пропана и пропилена, не менее |
75 |
Не нормируется |
|
|
|
сумма бутанов и бутиленов, не менее |
Не нормируется |
- |
60 |
|
|
не более |
60 |
- |
|
|
|
2. Объемная доля жидкого остатка при 20 °С, %, не более |
0,7 |
1,6 |
1,8 |
По п. 3.2 |
|
3. Давление насыщенных паров, избыточное, МПа, при температуре: |
|
|
|
по ГОСТ 28656* |
|
плюс 45 °С, не более |
1,6 |
1,6 |
1,6 |
|
|
минус 20 °С, не менее |
0,16 |
- |
- |
|
|
4. Массовая доля сероводорода и меркаптановой серы, %, не более |
0,013 |
0,013 |
0,013 |
По ГОСТ 22985 |
|
в том числе сероводорода, не более |
0,003 |
0,003 |
0,003 |
По ГОСТ 22985 или ГОСТ 11382 |
|
5. Содержание свободной воды и щелочи |
Отсутствие |
По п. 3.2 |
||
|
6. Интенсивность запаха, баллы, не менее |
3 |
3 |
3 |
По ГОСТ 22387.5 и п. 3.4 настоящего стандарта |
* На территории РФ также действует ГОСТ Р 50994-96.
Примечания:
1. По согласованию изготовителя с потребителем допускается вырабатывать газ марки СПБТ с массовой долей пропана и пропилена не менее 60 %.
2. При массовой доле меркаптановой серы в сжиженном газе 0,002 % и более допускается не определять интенсивность запаха. При массовой доле меркаптановой серы менее 0,002 % или интенсивности запаха менее 3 баллов сжиженные газы должны быть одорированы по методике, утвержденной в установленном порядке.
3. При выработке газа марки ПТ из диэтанизированного сырья давление насыщенных паров при температуре минус 20 °С допускается не менее 0,14 МПа.
(Измененная редакция, Изм. № 1, 2).
1.3.2. Требования безопасности
1.3.2.1. Сжиженные углеводородные газы пожаро- и взрывоопасны, малотоксичны, имеют специфический характерный запах.
По степени воздействия на организм газы относятся к веществам 4-го класса опасности по ГОСТ 12.1.007.
1.3.2.2. Сжиженные газы образуют с воздухом взрывоопасные смеси при концентрации паров пропана от 2,1 до 9,5%, нормального бутана от 1,5 до 8,5 % (по объему) при давлении 98066 Па (1 атм) и температуре 15-20 °С.
1.3.2.3. Температура самовоспламенения пропана в воздухе при давлении 0,1 МПа (760 мм рт. ст.) составляет 466 °С, нормального бутана 405 °С, изобутана - 462 °С.
1.3.2.4. Предельно допустимая концентрация в воздухе рабочей зоны (в пересчете на углерод) предельных углеводородов (пропана, нормального бутана) 300 мг/м3, непредельных углеводородов (пропилен, бутилен) - 100 мг/м3.
1.3.2.5. Сжиженные газы, попадая на тела человека, вызывают обмораживание, напоминающее ожог.
Пары сжиженного газа могут скапливаться в низких и непроветриваемых местах.
Человек, находящийся в атмосфере с небольшим содержанием паров сжиженного газа в воздухе, испытывает кислородное голодание, а при значительных концентрациях в воздухе может погибнуть от удушья.
1.3.2.6. Сжиженные углеводородные газы действуют на организм наркотически.
Признаками наркотического действия являются недомогание и головокружение, затем наступает состояние опьянения, сопровождаемое беспричинной веселостью, потерей сознания.
Пары сжиженных углеводородных газов быстро накапливаются в организме при вдыхании и столь же быстро выводятся через легкие, в организме человека не кумулируются.
1.3.2.7. При высоких концентрациях сжиженных углеводородных газов необходимо использовать шланговые изолирующие противогазы с принудительной подачей чистого воздуха. При небольших концентрациях используют фильтрующие противогазы марки БКФ, коробка защитного цвета.
1.3.2.8. В производственных помещениях должны соблюдаться требования санитарной гигиены по ГОСТ 12.1.005. Все производственные помещения должны быть оборудованы приточно-вытяжной вентиляцией, обеспечивающей десятикратный воздухообмен в 1 ч и чистоту воздуха рабочей зоны производственных помещений.
1.3.2.9. В помещениях производства, хранения и перекачивания сжиженных углеводородных газов запрещается обращение с открытым огнем, искусственное освещение должно быть выполнено во взрывозащищенном исполнении, все работы следует проводить инструментами, не дающими при ударе искру.
Защита оборудования от вторичных проявлений молний и статического электричества должна соответствовать правилам защиты от статического электричества производств химической, нефтехимической и нефтеперерабатывающей промышленности.
1.3.2.10. При загорании применяют следующие средства пожаротушения: углекислотные огнетушители и пенные марки ОХП-10, воду в виде компактных и распыленных струй в тонкораспыленном виде, сухой песок, водяной пар, асбестовое полотно и др.
1.3.3. Требования охраны природы
1.3.3.2. В производственных помещениях и на открытых площадках должен быть периодический контроль содержания углеводородов в воздухе рабочей зоны. Для анализа используют анализаторы типа УГ-2 или системы автоматической защиты и сигнализации типа АЗИЗ, «Логика» и аналогичные приборы.
1.3.3.3. Промышленные стоки необходимо анализировать на содержание в них нефтепродуктов в соответствии с методическим руководством по анализу сточных вод нефтеперерабатывающих и нефтехимических заводов, утвержденным в установленном порядке.
1.4. Маркировка
1.4.1. Маркировка сжиженных газов - по ГОСТ 1510 с указанием манипуляционного знака «Беречь от солнечных лучей» по ГОСТ 14192 и знака опасности по ГОСТ 19433, класс 2, подкласс 2.3.
(Измененная редакция, Изм. № 1, 2).
1.4.2. Сигнальные цвета и знаки безопасности должны применяться в соответствии с ГОСТ 12.4.026.
1.5. Упаковка
(Измененная редакция, Изм. № 1).
2.1. Сжиженные газы принимают партиями. За партию принимают любое количество сжиженного газа, однородное по своим показателям качества и оформленное одним документом о качестве.
2.2. Объем выборки - по ГОСТ 14921.
2.3. При получении неудовлетворительных результатов испытаний хотя бы по одному из показателей по нему проводят повторные испытания вновь отобранной пробы из удвоенной выборки, результаты которых распространяют на всю партию.
2.4. Давление насыщенных паров сжиженных газов при температуре минус 20 °С определяют только в зимний период.
2.5. При разногласиях в оценке качества сжиженных углеводородных газов между потребителем и изготовителем арбитражный анализ газа выполняют в лабораториях, аккредитованных в установленном порядке.
(Введен дополнительно, Изм. № 1).
3.1. Пробы отбирают по ГОСТ 14921.
3.2. Определение жидкого остатка, свободной воды и щелочи
3.2.1. Аппаратура, материалы, реактивы
Отстойник вместимостью 100 или 500 см3.
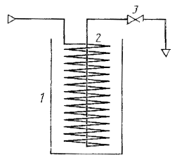
Устройство для охлаждения (чертеж).
Охлаждающий змеевик изготовляют из медной трубки длиной 6 м с наружным диаметром 6-8 мм, навитой виток к витку в виде спирали с диаметром 60-90 мм.
Сосуд для охлаждения смеси с тепловой изоляцией, с размерами под охлаждающий змеевик (внутренний диаметр не менее 120 мм, высота не менее 220 мм).
Термометр типа ТН-8 по ГОСТ 400.
Термометр ртутный стеклянный с пределами градуировки от 0 до 100 °С и ценой деления шкалы 1 °С.
Баня водяная для отстойника с температурой (20±1) °С.
Штатив лабораторный для отстойника.
Проволока медная диаметром 1,5-2 мм, длиной 200 или 450 мм (в соответствии с высотой отстойника на 100 и на 500 см3).
Гайка накидная к штуцеру пробоотборника с уплотнительной прокладкой, снабженная металлической или пластиковой трубкой длиной 10-15 см и внутренним диаметром 1-8 мм, служащей для налива сжиженного газа в отстойник.
Индикаторы тимоловый синий водорастворимый, ч. д. а., и фенолфталеин, раствор в этиловом спирте по ГОСТ 18300 или по ГОСТ 17299, с массовой долей 1 %.
Вата гигроскопическая.
Вода дистиллированная.
Смесь охлаждающая, состоящая из крупнокристаллической поваренной соли и льда, или ацетона и твердого диоксида углерода, или другие смеси, обеспечивающие требуемую температуру (до минус 45 °С).
Допускается применять аппаратуру с аналогичными технологическими и метрологическими характеристиками, а также импортные реактивы квалификации не ниже указанных в стандарте.
3.2.2. Проведение испытания
3.2.2.1. На штуцер пробоотборника с испытуемым газом навинчивают накидную гайку с чистой сухой отводной трубкой. Открывая нижний вентиль (у пробоотборников типа ПГО-400 - впускной вентиль) вертикально расположенного пробоотборника, осторожно наливают сжиженный газ через трубку в чистый, сухой отстойник. При наливе конец трубки удерживают под поверхностью заполняющей жидкости, отстойник наполняют до метки 100 см3.
Устройство для охлаждения сжиженного углеводородного газа

1 - сосуд для охлаждающей смеси; 2 - змеевик; 3 - игольчатый вентиль
3.2.2.3. После испарения основной массы при температуре окружающей среды и прекращения заметного испарения жидкости отстойник помещают в водяную баню с температурой (20±1)°С и выдерживают 20 мин при этой температуре. После этого измеряют объем остатка с точностью до 0,1 см3.
3.2.2.4. Если объем жидкого остатка превысит норму, то испытание повторяют из удвоенного количества вновь отобранной пробы.
При проведении повторных и арбитражных испытаний отстойник заполняют сжиженным газом через охлаждающий змеевик. Змеевик устанавливают в сосуд для охлаждающей смеси, снабженный термометром, охлаждают до температуры на несколько градусов ниже температуры кипения основного компонента пробы и присоединяют к пробоотборнику или пробоотборной точке.
3.2.2.5. Открывая вентили на пробоотборнике или пробоотборной точке и змеевике, промывают змеевик сжиженным газом. Затем отстойник наполняют пробой сжиженного газа, выходящей из змеевика, до метки 100 см3, не допуская выброса пробы из отстойника. Далее повторяют операцию испарения газа и измеряют количество жидкого остатка по пп. 3.2.2.2 и 3.2.2.3.
3.2.2.6. Если при сжиженном газе имеется свободная вода, то после испарения газа она остается на дне и стенках отстойника. При затруднениях в визуальной идентификации свободной воды в жидком остатке ее наличие определяют с помощью водорастворимого индикатора. Для этого в отстойник вносят на кончике сухой стеклянной палочки или проволоки несколько кристаллов тимолового синего. В углеводородном жидком остатке тимоловый синий не растворяется и не окрашивается.
Окрашивание жидкости указывает на наличие воды. В щелочной среде тимоловый синий окрашивается в синий цвет.
Для определения наличия щелочи в жидком остатке допускается применять в качестве индикатора фенолфталеин. В отстойник добавляют 100 см3 дистиллированной воды, предварительно проверенной на нейтральность, и 2-3 капли фенолфталеина. При отсутствии окраски раствора в розовый или красный цвет фиксируют отсутствие щелочи, при окраске раствора - фиксируют присутствие щелочи.
3.2.2.7. (Исключен. Изм. № 2).
3.2.3. Два результата определения, полученные одним исполнителем, признаются достоверными (с 95%-ной доверительной вероятностью), если абсолютное расхождение между ними не превышает 0,1 %.
(Введен дополнительно, Изм. № 1).
3.3. (Исключен. Изм. № 2).
Пункты 3.3.1. – 3.3.3 (Исключены. Изм. № 2).
4.1. Сжиженные углеводородные газы транспортируют железнодорожным, автомобильным и водным транспортом в соответствии с правилами перевозок опасных грузов, действующих на соответствующем виде транспорта, и правилами устройства и безопасной эксплуатации сосудов, работающих под давлением, утвержденными в установленном порядке.
(Измененная редакция, Изм. № 1).
4.2. Хранение сжиженных газов - по ГОСТ 1510.
5.1. Изготовитель гарантирует соответствие качества сжиженных газов требованиям настоящего стандарта при соблюдении условий транспортирования и хранения.
5.2. Гарантийный срок хранения - 3 месяца со дня отгрузки.
(Измененная редакция, Изм. № 1).
|
Система газоснабжения |
Применяемый сжиженный газ для макроклиматического района по ГОСТ 16350 |
|||
|
Умеренного |
Холодного |
|||
|
Летний |
Зимний |
Летний |
Зимний |
|
|
период |
период |
период |
период |
|
|
Газобаллонная: с наружной установкой баллонов |
СПБТ |
ПТ |
СПБТ |
ПТ |
|
с внутриквартирной установкой баллонов; портативные баллоны |
СПБТ БТ |
СПБТ БТ |
СПБТ БТ |
СПБТ БТ |
|
Групповые установки: без испарителей |
СПБТ |
ПТ |
ПТ СПБТ |
ПТ |
|
с испарителями |
СПБТ БТ |
ПТ СПБТ БТ |
ПТ СПБТ |
ПТ СПБТ |
Примечания:
1. Все районы, за исключением холодного и очень холодного:
летний период - с 1 апреля по 1 октября;
зимний период - с 1 октября по 1 апреля.
2. Холодный район:
летний период - с 1 июня по 1 октября:
зимний период - с 1 октября по 1 июня.
3. Очень холодный район:
летний период - с 1 июня по 1 сентября;
зимний период - с 1 сентября по 1 июня.
ИНФОРМАЦИОННЫЕ ДАННЫЕ
1. РАЗРАБОТАН И ВНЕСЕН Министерством химической и нефтеперерабатывающей промышленности СССР
РАЗРАБОТЧИКИ
А. М. Мазгаров, д-р техн. наук; А. П. Балахонов (руководитель темы); Н. В. Захарова, канд. хим. наук; Ф. А. Сатрутдинова; К. М. Амиров; Е. К. Чепегина
2. УТВЕРЖДЕН И ВВЕДЕН В ДЕЙСТВИЕ Постановлением Государственного комитета СССР по управлению качеством продукции и стандартам от 29.12.90 № 3605
3. ВВЕДЕН ВЗАМЕН ГОСТ 20448-80
4. ССЫЛОЧНЫЕ НОРМАТИВНО-ТЕХНИЧЕСКИЕ ДОКУМЕНТЫ
|
Обозначение НТД, на который дана ссылка |
Номер пункта, подпункта, приложения |
|
1.3.3.8 |
|
|
ГОСТ 400-80 |
|
|
ГОСТ 617-90 |
|
|
ГОСТ 5556-81 |
|
|
ГОСТ 10679-76 |
|
|
ГОСТ 11382-76 |
|
|
ГОСТ 14921-78 |
|
|
ГОСТ 15860-84 |
|
|
ГОСТ 17299-78 |
|
|
ГОСТ 18300-87 |
|
|
ГОСТ 19433-88 |
|
|
ГОСТ 22387.5-77 |
|
|
ГОСТ 29985-90 |
|
|
ГОСТ 28656-90 |
(Измененная редакция. Изм. № 2).
5. ПЕРЕИЗДАНИЕ. Октябрь 1994 г.
СОДЕРЖАНИЕ
|
4. Транспортирование и хранение. 6 Приложение Применение различных марок сжиженного газа для коммунально-бытового потребления. 6 |