
ГОСУДАРСТВЕННЫЙ СТАНДАРТ СОЮЗА ССР
ЭЛЕКТРООБОРУДОВАНИЕ
ВЗРЫВОЗАЩИЩЕННОЕ
С ЗАЩИТОЙ ВИДА «е»
ТЕХНИЧЕСКИЕ ТРЕБОВАНИЯ И МЕТОДЫ ИСПЫТАНИЙ
ГОСТ 22782.7-81
(СТ СЭВ 3142-81)
ИЗДАТЕЛЬСТВО СТАНДАРТОВ
Москва
ГОСУДАРСТВЕННЫЙ СТАНДАРТ СОЮЗА ССР
|
ЭЛЕКТРООБОРУДОВАНИЕ Технические требования и методы испытаний Explosionproof electrical apparatus. Type of |
ГОСТ (СТ СЭВ 3142-81) |
Дата введения 01.07.82
Настоящий стандарт распространяется на взрывозащищенное электрооборудование (электротехнические устройства) групп I и II по ГОСТ 12.2.020-76 с защитой вида «е».
Стандарт устанавливает технические требования и методы испытаний по обеспечению взрывозащиты электрооборудования.
Стандарт не распространяется на кабели и провода.
Настоящий стандарт полностью соответствует СТ СЭВ 3142-81 и Публикации МЭК 79-7.
(Измененная редакция, Изм. № 1).
1.1. Общие требования
1.1.1. Электрооборудование должно изготовляться в соответствии с требованиями настоящего стандарта, ГОСТ 22782.0-81, стандартов и технических условий на конкретные виды электрооборудования по рабочим чертежам, утвержденным в установленном порядке.
1.1.2. Климатическое исполнение и категория размещения электрооборудования - по ГОСТ 15150-69.
1.1.3. Защита вида «е» может применяться в сочетании с другими видами взрывозащиты по ГОСТ 12.2.020-76.
1.1.4. Требования к уровню взрывозащиты
1.1.4.1. Электрооборудование с защитой вида «е» может быть выполнено с уровнем взрывозащиты:
повышенная надежность против взрыва;
взрывобезопасный.
1.1.4.2. Электрооборудование повышенной надежности против взрыва должно удовлетворять требованиям настоящего стандарта.
1.1.4.1; 1.1.4.2. (Измененная редакция, Изм. № 3).
1.1.4.3. Взрывобезопасное электрооборудование должно удовлетворять требованиям настоящего стандарта и иметь дополнительные конструктивные средства, выполнение которых обеспечивает уровень взрывозащиты не ниже уровня, создаваемого взрывонепроницаемой оболочкой взрывобезопасного уровня. Достаточность принятых средств определяется в соответствии с порядком, установленным ГОСТ 22782.3-77.
1.2. Требования к оболочке
1.2.1. Степень защиты оболочки от внешних воздействий должна быть не ниже указанной в табл. 1.
|
Группа электрооборудования по ГОСТ 12.2.020-76 |
Степень защиты оболочки по ГОСТ 14254-80, ГОСТ 17494-87 |
|
|
Изолированные токоведущие части |
Неизолированные токоведущие части |
|
|
I |
IP44 |
IР54 |
|
II |
IP33 |
IP54 |
Примечание. Степень защиты может быть снижена для электрооборудования специального назначения, исключая вводные устройства. Например, для электрооборудования, которое постоянно подвергается осмотру и установлено в местах, не содержащих пыли. При этом степень защиты должна быть не ниже:
1Р23 - для электрооборудования группы I;
1Р20 - для электрооборудования группы II и стационарного (по ГОСТ 18311-80) электрооборудования группы I, установленного в специальных камерах.
1.2.2. Защита оболочек от внешних воздействий должна обеспечиваться средствами по ГОСТ 14254-80.
(Измененная редакция, Изм. № 3).
1.3. Требования к контактным электрическим соединениям
1.3.1. Плотность тока в контактных соединениях не должна превышать 2,5 А/мм2.
1.3.2. Проводники, соединяемые с помощью пайки мягким припоем (с содержанием олова не менее 40%), должны быть соединены механически.
1.3.3. Контактные электрические соединения - по ГОСТ 10434-82.
(Введен дополнительно, Изм. № 1).
1.4. Требования к электроизоляционным материалам
1.4.1. Электрооборудование группы I
1.4.1.1. Электроизоляционные материалы по ГОСТ 24719-81.
1.4.2. Электрооборудование группы II
1.4.2.1. Пути утечки и электрические зазоры должны соответствовать значениям, указанным в табл. 2.
(Измененная редакция, Изм. № 1).
1.4.2.2. Пути утечки и электрические зазоры для частей, находящихся под разным напряжением, должны приниматься по напряжению большего значения.
1.4.2.3. Пути утечки и электрические зазоры между частями, находящимися под напряжением, и землей (корпусом) должны приниматься по линейному напряжению.
1.4.2.4. Электроизоляционные детали должны изготовляться из материалов, параметры трекингостойкости которых должны соответствовать указанным в табл. 3.
(Измененная редакция, Изм. № 1).
1.4.2.5. Токоведущие части, которые покрыты лаком, эмалью, оксидированы или имеют аналогичную обработку, рассматриваются как неизолированные при определении путей утечки и электрических зазоров.
1.4.2.6. Длина пути утечки может быть увеличена за счет выполнения на изоляционных деталях ребер, пазов, уступов при условии:
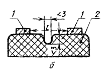
ширина и высота ребер составляют не менее 3 мм (черт. 1в приложения 1);
пазы имеют ширину и глубину не менее 3 мм (черт. 2в приложения 1);
уступы удалены от токоведущих частей на расстояние не менее 3 мм (черт 3в приложения 1).
Примечание. Радиусы скруглений ребер, пазов, уступов должны быть не менее 0,5 мм.
1.4.2.7. Пути утечки, которые прерываются металлическими частями, не находящимися под напряжением, должны набираться по одному участку с однократным или двум участкам с 1,25-кратным значением, указанным в табл. 2.
Примечание. Участки менее 3 мм не учитываются.
1.4.2.8. При определении путей утечки следует учитывать воздушные зазоры только более 3 мм.
1.4.2.9. Детали с ребрами, пластины, наложенные или размещенные впотай, должны быть соединены механически с несущей конструкцией таким образом, чтобы исключалось нарушение соединении.
|
Напряжение, В |
Путь утечки, мм, не менее, для групп электроизоляционных материалов |
Электрический зазор, мм, не менее |
|
||||||
|
постоянное |
переменное |
||||||||
|
а |
б |
в |
г |
д |
|
||||
|
До 40 |
До 30 |
3 |
3 |
3 |
3 |
3 |
3 |
|
|
|
Св. 10 » 72 |
Св. 30 » 80 |
3 |
4 |
5 |
5 |
6 |
3 |
|
|
|
» 72 » 150 |
» 60 » 127 |
4 |
5 |
8 |
9 |
10 |
4 |
|
|
|
» 150 » 300 |
» 127 » .250 |
6 |
8 |
10 |
11 |
12 |
5 |
|
|
|
» 300 » 450 |
» 250 » 380 |
8 |
10 |
12 |
14 |
15 |
6 |
|
|
|
» 450 » 600 |
» 380 » 1500 |
10 |
12 |
15 |
17 |
18 |
8 |
|
|
|
» 600 » 800 |
» 500 » 660 |
12 |
16 |
20 |
23 |
25 |
10 |
|
|
|
» 800 » 12100 |
» 660 » 1000 |
20 |
25 |
30 |
33 |
36 |
14 |
|
|
|
» 1200 » 3600 |
» 1000 » 3000 |
45 |
60 |
75 |
83 |
90 |
36 |
|
|
|
» 3600 » 7200 |
» 3000 » 6000 |
85 |
110 |
135 |
150 |
160 |
60 |
|
|
|
» 7230 » 12000 |
» 6000 » 10000 |
125 |
150 |
180 |
210 |
240 |
100 |
|
|
|
|||||||||
Примечание. Номинальное напряжение электрооборудования (источника питания и нагрузки) может превышать значения, указанные в таблице, на 10%.
Таблица 3
|
Группа электроизоляционного материала |
Параметры трекингостойкости |
Примечание |
||
|
Напряжение, В |
Глубина эрозии, мм |
|||
|
а |
- |
- |
Неорганические материалы (керамика, стекло, и т. п.) |
|
|
б |
600 и выше |
До 1,0 включ. |
|
|
|
в |
500 и выше |
Св. 1,0 до |
||
|
2,0 включ. |
|
|||
|
380-480 |
До 1,0 включ. |
|||
|
г |
380-480 |
Св. 1,0 до 2,0 включ. |
|
|
|
100-360 |
До 2,0 включ. |
Материалы с неорганическим наполнителем |
||
|
д |
100-360 |
До 2,10 включ. |
Материалы с органическим наполнителем |
|
1.4.2.10. Путь утечки склеенных изоляционных деталей и несущей конструкции должен набираться, как показано на черт. 4а приложения 1.
1.4.2.11. Путь утечки по соединению изоляционных деталей, которое конструктивно защищено от загрязнения, должен набираться, как показано на черт. 4б приложения 1.
1.4.2.12. Допускается устанавливать путь утечки вдоль шва склеенных изоляционных деталей или вдоль шва прессованной детали при условии, что шов имеет параметры трекингостойкости не ниже материала деталей.
1.4.2.13. Удельная ударная вязкость по ГОСТ 4647-80 должна быть не менее для материалов:
керамических - 3 кДж/м2;
пластических масс, слоистых пластиков, литых смол и компаундов - 4 кДж/м2;
изоляционных для изготовления колодок соединений контактных электрических - 7 кДж/м2.
1.4.2.14. Теплостойкость электроизоляционных материалов по Мартенсу (ГОСТ 21341-75) для деталей, находящихся под механической нагрузкой, должна быть не менее чем на 20°С выше их максимальной рабочей температуры.
(Измененная редакция, Изм. № 1).
1.4.2.15. Нагревостойкость электроизоляционных материалов (по ГОСТ 8865-87) должна быть не ниже максимальной рабочей температуры.
1.4.2.16. Детали из слоистых пластиков должны покрываться негигроскопичным лаком с хорошими адгезионными свойствами.
1.4.2.17. Детали из слоистых пластиков не допускается подвергать механической нагрузке, вызывающей расслоение материала.
1.4.2.18. Детали из пресс-материалов, к которым предъявляется требование трекингостойкости, в случае полного или частичного удаления поверхностного слоя должны покрываться негигроскопичным лаком. Трекингостойкость покрытия должна быть не ниже трекингостойкости первоначального слоя.
1.4.2.19. Для электроизоляционных деталей, которые имеют ребра, пазы, уступы, отвечающие требованиям п. 1.4.2.6, пути утечки принимаются по табл. 2 для материалов группой выше.
1.4.2.15-1.4.2.19. (Введены дополнительно, Изм. №1).
1.5. Требования к обмоткам
1.5.1. Обмотка должна выполняться проводом диаметром не менее 0,25 мм.
Примечание. Допускается выполнять обмотку проводом диаметром менее 0,25 мм при условии выполнения требований:
обмотка должна быть рассчитана на пусковой ток в продолжительном режиме, при котором нагрев не должен превышать температур, указанных в п. 1,7;
должна предусматриваться дополнительная защита от внешних воздействий (например, заливка изоляционной массой, компаундом, размещение в кожухе).
1.5.2. Провод обмотки должен иметь двухслойное покрытие. Допускаются провода с одним слоем эмали, если они дополнительно покрыты слоем изоляционного материала.
1.5.3. Технология пропитки обмоток должна обеспечивать заполнение пропитывающего вещества и его адгезию. При применении пропитывающих веществ, содержащих растворители, пропитка и сушка должны производиться дважды.
1.5.4. Дерево, фибра, прессшпан и другие подобные материалы, предназначенные для закрытия или заполнения пазов, могут применяться при условии технологической обработки, обеспечивающей устойчивость их к разбуханию.
1.5.5. В качестве изоляции не допускается применять непропитанные бумагу, хлопчатобумажное и искусственное волокно.
1.5.6. В высоковольтных обмотках электрических машин должны предусматриваться специальные меры, предотвращающие образование на поверхности изоляции короны или других видов электрических разрядов.
1.6. Требования к стойкости при сквозных токах короткого замыкания
1.6.1. Токопроводы должны выдерживать без повреждений электродинамическое и термическое воздействие сквозных токов короткого замыкания.
1.6.2. Ток электродинамической стойкости не должен превышать 75% расчетного тока электродинамической стойкости электрооборудования. Это требование не распространяется на обмотки электрических машин и трансформаторов.
(Измененная редакция, Изм. № 3).
1.7. Требования к нагреву
1.7.1. Допустимые температуры для частей изделия - по ГОСТ 22782.0-81.
1.7.2. Температура обмоток электрооборудования не должна превышать значений табл. 4, если не требуется более низкая температура, указанная в п. 1.7.1.
1.7.3. Приведенные в табл. 4 температуры для режима короткого замыкания складываются из температуры обмотки электрооборудования в номинальном режиме работы и прироста температуры за время tе.
Нагрев обмоток электрооборудования
|
Наименование режима работы электрооборудования |
Электроизоляционный материал классов по ГОСТ 8865-87 |
|||||||||
|
А |
Е |
B |
F |
Н |
||||||
|
Максимальная температура обмоток, °С, при измерении методом |
||||||||||
|
термометра |
сопротивления |
термометра |
сопротивления |
термометра |
сопротивления |
термометра |
сопротивления |
термометра |
сопротивления |
|
|
Номинальный |
80 |
90 |
95 |
105 |
100 |
110 |
115 |
130 |
135 |
155 |
|
Короткое замыкание |
- |
160 |
- |
175 |
- |
185 |
- |
210 |
- |
235 |
Примечания:
1. Метод термометра допускается, если нецелесообразно применять метод сопротивления.
2. Значения температуры в режиме короткого замыкания относятся к копну времени t0.
1.7.4. Нагрев обмоток электрооборудования должен контролироваться защитным устройством.
Защитное устройство не требуется, если температура обмоток электрооборудования в номинальном режиме и в режиме короткого замыкания не превышает значений, указанных в п. 1.7.2.
1.7.5. Контроль температуры может осуществляться косвенно устройством, реагирующим на ток с выдержкой времени, или непосредственно устройством с применением температурных датчиков, встроенных в обмотку. При этом устройство должно защищать электрооборудование в режиме короткого замыкания.
1.7.6. Время нагрева te должно быть больше времени срабатывания защитного устройства, но не менее 5 с.
Минимальное значение времени нагрева te , в зависимости oт отношения пускового тока (IA) к номинальному (IN), приведено» в приложении 2.
2.1. Вращающиеся электрические машины
2.1.1. Применение алюминия для изготовления короткозамкнутого ротора допускается при условии обеспечения контроля целостности его стержней.
2.1.2. Стержни ротора с короткозамкнутыми кольцами должны иметь цельную конструкцию (отлиты) или быть сварены. Допускается другой способ соединения, обеспечивающий надежный контакт стержня с кольцом.
2.1.3. В электрических машинах не допускается искрение между стержнями и сердечником ротора.
2.1.4. В электрических машинах мощностью свыше 110 кВт при необходимости следует предусматривать устройства для удаления или предотвращения появления конденсата.
2.1.5. В машинах с подшипниками качения радиальный воздушный зазор между статором и ротором должен быть равен значениям, указанным в табл. 5.
(Измененная редакция, Изм. № 3).
2.1.6. В машинах с подшипниками скольжения радиальный воздушный зазор между статором и ротором должен быть в 1,5 раза больше значений, указанных в табл. 5.
2.1.7. Температура ротора не должна превышать 300°С за время пуска, если в п. 1.7 не установлена более низкая температура.
2.1.8. Время нагрева tе должно быть таким, чтобы электрическая машина могла быть отключена защитным устройством (приложение 2).
2.2. Светильники
2.2.1. Светильники, отнесенные к электрооборудованию группы I, должны соответствовать требованиям ГОСТ 24786-81.
(Измененная редакция, Изм. № 2).
|
Количество полюсов |
Радиальный воздушный зазор, мм, не менее, в зависимости от диаметра ротора, мм |
||
|
D≤75 |
75<D≤750 |
D>750 |
|
|
2 |
0,25 |
|
2,7 |
|
4 |
0,2 |
|
1,7 |
|
6 и более |
0,2 |
|
1,2 |
2.2.2. Контакты патрона, на которых возможно опасное искрение при замене лампы, должны быть заключены во взрывонепроницаемую оболочку.
2.2.3. Применение патронов для штифтовых цоколей, гильза которых находится под напряжением, не допускается.
2.2.4. Температура места склейки цоколя с колбой не должна превышать 195°С, если не требуется более низкая температура, указанная в п. 1.7.
2.2.5. Пути утечки и электрические зазоры для переносных светильников с индивидуальным источником питания должны быть не менее 1,5 мм при напряжении до 5 В и не менее 3 мм при напряжении от 5 до 12 В включительно.
2.3. Элементы автоматики, контроля и связи
2.3.1. Неискрящие элементы общего назначения (резисторы, полупроводниковые элементы, конденсаторы и т. п.), кроме вакуумных, могут применяться при условии, что их нагрузка не превышает 2/3 номинального значения и температура не выше значений, указанных в п. 1.7.
При этом элементы должны быть дополнительно защищены от внешних воздействий, например заключаться в оболочку (кожух) со степенью защиты от внешних воздействий не ниже IP23-для электрооборудования группы I и IP20 - для электрооборудования группы II, заливаться компаундом, герметиком и т. п.
Примечание. Требования п. 1.4 на эти элементы не распространяются.
2.3.1.1. На изоляционной плате после монтажа элементов, указанных в п. 2.3.1, пути утечки и электрические зазоры должны соответствовать значениям табл. 6. При этом изоляционная плата в сборе должна быть покрыта адгезионным и влагостойким электроизоляционным составом.
Таблица 6
Пути утечки и электрические зазоры
|
Напряжение, В |
Пути утечки, мм, не менее, для групп изоляционных материалов |
Электрические зазоры, мм, не менее |
|
|
а |
б, в, г |
||
|
До 60 включ. |
3 |
3 |
3 |
|
Св. 60 до 125 включ. |
5 |
5 |
5 |
|
» 125 » 250 » |
6 |
8 |
6 |
|
» 250 » 380 » |
6 |
10 |
6 |
2.3.1.2. Печатные платы общего назначения могут применяться при условии дополнительного покрытия адгезионным и влагостойким электроизоляционным составом, в том числе после монтажа на них элементов, указанных в п. 2.3.1.
Примечание. Требования пп. 1.4, 2.3.1.1 на эти платы не распространяются.
2.3.2. Цепь аппаратуры телефонной связи, идущая к телефонным и микрофонным капсулам, должна быть искробезопасной в нормальном режиме работы.
2.4. Измерительные приборы и измерительные трансформаторы
2.4.1. Приборы и трансформаторы должны быть рассчитаны, на ток (напряжение), равный 1,2 номинального значения. При этом температура частей не должна превышать значений, указанных в п. 1.7.
2.4.2. Цепи тока приборов и трансформаторов должны выдерживать без повреждений термическое и электродинамическое воздействие токов, указанных в табл. 7. При этом температура токопроводов не должна превышать значений, указанных в п. 1.7.
2.4.3. Трансформаторы тока, предназначенные для работы в комплекте с автоматическим выключателем, должны выдерживать максимальный разрывной ток выключателя. При этом температура частей трансформатора тока не должна превышать значений, указанных в п. 1.7.
2.5. Резисторы (пусковые) и нагреватели
2.5.1. Резисторы и нагреватели должны быть выполнены из высокоомного и нехрупкого материала (например, фехраля, нихрома и т. п.).
|
Наименование показателя |
Норма |
|
|
Измерительные приборы |
Измерительные трансформаторы |
|
|
Термическая стойкость и течение 1,0с, А, не менее |
50IN |
100IN |
|
Электродинамическая стойкость в течение 0,01с, А, не менее |
1,3-125 IN |
1,3-250 IN |
Примечание. IN номинальное значение параметра цепи тока прибора (трансформатора).
2.5.2. Соединение элементов как между собой, так и с контактными зажимами должно выполняться перемычками из меди или латуни при помощи болтовых соединений с гайками и шайбами из меди, латуни или бронзы. Указанные элементы могут соединяться также пайкой твердым припоем, газовой или электрической сваркой.
2.5.3. Для герметизации нагревательных элементов должен применяться термостойкий эластичный герметик.
2.5.4. Температура любого элемента резистора или нагревателя не должна превышать значений, приведенных в п. 1.7, при напряжении, равном 1,2 номинального значения.
2.5.5. Резисторы и нагреватели с принудительным охлаждением (водой или воздухом) должны иметь тепловую защиту, а в необходимых случаях и защиту, отключающую установку при нарушении нормальной работы охладителя.
2.5.6. В калориферах и других нагревательных устройствах могут применяться нагревательные элементы, для которых их общая вероятность повреждения не превышает 10-3 в течение установленного срока службы. При этом в расчет принимаются такие повреждения, которые приводят к образованию источника воспламенения окружающей взрывоопасной смеси (искры, электрические дуги, опасный нагрев).
2.5.7. В стационарных (по ГОСТ 18311-80) резисторах допускается снижать степень защиты от внешних воздействий при условии, что резисторы предназначены для эксплуатации в местах, где образование пыли и влаги маловероятно.
2.5.8. Электроды жидкостных пусковых реостатов должны погружаться в жидкость таким образом, чтобы исключалось образование искр. Кроме того, должна быть предусмотрена блокировка, отключающая установку или предотвращающая ее включение при снижении уровня жидкости ниже допустимого.
2.5.9. В жидкостных реостатах должны применяться керамические или равноценные им электроизоляционные материалы.
3.1. Электрооборудование должно подвергаться проверке и испытаниям на взрывозащищенность в соответствии с ГОСТ 12.2.021-76 по программе, указанной в табл. 8.
Таблица 8
|
Вид испытаний и проверок |
Пункты |
|
|
технических требований |
методов испытаний |
|
|
1. Контрольный осмотр образца |
||
|
2. Испытания на трекингостойкость |
||
|
3. Испытания на ударную вязкость |
||
|
4. Испытания на нагревостойкость |
||
|
5. Испытания на стойкость к сквозным токам короткого замыкания |
||
|
6. Испытания на нагревание |
||
|
7. Испытание на выявление искрений и электрических разрядов |
||
Примечание. Испытание и проверка образца электрооборудования по пп. 1, 2 и 7 производятся испытательной организацией.
3.2. Контрольный осмотр образца
3.2.1. Представление образца изделия в испытательную организацию - по ГОСТ 12.2.021-76.
3.2.2. Контрольный осмотр образца производится в два этапа:
а) внешний осмотр, при котором без разборки образца проверяются крепление крышек, устройство кабельных вводов, блокировки, заземляющие зажимы, маркировка взрывозащиты и др.;
б) внутренний осмотр, при котором проверяются средства защиты от внешних воздействий, пути утечки и электрические зазоры, контактные соединения, электроизоляционный материал, вводные устройства, заземляющие зажимы, монтаж и присоединение проводников, наличие дубликата паспортной таблички и др.
3.3. Испытания на трекингостойкость (капельный метод)
3.3.1. Испытания должны проводиться на плоских образцах изоляционного материала размером не менее 100х100 мм и толщиной не менее 3 мм.
Допускается испытывать образцы других форм и размеров, в том числе и готовые изделия. При этом испытания должны проводиться в местах толщиной не менее 3 мм с ровной поверхностью размером не менее 15х15 мм.
(Измененная редакция, Изм. № 1).
3.3.2. Поверхность образцов должна быть ровной, гладкой и сухой, на которой не допускаются трещины, сколы, вмятины, загрязнение и другие дефекты.
3.3.3. Перед испытанием образцы должны выдерживаться в нормальных условиях в течение 24 ч по ГОСТ 15150-69.
3.3.4. Рабочее положение образца при испытаниях - горизонтальное.
3.3.5. Испытанию на трекингостойкость должны подвергаться не менее 5 образцов изоляционного материала. При этом каждый образец должен быть испытан не менее чем в 5 точках поверхности, расположенных друг от друга на расстоянии не менее 10 мм.
3.3.6. (Исключен, Изм. № 1).
3.3.7. Для испытания должны применяться латунные электроды прямоугольного сечения размером 5х2 мм, длиной 15 мм, радиусом кривизны около 0,1 мм, концы которых срезаны под углом 30°.
3.3.8. Расстояние между электродами должно приниматься (4±0,1) мм.
3.3.7; 3.3.8. (Измененная редакция, Изм. № 1).
3.3.9. Давление электродов на образец должно быть постоянным и составлять (1,0 ±0,1) Н.
3.3.10. Электроды должны устанавливаться на поверхности образца на расстоянии не менее 10 мм от края.
3.3.11. На поверхность образца между электродами должен наноситься электролит в виде капель объемом (25±5) мл каждая, падающих с высоты 40-60 мм через каждые (30±3) с.
3.3.12. В качестве электролита должен приниматься 0,1%-ный раствор хлористого аммония (NH4Cl) в дистиллированной воде.
3.3.13. (Исключен, Изм. № 1).
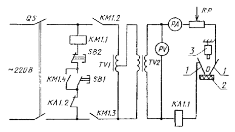
3.3.14. Испытательная установка (приложение 4) с источником тока промышленной частоты должна обеспечивать напряжение на зажимах источника, равное не менее 0,9 номинального при коротком замыкании электродов. При этом ток в цепи электродов должен быть не менее 1,0 А.
3.3.15. Установка должна иметь защиту, отключающую цепь электродов за время 2-3 с после, образования трекинга на образце при протекании тока в цепи 1,0 А.
3.3.16. При испытании допускается применять приборы с классом точности 2,5.
3.3.17. Испытания должны проводиться при напряжениях, указанных в табл. 3. На образце располагаются электроды, на них подается напряжение, кратное двадцати, из середины интервала 100-500В. Если образование трекинга, приводящего к отключению установки, происходит после нанесения на поверхность образца менее 50 капель, испытания повторяют при пониженном на 20В напряжении или другом, кратном двадцати, до тех пор, пока не будет определено максимальное напряжение, при котором не происходит трекинга после нанесения 50 капель раствора.
3.3.18. Материал считается выдержавшим испытание, если во всех испытуемых местах после нанесения 50 капель не произошло образование трекинга и глубина эрозии не превысила значений, указанных в табл. 3.
3.3.17; 3.3.18. (Измененная редакция, Изм. № 1).
3.3.19. Неорганические материалы группы а (табл. 3) испытанию на трекингостойкость не подвергаются.
3.4. Испытания на ударную вязкость - по ГОСТ 4647-80.
3.5. Испытания на нагревостойкость - по ГОСТ 21341-75.
3.6. Испытания на стойкость к сквозным токам короткого замыкания производятся по стандартам и техническим условиям на конкретные виды изделий.
3.7. Испытания на нагревание
3.7.1. Испытаниям на нагревание должны подвергаться внутренние и наружные части (элементы) электрооборудования.
3.7.2. Испытания на нагревание с целью определения максимально возможных температур частей электрооборудования должны производиться в режимах и при значениях параметров (с учетом допустимых колебаний в условиях эксплуатации), установленных стандартами или техническими условиями на конкретные виды изделий.
3.7.3. Измерение температуры нагрева должно производиться после установившегося ее значения для всех частей изделия.
3.7.4. При определении температур нагрева частей электрооборудования допускается использовать метод экстраполяции.
3.7.5. По согласованию с испытательной организацией испытания на нагревание могут не производиться, если нагрев частей электрооборудования определяется расчетом.
3.7.6. Испытание электрических машин
3.7.6.1. Испытание на нагревание - по ГОСТ 183-74, ГОСТ 7217-87, ГОСТ 11828-86.
3.7.6.2. При испытании время нагрева tе определяется графиком зависимости температуры от времени (приложение 3).
3.7.6.3. Электрическая машина, оснащенная защитным устройством контроля температуры, должна испытываться с устройством примененного типа.
3.7.7. Испытание светильников
3.7.7.1. Испытание на нагревание - по ГОСТ 17677-82.
3.8. Испытания электрических машин на выявление искрений и электрических разрядов
3.8.1. Испытания должны проводиться во взрывоопасной водородно-воздушной смеси.
3.8.2. Содержание водорода по объему (21 ±2)%. Контроль концентрации водорода производится в начале и конце опыта.
3.8.3. Корона и электрические разряды в высоковольтной обмотке
3.8.3.1. Корона и электрические разряды проверяются как между фазами, так и между обмоткой и корпусом машины при вынутом роторе из статора.
3.8.3.2. При испытании должен использоваться трансформатор трехфазного тока промышленной частоты мощностью не менее 1 кВ-А на 1 кВ номинального напряжения изделия.
3.8.3.3. Допускается измерение электрических параметров приборами класса точности 1,5.
3.8.3.4. Испытательная схема собирается таким образом, чтобы токи утечки самой схемы были сведены к минимуму.
3.8.3.5. На разомкнутую обмотку статора подается напряжение ступенями в 2 кВ до значения, равного 0,8 номинального напряжения.
3.8.3.6. На каждой ступени напряжение выдерживается в течение 1 мин. Если при этом не происходит взрыва смеси, напряжение отключается. Затем напряжение включается и производится подъем его до следующей ступени.
3.8.3.7. Аналогичные испытания проводятся при соединении одной фазы трансформатора к обмотке изделия, а другой - к его корпусу.
3.8.4. Электрические искрения между стержнями и сердечником ротора
3.8.4.1. Электрические искрения, могущие возникнуть при пуске, проверяются путем многократного включения электрической машины.
3.8.4.2. Должно производиться 20 включений продолжительностью 2-3 с каждое, в том числе 10 включений в режиме холостого хода и 10 включений в режиме короткого замыкания (режим с заторможенным ротором).
3.8.4.3. Каждый последующий пуск в режиме холостого хода производят после полной остановки машины.
3.8.4.4. При включении машины в режим короткого замыкания напряжение на ее зажимах не должно быть ниже 0,95 номинального значения. При этом после каждых трех включений (если не произошло воспламенение смеси) взрывоопасную смесь необходимо заменить новой. Для охлаждения необходимо освободить машину от тормозного устройства и включить ее в режим холостого хода на 10 мин.
3.8.5. Электрическая машина считается выдержавшей испытание, если не произошло воспламенение взрывоопасной смеси.
4.1. Маркировка взрывозащиты электрооборудования, выполненного в соответствии с настоящим стандартом, должна соответствовать ГОСТ 12.2.020-76.
4.2. Для электрооборудования отдельных видов должны указываться дополнительные сведения, которые могут потребоваться для его нормальной эксплуатации, например:
отношение пускового тока (IA) к номинальному (IN) и время нагрева te-для электродвигателей и электромагнитов;
максимальная мощность лампы - для светильников;
ток электродинамической стойкости (Iдс) - для измерительных трансформаторов и приборов.
Дополнительные сведения по требованию заказчика указываются на оболочке электрооборудования, отдельной табличке или табличке с номинальными данными.
4.3. В зависимости от состава дополнительных данных и габаритных размеров электрооборудования по требованию испытательной организации устанавливается дубликат таблички, размещенный, например, внутри оболочки.
4.1-4.3. (Измененная редакция, Изм. № 3).
4.4. На защитном стекле светильника должен быть указан знак взрывозащиты.
Ребро высотой до 3 мм

Ребро, удаленное от токопровода на расстояние до 3 мм и более

Ребро высотой 3 мм и более, удаленное от токопровода на расстояние до 3 мм и более
l - путь утечки; 1 - токопровод; 2 - изоляционная деталь
Черт. 1
Паз глубиной до 3 мм и шириной 3 мм и более

Паз глубиной и шириной до 3 мм

Паз глубиной и шириной 3 мм и более, удаленный от токопровода на расстояние 3 мм и более
l - путь утечки; 1 - токопровод; 2 - изоляционная деталь
Черт. 2
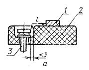
Уступ, удаленный от крепежного элемента на расстояние до 3 мм

Уступ, удаленный от крепежного элемента на расстояние 3 мм и более

Уступ высотой 3 мм и более, удаленный от токопровода на расстояние 3 мм и более
l - путь утечки; 1 - токопровод; 2 - изоляционная деталь; 3 - крепежный элемент
Черт. 3
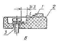
Изоляционная перегородка высотой 3 мм и более, удаленная от токопровода на расстояние 3 мм и более
Соединение изоляционных деталей, которое конструктивно защищено от загрязнения
l - путь утечки; 1 - токопровод; 2 - основная изоляционная . деталь; 3- изоляционная деталь (перегородка), установленная на клею
Черт. 4


Т0 - температура окружающей среды; ТN - температура при
номинальном режиме;
ТM - максимальная температура; 1 - превышение температуры при номинальном режиме; 2 - превышение температуры в режиме
короткого замыкания

OS - выключатель; КМ - пускатель; TVI - автотрансформатор;
КА - реле токовое; PV - вольтметр; РА - амперметр; RP - резистор ограничительный; 1 - электрод; 2 - испытуемый образец; 3 - устройство подачи капель; TV2 - трансформатор; SВ1, SB2 - нажимные кнопочные выключатели
|
Термин |
Определение |
|
1. Защита вида «е» |
По ГОСТ 12.2.020-76 |
|
2. Время нагрева t0 |
Время, в течение которого электрооборудование (например, асинхронные электродвигатели, электромагниты и т. п.) нагревается пусковым током от температуры, обусловленной продолжительной работой при номинальном режиме, до максимальной температуры |
|
3. Радиальный воздушный зазор |
Зазор между статором и ротором электродвигателя, замеренный в состоянии покоя |
|
4. Путь утечки |
Кратчайшее расстояние по поверхности электроизоляционого материала между токоведущими частями разного потенциала или между токоведущей и заземленной частями электрооборудования |
|
5. Электрический зазор |
Кратчайшее расстояние в окружающей среде между токоведущими частями разного потенциала или между токоведущей и заземленной частями электрооборудования |
|
6. Трекингостойкость |
По ГОСТ 21515-76 |
|
7. Трекинг |
По ГОСТ 21515-76 |
|
8. Термическая стойкость |
По ГОСТ 18311-80 |
|
9. Электродинамическая стойкость |
По ГОСТ 18311-80 |
ИНФОРМАЦИОННЫЕ ДАННЫЕ
1. РАЗРАБОТАН И ВНЕСЕН Министерством электротехнической промышленности
РАЗРАБОТЧИКИ
Н. А. Черников, канд. техн. наук (руководитель темы); Г. И. Туркин
2. УТВЕРЖДЕН И ВВЕДЕН В ДЕЙСТВИЕ Постановлением Государственного комитета СССР по стандартам от 26.05.81 № 2608
3. Срок первой проверки-1988 г.; периодичность проверки- 5 лет
4. ВВЕДЕН ВПЕРВЫЕ
5. ССЫЛОЧНЫЕ НОРМАТИВНО-ТЕХНИЧЕСКИЕ ДОКУМЕНТЫ
|
Обозначение НТД, на который дана ссылка |
Номер пункта, приложения |
|
ГОСТ 12.2.021-76 |
|
|
ГОСТ 183-74 |
|
|
ГОСТ 4647-80 |
|
|
ГОСТ 7217-87 |
|
|
ГОСТ 8865-87 |
|
|
ГОСТ 10434-82 |
|
|
ГОСТ 11828-86 |
|
|
ГОСТ 14254-80 |
|
|
1.1.2; 3.3.3 |
|
|
ГОСТ 17494-87 |
|
|
ГОСТ 17677-82 |
3.7.7.1 |
|
ГОСТ 18311-80 |
|
|
ГОСТ 21515-76 |
|
|
ГОСТ 22782.3-77 |
|
|
ГОСТ 24719-81 |
1.4.1.1 |
|
ГОСТ 24786-81 |
6. ПЕРЕИЗДАНИЕ (октябрь 1993 г.) с Изменениями № 1, 2, 3, утвержденными в марте 1982 г., марте 1984 г., апреле 1987 г. (ИУС 6-82, 6-84, 7-87)
СОДЕРЖАНИЕ