Нормативные документы размещены исключительно с целью ознакомления учащихся ВУЗов, техникумов и училищ.
Объявления:

ГОСТ 2.604-2000

МЕЖГОСУДАРСТВЕННЫЙ СТАНДАРТ

Единая система конструкторской документации

ЧЕРТЕЖИ РЕМОНТНЫЕ

Общие требования

МЕЖГОСУДАРСТВЕННЫЙ СОВЕТ
ПО СТАНДАРТИЗАЦИИ, МЕТРОЛОГИИ И СЕРТИФИКАЦИИ

Минск

Предисловие

1 РАЗРАБОТАН Всероссийским научно-исследовательским институтом стандартизации и сертификации в машиностроении (ВНИИНМАШ) Госстандарта России

ВНЕСЕН Госстандартом России

2 ПРИНЯТ Межгосударственным Советом по стандартизации, метрологии и сертификации (протокол № 18 от 18 октября 2000 г.)

За принятие проголосовали:

Наименование государства

Наименование национального органа по стандартизации

Азербайджанская Республика

Азгосстандарт

Республика Армения

Армгосстандарт

Республика Беларусь

Госстандарт Республики Беларусь

Республика Казахстан

Госстандарт Республики Казахстан

Кыргызская Республика

Кыргызстандарт

Республика Молдова

Молдовастандарт

Российская Федерация

Госстандарт России

Республика Таджикистан

Таджикгосстандарт

Туркменистан

Главгосинспекция «Туркменстандартлары»

Украина

Госстандарт Украины

3 Постановлением Государственного комитета Российской Федерации по стандартизации и метрологии от 29 марта 2001 г. № 150-ст межгосударственный стандарт ГОСТ 2.604-2000 введен в действие в качестве государственного стандарта Российской Федерации с 1 июля 2001 г.

4 ВЗАМЕН ГОСТ 2.604-88

СОДЕРЖАНИЕ

1 Область применения. 2

2 Нормативные ссылки. 2

3 Определения. 2

4 Общие требования. 3

5 Правила выполнения ремонтных чертежей. 4

6 Правила выполнения ремонтных схем.. 7

7 Правила выполнения ремонтных спецификаций. 8

8 Правила выполнения ремонтных ведомостей спецификаций и ремонтных ведомостей ссылочных документов. 9

9 Правила выполнения ремонтных инструкций. 9

10 Обозначение ремонтных чертежей, схем, спецификаций, ведомостей и инструкций. 10

МЕЖГОСУДАРСТВЕННЫЙ СТАНДАРТ

Единая система конструкторской документации

ЧЕРТЕЖИ РЕМОНТНЫЕ

Общие требования

Unified system of design documentation. Repairing drawings.
General requirements

(Поправка. ИУС 12-2008 г.)

Дата введения 2001-07-01

1 Область применения

Настоящий стандарт распространяется на конструкторскую документацию для выполнения ремонта изделий всех отраслей промышленности и устанавливает общие правила выполнения ремонтных чертежей, схем, спецификаций, ведомостей, инструкций (далее - ремонтных чертежей).

На основании настоящего стандарта допускается при необходимости разрабатывать стандарты, устанавливающие правила выполнения ремонтных чертежей для выполнения ремонта конкретных видов техники с учетом специфики изделий и (или) ремонта.

2 Нормативные ссылки

В настоящем стандарте использованы ссылки на следующие стандарты:

ГОСТ 2.102-68 Единая система конструкторской документации. Виды и комплектность конструкторских документов

ГОСТ 2.106-96 Единая система конструкторской документации. Текстовые документы

ГОСТ 2.316-68 Единая система конструкторской документации. Правила нанесения на чертежах надписей технических требований и таблиц

ГОСТ 2.602-95 Единая система конструкторской документации. Ремонтные документы

ГОСТ 2.701-84 Единая система конструкторской документации. Схемы. Виды и типы. Общие требования к выполнению

ГОСТ 2.052-2006 Единая система конструкторской документации. Электронная модель изделия. Общие положения

ГОСТ 2.104-2006 Единая система конструкторской документации. Основные надписи

ГОСТ 2.610-2006 Единая система конструкторской документации. Правила выполнения эксплуатационных документов

(Измененная редакция, Изм. № 1)

3 Определения

В настоящем стандарте применяют следующие термины с соответствующими определениями.

3.1 ремонтный размер: Размер, установленный для ремонтируемого изделия или для изготовления нового изделия взамен изношенного и отличающийся от аналогичного размера изделия по рабочему чертежу.

3.2 категорийный ремонтный размер: Ремонтный размер, установленный для определенного вида и (или) категории ремонта. Например, для текущего, среднего или капитального ремонта; для 1-го, 2-го, 3-го вариантов ремонта.

3.3 пригоночный ремонтный размер: Ремонтный размер, установленный с учетом припуска на пригонку изделий «по месту».

4 Общие требования

4.1 Ремонтными считаются документы (чертежи, схемы, спецификации, ведомости инструкции и другие документы в соответствии с ГОСТ 2.102 и ГОСТ 2.602), предназначенные для:

- ремонта изделий (деталей, сборочных единиц, комплексов и комплектов);

- сборки (монтажа) и контроля отремонтированных изделий;

- изготовления дополнительных (новых) деталей (сборочных единиц) с ремонтными размерами. Ремонтные чертежи разрабатывают в дополнение к ремонтным документам по ГОСТ 2.602 или, при отсутствии последних, как самостоятельные документы.

Для простых изделий допускается разрабатывать ремонтные чертежи вместо руководства по ремонту и (или) технических условий на ремонт.

(Измененная редакция, Изм. № 1)

4.2 В комплект ремонтных чертежей изделия в общем случае входят:

- чертежи изделий, перечисленных в 4.1;

- габаритные, монтажные чертежи, если в результате ремонта должны измениться габаритные размеры изделия либо монтажные размеры;

- чертежи дополнительных деталей (сборочных единиц), выполняемые в соответствии с требованиями ЕСКД;

- схемы;

- спецификации;

- ведомости спецификаций, ссылочных документов;

- инструкции.

Допускается в комплект этих документов включать расчеты размерных и кинематических цепей, расчеты изделий (деталей, сборочных единиц и т.п.) на прочность и другие необходимые документы в соответствии с ГОСТ 2.102 и ГОСТ 2.602.

4.3 Ремонтные габаритные и монтажные чертежи, ремонтные схемы и спецификации и другие документы, перечисленные в 4.1 и 4.2, могут быть выполнены в бумажной или электронной форме в соответствии с требованиями настоящего стандарта и стандартов ЕСКД.

(Измененная редакция, Изм. № 1)

4.4 На ремонтных чертежах, ремонтных габаритных и монтажных чертежах, ремонтных схемах, входящих в комплект документов для ремонта, помещают только те данные, которые отличны от данных соответствующих документов, входящих в комплект рабочей конструкторской документации.

5 Правила выполнения ремонтных чертежей

5.1 Ремонтные чертежи выполняют в соответствии с требованиями стандартов Единой системы конструкторской документации и настоящего стандарта.

Ремонтные чертежи в электронной форме могут быть выполнены в виде электронной модели детали и электронной модели сборочной единицы в соответствии с требованиями ГОСТ 2.052.

(Измененная редакция, Изм. № 1)

5.2 На ремонтных чертежах указывают только те размеры, предельные отклонения, натяги, зазоры и другие данные, которые должны быть выполнены и проверены при ремонте изделия.

5.3 На изделия, которые при ремонте не могут быть разъединены (неразъемные соединения, выполненные клепкой, сваркой и т.п.), допускается не выпускать самостоятельные чертежи на отдельные детали. Указания по ремонту таких изделий приводят на ремонтном сборочном чертеже изделия, в которое входят ремонтируемые детали, с добавлением изображений и данных, поясняющих сущность ремонта.

5.4 На ремонтных чертежах изображают только те виды, разрезы, сечения, которые необходимы для ремонта изделия.

5.5 На ремонтных чертежах предельные отклонения линейных размеров указывают, как правило, числовыми значениями, например Æ18+0018, Æ, или условными обозначениями с последующим указанием в скобках их числовых значений, например Æ18 Н7 (+0,018), Æ.

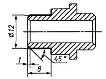
5.6 На ремонтных чертежах поверхности, подлежащие обработке при ремонте, выполняют сплошной толстой основной линией, остальные части изображения - сплошной тонкой линией (рисунок 1).

Примечание - Приведенные в настоящем стандарте рисунки выполнены с полнотой, необходимой для иллюстрации изложенных в стандарте правил, и не должны рассматриваться как примеры полного оформления соответствующих чертежей.

Рисунок 1

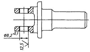
Если у отдельных элементов ремонтируемого изделия меняется конфигурация, то измененную часть показывают сплошной толстой основной линией, а неизменную часть - сплошной тонкой линией (рисунок 2).

Рисунок 2

5.7 На чертежах изделия, ремонтируемого сваркой, пайкой, нанесением металлопокрытий и т.п., рекомендуется выделять соответствующий участок изделия, подлежащий ремонту (рисунок 3).

Рисунок 3

5.8 При ремонте изделия наплавкой, заливкой (при помощи сварки, пайки и т.п.) на ремонтном чертеже указывают наименование, марку, размеры материала, используемого при ремонте, а также обозначение стандарта на материал (рисунок 4).

Рисунок 4

5.9 Если при ремонте изделия удаляют изношенную часть и заменяют ее новой (рисунок 5), то удаляемую часть изображают тонкой штрих-пунктирной линией с двумя точками (рисунок 6). Новую часть выполняют на самостоятельном ремонтном чертеже.

Рисунок 5

Рисунок 6

5.10 На ремонтном чертеже изделия, для которого установлены пригоночные размеры, при необходимости, указывают установочные базы для пригонки «по месту».

5.11 На ремонтных чертежах категорийные и пригоночные размеры, а также размеры изделия, ремонтируемого снятием минимально необходимого слоя материала, проставляют буквенными обозначениями, а их числовые значения и другие данные указывают на полках линий-выносок (рисунок 7) или в таблице (рисунок 8).

Рисунок 7

Рисунок 8

5.12 На ремонтных чертежах в сопряженных изделиях с категорийными размерами сохраняется характер сопряжения (квалитеты точности, посадки, шероховатость и др.), предусмотренный в рабочих чертежах.

5.13 На ремонтных чертежах изделий для определения способа ремонта помещают технологические указания, которые являются единственными для восстановления эксплуатационных характеристик изделия.

Технологические требования, относящиеся к отдельному элементу изделия, помещают на ремонтном чертеже, как правило, рядом с соответствующим элементом или участком изделия.

Эти требования допускается не указывать, если они изложены в руководстве по ремонту или в технических условиях на ремонт.

5.14 Надписи, технические требования и таблицы на ремонтных чертежах выполняют в соответствии с требованиями ГОСТ 2.316.

5.15 На ремонтном чертеже допускается указывать одновременно несколько вариантов ремонта одних и тех же элементов изделия с соответствующими разъяснениями на чертеже. На каждый принципиально отличный вариант ремонта изделия выполняют самостоятельный чертеж.

5.16 Если при ремонте изделия в него вводят одну или несколько деталей (втулку, стопор и т.п.) или деталь при ремонте заменяют сборочной единицей, аналогичной детали (т.е. состоящей из нескольких составных частей), то ремонтный чертеж выполняют как сборочный.

5.17 На ремонтных чертежах деталей содержание графы «Материал» основной надписи должно соответствовать содержанию аналогичной графы рабочего чертежа детали. Обозначение отмененных стандартов на материалы не указывают.

В ремонтных чертежах на вновь изготовляемые изделия в этом случае указывают обозначение материала по действующему стандарту.

5.18 Предельные отклонения размеров 14-17-х квалитетов указывают на ремонтных чертежах с округлением до десятых долей миллиметра.

5.19 Если на ремонтном чертеже одного изделия дано исчерпывающее указание об изготовлении другого (сопряженного) изделия по рабочей конструкторской документации (рисунок 9) и эта документация включена в комплект документов для ремонта, то отдельный ремонтный чертеж на сопряженное изделие не выпускают.

Рисунок 9

6 Правила выполнения ремонтных схем

6.1 Ремонтные схемы выполняют в соответствии с требованиями настоящего стандарта и ГОСТ 2.701.

Ремонтные электрические, кинематические, гидравлические, пневматические, вакуумные схемы, схемы цифровой вычислительной техники, обозначения цепей и буквенно-цифровые обозначения в электрических схемах выполняют в соответствии со стандартами Единой системы конструкторской документации.

6.2 На ремонтных схемах указывают элементы схемы, устройства, функциональные группы и т.п., линии связи, цепи, графические и буквенно-цифровые обозначения и другие данные, необходимые при выполнении ремонта, которые должны быть идентичными принятым в рабочей конструкторской документации.

6.3 На устройства (элементы, функциональные группы и т.п.), схемы которых достаточно просты или ремонт их несложен, допускается не разрабатывать самостоятельные ремонтные схемы. Указания по ремонту таких изделий приводят на ремонтной схеме изделия, в которое входит ремонтируемое изделие, с добавлением необходимой для ремонта информации.

6.4 На ремонтных схемах элементы схемы (устройства и т.п.), линии связи, цепи, подлежащие ремонту, выполняют основной сплошной толстой линией, остальные элементы - сплошной тонкой линией.

6.5 На ремонтной схеме в бумажной форме одновременно допускается указывать несколько вариантов ремонта одних и тех же элементов схемы (устройств и т.п.) с соответствующими разъяснениями на схеме.

На каждый принципиально отличный вариант ремонта изделия выполняют самостоятельную схему.

(Измененная редакция, Изм. № 1)

6.6 Надписи, таблицы, а также технические требования на ремонтных схемах ремонтируемых изделий выполняют, как правило, в соответствии с требованиями ГОСТ 2.316.

7 Правила выполнения ремонтных спецификаций

7.1 Ремонтную спецификацию выполняют в соответствии с требованиями настоящего стандарта и ГОСТ 2.106. Ремонтную спецификацию допускается выполнять на поле чертежа в бумажной форме на каждый вид изделия (сборочная единица, комплекс, комплект).

(Измененная редакция, Изм. № 1)

7.2 Ремонтная спецификация устанавливает возможные изменения рабочей спецификации изделия в результате его ремонта. Она также используется для организации ремонта изделия и комплектования конструкторских документов на него.

7.3 В ремонтную спецификацию вносят составные части специфицируемого изделия, на которое разрабатывают ремонтные чертежи, а также другие ремонтные документы, относящиеся к этому изделию.

В ремонтную спецификацию специфицируемого изделия вносят отдельные составные части из других видов изделий (независимо от разрабатываемых для них ремонтных документов), которые после ремонта будут входить в специфицируемое изделие.

7.4 В разделе «Документация» ремонтной спецификации вносят ремонтные чертежи и другие ремонтные документы, относящиеся к ремонту изделия в целом (например ремонтный сборочный чертеж, ремонтная схема, относящаяся к изделию в целом, ремонтный монтажный чертеж, ремонтная ведомость спецификаций, технические условия на ремонт изделия и т.п., т.е. ремонтные документы, аналогичные соответствующим документам из состава комплекта рабочей конструкторской документации).

7.5 В разделе «Комплексы», «Сборочные единицы», «Детали», «Стандартные изделия», «Комплекты», «Прочие изделия» ремонтной спецификации вносят составные части, указанные в 7.3.

7.6 В раздел «Материалы» ремонтной спецификации вносят материалы, необходимые для ремонта изделия и его комплектов, поставляемых непосредственно с изделием.

8 Правила выполнения ремонтных ведомостей спецификаций и ремонтных ведомостей ссылочных документов

8.1 Выполнение ремонтных ведомостей спецификаций

8.1.1 Ремонтную ведомость спецификаций выполняют в соответствии с требованиями настоящего стандарта и ГОСТ 2.106.

8.1.2 Ремонтная ведомость спецификаций включает:

- ремонтную спецификацию изделия;

- ремонтные спецификации составных частей изделия;

- ремонтные спецификации комплектов;

- ведомость документов для ремонта.

В ремонтную ведомость спецификаций изделия не включают ремонтные спецификации составных частей изделия, на которые имеются свои ведомости спецификаций.

В конце ремонтной ведомости спецификаций изделия дают ссылки на ремонтные ведомости спецификаций составных частей изделия.

8.2 Правила выполнения ремонтных ведомостей ссылочных документов

8.2.1 Ремонтную ведомость ссылочных документов выполняют в соответствии с требованиями настоящего стандарта и ГОСТ 2.106.

8.2.2 В ремонтную ведомость ссылочных документов включают документы, на которые имеются ссылки в ремонтных документах, включенных в ведомости документов для ремонта изделия.

Примечание - Ремонтные документы, обозначения которых записаны в графу «Обозначение» ремонтных спецификаций и ведомостей документов для ремонта, к ссылочным документам не относятся.

9 Правила выполнения ремонтных инструкций

9.1 Ремонтные инструкции выполняют в соответствии с требованиями настоящего стандарта и ГОСТ 2.106 и ГОСТ 2.610.

(Измененная редакция, Изм. № 1)

9.2 Ремонтные инструкции не должны дублировать содержание руководства по ремонту, технических условий на ремонт и других ремонтных документов, выполняемых в соответствии с требованиями ГОСТ 2.602.

9.3 Допускается выполнять ремонтные инструкции в виде разделов руководства по ремонту.

9.4 Для группы однотипных изделий рекомендуется разрабатывать общие ремонтные инструкции. В указанные документы включают сведения, которые распространяются на все изделия определенного вида (группы, подгруппы). При наличии обидах ремонтных инструкций в ремонтных инструкциях на конкретные изделия их содержание не повторяют, а делают соответствующие ссылки на них.

10 Обозначение ремонтных чертежей, схем, спецификаций, ведомостей и инструкций

10.1 Обозначение ремонтного чертежа, спецификации, ведомости, инструкции и других документов, выполняемых в соответствии с номенклатурой документов по изложить в новой редакции: «ГОСТ 2.102, получают введением в обозначение этих документов дополнительного кода «Р» (ремонтный).

Примечание - Коды ремонтных чертежей, спецификаций, схем, ведомостей и инструкций состоят из кода «Р» и кода документа по ГОСТ 2.102, ГОСТ 2.602, ГОСТ 2.701. Например, код ремонтного чертежа детали «Р» (обозначение ремонтного чертежа детали АБВГ.721372.001Р), код ремонтной сборочной единицы «РСБ» (обозначение ремонтного сборочного чертежа АБВГ.481226.018РСБ), код ремонтной спецификации «Р» (обозначение ремонтной спецификации изделия АБВГ.481226.018Р), код ремонтной схемы состоит из «Р» и кода схемы по ГОСТ 2.701 (обозначение ремонтной электрической, принципиальной схемы АБВГ.481226.018РЭЗ).

В данные документы, выполненные в электронной форме, заносят в реквизитную часть по ГОСТ 2.104 дополнительный признак в соответствии с ГОСТ 2.102.

(Измененная редакция, Изм. № 1)

10.2 Обозначение ремонтного чертежа с одним категорийным размером получают добавлением к обозначению ремонтного чертежа цифр 1, 2, 3 и т.д. соответственно категории ремонтного размера детали изделия, изображенного на чертеже, например АБВГ.711671.011Р1.

Ремонтный чертеж с несколькими категорийными размерами для одной поверхности обозначают добавлением к этому обозначению дроби, в числителе которой стоит буква «Р» и цифра, соответствующая первой категории ремонтного размера, а в знаменателе - буква «Р» и цифра, соответствующая второй или третьей и т.д. категории ремонтного размера, например АБВГ.711671.011. В ремонтных документах, выполненных в электронной форме, горизонтальную черту, указанную в примере, допускается заменять на косую черту (/).

Обозначение ремонтного чертежа с категорийными размерами для нескольких поверхностей получают добавлением к обозначению ремонтного чертежа буквы «К».

Примечание - Категории ремонтных размеров изделий устанавливаются разработчиком.

(Измененная редакция, Изм. № 1)

10.3 Обозначение ремонтного чертежа с пригоночным размером получают добавлением буквы «П» к обозначению ремонтного чертежа.

10.4 Обозначение ремонтного чертежа дополнительного (нового) изделия присваивают по правилам для обозначения рабочих чертежей.

Ремонтный чертеж изделия, в которое вводят дополнительное (новое) изделие, обозначают так же, как ремонтное изделие.

10.5 Обозначение ремонтных чертежей вариантов ремонта одного и того же изделия (детали, сборочной единицы, комплекта) получают добавлением к обозначению изделия буквы «Р» и через тире - римских цифр I, II (соответственно для первого, второго вариантов ремонта).

10.6 Код общей ремонтной инструкции состоит из кода ОР и кода инструкции, предусмотренного ГОСТ 2.102, например, ОРИ…

(Измененная редакция, Изм. № 1)

Ключевые слова: конструкторская документация, ремонтные чертежи, ремонтные спецификации, ремонтные схемы, ремонтные ведомости, ремонтные инструкции, ремонтные документы

2008-2013. ГОСТы, СНиПы, СанПиНы - Нормативные документы - стандарты.