
ГОСУДАРСТВЕННЫЙ СТАНДАРТ СОЮЗА ССР
НАДЕЖНОСТЬ В ТЕХНИКЕ
СОСТАВ И ОБЩИЕ ПРАВИЛА
ЗАДАНИЯ
ТРЕБОВАНИЙ ПО НАДЕЖНОСТИ
ГОСТ 27.003-90
ГОСУДАРСТВЕННЫЙ
КОМИТЕТ СССР ПО УПРАВЛЕНИЮ
КАЧЕСТВОМ ПРОДУКЦИИ И СТАНДАРТАМ
Москва
ГОСУДАРСТВЕННЫЙ СТАНДАРТ СОЮЗА ССР
|
Надежность в технике СОСТАВ И ОБЩИЕ
ПРАВИЛА ЗАДАНИЯ Industrial product dependability. Dependability
|
ГОСТ |
Дата введения 01.01.92
Настоящий стандарт распространяется на все виды изделий и устанавливает состав, порядок и общие правила задания требований по надежности для включения их в нормативно-техническую (НТД) и конструкторскую документацию.
Стандарт является обязательным для изделий, разрабатываемых по заказам Министерства обороны, и рекомендуемым - для других изделий.
Требования настоящего стандарта могут быть конкретизированы в НТД по видам техники.
Термины, применяемые в настоящем стандарте, и их определения - по ГОСТ 27.002.
1.1. Требования по надежности - совокупность количественных и (или) качественных требований к безотказности, долговечности, ремонтопригодности, сохраняемости, выполнение которых обеспечивает эксплуатацию изделий с заданными показателями эффективности, безопасности, экологичности, живучести и других составляющих качества, зависящими от надежности изделия, или возможность применения данного изделия в качестве составной части другого изделия с заданным уровнем надежности.
1.2. При задании требований по надежности определяют (выбирают) и согласовывают между заказчиком (потребителем) и разработчиком (изготовителем) изделия:
типовую модель эксплуатации (или несколько моделей), применительно к которой (которым) задают требования по надежности;
критерии отказов по каждой модели эксплуатации, применительно к которой задают требования по безотказности;
критерии предельных состояний изделий, применительно к которым установлены требования по долговечности и сохраняемости;
понятие "выходной эффект" для изделий, требования по надежности к которым установлены с использованием показателя "коэффициент сохранения эффективности" Kэф;
номенклатуру и значения показателей надежности (ПН), применительно к каждой модели эксплуатации;
методы контроля соответствия изделий заданным требованиям по надежности (контроля надежности);
требования и (или) ограничения по конструктивным, технологическим и эксплуатационным способам обеспечения надежности, при необходимости, с учетом экономических ограничений;
необходимость разработки программы обеспечения надежности.
1.3. Типовая модель эксплуатации изделий должна содержать:
последовательность (циклограмму) этапов (видов, режимов) эксплуатации (хранения, транспортирования, развертывания, ожидания применения по назначению, применения по назначению, технического обслуживания и плановых ремонтов) с указанием их продолжительности.
характеристику принятой системы технического обслуживания и ремонта, обеспечения запасными частями, инструментов и эксплуатационными материалами;
уровни внешних воздействующих факторов и нагрузок для каждого этапа (вида, режима) эксплуатации;
численность и квалификацию обслуживающего и ремонтного персонала.
1.4. Номенклатуру задаваемых ПН изделия выбирают в соответствии с положениями настоящего стандарта и согласовывают в установленном порядке между заказчиком (потребителем) и разработчиком (изготовителем). Показатели, как правило, должны выбираться из числа показателей, определения которых приведены в ГОСТ 27.002. Допускается применять показатели, наименования и определения которых конкретизируют соответствующие термины, установленные ГОСТ 27.002, с учетом особенностей изделия и (или) специфики его применения, но не противоречат стандартизованным терминам.
Условные обозначения показателей, применяемых в настоящем стандарте, приведены в приложении 1, примеры возможных модификаций стандартизованных показателей - в приложении 2.
1.5. Общее количество задаваемых на изделие показателей должно быть минимальным, но характеризовать все этапы его эксплуатации. Все показатели должны иметь однозначное толкование и для каждого из них должны существовать методы контроля (оценки) на всех стадиях жизненного цикла изделий.
1.6. Для изделий, подлежащих перед началом или в процессе эксплуатации хранению (транспортированию), задают показатели сохраняемости. При этом должны быть определены и учтены условия и режимы хранения (транспортирования), применительно к которым задают указанные показатели.
Пример. Для восстанавливаемых изделий непрерывного действия, выходной эффект от применения которых пропорционален суммарной продолжительности пребывания изделий в работоспособном состоянии, основным показателем является Кг. По согласованию между заказчиком и разработчиком возможны следующие сочетания задаваемых показателей: Кг и То или Кг и Тв, или То и Та.
Недопустимое сочетание: Кг, То и Тв.
1.8. При статистическом методе контроля для выбора плана контроля соответствия изделий заданным требованиям по надежности применительно к каждому ПН устанавливают необходимые исходные данные: приемочный Ra и браковочный Rb, уровни, риски заказчика (потребителя) b и поставщика (изготовителя) a или доверительную вероятность g и значение отношения верхней Rв и нижней Rн доверительных границ.
1.9. Требования к конструктивным способам обеспечения надежности могут содержать:
требования и (или) ограничения по видам и кратности резервирования;
требования и (или) ограничения по затратам (стоимости) в изготовлении и эксплуатации, массе, габаритам, объему изделия и (или) его отдельных составных частей, комплектов ЗИП, оборудования для технического обслуживания и ремонтов;
требования к структуре и составу ЗИП;
требования к системе технического диагностирования (контроля технического состояния);
требования и (или) ограничения по способам и средствам обеспечения ремонтопригодности и сохраняемости;
ограничения по номенклатуре разрешенных к применению комплектующих изделий и материалов;
требования по применению стандартизованных или унифицированных комплектующих изделий и др.
1.10. Требования к технологическим (производственным) способам обеспечения надежности могут содержать:
требования к точностным параметрам технологического оборудования и его аттестации;
требования к стабильности технологических процессов, свойствам сырья, материалов, комплектующим изделиям;
требования к необходимости, длительности и режимам технологического прогона (обкатки, электротермотренировки и т. п.) изделий в процессе изготовления;
требования к способам и средствам контроля уровня надежности (дефектности) в ходе производства и др.
1.1. Требования к эксплуатационным способам обеспечения надежности могут содержать:
требования к системе технического обслуживания и ремонтов;
требования к алгоритму технического диагностирования (контроля технического состояния);
требования к численности, квалификации, длительности обучения (подготовки) обслуживающего и ремонтного персонала;
требования к способам устранения отказов и повреждений, порядку использования ЗИП, правилам регулировок и т. п.;
требования к объему и форме представления информации о надежности, собираемой (регистрируемой) в ходе эксплуатации. и др.
1.12. Требования по надежности включают в:
тактико-технические задания (ТТЗ), технические задания (ТЗ) на разработку или модернизацию изделий;
технические условия (ТУ) на изготовление опытной и серийной продукции (если согласованы правила или условия их подтверждения);
стандарты общих технических требований (ОТТ), общих технических условий (ОТУ) и технических условий (ТУ).
В паспортах, формулярах, инструкциях и другой эксплуатационной документации требования по надежности (показатели надежности) указывают по согласованию между заказчиком (потребителем) и разработчиком (изготовителем) в качестве справочных. Требования по надежности могут включаться в договоры на разработку и поставку изделий.
анализа требований заказчика (потребителя), назначения и условий эксплуатации изделия (или его аналогов), ограничений по всем видам затрат, в том числе по конструктивному исполнению, технологии изготовления и стоимости эксплуатации;
выработки и согласования с заказчиком (потребителем) критериев отказов и предельных состояний;
выбора рациональной номенклатуры задаваемых ПН;
установления значений (норм) ПН изделия и его составных частей.
2.2. На стадии разработки изделия по согласованию между заказчиком (потребителем) и разработчиком допускается уточнять (корректировать) требования по надежности при соответствующем технико-экономическом обосновании путем выполнения следующих работ:
рассмотрения возможных схемно-конструктивных вариантов построения изделия и расчета для каждого из них ожидаемого уровня надежности, а также показателей, характеризующих виды затрат, включая эксплуатационные, и возможности выполнения других заданных ограничений;
выбора схемно-конструктивного варианта построения изделия, удовлетворяющего заказчика по совокупности ПН и затрат;
уточнения значений ПН изделия и его составных частей.
2.4. На стадиях серийного производства и эксплуатации допускается по согласованию между заказчиком и разработчиком (изготовителем) корректировать значения отдельных ПН по результатам испытаний или подконтрольной эксплуатации.
2.5. Для сложных изделий при их отработке, опытном и серийном производстве допускается поэтапное задание значений ПН (при условии повышения требований к надежности) и параметров планов контроля, исходя из установившейся практики, с учетом накопленных статистических данных по предшествующим изделиям-аналогам, и по согласованию между заказчиком (потребителем) и разработчиком (изготовителем).
2.6. При наличии прототипов (аналогов) с достоверно известным уровнем надежности состав работ по заданию требований по надежности, приведенный в пп. 2.1 и 2.2, может быть сокращен за счет тех показателей, информация по которым имеется на момент формирования раздела ТТЗ (ТЗ), ТУ "Требования по надежности".
3.1. Выбор номенклатуры ПН осуществляют на основе классификации изделий по признакам, характеризующим их назначение, последствия отказов и достижения предельного состояния, особенности режимов применения и др.
3.2. Определение классификационных признаков изделий осуществляют путем инженерного анализа и согласования его результатов между заказчиком и разработчиком. Основным источником информации для такого анализа является ТТЗ (ТЗ) на разработку изделия в части характеристик его назначения и условий эксплуатации и данные о надежности изделий-аналогов.
определенность назначения изделия;
число возможных (учитываемых) состояний изделий по работоспособности в процессе эксплуатации;
режим применения (функционирования);
возможные последствия отказов и (или) достижения предельного состояния при применении и (или) последствия отказов при хранении и транспортировании;
возможность восстановления работоспособного состояния после отказа;
характер основных процессов, определяющих переход изделия в предельное состояние;
возможность и способ восстановления технического ресурса, (срока службы);
возможность и необходимость технического обслуживания;
возможность и необходимость контроля перед применением;
наличие в составе изделий средств вычислительной техники.
3.3.1. По определенности назначения изделия подразделяют на:
изделия конкретного назначения (ИКН), имеющие один основной вариант применения по назначению;
наделяя общего назначения (ИОН), имеющие несколько вариантов применения.
3.3.2. По числу возможных (учитываемых) состояний (по работоспособности) изделия подразделяют на:
изделия вида I, которые в процессе эксплуатация могут находиться в двух состояниях - работоспособном или неработоспособном;
изделия вида II, которые, кроме указанных двух состояний, могут находиться в некотором числе частично неработоспособных
состояний, в которые они переходят в результате частичного отказа.
Примечание. Для упрощения процедуры задания (и последующего контроля) по согласованию между заказчиком и разработчиком допускается изделия вида II приводить к изделиям вида I путем условного разделения множества частично неработоспособных состояний на два подмножества состояний, одно из которых относят к работоспособному, а другое - к неработоспособному состоянию. Для подразделения множества состояний на два подмножества рекомендуется общее правило: если в частично неработоспособном состоянии целесообразно продолжать применять изделия по назначению, то это состояние относят к работоспособному, в противном случае - к неработоспособному.
Допускается также разукрупнять изделия вида II на составные части вида I и устанавливать требования по надежности к изделию в целом в виде набора ПН его составных частей.
Для изделий, имеющих канальный принцип построения (системы связи, обработки информации и др.), требования по безотказности и ремонтопригодности допускается задавать в расчете на один канал или на каждый канал при неравноценных по эффективности каналах.
3.3.3. По режимам применения (функционирования) изделия подразделяют на:
изделия непрерывного длительного применения;
изделия многократного циклического применения;
изделия однократного применения (с предшествующим периодом ожидания применения и хранения).
3.3.4. По последствиям отказов или достижения предельного состояния при применении, или последствиям отказов при хранении и транспортировании изделия подразделяют на:
изделия, отказы или переход в предельное состояние которых приводят к последствиям катастрофического (критического) характера (к угрозе для жизни и здоровья людей, значительным экономическим потерям и т. п.);
изделия, отказы или переход в предельное состояние которых не приводят к последствиям катастрофического (критического) характера (без угрозы для жизни и здоровья людей, незначительным или "умеренным" экономическим потерям и т. п.).
3.3.5. По возможности восстановления работоспособного состояния после отказа в процессе эксплуатации изделия подразделяют на:
восстанавливаемые;
невосстанавливаемые.
3.3.6. По характеру основных процессов, определяющих переход в предельное состояние, изделия подразделяют на:
стареющие;
изнашиваемые;
стареющие и изнашиваемые одновременно.
3.3.7. По возможности и способу восстановления технического ресурса (срока службы) путем проведения плановых ремонтов (средних, капитальных и др.) изделия подразделяют на:
неремонтируемые;
ремонтируемые обезличенным способом;
ремонтируемые необезличенным способом.
Таблица 1
Обобщенная схема выбора номенклатуры задаваемых ПН
|
Номенклатура задаваемых ПН |
|||
|
ИКН |
Вид II |
Восстанавливаемое и невосстанавливаемое |
Коэффициент сохранения эффективности Kэф или его модификации (примеры возможных модификаций Kэф приведены в приложении 2); показатели долговечности, если для изделия может быть однозначно сформулировано понятие "предельное состояние" и определены критерии его достижения; показатели сохраняемости, если для изделия предусматривается хранение (транспортирование) в полном составе и собранном виде или показатели сохраняемости отдельно хранимых (транспортируемых) частей изделия |
|
Вид I |
Восстанавливаемое |
Комплексный ПН и, при необходимости, один из определяющих его показателей безотказности или ремонтопригодности (в соответствии с п. 1.7); показатели долговечности и сохраняемости, выбираемые аналогично изделиям вида II |
|
|
Невосстанавливаемое |
Единичный показатель безотказности; показатели долговечности и сохраняемости, выбираемые аналогично изделиям вида II |
||
|
ИОН |
Вид II |
Восстанавливаемое и невосстанавливаемое |
Набор ПН составных частей изделия, рассматриваемых мак изделия вида I |
|
Вид I |
Восстанавливаемое |
Комплексный ПН и, при необходимости, один из определяющих его показателей безотказности или ремонтопригодности (в соответствии с п. 1.7); показатели долговечности и сохраняемости, выбираемые аналогично ИКН вида I |
|
|
Невосстанавливаемое |
Единичный показатель безотказности; показатели долговечности и сохраняемости, выбираемые аналогично ИКН вида I |
||
3.3.8. По возможности технического обслуживания в процессе эксплуатации изделия подразделяют на:
обслуживаемые;
необслуживаемые.
3.3.9. По возможности (необходимости) проведения контроля перед применением изделия подразделяют на:
контролируемые перед применением;
не контролируемые перед применением.
3.3.8. При наличии в составе изделий электронно-вычислительных машин и других устройств вычислительной техники их относят к изделиям с отказами сбойного характера (сбоями), при отсутствии - к изделиям без отказов сбойного характера (сбоев).
3.4. Обобщенная схема выбора номенклатуры ПН изделий с учетом признаков классификации, установленных в п. 3.3, приведена в таблице 1. Конкретизирующая эту схему методика приведена в приложении 3. Примеры выбора номенклатуры задаваемых показателей приведены в приложении 4.
4.1. Значения (нормы) ПН изделий устанавливают в ТТЗ (ТЗ), ТУ с учетом назначения изделий, достигнутого уровня и выявленных тенденций повышения их надежности, технико-экономического обоснования, возможностей изготовителей, требований и возможностей заказчика (потребителей), исходных данных выбранного плана контроля.
При применении планов контроля изделий с заданными приемочным Ra и браковочным Rb уровнями проектирование на стадии разработки осуществляют таким образом, чтобы на стадии производства обеспечивался фактический уровень ПН, соответствующий уровню Ra. Значение уровня Ra представляет на стадии разработки расчетную норму ПН.
4.2. Расчетные (оценочные) значения ПН изделия и его составных частей, полученные после завершения очередного этапа (стадии) работ, принимают в качестве норм надежности, действующих на последующем этане (стадии), после завершения которого эти нормы уточняют (корректируют) и т. п.
4.3. Для обоснования значений ПН используют расчетные, экспериментальные или расчетно-экспериментальные методы.
4.4. Расчетные методы используют для изделий, по которым отсутствуют статистические данные, полученные в ходе испытаний аналогов (прототипов).
4.5. Экспериментальные методы применяют для изделий, по которым возможно получение статистических данных в процессе испытаний или имеющих аналоги (прототипы), (позволяющие оценить их ПН, а также тенденции изменения ПН от одного аналога к другому. Такие оценки ПН используют вместо расчетных значений ПН изделия и (или) его составных частей.
4.6. Расчетно-экспериментальные методы представляют комбинацию расчетных и экспериментальных методов. Их применяют в тех случаях, когда по отдельным составным частям имеются статистические данные о надежности, а по другим - результаты расчетов, или когда предварительные результаты испытаний изделий, полученные в ходе разработки, позволяют уточнить расчетные значения ПН.
4.7. Для поэтапного задания требований по надежности применяют расчетно-экспериментальные методы, основанные на моделях роста надежности в процессе отработки изделий и освоения их в производстве. Модели роста определяют по статистическим данным, полученным при создании и (или) эксплуатации изделий-аналогов.
4.8. Методические указания по обоснованию значений задаваемых показателей даны в приложении 5.
5.1. Категории отказов и предельных состояний устанавливают с целью однозначного понимания технического состояния изделий при задании требований по надежности, испытаниях и эксплуатации.
Определения критериев отказов и предельных состояний должны быть четкими, конкретными, не допускающими неоднозначного толкования. Критерии предельных состояний должны содержать указания на следствия, наступающие после их обнаружения (отправку изделий в ремонт определенного вида или списание).
5.2. Критерии отказов и предельных состояний должны обеспечивать простоту обнаружения факта отказа или перехода в предельное состояние визуальным путем или с помощью предусмотренных средств технического диагностирования (контроля технического состояния).
5.3. Критерии отказов и предельных состояний должны устанавливаться в той документации, в которой приведены значения ПН.
5.4. Примеры типичных критериев отказов и предельных состояний изделий приведены в приложении 6, а примеры построения и изложения разделов "Требования по надежности" в различных НТД - в приложении 7.
Справочное
|
Kт.и |
- коэффициент технического использования; |
|
Кг |
- коэффициент готовности; |
|
Kо.г |
- коэффициент оперативной готовности; |
|
Kт.и.ож |
- Kт.и в режиме ожидания применения; |
|
Kг.ож |
- Кг режиме ожидания применения; |
|
Kэф |
- коэффициент сохранения эффективности; |
|
Р(tб.р) |
- вероятность безотказной работы при наработке tб.р; |
|
tб.р |
- наработка, в пределах которой вероятность безотказной работы изделия не ниже заданной; |
|
Р(tв) |
- вероятность восстановления (за заданное время tв); |
|
tож |
- время ожидания применения по назначению; |
|
Тв |
- среднее время восстановления; |
|
Тв.ож |
- среднее время восстановления в режиме ожидания; |
|
Р0(вкл) |
- вероятность безотказного срабатывания (включения); |
|
То |
- средняя наработка на отказ (наработка на отказ); |
|
Тср |
- средняя наработка до отказа; |
|
l |
- интенсивность отказов; |
|
Тр.ср.сп |
- средний ресурс до списания (полный); |
|
Тр.ср.к.р |
- средний ресурс до капитального (среднего и т. п.) ремонта; |
|
Тсл.ср.сп |
- средний срок службы до списания (полный); |
|
Тсл.ср.к.р |
- средний срок службы до капитального (среднего и т. п.) ремонта; |
|
Тр g сп |
- гамма-процентный ресурс до списания (полный); |
|
Тр g к.р |
- гамма-процентный ресурс до капитального (среднего и т. п.) ремонта; |
|
Тсл g сп |
- гамма-процентный срок службы до списания (полный); |
|
Тсл g к р |
- гамма-процентный срок службы до капитального (среднего и т. п.) ремонта; |
|
Tc.cр |
- средний срок сохраняемости; |
|
Тс g |
- гамма-процентный срок сохраняемости; |
|
P(tхр) |
- вероятность безотказного хранения; |
|
txp |
- срок хранения; |
|
Р(lтр) |
- вероятность безотказного транспортирования; |
|
lтр |
- дальность транспортирования; |
|
Ra |
- приемочный уровень ПН; |
|
Rb |
- браковочный уровень ПН; |
|
a |
- риск поставщика (изготовителя); |
|
b |
- риск потребителя (заказчика); |
|
g |
- доверительная вероятность; |
|
Rв |
- верхняя доверительная граница ПН; |
|
Rн |
- нижняя доверительная граница ПН. |
Справочное
1. Определения ПН в ГОСТ 27.002 сформулированы в общем виде, без учета возможной специфики назначения, применения, конструктивного исполнения изделий и других факторов. При задании ПН для многих видов изделий возникает потребность конкретизации их определений и наименований с учетом:
определения понятия "выходной эффект" для изделий, основным показателем которых является "коэффициент сохранения эффективности" Kэф;
этапа эксплуатации, применительно к которому задан ПН;
принятой для рассматриваемых изделий классификации отказов и предельных состояний.
2. Kэф по ГОСТ 27.002 представляет собой обобщенное наименование группы показателей, применяемых в различных отраслях техники и имеющих собственные наименования, обозначения и определения.
Примерами таких показателей могут быть:
для технологических систем:
"коэффициент сохранения производительности";
"вероятность выпуска заданного количества продукции определенного качества за смену (месяц, квартал, год)" и т. п.;
для космической техники:
"вероятность выполнения программы полета" космическим аппаратом и т. п.;
для авиационной техники:
"вероятность выполнения типовой задачи (полетного задания) за заданное время" самолетом и т. п.
При этом должны быть дополнительно определены слова "производительность", "продукция", "качество продукции", "программа полета", "типовая задача", "полетное задание" и т. п., характеризующие "выходной эффект" изделий.
3. Для некоторых изделий следует задавать ПН применительно к отдельным этапам их эксплуатации (применения). Так, например, для авиационной техники применяют следующие разновидности показателя "средняя наработка на отказ":
"средняя наработка на отказ в полете";
"средняя наработка на отказ при предполетной подготовке" и т. п.;
для ракетной техники:
"вероятность безотказной подготовки к пуску и безотказного пуска ракеты";
"вероятность безотказного полета ракеты";
"вероятность безотказного срабатывания у цели".
4. Для многих ответственных изделий задают ПН раздельно для критических и остальных отказов. Например, для авиационной техники, помимо "средней наработки на отказ" задают "среднюю наработку на отказ, приводящий к задержке вылета" и т. п. Для радиоэлектронной аппаратуры, имеющей в своем составе изделия вычислительной техники, целесообразно различать "среднюю наработку на устойчивый отказ" и "среднюю наработку на отказ сбойного характера (на сбой)".
Рекомендуемое
1. Общий принцип выбора рациональной (минимально необходимой и достаточной) номенклатуры задаваемых ПН состоит в том, что в каждом конкретном случае изделие классифицируется последовательно по установленным признакам, характеризующим его назначение, особенности схемно-конструктивного построения и заданные (предполагаемые) условия эксплуатации. В зависимости от совокупности классификационных группировок, к которым оно отнесено, с помощью рабочих таблиц определяют набор показателей, подлежащих заданию.
2. Процедура выбора номенклатуры задаваемых ПН для новых (разрабатываемых или модернизируемых) изделий состоит из трех независимых этапов:
выбор показателей безотказности и ремонтопригодности и (или) комплексных;
выбор показателей долговечности;
выбор показателей сохраняемости.
3. Номенклатуру показателей безотказности, ремонтопригодности и (или) комплексных устанавливают для изделий вида I в соответствии с табл. 2, а для изделий вида II - табл. 3.
4. Задание показателей безотказности целесообразно проводить с учетом критичности отказов. При этом в ТТЗ (ТЗ), ТУ должны быть сформулированы критерии каждого вида отказов.
5. Для изделий, в состав которых входят устройства дискретной техники (ЭВМ), показатели безотказности, ремонтопригодности и комплексные следует задавать с учетом отказов сбойного характера (сбоев). При этом заданные показатели поясняют путем добавления слов "с учетом отказов сбойного характера" или "без учета отказов сбойного характера". В случае поэтапного задания требований учет сбоев на ранних этапах допускается не проводить. Для отказов сбойного характера должны быть сформулированы соответствующие критерии.
6. Для изделий, контролируемых перед применением по назначению, допускается устанавливать дополнительно среднее (гамма-процентное) время приведения изделия в готовность или среднюю (гамма-процентную) длительность контроля готовности.
7. Для обслуживаемых изделий дополнительно допускается устанавливать показатели качества технического обслуживания.
8. Выбор показателей долговечности ИКН и ИОН осуществляют в соответствии с табл. 4. С целью упрощения в табл. 4 указан наиболее распространенный вид плановых ремонтов - капитальный. При необходимости аналогичные показатели долговечности можно устанавливать относительно "средних", "базовых", "доковых" и др. плановых ремонтов.
9. Выбор показателей сохраняемости ИКН и ИОН осуществляют в соответствии с табл. 5.
10. Для изделий, переход которых в предельное состояние или отказ которых при хранении и (или) транспортировании могут привести к катастрофическим последствиям, а контроль технического состояния затруднен или невозможен, вместо гамма-процентных показателей долговечности и сохраняемости следует задавать назначенные ресурс, срок службы и срок хранения. При этом в ТТЗ (ТЗ), ТУ указывают, какую часть (например не более 0,9) должен составлять назначенный ресурс (срок службы, срок хранения) от соответствующего гамма-процентного показателя при достаточно высокой доверительной вероятности g (например не менее 0,98).
Таблица 2
Выбор номенклатуры показателей безотказности и ремонтопригодности или комплексных для изделий вида I
|
По назначению |
По режиму применения (функционирования) |
По возможности восстановления и обслуживания |
||
|
Восстанавливаемые |
Невосстанавливаемые |
|||
|
Обслуживаемые |
Необслуживаемые |
Обслуживаемые и необслуживаемые |
||
|
ИКН |
Изделия непрерывного длительного применения (НПДП) |
Kг** или Kт.и; То; Тв* |
Kг; То; Тв* |
Р(tб.р)** или Тср |
|
Изделия многократного циклического применения (МКДП) |
Ko.г(tб.р) = Кг × P(tб.р); Тв |
Рвкл(Р0) и Тср Тср |
||
|
Изделия однократного применения (с предшествующим периодом ожидания) (ОКРП) |
Kт.и.ож; P(tб.р); Тв, ож* |
Kг.ож; P(tб.р); Тв, ож* |
P(tож); P(tб.р); |
|
|
ИОН |
Изделия НПДП и МКЦП |
Kт.и; Тo; Тв* |
Kг; То; Тв* |
Тg** или Тср |
|
Изделия ОКРП |
- |
- |
Рвкл(Р0) |
|
* Задают дополнительно к Kг или Kт.u при наличии ограничений на продолжительность восстановления. При необходимости с учетом специфики изделий вместо Тв допускается задавать один из следующих показателей ремонтопригодности: гамма-процентное время восстановления Твg, вероятность восстановления P(tв) или среднюю трудоемкость восстановления Gв.
** Задают для изделий, выполняющих ответственные функции; в противном случае задают второй показатель.
Примечания:
1. Значение tб.р устанавливают исходя из выходного эффекта в принятой модели эксплуатации изделия и принимают равным заданному значению непрерывной наработки изделия (длительности выполнения одной типовой операции, длительности решения одной типовой задачи, объему типового задания и т. п.).
2. Для восстанавливаемых простых ИОН вида I, выполняющих в составе основного изделия частные технические функции, допускается по согласованию между заказчиком и разработчиком вместо показателей Kг, То (Kт.и; То) задавать показатели То и Тв, что с точки зрения контроля выполнения требований является более жестким случаем.
3. Для невосстанавливаемых простых высоконадежных ИОН вида I (типа комплектующих изделий межотраслевого применения, деталей, узлов) допускается вместо Тср задавать интенсивность отказов l.
4. Для восстанавливаемых ИОН вида II, выполняющих в составе основного изделия частные технические функции, допускается по согласованию между заказчиком и разработчиком вместо показателей Kт.и, с.ч и То,с.ч. задавать показатели То, с.ч и Тв, с.ч.
Таблица 3
Выбор номенклатуры показателей безотказности и ремонтопригодности или комплексных для изделий вида II
|
По назначению |
По возможности восстановления и обслуживания |
||
|
Восстанавливаемые |
Невосстанавливаемые |
||
|
Обслуживаемые |
Необслуживаемые |
Обслуживаемые и необслуживаемые |
|
|
ИКН |
Kэф; Тв, с.ч* |
Kэф |
|
|
ИОН |
Kт,и, с.ч; То, с.ч |
Kг, с.ч; То, с.ч |
Тg, с.ч** или Тср. с.ч |
*Задают дополнительно к Kэф при наличии ограничений на продолжительность восстановления. При необходимости с учетом специфики изделий вместо Tв может задаваться один из показателей ремонтопригодности: гамма-процентное время восстановления Nвg; вероятность восстановления Р(tв) или средняя трудоемкость восстановления Gв.
** Задают для изделий, выполняющих ответственные функции; в противном случае задают второй показатель.
Таблица 4
Выбор номенклатуры показателей долговечности
|
Классификация изделий по признакам, определяющим выбор показателей |
||||
|
Возможные последствия перехода в предельное состояние |
Основной процесс, определяющий переход в предельное состояние |
Возможность и способ восстановления технического ресурса (срока службы) |
||
|
Неремонтируемые |
Ремонтируемые обезличенным способом |
Ремонтируемые необезличенным способом |
||
|
Изделия, переход которых в предельное состояние при применении по назначению может привести к катастрофическим последствиям (контроль технического состояния возможен) |
Изнашивание |
Тр. g сп |
Тр g к.р |
Тр g сп; Тр g к.р |
|
Старение |
Тсл g сп |
Тсл g к.р |
Тсл g сп; Тсл g к.р |
|
|
Изнашивание и старение одновременно |
Тр g сп; Тсл g сп |
Тр g к.р; Тсл g к.р |
Тр g сп; Тр g к.р; 7Тсл g сп; Тсл g к.р |
|
|
Изделия, переход которых в предельное состояние при применении по назначению не ведет к катастрофическим последствиям |
Изнашивание |
Тр. ср. сп |
Тр. ср. к.р |
Тр. ср. сп; Тр. ср. к.р |
|
Старение |
Тсл.. ср. сп |
Тсл. ср. к.р |
Тсл.. ср. сп; Тсл. ср. к.р |
|
|
Изнашивание и старение одновременно |
Тр. ср. сп; Тсл.. ср. сп |
Тр. ср. к.р; Тсл. ср. к.р |
Тр. ср. сп; Тр. ср. к.р; Тсл.. ср. сп; Тсл. ср. к.р |
|
Таблица 5
Выбор номенклатуры показателей сохраняемости
|
Задаваемый показатель |
|
|
Возможные последствия достижения предельного состояния или отказа при хранении и (или) транспортировании |
|
|
Изделия, достижение предельного состояния которыми или отказы которых при хранении и (или) транспортировании могут привести к катастрофическим последствиям (контроль технического состояния возможен) |
Тс g |
|
Изделия, достижение предельного состояния которыми или отказы которых при хранении и (или) транспортировании не ведут к катастрофическим последствиям |
Тс.ср
|
*Задают вместо Тс.ср в тех случаях, когда заказчиком заданы срок хранения tхр и дальность транспортирования lтр.
Справочное
Пример 1. Радиостанция переносная
Радиостанция - ИКН вида I, многократного циклического применения, восстанавливаемое, обслуживаемое. Задаваемые показатели по табл 2:
Kо.г= Kг×P(tб.p); Тв.
Радиостанция - изделие, переход которого в предельное состояние не ведет к катастрофическим последствиям, стареющее и изнашиваемое одновременно, ремонтируемое обезличенным способом, длительно хранимое. Задаваемые показатели долговечности и сохраняемости по табл. 4 и 5: Тр.ср.к.р; Тсл.ср.к.р, Тс.ср.
Пример 2. Универсальная электронно-вычислительная машина (ЭВМ)
ЭВМ - ИОН вида I, непрерывного длительного применения, восстанавливаемое, обслуживаемое, переход которого в предельное состояние не ведет к катастрофическим последствиям, стареющее, неремонтируемое, длительно не хранимое. Задаваемые показатели по табл. 2 и 4: Kт.и; То (или Тв при наличии ограничений на продолжительность восстановления после отказа); Тсл.ср.сп.
Пример 3. Транзистор
Транзистор - ИОН вида I (высоконадежное комплектующее изделие межотраслевого применения), непрерывного длительного применения, невосстанавливаемое, необслуживаемое, переход которого в предельное состояние не ведет к катастрофическим последствиям, изнашиваемое, стареющее при хранении. Задаваемые показатели по табл. 2, 4 и 5: l,; Тр.ср.сп; Тс.ср.
Справочное
1. Общие положения
1.1. Методический подход к обоснованию норм ПН для ИКН и ИОН различен.
1.2. Методика обоснования норм ПН не зависит от вида показателя, поэтому ПН обозначается одним общим символом R.
1.3. Методика применяется в тех случаях, когда известны или могут быть установлены:
а) возможные варианты построения изделия и набор мероприятий по повышению надежности относительно исходного "базового" уровня;
б) значения прироста надежности (DRi) и затрат (DСi) для каждого из этих вариантов (мероприятии);
в) вид зависимости "эффективность - надежность" - E=E(R), знание которой необходимо дополнительно, наряду с "а" и "б" при решении задачи, когда выходной эффект и затраты на обеспечение надежности - величины одного и того же вида (см. п. 2.2.2.1).
Если для различных ПН оптимальные варианты построения изделия оказываются различными, то окончательное решение принимают на основании сравнительного анализа таких вариантов с учетом уровня показателей назначения, массо-габаритных, технико-экономических и других характеристик качества.
Одновременно с обоснованием норм ПН решают задачу выбора оптимального (по критерию надежности) варианта построения изделия и распределения норм ПН между его составными частями.
2. Определение норм ПН (Rтр) для новых разработок ИКН
2.1. Постановка задачи и исходные данные
2.1.1. Уровень надежности изделия должен быть не ниже некоторого минимального Rmin, при котором создание (использование) изделия еще имеет смысл с учетом ограничивающих факторов. Rmin - может быть числом или областью допустимых значений.
2.1.2. Если ограничивающих факторов несколько, то среди них выбирают один, исходя из условия, что ограничение по нему в процессе повышения надежности наступает раньше других. Далее рассматривается один ограничивающий фактор, в качестве которого принят наиболее общий - стоимость Coгp.
2.1.3. В общем случае зависимость эффективности E(R) и стоимости C(R) изделия от уровня его надежности имеет вид, представленный на черт. 1.
Характер зависимостей E(R), C(R) и DE(R) = E(R)-C(R) (когда Е и С величины одного вида)
Черт. 1
2.1.4. При указанных условиях задача может быть сформулирована следующим образом: необходимо определить уровень надежности изделия, как можно более близкий к оптимальному, удовлетворяющий ограничениям R³sRmin;
C(R)£Coгp.
2.2. Решение задачи
2.2.1. Общий порядок решения задачи заключается в следующем. Оценивают уровень надежности исходного варианта изделия, изучают причины его недостаточной надежности и рассматривают возможные мероприятия по повышению надежности и различные варианты построения изделий. По каждому мероприятию (варианту) оценивают затраты DСi на повышение уровня надежности, возможное увеличение DRi показателей надежности, строят оптимальную зависимость C(R) или R(С) и определяют прирост эффективности DЕi. Из всех мероприятий выбирают наиболее эффективное по DЕi или DЕi/DСi, а затем раcчет повторяют при новом исходном варианте (при уровне надежности R, достигнутом после очередного мероприятия).
Расчет заканчивают тогда, когда наиболее эффективное из оставшихся мероприятий не может обеспечить экономический выигрыш (достигнут оптимум) или когда исчерпаны выделенные средства на повышение надежности. Обобщенная схема решения задачи приведена на черт. 2.
2.2.2. Частные случаи решения, отличающиеся соотношением выходного эффекта изделия и затрат на обеспечение требуемой надежности, приведены ниже.
В этом случае составляют целевую функцию DE(R), представляющую собой разность или отношение функций E(R) и C(R). Если важно обеспечить максимум абсолютного значения эффекта, то вычисляют разность DE(R)=E(R)-C(R), которая имеет максимум по R (черт. 1). Если важно получить максимум эффекта на единицу затраченных средств (относительный эффект), то вычисляют отношение Kн=E(R)/C(R).
После того как оптимум найден, необходимо проверить выполнение ограничения по стоимости. Если оно не выполняется [С(Ропт)>Согр], то целесообразно задать максимальную надежность R(Cогр), достижимую при данном ограничении, и проверить выполнение ограничения [R(Cогр)³ Rmin]. Если оно не выполняется, то задача не может быть решена, и необходим пересмотр исходных данных, ограничений и т. д.
Если ограничение по стоимости выполнено [С(Rопт)£Coгp], то проверяют условие Rопт³Rmin. При выполнении его задают Ропт, при невыполнении- Rmin, с проверкой ограничения С(Rmin)£Cогр.
В этом случае Rопт смещается вправо и задачу решают, начиная с определения R(Согр) по построенной оптимальной зависимости R(C). Затем (как и в случае по п. 2.2.2.1) проверяют выполнение условия R(Согр)³Rmin. При положительном результате проверки задают R(Согр), при отрицательном - задача не решается.
2.2.2.3. Выходной эффект изделия и затраты на обеспечение надежности - величины разного вида; отказы изделия ведут к большим потерям (как и в п. 2.2.2.2).
Задачу здесь решают так же, как и в п. 2.2.2.2, - следует стремиться к повышению надежности до тех пор, пока не будут исчерпаны возможности заказчика.
2.2.2.4. Выходной эффект изделия и затраты на обеспечение надежности - величины разного вида, но отказы изделия не ведут к потерям существенно большим, чем затраты на изделие.
В этом случае определяют Rmin и проверяют условие: Rmin³ R(Согр). Если оно выполняется, то задают уровень Rэкс в диапазоне от Rmin до R(Согр) по результатам инженерного анализа (так как эффект и затраты не сопоставимы), если не выполняется - задача не решается (т. е. необходимо вернуться к пересмотру исходных данных).
2.2.3. Алгоритм решения задачи изображен на черт. 2. При этом операции алгоритма могут выполняться с различной точностью. Например, для сравнения R(Согр) с Rmin необязательно устанавливать точное значение Rmin, достаточно проанализировать влияние R(Согр) на уровень эффективности изделия. Если этот уровень приемлем, то можно считать R(Согр)³ Rmin и наоборот.
Ограничение по затратам может формулироваться не только в виде конкретного значения Согр, но и в виде последствий, к которым приводят те или иные затраты. Тогда можно указать диапазоны затрат, которые считают допустимыми и недопустимыми. В этом случае сравнение, например, Сопт и Согр проводят путем анализа Сопт, и если оно признается приемлемым, то можно считать Сопт³Согр.
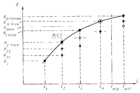
2.3. Построение оптимальной функции "надежность-стоимость"
2.3.1. Построение функции C(R) или R(C) необходимо для определения оптимального или максимального уровня надежности, достижимого при заданном ограничении.
2.3.2. Зависимость R(C), используемая при обосновании требований, должна быть оптимальной в том смысле, что каждой ее точке должна соответствовать наибольшая при данной стоимости надежность и наименьшая при данной надежности стоимость. Решение этой задачи осуществляется путем перебора возможных вариантов построения изделия. Если каждый вариант изделия изобразить на графике в виде точки с координатами R и С, то все они образуют некоторое множество (черт. 3). Линия, огибающая множество слева и сверху, проходит через наиболее надежные варианты, соответствующие определенной стоимости. Эта линия представляет собой функцию R(С) или C(R). Остальные варианты заведомо хуже и их рассмотрение нецелесообразно (при этом предполагается, что все варианты имеют "равноценные" остальные параметры, в частности - параметры назначения).
Обобщенная схема выбора уровня надежности
Черт. 2
2.3.3. Для случая, когда повышение надежности достигается путем резервирования, рекомендуется следующий способ перебора вариантов построения изделия:
а) определяют "нулевой" вариант построения изделия, в котором резерв отсутствует;
б) рассматривают варианты, в каждом из которых введено одно резервное устройство одного типа, для каждого из этих вариантов подсчитывают приращения показателя надежности изделия DR и его стоимости DС;
в) выбирают вариант с максимальным отношением DR/DС; (резерв, принятый в данном варианте, в дальнейшем не пересматривают);
г) рассматривают варианты, в каждом из которых введено еще по одному устройству каждого типа, включая уже выбранный вариант с добавленным резервом.
Далее процедуру повторяют по позициям "в" и "г". При этом последовательность выбранных вариантов образует искомую кривую - огибающую множества, т. е. оптимальную зависимость надежности от стоимости.
Оптимальная функция "надежность - стоимость"
Черт. 3
2.3.4. В общем случае рассматривают повышение надежности изделия не только за счет резервирования, но и за счет любых других мероприятий. Если составные части изделия представляют собой достаточно сложные изделия, то для каждого из них также возможны различные варианты повышения надежности. Тогда процедуру проводят в два этапа:
для каждой из составных частей строят частную оптимальную функцию R(C) и соответствующую ей последовательность вариантов построения этой составной части;
строят оптимальную функцию R(C) для изделия в целом, при этом на каждом шагу процедуры рассматривают повышение надежности изделия за счет перехода каждой составной части к следующей точке ее частной оптимальной функции R(C), т, е. к следующему варианту построения.
3. Определение норм ПН Rтр для новых разработок ИОН
3.1. Принципиальным отличием изделий общего назначения является многообразие их применения, делающее невозможным анализ влияния надежности на результат выполнения работы.
3.2. Если для ИОН можно указать характерные области применения или такое применение, которое предъявляет самые высокие требования, то его следует рассматривать как ИКН, и задача сводится к предыдущей. Если это не удается, то требования могут быть назначены на основе данных по аналогам. При этом выполняют следующие действия:
строят оптимальную последовательность вариантов изделия (она же - оптимальная зависимость R(C), как указано в п. 2.3);
проверяют выполнение условия R(Согр)³R аналога. Если условие выполняется, т. е. ограничения позволяют сделать новое изделие не хуже лучших существующих аналогов, то по результатам инженерного анализа значение Рэкс должно находиться в диапазоне Rmin-R(Согр). Если условия не выполняются, то задача в рассмотренном варианте не решается.
Справочное
1. Типичными критериями отказов могут быть:
прекращение выполнения изделием заданных функций; снижение качества функционирования (производительности, мощности, точности, чувствительности и других параметров) за пределы допустимого уровня;
искажения информации (неправильные решения) на выходе изделий, имеющих и споем составе ЭВМ или другие устройства дискретной техники, из-за сбоев (отказов сбойного характера);
внешние проявления, свидетельствующие о наступлении или предпосылках наступления неработоспособного состояния (шум, стук в механических частях изделий, вибрация, перегрев, выделение химических веществ и т. п.).
2. Типичными критериями предельных состояний изделий могут быть:
отказ одной или нескольких составных частей, восстановление или замена которых на месте эксплуатации не предусмотрена эксплуатационной документацией (должна выполняться в ремонтных органах);
механический износ ответственных деталей (узлов) или снижение физических, химических, электрических свойств материалов до предельно допустимого уровня;
снижение наработки на отказ (повышение интенсивности отказов) изделий ниже (выше) допустимого уровня;
превышение установленного уровня текущих (суммарных) затрат на техническое обслуживание и ремонты или другие признаки, определяющие экономическую нецелесообразность дальнейшей эксплуатации.
Справочное
1. Требования по надежности оформляют в виде раздела (подраздела), снабженного заголовком "Требования по надежности".
2. В первом пункте раздела приводят номенклатуру и значения ПН, которые записывают в следующей последовательности:
комплексные показатели и (или) единичные показатели безотказности и ремонтопригодности;
показатели долговечности;
показатели сохраняемости.
Рекомендуемая формулировка:
"Надежность
в условиях и режимах
эксплуатации, наименование изделия установленных пп._________ настоящего
ТТЗ(ТЗ), ТУ, должна характеризоваться следующими значениями ПН... (далее приводятся
эти показатели).
Пример. Надежность каналообразующей телеграфной аппаратуры в условиях и режимах эксплуатации, установленных пп. _________, должна характеризоваться следующими значениями показателей:
средняя наработка на отказ - не менее 5000 ч;
среднее время восстановления на объекте эксплуатации силами и средствами дежурной смены - не более 0,25 ч;
полный средний срок службы - не менее 20 лет;
средний срок сохраняемости в заводской упаковке в отапливаемом помещении - не менее 6 лет.
2.1. В стандартах ОТТ требования по надежности приводят в виде предельно допустимых значений ПН для изделий данной группы.
2.2. В стандартах видов ОТУ(ТУ) и в ТУ требования по надежности устанавливают в виде предельно допустимых значений тех показателей, которые контролируют при изготовлении изделии данной группы, и приводят в качестве справочных значения показателей, заданных в ТЗ на разработку изделия, но в процессе изготовления не контролируемых.
3. Во втором пункте приводят определения (критерии) отказов и предельного состояния, а также понятия "выходной эффект" или "эффективность изделия", если в качестве основного ПН задан коэффициент сохранения эффективности Kэф).
Рекомендуемые формулировки:
Предельным состоянием
считают ...
Отказом
считают …
Выходной эффект
оценивают в ...
Эффективность
равна …
Пример 1.
Предельным состоянием автомобиля считают:
деформацию или повреждение рамы, не устранимые в эксплуатирующих организациях;
необходимость одновременной замены двух и более основных агрегатов;
превышение годовой суммарной стоимости технического обслуживания и текущих ремонтов на ... руб.
Пример 2.
Отказом автомобиля считают:
заклинивание коленчатого вала двигателя;
снижение мощности двигателя ниже ...;
дымление двигателя на средних и больших оборотах;
падение давления в шине, прокол шины и др.
Пример 3.
Выходной эффект передвижной дизель-электростанции оценивают выработкой заданного количества электроэнергии за заданное время с установленными параметрами качества.
4. В третьем пункте приводят общие требования к методам оценки надежности и исходные данные для оценки соответствия изделий требованиям по надежности каждым из методов.
Рекомендуемая формулировка:
"Соответствие
требованиям по
надежности, установленным в пп.…, на этапе проектирования оценивают расчетным методом с
использованием данных о надежности комплектующих изделий по
;
на этапе предварительных
испытаний - расчетно-экспериментальным методом по
, принимая значения доверительной вероятности не менее ....;
на этапе серийного производства
контрольными испытаниями по
,
используя следующие исходные данные для планирования испытаний:
браковочный уровень Rb (указывают значения);
риск заказчика В (указывают значения);
приемочный уровень Ra (указывают значения);
риск поставщика a (указывают значения).
В отдельных случаях допускался использование других исходных данных в соответствии с действующей НТД.
5. В четвертом пункте раздела приводят, при необходимости, требования и ограничения по способам обеспечения заданных значений ПН (в соответствии с пп. 1.9-1.11 настоящего стандарта).
ИНФОРМАЦИОННЫЕ ДАННЫЕ
1. РАЗРАБОТАН И ВНЕСЕН Государственным комитетом СССР по управлению качеством продукции и стандартам
РАЗРАБОТЧИКИ
Н.О. Демидович, канд. техн. наук (руководитель темы); Л.Г. Смоляницкая; А.Я. Резиновский, канд. техн. наук; А.Л. Раскин; М.В. Журцев, канд. техн. наук; Э.В. Дзиркал, канд техн. наук; В.В. Юхневич; А.К. Петров; Т.В. Невежина; В.П. Чаган; Н.Г. Моисеев; Г.И. Лебедева; Н.С. Федулова
2 УТВЕРЖДЕН И ВВЕДЕН В ДЕЙСТВИЕ Постановлением Государственного комитета СССР по управлению качеством продукции и стандартам от 29.12.90 № 3552
3. СРОК ПРОВЕРКИ - 1996 г.
4. ВЗАМЕН РД 50-650-87
5. ССЫЛОЧНЫЕ НОРМАТИВНО-ТЕХНИЧЕСКИЕ ДОКУМЕНТЫ
|
Обозначение НТД, на который дана ссылка |
Номер пункта, приложения |
СОДЕРЖАНИЕ