МЕТОДИЧЕСКИЕ УКАЗАНИЯ
НОРМЫ КАЧЕСТВА ПИТАТЕЛЬНОЙ
ВОДЫ И ПАРА,
ОРГАНИЗАЦИЯ ВОДНО-ХИМИЧЕСКОГО РЕЖИМА
И ХИМИЧЕСКОГО КОНТРОЛЯ ПАРОВЫХ СТАЦИОНАРНЫХ
КОТЛОВ-УТИЛИЗАТОРОВ И ЭНЕРГОТЕХНОЛОГИЧЕСКИХ котлов
РД 24.032.01-91
МИНИСТЕРСТВО ТЯЖЕЛОГО МАШИНОСТРОЕНИЯ СССР
МОСКВА
1993
РУКОВОДЯЩИЙ ДОКУМЕНТ ПО СТАНДАРТИЗАЦИИ
|
МЕТОДИЧЕСКИЕ УКАЗАНИЯ |
РД |
Дата введения 01.07.91
Настоящие методические указания (МУ) устанавливают нормы качества питательной воды и пара, требования и рекомендации по организации водно-химического режима и химического контроля для подведомственных Госгортехнадзору РФ паровых стационарных котлов-утилизаторов и энерготехнологических котлов * с рабочим давлением пара до 4 МПа (40 кгс/см2), для действующих котлов-до 5 МПа (50 кгс/см2), а также для котлов с рабочим давлением пара 11 МПа (110 кгс/см2).
Методические указания являются рекомендуемыми для предприятий - изготовителей котлов-утилизаторов, организаций, проектирующих котельные с этими котлами, и организаций, осуществляющих эксплуатацию котлов.
*Далее по тексту все котлы названы котлами утилизаторами.
1.1. Показатели качества питательной воды водотрубных и газотрубных котлов рабочим давлением пара до 4 МПа включительно (для действующих котлов до 5 МПа включительно) устанавливаются в зависимости от давления пара, и расчетной максимальной температуры газов перед котлом и не должны превышать значений, указанных в табл. 1 и разделе 8 (табл. 8.4) Правил Госгортехнадзора СССР (М.: Энергоатомиздат, 1989), или выходить за их пределы.
1.2. Показатели качества питательной воды котлов-утилизаторов высокого давления (до 11 МПа) не должны превышать норм, указанных в табл. 2 и разделе 8 (табл. 8.5) Правил Госгортехнадзора СССР, или выходить за их пределы.
1.3. В питательной воде котлов-утилизаторов, не допускается присутствие веществ, не предусмотренных в табл. 1 и 2, но вызывающих коррозию металла котлов, вспенивание котловой воды или ухудшение теплопередачи за счет загрязнения поверхностей нагрева.
Таблица 1
|
Рабочее давление пара, МПа (кгс/см2) |
|||||
|
0,9 (9,0) |
1,4 (14) и 1,8 (18)l) |
4 (40) и 5 (50)1) |
|||
|
Температура греющего газа (расчетная), °С |
|||||
|
до 1200 вкл. |
до 1200 вкл. |
свыше 1200 |
до 1200 вкл. |
свыше 1200 |
|
|
1 |
2 |
3 |
4 |
5 |
6 |
|
Прозрачность «по шрифту», см, не менее |
30 20 |
40 30 |
40 |
40 |
40 |
|
Общая жесткость, мкг-экв/кг |
40 70 |
202) 50 |
15 |
10 |
5 |
|
Содержание соединений железа (в пересчете на Fe), мкг/кг |
Не нормируется |
150 |
100 |
503) |
|
|
Содержание соединений меди (в пересчете на Сu), мкг/кг |
Не нормируется |
20 |
|||
|
Содержание кремниевой кислоты (в пересчете на SiO2), мкг/кг |
Не нормируется |
||||
|
Содержание растворенного кислорода, мкг/кг: |
|
|
|
|
|
|
для котлов с чугунным экономайзером или без экономайзера |
150 |
100 |
50 |
50 |
30 |
|
для котлов со стальным экономайзером |
50 |
30 |
30 |
30 |
20 |
|
Значение рН при 25°С |
Не менее 8,54) |
||||
|
Содержание нитритов (в пересчете на NO2-), мкг/кг |
Не нормируется |
305) |
205) |
||
|
Содержание нефтепродуктов, мг/кг |
5 |
0 |
2 |
1 |
0,3 |
1)Для действующих котлов.
2)Для водотрубных котлов с рабочим давлением пара 1,8 МПа (18 кгс/см2) жесткость не должна быть более 15 мкг-экв/кг.
3)Допускается увеличение содержания соединений железа до 100 мкг/кг при условии применения методов реагентной обработки воды, уменьшающих интенсивность накипеобразования за счет перевода соединений железа в раствор, при этом должны соблюдаться согласованные с Госгортехнадзором СССР нормативы по допускаемому количеству отложений на внутренней поверхности парогенерирующих труб. Заключение о возможности указанного увеличения содержания соединений железа в питательной воде дается головной ведомственной энергетической организацией.
4)Верхнее значение величины рН устанавливается не более 9,5 в зависимости от материалов, применяемых в оборудовании пароконденсатного тракта.
5)Цифры указаны только для котлов СРК; для котлов-утилизаторов других типов содержание нитритов устанавливает головная специализированная ведомственная организация на основе имеющегося опыта эксплуатации, исходя из условий обеспечения безаварийной работы котлов.
Примечания:
1. В числителе указано значение для водотрубных котлов, в знаменателе - для газотрубных.
2. Для котлов с локальным тепловым потоком 350 кВт/м3 и более, для газотрубных котлов вертикального типа с рабочим давлением пара свыше 0,9 МПа (9 кгс/см2), а также для содорегенерационных котлов показатели качества питательной воды нормируются по графе 6. Кроме того, для содорегенерационных котлов нормируется солесодержание питательной воды, которое не должно превышать 50 мг/кг.
|
Значение |
|
|
Общая жесткость, мкг-экв/кг |
3 |
|
Содержание соединений железа (в пересчете на Fe), мкг/кг |
301) |
|
Содержание соединений меди (в пересчете на Сu), мкг/кг |
101) |
|
Содержание кремниевой кислоты (в пересчете на SiO2), мкг/кг |
50 |
|
Содержание растворенного кислорода, мкг/кг |
10 |
|
Значение рН при 25°С |
9,1±0,12) |
|
Условное солесодержание (в пересчете на NaCl), мкг/кг3) |
300 |
|
Удельная электрическая проводимость при 25°С, мкСм/см3) |
2,0 |
|
Содержание аммиака и его соединений (в пересчете на NН3), мкг/кг |
15002) |
|
Избыток гидразина (в пересчете на N2H4), мкг/кг |
20-60 |
|
Содержание нитритов (в пересчете на NO2-), мкг/кг |
Не допускается |
|
Содержание нитратов (в пересчете на NO3-), мкг/кг |
Не допускается |
|
Содержание взвешенных веществ, мг/кг |
Не допускается |
|
Содержание нефтепродуктов, мг/кг |
0,3 |
1) Достижение указанных в таблице норм по концентрации продуктов коррозии (соединений железа и меди) допускается в конце вторых суток после пуска при нагрузке котла не выше 50% от номинальной.
2) Верхнее значение рН устанавливается не более 9,5 в зависимости от материалов, применяемых в оборудовании пароконденсатного тракта при соответствующем содержании аммиака.
3) Условное солесодержание должно определяться кондуктометрическим солемером с предварительной дегазацией и концентрированием пробы, а удельная электрическая проводимость - кондуктометром с предварительным водород-катионированием пробы; контролируется один из этих показателей.
Перечень веществ (сероводород, потенциально кислые органические соединения и др.), в каждом отдельном случае устанавливается на основании рассмотрения тепловой и технологической схем промышленного предприятия. К рассмотрению в случае необходимости привлекается специализированная организация.
1.4. Показателя качества конденсата насыщенного и перегретого пара, в том числе для пароперегревателя, расположенного в топке с кипящим слоем, а также пара после регуляторов перегрева при поминальной паропроизводительности котла не должны превышать или выходить за пределы значений, приведенных для котлов с рабочим давлением до 4 МПа в табл. 3, для котлов с рабочим давлением 11 МПа - в табл. 4.
В случае применения регуляторов перегрева впрыскивающего типа качество воды, подаваемой для впрыскивания, должно удовлетворять следующим требованиям:
жесткость общая - не более 3 мкг-экв/кг;
содержание соединений железа и меди - в пределах норм качества питательной воды, указанных в табл. 1 и 2;
солесодержание - не более расчетных значений, обеспечивающих получение перегретого пара за пароохладителем, в пределах норм, указанных в табл. 3 и 4.
Таблица 3
|
Номинальное давление пара, МПа |
||
|
до 1,4 (1,8)1) |
св. 1,4 (1,8)1) до 4,0 (5,0)1) |
|
|
Условное солесодержание (в пересчете на NaCl) для котлов с пароперегревателем, мкг/кг: |
|
|
|
при использовании пара на технологические нужды |
5002) |
3002) |
|
при использовании пара для турбоустановки |
300 |
2003) |
|
Содержание натрия для котлов с пароперегревателем, мкг/кг: |
|
|
|
при использовании пара па технологические нужды |
1602) |
1002) |
|
при использовании пара для турбоустановок |
100 |
60 |
|
Содержание свободного аммиака, стехиометрически не связанного с углекислотой, мг/кг |
Не допускается4) |
|
|
Значение рН конденсата при 25°С |
6,0-9,05) |
|
1) Для действующих котлов.
2)Для котла - охладителей конверторных газов (ОКГ) при их работе на аккумуляторы пара, а также для котлов без пароперегревателя в зависимости от требований потребителей пара допускается его влажность до 1%.
3)Для содорегенерационных котлов условное солесодержание конденсата пара должно быть не более 100 мкг/кг, а содержание натрия - не более 30 мкг/кг.
4)Допустимое количество связанного аммиака определяется особенностями потребителей технологического пара.
5)Для содорегенерационных котлов и охладителей конверторных газов значение рН конденсата пара должно быть не менее 7,0, при этом содержание свободной углекислоты в конденсате пара не должно быть более 10 мг/кг.
Примечание. Определяют только один из показателей, характеризующих солесодержание: условное солесодержание или содержание натрия.
|
Значение |
|
|
Содержание натрия, мкг/кг |
151) |
|
Содержание кремниевой кислоты (в пересчете на SiO2), мкг/кг |
151) |
|
Условное солесодержание (в пересчете на NaCl), мкг/кг |
502) |
|
Удельная электрическая проводимость при 25°С, мкСм/см |
0,32) |
|
Содержание свободной углекислоты, мг/кг |
Не допускается |
1)В котельных, отдающих более 5% пара на производство, допускается увеличение норматива по Na и SiO2 до 25 мкг/кг.
2)Условное солесодержание должно определяться кондуктометрическим солемером с предварительной дегазацией и концентрированием пробы, а удельная электрическая проводимость - кондуктометром с предварительным водород-катнонированием пробы; контролируется один из этих показателей.
Правильно и рационально организованный водно-химический режим (ВХР) должен обеспечивать:
надежную, безопасную, экономичную и экологически совершенную эксплуатацию котла, его элементов и вспомогательного оборудования;
снижение интенсивности образования всех видов отложений на внутренних поверхностях нагрева котла и элементах пароводяного тракта;
предотвращение всех типов повреждений внутренних поверхностей из-за коррозии;
получение чистого пара в соответствии с требованиями настоящих MУ.
Неотъемлемой частью правильно организованного ВХР является система постоянного и представительного химического контроля (ХК), который должен проводиться в соответствии с настоящими МУ.
2.2.1. Котлы-утилизаторы с естественной циркуляцией должны изготавливаться, как правило, по схеме с двухступенчатым испарением с паропроизводительностью второй ступени испарения 20% от общей паропроизводительности котла.
2.2.2. Котлы-утилизаторы с принудительной циркуляцией рекомендуется изготовлять преимущественно без ступенчатого испарения.
2.2.3. Котлы со ступенчатым испарением должны быть оборудованы специальными линиями для поддержания солевой кратности между ступенями испарения в пределах от двух до шести.
2.2.4. Для котлов с принудительной циркуляцией, имеющих дроссельные шайбы на входе в испарительные трубы, в контуре циркуляции должен быть установлен шламоотделитель с фильтрующим элементом, изготовленным из коррозионно-стойкой стали с отверстиями диаметром вдвое меньше, чем диаметр дроссельных шайб.
2.2.5. Котел должен иметь один солевой отсек. Если это конструктивно трудно осуществить, то следует предусмотреть специальные линии, обеспечивающие выравнивание концентрации солей в котловой воде солевых отсеков при возможных тепловых перекосах, возникающих в результате различной плотности теплового потока поверхностей нагрева.
При продувке лишь одного солевого отсека превышение концентрации солей в котловой воде второго отсека должно быть не более 20%.
р, МПа, не более.................. 1,4 2,4 4,0 5,0
, мг/кг, не более......... 3000 2500 2000 1500
Для котлов со ступенчатым
испарением в первой ступени испарения
=1500 мг/кг.
Для котлов со ступенчатым
испарением во второй ступени
=6000 мг/кг.
Отвод продувочной воды должен осуществляться из мест, в которых отсутствует подсос пара и возможность попадания питательной воды в линию продувки.
Линия непрерывной продувки должна обеспечивать возможность отвода котловой воды не менее 20% от номинальной паропроизводительности котла, а для котлов с выносными циклонами - не менее 10%.
2.2.9. Циркуляционные испарительные контуры котла должны быть полностью дренируемыми.
2.2.10. Все нижние коллекторы испарительных поверхностей котла должны иметь штуцеры для периодической продувки и спуска воды из котла. Число нижних точек, из которых производится периодическая продувка котла, должно быть минимальным.
Допускается объединение нескольких гидравлически идентичных линий продувки в одну линию.
На каждой линии периодической продувки должны быть последовательно установлены два вентиля. Диаметр запорных органов должен выбираться таким образом, чтобы исключалась возможность опрокидывания циркуляции в соответствующем контуре. В котлах давлением до 0,9 МПа допускается установка одного вентиля.
2.2.11. Для того чтобы, в элементах паровых котлов, и в частности в их барабанах, не могли возникнуть условия для развития щелочной хрупкости металла и трещин усталостно-коррозионного характера, следует:
1) вводить в барабан и коллекторы потоки среды с более низкой или более высокой температурой только через штуцеры с термозащитными рубашками; при конструировании внутри барабанных сепарационных устройств следует предусмотреть защиту стенок барабана котла от попадания питательной воды с температурой ниже точки насыщения;
2) не допускать в котлах без развитых конвективных пучков размещения опускных труб экранных контуров котла в зонах обогрева топочными газами;
3) не допускать применения барабанов, непосредственно обогреваемых топочными газами с температурой более 600°С, без термозащиты, а также непосредственной обдувки таких барабанов холодные воздухом.
Для находящихся в эксплуатации котлов с барабанами, имеющими заклепочные соединения, а также для котлов с высокими поверхностными плотностями теплового потока (охладители конверторных газов) и содорегенерационных котлов (СРК) величина относительной щелочности котловой воды не должна быть более 20%.
При относительной щелочности воды выше указанных значений следует производить нитратирование котловой воды согласно п. 2.3.11 или применять другие способы снижения относительной щелочности обрабатываемой воды.
* Перечень специализированных (головных) научно-исследовательских организаций указан в приложении 2 (справочном) Правил Госгортехнадзора СССР.-М.: Энергоатомиздат, 1989.

абв - обогреваемая сторона трубы;
агв - тыльная сторона трубы
2.2.14. Для возможности индивидуальной коррекционной обработки котловой воды, а также для реагентной промывки «на ходу» раствором комплексона поверхностей нагрева котлов в соответствия с табл. 5, 6 и п. 2.3.13 необходимо предусматривать:
на котлах без ступенчатого испарения установку в барабане котла штуцера с термозащитной рубашкой и специального устройства, обеспечивающего хорошее перемешивание раствора подаваемого реагента с котловой водой и не допускающего непосредственного попадания раствора на стенку барабана котла;
на котлах со ступенчатым испарением - установку аналогичного штуцера и устройства для ввода реагентов также непосредственно в контур солевого отсека.
Таблица 5
|
Температура греющего газа, °С |
Корректирующий реагент |
|||||
|
Na3PO4 |
(NaPO3)6 |
NaNO3 |
Na4 ЭДТК |
Na2SO3 |
||
|
До 1,8 |
До 1200 |
Нет |
Нет |
Нет |
Нет |
Нет |
|
От 1,8 до 4,0 |
До 1200 |
Да |
Нет |
Да1) |
Да |
Да2) |
|
До 1,8 |
Св. 1200 |
Нет |
Нет |
Нет |
Да |
Нет |
|
От 1,8 до 4,0 |
Св. 1200 |
Да |
Да3) |
Да1) |
Да |
Да2) |
|
Св. 4,0 |
По РТМ 108.030.11-81 |
|||||
|
Содорегенерационные котлы и котлы-охладители конверторных газов любого давления |
|
Да |
Да |
Да |
Да |
Да2) |
1)Только для котлов с креплением труб вальцовкой при относительной щелочности котловой воды более 50%.
2)При наличии нитритов в питательной воде.
3) Для случаев, предусмотренных в п. 2.3.10.
Для котлов, в которых согласно табл. 5 предусмотрена коррекционная обработка воды гексаметафосфатом и комплексоном, все элементы, соприкасающиеся с исходным раствором химических реагентов, должны выполняться из коррозионно-стойкой (нержавеющей) стали.
2.2.15. Котел должен быть оснащен устройствами отбора проб воды и пара в соответствии с табл. 7 и ОСТ 108.030.04-80.
|
Наименование |
Способ коррекционной обработки воды |
|||||
|
Тринатрийфосфатирование Nа3РО4 |
Гексаметафосфатирование (NаРО3)6 |
Нитратирование NaNO3 |
Аминирование NH40H или (NH4)2SO4 |
Трилонирование2) Na4 ЭДТК |
Сульфитирование Nа2SО3 |
|
|
Место ввода реагента в тепловую схему |
Барабан котла или трубопровод добавочной воды после второй ступени катионирования |
Барабан котла (чистый отсек) |
Трубопровод добавочной воды после второй ступени катионирования |
Трубопровод добавочной воды после второй ступени катионирования или трубопровод питательной воды после деаэратора |
Барабан котла (раздельно в чистый и солевой отсеки) или питательный тракт после экономайзера |
Трубопровод питательной воды после деаэратора |
|
Способ ввода |
Индивидуально или централизовано в общий поток добавочной воды1) |
Индивидуально в каждый котел |
Централизовано в общий поток добавочной воды |
Централизовано в общий поток добавочной воды или в питательную воду |
Индивидуально в каждый котел |
Индивидуально после каждого деаэратора |
|
Реагенты для совместного приготовления и дозирования |
NaNO3 |
|
Nа3РО4 |
Nа3РО4 |
|
Na40H |
1)Централизованный ввод с добавочной водой допускается при гарантированном обеспечении жесткости воды менее 5 мкг-экв/кг.
2)Применяется эпизодически для очистки поверхности нагрева в предремонтный период.
2.3.1. В целях обеспечения рационального водно-химического режима котлов-утилизаторов организации, проектирующие котельные, должны предусматривать комплекс научно обоснованных технических решений, обеспечивающих достижение качества питательной воды и пара, предусмотренного Правилами Госгортехнадзора СССР и настоящими МУ, а также учитывать изложенные ниже рекомендации.
2.3.2. Для каждого проектируемого объекта с котлами-утилизаторами заказчик проекта водоподготовки должен составить для разработчика проекта техническое задание на разработку водно-химической части.
2.3.3. В разделе проекта «Водно-химическая часть» или в других его разделах по исходным данным, полученным от заказчика, следует:
дать анализ пароводяного баланса предприятия в целом и определить долю участия в нем проектируемой установки;
оценить дебиты и качество воды источников водоснабжения;
обосновать выбор оптимального водоисточника (производится в тех случаях, когда в процессе проектирования энергоустановки появляется возможность получить воду из различных источников);
обосновать выбор схемы и оборудования для докотловой водоподготовки или внутрикотловой обработки воды с применением безреагентных и реагентных способов;
предложить мероприятия по удалению агрессивных газов из питательной воды и ее составляющих;
выбрать способ коррекционной обработки питательной и котловой воды (тринатрийфосфатирование, гексаметафосфатирование, аминирование, нитратирование, сульфитирование, трилонирование и др.);
привести схему и технологию предпусковой и эксплуатационной реагентных промывок внутренних поверхностей;
сформулировать комплекс мероприятий по противокоррозионной защите внутренних поверхностей оборудования водоподготовки и питательного тракта;
выбрать способ консервации оборудования в период его простоев;
принять оптимальное техническое решение по реагентному хозяйству для водоподготовки;
предусмотреть организацию ремонта водоподготовительного оборудования;
предусмотреть организацию химической лаборатории, приборного и ручного аналитического контроля;
выбрать способы очистки сточных вод.
2.3.4. При выборе метода обработки воды предпочтение следует отдавать методам, которые обеспечивают необходимое качество обрабатываемой воды, исключают применение сильно агрессивных и токсичных реагентов и повышают требования к технике безопасности при эксплуатации установок, а также методам, обеспечивающим минимальное количество сточных вод и требующим меньших капитальных затрат и эксплуатационных расходов на очистку.
консервации на срок менее трех суток без вскрытия барабана с использованием пара от сепаратора непрерывной продувки или пара от других котлов (горячий резерв);
консервации на срок более трех суток без вскрытия барабана за счет подключения котла либо к конденсатопроводу с обескислороженным конденсатом при давлении 0,3-0,5 МПа, либо к специальному низконапорному трубопроводу питательной воды от деаэраторов повышенного давления, либо к первой ступени питательных насосов через специально врезанный штуцер;
консервации на любой срок со вскрытием барабана и заполнением пароперегревателя конденсатом, содержащим аммиак с концентрацией, равной 500 мг/кг.
Для проведения операций по консервации на предприятиях, применяющих котлы-утилизаторы общей производительностью более 20 т/ч, должен быть проложен специальный консервационный трубопровод (диаметром 50-100 мм) с отводами от него к выходным коллекторам пароперегревателей всех котлов. Должна быть предусмотрена также возможность подачи через данную линию в случае необходимости консервационного пара или конденсата.
Для подачи в консервационную линию аммиачной воды необходимо предусматривать установку специального дозировочного насоса типа НД. Если отсутствуют трубопроводы с обескислороженным (турбинным) конденсатом необходимых параметров, консервация должна производиться питательной водой (от первой ступени питательных насосов), которая отводится через специальный штуцер, врезанный в корпус насоса.
При наличии в цехе предприятия деаэратора, расположенного выше котла, возможна консервация водой, поступающей самотеком из деаэратора.
Допускается одновременное использование консервационной линии для общей и индивидуальной промывок змеевиков пароперегревателей котлов.
Для содорегенерационных котлов в процессе проектирования следует предусматривать возможность гидразинно-аммиачной консервации в объеме, соответствующем рекомендации головной ведомственной энергетической организации.
2.3.6. В целях предотвращения образования отложений и коррозии на всех участках питательного и внутрикотлового трактов наряду с подготовкой добавочной воды в котельных с котлами-утилизаторами должна предусматриваться коррекционная обработка питательной и котловой воды в соответствии с данными табл. 5 и 6.
2.3.7. Для котлов давлением не более 2,4 МПа с местными поверхностными плотностями теплового потока более 3,5×105 Вт/м2, а также для котлов давлением 2,4 МПа и более во всех случаях, когда" это допускается требованиями к качеству пара, поступающего на производство, должно применяться аминирование всего потока добавочной химически обработанной воды с использованием раствора аммиака NH4ОH или сульфата аммония (NH4)2SO4 при расчетной дозировке 2-3 мг/кг аммиака.
2.3.8. Для котлов, вырабатывающих пар, в котором содержание свободной углекислоты не более 7 мг/кг, что соответствует карбонатной щелочности питательной воды не более 0,3 мг-экв/кг или бикарбонатной щелочности не более 0,15 мг-экв/кг, должен быть организован режим аминирования с полной нейтрализацией свободной углекислоты до бикарбонатов.
Для энергообъектов с содержанием свободной углекислоты в паре котлов более 7 мг/кг должен быть применен режим неполной нейтрализации ее аммиаком с поддержанием концентрации последнего, в питательном цикле примерно 3 мг/кг.
Режим аминирования устанавливается головной ведомственной энергетической организацией.
2.3.9. Для котлов давлением
2,4 МПа и более должно предусматриваться индивидуальное или централизованное
фосфатирование с дозированием раствора тринатрийфосфата в барабан котла или в
добавочную воду с целью поддержания в котловой воде первой ступени испарения
концентрации фосфатов в пределах от 5 до 10 мг/кг
- с рН не менее 9,5, в солевом отсеке - не более
50 мг/кг
(см. табл. 5 и
6).
Централизованное фосфатирование не должно предусматриваться для объектов, в которых не может быть обеспечена жесткость питательной воды менее 5 мкг-экв/кг (сухой остаток исходной воды более 500 мг/кг). Централизованное фосфатирование не рекомендуется использовать также для содорегенерационных котлов и охладителей конверторных газов.
Для котлов, питаемых чистым конденсатом, допускается нижний предел рН котловой воды, равный для чистого отсека котлов со ступенчатым испарением 9,3, а для котлов без ступенчатого испарения 9,5.
2.3.10. Для котлов с температурой греющего пара свыше 1200°С и местными поверхностными плотностями теплового потока более 3,5×105 Вт/м2 при питании химически очищенной водой предусматривается индивидуальное (для каждого котла) гексаметафосфатирование котловой воды вместо тринатрийфосфатирования (см. табл. 5 и 6).
2.3.11. В целях снижения коррозионной агрессивности котловой воды при относительной щелочности, превышающей допустимые пределы, в случаях, предусмотренных п. 2.2.12, следует применять нитратирование котловой воды (см. табл. 5 и 6) с поддержанием отношения
,
где NаNО3 - содержание нитрата натрия в котловой воде, мг/кг;
Щобщ - общая щелочность котловой воды, мг-экв/кг.
При соответствующем технико-экономическом обосновании допустимы другие известные методы снижения щелочности питательной и котловой воды.
Расчет относительной щелочности Щотп (%) производится по формулам:
при отсутствии фосфатирования котловой воды (см. табл. 5)
;
при наличии фосфатирования котловой воды
,
где
- концентрация
фосфат-иона в котловой воде, мг/кг;
Sсух - сухой остаток котловой воды, мг/кг.
2.3.12. Сульфитирование раствором сульфита натрия, подаваемым в питательную линию после деаэратора, предусматривается только для котлов давлением 2,4 МПа и более при наличии нитритов в исходной воде и их расчетной концентрации в питательной воде более 20 мкг/кг (см. табл. 5 и 6). При расчете дозы сульфита натрия необходимо учитывать также связывание остаточного кислорода после термической деаэрации.
2.3.13. Для котлов давлением 2,4 МПа и более должна предусматриваться возможность эксплуатационной очистки внутренних поверхностей «на ходу» путем периодического трилонирования с дозой 10 мг четырехзамещенной натриевой соли ЭДТК (Na4ЭДТК) на 1,0 кг питательной воды. Для трилонирования может использоваться оборудование, предназначенное для гексаметафосфатирования (см. табл. 5 и 6). Возможность применения режима непрерывной обработки воды раствором комплексона должна быть обоснована головной ведомственной энергетической организацией.
2.3.14. Для предупреждения образований кремнекислых отложений в котлах с местными плотностями теплового потока более 3,5×105 Вт/м2 должны быть обеспечены следующие значения щелочекремниевого отношения в котловой воде:
при отсутствии фосфатирования котловой воды
40Щобщ/SiО2>l,5,
при наличии фосфатирования котловой воды
(40 Щобщ-
0,84
)/SiO2>1,5,
где SiO2 - содержание SiO2 в котловой воде, мг/кг;
- содержание фосфат-иона в
котловой воде, мг/кг.
2.3.15. В процессе проектирования или наладки по заключению головной ведомственной специализированной организации могут предусматриваться и другие способы коррекционной обработки воды. В частности, для содорегенерационных котлов должны учитываться требования ведомственных нормативных материалов по вводу гидразина и комплексона.
2.3.16. Расчетная
предварительная величина непрерывной продувки котлов
по сухому остатку
исходной воды Sи.в в процентах от паропроизводительности котла с
учетом нормативного сухого остатка котловой воды
для принятого в
проекте типа котлов, а также величины суммарного безвозвратного расхода котловой
воды и потерь пара и конденсата определяются по формуле
. (1)
Здесь Пк - суммарный безвозвратный расход и потери пара и конденсата в процентах от паропроизводительности всех котлов;
, Sи.в - сухой остаток
соответственно котловой и исходной воды, мг/кг;
b - доля пара, отсепарированного в сепараторе непрерывной продувки;
![]()
где iк.п - удельное количество теплоты (энтальпия) котловой воды, поступившей в расширитель, Дж/кг;
iс.п - удельное количество теплоты (энтальпия) сепарированной воды на выходе из расширителя, Дж/кг;
iп - удельное количество теплоты (энтальпия) пара на выходе из расширителя, Дж/кг.
После выбора метода
водоподготовки для удаления взвешенных веществ и снижения жесткости, а в ряде
случаев и для уменьшения сухого остатка находят расчетную уточненную величину
продувки
(в %) по сухому
остатку химически обработанной воды Sх.в и нормативному сухому
остатку котловой воды
:
2.3.17. Если величина продувки, определенная по формуле (2), окажется более 10%, а для содорегенерационных котлов более 5%, то рекомендуется вводить в схему водоподготовки фазы, обеспечивающие частичную или полную деминерализацию воды с помощью химического или термического методов. В технически обоснованных случаях разрешается увеличение продувки до 20%.
2.3.18. В системе использования тепла продувочной воды должны устанавливаться сепараторы для отделения пара от продувочной воды, а в технически обоснованных случаях - теплообменники непрерывной продувки.
2.3.19. Системы деаэрации на предприятиях с котлами-утилизаторами должны обеспечивать качество питательной воды в соответствии с табл. 1. Выбор систем деаэрации питательной воды должен производиться в соответствии с ГОСТ 16860-88 и с учетом требований пп. 2.3.20-2.3.24.
2.3.21. Суммарный объем баков-деаэраторов для котлов всех типов должен быть равен расходу добавочной воды в течение 30 мин в период расчетного максимума паропроизводительности котлов.
2.3.22. Все деаэраторы должны быть оснащены индивидуальными охладителями выпара с трубами из коррозионно-стойких материалов.
Конденсат из охладителей выпара после деаэраторов атмосферного типа через гидрозатвор с разрывом струи и смотровую воронку, снабженную также гидрозатвором, направляется в баки для сбора конденсата. При этом предусматривается резервная возможность отвода конденсата в дренаж.
2.3.23. Для устойчивой работы деаэраторов должны обеспечиваться следующие условия:
непрерывная подача всех потоков воды, в том числе конденсата из дренажных банков и конденсата производства; при этом периодическая импульсная подача конденсата, обусловливающая мгновенное увеличение средней тепловой нагрузки деаэратора, недопустима;
смешивание потоков воды с различной температурой до колонки деаэратора (при наличии подобной возможности по условиям тепловой схемы);
поддержание средневзвешенной температуры* воды в деаэраторе ниже температуры насыщения, не менее чем на 10°С, но не более чем на 50°С; перегретую воду с температурой выше температуры насыщения следует направлять через обратный клапан в барботажное устройство или в паровой объем аккумуляторного бака деаэратора.
*Средневзвешенной температурой называется сумма часовых расходов всех поступающих в деаэратор потоков воды, умноженных на их средние температуры, деленная на сумму часовых расходов воды.
2.3.24. Каждый деаэратор атмосферного типа должен быть оснащен двумя раздельными гидрозатворами: предохранительным самозаливающимся с высотой замыкающей петли 4 м и переливной трубой с гидрозатвором высотой не менее 5 м. Допускается применение комбинированного гидрозатвора, удовлетворяющего обоим требованиям. Использование комбинированного гидрозатвора является более предпочтительным. Комбинированный гидрозатвор подключается к баку-аккумулятору в двух местах: в его верхней точке и в точке, соответствующей максимальному уровню воды. Для защиты деаэраторов повышенного давления необходимо применять предохранительные клапаны и переливные устройства, включающие в себя сигнализатор уровня и электромагнитные клапаны. Защита вакуумных деаэраторов должна осуществляться с помощью гидрозатворов, установленных по принятой схеме. Не допускается установка рычажных или пружинных предохранительных клапанов для деаэраторов атмосферного типа из-за их недостаточной чувствительности.
Предохранительное устройство следует подвергать поверочному расчету на максимальный расход пара и воды, поступающих в деаэратор в аварийном режиме, для конкретных схем с учетом сопротивления выходных трубопроводов. Давление в корпусе для деаэраторов атмосферного и вакуумного типов при срабатывании защитного устройства должно быть не более 0,07 МПа.
2.3.25. Для предотвращения углекислотной коррозии питательного и пароконденсатного тракта должны быть выполнены следующие мероприятия:
аминирование химически очищенной воды для всех котельных, работающих с возвратом производственного или отопительного конденсата (при его количестве более 5 т/ч);
организация рациональной вентиляции паровых полостей всех теплообменных аппаратов - потребителей пара от неконденсирующихся газов;
частичная рециркуляция продувочной воды котлов из линии непрерывной продувки до сепаратора в питательный тракт котлов (через специальный барботер в деаэраторе)*.
* Рекомендуется только на объектах, где по условиям потребителя пара недопустимо аминирование химически очищенной полы.
2.3.26. В котельных, где расчетное содержание свободной углекислоты в паре котлов более 7 мг/кг, должна быть организована вентиляция паровой полости всех без исключения теплообменных аппаратов.
2.3.27. Наиболее эффективной и надежной является индивидуальная вентиляция теплообменных аппаратов с непосредственным отводом неконденсирующихся газов через поверхностные охладители выпара.
2.3.28. Для теплообменных аппаратов, получающих греющий пар, содержащий CO2 с концентрацией, не нейтрализуемой полностью аммиаком (более 7 мг/кг CO2), не рекомендуется организация их работы с полной откачкой конденсата или с переохлаждением конденсата за счет частичного затопления труб.
Из аппаратов, требующих удаления CO2 и работающих всегда с избыточным давлением (пиковые бойлеры, паропреобразователи), неконденсирующиеся газы наиболее целесообразно направлять в деаэраторы атмосферного типа (например, между первой и второй тарелками струйной колонки).
Вентиляция теплообменных аппаратов с поверхностью нагрева более 50 м2, работающих при давлении ниже атмосферного; должна осуществляться в атмосферу при помощи специальных эжекторов через индивидуальные или групповые охладители выпара с необходимой поверхностью нагрева (обычно равной 2% общей поверхности нагрева теплообменного аппарата).
Необходимыми элементами вентиляционной системы для всех трех групп теплообменных аппаратов являются установленные на индивидуальных линиях отсоса (до охладителей выпара) регулирующие вентили и расходные бескамерные диафрагмы (выполненные по ГОСТ 26969-86), к которым периодически подключаются индикаторы расхода любого типа.
2.3.29. Частичная рециркуляция котловой воды в деаэраторы должна осуществляться по продувочным линиям. Применение рециркуляции обязательно для котельных установок, в которых значение рН питательной воды не может быть поднято до величины 8,3 другими методами. Указанный метод не рекомендуется для содорегенерационных котлов и котлов-охладителей конверторных газов.
2.4.1. До ввода котла в эксплуатацию необходимо выполнить комплекс технических и организационных мероприятий по обеспечению питания котла водой, соответствующей требованиям Правил Госгортехнадзора РФ и настоящих МУ.
2.4.2. Монтаж установок по очистке добавочной воды для котлов со всем вспомогательным оборудованием, включая склады реагентов, и сдача их для наладки должны заканчиваться за два месяца до начала предпусковой химической очистки теплотехнического оборудования. До ввода котла в эксплуатацию необходимо также, наладить работу деаэраторной установки.
При вводе котла в эксплуатацию должен быть организован необходимый режим коррекционной обработки питательной и котловой воды согласно п. 2.3.
2.4.3. До ввода котла в постоянную эксплуатацию необходимо провести его теплохимические испытания, проверив возможность получения пара, удовлетворяющего требованиям настоящих МУ при сухом остатке котловой воды в пределах гарантии предприятия-изготовителя котла или требований настоящих МУ (п. 2.2.6) при величине продувки в пределах требований п. 2.2.7.
Испытания последующих однотипных котлов производятся по сокращенной программе, разрабатываемой головной ведомственной энергетической организацией.
На основании испытаний должны быть установлены эксплуатационные нормы качества котловой воды, которые следует строго выдерживать в течение всего периода эксплуатации при помощи соответствующего регулирования непрерывной продувки и коррекционной обработки воды.
2.4.4. На предприятии должен быть организован постоянный химический контроль за водно-химическим режимом котлов в соответствии с требованиями настоящего стандарта.
Показатели водно-химического режима котлов, данные о работе водоподготовительной установки и о расходе реагентов следует отражать в специальной технической отчетности, разрабатываемой в зависимости от особенностей энергетической установки.
2.4.5. При любом ремонте котла или при любой остановке следует производить консервацию согласно требованиям п. 2.3.5.
2.4.6. Для котлов-охладителей конверторных газов и содорегенерационных котлов, оборудованных специальными калориметрическими вставками, в соответствии с п. 2.2.13 необходим непрерывный контроль за температурным режимом труб в наиболее опасных зонах, что позволяет своевременно обнаружить критическое количество внутренних отложений.
2.4.7. При капитальных ремонтах должна производиться вырезка образцов наиболее теплонапряженных парогенерирующих труб (не менее двух образцов). Для котлов, находящихся в длительной эксплуатации, вырезка образцов производится в сроки, установленные ведомственной головной специализированной организацией.
Реагентную очистку поверхностей нагрева котлов следует осуществлять при удельной загрязненности:
для СРК и ОКГ свыше 300 г/м2;
для других котлов при температуре греющего газа свыше 1200°С - 500 г/м2, при температуре греющего газа менее 1200°С - 800 г/м2.
Указанные нормы могут быть изменены в сторону ужесточения для отдельных котлов по заключению головной ведомственной специализированной организации.
2.4.8. Во время капитальных ремонтов общую промывку пароперегревателей следует производить при качестве пара, соответствующем требованиям настоящих МУ, а индивидуальную - при эпизодических отклонениях величин параметров, определяющих качество пара, от требований настоящих МУ.
2.4.9. В соответствии с требованиями Правил Госгортехнадзора СССР и настоящих МУ на основании результатов наладочных работ с привлечением при необходимости специализированной организации (или своими силами) следует разработать инструкцию по ведению водно-химического режима утилизационной установки и инструкцию по эксплуатации установок для докотловой обработки воды с режимными картами.
2.4.10. Периодически, не реже одного раза в три года, с привлечением специализированной организации (или своими силами) производить ревизию водоподготовительного оборудования и его переналадку, по результатам которых вносить необходимые коррективы в инструкцию по ведению водно-химического режима, в инструкцию по эксплуатации установок для докотловой обработки воды, в режимные карты водно-химического режима с их переутверждением.
3.1.1. Химический контроль и измерение параметров качества воды и пара котлов-утилизаторов должны обеспечить безаварийную и надежную эксплуатацию всех аппаратов и элементов тепловой схемы энергетической установки в полном соответствии с требованиями настоящих МУ.
3.1.2. Химический контроль и измерение параметров качества воды и пара включают в себя текущий оперативный контроль и измерения, а также углубленный периодический контроль и измерения.
3.1.3. Текущий оперативный химический контроль и измерения выполняются в целях проверки соответствия параметров качества воды и пара их нормативным значениям и правильности поддержания водно-химического режима котла в любой момент его эксплуатации. По результатам контроля и измерений устанавливается также режим коррекционной обработки воды (фосфатирование, нитратирование, аминирование) и рассчитывается величина продувки котла.
Результаты измерений концентрации продуктов коррозии служат основанием для оценки интенсивности коррозии металла в пароводяном тракте энергоустановки.
3.1.4. Текущий оперативный контроль и измерения параметров водно-химического режима должны осуществляться круглосуточно при помощи автоматических или полуавтоматических средств измерения и контроля*, а также дополняться ручными аналитическими измерениями.
*Целесообразный объем использования автоматических и полуавтоматических средств измерения и контроля устанавливается для каждого конкретного объекта совместно с проектной и головной ведомственной энергетической организациями на стадии проектирования объекта.
При отсутствии средств измерения и контроля для непрерывной регистрации химических параметров, определяющих показатели качества добавочной химически обработанной и питательной воды, рекомендуется организовать отбор представительных среднесуточных проб и анализ их в дневную смену.
3.1.5. Необходимый объем текущего оперативного контроля и измерений для каждой конкретной установки должен определяться конструктивными особенностями котлов, тепловой схемой предприятия и принятым способом обработки питательной воды.
3.1.6. При определении объема требований, предъявляемых к текущему оперативному химическому контролю и измерениям, необходимо руководствоваться положениями, изложенными в п. 3.3.
3.1.7. Углубленный периодический контроль и измерение параметров водно-химического режима осуществляются в процессе наладки водного режима энергоустановки, а также в процессе эксплуатации с целью усовершенствования режимов работы оборудования.
Результаты углубленного периодического контроля должны давать полное количественное представление о химических параметрах питательной воды и составляющих ее потоков, о динамике изменения химических параметров воды в тракте энергетической установки во времени, а также о химических параметрах, определяющих качество выдаваемого котлами пара.
Данные углубленного периодического контроля и измерений химических параметров воды и пара, в том числе и по среднесуточным пробам, используются для уточненных расчетов величины продувки котла, влажности пара, эффективности работы обескислороживающей установки, процента возврата конденсата в питательную систему котлов. Необходимый объем и средства измерения параметров качества воды и пара при этом виде измерений и контроля устанавливаются головной ведомственной энергетической организацией с учетом требований и рекомендаций настоящих МУ.
3.1.8. Для обеспечения представительности отбираемых проб воды и пара пробоотборные устройства должны изготавливаться и устанавливаться в соответствии с требованиями ОCT 108.030.04-80 и табл. 7.
3.1.9. Выполнение химических анализов должно быть организовано по методикам, приведенным в справочном приложении.
Котлы-утилизаторы должны быть оснащены устройствами отбора и подготовки проб воды и пара в соответствии с требованиями ОСТ 108.030.04-80 и табл. 7.
3.3.1. По объему требований к водно-химическому режиму котлы давлением до 4,0 МПа делятся на три группы:
I группа - котлы рабочим давлением до 1,8 МПа включительно;
II группа - котлы рабочим давлением свыше 1,8 до 4,0 МПа;
III группа - содорегенерационные котлы, охладители конверторного газа и высоконапорные котлы.
3.3.2. Объем химического контроля и измерений показателей водного режима котлов всех трех групп, работающих в условиях нормальной эксплуатации, указан в табл. 7.
Таблица 7
|
Группа котла |
Анализируемая среда |
Число анализов в сутки |
|||||||||||||||||
|
Прозрачность |
Щелочность |
Жесткость |
Хлориды |
Солесодержание |
Кислород |
Фосфаты |
Нитраты |
Углекислота |
Аммиак |
Железо |
рН |
Медь |
Нитриты |
Органические вещества (окисляемость) |
Кремнекислота |
Нефтепродукты |
|||
|
Котлы номинальным давлением до 1,8 МПа включительно |
|
Химически очищенная вода |
11) |
11) |
2(1)1) |
11) |
- |
- |
- |
- |
- |
- |
- |
- |
- |
- |
- |
- |
- |
|
I |
Конденсат |
12) |
12) |
12) |
13) |
12) |
- |
- |
- |
- |
- |
- |
- |
- |
- |
- |
- |
- |
|
|
|
Питательная вода |
11) |
11) |
2(1)1) |
13) |
11) |
1 |
- |
- |
Н |
- |
Н7) |
- |
- |
Н6) |
Н6) |
Н6) |
Н6) |
|
|
|
Котловая вода |
1 |
2 |
- |
23) |
2 |
- |
25) |
25) |
- |
- |
- |
- |
- |
- |
- |
- |
- |
|
|
|
Насыщенный пар |
- |
13) |
- |
- |
14) |
- |
- |
- |
Н |
Н |
- |
Н8) |
- |
- |
- |
- |
- |
|
|
Котлы номинальным давлением свыше 1,8 МПа до 4,0 МПа |
II |
Химически очищенная вода |
3(1)1) |
11) |
3-12 (1)1) |
13) |
11) |
- |
- |
- |
- |
- |
Н |
- |
- |
- |
- |
- |
- |
|
|
Конденсат |
32) |
32) |
32) |
- |
32) |
- |
- |
- |
- |
Н |
Н |
1 |
Н6) |
- |
- |
- |
- |
|
|
|
Питательная вода |
3(1)1) |
3(1)1) |
3-12 (1)1) |
13) |
3(1)1) |
3 |
- |
- |
1 |
3 |
Н |
1 |
Н6) |
Н6) |
Н6) |
Н6) |
Н6) |
|
|
|
Котловая вода |
3 |
3-6 |
- |
- |
3 |
- |
3-65) |
3-65) |
- |
- |
Н |
- |
- |
- |
- |
- |
- |
|
|
|
Насыщенный пар |
- |
33) |
- |
- |
34) |
- |
- |
- |
Н |
1 |
- |
Н8) |
- |
- |
- |
- |
- |
|
|
СРК, ОКГ и высоконапорные котлы |
III |
Химически очищенная вода |
3(1)1) |
11) |
12(1)1) |
13) |
11) |
- |
- |
- |
- |
- |
Н |
- |
Н6) |
- |
- |
- |
- |
|
|
Конденсат |
32) |
32) |
32) |
- |
32) |
- |
- |
- |
- |
Н |
Н |
1 |
Н6) |
- |
- |
- |
- |
|
|
|
Питательная вода |
3(1)1) |
3(1)1) |
12(1)1) |
13) |
3(1)1) |
3 |
- |
- |
1 |
3 |
Н |
1 |
Н6) |
Н6) |
Н6) |
Н6) |
Н6) |
|
|
|
Котловая вода |
3 |
3-9 |
- |
- |
3 |
- |
3-95) |
3-95) |
- |
- |
Н |
- |
- |
Н6) |
Н6) |
Н6) |
Н6) |
|
|
|
Насыщенный пар |
- |
33) |
- |
- |
39) |
- |
- |
- |
Н |
3 |
- |
1 |
- |
- |
- |
- |
- |
|
|
Для всех групп котлов |
|
Раствор реагентов |
Проверять концентрацию при приготовлении раствора |
||||||||||||||||
1)Анализы только среднесуточной пробы.
2)Отбор пробы на анализ производить из напорного трубопровода общей линии возвратного конденсата или из каждого контрольного бака после его заполнения.
3)Анализ производить только при отсутствии определения солесодержания.
4)Анализ выполнять только для котлов, имеющих пароперегреватель.
5)Концентрацию корректирующего реагента в воде не измеряют, если не производят соответствующей обработки воды (фосфатирования, нитратирования).
6)Анализ выполнять только при наличии соответствующих соединений в исходной воде или по заключению наладочной организации.
7)Анализ выполнять только для котлов с температурой греющего газа выше 1200°С.
8)рН определяют косвенным путем по табл. 9 раздела 3.
9)Для ОКГ проводить анализ во время продувки конвертора кислородом.
Примечание. В скобках указано число анализов из среднесуточной пробы; Н - анализ один раз в неделю.
В пусковой и наладочный периоды объем химического контроля и измерений устанавливает наладочная организация, при этом он не должен быть меньше предусмотренного настоящими МУ.
первая категория - центральная водно-химическая лаборатория предприятия (такие лаборатории создаются на предприятиях, не имеющих в своем составе ТЭЦ или центральной промышленной котельной);
вторая категория - экспресс-лаборатория при центральной водно-химической лаборатории предприятия (рекомендуется для предприятия, имеющего ТЭЦ или центральную промышленную котельную, в которой размещается центральная водно-химическая лаборатория).
Для водной лаборатории первой категории предусматриваются две комнаты общей площадью 40-50 м2, а для второй категории - комната площадью 15-20 м2.
3.3.4. В водной лаборатории должна быть организована приточно-вытяжная вентиляция, желательно с кондиционированием воздуха.
В лабораториях обеих категорий устанавливается водопроводная раковина, предусматриваются канализация и подвод воды из хозяйственно-питьевого водопровода, а также подвод стабилизированного напряжения; электрическая сеть рассчитывается исходя из условия одновременной работы всех электроприборов, перечисленных в табл. 8. Для освещения используются светильники дневного света.
3.3.5. Необходимый минимум оборудования и приборов для лабораторий обеих категорий приведен в табл. 8.
3.3.6. Для аналитических определений должны быть использованы методы, перечисленные в табл. 9 и изложенные в справочном приложении*. Чувствительность методов измерения и пределы округления, которые рекомендуется учитывать при расчете результата анализов, приведены в табл. 9.
* По заключению головной ведомственной энергетической организации разрешается использование методов анализа, изложенных в отраслевых нормативно-технических документах Минэнерго СССР.
Таблица 8
|
Количество приборов в лаборатории |
||
|
первой категории |
второй категории |
|
|
Стол для титрованных растворов |
1 |
1 |
|
Холодильник для конденсации пара или дистилляционный аппарат |
1 |
1 |
|
Лабораторная обессоливающая установка |
1 |
1 |
|
Лабораторный солемер или кондуктометр (см. приложение) |
2 |
2 |
|
Электроплитки бытовые |
2 |
2 |
|
Лабораторный сушильный шкаф |
2 |
- |
|
Муфельная печь типа СНОЛ 1.62.51/11-М1.94.2 ТУ 531.408-72 |
2 |
- |
|
Аналитические весы ВАР 2-го класса ГОСТ 19491-74 |
1 |
- |
|
Полуавтоматический кислородомер (АКП-205; НПО ЦКТИ-ЛТИ, мембранного типа) |
2 |
2 |
|
Технические весы |
1 |
1 |
|
Лабораторный катионитный фильтр |
2 |
2 |
|
Вытяжной шкаф |
1 |
1 |
|
Стол для нагревательных приборов |
1 |
- |
|
Шкаф для посуды и реактивов |
1 |
1 |
|
Стол для приборов |
1 |
1 |
|
Прибор для определения прозрачности |
1 |
1 |
|
Стол лабораторный |
2 |
1 |
|
Стол для аналитических весов |
1 |
- |
|
Лабораторные табуретки |
3 |
2 |
Таблица 9
|
Чувствительность метода измерения |
Рекомендуемый метод измерения |
Предел округления |
|
|
Прозрачность, см |
1 |
Определение «по кольцу» |
1 |
|
|
|
Определение «по шрифту» |
1 |
|
Концентрация извещенных веществ, мг/кг |
5 |
Косвенное определение по прозрачности |
5 |
|
Щелочность воды типа конденсата, мг-экв/кг |
0,05 |
Титрование кислотой |
0,05 |
|
Щелочность других видов воды, мг-экв/кг |
0,1 |
» |
Две значащие цифры |
|
Жесткость менее 20 мкг-экв/кг |
2 |
Трилонометрический (колориметрический вариант) |
1 |
|
Жесткость более 0,02 мг-экв/кг |
0,01 |
Трилонометрический (титрование) |
Две значащие цифры |
|
Концентрация хлоридов, мг/кг |
1 |
Аргентометрический или меркуриметрический |
Две значащие цифры |
|
Концентрация растворенного кислорода, мкг/кг |
10 |
Индигокарминовый |
10 |
|
Солесодержание, мг/кг |
0,1 |
Расчетный или электрометрический |
Две значащие цифры |
|
Концентрация фосфатов в котловой воде, мг/кг |
1 |
Молибдатный |
1 |
|
Концентрация нитратов в котловой воде, мг/кг |
10 |
Ионитовый |
10 |
|
Концентрация свободной углекислоты, мг/кг |
1 |
Титрование щелочью |
Две значащие цифры |
|
Концентрация соединений железа, мкг/кг |
50 |
Сульфосалицилатный |
50 |
|
Концентрация аммиака, мг/кг |
0,2 |
Титрование или колориметрический по Несслеру |
Две значащие цифры |
|
Значение рН, ед. рН |
1 |
По универсальному индикатору |
1 |
Примечание. Для определения не указанных в таблице нитритов, соединении меди, кремнекислоты и нефтепродуктов применяются методы, изложенные в отраслевых нормативно-технических документах Минэнерго СССР.
3.4.1. Химический контроль за водно-химическим режимом должен быть организован с учетом рекомендаций, изложенных в пп. 3.1, 3.2, 3.3.
3.4.2. Должно быть организовано выполнение анализов в объеме химического контроля и по методикам, предусмотренным в табл. 9 с расчетом среднесуточных и среднемесячных показателей. Необходимо проверять соответствие этих показателей требованиям Правил Госгортехнадзора СССР, настоящих МУ, а также ведомственных нормативно-технических документов и технической документации предприятий-изготовителей энергетического оборудования.
3.4.3. С учетом конкретных условий работы котельной и указаний настоящих МУ должен быть установлен необходимый объем химического контроля, реализована схема отбора проб и оборудована водная лаборатория. В случае необходимости это осуществляется с привлечением специализированной организации.
3.4.4. Отбор проб воды и пара должен быть организован в соответствии с требованиями ОСТ 108.030.04-80 и табл. 7. При монтаже линий отбора пробы должен быть выдержан уклон в сторону движения пробы; трубопроводы не должны иметь тепловой изоляции независимо от их длины, но для обеспечения безопасности они должны быть ограждены.
3.4.5. При отборе воды и пара па анализ должны быть розданы все условия для получения представительной пробы. В частности при отборе пробы для анализа на содержание соединений, находящихся частично в грубодисперсной форме (железо), пробоотборную линию следует периодически продувать с максимально возможной интенсивностью. По окончании продувки устанавливают необходимый расход пробы анализируемой воды и ее температуру (согласно п. 3.4.6); отбор проб следует производить не ранее чем через 3 ч после продувки линии. Необходимым условием представительности отбора является, в этом случае непрерывное действие пробоотборной точки.
При отборе и транспортировке пробы создают условия, исключающие возможность загрязнения пробы из окружающей среды. Пробы питательной воды и конденсата пара отбираются в полиэтиленовые сосуды.
Должны также выполняться все условия, предусмотренные в п. 9 справочного приложения.
3.4.7. Лаборатории обеих категорий (см. п. 3.3.3) должны быть оснащены для возможности выполнения аналитических определений в соответствии с табл. 7, 8, 9. Кроме определений, перечисленных в табл. 7, в отдельных случаях при наличии соответствующих загрязнений в питательной воде производят определение содержания нитритов, меди и окисляемости воды. Необходимость этого в каждом отдельном случае устанавливает специализированная организация. В соответствии с этим используются ведомственные методические указания и отраслевые нормативно-технические документы Минэнерго СССР.
3.4.6. При организации аналитических определений рекомендуется использовать методы, перечисленные в табл. 9 и изложенные в справочном приложении. В табл. 9 также приведены чувствительность указанных методов определения и пределы округления, которые рекомендуются при расчете результатов анализов.
В технической документации по разработке конструкции котлов-утилизаторов, в технических условиях, в инструкции по эксплуатации и другой документации на котел должны быть учтены требования настоящих МУ, Правил Госгортехнадзора СССР, ОСТ 108.030.04-80, а также РТМ но организации водно-химического режима (РТМ 108.030.11-81) и методам его контроля и измерений (РТМ 108.030.08-81) для барабанных котлов высокого давления.
При проектировании предприятий с котлами-утилизаторами давлением до 11 МПа должны быть учтены требования настоящих МУ, Правил Госгортехнадзора СССР, ОСТ 108.030.04-80, РТМ 108.030.11-81, а также требования соответствующих разделов сопроводительной технической документации на котел.
Водно-химический режим, его химический контроль и измерения должны быть организованы с учетом требований настоящих МУ, Правил Госгортехнадзора СССР ОСТ 10803004-80, РТМ 108.030.11-81, РТМ 108,030.08-81, а также технической документации на котел.
Справочное
1.1. Прозрачность столба предварительно тщательно перемешанной пробы воды дает возможность приближенно оценить содержание в ней взвешенных веществ.
Наиболее простой метод определения прозрачности - установление момента исчезновения видимости опускаемого в воду кольца диаметром 20 мм, изготовленного из покрытой черным лаком проволоки диаметром 2 мм и укрепленного на металлической линейке со шкалой, градуированной в сантиметрах.
Проволочное кольцо опускают в стеклянный цилиндр, заполненный анализируемой водой, до тех пор, пока контуры кольца сделаются невидимыми. Глубина погружения кольца в сантиметрах соответствует численному значению прозрачности воды «по кольцу». В табл. 1 приведены значения этого показателя, пересчитанные па прозрачность «по шрифту», указанную в Правилах Госгортехнадзора СССР и настоящих МУ.
Таблица 1
|
Значение прозрачности |
Значение прозрачности |
||
|
Определение «по кольцу» |
Определение «по шрифту» |
Определение «по кольцу» |
Определение «по шрифту» |
|
2 |
0,5 |
21 |
15 |
|
3 |
1 |
22 |
16 |
|
4 |
2 |
24 |
17 |
|
6 |
3 |
26 |
18 |
|
7 |
4 |
28 |
19 |
|
8 |
5 |
29 |
20 |
|
10 |
6 |
30 |
21 |
|
11 |
7 |
31 |
22 |
|
12 |
8 |
32 |
23 |
|
13 |
9 |
33 |
24 |
|
15 |
10 |
34 |
25 |
|
16 |
11 |
36 |
26 |
|
17 |
12 |
37 |
27 |
|
19 |
13 |
38 |
28 |
|
20 |
14 |
41 |
30 |
1.2. Зависимость между прозрачностью и концентрацией взвешенных веществ может быть установлена по анализам*.
*К выполнению анализов целесообразно привлекать специальную организацию.
В каждом случае одновременно определяется прозрачность воды. Все результаты анализов параллельных проб наносят на координатные оси и по полученным точкам вычерчивают кривую.
Менее точный, но более быстрый метод-построение кривой по результатам анализа одной пробы воды в период ее максимального загрязнения взвешенными веществами. В результате последовательного разбавления дистиллятом первоначальной тщательно перемешанной пробы получают эталоны. Определив прозрачность этих эталонов, получают точки, по которым строят расчетную кривую. Для определения прозрачности воды, прошедшей химическую обработку (например, после осветлителя в процессе известкования), в качестве исходной для приготовления эталонов должна быть взята эта же вода в период ее минимальной прозрачности.
2.1. Определение щелочности воды основано на титровании растворенных в воде щелочных соединений кислотой в присутствии индикаторов, меняющих свою окраску в зависимости от реакции среды. При титровании с метилоранжем или смешанным индикатором определяется общая щелочность Щобщ, условно характеризующая суммарное содержание в воде бикарбонатов, карбонатов, гидратов, 2/3 ортофосфатов и гуматов.
При титровании с фенолфталеином определяются полностью гидраты, 1/2 карбонатов, 1/3 ортофосфатов и гуматы. Данные по изменению цвета индикатора в зависимости от рН среды приведены в табл. 2.
Таблица 2
|
Индикаторы |
Окраска при реакции среды |
Интервал перехода, ед. рН |
||
|
кислой |
щелочной |
нейтральной |
||
|
Фенолфталеин |
Бесцветная |
Розовая |
Бесцветная |
8,2-10 |
|
Метилоранж |
Розовая |
Желтая |
Оранжевая |
3,1-4,4 |
|
Смешанный |
Фиолетовая |
Зеленая |
Грязно-серая |
4,2-6,2 |
2.2. Для аналитического определения щелочности необходимы следующие реактивы:
0,1 н. раствор серной или соляной кислоты;
0,01 н. раствор серной или соляной кислоты;
1%-ный спиртовой раствор фенолфталеина;
0,1%-ный водный раствор метилоранжа;
смешанный индикатор (смесь равных объемов спиртовых растворов: 0,25%-ного раствора метилового красного и 0,17%-ного раствора метиленового голубого).
2.3. Для определения щелочности исходной, известкованной, катионированной и питательной воды 100 мл испытуемой воды помещают в коническую колбу, прибавляют одну-две капли фенолфталеина и в случае появления розовой окраски титруют децинормальной кислотой до обесцвечивания. Измерив расход кислоты, добавляют две-три капли метилоранжа или смешанного индикатора продолжают титрование до изменения окраски.
Если проба после добавления фенолфталеина не изменила окраску, сразу прибавляют метилоранж или смешанный индикатор и титруют децинормальной кислотой до перехода окраски. Количество миллилитров децинормальной кислоты, израсходованной на титрование по фенолфталеину, численно соответствует щелочности воды по фенолфталеину в миллиграмм-эквивалентах на килограмм. Количество миллилитров децинормальной кислоты, израсходованной суммарно на титрование пробы по фенолфталеину и метилоранжу или фенолфталеину и смешанному индикатору, численно соответствует общей щелочности воды в миллиграмм-эквивалентах на килограмм.
2.4. Для определения щелочности котловой воды 25-50 мл котловой воды помещают в коническую колбу, разбавляют до 100 мл дистиллированной водой и определяют общую щелочность титрованием децинормальной кислотой в присутствии смешанного индикатора, дающего резкий переход окраски в конце титрования.
Количество миллилитров децинормальной кислоты, израсходованной на титрование 50 мл пробы, умноженное на два (а при титровании 25 мл пробы, умноженное на четыре), составляет общую щелочность воды в миллиграмм-эквивалентах на килограмм*.
* Величина общей щелочности в случае необходимости используется для проверки щелочекремниевого отношения по п. 2.3.14 настоящих МУ.
2.5. Для определения щелочности воды типа конденсата (при щелочности ниже 0,2 мг-экв/кг) по 100 мл испытуемой воды помещают в две одинаковые конические колбы и прибавляют по две-три капли метилоранжа или смешанного индикатора. Воду в первой колбе титруют сантинормальной кислотой из микробюретки с оттянутым носиком до изменения окраски по сравнению со второй колбой, служащей «свидетелем». Сравнение производят на белом фоне при сильном освещении.
Количество миллилитров сантинормальной кислоты, израсходованной на титрование пробы, деленное на 10, численно равно щелочности воды в миллиграмм-эквивалентах на килограмм.
3.1. Трилон Б - кислая двузамещенная натриевая соль этилендиаминтетрауксусной кислоты-при рН=9 связывает во внутрикомплексные соединения катионы кальция и магния.
Некоторые красители (кислотный хром темно-синий, эриохром черный - ЭТ-00) образуют с катионами солей жесткости непрочные окрашенные соединения красного цвета. При добавлении в воду с подобными окрашенными соединениями раствора трилона Б в эквивалентной точке происходит их полное разрушение, при этом раствор становится синим. В присутствии ионов цинка или меди (неотчетливый переход окраски) определение жесткости производят с добавлением раствора сульфида натрия, связывающего эти катионы в нерастворимые сульфидные соединения.
Влияние ионов марганца, приводящее к быстрому обесцвечиванию окраски, устраняют прибавлением к пробе раствора соляно-кислого гидроксиламина.
3.2. В процессе аналитического определения общей жесткости необходимы следующие реактивы:
0,05 н. раствор трилона Б;
0,005 н. раствор трилона Б;
аммиачный буферный раствор (20 г химически чистого хлористого аммония растворяют в дистилляте, добавляют 100 мл химически чистого концентрированного раствора аммиака с удельным весом 0,91 и разбавляют до 1 л дистиллятом);
боратный буферный раствор (40 г химически чистой десятиводной буры растворяют в 800 мл дистиллята и отдельно растворяют 10 г химически чистого едкого натра в 100 мл дистиллята; смешав после охлаждения оба раствора, дополняют объем до 1 л дистиллятом);
кислотный хром темно-синий (0,5 г индикатора растворяют в 10 мл аммиачного буферного раствора и разбавляют до 100 мл этиловым спиртом);
эриохром черный ЭТ-00 (0,5 г индикатора растворяют в 10 мл аммиачного буферного раствора и разбавляют до 100 мл этиловым спиртом);
10%-ный раствор сернистого натрия (хранить в полиэтиленовой посуде не более двух недель);
2%-ный раствор солянокислого гидроксиламина;
исходная вода, разбавленная катионированным дистиллятом до жесткости 100 мкг-экв/кг;
смесь буферного раствора с индикатором в обычном соотношении с прибавлением исходной воды с жесткостью 100 мкг-экв/кг в количестве, эквивалентном заданному эталону жесткости;
катионированный дистиллят, не содержащий солей жесткости.
3.3. Для определения жесткости природной, известкованной, коагулированной воды 100 мл пробы помещают в коническую колбу, прибавляют 5 мл аммиачного буферного раствора, семь капель индикатора кислотного хрома темно-синего и медленно титруют при постоянном перемешивании 0,05 н. раствором трилона Б до отчетливого изменения цвета на синий.
Количество миллилитров 0,05 н. трилона Б, израсходованного на титрование пробы, деленное на два, составляет общую жесткость воды в миллиграмм-эквивалентах на килограмм.
При нечетком переходе окраски или обесцвечивании пробы определение повторяется с добавлением 0,5 мл раствора сернистого натрия для устранения мешающего действия ионов меди и цинка или трех капель раствора солянокислого гидроксиламина для устранения мешающего действия соединений марганца.
3.4. Для воды с жесткостью ниже 100 мкг-экв/кг 100 мл пробы помещают в коническую колбу, прибавляют 5 мл аммиачного буферного раствора, семь капель индикатора кислотного хрома темно-синего и медленно титруют при постоянном перемешивании 0,005 н. раствором трилона Б из микробюреток с размером капли не более 0,05 мл до изменения окраски.
Количество миллилитров 0,005 н. раствора трилона Б, израсходованного на титрование пробы, умноженное на 50, составляет общую жесткость воды в микрограмм-эквивалентах на килограмм.
3.5. Для воды с жесткостью менее 20 мкг-экв/кг (колориметрический вариант) приготавливают эталоны воды с жесткостью 0; 1; 5 и 10 мкг-экв/кг путем разбавления 0; 1; 5 и 10 мл эталонной жесткой воды до 100 мл дистиллятом в двух рядах конических колб.
В первый ряд колб прибавляют по 5 мл аммиачного буферного раствора и по семь капель кислотного хрома темно-синего. Во второй ряд колб прибавляют по 1 мл боратного буферного раствора и по семь капель эриохрома черного ЭТ-00. В результате сравнения гаммы окрасок в обоих рядах колб выбирают буфер и индикатор, которые для данной исходной воды дают наиболее постоянный и «растянутый» переход окраски от синего к розовому цвету, что является индивидуальной особенностью данной воды и обусловлено спецификой ее «солевого букета».
Из выбранной пары (красителя и буфера) готовят рабочий ряд, эталонных растворов с жесткостью 0; 1; 3; 5; 7; 10; 15 и 20 мкг-экв/.кг путем разбавления 0; 1; 3; 5; 7; 10; 15 и 20 мл эталонной жесткой воды до 100 мл катионированным дистиллятом. Одновременно этот буфер и краситель в тех же количествах прибавляют к 100 мл испытуемой воды и сравнивают с окраской шкалы эталонов, которую каждый раз готовят вновь.
Окраска проб, совпадающая с эталоном, непосредственно определяет жесткость в микрограмм-эквивалентах на килограмм.
3.6. Сравнение окраски испытуемой воды с окраской эталонов позволяет определить фактическое значение жесткости с чувствительностью 0,5-2 мкг-экв/кг.
В случае необходимости определение жесткости производится с помощью ввода в испытуемую воду растворов сернистого натрия или солянокислого гидроксиламина для связывания катионов, мешающих определению.
При анализе малых жесткостей значительную ошибку может дать загрязнение солями жесткости буферных растворов (аммиачного или боратного). Отсутствие подобного загрязнения или размер необходимой поправки устанавливают, сравнивая испытуемую воду с красителем со шкалой эталонов интенсивности окраски при однократном или двухкратном количестве аммиачного или боратного растворов против прописи.
При наличии лабораторных катионитных фильтров можно ликвидировать загрязнение буферных растворов, пропуская их через эти фильтры, заряженные одноименным ионом.
3.7. Для качественного сравнения фактической жесткости с заданным эталоном к 100 мл пробы добавляют смесь буферного раствора с индикатором и 0,005 н. раствор трилона Б в количестве, соответствующем выбранному эталону (например, 50 мкг-экв/кг для отключения катионитного фильтра на регенерацию). Если появляется красная окраска, то жесткость воды выше эталона, если синяя, то жесткость не достигла заданного предела.
4.1. При связывании хлор-ионов азотнокислым серебром образуется хлористое серебро (белый осадок). Первые избыточные капли реактива в присутствии хромовокислого калия в нейтральной (по фенолфталеину) среде образуют дополнительный осадок хромовокислого серебра бурого цвета.
4.2. Для аналитического определения содержания хлоридов необходимы следующие реактивы:
0,0282 н. раствор азотнокислого серебра (хранить в коричневой склянке);
децинормальный раствор серной кислоты;
10%-ный раствор хромовокислого калия;
1%-ный спиртовой раствор фенолфталеина.
4.3. В процессе аналитического определения содержания хлоридов необходимо соблюдать указанную ниже последовательность операций.
Отбирают пробу воды в зависимости от предполагаемого содержания хлоридов в объеме, указанном в табл. 3. Рекомендуемый объем пробы для анализа также указан в табл. 3.
Таблица 3
|
Объем пробы, мл |
Коэффициент для пересчета объема в литры k |
|
|
До 2 |
500 |
2 |
|
2-10 |
250 |
4 |
|
10-50 |
100 |
10 |
|
50-100 |
50 |
20 |
|
Св. 100 |
25 |
40 |
Пробу помещают в коническую колбу, прибавляют две капли фенолфталеина и нейтрализуют серной кислотой до исчезновения розовой окраски. Затем добавляют 1 мл раствора хромовокислого калия и титруют из бюретки азотнокислым серебром до появления устойчивой бурой окраски. При объеме пробы 100 мл количество миллилитров азотнокислого серебра* после вычитания поправки на окраску, принимаемой равной 0,2 мл, и умножения на 10 соответствует содержанию хлоридов в миллиграммах на килограмм. При ином объеме пробы результат расчета умножают на корректирующий коэффициент k, приведенный в табл. 3.
*1 мл раствора азотнокислого серебра оттитровывает 1 мг хлор-иона.
4.4. При большом количестве определений в лаборатории должен быть сосуд для сбора оттитрованных проб и регенерации серебра.
4.5. Допускается применение меркуриметрического метода определения хлоридов при условии соблюдения правил техники безопасности для работы с ртутными соединениями, а также дифенил-карбозидного метода.
5.1. Сухой остаток (солесодержание) питательной и котловой воды определяют весовым методом - путем выпаривания определенного объема профильтрованной пробы воды в предварительно взвешенной фарфоровой чашке и высушивания остатка при температуре 120°С до постоянной массы.
Для установок с прямоточной схемой водоподготовки натрий-катионитным методом двухступенчатого умягчения прямое определение солесодержания питательной и котловой воды может быть заменено косвенным определением его по общей щелочности воды. Зависимость солесодержания котловой воды от щелочности S=f(Щ) может быть установлена как расчетным путем (по анализу исходной воды), так и путем ряда весовых анализов и определения общей щелочности котловой воды.
Определение сухого остатка котловой воды с содержанием хлоридов в исходной воде более 5 мг/кг может достаточно точно производиться косвенно по концентрации хлор-иона. Зависимость солесодержания от концентрации хлор-иона S=f(Cl-) устанавливается экспериментально на основании анализов котловой воды с параллельным определением сухого остатка и концентрации хлоридов.
При весовом методе для определения солесодержания требуется значительное время; этот метод следует применять для контроля при градуировке солемеров, принцип действия которых основан на измерении удельной электрической проводимости раствора.
5.2. По удельной электрической проводимости раствора можно приближенно определить концентрацию ионодисперсных загрязнителей. Эквивалентные электропроводимости большинства ионов имеют достаточно близкие значения. Исключением являются ионы Н+ и ОН-, поэтому сильнощелочные воды перед электрометрическим определением должны быть нейтрализованы до значения рН=6¸8.
Для электрометрического определения могут использоваться различные кондуктометрические солемеры, как выпускаемые промышленностью серийно, например лабораторный кондуктометр ЛК-563 с диапазоном измерений от 0 до 1000 мкСм/см (0-500 мг/кг), так и выпускаемые малосерийно:
электронный переносной автоматический кондуктометр типа ЭКА с цифровой индикацией удельной электропроводимости (тип ЭКА-1), обеспечивающий непрерывную фиксацию результатов измерений и их автоматическую термокомпенсацию и имеющий диапазон измерений от 0,05 мкСм/см до 10000 мкСм/см с пятью поддиапазонами (прибор разработан НПО ЦКТИ и МНПО «Кварц»);
переносной кондуктометр ПК-67 с диапазоном измерений от 0 до 10 и от 5 до 500 мкСм/см (от 0 до 5 и от 2,5 до 250 мг/кг), разработанный центральной лабораторией и экспериментальными мастерскими (ЦЛЭМ) Тулэлерго.
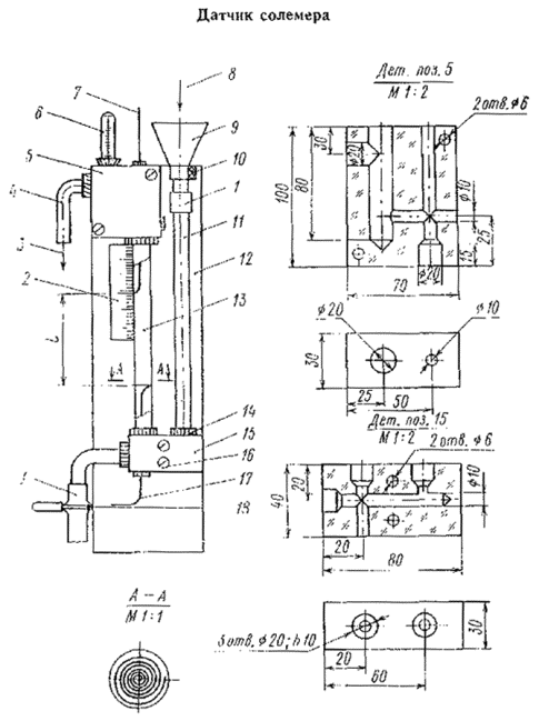
Наиболее дешевым и доступным (однако значительно менее точным) является лабораторный солемер конструкции Центрэнергочермета, в котором в качестве измерительного прибора используется переносной мегомметр типа М-1101М, М-1102/1, МС-05 или мегомметр с питанием от электросети, например типа M-503М Возможный вариант исполнения первичного преобразователя (датчика) солемера представлен на чертеже.
Датчик состоит из панели, выполненной из органического стекла, эбонита или дерева, на которой укреплены: стеклянная трубка датчика, воронка для ввода пробы, две головки из органического стекла, термометр, стеклянные трубки для подвода и отвода пробы, шкала подвижного электрода. Элементы датчика соединяются резиновой трубкой и резиновыми пробками. Электроды солемера изготовлены из нихромовой проволоки диаметром 0,5-1,0 мм. Электроды, вставленные в оба конца стеклянной трубки датчика, при помощи небольших (около 1 м) отрезков провода в резиновой или хлорвиниловой изоляции присоединяются к клеммам мегомметра. Концы электродов изгибают в виде спирали, плоскость которой перпендикулярна оси датчика.
таблица 4
|
18 |
20 |
25 |
30 |
35 |
40 |
45 |
50 |
|
|
Расстояние между электродами L, мм |
86 |
90 |
100 |
110 |
120 |
129 |
140 |
149 |
Для датчика солемера питательной воды и пара может быть использована химическая бюретка емкостью 25 мл с внутренним диаметром примерно 12 мм.
Расстояние между электродами солемера зависит от температуры, при которой производят измерения, и должно соответствовать величинам, указанным в табл. 4.
Солемер с мегомметром предварительно градуируют, т. е. определяют, какому солесодержанию, в миллиграммах на килограмм соответствует показание по шкале мегомметра в мегаомах.
Для котловой воды следует использовать стеклянную трубку с меньшим диаметром, равным 4 мм. Общая длина трубки 200- 250 мм.

1 - резиновые трубки; 2 - шкала подвижного электрода; 3 - выход пробы; 4 - колено; 5, 15 - верхняя и нижняя головки из оргстекла; 6 - ртутный термометр; 7, 17 - подвижный и неподвижный электроды из нихромовой проволоки d=0,5¸1,0 мм; 8 - вход пробы; 9 - воронка; 10 - скоба; 11 - подводящая стеклянная трубка; 12 - панель 100´350 мм; 13 - стеклянная трубка датчика; 14 - резиновая пробка; 16 - болт М5; 18 - зажим пружинный
Соответствие показаний мегомметра солесодержанию измеряемой жидкости устанавливается для конденсата пара расчетным путем, а для питательной и котловой воды - по ряду их проб с различным солесодержанием, определенным весовым методом. Периодически (не реже одного раза в месяц) градуировку солемера проверяют по сухим остаткам данного типа воды, определенным весовым методом.
5.3. Градуировку солемера для конденсата пара производят расчетным путем. Солесодержание пробы в расчете на NaCl вычисляют по формуле
,
где L - расстояние между электродами, см;
R - сопротивление, измеренное мегомметром, МОм;
f - площадь токопроводящего сечения подвижного преобразователя (датчика) солемера;
c - удельная электрическая проводимость раствора, содержащего 1 мг/кг NaCl, при определенной температуре. Значения cNaCl при различных температурах приведены в табл. 5.
Таблица 5
|
18 |
20 |
25 |
30 |
35 |
40 |
45 |
50 |
|
|
cNaCI, мкСм/см |
1,85 |
1,94 |
2,15 |
2,36 |
2,57 |
2,78 |
3,0 |
3,21 |
Для датчика с расстоянием между электродами L=10 см (по табл. 4 соответствует температуре 25°С) и площадью f=1,13 см2 расчетная формула может быть упрощена:
![]()
Числитель формулы в зависимости от температуры имеет значения, приведенные в табл. 6. По результатам расчетов строят градуировочные кривые для различных температур.
Величину солесодержания откладывают по оси ординат, а величину сопротивления - по оси абсцисс.
Вместо градуировочных кривых можно пользоваться универсальной таблицей* (табл.7).
*Разработана Укрэнергочерметом.
Таблица 6
|
18 |
20 |
25 |
30 |
35 |
40 |
45 |
50 |
|
|
Значение числителя |
4,73 |
4,56 |
4,12 |
3,75 |
3,44 |
3,18 |
2,95 |
2,76 |
Таблица 7
|
Температура пробы (°С) в пределах |
|||||||||||
|
18-20 |
21-23 |
24-26 |
27-29 |
30-32 |
33-35 |
36-38 |
39-41 |
42-44 |
45-47 |
48-50 |
|
|
Солесодержание конденсата, мг/кг |
|||||||||||
|
2,00 |
2,60 |
2,50 |
2,30 |
2,20 |
2,10 |
2,00 |
1,90 |
1,80 |
1,70 |
1,60 |
1,50 |
|
2,25 |
2,30 |
2,20 |
2,10 |
1,90 |
1,80 |
1,70 |
1,60 |
1,60 |
1,50 |
1,40 |
1,40 |
|
2,50 |
2,10 |
2,00 |
1,90 |
1,70 |
1,60 |
1,60 |
1,50 |
1,40 |
1,30 |
1,30 |
1,20 |
|
2,75 |
1,90 |
1,80 |
1,70 |
1,60 |
1,50 |
1,40 |
1,30 |
1,30 |
1,20 |
1,20 |
1,10 |
|
3,00 |
1,70 |
1,60 |
1,50 |
1,40 |
1,30 |
1,20 |
1,10 |
1,10 |
1,10 |
1,10 |
1,00 |
|
3,25 |
1,60 |
1,50 |
1,40 |
1,30 |
1,30 |
1,20 |
1,10 |
1,10 |
1,00 |
0,96 |
0,92 |
|
3,50 |
1,50 |
1,40 |
1,30 |
1,20 |
1,20 |
1,10 |
1,00 |
1,00 |
0,91 |
0,90 |
0,86 |
|
3,75 |
1,40 |
1,30 |
1,20 |
1,20 |
1,10 |
1,00 |
0,98 |
0,93 |
0,88 |
0,84 |
0,80 |
|
4,00 |
1,30 |
1,20 |
1,20 |
1,10 |
1,00 |
0,97 |
0,91 |
0,87 |
0,82 |
0,78 |
0,75 |
|
4,25 |
1,20 |
1,20 |
1,10 |
1,00 |
0,96 |
0,91 |
0,86 |
0,82 |
0,78 |
0,74 |
0,70- |
|
4,50 |
1,20 |
1,10 |
1,00 |
0,96 |
0,91 |
0,86 |
0,81 |
0,77 |
0,73 |
0,70 |
0,66 |
|
4,75 |
1,10 |
1,00 |
0,97 |
0,91 |
0,86 |
0,81 |
0,77 |
0,73 |
0,69 |
0,66 |
0,63 |
|
5,0 |
1,00 |
0,98 |
0,97 |
0,87 |
0,82 |
0,77 |
0,73 |
0,69 |
0,66 |
0,62 |
0,59 |
|
5,5 |
0,95 |
0,89 |
0,84 |
0,79 |
0,74 |
0,70 |
0,66 |
0,63 |
0,60 |
0,57 |
0,54 |
|
6,0 |
0,87 |
0,82 |
0,77 |
0,72 |
0,68 |
0,64 |
0,61 |
0,58 |
0,55 |
0,52 |
0,49 |
|
7,0 |
0,75 |
0,70 |
0,66 |
0,62 |
0,58 |
0,55 |
0,52 |
0,49 |
0,47 |
0,44 |
0,42 |
|
7,5 |
0,70 |
0,65 |
0,61 |
0,58 |
0,54 |
0,51 |
0,48 |
0,46 |
0,43 |
0,42 |
0,39 |
|
8,0 |
0,65 |
0,61 |
0,58 |
0,54 |
0,51 |
0,48 |
0,45 |
0,43 |
0,41 |
0,39 |
0,35 |
|
8,5 |
0,61 |
0,58 |
0,54 |
0,51 |
0,48 |
0,45 |
0,43 |
0,40 |
0,38 |
0,36 |
0,34 |
|
9,0 |
0,58 |
0,54 |
0,51 |
0,48 |
0,45 |
0,42 |
0,40 |
0,38 |
0,36 |
0,34 |
0,32 |
|
9,5 |
0,55 |
0,51 |
0,48 |
0,45 |
0,43 |
0,40 |
0,38 |
0,36 |
0,34 |
0,32 |
0,30 |
|
10,0 |
0,52 |
0,49 |
0,46 |
0,43 |
0,40 |
0,38 |
0,36 |
0,34 |
0,32 |
0,31 |
0,29 |
|
11,0 |
0,47 |
0,44 |
0,42 |
0,39 |
0,37 |
0,35 |
0,33 |
0,31 |
0,29 |
0,28 |
0,26 |
|
12,0 |
0,43 |
0,40 |
0,38 |
0,36 |
0,34 |
0,32 |
0,30 |
0,28 |
0,27 |
0,26 |
0,24 |
|
13,0 |
0,40 |
0,37 |
0,35 |
0,33 |
0,31 |
0,29 |
0,27 |
0,26 |
0,25 |
0,24 |
0,22 |
|
14,0 |
0,37 |
0,35 |
0,32 |
0,30 |
0,28 |
0,27 |
0,25 |
0,24 |
0,23 |
0,21 |
0,20 |
|
15,0 |
0,34 |
0,32 |
0,30 |
0,28 |
0,27 |
0,25 |
0,24 |
0,22 |
0,21 |
0,20 |
0,19 |
|
16,0 |
0,32 |
0,30 |
0,28 |
0,27 |
0,25 |
0,24 |
0,22 |
0,21 |
0,20 |
0,18 |
0,17 |
|
17,0 |
0,30 |
0,28 |
0,27 |
0,25 |
0,23 |
0,22 |
0,21 |
0,20 |
0,19 |
0,17 |
0,16 |
|
18,0 |
0,29 |
0,27 |
0,25 |
0,23 |
0,22 |
0,21 |
0,20 |
0,19 |
0,18 |
0,16 |
0,15 |
|
19,0 |
0,27 |
0,25 |
0,24 |
0,22 |
0,21 |
0,20 |
0,19 |
0,18 |
0,17 |
0,15 |
0,14 |
|
20,0 |
0,26 |
0,24 |
0,23 |
0,21 |
0,20 |
0,19 |
0,18 |
0,17 |
0,16 |
0,15 |
0,14 |
Примечание. Расстояние между электродами в датчике L (см) должно быть установлено по соотношению L=10f, где f - площадь токопроводящего сечения датчика, см. Кратность упаривания пробы конденсата пара должна быть в пределах от 3 до 5 (оптимальная - 4), ее необходимо учитывать при определении фактического солесодержания пробы.
5.4. Градуировку солемера для котловой воды производят по стандартным растворам, приготовленным из котловой воды с максимальным солесодержанием.
Котловую воду отбирают из котла, когда солесодержание ее наиболее высокое (по хлоридам или щелочности). Объем исходной воды должен быть от 5 до 8 л. Для увеличения солесодержания котловой воды при необходимости ее дополнительно упаривают в лаборатории.
В исходной пробе котловой воды определяют сухой остаток, щелочность по фенолфталеину и метилоранжу.
Из исходной котловой воды с известным сухим остатком готовят контрольные растворы путем соответствующего разбавления ее чистым конденсатом. Контрольные растворы готовят с сухим остатком 500, 1000, 1500, 2000, 2500, 3000 мг/кг в зависимости от необходимого диапазона измерений. Пробы котловой воды перед заливкой их в датчик должны быть нейтрализованы по фенолфталеину 0,5%-ным раствором соляной кислоты.
По результатам анализа строят график, где по оси ординат откладывают солесодержание, а по оси абсцисс - показания мегомметра.
Сопротивление датчика следует определять при одной и той же температуре контрольных растворов (25°С). Допускается для температурной компенсации изменять расстояние L между электродами вручную в соответствии с рекомендациями табл. 4.
5.5. Градуировку солемера для питательной воды производят по стандартным растворам, приготовленным из исходной химически очищенной воды с известным солесодержанием, определенным весовым методом.
Стандартные растворы готовят с солесодержанием 30, 50, 70, 100, 150, 200, 250, 300 мг/кг в зависимости от необходимого диапазона измерения солесодержания. Условия градуировки такие же, как и при градуировке солемеров для котловой воды.
5.6. Указания по работе с лабораторными солемерами.
Перед определением солесодержания котловой воды ее предварительно нейтрализуют 0,5%-ным раствором соляной кислоты по фенолфталеину.
Датчик устанавливают на расстоянии не более 1 м от мегомметра и присоединяют к нему проводами в резиновой или хлорвиниловой изоляции.
Исправность прибора проверяют следующим образом:
вращают рукоятку мегомметра при разомкнутых клеммах, при этом стрелка мегомметра должна устанавливаться на знаке шкалы ¥;
замыкают клеммы накоротко куском медной проволоки, стрелка при вращении рукоятки устанавливается на нулевом значении шкалы;
присоединяют мегомметр к датчику, не заполненному водой, и проверяют схему на отсутствие заземления; стрелка при вращении рукоятки должна устанавливаться на знаке шкалы ¥.
5.7. В процессе определения солесодержания необходимо промыть датчик конденсатом и испытуемой водой, затем наполнить его анализируемой водой, измерить ее температуру, подключить датчик к мегомметру и вращать его ручку со скоростью не менее 1,5-2 об/с в течение 2-3 с.
По показаниям шкалы мегомметра строят градуировочный график для определения солесодержания пробы в миллиграммах па килограмм. Солесодержание конденсата пара определяют после предварительной дегазации пробы. Для этого пробу конденсата упаривают в четыре раза в плоскодонной колбе из химически стойкого стекла. Колба должна быть предварительно обработана кислотой. После окончания упаривания колбу охлаждают до 25-30°С, предварительно закрыв пробкой или фильтровальной бумагой для предохранения от попадания в пробу пыли и газов из воздуха.
Разделив величину солесодержания упаренной пробы на кратность упаривания, находят условное солесодержание воды.
На точность определения оказывает влияние температура: с повышением температуры на один градус электропроводимость раствора возрастает примерно на 2%. Измерение производят при постоянной температуре, соответствующей температуре градуировки прибора (обычно 25-35°С). При необходимости пробу следует предварительно охладить до указанной температуры. При использовании датчиков с температурной компенсацией пробы не охлаждают.
6.1. Восстановленная форма лейкосоединения индигокармина золотисто-желтого цвета при окислении за счет растворенного в воде кислорода меняет свою окраску до темно-синей. Определение основано на связывании растворенного в воде кислорода индиго-кармином в его восстановленной форме (лейкосоединение) с последующим сравнением образующейся окраски с окраской серии стандартных растворов.
6.2. В процессе определения содержания кислорода необходимы следующие оборудование и реактивы:
0,1-0,2 н. раствор индигокармина с кислотностью по фенолфталеину и с титром по кислороду, примерно равным 0,02 мг/мл кислорода (определяется перманганатометрически);
0,2 н. аммиачный раствор индигокармина;
амальгамированный цинк в редукторе (бюретка на 25 мл с оттянутым концом в виде капилляра); гранулированный цинк промывают 5%-ным раствором азотной кислоты, затем 10%-ным раствором азотнокислой ртути (окисной или закисной) до образования на гранулах слоя блестящей амальгамы, переносят в редуктор, промывают в нем водой и заполняют редуктор аммиачным раствором индигокармина;
0,37 г/кг раствора пикриновой кислоты;
шкала эталонов имитаторов, которую получают путем смешивания кислого раствора индигокармина с пикриновой кислотой, в объемах, указанных в табл. 8.
Растворы отмеряют в мерную колбу емкостью 250 мл, которую затем заполняют до отметки дистиллятом. Для сохранения устойчивой окраски в течение недели шкала эталонов должна быть помещена в склянки из прозрачного стекла емкостью приблизительно 225 мл. Такая же склянка, используемая для отбора пробы, должна иметь уплотняющую резиновую прокладку, гарантирующую герметичность. Склянку ставят в специальное ведерко из полиэтилена диаметром 120 мм и высотой 200 мм, чтобы иметь возможность вводить в нее реактивы под слоем воды.
6.3. В процессе аналитического определения следует соблюдать указанную ниже последовательность операций.
Пробу из пробоотборной точки, охлажденную до температуры не выше 40°С, через резиновый шланг со стеклянным наконечником внутренним диаметром 3 мм вводят в склянку, помещенную в ведерко. Выжидают, пока вода заполнит склянку и ведерко на 4-5 см выше горлышка склянки. Вынув из склянки наконечник, вводят в нее из редуктора 1,5 мл аммиачного раствора индигокармина. Закрывают под водой склянку колпачком с уплотняющей прокладкой и перемешивают содержимое. Окраску пробы сравнивают с окраской растворов шкалы имитаторов. Концентрация кислорода в пробе должна соответствовать величине, указанной на склянке с имитатором, окраска которого совпадает с окраской пробы.
Таблица 8
|
Объем раствора индигокармина, мл |
Объем раствора пикриновой кислоты, мл |
|
|
0 |
0 |
1,50 |
|
10 |
0,11 |
1,39 |
|
20 |
0,22 |
1,23 |
|
40 |
0,45 |
1,05 |
|
60 |
0,68 |
0,82 |
|
80 |
0,90 |
0,60 |
|
100 |
1,12 |
0,33 |
6.4. В обоснованных случаях допускается применение других методов (метод анализа с метиленовым голубым красителем и др.).
6.5. Для непрерывного контроля за концентрацией растворенного кислорода в питательной воде в технически обоснованных случаях могут быть использованы автоматические кислородомеры мембранного типа.
7.1. Определение основано на титровании пробы, не содержащей фосфатов, раствором однозамещенного фосфата калия в присутствии молибдата аммония и хлористого олова при кислотности среды 0,5-1,0 н. до совпадения цвета образующегося в ней синего комплекса с цветом комплекса испытуемой пробы.
7.2. Для определения содержания фосфатов необходимы следующие реактивы:
раствор молибдата аммония в серной кислоте: 100 мл 10%-ного раствора молибдата аммония смешивают с 300 мл 50%-ной (по объему) серной кислоты;
1%-ный раствор хлористого олова;
30%-ный раствор хлористого натрия;
катионированная вода, упаренная примерно до солесодержания котловой воды;
стандартный раствор однозамещенного фосфата калия, содержащего 100 мг/кг РО43-.
7.3. В коническую колбу емкостью 250 мл помещают 1-5 мл испытуемой воды, 1 мл раствора хлористого натрия и 100 мл дистиллята. В другую коническую колбу помещают 1-5 мл катионированной воды, 1 мл раствора хлористого натрия в 100 мл дистиллята. Обе колбы подогревают до 50°С, прибавляют в каждую колбу по 5 мл раствора молибдата аммония и по 1 мл раствора хлористого олова. Через 1 мин вторую пробу начинают медленно, по каплям, титровать стандартным раствором, пока его окраска и окраска образующегося синего комплекса испытуемой пробы не станут одинаковыми.
7.4. Количество миллилитров стандартного раствора, израсходованного па титрование, умноженное на 100 и деленное на объем испытуемой воды, соответствует концентрации РО43- в миллиграммах на килограмм.
8.1. Аммиак, присутствующий в конденсате насыщенного пара в виде свободного основания или своей карбонатной соли, титруют кислотой в присутствии смешанного индикатора.
В процессе определения содержания аммиака в конденсате насыщенного пара необходимы следующие реактивы:
сантинормальный раствор серной или соляной кислоты;
смешанный индикатор.
Для определения содержания аммиака 100 мл конденсата помещают в коническую колбу, добавляют пять капель смешанного индикатора и титруют сантинормальным раствором кислоты до изменения зеленой окраски на фиолетовую.
Количество миллилитров сантинормального раствора кислоты, израсходованной на титрование, умножается на 1,7. Результат соответствует содержанию аммиака в миллиграммах на килограмм.
8.2. Определение содержания аммиака в питательной воде основано на удалении свободного и связанного аммиака четырехкратным упариванием пробы. Разность щелочности воды до и после упаривания соответствует содержанию аммиака.
В процессе определения концентрации аммиака в питательной воде необходимы следующие реактивы:
децинормальный раствор серной или соляной кислоты;
смешанный индикатор.
Для определения содержания аммиака в две конические колбы наливают по 100 мл испытуемой воды. В первой определяют щелочность без упаривания; для этого добавляют пять капель смешанного индикатора, титруют децинормальным раствором кислоты до изменения зеленой окраски на фиолетовую и фиксируют количество миллилитров кислоты, израсходованной на титрование.
Вторую колбу ставят на плитку и упаривают примерно в четыре раза, охлаждают и также определяют щелочность, фиксируя расход кислоты.
Разность расходов децинормального раствора кислоты в миллилитрах при титровании пробы до и после упаривания, умноженная на 17, соответствует содержанию аммиака в миллиграммах на килограмм.
8.3. Для контроля правильности методик применяется колориметрический метод по Несслеру, в основу которого положена реакция аммонийных солей со щелочным раствором йодистой ртути (реактивом Несслера), в результате чего образуется соединение йодистого меркураммония, обкрашенное в желтый цвет.
В процессе определения содержания аммиака по Несслеру необходимы следующие реактивы:
щелочной раствор йодистой ртути (реактив Несслера);
10%-ный раствор сегнетовой соли;
катионированная вода или конденсат, свободный от аммиака;
стандартный раствор хлористого аммония, содержащий 10 мг/кг МН3-.
Для определения содержания аммиака в одинаковые пробирки из бесцветного стекла вводят разные объемы стандартного раствора: 0,5; 1,0; 1,5; 2,0; 2,5 мл, что соответствует 0,005; 0,01; 0,015; 0,02; 0,025 мг аммиака, и доливают до 10 мл Н-катионированной водой.
В свободную пробирку наливают 10 мл анализируемой воды. Затем во все пробирки вводят по 0,5 мл раствора сегнетовой соли и по 2 мл реактива Несслера. Содержимое пробирок перемешивают и через 5 мин сравнивают их окраски.
Содержание аммиака (в мг/кг) в анализируемой пробе определяют умножением на 100 содержания аммиака в той пробирке, окраска которой совпала с окраской пробы.
9.1. Определение содержания соединений железа основано па образовании в слабощелочной среде окрашенных, в желто-оранжевый цвет комплексов железа с сульфосалициловой кислотой.
Для перевода соединений железа в растворимое состояние пробу вне зависимости от предполагаемого содержания железа предварительно подкисляют и упаривают в 10 раз.
9.2. В процесс определения содержания соединений железа необходимы следующие реактивы:
сульфосалициловая кислота (30%-ный раствор) или сульфосалициловый натрий (насыщенный раствор);
25%-ный раствор серной кислоты, не содержащий железа;
10%-ный раствор персульфата натрия, не содержащий железа;
10%-ный раствор аммиака;
обессоленная вода или конденсат, не содержащий соединений железа;
стандартный раствор соли трехвалентного железа, содержащий 10 мг/кг Fе+3.
9.3. При отборе проб воды соблюдают условия ее представительности по соединениям железа, находящимся в грубодисперсной форме: изокинетичность отбора, т. е. скорость среды во входном отверстии пробоотборного зонда должна быть равна скорости среды в трубопроводе, из которого отбирается проба; короткая трасса; линия отбора из коррозионно-стойкой стали; длительная продувка в соответствии с п. 3.4.5; достаточность турбулизации потока в месте отбора; невозможность задержания частиц железа в арматуре, «мертвых» пространствах пробоподводящей трассы).
Отбор пробы производят из вертикального нисходящего участка трубопровода. Пробу отбирают в колбу, предварительно обработанную длительным кипячением с концентрированной соляной кислотой.
9.4. До отбора пробы в колбу вводят 2 мл 25%-ной серной кислоты на каждые 100 мл пробы.
В лаборатории отмеривают 50 мл пробы, переливают ее в химический стакан, также обработанный соляной кислотой, добавляют 1 мл персульфата натрия и упаривают примерно в 10 раз. После этого объем пробы доводят до 25 мл путем добавления конденсата (упаривание в два раза).
Одновременно готовят шкалу имитаторов. Для этого стандартный раствор с концентрацией 10 мг/кг железа разбавляют в колбах в 100; 50; 25; 10 и 5 раз, получают растворы имитаторов с концентрацией соответственно 100; 200; 400; 500; 1000 и 2000 мг/кг железа. Затем в шесть одинаковых пробирок последовательно вводят по 10 мл растворов-имитаторов, а в седьмую пробирку - 10 мл подготовленной двукратно упаренной пробы воды.
В каждую пробирку вводят по 1 мл сульфосалициловой кислоты и по 2 мл раствора аммиака. Через 10 мин после перемешивания содержимого пробирок сравнивают интенсивность окраски испытуемой воды с окраской растворов-имитаторов, рассматривая растворы сверху вниз на белом фоне.
9.5. Содержание железа (в микрограммах на килограмм) и в анализируемой воде вычисляется путем деления на два концентрации железа в пробирке эталонной шкалы, окраска раствора в которой соответствует окраске испытуемой двукратно упаренной пробы воды.
9.6. Допускается определение содержания железа с использованием фотоэлектроколориметрического варианта метода (по соответствующей рекомендации головной ведомственной специализированной организации).
10.1. Некоторые органические вещества-красители меняют свою окраску в определенном диапазоне изменений величины рH. Используемые для определения щелочности растворы индикаторов (метилоранж, смешанный индикатор, фенолфталеин) изменяют свою окраску в диапазонах показаний рН, указанных в табл. 9.
Таблица 9
|
Окраска индикатора при рН |
||||||
|
до 4 |
4-6 |
6-7 |
7-8 |
8,3 |
св. 9,0 |
|
|
Фенолфталеин |
Бесцветная |
Слабо розовая |
Ярко-розовая |
|||
|
Смешанный |
Фиолетовая |
Грязно-серая |
Слабо-зеленая |
Ярко-зеленая |
||
|
Метилоранж |
Розовая |
Оранжевая |
Соломенная |
Желтая |
||
10.2. Универсальная индикаторная бумага, пропитанная раствором различных индикаторов, меняет свою окраску в зависимости от рН, приобретая цвет, указанный в табл. 9.
10.3. В процессе аналитического определения необходимы следующие реактивы:
пакеты универсальной индикаторной бумаги (рН=1¸10);
растворы индикаторов (фенолфталеина, метилоранжа и смешанного), используемые для определения щелочности (см. п. 2 настоящего приложения).
10.4. Для определения значения рН в испытуемую воду опускают универсальную индикаторную бумагу. Ее окраску сравнивают с окраской одного из эталонов, имеющихся в пакете индикаторной бумаги. Правильность показаний индикаторной бумаги можно проверить путем контрольного определения рН с применением растворов индикаторов согласно данным табл. 9.
10.5. Для точного определения рН в лабораториях первой категории (см. табл. 7 настоящих МУ) используется лабораторный рН-метр (например, рН-340, рН-673). Определение производится в соответствии с заводской инструкцией к прибору.
11.1. Обессоленную и обезжелезенную воду лучше всего приготовлять из конденсата пара путем пропускания его через ионитный фильтр смешанного действия. Подобный фильтр можно изготовить из обычной бюретки на 100 мл. Функции дренажной системы фильтра и предвключенного механического фильтра выполняют тампоны гигроскопической ваты.
11.2. Используют катионит типа КУ-2 и анионит типа АВ-17 в соотношении 1:1 (по объему). Первый предварительно регенерируют 5%-ным раствором соляной кислоты, а второй - 2%-ным раствором едкого натра.
Иониты, отмытые конденсатом от избытка кислоты и щелочи, помещают в колбу с конденсатом, перемешивают их и загружают в ионитный фильтр смешанного действия. Отмывка последнего производится конденсатом пара. Оптимальное суммарное количество ионитов - 100 мл. Получение обессоленной воды ведется со скоростью фильтрования (10-20 м/ч).
Допускается использование принципа раздельного Н - ОН-ионирования с пропуском обрабатываемого конденсата последовательно через два фильтра.
12.1. Стандартные и титрованные растворы приготавливаются согласно данным табл. 10. Концентрация титрованных растворов должна точно соответствовать заданной нормальности. Для приготовления титрованных растворов рекомендуется брать навеску или количество исходного вещества, в миллилитрах на 1-2% более, чем по расчету.
Установление титра производят по результатам не менее чем трех параллельных определений, при этом берут среднее арифметическое из сходящихся с точностью до 0,1-0,2% результатов.
12.2. Нормальность определяемого раствора рассчитывают по формуле
![]()
где H1 - нормальность известного раствора;
V1 - количество раствора, нормальность которого известна, мл;
V2 - количество раствора, нормальность которого определяют, мл.
После определения нормальности такой раствор следует разбавить дистиллятом до требуемой концентрации. Количество дистиллята х, добавляемого на каждый литр раствора, рассчитывают по формуле
![]()
Таблица 10
|
Концентрация раствора |
Исходное вещество |
Способ обработки исходного вещества |
Количество исходного вещества |
Способ приготовления титрованного раствора |
Проверка титра раствора |
||
|
Эталонный раствор |
Методика определения титра |
||||||
|
Серная кислота |
0,1 н. |
Фиксанал |
- |
1 ампула |
Перенести содержимое ампулы в мерную литровую колбу и разбавить дистиллятом до метки |
Не проверяется |
|
|
Серная кислота химически чистая, плотность 1,84 |
- |
2,8 мл |
В мерную литровую колбу, заполненную до половины дистиллятом, влить 2,8 мл Н2SO4 и разбавить дистиллятом до метки |
0,1 н. раствор Na2CO3 (фикса-нал) или 0,1 н. раствор Na2HBO3 (фиксанал) |
20 мл 0,1 н. раствора Na2CO3 (или Na2HBO3) разбавить до 100 мл дистиллятом и титровать кислотой в присутствии метилоранжа до оранжевой окраски раствора |
||
|
Соляная кислота |
0,1 н. |
Фиксанал |
- |
1 ампула |
Перенести содержимое ампулы в мерную литровую колбу и разбавить дистиллятом до метки |
Не проверяется |
|
|
Соляная кислота химически чистая, плотность 1.19 |
- |
9,0 мл |
В мерную литровую колбу влить 9 мл НСl и разбавить дистиллятом до метки |
0,1 н. раствор Na2CO3 (фиксанал) или 0,1 н. раствор Na2HBO3 (фиксанал) |
20 мл 0,1 н. раствора Na2CO3 (или Na2HBO3) разбавить до 100 мл дистиллятом и титровать кислотой в присутствии метилоранжа до оранжевой окраски раствора |
||
|
Едкий натр |
0,1 н. |
Фиксанал |
- |
1 ампула |
Перенести содержимое ампулы в мерную литровую колбу и разбавить дистиллятом до метки |
Не проверяется |
|
|
Едкий натр химически чистый |
- |
4,5 г |
Растворить навеску в небольшом количестве дистиллята, раствор перенести в мерную литровую колбу и разбавить дистиллятом до метки |
0,1 н. раствор НСl и H2SO4 |
20 мл 0,1 н. раствора NaOH, разбавленного дистиллятом до 100 мл, титровать с метилоранжем или со смешанным индикатором 0,1 н. раствором НСl или H2SO4 до изменения окраски |
||
|
Трилон Б |
0,05 н. |
Фиксанал 0,1 н. |
- |
1 ампула |
Разбавить 0,1 н. раствор дистиллятом в два раза |
Не проверяется |
|
|
Трилон Б |
- |
10 г |
Растворить навеску в стакане емкостью 500-800 мл в дистилляте, отфильтровать, раствор перенести в мерную литровую колбу и разбавить дистиллятом до метки |
0,1 н. раствор MgSО4 (фиксанал) или 0,1 н. раствор ZnSО4 (фиксанал) разбавить дистиллятом в 2 раза (0,05 н. раствор) |
- |
||
|
Навеску 6,1625 г MgSО4×7H2O (или 7,189 ZnSО4)растворить в мерной литровой колбе дистиллятом и довести до метки (0,05 н. раствор) |
20 мл 0,05 н. раствора MgSО4 или ZnSО4 разбавить до 100 мл дистиллятом, добавить 5 мл аммиачного буферного раствора и 7 капель индикатора хрома темно-синего и титровать трилоном Б до перехода окраски в синюю |
||||||
|
Серебро азотнокислое |
0,0282 н. |
Серебро азотнокислое химически чистое |
- |
4,8 г |
Растворить навеску в небольшом количестве дистиллята, раствор перенести в мерную литровую колбу и разбавить дистиллятом до метки |
NaCl химически чистый, высушенный при температуре 120-150°С. Навеску 1,6486 г растворить в мерной литровой колбе дистиллятом и довести до метки (0,0282 н. раствор); приготовленный раствор содержит в 1 мл 1 мг Сl- |
10 мл 0,0282 н. раствора NaCl довести дистиллятом до 100 мл, титровать в присутствии пяти капель К2СгО4 раствором AgNO3 до установления устойчивого бурого оттенка |
|
Индиго-кармин кислый |
Титр по кислороду 0,02 мг/мл; кислотность 0,1-0,2 н. |
Индиго-кармин |
Измельчить в ступке |
0,5 г |
Нагреть навеску на водяной бане в фарфоровой чашке с 4 мл концентрированной H2SО4 до полного растворения, осторожно разбавить дистиллятом до 1 л, выдержать пять-шесть дней, отфильтровать |
- |
- |
|
Установить титр по кислороду |
0,1 н. раствор КМnO4 (фиксанал) разбавить в 10 раз (0,01 н. раствор КМnO4) |
К 20 мл кислого раствора индиго-кармина прибавить 50 мл дистиллята, 10 мл H2SO4 (1-3) и титровать 0,01 н. раствором КМnO4 до желтого цвета.
|
|||||
|
|
|
|
|
|
|
|
Титр раствора определяется по формуле
где V-объем 0,01 н. раствора, израсходованного на титрование, мл; 0,08 - титр 0,01 н. раствора КМnO4 по кислороду, мг/мл |
|
|
|
|
|
|
Для получения раствора с титром 0,02 мг/мл основной раствор разбавляют дистиллятом в соотношении
где W - объем кислого индигокармина, мл |
|
|
|
|
|
|
|
|
Определить кислотность раствора |
0,1 н. раствор NaOH |
К 10 мл кислого раствора индигокармина (с титром 0,02 мг/мл O2) прибавить 50 мл дистиллята и титровать 0,1 н. раствором NaOH с индикатором фенолфталеином; кислотность индигокармина определяется по формуле
где V - объем 0,1 н. раствора NaOH, израсходованного на титрование, мл |
|
Индигокармин аммиачный |
Щелочность 0,2 н. |
Кислый раствор индиго-кармина |
- |
- |
Приготовить 5 н. раствор NН3, разбавив 37,5 мл 25%-ного раствора NН3 до 100 мл дистиллятом. Разбавить кислый раствор индигокармина 5 н. раствором NН3 до объема
где W - объем кислого раствора индиго-кармина, мл; Н - кислотность кислого раствора индигокармина, выраженная через его нормальность; 0,2 - заданная нормальность аммиачного раствора по NН3 |
0,1 н. НСl или H2SO4 |
Для проверки щелочности индигокарминового раствора к 5 мл аммиачного раствора нндигокармина прибавить 50 мл дистиллята, две капли смешанного индикатора и титровать 0,1 н. раствором НСl или H2SO4 до перехода синей окраски в фиолетовую |
|
Стандартный раствор, содержащий ион железа |
100 мг/кг FeS3+ |
Железоаммонийные квасцы H4Fe(SO4)2´12Н2О химически чистые |
Сушка в эксикаторе при нормальной температуре |
0,8634 г |
Растворить навеску в мерной литровой колбе дистиллятом с добавлением 20 мл концентрированной H2SO4, довести объем раствора до метки |
|
|
|
10 мг/кг Fe3+ |
- |
- |
- |
Стандартный раствор, содержащий 100 мг/кг Fe3+, разбавить в 10 раз |
- |
- |
|
|
Щавелевая кислота |
0,1 н. |
Фиксанал |
- |
1 ампула |
Перенести содержимое одной ампулы в мерную литровую колбу и разбавить дистиллятом до отметки |
Не проверяется |
|
|
0,01 н. |
0,1 н. раствор Н2С2О4 |
- |
- |
Разбавить 0,1 н. раствор Н2С2О4в 10 раз |
Не проверяется |
||
|
Перманганат калия |
0,1 н. |
Фиксанал |
- |
1 ампула |
Перенести содержимое 1 ампулы в мерную литровую колбу и разбавить дистиллятом до метки |
Не проверяется |
|
|
0,01 н. |
0,1 н. раствор КМnO4 |
- |
- |
Разбавить 0,1 н. раствор КМnO4 в 10 раз |
0,01 н. раствор Н2С2О4 (из фиксанала) |
10 мл 0,01 н. раствора Н2С2О4 добавляется в колбу после определения окисляемости и титруется 0,01 н. раствором КМnO4 |
|
|
Стандартный раствор фосфатов |
100 мг/кг PO43- |
Однозамещенный КН2РO4 химически чистый |
Сушка в эксикаторе над серной кислотой 24 ч. |
0,1433 г |
Растворить навеску в мерной литровой колбе и разбавить дистиллятом до метки |
- |
- |
|
Стандартный раствор хлористого аммония |
100 мг/кг NН3 |
NH4Cl химически чистый |
Сушка при температуре 110°С 1-2 ч |
0,3147. г |
Растворить навеску в Н-катионированной воде в мерной литровой колбе до 1 л |
- |
- |
|
10 мг/кг |
- |
- |
- |
100 мг/кг стандартного раствора NН3 разбавить в 10 раз |
- |
- |
|
ИНФОРМАЦИОННЫЕ ДАННЫЕ
1. УТВЕРЖДЕН Министерством тяжелого машиностроения СССР
2. ИСПОЛНИТЕЛИ
И. А. Кокошкин, канд. техн. наук (руководитель темы); В. Ю. Петров, канд. техн. наук; А. В. Цветков; Д. А. Тихомирова; Г. П. Сутоцкий, канд. техн. наук (консультант)
3. ВЗАМЕН ОСТ 108.034.02-79, ОСТ 108.034.03-81
4. ССЫЛОЧНЫЕ НОРМАТИВНО-ТЕХНИЧЕСКИЕ ДОКУМЕНТЫ
|
Обозначение НТД, на который дана ссылка |
Номер пункта, подпункта, перечисления, приложения |
|
ГОСТ 16860-88 |
|
|
ГОСТ 19491-74 |
|
|
ГОСТ 26969-86 |
|
|
ОСТ 108.030.04-80 |
|
|
ОСТ 108.838.10-80 |
|
|
РТМ 108.030.08-81 |
|
|
РТМ 108.030.11-81 |
|
|
ТУ 531.408.72 |
СОДЕРЖАНИЕ