
ГОСУДАРСТВЕННЫЙ СТАНДАРТ СОЮЗА ССР
КИСЛОРОД ГАЗООБРАЗНЫЙ
ТЕХНИЧЕСКИЙ И МЕДИЦИНСКИЙ
ТЕХНИЧЕСКИЕ УСЛОВИЯ
ГОСТ 5583-78
(ИСО 2046-73)
ГОСУДАРСТВЕННЫЙ СТАНДАРТ СОЮЗА ССР
|
КИСЛОРОД ГАЗООБРАЗНЫЙ
ТЕХНИЧЕСКИЙ Технические условия Technical and medical oxygen gas. |
ГОСТ (ИСО 2046-73) |
Дата введения 01.01.80
Настоящий стандарт распространяется на технический и медицинский газообразный кислород, получаемый из атмосферного воздуха способом низкотемпературной ректификации, а также на технический газообразный кислород, получаемый электролизом воды.
Технический газообразный кислород применяют для газопламенной обработки металлов и других технических целей. Медицинский газообразный кислород применяют для дыхания и лечебных целей.
Формула О2.
Молекулярная масса (по международным атомным массам 1985 г.) - 31,9988.
Массовая концентрация механических примесей в медицинском кислороде, предназначенном для авиации, - не более 0,001 г/м3 с размером частиц не более 0,1 мм при 15 °С и 101, 3 кПа (760 мм рт. ст.).
Обязательные требования к медицинскому газообразному кислороду, направленные на обеспечение его безопасности для жизни и здоровья населения, изложены в табл. 1, пп. 1, 2, 4-7, 9 для медицинского кислорода и в примечании 2.
(Измененная редакция, Изм. № 3, 4).
1.1. Газообразный технический и медицинский кислород должен быть изготовлен в соответствии с требованиями настоящего стандарта по технологическим регламентам, утвержденным в установленном порядке.
1.2. Запрещается применять для дыхания и лечебных целей кислород, получаемый электролизом воды, а также кислород, получаемый способом низкотемпературной ректификации с последующим сжатием в компрессорах с поршневым уплотнением, изготовленным из фторопласта или других материалов, не проверенных медицинским надзором.
1.3. По физико-химическим показателям газообразный технический и медицинский кислород должен соответствовать нормам, указанным в табл. 1.
Таблица 1
|
Норма для марок |
|||
|
Технический кислород |
Медицинский кислород |
||
|
Первый сорт |
Второй сорт |
||
|
1. Объемная доля кислорода, %, не менее |
99,7 |
99,5 |
99,5 |
|
2. Объемная доля водяных паров, %, не более |
0,007 |
0,009 |
0,009 |
|
3. Объемная доля водорода, %, не более |
0,3 |
0,5 |
- |
|
4. Объемная доля двуокиси углерода, %, не более |
Не нормируется |
0,01 |
|
|
5. Содержание окиси углерода |
То же |
Должен выдерживать испытание по п. 3.6 |
|
|
6. Содержание газообразных кислот и оснований |
» |
Должен выдерживать испытание по п. 3.7 |
|
|
7. Содержание озона и других газов-окислителей |
» |
Должен выдерживать испытание по п. 3.8 |
|
|
8. Содержание щелочи |
Должен выдерживать испытание по п. 3.9 |
- |
|
|
9. Запах |
Не нормируется |
Отсутствие |
|
Примечания:
1. По согласованию с потребителем допускается в медицинском кислороде объемная доля кислорода не менее 99,2 %.
2. Медицинский кислород, предназначенный для авиации, должен выпускаться с объемной долей водяных паров не более 0,0007 %.
3. Показатели, указанные в подпунктах 3 и 8, нормируются только для кислорода, получаемого электролизом воды.
4. В техническом кислороде 2-го сорта, вырабатываемом на установках высокого, среднего и двух давлений, оснащенных щелочными декарбонизаторами для очистки воздуха от двуокиси углерода, а также на установках типа СКДС-70М допускается объемная доля кислорода не менее 99,2 %.
(Измененная редакция, Изм. № 1, 3, 4).
1.4. Коды ОКП газообразного технического и медицинского кислорода приведены в табл. 1а.
Таблица 1а*
|
Код ОКП |
|
|
Кислород газообразный технический компримированный |
21 1411 0100 |
|
первый сорт |
21 1411 0130 |
|
второй сорт |
21 1411 0140 |
|
Кислород газообразный технический компримированный с объемной долей кислорода не менее 99,2 % |
21 1411 0150 |
|
Кислород газообразный технический несжатый |
21 1411 2100 |
|
первый сорт |
21 1411 2130 |
|
второй сорт |
21 1411 2140 |
|
Кислород газообразный технический, получаемый из привозного жидкого кислорода |
21 1411 1600 |
|
первый сорт |
21 1411 1630 |
|
второй сорт |
21 1411 1640 |
|
Кислород газообразный медицинский |
|
|
с объемной долей кислорода не менее 99,5 % |
21 1411 0200 |
|
с объемной долей кислорода не менее 99,2 % |
21 1411 1700 |
|
Кислород газообразный медицинский, предназначенный для авиации |
21 1411 2300 |
* Табл. 2, 3. (Исключены, Изм, № 4).
(Измененная редакция, Изм. № 3, 4).
2.1. Газообразный технический и медицинский кислород принимают партиями. Партией считают любое количество однородного по своим показателям качества продукта, оформленного одним документом о качестве, но не более сменной выработки; при транспортировании кислорода в автореципиентах или газификационных установках за партию принимают каждый автореципиент или газификационную установку, по трубопроводу - любое количество кислорода, направленное потребителю за 8 ч.
Каждая партия газообразного технического и медицинского кислорода, а также каждый баллон или моноблок-контейнер медицинского кислорода должны сопровождаться документом о качестве, содержащим следующие данные:
- наименование предприятия и его товарный знак;
- наименование и сорт продукта;
- номер партии технического или медицинского кислорода и номер баллона медицинского кислорода;
- дату изготовления;
- объем газообразного кислорода, м3 (вычисленный в соответствии с приложением 2);
- результаты проведенных анализов или подтверждение о соответствии продукта требованиям настоящего стандарта;
- обозначение настоящего стандарта.
Для медицинского кислорода указывается номер регистрационного удостоверения (Р.70/626/43) согласно Государственному реестру лекарственных средств.
(Измененная редакция, Изм. № 1, 3, 4).
2.2. Для проверки изготовителем качества газообразного кислорода, транспортируемого в баллонах, отбирают методом систематической выборки 2 % баллонов - от партии до 200 баллонов и пять баллонов - от партии более 200 баллонов.
Пробу газообразного кислорода, получаемого газификацией у потребителя жидкого кислорода, отбирают из вентиля для отбора пробы газификационной автомобильной установки.
(Измененная редакция, Изм. № 2).
2.3. Для проверки потребителем качества газообразного кислорода отбирают 2 % баллонов от партии, но не менее двух баллонов при партии менее 100 баллонов.
2.4. Для проверки качества газообразного кислорода, транспортируемого в автореципиентах, пробу отбирают от каждого автореципиента.
2.5. Для проверки качества газообразного кислорода, транспортируемого по трубопроводу, пробу отбирают не менее одного раза за 24 ч.
2.6. При получении неудовлетворительных результатов анализа хотя бы по одному из показателей проводят по нему повторный анализ на удвоенной выборке; при транспортировании по трубопроводу количество проб для анализа увеличивается в 2 раза. Результаты повторного анализа распространяются на всю партию.
(Измененная редакция, Изм. № 4).
3.1. Отбор проб
3.1.1. Пробу кислорода из баллона или автореципиента отбирают при давлении (14,7 ± 0,5) или (19,6 ± 1,0) МПа [(150 ± 5) или (200 ± 10) кгс/см2] в прибор для анализа с помощью редуктора или вентиля тонкой регулировки и соединительной трубки от точки отбора пробы до прибора. Соединительную трубку продувают не менее чем десятикратным объемом анализируемого газа.
(Измененная редакция, Изм. № 3).
3.1.3. При определении концентрации водяных паров должна использоваться соединительная трубка из коррозионно-стойкой стали внутренним диаметром не более 4 мм, предварительно высушенная или отожженная.
3.2. Определение объемной доли кислорода
3.2.1. Аппаратура, реактивы и материалы
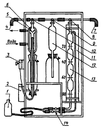
Измерительный аппарат для анализа кислорода АК-М1 (черт. 1) или газоанализатор типов ПАК и А.
Весы лабораторные общего назначения 4-го класса точности с наибольшим пределом взвешивания 2 кг.
Секундомер механический.
Аммоний хлористый по ГОСТ 3773.
Аммиак водный по ГОСТ 3760, раствор с массовой долей 18 %.
Аммиачный раствор хлористого аммония; готовят следующим образом: 750 г хлористого аммония растворяют в 1 дм3 воды и добавляют 1 дм3 раствора аммиака.
Вода дистиллированная по ГОСТ 6709.
Проволока медная круглая электротехническая диаметром 0,8-1,0 мм в виде спиралей длиной около 10 мм, диаметром витка около 5 мм.
Смазка для кранов.
(Измененная редакция, Изм. № 1, 3).
3.2.2. Подготовка к анализу
Для подготовки прибора (см. черт. 1) к проведению анализа необходимо цилиндрическую часть пипетки заполнить медными спиралями и закрыть пробкой. После этого заливают в пипетку и уравнительную склянку аммиачный раствор хлористого аммония.
Кран бюретки смазывают и соединяют отдельные части прибора резиновыми трубками. Затем проверяют прибор на герметичность по постоянству уровня жидкости в бюретке при закрытом кране и нижнем положении уравнительной склянки.
Перед проведением анализа заполняют аммиачным раствором цилиндрическую часть пипетки с капиллярной трубкой, капиллярную трубку 5, бюретку, проходы и капиллярные отростки крана.
Жидкость в пипетке и бюретке прибора перемещается подъемом или опусканием уравнительной склянки с аммиачным раствором. При этом поворотом крана соединяют внутренний объем бюретки с поглотительной пипеткой или атмосферой.
(Измененная редакция, Изм. № 1).
Отбирают в бюретку прибора через отросток 3 крана пробу кислорода, несколько превышающую 100 см3.
Для приведения объема газа в бюретке к атмосферному давлению устанавливают уровень аммиачного раствора хлористого аммония в уравнительной склянке против нулевого деления бюретки. Пережимают резиновую трубку 10 и быстрым поворотом крана выпускают из бюретки избыток газа в атмосферу. Затем поворотом крана соединяют бюретку с пипеткой и, поднимая уравнительную склянку, вытесняют весь кислород из бюретки в цилиндрическую часть пипетки. После заполнения раствором капиллярной трубки пипетки кран закрывают.
Для лучшего поглощения кислорода прибор осторожно встряхивают. Через 2-3 мин поглощение кислорода обычно заканчивается. Поворотом крана соединяют бюретку с пипеткой и, медленно опуская уравнительную склянку, переводят в бюретку непоглощенный остаток пробы. Как только аммиачный раствор начинает поступать в бюретку, кран закрывают. Газ в бюретке приводят к атмосферному давлению, устанавливая на одной высоте уровни жидкости в бюретке и уравнительной склянке. Объем остаточных газов в бюретке измеряют через 1-2 мин, выжидая, пока жидкость стечет со стенок бюретки.
Деление, соответствующее уровню жидкости в бюретке, показывает объемную долю кислорода (X) в процентах в анализируемом кислороде.
Поглощение кислорода повторяют. Анализ заканчивают, если после повторного поглощения измерение объема остаточных газов не превышает 0,05 см3.
Аммиачный раствор в пипетке прибора заменяют после проведения 20-30 анализов.
За результат анализа принимают среднее арифметическое результатов двух параллельных определений, абсолютное расхождение между которыми не превышает допускаемое расхождение, равное 0,05 %.
Измерительный аппарат для анализа кислорода АК-М1
1 - бюретка; 2 - двухходовой кран; 3,4 - отростки крана; 5,6 - капиллярные стеклянные трубки; 7 - поглотительная пипетка с капиллярной трубкой; 8 - штатив; 9 - уравнительная склянка; 10, 11 - резиновые трубки
Черт. 1
Допускаемая абсолютная суммарная погрешность результата анализа ± 0,05 % при доверительной вероятности Р = 0,95.
При наполнении баллонов или автореципиентов, а также при поставке кислорода по трубопроводу объемную долю кислорода допускается определять промышленными автоматическими газоанализаторами непрерывного действия по ГОСТ 13320 с погрешностью не более 0,1 %, например типа МН 5130М со шкалой 98-100 %, установленными на трубопроводе подачи кислорода к наполнительному коллектору.
При разногласиях в оценке объемной доли кислорода анализ проводят измерительным аппаратом типа АК-М1.
(Измененная редакция, Изм. № 1, 3, 4).
3.3. Определение объемной доли водяных паров
3.3.1 Аппаратура
Влагомеры газов кулонометрические, рассчитанные на измерение микроконцентраций водяных паров, с относительной погрешностью измерения не выше 10 % в области измерений от 0 до 20 млн-1 (ррт) и не выше 5 % при более высоких концентрациях.
3.3.2 Проведение анализа
Кулонометрический метод основан на непрерывном количественном извлечении водяных паров из испытуемого газа гигроскопичным веществом и одновременном электростатическом разложении извлекаемой воды на водород и кислород, при этом ток электролиза является мерой концентрации водяных паров.
Прибор соединяют с местом отбора пробы трубкой из нержавеющей стали. Расход газа устанавливают (50 ± 1) см3/мин. Переключатель диапазонов измерения устанавливают так, чтобы показания прибора были в пределах второй трети измерительной шкалы, градуированной в миллионных долях (ррт). Ток электролиза измеряют микроамперметром.
Температура баллона с анализируемым газом должна быть не ниже 15 °С. Анализ проводят по инструкции, прилагаемой к прибору.
3.3.3. Обработка результатов
Объемную долю водяных паров (Х1) в млн-1 определяют в соответствии с установившимися показаниями прибора.
Допускается определять объемную долю водяных паров конденсационным методом, приведенным в приложении 3.
При разногласиях в оценке объемной доли водяных паров анализ проводят кулонометрическим методом.
(Измененная редакция, Изм. № 4).
3.4. Определение объемной доли водорода в кислороде, получаемом электролизом воды
3.4.1. Аппаратура, реактивы и материалы
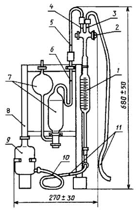
Газоанализатор лабораторный со сжигательной пипеткой (черт. 2).
Лабораторный газоанализатор со сжигательной пипеткой для определения объемной доли водорода
1 - уравнительная склянка; 2 - трансформатор на 60 Вт (первичная обмотка на 220 В, вторичная на 2-3 В); 3 - реостат на 3-5 Ом, 5-6 А; 4, 7 - резиновые трубки; 5 - спираль из платиновой проволоки диаметром 0,3 мм, длиной 60 мм; 6 - сжигательная пипетка с водяным охлаждением; 8, 9, 10 - краны распределительной гребенки; 11 - водяная рубашка; 12 - поглотительный сосуд; 13 - измерительная бюретка; 14 - переходник
Черт. 2
Весы лабораторные общего назначения 4-го класса точности с наибольшим пределом взвешивания 2 кг.
Аммоний хлористый по ГОСТ 3773.
Аммиак водный по ГОСТ 3760, раствор с массовой долей 18 %.
Вода дистиллированная по ГОСТ 6709.
Метиловый оранжевый (пара-диметиламиноазобензолсульфокислый натрий), индикатор, раствор с массовой долей 0,1 %.
Кислота соляная по ГОСТ 3118, раствор с массовой долей 10 %.
Аммиачный раствор хлористого аммония; готовят следующим образом: 750 г хлористого аммония растворяют в 1 дм3 воды и добавляют 1 дм3 раствора аммиака.
Проволока медная круглая электротехническая диаметром 0,8-1,0 мм в виде спиралей длиной около 10 мм, диаметром витка около 5 мм.
Смазка для кранов.
(Измененная редакция, Изм. № 1, 3, 4).
3.4.2. Подготовка к анализу
Для подготовки прибора заполняют спиралями из медной проволоки верхнюю часть поглотительного сосуда и вставляют ее через пробку в нижнюю склянку сосуда, заполненную аммиачным раствором хлористого аммония. В уравнительную склянку и в нижний сосуд сжигательной пипетки заливают раствор соляной кислоты, подкрашенный несколькими каплями раствора метилового оранжевого.
Перед проведением анализа необходимо с помощью уравнительной склянки поднять уровни растворов в измерительной бюретке, поглотительном сосуде и сжигательной пипетке до кранов. После этого краны устанавливают так, чтобы образовался сквозной проход для газа. Затем присоединяют трубку 7 к точке отбора пробы и продувают им распределительную гребенку и краны. Закончив продувку, поворачивают кран 10 в такое положение, чтобы гребенка прибора не была соединена с атмосферой.
3.4.3. Проведение анализа
Отбирают в бюретку прибора через кран 8 пробу, несколько превышающую 100 см3. Приводят давление газа в бюретке к атмосферному, удаляя избыток кислорода через кран 10 и резиновую трубку 4, погруженную в сосуд с водой на глубину 15-20 мм. Затем кранами 8 и 9 соединяют бюретку с поглотительным сосудом и переводят в него кислород.
Поглощают около половины объема кислорода; остаток газа возвращают в бюретку и измеряют его объем. Затем, повернув краны 8 и 9, вводят газ из бюретки в сжигательную пипетку так, чтобы уровень запорной жидкости опустился на 10-12 мм ниже платиновой спирали. Включают трансформатор и регулируют реостатом ток накала платиновой спирали, доводя накал нити до слабого красного каления. По мере сжигания водорода анализируемый кислород по частям переводят из бюретки в сжигательную пипетку. По окончании сжигания водорода весь оставшийся кислород возвращают из пипетки в бюретку и измеряют его объем. Повторяют сжигание до постоянного остаточного объема.
Объемную долю водорода (Х2) в процентах вычисляют по формуле
![]()
где V1 - объем пробы, оставшийся после поглощения кислорода, см3;
V2 - объем пробы, оставшийся после сжигания водорода, см3;
V3 - объем пробы кислорода, взятый для анализа, см3;
2/3 - доля водорода в объеме сгоревшей смеси.
За результат анализа принимают среднее арифметическое результатов двух параллельных определений, относительное расхождение между которыми не превышает допускаемое расхождение, равное 10 %.
Допускаемая относительная суммарная погрешность результата анализа ± 25 % при доверительной вероятности Р = 0,95.
Объемную долю водорода допускается определять газоадсорбционным хроматографическим методом, приведенным в приложении 1, а также при наполнении баллонов или автореципиентов и при поставке по трубопроводу автоматическими газоанализаторами непрерывного действия по ГОСТ 13320 с погрешностью измерения не более 0,1 %.
При разногласиях в оценке объемной доли водорода анализ проводят лабораторным газоанализатором со сжигательной пипеткой.
(Измененная редакция, Изм. № 1, 3, 4).
3.5. Определение объемной доли двуокиси углерода
Бюретка 1-2-25-01 по ГОСТ 29251, других типов вместимостью 25 см3.
Пипетка 4-1(2)-1 или 5-1(2)-1 по ГОСТ 29227.
Склянка для промывания газов СН-1 - 100 или СН-2 - 100 по ГОСТ 25336.
Прибор для отбора и хранения проб газа по ГОСТ 18954 вместимостью 3,0 дм3 или склянка с тубусом 4-10 по ГОСТ 25336.
Цилиндр 1-100 по ГОСТ 1770.
Весы лабораторные общего назначения 2-го класса точности с наибольшим пределом взвешивания 200 г.
Секундомер механический.
Бария гидрат окиси по ГОСТ 4107, раствор с массовой долей 5 % (поглотительный); готовят растворением 5 г гидрата окиси бария в 100 см3 воды. Раствор быстро фильтруют через плотный бумажный фильтр и хранят в колбе, закрытой пробкой. В пробку вставлена стеклянная трубка, соединенная с промывной склянкой с раствором гидроокиси натрия или гидроокиси калия.
Вода дистиллированная по ГОСТ 6709, дополнительно очищенная от углекислоты по ГОСТ 4517 следующим образом: воду нагревают и кипятят в течение 30 мин до выделения крупных пузырей. При охлаждении и хранении воду предохраняют от двуокиси углерода, присутствующей в атмосферном воздухе.
Натрия гидроокись по ГОСТ 4328 или калия гидроокись, раствор с массовой долей 20 %.
Натрий двууглекислый по ГОСТ 4201, раствор с массовой долей 0,04 %; готовят растворением 0,04 г двууглекислого натрия в 100 см3 воды.
(Измененная редакция, Изм. № 1, 3, 4).
Анализ проводят в склянке для промывания газов. В склянку вливают поглотительный раствор. Объем кислорода, пропущенный через поглотительный раствор, измеряют с помощью склянки с тубусом или прибора для отбора проб газа, присоединенного к короткой трубке склянки на выходе газа. Перед вливанием поглотительного раствора склянку продувают 1-2 мин анализируемым кислородом, который отбирают из баллона с помощью редуктора через резиновую трубку.
3.5.3. Проведение анализа
В склянку для промывания газов вливают 100 см3 прозрачного раствора гидрата окиси бария. Через раствор пропускают 1000 см3 кислорода в течение 15-20 мин.
Сравнивают в проходящем свете испытуемый и контрольный раствор, приготовленный в отдельной склянке одновременно с проведением анализа и содержащий в 100 см3 раствора гидрата окиси бария 1 см3 раствора двууглекислого натрия, что соответствует объемной доле двуокиси углерода 0,01 %.
Кислород считают соответствующим требованиям настоящего стандарта, если опалесценция поглотительного раствора, образующаяся при пропускании кислорода, не будет интенсивнее опаленсценции контрольного раствора.
3.5.2; 3.5.3. (Измененная редакция, Изм. № 3).
3.6. Определение содержания окиси углерода
Аппаратура - по п. 3.5.1.
Аммиак водный по ГОСТ 3760, раствор с массовой долей 10 %.
Вода дистиллированная по ГОСТ 6709.
Серебро азотнокислое по ГОСТ 1277, аммиачный раствор с массовой долей 5 %; готовят следующим образом: 5 г азотнокислого серебра растворяют в 100 см3 воды. К раствору добавляют по каплям при постоянном помешивании раствор аммиака, пока осадок не будет почти (но не полностью) растворен. Раствор фильтруют и хранят в плотно закрытой склянке из темного стекла в защищенном от света месте.
(Измененная редакция, Изм. № 3).
3.6.2. Подготовка к анализу - по п. 3.5.2.
3.6.3. Проведение анализа
2000 см3 кислорода пропускают в течение 30-35 мин через склянку со 100 см3 слабо нагретого аммиачного раствора азотнокислого серебра.
Кислород считают соответствующим требованиям настоящего стандарта, если раствор остается бесцветным и прозрачным, что свидетельствует об отсутствии окиси углерода в анализируемой пробе.
(Измененная редакция, Изм. № 3).
3.6.4. Содержание окиси углерода допускается определять линейно-колористическим методом.
Анализ проводят с помощью химического газоопределителя типа ГХ-4 (ГХ-4АМ-3) или универсального переносного газоанализатора типа УГ-2 и индикаторной трубки на окись углерода.
Просасывают через индикаторную трубку с помощью газоанализатора ГХ-4 1000 см3 кислорода, с помощью газоанализатора УГ-2-220 см3 кислорода.
Кислород считают соответствующим требованиям настоящего стандарта, если индикаторный порошок не окрашивается. Пороговая чувствительность метода 0,0005 %.
При разногласиях в оценке содержания окиси углерода анализ проводят с применением аммиачного раствора азотнокислого серебра.
(Измененная редакция, Изм. № 1, 3).
3.7. Определение содержания газообразных кислот и оснований
Аппаратура - по п. 3.5.1.
Вода дистиллированная, дополнительно очищенная от углекислоты по п. 3.5.1.
Кислота соляная по ГОСТ 3118, раствор концентрации с (НСl) = 0,01 моль/дм3 (0,01 н.).
Метиловый красный (индикатор), спиртовой раствор с массовой долей 0,2 %; готовят растворением 0,2 г метилового красного в 100 см3 раствора этилового спирта с массовой долей 60 %.
Натрий хлористый по ГОСТ 4233, насыщенный раствор.
Спирт этиловый ректификованный технический по ГОСТ 18300, раствор с массовой долей 60 %.
(Измененная редакция, Изм. № 3).
3.7.2. Подготовка к анализу - по п. 3.5.2.
3.7.3. Проведение анализа
В три пронумерованные склянки для промывания газов наливают по 100 см3 воды и добавляют в каждую из них по 3-4 капли раствора метилового красного. Затем в склянку № 2 с помощью пипетки вводят 0,2 см3, в склянку № 3-0,4 см3 раствора соляной кислоты.
Через раствор в склянке № 2 пропускают 2000 см3 кислорода в течение 30-35 мин. Сравнивают окраску раствора в склянке № 2 с окраской растворов в склянках № 1 и 3.
Кислород считают соответствующим требованиям настоящего стандарта по содержанию газообразных оснований, если окраска раствора в склянке № 2 сохраняет розовый цвет в отличие от раствора в склянке № 1, окрашенного в желтый цвет; и соответствующим по содержанию газообразных кислот, если розовая окраска раствора в склянке № 2 будет слабее, чем в склянке № 3.
Пороговая чувствительность метода 0,001 г/моль газообразных кислоты или основания в 1 м3 кислорода.
(Измененная редакция, Изм. № 1, 3).
3.8. Определение содержания озона и других газов-окислителей
Аппаратура - по п. 3.5.1.
Вода дистиллированная по ГОСТ 6709.
Калий йодистый по ГОСТ 4232.
Крахмал растворимый по ГОСТ 10163.
Смешанный раствор крахмала и йодистого калия; готовят следующим образом: 0,5 г йодистого калия растворяют при нагревании в 95 см3 воды; 0,5 г крахмала размешивают в 5 см3 холодной воды. Смесь медленно вливают при помешивании в кипящий раствор йодистого калия и кипятят 2-3 мин.
Кислота уксусная по ГОСТ 61.
3.8.2. Подготовка к анализу - по п. 3.5.2.
3.8.3. Проведение анализа
2000 см3 кислорода пропускают в течение 30-35 мин через склянку для промывания газов, в которую налито 100 см3 свежеприготовленного смешанного раствора крахмала и йодистого калия и прибавлена одна капля уксусной кислоты.
Кислород считают соответствующим требованиям настоящего стандарта, если раствор остается бесцветным, что свидетельствует об отсутствии озона и других газов-окислителей в анализируемой пробе.
3.9. Определение содержания щелочи в кислороде, получаемом электролизом воды
Бумага фильтровальная лабораторная по ГОСТ 12026.
Фенолфталеин (индикатор), спиртовой раствор с массовой долей 1 %.
Вода дистиллированная по ГОСТ 6709.
Секундомер механический.
(Измененная редакция, Изм. № 3).
3.9.2. Проведение анализа
Кислород пропускают со скоростью 100-200 см3/мин в течение 8-10 мин через стеклянную трубку длиной 10-11 см, диаметром 1,6 см. Узкий конец трубки длиной 2-3 см, диаметром 0,5-0,6 см соединяют с реометром резиновой трубкой. Другой конец трубки закрывают резиновой пробкой, в которую вставлена стеклянная трубочка (вход газа). В трубку помещают кусок фильтровальной бумаги размером 6 ´ 7 см с продольными складками шириной примерно 0,5 см, предварительно смоченный раствором фенолфталеина, разбавленного водой 1 : 10.
Кислород считают соответствующим требованиям настоящего стандарта, если не произойдет окрашивания фильтровальной бумаги в розовый или красный цвет.
3.10. Определение запаха
3.10.1. Запах определяют органолептически. Продукт считают соответствующим требованиям настоящего стандарта, если выпускаемый через слегка открытый вентиль кислород не обладает запахом.
Технический и медицинский газообразный кислород относится к классу 2, подклассу 2.1, классификационный шифр - 2121, номера чертежей знака опасности - 2 и 5 в соответствии с ГОСТ 19433, серийный номер ООН - 1072.
Номинальное давление кислорода при 20 °С при наполнении, хранении и транспортировании баллонов и автореципиентов должно составлять (14,7 ± 0,5) МПа [(150 ± 5) кгс/см2] или (19,6 ± 1,0) МПа [(200 ± 10) кгс/см2].
Технический и медицинский кислород транспортируют также автомобильными газификационными установками, осуществляющими газификацию жидкого кислорода непосредственно у потребителя.
Технический кислород транспортируют и по трубопроводу. Давление кислорода, транспортируемого по трубопроводу, должно быть согласовано между изготовителем и потребителем.
(Измененная редакция, Изм. № 3, 4).
4.2. Перед наполнением баллонов или автореципиентов медицинским кислородом необходимо сбросить в атмосферу остаточное давление газа и промыть баллоны однократным наполнением медицинским кислородом до давления не ниже 0,98 МПа (10 кгс/см2) с последующим сбросом газа в атмосферу.
4.3. Возвратные баллоны и автореципиенты должны иметь остаточное давление кислорода не ниже 0,05 МПа (0,5 кгс/см2).
4.2, 4.3. (Измененная редакция, Изм. № 3).
5.1. Изготовитель гарантирует соответствие качества газообразного кислорода требованиям настоящего стандарта при соблюдении условий транспортирования и хранения.
(Измененная редакция, Изм. № 3).
5.2. Гарантийный срок хранения - 18 месяцев со дня изготовления продукта.
(Измененная редакция, Изм. № 1).
6.1. Кислород не токсичен, не горюч и не взрывоопасен, однако, являясь сильным окислителем, резко увеличивает способность других материалов к горению. Поэтому для работы в контакте с кислородом могут использоваться только разрешенные для этого материалы.
6.2. Накопление кислорода в воздухе помещений создает опасность возникновения пожаров. Объемная доля кислорода в рабочих помещениях не должна превышать 23 %. В помещениях, где возможно увеличение объемной доли кислорода, должно быть ограничено пребывание людей и не должны находиться легковоспламеняющиеся материалы. Эти помещения должны быть оборудованы средствами контроля воздушной среды и вытяжной вентиляцией для проветривания.
6.3. Перед проведением ремонтных работ или освидетельствованием трубопроводов, баллонов, стационарных и передвижных реципиентов или другого оборудования, используемого для хранения и транспортирования газообразного кислорода, необходимо продуть все внутренние объемы воздухом. Разрешается начинать работы только после снижения объемной доли кислорода во внутренних объемах оборудования до 23 %.
6.4. После пребывания в среде, обогащенной кислородом, не разрешается курить, использовать открытый огонь и приближаться к огню. Одежда должна быть проветрена в течение 30 мин.
6.5. Баллоны, автореципиенты и трубопроводы, предназначенные для транспортирования технического и медицинского кислорода, запрещается использовать для хранения и транспортирования других газов, а также запрещается производить какие-либо операции, которые могут загрязнить их внутреннюю поверхность и ухудшить физико-химические показатели продукции.
6.6. При погрузке, разгрузке, транспортировании и хранении баллонов должны применяться меры, предотвращающие падение, удары друг о друга, повреждение и загрязнение баллонов маслом. Баллоны должны быть предохранены от атмосферных осадков и нагревания солнечными лучами и другими источниками тепла.
6.7. При загорании железнодорожного вагона с баллонами кислорода необходимо отцепить вагон и откатить его в безопасное место. Одновременно следует применять меры к предупреждению нагревания баллонов путем их усиленного охлаждения водой и к тушению пожара.
Обязательное
1. Аппаратура, материалы и реактивы
Хроматограф с детектором по теплопроводности с порогом чувствительности по пропану при газе-носителе гелии не выше 2 10-5 мг/см3 и газохроматографической колонкой длиной 4,0-5,0 м, наполненной цеолитом синтетическим.
Цеолит синтетический СаА или NaX, фракция с частицами размером 0,25-0,50 мм.
Азот газообразный технический по ГОСТ 9293, первого сорта или аргон газообразный по ГОСТ 10157, высшего сорта.
Смесь градуировочная - смесь поверочная водорода с азотом с объемной долей водорода 0,50 % - ГСО 3909-87 или с объемной долей водорода 0,60 % - ГСО 3910-87 по Госреестру.
(Измененная редакция, Изм. № 1, 3).
2. Подготовка к анализу
2.1. Подготовка газохроматографической колонки.
Цеолит синтетический измельчают, отсеивают фракцию с размером частиц 0,25-0,50 мм, прокаливают ее в муфельной печи при 280 °С в течение 6 ч в токе сухого инертного газа и быстро загружают в колонку.
2.2. Объемную долю водорода определяют методом абсолютной градуировки, используя для этого градуировочную смесь, которую вводят в хроматограф с помощью дозатора. Градуировочный коэффициент (К) в см3/мм вычисляют по формуле
![]()
где Ссг - объемная доля водорода в градуировочной смеси, %;
Dcг - доза градуировочной смеси, см3;
hсг - высота пика водорода на хроматограмме градуировочной смеси, мм;
Мсг - чувствительность регистратора при записи пика водорода на хроматограмме градуировочной смеси.
Условия градуировки. Температура газохроматографической колонки комнатная, расход газа-носителя азота или аргона 30 или 70 см3/мин соответственно, доза градуировочной смеси 10 см3.
Ток питания детектора и чувствительность регистратора устанавливают опытным путем в зависимости от состава градуировочной смеси и типа хроматографа.
Градуировочный коэффициент вычисляют по среднему значению высоты пика, рассчитанному не менее чем из трех параллельных определений. Градуировочную характеристику хроматографа проверяют один раз в месяц, используя газовую смесь с установленной объемной долей водорода в азоте 0,5-0,7 %.
(Измененная редакция, Изм. № 1, 3).
3. Проведение анализа
Пробу кислорода, равную 10 см3, вводят в хроматограф с помощью дозатора. Температура газохроматографической колонки комнатная, расход газа-носителя и ток питания детектора должны быть идентичны принятым при градуировке прибора. Диапазон шкалы регистратора выбирают таким, чтобы пик водорода был максимальным в пределах диаграммной ленты регистратора.
4. Обработка результатов
Объемную долю водорода (X) в процентах вычисляют по формуле
![]()
где h - высота пика водорода на хроматограмме кислорода, мм;
М - чувствительность регистратора при записи пика водорода на хроматограмме кислорода;
D - доза кислорода, см3.
За результат анализа принимают среднее арифметическое результатов двух параллельных определений, относительное расхождение между которыми не превышает допускаемое расхождение, равное 15 %.
Допускаемая относительная суммарная погрешность результата анализа ± 25 % при доверительной вероятности Р = 0,95.
(Измененная редакция, Изм. № 1, 4).
Справочное
1. Объем газообразного кислорода в баллоне (V) в кубических метрах при нормальных условиях вычисляют по формуле
V = K1·Vб,
где Vб - вместимость баллона, дм3. В расчетах принимают среднюю статистическую величину вместимости баллонов не менее чем из 100 шт.;
K1 - коэффициент для определения объема кислорода в баллоне при нормальных условиях, вычисляемый по формуле
,
где Р - давление газа в баллоне, измеренное манометром, кгс/см2;
0,968 - коэффициент для пересчета технических атмосфер (кгс/см2) в физические;
t - температура газа в баллоне, °С;
Z - коэффициент сжигаемости кислорода при температуре t.
Значения коэффициента К1 приведены в таблице 4.
Таблица 4
|
Значение коэффициента Ki при избыточном давлении, МПа (кгс/см2) |
|||||||||||||||
|
13,7 (140) |
14,2 (145) |
14,7 (150) |
15,2 (155) |
15,7 (160) |
16,2 (165) |
16,7 (170) |
17,2 (175) |
17,7 (180) |
18,1 (185) |
18,6 (190) |
19,1 (195) |
19,6 (200) |
20,1 (205) |
20,6 (210) |
|
|
-50 |
0,232 |
0,242 |
0,251 |
0,260 |
0,269 |
0,278 |
0,286 |
0,296 |
0,303 |
0,311 |
0,319 |
0,327 |
0,335 |
0,342 |
0,349 |
|
-40 |
0,212 |
0,221 |
0,229 |
0,236 |
0,245 |
0,253 |
0,260 |
0,269 |
0,275 |
0,284 |
0,290 |
0,298 |
0,305 |
0,312 |
0,319 |
|
-35 |
0,203 |
0,211 |
0,219 |
0,226 |
0,234 |
0,242 |
0,249 |
0,257 |
0,264 |
0,272 |
0,278 |
0,286 |
0,293 |
0,299 |
0,306 |
|
-30 |
0,195 |
0,202 |
0,211 |
0,217 |
0,225 |
0,232 |
0,239 |
0,248 |
0,253 |
0,261 |
0,267 |
0,274 |
0,281 |
0,288 |
0,294 |
|
-25 |
0,188 |
0,195 |
0,202 |
0,209 |
0,217 |
0,223 |
0,230 |
0,238 |
0,243 |
0,251 |
0,257 |
0,264 |
0,270 |
0,277 |
0,283 |
|
-20 |
0,182 |
0,188 |
0,195 |
0,202 |
0,209 |
0,215 |
0,222 |
0,229 |
0,235 |
0,242 |
0,248 |
0,255 |
0,261 |
0,267 |
0,273 |
|
-15 |
0,176 |
0,182 |
0,189 |
0,196 |
0,202 |
0,208 |
0,215 |
0,221 |
0,227 |
0,234 |
0,240 |
0,246 |
0,252 |
0,258 |
0,263 |
|
-10 |
0,171 |
0,177 |
0,183 |
0,189 |
0,195 |
0,202 |
0,208 |
0,214 |
0,220 |
0,226 |
0,232 |
0,238 |
0,244 |
0,250 |
0,255 |
|
-5 |
0,165 |
0,172 |
0,178 |
0,184 |
0,190 |
0,195 |
0,202 |
0,207 |
0,213 |
0,219 |
0,225 |
0,231 |
0,236 |
0,242 |
0,247 |
|
0 |
0,161 |
0,167 |
0,172 |
0,179 |
0,184 |
0,190 |
0,196 |
0,201 |
0,207 |
0,213 |
0,219 |
0,224 |
0,229 |
0,235 |
0,240 |
|
+5 |
0,157 |
0,162 |
0,168 |
0,174 |
0,179 |
0,185 |
0,190 |
0,196 |
0,201 |
0,207 |
0,212 |
0,217 |
0,223 |
0,228 |
0,233 |
|
+10 |
0,153 |
0,158 |
0,163 |
0,169 |
0,174 |
0,180 |
0,185 |
0,191 |
0,196 |
0,201 |
0,206 |
0,211 |
0,217 |
0,222 |
0,227 |
|
+15 |
0,149 |
0,154 |
0,159 |
0,165 |
0,170 |
0,175 |
0,180 |
0,186 |
0,191 |
0,196 |
0,201 |
0,206 |
0,211 |
0,216 |
0,221 |
|
+20 |
0,145 |
0,150 |
0,156 |
0,160 |
0,166 |
0,171 |
0,176 |
0,181 |
0,186 |
0,191 |
0,196 |
0,201 |
0,206 |
0,211 |
0,215 |
|
+25 |
0.142 |
0,147 |
0,152 |
0,157 |
0,162 |
0,167 |
0,172 |
0,177 |
0,182 |
0,186 |
0,191 |
0,196 |
0,201 |
0,206 |
0,210 |
|
+30 |
0,139 |
0,143 |
0,148 |
0,153 |
0,158 |
0,163 |
0,168 |
0,173 |
0,177 |
0,182 |
0,187 |
0,192 |
0,196 |
0,201 |
0,206 |
|
+35 |
0,136 |
0,140 |
0,145 |
0,150 |
0,154 |
0,159 |
0,164 |
0,169 |
0,173 |
0,178 |
0,182 |
0,187 |
0,192 |
0,196 |
0,201 |
|
+40 |
0,133 |
0,137 |
0,142 |
0,147 |
0,151 |
0,156 |
0,160 |
0,165 |
0,170 |
0,174 |
0,178 |
0,183 |
0,188 |
0,192 |
0,196 |
|
+50 |
0,127 |
0,132 |
0,136 |
0,141 |
0,145 |
0,149 |
0,154 |
0,158 |
0,163 |
0,167 |
0,171 |
0,175 |
0,180 |
0,184 |
0,188 |
ПРИЛОЖЕНИЕ 2. (Измененная редакция, Изм. № 3).
Рекомендуемое
Объемную долю водяных паров определяют приборами конденсационного типа с пороговой чувствительностью не выше 1,5 млн-1 (ррт).
Относительная погрешность прибора не должна превышать 10 %.
Метод основан на измерении температуры насыщения газа водяными парами при появлении росы на охлажденной зеркальной поверхности.
Анализ проводят по инструкции, приложенной к прибору.
Объемную долю водяных паров в соответствии с найденной температурой насыщения определяют по таблице.
|
Объемная доля водяных паров, млн (ррm) |
Температура насыщения, °С |
Объемная доля водяных паров, млн (ppm) |
Температура насыщения, °С |
|
2,55 |
-70 |
23,4 |
-54 |
|
3,44 |
-68 |
31,1 |
-52 |
|
4,60 |
-66 |
39,4 |
-50 |
|
6,10 |
-64 |
49,7 |
-48 |
|
8,07 |
-62 |
63,2 |
-46 |
|
10,6 |
-60 |
80 |
-44 |
|
14,0 |
-58 |
101 |
-42 |
|
18,3 |
-56 |
127 |
-40 |
Примечание. Объемная доля, равная 1 млн-1, соответствует 1 10-4 %.
За результат анализа принимают среднее арифметическое результатов двух параллельных определений, относительное расхождение между которыми не превышает допускаемое расхождение, равное 10 %.
Допускаемая относительная суммарная погрешность результата анализа ± 25 % при доверительной вероятности Р = 0,95.
ПРИЛОЖЕНИЕ 3. (Введено дополнительно, Изм. № 4).
ИНФОРМАЦИОННЫЕ ДАННЫЕ
1. УТВЕРЖДЕН И ВВЕДЕН В ДЕЙСТВИЕ Постановлением Государственного комитета стандартов Совета Министров СССР от 26.05.78 № 1419
Изменение № 4 принято Межгосударственным Советом по стандартизации, метрологии и сертификации (протокол № 8 от 12.10.95)
За принятие изменения проголосовали:
|
Наименование государства |
Наименование национального органа по стандартизации |
|
Республика Беларусь |
Госстандарт Беларуси |
|
Республика Казахстан |
Госстандарт Республики Казахстан |
|
Республика Молдова |
Молдовастандарт |
|
Республика Таджикистан |
Таджикгосстандарт |
|
Республика Узбекистан |
Узгосстандарт |
|
Российская Федерация |
Госстандарт России |
|
Туркменистан |
Главная государственная инспекция Туркменистана |
|
Украина |
Госстандарт Украины |
2. ВЗАМЕН ГОСТ 5583-68
3. ССЫЛОЧНЫЕ НОРМАТИВНО-ТЕХНИЧЕСКИЕ ДОКУМЕНТЫ
|
Обозначение НТД, на который дана ссылка |
Номер пункта, приложения |
|
ГОСТ 61-75 |
|
|
ГОСТ 1277-75 |
|
|
ГОСТ 1770-74 |
|
|
ГОСТ 3118-77 |
|
|
ГОСТ 3760-79 |
|
|
ГОСТ 3773-72 |
|
|
ГОСТ 4107-78 |
|
|
ГОСТ 4201-79 |
|
|
ГОСТ 4232-74 |
|
|
ГОСТ 4328-77 |
|
|
ГОСТ 4517-87 |
|
|
ГОСТ 6709-72 |
|
|
ГОСТ 10157-79 |
|
|
ГОСТ 10163-76 |
|
|
ГОСТ 12026-76 |
|
|
ГОСТ 13320-81 |
|
|
ГОСТ 18300-87 |
|
|
ГОСТ 18954-73 |
|
|
ГОСТ 19433-88 |
|
|
ГОСТ 25336-82 |
|
|
ГОСТ 26460-85 |
|
|
ГОСТ 29227-91 |
|
|
ГОСТ 29251-91 |
4. Ограничение срока действия снято по протоколу № 4-93 Межгосударственного Совета по стандартизации, метрологии и сертификации (ИУС 4-94)
5. ПЕРЕИЗДАНИЕ (июнь 1998 г.) с Изменениями № 1, 2, 3, 4, утвержденными в мае 1984 г., марте 1985 г., марте 1989 г., апреле 1996 г. (ИУС 8-84, 6-85, 6-89, 7-96)
СОДЕРЖАНИЕ