Госгортехнадзор России
НТЦ «Промышленная безопасность»
НОРМЫ РАСЧЕТА
НА ПРОЧНОСТЬ ТРУБОПРОВОДОВ
ТЕПЛОВЫХ СЕТЕЙ
РД 10-400-01
2001
Редакционная коллегия:
B. C. Котельников, Н. А. Хапонен, А. П. Глухов (Госгортехнадзор России);
В. А. Малафеев, В. В. Гусев (РАО «ЕЭС России»);
В. А. Глухарев (Госстрой России);
Ю. К. Петреня, И. А. Данюшевский, О. Б. Киреев (АООТ «НПО ЦКТИ им. И. И. Ползунова»);
А. З. Миркин, В. Я. Магалиф, Е. Е. Шапиро (OOO «НТП Трубопровод»);
А. Г. Казанцев (Государственный научный центр РФ «НПО ЦНИИТМАШ»);
В. М. Липовских, В. К. Смирнов (Филиал ОАО «Тепловые сети Мосэнерго»)
Настоящий Руководящий документ (РД) распространяется на стальные трубопроводы водяных тепловых сетей с рабочим давлением до 2,5 МПа и рабочей температурой до 200 °С и паропроводов с рабочим давлением до 6,3 МПа и рабочей температурой до 350 °С, прокладываемых на опорах (надземно и в закрытых каналах), а также бесканально в грунте.
РД предусматривает определение толщины стенки отводов, тройников и врезок из условия обеспечения их несущей способности от действия внутреннего давления, а также оценку статической и циклической прочности трубопровода.
Оценка статической прочности производится раздельно на действие несамоуравновешенных нагрузок (вес и внутреннее давление) и с учетом всех нагружающих факторов, в том числе температурных деформаций. Если условия статической прочности не выполняются, делается дополнительный расчет на циклическую прочность (выносливость) под действием знакопеременных нагрузок, обусловленных колебаниями рабочих параметров среды в период заданного срока службы трубопровода.
Предназначен для специалистов, осуществляющих проектирование, строительство и реконструкцию тепловых сетей. Обязателен при проведении поверочных расчетов всеми проектными организациями.
ГП «Научно-технический центр по безопасности в промышленности Госгортехнадзора России» (НТЦ «Промышленная безопасность») - официальный издатель нормативных документов Госгортехнадзора России (приказ Госгортехнадзора России от 19.03.01 № 32).
СОДЕРЖАНИЕ
Утверждены
постановлением Госгортехнадзора
России от 14.02.01 № 8
Введены в действие с 01.04.01
постановлением Госгортехнадзора
России от 14.02.01 № 8
НОРМЫ РАСЧЕТА
НА ПРОЧНОСТЬ ТРУБОПРОВОДОВ
ТЕПЛОВЫХ СЕТЕЙ
РД 10-400-01
Настоящие нормы распространяются на стальные трубопроводы водяных тепловых сетей с рабочим давлением до 2,5 МПа и рабочей температурой до 200 °С (категория III, группа 2), а также паропроводов за пределами тепловых источников с рабочим давлением до 6,3 МПа и рабочей температурой до 350 °С (категория II, группа 2).
Рабочее давление и рабочая температура при расчетах прочности и определении нагрузок на опоры и строительные конструкции принимаются в соответствии с требованиями СНиП 2.04.07-86*.
Нормы обеспечивают соблюдение запасов прочности для стальных труб и соединительных деталей не ниже установленных Нормами расчета на прочность стационарных котлов и трубопроводов пара и горячей воды (РД 10-249-98). На отдельные положения и пункты этих норм в тексте даются прямые ссылки.
Нормы регламентируют определение толщины стенки труб, отводов, тройников и врезок из условия обеспечения их несущей способности от действия внутреннего давления.
Поверочный расчет предусматривает оценку статической и циклической прочности трубопровода. Оценка статической прочности производится раздельно на действие несамоуравновешенных нагрузок (вес и внутреннее давление) и с учетом всех нагружающих факторов, в том числе температурных деформаций. Если условия статической прочности от действия всех нагружающих факторов не выполняются, делается дополнительный расчет на циклическую прочность (выносливость).
1.2.1. Расчетная схема трубопровода должна отражать действительные условия его работы, а метод расчета - учитывать возможность использования компьютерной техники.
В качестве расчетной схемы трубопровода следует рассматривать статически неопределимые стержневые системы переменной жесткости с учетом взаимодействия трубопровода с опорами, присоединенным оборудованием и окружающей средой.
1.2.2. Выбор основных размеров труб и деталей осуществляется по расчетным давлению и температуре с учетом коррозионной активности среды. Расчетное давление следует принимать, как правило, равным максимальному рабочему давлению, а расчетную температуру - максимальной рабочей температуре по проектной документации.
1.2.3. Расчетные значения нагрузок при оценке прочности и устойчивости согласно разделам 5 и 6 настоящих Норм следует определять как произведение их нормативного значения на коэффициент перегрузки пj. (см. п. 2.1).
Аp - площадь поперечного сечения, см2, м2;
В - расчетная ширина траншеи, м;
с - суммарная прибавка к расчетной толщине стенки, мм;
Da - наружный диаметр, мм;
Dк - наружный диаметр кожуха изоляции (при отсутствии кожуха - наружный диаметр изоляции), мм;
D -внутренний диаметр, мм;
da - наружный диаметр ответвления тройника, мм;
d - внутренний диаметр ответвления тройника, мм;
Е - модуль упругости материала, МПа;
Ераб - модуль упругости при рабочей температуре, МПа;
Ехол - модуль упругости материала при температуре окружающей среды, МПа;
g - вес трубы с изоляцией и продуктом на единицу длины трубопровода, Н/м;
Н - высота засыпки от верхней образующей кожуха изоляции до поверхности земли, м;
I - момент инерции сечения при изгибе, см4, м4.
io, ii - коэффициенты концентрации напряжений при действии изгибающего момента из плоскости и в плоскости детали соответственно;
ko - расчетный коэффициент постели, Н/м3;
kои - коэффициент постели изоляционного материала, Н/м3;
kогр - коэффициент постели грунта, Н/м3;
ki - коэффициент концентрации кольцевых напряжений;
km - коэффициент концентрации напряжений изгиба;
ks - коэффициент концентрации напряжений при оценке циклической прочности;
Мx, Мy - изгибающие моменты из плоскости и в плоскости детали соответственно, Н·м;
N - осевая сила, Н;
Np - осевая сила от внутреннего давления, Н;
Nкр - критическая осевая сила, Н;
N0i - число полных циклов i-го типа;
[N0]i - допустимое число полных циклов i-го типа;
пj - коэффициент перегрузки от нагрузки с шифром j;
Р - избыточное внутреннее давление, МПа;
Рраб - избыточное внутреннее рабочее давление, МПа;
qгр - нагрузка от покрывающего грунта на единицу длины трубопровода, Н/м;
qтр - интенсивность сил трения, действующих вдоль оси трубы при бесканальной прокладке, Н/м;
R - радиус гиба отвода, мм;
Rро2 - предел текучести при рабочей температуре;
r - радиус скругления горловины штампованного (штампосварного) тройника, мм;
s - номинальная толщина стенки, мм;
sR - расчетная толщина стенки, м;
Т - температура нагрева, °С;
Tраб - рабочая температура, °С;
Тмонт - температура монтажа, °С;
DТ - температурный перепад, °С;
W - момент сопротивления сечения изгибу, см3, м3;
z - расстояние от оси трубы до поверхности земли, м;
a - коэффициент линейного расширения, 1/°С;
gгр - плотность грунта, Н/м3;
hb - коэффициент бокового давления грунта;
m - коэффициент трения;
n - коэффициент относительной поперечной деформации (Пуассона);
[s], [s]20 - номинальное допускаемое напряжение при рабочей температуре и при температуре 20 °С;
[s]ППУ - допускаемое нормативное напряжение в пенополиуретане при рабочей температуре, МПа;
[s]ПЭ - допускаемое нормативное напряжение в полиэтилене высокой плотности при рабочей температуре, МПа;
sj - суммарное среднее кольцевое напряжение, МПа;
sp - кольцевое напряжение от внутреннего давления, МПа;
sи - кольцевое напряжение изгиба от веса грунта, МПа;
sу - осевое напряжение, МПа;
sур - осевое напряжение от внутреннего давления, МПа;
sут - осевое напряжение от действия изгибающего момента, МПа;
sуп - осевое напряжение от действия осевой силы, МПа;
sе - эквивалентное напряжение, МПа;
(Ds) - размах напряжений, МПа;
[saF] - амплитуда приведенного местного, условно-упругого напряжения, МПа;
[t]ППУ - допускаемое напряжение сдвига в пенополиуретане при рабочей температуре, МПа;
j - коэффициент снижения прочности;
jw - коэффициент снижения прочности сварного соединения при действии любой нагрузки, кроме изгибающего момента;
jbw - коэффициент снижения прочности сварного соединения при действии изгибающего момента;
jd - коэффициент снижения прочности элемента при наличии отверстия;
js - коэффициент снижения циклической прочности сварного соединения;
jгр - угол внутреннего трения грунта.
Учитываемые в расчетах на статическую и циклическую прочность нагрузки и воздействия, а также соответствующие им коэффициенты перегрузки приведены в табл. 2.1.
2.1.2. Поверочный расчет трубопровода осуществляется как на постоянные и длительные нагрузки с шифрами 1 - 11 (режим ПДН), так и на дополнительные воздействия кратковременных нагрузок с шифрами 12 - 15 (режим ПДК). Соответствующие режимам ПДН и ПДК критерии статической прочности даны в п. 5.4.
Таблица 2.1
|
Способ прокладки |
Коэффициент перегрузки nj |
||||
|
Вид |
Шифр j |
Характеристика |
Бесканальный в грунте |
На опорах |
|
|
Постоянные |
1 |
Собственный вес труб, деталей, арматуры и обустройств |
+ |
+ |
1,1 (0,95) |
|
2 |
Вес изоляции |
+ |
+ |
1,2 (0,9) |
|
|
3 |
Вес и давление грунта |
+ |
- |
1,2 (0,8) |
|
|
4 |
Предварительная растяжка |
+ |
+ |
1,0 |
|
|
5 |
Силы трения в опорах скольжения или при взаимодействии с грунтом (при бесканальной прокладке) |
+ |
+ |
1,0 |
|
|
6 |
Натяг упругих опор |
- |
+ |
1,0 |
|
|
Длительные временные |
7 |
Внутреннее давление |
+ |
+ |
1,0 |
|
8 |
Вес транспортируемой среды: |
+ |
+ |
|
|
|
воды |
1,0 (0,95) |
||||
|
пара |
1,1 (1,0) |
||||
|
9 |
Температурный перепад |
+ |
+ |
1,0 |
|
|
10 |
Смещения концевых защемлений при нагреве присоединенного оборудования |
+ |
+ |
1,0 |
|
|
11 |
Распорные усилия осевых компенсаторов |
+ |
+ |
1,0 |
|
|
Кратковременные |
12 |
Снеговая |
- |
± |
1,4 |
|
13 |
Гололедная |
- |
± |
1,3 |
|
|
14 |
Ветровая |
- |
± |
1,4 |
|
|
15 |
От подвижного состава |
+ |
± |
См. п. 2.2.9 |
|
Примечания:
1. Знак «+» означает, что нагрузки и воздействия следует учитывать, знак «-» - не учитывать Знак «±» означает, что в надземных трубопроводах нагрузки и воздействия учитываются, а в подземных, прокладываемых в каналах, тоннелях, - нет.
2. Значения коэффициента перегрузки, указанные в скобках, должны приниматься в тех случаях, когда уменьшение нагрузки ухудшает условия работы трубопровода
2.2.1. Нормативные нагрузки от собственного веса трубопровода и изоляции должны определяться на основании стандартов, рабочих чертежей и паспортных данных по номинальным размерам.
2.2.2. Нормативное давление транспортируемого продукта равно расчетному давлению.
2.2.3. Нормативные нагрузки от температурного перепада определяются проектом.
2.2.4. Нормативные нагрузки от растяжки трубопровода (см. п. 5.2) и натяга упругих опор, обусловленного их регулировкой, определяются проектом.
где В - расчетная ширина траншеи на уровне верха изоляции;
(2.2)
hh - коэффициент вертикального давления грунта, определяемый по табл. 2.2.
Таблица 2.2
|
Н/В |
Коэффициент вертикального давления hh для типов грунтов |
||||
|
1 |
2 |
3 |
4 |
5 |
|
|
0 |
1,00 |
1,00 |
1,00 |
1,00 |
1,00 |
|
1,0 |
0,82 |
0,84 |
0,86 |
0,89 |
0,91 |
|
2,0 |
0,68 |
0,73 |
0,76 |
0,80 |
0,82 |
|
3,0 |
0,59 |
0,63 |
0,66 |
0,70 |
0,74 |
|
4,0 |
0,52 |
0,55 |
0,58 |
0,64 |
0,66 |
|
5,0 |
0,45 |
0,48 |
0,51 |
0,56 |
0,60 |
|
6,0 |
0,40 |
0,44 |
0,46 |
0,50 |
0,54 |
|
7,0 |
0,35 |
0,39 |
0,42 |
0,45 |
0,50 |
|
8,0 |
0,32 |
0,35 |
0,38 |
0,42 |
0,46 |
|
9,0 |
0,29 |
0,32 |
0,35 |
0,39 |
0,44 |
|
10,0 |
0,27 |
0,30 |
0,34 |
0,37 |
0,42 |
Примечание. Типы грунтов:
1 - пески маловлажные и растительный грунт;
2 - пески и растительный грунт влажные и насыщенные водой, супесь твердая, тугопластичная и пластичная; суглинок твердый и тугопластичный;
3 - супесь мягкопластичная и текучая; суглинок пластичный, глина твердая и тугопластичная;
4 - суглинок мягкопластичный и текучий, глина пластичная и мягкопластичная;
5 - глина текучая.
Расчетная ширина траншеи (мм) при однотрубной прокладке не должна превышать:
при значениях Dк £ 700 мм
(2.3)
при значениях Dк > 700 мм
(2.4)
Значения угла крутизны откоса q принимаются по табл. 2.3.
Таблица 2.3
|
Угол крутизны откоса q, град, при глубине траншеи h, м |
|||
|
£ 1,5 |
1,5 < h £ 3,0 |
> 3,0 |
|
|
Песчаные и гравийные |
63 |
45 |
45 |
|
Супеси |
76 |
56 |
50 |
|
Суглинки |
90 |
63 |
53 |
|
Глины |
90 |
63 |
63 |
При двухтрубной прокладке в формулу (2.1) вместо B следует подставлять В/2.
2.2.6. Нормативную снеговую нагрузку на единицу длины горизонтальной проекции надземного трубопровода следует определять по формуле
(2.5)
где S0 - вес снегового покрова на единицу площади.
2.2.7. Нормативную ветровую нагрузку на единицу длины надземного трубопровода, действующую перпендикулярно его осевой вертикальной плоскости, следует определять по формуле
(2.6)
где Wст, Wдн - статическая и динамическая составляющие ветровой нагрузки, которые следует определять по СНиП 2.01.07-85, причем Wдн находится, как для сооружения с постоянной шириной наветренной поверхности.
2.2.8. Нормативную нагрузку от обледенения на единицу длины надземного трубопровода следует определять по формуле
(2.7)
где ti - толщина слоя;
gi - объемный вес гололеда, необходимо принимать по СНиП 2.01.07-85.
2.2.9. Нормативные нагрузки и коэффициенты перегрузки от подвижного состава, учитываемые при расчетах в режиме ПДК, следует определять согласно СНиП 2.05.03-84.
3.1. Допускаемые напряжения для стальных труб и деталей принимаются согласно РД 10-249-98.
3.2. Характеристики прочности и допускаемые напряжения материалов и конструкций промышленной полимерной изоляции принимаются в соответствии с пп. 3.3 - 3.5 настоящего раздела. Для тех материалов и конструкций, которые не указаны, данные следует принимать по справочным и экспериментальным данным.
МПа.
При действии изгибающего момента расчетное напряжение может превышать допускаемое на 40 %
![]()
3.4. Для пенополиуретана (ППУ) допускаемые напряжения растяжения - сжатия составляют:
при кратковременном действии нагрузки [s]ППУ = 0;4 МПа;
при длительном действии нагрузки [s]ППУ = 0,15 МПа.
При оценке компенсирующей способности трубопровода, как правило, следует принимать второе значение.
[t]ППУ = 0,04 МПа.
(4.1)
4.1.2. Коэффициенты снижения прочности сварных швов jw принимаются согласно РД 10-249-98.
4.2.1. Расчетную толщину стенки труб и деталей трубопровода sR следует вычислять по формулам пп. 4.3 - 4.5.
(4.2)
с округлением до значения ближайшей большей толщины стенки. Допускается округление в сторону меньшей толщины стенки, если разница не превышает 3 %.
4.2.3. Прибавку следует определять по формуле
с = с1 + с2, (4.3)
где с1 - технологическая прибавка, принимаемая равной минусовому отклонению толщины стенки по стандартам и техническим условиям;
с2 - прибавка на коррозию и износ, принимаемая по нормам проектирования с учетом расчетного срока эксплуатации.
4.2.3.1. Для труб-заготовок, используемых для гибки отводов на станках, прибавка с1 равна сумме допусков на минимальную толщину стенки трубы-заготовки и максимальное утонение при гибке. Последняя величина при отсутствии специальных указаний определяется выражением s/(l + 2R/D).
4.2.3.2. Для деталей трубопроводов, получаемых сваркой из труб (секторные отводы, сварные тройники), прибавка с1 равна допуску на минимальную толщину стенки трубы-заготовки.
4.2.3.3. Для деталей трубопроводов, изготовляемых из труб путем горячего или холодного деформирования (крутоизогнутые отводы, штампованные тройники), прибавка с1 равна допуску на минимальную толщину стенки, указанному в соответствующих технических условиях.
4.3.1. Расчетную толщину стенки трубы следует определять согласно РД 10-249-98.
4.3.2. Для трубопроводов бесканальной прокладки в грунте, имеющих отношение s/Da < 0,015, должно дополнительно выполняться условие
где g1 - нагрузка на единицу длины трубопровода от веса грунта и продукта, заполняющего трубу. Нагрузка от веса грунта определяется согласно п. 2.2.5;
g2 - нагрузка на единицу длины трубопровода от веса трубы и изоляции.
(4.5)
(4.6)
Рекомендуемые значения для kои и kогр приведены в табл. 4.1.
4.4 1 Расчетную толщину стенки отводов следует определять по формулам:
(4.7)
или
(4.8)
Для бесшовных и штампосварных отводов jw = 1, а для гнутых, крутоизогнутых и секторных (рис. 4.1, а, б) значения jw следует принимать в соответствии с РД 10-249-98.
4.4.2. Значение ki принимается:
для гнутых и крутоизогнутых отводов по табл. 4.2;
для секторных нормализованных отводов, состоящих из секторов и полусекторов с углом скоса q £ 22,5°:
(4.9)
для штампосварных отводов при расположении сварных швов в плоскости кривизны (рис. 4.1, в):
для штампосварных отводов при расположении сварных швов по нейтральной плоскости (рис. 4.1, г) - как наибольшее из двух значений:
Коэффициент прочности jw в формулах (4.10) и (4.11) принимается согласно РД 10-249-98 (см. п. 4.2).
Таблица 4.1
|
kои или kогр, Н/м3 |
|
|
Грунт |
|
|
Плывун, свеженасыпанный песок, размягченная глина |
1 - 5 |
|
Слежавшийся балластный песок, насыпной гравий, влажная глина |
5 - 50 |
|
Плотно слежавшийся песок и гравий |
50 - 100 |
|
Щебень, тина малой влажности, искусственно уплотненный песчано-глинистый грунт, твердая глина |
100 - 200 |
|
Мягкая скала, известняк, песчаник |
200 - 1000 |
|
Тепловая изоляция |
|
|
Пенополиуретан, полимербетон, армопенобетон при температуре, °С |
|
|
100 |
5 |
|
20 |
15 |
|
Битумперлит при температуре, °С |
|
|
100 |
15 |
|
20 |
50 |
|
Битумкерамзит при температуре, °С |
|
|
100 |
50 - 100 |
|
20 |
100 - 150 |
Рис. 4.1. Отводы: а - гнутый; б - секторный; в, г - штампосварной.
Таблица 4.2
|
R/(Da - s) |
Свыше 2,0 |
1,5 |
1,0 |
|
ki |
1,00 |
1,15 |
1,30 |
Примечания:
1. Для промежуточных значений R/(Da - s) значение ki определяется линейной интерполяцией.
2. При R/(Da - s) < 1,0 следует принимать ki = 1,3.
4.5.1. Расчеты проводятся в соответствии с РД 10-249-98 по нижеприведенным формулам.
4.5.2. Расчетная толщина стенки магистрали рассчитывается по формуле
Коэффициент прочности j принимается в соответствии с п. 4.1.1. Коэффициент снижения прочности сварного шва jw принимается:
для сварного тройника согласно РД 10-249-98 (п. 4.2.2);
для штампосварного тройника согласно РД 10-249-98 (п. 4.2.1.1);
для штампованного тройника jw = 1.
4.5.3. Расчетную толщину стенки штуцера (ответвления) следует определять по формуле:
Коэффициент снижения прочности j принимается согласно п. 4.1.1 настоящих Норм. Коэффициент снижения прочности сварного шва jw определяется:
для сварного тройника, как для магистрали (п. 4.5.2);
для штампосварного и штампованного тройника - согласно РД 10-249-98 (п. 4.2.1.1).
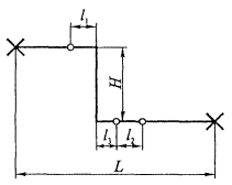
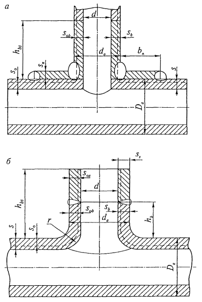
4.5.4. Коэффициент прочности за счет ослабления отверстием магистрали сварного тройника рассчитывается по формуле (рис. 4.3, а):
где с - определяется согласно п. 4.2.3;
- сумма укрепляющих площадей штуцера и
накладки (если таковая имеется):
(4.15)
Для штампованных (штампосварных) тройников (рис. 4.3, б) вместо величины d в формулу (4.16) следует подставлять:
причем r принимается по чертежу на конкретный тройник, но не менее 5 мм.
4.5.5. Укрепляющая площадь штуцера определяется по формулам:
для наружных штуцеров, конструкция которых соответствует рис. 4.2, а:
(4.17)
где hb - высота штуцера;
sb - толщина стенки штуцера;
sob - минимально допустимая толщина стенки штуцера, вычисляемая по формулам 4.12 - 4.13 при значении j = 1.
Рис. 4.2. Типы сварных соединений тройников со штуцером:
а - примыкающий к наружной поверхности магистрали; б - пропущенный внутрь магистрали.
для пропущенных внутрь магистралей штуцеров, конструкция которых соответствует рис. 4.2, б:
(4.18)
где hb1 - длина штуцера внутри магистрали;
для вытянутой горловины штампованного (штампосварного) тройника, конструкция которого соответствует рис. 4.3, б:
(4.19)
Минимально допустимая толщина стенки sos определяется по формулам 4.12 - 4.13 при значении j = 1. Для штампованных тройников при определении sob в формулу (4.13) вместо d следует подставлять deq.
4.5.6. Расчетное значение высоты штуцера принимается согласно размеру по чертежу на конкретный штуцер, но не более определенного по формулам:
(4.20)
(4.21)
Рис. 4.3. Тройник: а - сварной; б - штампованный.
При одновременном укреплении отверстия штуцером и накладкой (рис. 4.3, а) высота укрепляющей части штуцера принимается без учета толщины накладки:
![]()
4.5.7. Укрепляющая площадь накладки определяется по формуле (рис. 4.3, а):
(4.22)
Используемое в расчете значение ширины накладки bn должно соответствовать размеру по чертежу на конкретную накладку, но не более определенного по формуле
(4.23)
4.5.8. Если в сварных тройниках или врезках номинальная толщина стенки
штуцера или присоединенной трубы равна s0b + с и отсутствуют накладки, следует
принимать
= 0. В этом случае
диаметр отверстия должен быть не более вычисленного по формуле
(4.24)
5.1.1. Толщина стенок труб и соединительных деталей трубопровода должна соответствовать требованиям раздела 4 настоящих норм.
5.1.2. Целью поверочного расчета является оценка статической и циклической прочности трубопровода, а также определение усилий, действующих со стороны трубопровода на опоры, строительные конструкции и присоединенное оборудование.
Полный поверочный расчет состоит из четырех этапов (табл. 5.1).
Таблица 5.1
|
Наименование расчета |
Шифры нагрузок по табл. 2.1 |
Назначение расчета |
||
|
ПДН |
ПДК |
|||
|
1 |
Расчет на действие несамоуравновешенных нагрузок в рабочем состоянии |
1, 2, 3, 6, 7, 8, 10, 11 |
1, 2, 3, 6, 7, 8, 10, 11, 12, 13, 14, 15 |
Оценка статической прочности |
|
2 |
Расчет для рабочего состояния на совместное действие всех нагружающих факторов |
1, 2, 3, 4, 5, 6, 7, 8, 9, 10, 11 |
1, 2, 3, 4, 5, 6, 7, 8, 9, 10, 11, 12, 13, 14, 15 |
Оценка: статической прочности; нагрузок на оборудование, опоры и строительные конструкции |
|
3 |
Расчет для холодного (нерабочего) состояния на совместное действие всех нагружающих факторов |
1, 2, 3, 4, 5, 8, 9 |
- |
Оценка: статической прочности; нагрузок на оборудование, опоры и строительные конструкции |
|
4 |
Расчет на действие циклических воздействий (циклы нагрев- охлаждение) |
См. п. 5.1.3 |
- |
Оценка циклической прочности (выносливости) |
Примечания: 1. На этапе 2 расчет ведется на положительный температурный перепад от температуры монтажа до рабочей температуры.
2. На этапе 3 при определении влияния сил трения или отклонений подвесок необходимо учитывать, что перед началом охлаждения трубопровод имеет перемещения, обусловленные его нагревом в рабочем состоянии.
3. В трубопроводах с сильфонными, линзовыми или сальниковыми компенсаторами при расчете деформаций компенсаторов внутреннее давление учитывать не следует. Для этих целей нужно делать отдельный расчет, аналогичный расчету, выполняемому на этапе 2.
5.1.4. Размах приведенных напряжений (Ds) для всех рассчитываемых сечений трубопровода определяется на этапе 4 как разность эквивалентных напряжений на этапах 2 и 3.
5.1.5. Силы трения в опорах и при взаимодействии трубопровода с грунтом определяются согласно пп. 5.3.2 и 5.3.3.
5.1.6. Расчеты трубопроводов в режиме ПДК выполняются при соответствующем указании в проекте.
5.1.7. Напряжения от всех нагрузок следует подсчитывать по номинальной толщине стенки трубы или соединительной детали.
5.2.1. Монтажная растяжка применяется для улучшения компенсирующей способности трубопровода и уменьшения нагрузок, передаваемых на неподвижные опоры и присоединенное оборудование.
5.2.2. Рекомендуется назначать величину растяжки не более 60 % воспринимаемого температурного расширения.
5.2.3. При применении монтажной растяжки с негарантируемым качеством расчет производится без ее учета. Гарантируемая монтажная растяжка учитывается на этапах 2 и 3 полного расчета.
5.2.4. Растяжка задается как взаимное смещение торцов стыкуемых сечений трубопровода.
5.3.1. Нагрузки от трубопровода на опоры, строительные конструкции и присоединенное оборудование определяются на этапах 2 и 3.
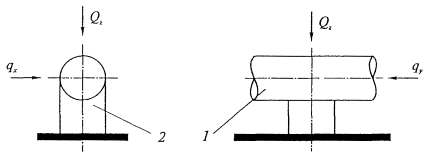
где Qz - вертикальное давление трубопровода на подвижную опору;
qy - продольная составляющая силы трения (вдоль оси трубы);
qx - боковая составляющая силы трения (поперек оси трубы);
my - коэффициент трения при перемещении вдоль оси трубы;
mx - коэффициент трения при перемещении поперек оси трубы;
Dy и Dx - линейные перемещения вдоль и поперек оси трубы.
Компоненты силы трения qy и qx (рис. 5.1) на перемещениях в плоскости скольжения должны совершать отрицательную работу (т. е. каждая пара значений qx, Dx и qy, Dy должна иметь противоположные знаки).
С помощью формул (5.1) и (5.2) компоненты силы трения qx и qy определяются последовательными приближениями в зависимости от перемещений трубопровода Dx и Dy. Коэффициенты трения mx и my принимаются по табл. 5.2.
Рис. 5.1. Схема нагрузок на опору: 1 - труба; 2 - подвижная опора.
Таблица 5.2
|
Коэффициент трения (сталь по стали) |
||
|
my |
mx |
|
|
Скользящая |
0,3 |
0,3 |
|
Катковая |
0,1 |
0,3 |
|
Шариковая |
0,1 |
0,1 |
Примечание. При применении фторопластовых прокладок под скользящие опоры значения коэффициентов трения принимаются 0,1 вместо 0,3.
Если коэффициенты трения вдоль и поперек оси трубы одинаковы, формула (5.1) преобразуется:
![]()
Коэффициент трения определяется по формуле
(5.4)
где nm - коэффициент, зависящий от конструкции изоляции и характера нагружения. Для наиболее распространенных изоляционных конструкций значения nm приведены в табл. 5.3. Для других изоляционных конструкций значения nm следует принимать на основе справочных или экспериментальных данных.
5.3.4. Сила трения в сальниковом компенсаторе определяется по формулам:
где Рраб - рабочее давление, принимаемое не менее 0,5·106 Па;
Lс - длина набивки по оси сальникового компенсатора, м;
Dс - наружный диаметр патрубка сальникового компенсатора, м;
mс - коэффициент трения набивки о металл, принимается равным 0,15;
т - число болтов компенсатора;
Ас - площадь поперечного сечения набивки, м2:
![]()
здесь dic - внутренний диаметр корпуса сальникового компенсатора, м.
При определении силы трения по формуле (5.5) величину
следует принимать не
менее 1·106 Па.
В качестве расчетной принимают большую из сил, полученных по формулам (5.5) и (5.6).
Таблица 5.3
|
Коэффициент nm |
||
|
Пенополиуретан с оболочкой из полиэтилена |
Армопенобетон, полимербетон |
|
|
Многократное чередование циклов нагрев - охлаждение |
0,33 |
0,67 |
|
Однократный нагрев (охлаждение) |
0,67 |
1,00 |
|
Кратковременное приложение нагрузки |
1,00 |
1,15 |
Примечание. Однократный нагрев (охлаждение) принимается на этапах 2 и 3 полного расчета при оценке статической прочности и нагрузок на оборудование, опоры и строительные конструкции, а многократное чередование циклов нагрев - охлаждение - на этапах 3 и 4 при оценке циклической прочности.
5.3.5. Неуравновешенные силы от внутреннего давления при применении осевых компенсаторов вычисляются по формулам:
для сальниковых компенсаторов
(5.7)
для сильфонных и линзовых компенсаторов
где Da и D - наружный и внутренний диаметр гибкого элемента соответственно;
Сg - осевая жесткость компенсатора, Н/мм;
D - деформация компенсатора, мм.
5.4.1. Величина эквивалентных напряжений для стальных труб и деталей трубопровода не должна превышать значений, указанных в табл. 5.4.
5.4.2. При проведении расчетов на циклическую прочность (этап 4) выполнение условий статической прочности для стальных труб и деталей на этапе 2 необязательно.
Таблица 5.4
|
Режим нагружения |
Допускаемое напряжение |
|
|
1 |
ПДН |
1,1 [s] |
|
ПДК |
1,5 [s] |
|
|
2 и 3 |
ПДН |
1,5 [s] |
|
ПДК |
1,9 [s] |
Примечание. Критерии статической прочности сильфонных и линзовых компенсаторов приведены в п. 5.7.5.
5.4.3. Для труб с промышленной пенополиуретановой изоляцией продольные напряжения в рабочем состоянии в пенополиуретане и полиэтиленовой оболочке не должны превышать значений, указанных в пп. 3.3 и 3.4. При известных продольных напряжениях в стальной трубе sy оценку этих напряжений следует производить по формулам:
(5.9)
(5.10)
где ЕППУ - модуль упругости пенополиуретана, принимаемый равным 15 МПа;
ЕПЭ - модуль упругости полиэтилена, ЕПЭ = 1000 МПа;
Ераб - модуль упругости материала стальной трубы при рабочей температуре.
5.4.4. Касательные напряжения в пенополиуретане для тех же труб в рабочем состоянии не должны превышать значения, указанного в п. 3.5. Соответствующее условие статической прочности
(5.11)
где qтр - определяется по формуле (5.3).
5.4.5. Величины допускаемых нагрузок на присоединенное к трубопроводу оборудование устанавливаются заводами-изготовителями.
5.5.1. Оценка циклической прочности проводится на основе анализа напряжений, определяемых по данным упругого расчета на этапах 2 и 3.
Основной расчетной нагрузкой является малоцикловое температурное воздействие, вызываемое колебаниями температуры.
5.5.2. На основе вероятностной оценки условий эксплуатации в течение года задается температурная история, составленная из полных циклов с различными размахами температуры.
Каждый цикл i-го типа характеризуется частотой повторения N0i в определенном интервале времени ti и размахом температуры DТi.
Температурная история имеет следующий вид:
|
ti |
DТi |
N0i |
|
t1 |
DТ1 |
N01 |
|
t2 |
DТ2 |
N02 |
|
… |
… |
… |
|
tk |
DТk |
N0k |
и обычно строится в порядке убывания интервалов времени и размахов температуры, т. е.
![]()
причем DТ1 и t1 характеризуют цикл с наибольшим изменением температуры.
Допускается не учитывать изменения температуры в пределах ± 2,5 % наибольшего значения, принятого в расчете. Пример задания температурной истории см. в приложении 2.
5.5.3. При оценке циклической прочности расчетный срок службы трубопровода рекомендуется принимать не менее 25 лет, если в задании на проектирование не оговорено иного срока.
5.5.4. Размахи напряжений для цикла наибольшим изменением температуры определяются на этапе 4 полного расчета для каждого расчетного сечения трубопровода j по формуле
(5.12)
где
,
- эквивалентные
напряжения в сечении j
(алгебраически наибольшее и наименьшее) на этапах 2 и 3 полного расчета без
учета местной концентрации напряжений.
(5.13)
(5.14)
где kF - коэффициент концентрации напряжений, учитывающий упругопластические деформации:
При отсутствии данных по коэффициенту снижения циклической прочности сварного шва можно принимать js = 0,8. При отсутствии сварного шва js = 1,0.
5.5.6. Коэффициент концентрации напряжений для отводов и тройников следует принимать как наибольшее из двух значений:
Коэффициент ki принимается:
для отводов - согласно требованиям п. 4.4;
для тройников ki = 1/j, где j определяется согласно п. 4.1.1. Допускается определять ki по графикам на рис. 5.2.
(5.17)
Рис. 5.2. Графики для определения коэффициентов концентрации напряжений в тройниках:
1 - для сварных тройников без усиливающих накладок; 2 - для штампованных и штампосварных тройников; 3 - для тройников с усиливающими накладками/
5.5.7. Для сильфонных компенсаторов, полученных методом гидроформовки и линзовых компенсаторов, сваренных из двух полулинз, коэффициент концентрации напряжений рекомендуется принимать по табл. 5.5.
Таблица 5.5
|
Коэффициент концентрации ks |
||
|
Сильфонный компенсатор |
Линзовый компенсатор |
|
|
Углеродистая и легированная неаустенитная сталь |
1,2 |
2,2 |
|
Аустенитная сталь |
1,05 |
2,0 |
Для нормализованных конструкций компенсаторов обоих типов в формулах (5.15) и (5.16) следует принимать js = 1.
5.5.8. Амплитуда напряжений для циклов с меньшей температурой, чем указана в п. 5.5.5, рассчитывается по формуле
(5.18)
5.5.9. Допускаемое число полных расчетных циклов с амплитудой [saF]i для изделий из углеродистых и легированных неаустенитных сталей определяется по формулам:
(5.20)
при [saF]i > 129 МПа [N0]i определяется по обеим формулам и за расчетное принимается наименьшее из двух полученных значений;
при 64,5 МПа < [saF]i £ 129 МПа [N0]i рассчитывается по формуле (5.19);
при [saF]i £ 64,5 МПа [N0]i принимается равным 106.
Для изделий из аустенитных сталей допускаемое число полных расчетных циклов определяется по формулам:
(5.21)
(5.22)
Применение этих формул в диапазонах значений [saF]i > 100; 50 [saF]i £ 100 и [saF]i £ 50 полностью аналогично.
5.5.10. Проверку циклической прочности (выносливости) следует проводить по формуле
где k - общее число циклов;
N0i - число полных циклов i-го типа, определяемое на основании температурной истории за весь срок службы трубопровода.
Пример оценки циклической прочности см. в приложении 2.
5.6.1. При определении расчетных напряжений предполагается, что толщины стенок труб, отводов и тройников удовлетворяют требованиям раздела 4.
5.6.2. Среднее окружное напряжение от внутреннего давления определяется по формуле
(5.24)
где D - внутренний диаметр рассчитываемого сечения;
j - коэффициент снижения прочности, определяемый согласно п. 4.1.1.
5.6.3. Среднее окружное напряжение от давления грунта в трубопроводах бесканальной прокладки определяется по формуле
(5.25)
В этой формуле обозначения те же, что и в формуле (4.4).
5.6.4. Суммарное среднее окружное напряжение следует определять по формуле
5.6.5. Суммарное среднее осевое напряжение от внутреннего давления, осевой силы и изгибающего момента определяется по формуле
где осевое напряжение от внутреннего давления
напряжение от осевой силы
(в формулах 5.26, 5.27 и 5.29 знак «+» соответствует растяжению, а «-» - сжатию);
осевое напряжение от изгибающего момента
(5.30)
5.6.6. Напряжение от кручения
(5.31)
5.6.7. Радиальное напряжение от внутреннего давления определяется по формуле
(5.32)
5.6.8. Для расчетного сечения трубопровода вычисляются три главных нормальных напряжения, которые представляют собой алгебраическую сумму действующих в одном направлении напряжений от приложенных к сечению нагрузок.
Главные напряжения вычисляются по формулам:
при наличии крутящего момента
(5.33)
при отсутствии крутящего момента
(5.34)
Для обеспечения условия s1 > s2 > s3 индексы при обозначениях окончательно устанавливаются после определения численных значений sj, sy и sr.
5.6.9. Эквивалентные напряжения для расчетного сечения трубопровода принимаются равными:
(5.35)
5.6.10. Напряжения в трубах определяются в соответствии с п. 5.6.2 - 5.6.9. При этом коэффициенты интенсификации принимаются i0 = ii = 1, а характеристики сечения определяются по формулам:
5.6.11. Напряжения в отводах определяются в соответствии с п. 5.6.2 - 5.6.9 для двух крайних сечений А - А и Б - Б (рис. 5.3). За расчетное эквивалентное напряжение принимается наибольшее из двух значений. Характеристики сечений W и Аp рассчитываются по формуле (5.36), а коэффициенты i0 и ii - по формулам:
для гнутых, крутоизогнутых и штампосварных отводов, стыкуемых с трубами на сварке:
(5.37)
для отводов тех же конструкций, стыкуемых с трубами на фланцах:
(5.38)
для отводов тех же конструкций, стыкуемых с трубами на фланце с одного конца и на сварке - с другого:
(5.39)
для секторных нормализованных отводов, стыкуемых с трубами на сварке:
(5.40)
где
(5.42)
5.6.12. Напряжения в тройниках определяются согласно п. 5.6.2 - 5.6.9 для сечений А - А, Б - Б и В - В (рис. 5.4). За расчетное эквивалентное напряжение принимается наибольшее из трех значений.
5.6.12.1. Концентрация напряжений изгиба в тройниках зависит от безразмерного параметра W.
Для сварных тройников без укрепляющих накладок, конструкция которых соответствует рис. 4.2, а:
(5.43)
Для сварных тройников с укрепляющими накладками, конструкция которых соответствует рис. 4.3, a:
при sn £ 1,5s
(5.44)
при sn > 1,5s
(5.45)
Для штампованных и штампосварных тройников, конструкция которых соответствует рис. 4.4, б:
(5.46)
При расчете ответвления (сечение В - В) в эти формулы вместо номинальной толщины стенки подставляется эффективная, определяемая согласно п. 5.6.12.2.
Рис. 5.3. Расчетная схема отвода:
а - схема нагружения; б - расчетные сечения.
Рис. 5.4. Расчетная схема тройникового соединения:
а - схема нагружения; б - расчетные сечения.
5.6.12.2. Эффективная толщина стенки в сечении ответвления определяется:
при наличии внутреннего давления (Р ¹ 0):
(5.47)
где s - номинальная толщина стенки магистрали;
sR - толщина стенки магистрали без учета ослабления отверстием (рассчитывается согласно п. 4.3.1);
sRm - толщина стенки магистрали согласно п. 4.5.2;
при отсутствии внутреннего давления (Р = 0):
(5.48)
где jd - вычисляется по формуле (4.14),
jm - принимается наибольшим из двух значений jd и jw:
![]()
5.6.12.3. Коэффициенты концентрации напряжений изгиба при действии изгибающего момента из плоскости тройника:
в сварном тройнике с отношением
наружного диаметра ответвления к наружному диаметру магистрали ![]()
в сварном тройнике с отношением
, а также в штампованном (штампосварном) тройнике
(5.50)
Коэффициенты концентрации
напряжений изгиба при действии изгибающего момента в плоскости тройника
независимо от его конструкции и соотношения
вычисляются по
формуле
(5.51)
Безразмерный параметр wp в формулах (5.49) - (5.51) определяется по формуле

5.6.12.4. Характеристики сечения при расчете магистрали (сечения A - A и Б - Б) определяются по формулам (5.36), а при расчете ответвления (сечение В - В) - по формулам:
(5.52)
в которых sbm принимается: при расчете сварных тройников как наименьшее значение из величин sb и sb ii а при расчете штампованных и штампосварных тройников как наименьшее значение из величин ss и ss ii.
5.6.12.5. Врезки, конструкция которых соответствует рис. 4.2, а и 4.3, а, рассчитываются по формулам сварных тройников.
5.7.1. В тепловых сетях используются линзовые и однослойные сильфонные компенсаторы. В зависимости от характера воспринимаемых перемещений применятся осевые, угловые (поворотные) и сдвиговые компенсаторы (рис. 5.5, 5.6 и 5.7). На чертежах компенсаторов через Dк обозначена их компенсирующая способность.
Ниже приводятся формулы для определения напряжений в гибких элементах указанных компенсаторов.
Рис. 5.5. Гибкий элемент компенсатора.
Рис. 5.6. Схема работы компенсатора: а - осевого; б - углового.
Рис. 5.7. Схемы работы сдвиговых компенсаторов:
а - без промежуточной вставки; б, в - с промежуточной вставкой-трубой.
5.7.2. Среднее окружное напряжение от внутреннего давления
(5.53)
где D - внутренний диаметр гибкого элемента, мм;
Н - высота гофра, мм;
s - номинальная толщина стенки гибкого элемента, мм;
q - шаг гофров (ширина гофра), мм.
5.7.3. Суммарное среднее осевое напряжение
где среднее осевое напряжение от внутреннего давления РН
(5.55)
осевое напряжение изгиба от внутреннего давления
(5.56)
осевое напряжение от деформации растяжения-сжатия
(5.57)
здесь Сp, Сf, Сd - коэффициенты, определяемые по графикам рис. 5.8, 5.9 и 5.10 в зависимости от безразмерных параметров a и b;
Dnp - приведенное осевое перемещение, определяемое согласно п. 5.7.4, мм;
n - количество гофров (линз).
5.7.4. Приведенное осевое перемещение зависит от типа компенсатора.
Рис. 5.8. Графики для определения коэффициента Сf.
Рис. 5.9. Графики для определения коэффициента Сp.
Рис. 5.10. Графики для определения коэффициента Сd.
Для осевого компенсатора
Dnp = Dp, (5.58)
где Dp - расчетное осевое перемещение от действия всех нагружающих факторов, кроме внутреннего давления (см. примечание 3 к табл. 5.1).
Для углового (поворотного) компенсатора
(5.59)
где q - угол поворота компенсатора (расчетный), рад;
Dp - средний диаметр гибкого элемента, мм:
![]()
здесь Da, D - обозначения те же, что и в формуле (5.8), мм.
Для сдвигового компенсатора без промежуточной вставки (рис. 5.7, a)
(5.60)
Для сдвигового компенсатора с промежуточной вставкой (рис. 5.7, б)
(5.61)
где Dp - расчетное боковое перемещение компенсатора, мм;
L - расстояние между крайними точками гофр (линз) сдвигового компенсатора (рис. 5.7);
b - длина гофрированной части гибкого элемента, мм;
c - геометрический коэффициент:
(5.62)
5.7.5. Критерии статической прочности сильфонных и линзовых компенсаторов:
(5.63)
В случае если длина цилиндрической краевой зоны гибкого элемента
, она должна быть дополнительно проверена как труба,
работающая под действием внутреннего давления согласно п. 4.3. Если же
, напряжения в цилиндрической краевой зоне гибкого элемента
должны отвечать условию
(5.64)
Примечание. Для компенсаторов нормализованных конструкций проверка статической прочности согласно требованиям настоящего пункта не обязательна.
5.7.6. Эквивалентное напряжение для расчета циклической прочности от всех воздействий в рабочем состоянии определяется по формуле (5.54), т. е.
![]()
а от всех воздействий в холодном состоянии (этап 3 полного расчета) - по формуле (5.54) при syp = spb = 0
![]()
5.7.7. Оценку циклической прочности сильфонных и линзовых компенсаторов следует производить согласно п. 5.5.
В настоящем разделе рассматриваются прямолинейные и слабо искривленные участки трубопроводов неразрезной конструкции (не имеющие сильфонных, линзовых компенсаторов, а также компенсаторов телескопического типа).
Для предотвращения потери местной устойчивости трубопроводов бесканальной прокладки в грунте необходимо соблюдать условие
(6.1)
Минимальный радиус упругого изгиба r определяется следующим образом:
при длине участка выпучивания l ³ 200 см
(6.2)
при l < 200 см
(6.3)
Определение l см. в п. 6.3.
Проверку общей устойчивости трубопровода в продольном направлении следует проводить из условия
(6.4)
где S - эквивалентное продольное осевое усилие в сечении трубопровода, определяемое согласно п. 6.3;
т - коэффициент запаса по устойчивости, принимаемый равным 0,9;
Nкр - продольная критическая сила.
Эквивалентное продольное осевое усилие для прямолинейных и слабоизогнутых участков трубопровода следует определять по формуле
(6.5)
где АF - площадь поперечного сечения трубы в свету:
(6.6)
6.3.1. Для трубопроводов, прокладываемых на скользящих опорах (надземных, в каналах), критическая сила при потере устойчивости в горизонтальной плоскости определяется по формуле
(6.7)
где qтр - сила трения на единицу площади опирания трубопровода, Н/см2:
(6.8)
(6.9)
6.3.2. Для трубопроводов бесканальной прокладки в грунте критическую силу при потере устойчивости в вертикальной плоскости следует определять по формуле
(6.10)
где Q - удерживающая сила, Н/м;
f0 - начальный прогиб (стрела упругого изгиба трубопровода), м.
Значения Q и f0 определяются по формулам:
(6.11)
(6.12)
причем при f0 < 1 см принимается f0 = 1 см.
6.3.3. Длину участка выпучивания следует определять по формуле
(6.13)
1.1. При поверочном расчете трубопровода на прочность следует учитывать повышенную гибкость отводов.
1.2. Коэффициент гибкости изогнутой трубы с прямыми участками на концах при l > 2,2 равен 1,0, а при l £ 2,2 вычисляется по формуле
(п.
1.1)
где Кp - коэффициент гибкости без учета стесненности деформации концов изогнутого участка трубопровода;
z - коэффициент, учитывающий стесненность деформации на концах изогнутого участка.
1.3. Величина Кp определяется по формуле
(п.
1.2)
где
а l
определяется согласно п. 5.6.11 по формуле (5.41).
1.4. Величина z при l £ 1,65 вычисляется по формуле
(п. 1.3)
где
, a q - центральный угол отвода, рад (см. рис. 5.3).
При l > 1,65 величина z полагается равной 1,0.
2. Т-образные сварные соединения
2.1. При поверочном расчете компактных трубопроводных систем в блочном исполнении (обвязки насосов, теплообменников и т. п.) рекомендуется учитывать податливость ответвлений в Т-образных соединениях при изгибе и кручении.

Рис. п. 1. Расчетная схема Т-образного сварного соединения трубопровода
2.2. Углы поворота в узле А (рис. п.1) от приложенных к ответвлению изгибающих моментов в плоскости соединения (Мyb) и в перпендикулярной ей плоскости (Мxb), а также от крутящего момента (Мzb) подсчитываются по формулам:
(п.
1.4)
(п.
1.5)
(п.
1.6)
где Ib, Ipb - моменты инерции сечения ответвления при изгибе и кручении;
![]()
sb - номинальная толщина стенки ответвления;
s - номинальная толщина стенки магистрали.
1. Исходные данные
Рассчитываемый элемент - гнутый отвод, стыкуемый с прямыми трубами на сварке, материал - сталь 20.
Данные для расчета циклической прочности:
рабочая температура Tраб = 130 °C;
температура после остывания Тхол = 0 °С;
размах напряжений при нагреве на 130 °С и
остывании до 0 °С без учета местной
концентрации напряжений в отводе Ds1 = 300 МПа;
коэффициент концентрации напряжений в отводе ks = 3,0;
предел текучести материала отвода
при рабочей температуре Rp02 = 215 МПа;
коэффициент снижения циклической
прочности сварного соединения js = 0,8;
температурная история циклического нагружения трубопровода приведена в табл. п. 2.1.
Оценить циклическую прочность отвода при сроке эксплуатации трубопровода 25 лет.
2. Расчет количества циклов N0i на основании температурной истории
При определении количества циклов на основании данных табл. п. 2.1 используется следующая временная шкала:
1 год = 12 месяцам = 52 неделям = 365 дням.
Результаты приведены в табл. п. 2.2.
Таблица п. 2.1
|
Интервал времени ti |
Перепад температуры DTi, °C |
Количество циклов N0i |
|
Каждый год |
130 |
1 |
|
Каждый месяц |
65 |
2 |
|
Каждая неделя |
32,5 |
4 |
|
Каждый день |
16,25 |
8 |
|
Интервал времени ti |
Перепад температуры DTi, °C |
Количество циклов N0i |
||
|
в интервале времени ti |
в год |
за весь срок службы |
||
|
Каждый год |
130 |
1 |
1 |
25 |
|
Каждый месяц |
65 |
2 |
24 |
600 |
|
Каждая неделя |
32,5 |
4 |
208 |
5200 |
|
Каждый день |
16,25 |
8 |
2920 |
73000 |
3. Определение допускаемого числа полных циклов
Для размаха напряжений Ds1 в 300 МПа справедливо условие
, т. е. 300 < 2 · 215 МПа, следовательно (см. п. 5.5.5)
![]()
Амплитуды остальных циклов, приведенных в температурной истории, определяются на основании п. 5.5.8

Расчет допускаемого количества полных циклов для этих амплитуд в соответствии с п. 5.5.9 приведен в табл. п. 2.3.
Таблица п. 2.3
|
DTi, °C |
[saF]i, МПа |
Число полных циклов по формуле |
Расчетное значение [N0]i |
|
|
(5.19) |
(5.20) |
|||
|
130 |
562,6 |
353 |
186 |
186 |
|
65 |
281,2 |
1866 |
1512 |
1512 |
|
32,5 |
140,6 |
15128 |
260452 |
15128 |
|
16,25 |
70,3 |
2,6×106 |
- |
1×106 |
4. Оценка циклической прочности (выносливости)
На основании данных табл. п.2.2 и п.2.3 по формуле (5.23) имеем:

Условия циклической прочности выполнены.
1. Общие положения
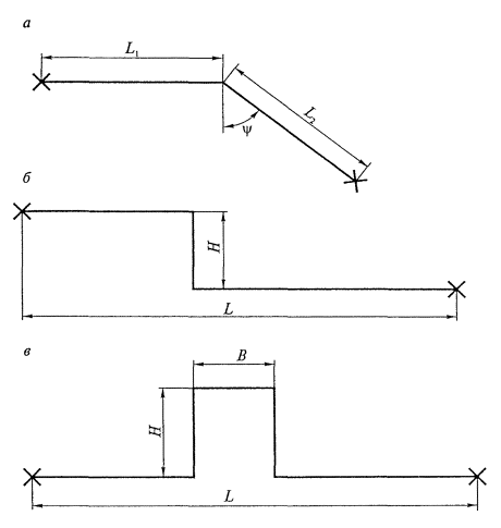
Рассчитываются повороты и компенсаторы с прямыми углами, расположенные в горизонтальной либо вертикальной плоскости.
Целью расчета является определение минимально возможного вылета при заданных длинах плеч. Расчетные схемы представлены на рис. п.3.1.
Для Г-образного поворота задается длина большего плеча L2 и определяется длина меньшего L1.
Для Z-образного поворота задаются плечи L1 и L3 определяется вылет L2.
Для участка трубопровода с П-образным компенсатором задаются расстояния от оси компенсатора до неподвижных опор L1 и L2, спинка В и определяется вылет Н.
2. Критерии прочности
Критерием прочности являются допускаемые компенсационные напряжения, определяемые по формулам:
для трубопроводов, расположенных в горизонтальной плоскости:
(п. 3.1)
для трубопроводов, расположенных в вертикальной плоскости:
(п. 3.2)
Рис п. 3.1. Схемы участков трубопроводов с прямыми углами:
а - Г-образной формы; б - Z-образной формы; в - П-образной формы.
3. Определение вылета
Для определения вылета используется три параметра: параметр прочности A, который не зависит от типа компенсатора, и геометрические параметры Рx и Рy, определяемые согласно п. 3.4 настоящего приложения в зависимости от типа компенсатора.
Величину А следует определять по формуле
(п.
3.3)
где e - величина растяжки в долях от температурного расширения (при 50 %-ной растяжке e = 0,5).
Определение вылета компенсатора производится по нижеприведенным формулам, в которых верхние индексы в круглых скобках относятся к приближениям n - 1 и n соответственно (см. также рис. п. 3.1).
3.1. Поворот Г-образной формы
(п.
3.4)
L1 = l1 + R. (п. 3.5)
3.2. Поворот Z-образной формы
При L3 < L1
(п.
3.6)
При L3 ³ L1
(п.
3.7)
После того как в обоих
уравнениях
станет равным
, из пары значений берется наибольшее
= l2. Затем
определяется Н:
H = l2 + 2R. (п. 3.8)
3.3. Участок с П-образным компенсатором
(п.
3.9)
После того как в обоих уравнениях
станет равным
, из пары значений берется наибольшее
= l2. Затем определяется Н:
H = l2 + 2R. (п. 3.10)
3.4. Формулы для определения параметров Рx и Рy
В приведенных ниже формулах
определяется согласно
п. 1 приложения 1.
3.4.1. Г-образный поворот:
(п.
3.11)
где

В приведенных формулах под l1 следует понимать
текущее значение в процессе последовательных приближений
.
3.4.2. Z-образный поворот:
(п. 3.12)
где

В приведенных формулах под l2 следует
понимать текущее значение в процессе последовательных приближений
.
3.4.3. П-образный компенсатор:
(п. 3.13)
где

В приведенных формулах под l2 следует
понимать текущее значение в процессе последовательных приближений
.
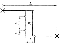
1. Общие положения
1.1. Целью расчета является определение длины, в пределах которой осуществляется компенсация температурных расширений трубопровода, проложенного в грунте.
Отпор грунта боковым перемещениям трубопровода моделируется винклеровым упругим основанием с постоянным коэффициентом постели, определяемым согласно п. 4.3.2 настоящих Норм, что идет в запас прочности.
1.2. При наличии Г-образного поворота под произвольным углом y (рис. п. 4.1, a) по известной величине короткого плеча L1 определяется длинное плечо L2.
1.3. На участке Z-образной формы с прямыми углами при известном вылете H определяется длина участка L (рис. п. 4.1, б).
На участке с компенсатором П-образной формы, имеющим прямые углы, по известным значениям вылета Н и спинки В определяется длина L (рис. п. 4.1, в).
2. Критерии прочности
Критериями прочности являются компенсационные напряжения [sск], определяемые согласно п. 2 приложения 3.
3. Взаимодействие трубопровода с грунтом
Взаимодействие трубопровода с грунтом характеризуется:
параметром b (размерность 1/м)
(п.
4.1)
в котором ko определяется согласно п. 4.3.2 настоящих Норм;
гиперболо-тригонометрическими функциями n1, n2, ..., n6, значения которых для участка длиной х определяются по формулам:
где

4. Участок с Г-образным поворотом
Предполагается, что L1 £ L2. Расчет следует вести по формулам:
при длине короткого плеча 1/b < L1 < 3/b
(п.
4.3)
где ![]()
здесь n11, n31 - функции n1, n3, определяемые по формулам (п. 4.2) для значения х = L1;
при длине короткого плеча L1 ³ 3/b
(п.
4.4)
5. Участок Z-образной формы с прямыми углами
Расчет выполняется по формулам:
при длине вылета Н < 3/b
(п.
4.5)
где ![]()
здесь n1H, n2H, ..., n4H - функции n1, n2, ..., n4, определяемые по формулам (п. 4.2) для значений х = H;
при длине вылета Н > 3/b
(п.
4.6)
6. Участок с П-образным компенсатором
Расчет выполняется по формулам:
1) при Н < 3/b и B < 3/b
(п.
4.7)
За расчетное значение следует принимать меньшее из двух L.
Рис. п. 4.1. Участки бесканальной прокладки в грунте:
а - с Г-образным поворотом; б - с Z-образным поворотом; в - с П-образным поворотом.
где

здесь n1H, n2H, ... - функции n1, n2, …, вычисляемые по формулам (п. 4.2) при значении х = Н;
n1В, n2В, … - те же функции при значении х = В;
2) при Н ³ 3/b и B ³ 3/b
(п.
4.8)
За расчетное значение принимается меньшее из двух L.
1. Трехшарнирные схемы, в которых шарниры выполнены из угловых (поворотных) компенсаторов, работающих в плоскости трубопровода, позволяют воспринимать значительные температурные удлинения трубопроводов, прокладываемых на опорах. При этом существенно сокращаются вылеты поворотов Г- и Z-образной формы и П-образных компенсаторов.
2. Целью расчета является определение углов поворота компенсаторов при известном температурном расширении плоского трубопровода, заключенного между двумя неподвижными опорами.
3. Типовые схемы и рассчитываемые для них углы представлены в табл. п. 5.1.
В нижеприведенных формулах обозначения совпадают с показанными на схемах, а т - коэффициент, учитывающий растяжку угловых компенсаторов, используемых в качестве шарниров. При наличии растяжки т = 2, а при отсутствии т = 1.
3.1. Схема П (см. табл. п. 5.1):
(п.
5.1)
3.2. Схема Z.1:
(п.
5.2)
|
Тип |
Схема |
Определяемые углы |
|
П |
|
|
|
Z.1 |
|
|
|
Z.2 |
|
|
|
Г |
|
|
3.3. Схема Z.2:
(п.
5.3)
3.4. Схема Г:
(п.
5.4)
3.5. Для любой схемы, приведенной в табл. п. 5.1, значение j определяется по формуле
j3 = j1 + j2. (п. 5.5)
1. Расстояние между опорами называется пролетом. В тепловых сетях и паропроводах, прокладываемых на опорах, следует различать средние и крайние пролеты.
К крайним относятся пролеты, непосредственно примыкающие к неподвижным опорам или компенсаторам (П-образным, сильфонным, сальниковым и т. п.). Все остальные пролеты относятся к средним.
2. Величина среднего пролета определяется по формулам (за расчетное принимается наименьшее из двух полученных значений):
(п.
6.1)
(п.
6.2)
где i - уклон, принимаемый не менее 0,002;
sур - продольное напряжение от внутреннего давления, рассчитываемое по формуле (5.28) настоящих Норм;
у - безразмерный параметр, определяемый из условия
При любых значениях i, отличных от нуля, 0,33 £ у £ 0,5. В указанном интервале уравнение (п. 6.3) имеет единственное решение, которое может быть получено, например, методом половинного деления.
3. Если уклона нет, т. е. i = 0
(п.
6.4)
4. Величина крайнего пролета составляет 80 % среднего.
1. Постановка задачи и исходные предпосылки
Трубопровод выдержал испытания давлением. Имеются N замеров толщины его стенки, достаточных для вероятностной оценки состояния износа. Требуется определить минимальный срок дальнейшей эксплуатации t0 (наработки на отказ).
Предполагается, что:
характеристики прочности материала труб и деталей с течением времени не изменяются;
утонение стенок в результате коррозии или эрозии происходит с постоянной скоростью;
пробное давление при гидравлических испытаниях составляет 1,25 Pраб.
2. Методика расчета
По результатам замеров определяются:
величина относительного износа в месте каждого замера
(п.
7.1)
среднее значение относительного износа для всего трубопровода
среднеквадратичное отклонение от среднего значения Sd
среднеквадратичное отклонение относительного износа Sd
(п.
7.4)
где Sиk - измеренная толщина стенки в месте k-го замера;
Sk - номинальная толщина стенки в том же месте;
N - общее количество замеров;
S0 - начальное технологическое отклонение по толщине стенки (относительный минусовой допуск). В расчетах тепловых сетей можно принимать равным 0,05.
Время наработки на отказ следует определять по формуле
где td - срок службы трубопровода до проведения гидроиспытаний;
Uq - q-квантиль нормального распределения вероятности;
Ug - g-квантиль нормального распределения вероятности;
RB - временное сопротивление при растяжении (предел прочности) при температуре 20 °С.
Для трубопроводов тепловых сетей рекомендуемые значения квантилей:
Ug = Uq = 1,28,
которые соответствуют регламентируемой вероятности g = 90 % и доверительной вероятности q = 0,9.
При соответствующем обосновании допускается принимать иные значения вероятностей в интервалах значений:
![]()
В этих случаях значения Uq и Ug принимаются по табл. п. 7, в которой приведены значения квантиля Ub, соответствующие вероятности b. При определении Uq b заменяется на q, а при определении Ug вместо b подставляется 0,01 g.
|
b |
0,81 |
0,82 |
0,83 |
0,84 |
0,85 |
0,86 |
0,87 |
0,88 |
0,89 |
0,90 |
|
Ub |
0,88 |
0,92 |
0,95 |
0,99 |
1,04 |
1,08 |
1,13 |
1,18 |
1,23 |
1,28 |
|
b |
0,91 |
0,92 |
0,93 |
0,94 |
0,95 |
0,96 |
0,97 |
0,98 |
0.99 |
|
|
Ub |
1,34 |
1,41 |
1,48 |
1,56 |
1,65 |
1.75 |
1,88 |
2,05 |
2,33 |
|
3. Пример расчета
Исходные данные
Тепловая сеть из труб 530×7. Рабочая температура 130 °С, рабочее давление 1,6 МПа. Трубы сварные из стали 20. Коэффициент снижения прочности стыковых сварных соединений jw = 0,8.
Номинальное допускаемое напряжение [s]20 = 147 МПа; предел прочности при 20 °С - RB = 420 МПа.
Трубопровод прослужил к моменту проведения гидравлических испытаний 18 лет.
Перед проведением гидравлических испытаний проведены замеры толщины стенки, приведенные в таблице, общее число замеров N = 11.
|
k |
1 |
2 |
3 |
4 |
5 |
6 |
7 |
8 |
9 |
10 |
11 |
|
Sk, мм |
7 |
7 |
7 |
7 |
7 |
7 |
7 |
7 |
7 |
7 |
7 |
|
Sиk, мм |
5,3 |
6,3 |
6,1 |
5,0 |
5,8 |
6,0 |
5,7 |
5,5 |
6,4 |
5,9 |
5,5 |
Результаты расчета
Расчетная толщина стенки согласно пункту 4.3.1
![]()
По формуле (п. 7.2) определяем
![]()
Подкоренное выражение в формуле (п. 7.3):

Величина Sd, рассчитанная по этой формуле:
![]()
Среднеквадратичное отклонение:
![]()
Время наработки на отказ согласно формуле (п. 7.5):
