
ГОСУДАРСТВЕННЫЙ СТАНДАРТ СОЮЗА ССР
ПАРАФИНЫ НЕФТЯНЫЕ
МЕТОД ОПРЕДЕЛЕНИЯ ЦВЕТА НА КОЛОРИМЕТРЕ КНС-2
ГОСТ 25337-82
Москва
ГОСУДАРСТВЕННЫЙ СТАНДАРТ СОЮЗА ССР
|
ПАРАФИНЫ НЕФТЯНЫЕ Метод определения цвета на колориметре КНС-2 Petroleum paraffins. |
ГОСТ |
Дата введения 01.07.83
Настоящий стандарт устанавливает метод определения цвета твердых нефтяных парафинов на колориметре КНС-2.
Сущность метода заключается в визуальном сравнении цвета определенного объема расплавленного парафина с цветом стандартных светофильтров цветовой шкалы колориметра КНС-2.
Колориметр типа КНС-2 (черт. 1, 2). Значения координат цветности шкалы приведены в приложении.
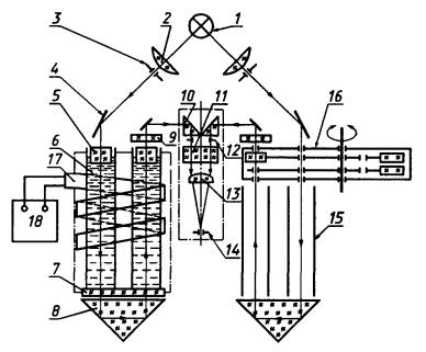
Оптическая схема колориметра КНС-2
1 - осветитель; 2 - конденсатор; 3 - переменная диафрагма; 4 - зеркало; 5, 7 - защитное стекло; 6 - кювета; 8, 10 - призма; 9 - матовое стекло; 11 - светофильтр дневного света; 12 - диафрагма; 13 - окуляр; 14 - выходной зрачок; 15 - эталонный канал; 16 - блок барабанов со светофильтрами; 17- нагреватель кюветы; 18 - блок питания
Черт. 1
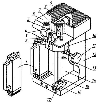
Общий вид колориметра КНС-2
1 - кювета; 2 - визирное окно; 3 - каретка; 4 - окуляр; 5 - зеркало; 6, 12 - кожух; 7 - диафрагма; 8 - осветитель; 9 - крышка; 10 - блок светофильтров; 11 - рукоятка; 13, 17 - тумблер; 14 - корпус; 15 - эталонный канал; 16 - призма
Черт. 2
Стакан номинальной вместимостью не менее 250 см3 в любом исполнении по ГОСТ 25336 или стакан 3 (4, 5) по ГОСТ 9147.
Термометры по нормативной документации.
Нефрас-С50/170 по ГОСТ 8505.
Любой бесцветный бензин или бензиновые алкилатные фракции (для мойки кюветы).
Вода дистиллированная с рН 5,4 - 6,6.
Спирт этиловый ректификованный технический по ГОСТ 18300.
Бумага фильтровальная лабораторная марок ФНБ или ФНС по ГОСТ 12026.
(Измененная редакция, Изм. № 2).
2.1. Проверяют чистоту оптических стекол прибора и кюветы. При необходимости кювету промывают бензином и сушат струей чистого сухого воздуха. Оптические стекла промывают спиртом и протирают чистой, неворсистой салфеткой.
2.2. Чистую сухую кювету устанавливают в прибор. Включают колориметр в электросеть, при этом включаются зеленая и красная индикаторные лампочки. Зеленая индикаторная лампочка сигнализирует о включении прибора в электрическую сеть, красная - о включении кюветы на термостатирование. При достижении рабочей температуры кюветы красная лампочка автоматически отключается. Периодическое включение и выключение красной лампочки сигнализирует о поддержании в кювете температуры (75±5) °С.
2.3. Пробу парафина в количестве 130 - 140 г (для одного определения) помещают в химический стакан и расплавляют в термостате или масляной бане при (90±5) °С. Периодически пробу парафина перемешивают термометром или стеклянной палочкой до полного расплавления. Если расплавленная проба парафина мутная или содержит механические примеси, мешающие определению цвета, ее фильтруют через фильтровальную бумагу. Допускается фильтровать парафин под вакуумом. Температура пробы парафина перед заливом в кювету колориметра должна быть (75±2) °С.
3.1. После прогрева кюветы ее быстро выдвигают из гнезда колориметра, заливают в кювету расплавленный парафин до верхнего среза выемки расширенной части кюветы и устанавливают кювету в рабочее положение. Нажатием на рычаг каретки опускают ее в нижнее положение так, чтобы защитное стекло было погружено в испытуемый продукт. После достижения в кювете рабочей температуры (красная лампочка отключена) приступают к определению цвета.
3.2. С помощью рукоятки вращают барабан со светофильтрами и, наблюдая в окуляр, вводят в эталонный канал поочередно светофильтры (начиная с нулевого) до тех пор, пока цветовые поля испытуемого парафина и светофильтра совпадут или пока цвет испытуемого парафина будет находиться между цветовыми оттенками двух близлежащих светофильтров. Проводят два последовательных определения.
4.1. Цвет парафина выражают в условных единицах (условных марках), соответствующих номеру светофильтра цветовой шкалы колориметра КНС-2 (приложение).
4.2. Если парафин имеет промежуточный цвет двух светофильтров, за результат испытания принимают цвет по светофильтру с более интенсивной окраской. Если проба парафина была профильтрована, в документе о качестве необходимо записать: «Проба профильтрована через фильтровальную бумагу».
4.3, 4.3.1, 4.4, 4.4.1 (Исключены, Изм. № 1).
5.1. Сходимость
Два результата испытания, полученные одним исполнителем, признаются достоверными (с 95 %-ной доверительной вероятностью), если расхождение между ними не превышает одну условную единицу цветовой шкалы колориметра КНС-2.
5.2. Воспроизводимость
Два результата испытаний, полученные в двух разных лабораториях, признаются достоверными (с 95 %-ной доверительной вероятностью), если расхождение между ними не превышает двух условных единиц цветовой шкалы колориметра КНС-2.
Раздел 5. (Введен дополнительно, Изм. № 1).
|
Номер светофильтра |
Координаты цветности |
Коэффициент пропускания (интегральный) |
|
|
красный |
зеленый |
||
|
1 |
0,317±0,002 |
0,328±0,003 |
91,4±3,0 |
|
2 |
0,323±0,002 |
0,338±0,003 |
90,7±3,0 |
|
3 |
0,329±0,003 |
0,348±0,004 |
90,1±3,0 |
|
4 |
0,337±0,003 |
0,361±0,005 |
89,5±3,0 |
|
5 |
0,345±0,003 |
0,372±0,006 |
88,7±3,0 |
|
6 |
0,360±0,003 |
0,396±0,007 |
87,2±3,5 |
|
7 |
0,385±0,006 |
0,417±0,006 |
81,8±3,0 |
|
8 |
0,415±0,006 |
0,440±0,008 |
70,7±3,0 |
|
9 |
0,435±0,006 |
0,451±0,006 |
64,1±3,0 |
|
10 |
0,463±0,006 |
0,462±0,006 |
54,3±3,0 |
|
11 |
0,500±0,006 |
0,464±0,006 |
40,7±4,0 |
|
12 |
0,520±0,008 |
0,451±0,005 |
30,6±4,0 |
|
13 |
0,548±0,006 |
0,439±0,005 |
22,3±3,5 |
|
14 |
0,564±0,006 |
0,428±0,005 |
17,8±3,5 |
|
15 |
0,586±0,006 |
0,410±0,005 |
12,1±3,5 |
|
16 |
0,603±0,006 |
0,395±0,006 |
8,4±2,2 |
ИНФОРМАЦИОННЫЕ ДАННЫЕ
1. РАЗРАБОТАН И ВНЕСЕН Министерством нефтеперерабатывающей и нефтехимической промышленности
РАЗРАБОТЧИКИ
А. Н. Переверзев, Р. А. Мартиросов, Г. И. Успенский, В. П. Гладышев, Л. П. Переверзева, Н. Ф. Ковалева, B. C. Иванов, А. Г. Муравьев, П. А. Меньков, В. Н. Логинов
2. УТВЕРЖДЕН И ВВЕДЕН В ДЕЙСТВИЕ Постановлением Государственного комитета СССР по стандартам от 16.07.82 № 2702
Изменение № 2 принято Межгосударственным Советом по стандартизации, метрологии и сертификации (протокол № 7 от 26.04.95)
За принятие проголосовали:
|
Наименование государства |
Наименование национального органа по стандартизации |
|
Республика Белоруссия |
Госстандарт Белоруссии |
|
Российская Федерация |
Госстандарт России |
|
Республика Узбекистан |
Узгосстандарт |
|
Украина |
Госстандарт Украины |
3. ССЫЛОЧНЫЕ НОРМАТИВНО-ТЕХНИЧЕСКИЕ ДОКУМЕНТЫ
|
Обозначение НТД, на который дана ссылка |
Номер пункта |
|
ГОСТ 8505-80 |
|
|
ГОСТ 9147-80 |
|
|
ГОСТ 12026-76 |
|
|
ГОСТ 18300-87 |
|
|
ГОСТ 25336-82 |
4. Ограничение срока действия снято по протоколу Межгосударственного Совета по стандартизации, метрологии и сертификации (ИУС 2-93)
5. ПЕРЕИЗДАНИЕ (март 1998 г.) с Изменениями № 1, 2, утвержденными в октябре 1987 г., августе 1995 г. (ИУС 1-88, 11-95)
СОДЕРЖАНИЕ
|
1. Аппаратура, реактивы и материалы.. 1 5. Точность метода испытаний. 3 Приложение Значения координат цветности и коэффициентов пропускания. 3 |