ГОСТ Р 50571.20-2000
(МЭК 60364-4-444-96)
ГОСУДАРСТВЕННЫЙ СТАНДАРТ РОССИЙСКОЙ ФЕДЕРАЦИИ
Электроустановки зданий
Часть 4
ТРЕБОВАНИЯ ПО ОБЕСПЕЧЕНИЮ БЕЗОПАСНОСТИ
Глава 44
Защита от перенапряжений
Раздел 444
Защита
электроустановок от перенапряжений,
вызванных электромагнитными воздействиями
ГОССТАНДАРТ РОССИИ
Москва
Предисловие
1 РАЗРАБОТАН Всероссийским научно-исследовательским институтом электрификации сельского хозяйства (ВИЭСХ) и Всероссийским научно-исследовательским институтом стандартизации и сертификации в машиностроении (ВНИИНМАШ)
ВНЕСЕН Техническим комитетом по стандартизации ТК 337 «Электроустановки жилых и общественных зданий»
2 ПРИНЯТ И ВВЕДЕН В ДЕЙСТВИЕ Постановлением Госстандарта России от 18 декабря 2000 г № 373-ст
3 Настоящий стандарт представляет собой аутентичный текст международного стандарта МЭК 60364-4-444-96 «Электрические установки зданий. Часть 4. Требования по обеспечению безопасности Глава 44. Защита от перенапряжений. Раздел 444. Защита установок зданий от электромагнитного излучения» с дополнительными требованиями, учитывающими потребности экономики страны
4 ВВЕДЕН ВПЕРВЫЕ
СОДЕРЖАНИЕ
Введение
Настоящий стандарт является частью комплекса государственных стандартов на электроустановки зданий, разрабатываемых на основе стандартов Международной электротехнической комиссии МЭК 364 «Электроустановки зданий». Он представляет собой аутентичный текст международного стандарта МЭК 60364-4-444-96, кроме раздела 1, уточняющего особенности применения настоящего стандарта в национальной энергетике, раздела 3, который исключает разночтения в толковании терминов, и требований (выделенных курсивом), отражающих потребности различных отраслей экономики страны, в том числе и сельскохозяйственного производства.
Нумерация разделов, пунктов и подпунктов в настоящем стандарте, начиная с раздела 442.1, полностью соответствует принятой в МЭК 60364-4-444-96.
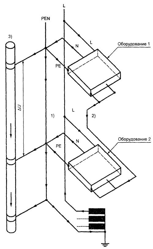
В настоящем стандарте принята та же нумерация рисунков, те же условные обозначения, что и в МЭК 60364-4-444-96. В некоторые схемы настоящего стандарта внесены коррективы. Так, например, на рисунке 1а показано, что падение напряжения ΔU вдоль PEN проводника в системе заземления TN-C равно сумме падений ΔU1 + ΔU2, т.е. больше на ΔU2, чем в системе TN-C-S.
Требования настоящего стандарта дополняют, изменяют или заменяют требования других частных стандартов комплекса государственных стандартов на электроустановки зданий. Отсутствие ссылки на главу, раздел или пункт частного стандарта означает, что соответствующие требования стандарта распространяются и на данный случай.
ГОСТ Р 50571.20-2000
(МЭК 60364-4-444-96)
ГОСУДАРСТВЕННЫЙ СТАНДАРТ РОССИЙСКОЙ ФЕДЕРАЦИИ
Электроустановки зданий
Часть 4
ТРЕБОВАНИЯ ПО ОБЕСПЕЧЕНИЮ БЕЗОПАСНОСТИ
Глава 44
Защита от перенапряжений
Раздел 444
Защита электроустановок от перенапряжений, вызванных электромагнитными воздействиями
Electrical installations of buildings. Part 4. Protection for safety. Chapter 44. Protection against overvoltages. Section 444. Protection against electromagnetic interferences (EMI) in installations of buildings
Дата введения 2002-01-01
Настоящий стандарт распространяется на электроустановки зданий, применяемые во всех отраслях экономики страны, независимо от их принадлежности и форм собственности, и устанавливает требования по обеспечению безопасности путем защиты от перенапряжений, вызванных электромагнитными воздействиями.
Стандарт предназначен для проектных, монтажных, пусконаладочных и эксплуатационных организаций любых форм собственности, и специалистов, разрабатывающих, испытывающих и эксплуатирующих специальные машины и механизмы, являющиеся источниками мощных электромагнитных полей. К ним относятся, например, широко используемые в сельскохозяйственном производстве СВЧ-сушилки для зерна, фруктов, овощей и других растительных продуктов, СВЧ-вакуумные установки для предпосевной обработки семян, электроплазмолизаторы на токах повышенной частоты для электрической обработки сельхозпродуктов и др.
Требования, дополняющие МЭК 60364-4-444 и учитывающие потребности экономики страны, выделены в тексте курсивом.
Требования настоящего стандарта являются обязательными.
В настоящем стандарте использованы ссылки на следующие стандарты:
ГОСТ 30331.2-95 (МЭК 364-3-93) / ГОСТ Р 50571.2-94 (МЭК 364-3-93) Электроустановки зданий. Часть 3. Основные характеристики
ГОСТ 30331.3-95 (МЭК 364-4-41-92) / ГОСТ Р 50571.3-94 (МЭК 364-4-41-92) Электроустановки зданий. Часть 4. Требования по обеспечению безопасности. Защита от поражений электрическим током
ГОСТ 30331.4-95 (МЭК 364-4-42-80) / ГОСТ Р 50571.4-94 (МЭК 364-4-42-80) Электроустановки зданий. Часть 4. Требования по обеспечению безопасности. Защита от тепловых воздействий
ГОСТ Р 50571.10-96 (МЭК 364-5-54-80) Электроустановки зданий. Часть 5. Выбор и монтаж электрооборудования. Глава 54. Заземляющие устройства и защитные проводники
ГОСТ Р 50571.21-2000 (МЭК 60364-5-548-96) Электроустановки зданий. Часть 5. Выбор и монтаж электрооборудования. Раздел 548. Заземляющие устройства и системы уравнивания электрических потенциалов в электроустановках, содержащих оборудование обработки информации
ГОСТ Р 50571.23-2000 (МЭК 60364-7-704-89) Электроустановки зданий. Часть 7. Требования к специальным электроустановкам. Раздел 704. Электроустановки строительных площадок
В настоящем стандарте применяют следующие термины.
3.1 земля (относительная, эталонная): Проводящая электрический ток и находящаяся вне зоны влияния какого-либо заземлителя часть земной коры, электрический потенциал которой принимают равным нулю.
3.2 локальная земля: Часть земли, находящаяся в контакте с заземлителем, электрический потенциал которой под влиянием тока, стекающего с заземлителя, может быть отличен от нуля. В случаях, когда отличие от нуля потенциала части земли не имеет принципиального значения, вместо термина «локальная земля» используют общий термин «земля».
3.3 электроустановка до 1 кВ: Электроустановка, номинальное значение напряжения в которой не превышает 1 кВ.
3.4 проводящая часть: Часть, способная проводить электрический ток.
3.5 нейтральная проводящая часть (нейтральный проводник): Часть электроустановки, способная проводить электрический ток, потенциал которой в нормальном эксплуатационном режиме равен или близок к нулю, например корпус трансформатора, шкаф распредустройства, кожух пускателя, проводник системы уравнивания потенциалов, PEN-проводник и т.п.
3.6 открытая проводящая часть: Доступная прикосновению нейтральная проводящая часть.
3.7 сторонняя проводящая часть: Проводящая часть, не являющаяся частью электроустановки.
3.8 проводник: Часть, предназначенная для проведения электрического тока определенного значения.
3.9 токоведущая часть: Проводник или проводящая часть, предназначенный для работы под напряжением в нормальном эксплуатационном режиме работы электроустановки.
3.10 заземление: Преднамеренное электрическое соединение данной точки системы или установки, или оборудования с локальной землей посредством заземляющего устройства.
3.11 заземляющее устройство: Совокупность заземлителя и заземляющих проводников.
3.12 заземлитель: Часть заземляющего устройства, состоящая из одного или нескольких электрически соединенных между собой заземляющих электродов.
3.13 электрически независимый заземлитель (независимый заземлитель): Заземлитель, расположенный на таком расстоянии от других заземлителей, что токи растекания с них не оказывают существенного влияния на электрический потенциал независимого заземлителя.
3.14 заземляющий проводник: Проводник, соединяющий заземляемую точку системы или установки, или оборудования с заземлителем.
3.15 заземляющий электрод (электрод заземлителя): Проводящая часть, находящаяся в электрическом контакте с локальной землей непосредственно или через промежуточную проводящую среду, например через слой бетона или проводящее антикоррозионное покрытие.
3.16 главная заземляющая шина (главный заземляющий зажим): Шина или зажим, являющаяся частью заземляющего устройства электроустановки до 1 кВ и предназначенная для электрического присоединения нескольких проводников с целью заземления.
3.17 система заземления (заземляющая система): Совокупность заземляющих устройств подстанции, открытых проводящих частей потребителя и нейтрального проводника в электроустановке до 1 кВ.
3.18 тип системы заземления: Показатель, характеризующий отношение к земле нейтрали трансформатора на подстанции и открытых проводящих частей у потребителя, а также устройство нейтрального проводника. Обозначение типов заземления - по ГОСТ 30331.2 / ГОСТ Р 50571.2. Различают TN-, ТТ- и IT-системы, две первых из которых имеют заземленную нейтраль на трансформаторной подстанции, а третья - изолированную. TN-система по устройству нейтрального проводника в свою очередь делится на TN-S-, TN-C- и TN-C-S-системы.
3.19 зануление: Преднамеренное электрическое соединение нейтральной проводящей части (нейтрального проводника) в электроустановке до 1 кВ с заземленной нейтралью трансформатора на подстанции.
3.20 нулевой рабочий проводник (N-проводник): Проводник в электроустановке до 1 кВ, предназначенный для питания однофазных электроприемников и соединенный с заземленной нейтралью трансформатора на подстанции.
3.21 защитный проводник (РЕ-проводник): Проводник в электроустановке до 1 кВ, предназначенный для целей безопасности и соединяющий открытые проводящие части у потребителя с заземляющим устройством.
3.22 совмещенный нулевой рабочий и защитный проводник (PEN-проводник): Проводник в электроустановке до 1 кВ, совмещающий в себе функции нулевого рабочего и защитного проводников.
3.23 функциональный заземляющий проводник (FE-проводник): Заземляющий проводник в электроустановке до 1 кВ, обеспечивающий нормальное функционирование аппарата, на корпусе которого по требованию разработчика не должен присутствовать даже малейший электрический потенциал (иногда для этого требуется наличие отдельного электрически независимого заземлителя).
3.24 устройство защитного отключения (УЗО): Коммутационный аппарат, размыкающий электрическую цепь при превышении током утечки этой цепи установленного значения (имеется в виду дифференциальный ток, т.е. часть общего тока утечки, которая возвращается к источнику питания, минуя коммутационный аппарат).
3.25 электрическое защитное разделение цепей: Отделение электрических цепей друг от друга при помощи разделяющего трансформатора, обмотки которого отделены друг от друга основной, дополнительной либо одной усиленной изоляцией.
3.26 уравнивание электрических потенциалов: Электрическое соединение проводящих частей друг с другом для достижения эквипотенциальности.
3.27 защитное уравнивание электрических потенциалов: Уравнивание электрических потенциалов в целях обеспечения электробезопасности путем устранения разности электрических потенциалов между всеми одновременно доступными прикосновению открытыми проводящими частями стационарного электрооборудования и сторонними проводящими частями, включая металлические части строительных конструкций зданий, достигаемое надежным соединением этих частей друг с другом при помощи проводников.
3.28 система защитного уравнивания электрических потенциалов (устройство защитного уравнивания электрических потенциалов): Совокупность проводников и их соединений с проводящими частями, обеспечивающая защитное уравнивание потенциалов.
3.29 главная потенциалоуравнивающая шина (ГПШ): То же, что и главная заземляющая шина, но служащая для целей уравнивания электрических потенциалов (часто одна и та же шина может выполнять одновременно обе функции).
3.30 защитное выравнивание электрических потенциалов: Мера обеспечения электробезопасности, заключающаяся в снижении относительной разности электрических потенциалов между различными точками на поверхности локальной земли или проводящего пола (шагового напряжения), между этими точками и заземляющим устройством или открытыми проводящими частями (напряжения прикосновения) в нормальном и аварийном режимах работы, достигаемая соединением заземляющего устройства и открытых проводящих частей с уложенными в локальной земле или проводящем полу потенциаловыравнивающими электродами.
3.31 выравнивание электрических потенциалов: То же, что и защитное выравнивание электрических потенциалов, но выполняемое не только для целей обеспечения электробезопасности, но и для иных, например для устранения вредных (вызывающих помехи) напряжений в специальных высокочувствительных установках информационных технологий.
3.32 потенциаловыравнивающий электрод: То же, что и заземляющий электрод, но используемый для выравнивания электрических потенциалов.
3.33 потенциаловыравнивающая сетка: Несколько потенциаловыравнивающих электродов, объединенных в сетку для расширения зоны выравнивания электрических потенциалов.
3.34 система выравнивания электрических потенциалов (устройство выравнивания электрических потенциалов, сокращенно УВЭП): Система, устройство, обеспечивающие выравнивание электрических потенциалов.
3.35 локальное УВЭП: УВЭП на ограниченной площадке.
Электромагнитное излучение (ЭМИ) может нарушить и даже повредить информационные технологические системы или отдельные их компоненты, а также оборудование с электронными элементами или радиосхемами.
Токи, возникающие при ударах молнии, пусковые токи в момент включения оборудования, например при включении лифтов, токи короткого замыкания и токи ряда других электромагнитных явлений могут вызывать заметные ЭМИ и привести к появлению перенапряжений в различных частях электроустановки.
Это происходит, когда:
- имеют место большие металлические контуры (системы выравнивания потенциалов, структурные металлические конструкции или трубные системы неэлектрического назначения, например для воды, газа, отопления, кондиционирования воздуха и т.д., которые могут создавать подобные индукционные контуры);
- в зданиях используются различные системы электрической проводки для электроснабжения, а также для сигнальных информационных систем.
Значение напряжения, вызванного магнитной индукцией, зависит от скорости нарастания тока (di / dt) в излучающей цепи и размера контура (витка).
Силовые кабели, по которым протекают большие токи с высокими скоростями нарастания (кабели лифтов, мощных выпрямителей, электротермических печей и т.п.), могут вызвать перенапряжения в других параллельно расположенных кабелях и проводах различных информационных и других чувствительных к импульсным перенапряжениям приборах, установках и их системах, в том числе медицинских.
Настоящий раздел предназначен для архитекторов, конструкторов и специалистов, занимающихся проектированием и установкой электрического оборудования в зданиях с учетом требований по ограничению помех, вызванных ЭМИ. Основные меры безопасности, изложенные в стандарте, направлены на уменьшение и даже полное устранение этих помех. Дополнительные требования изложены в комплексе стандартов МЭК 60364 и прежде всего в ГОСТ Р 50571.21, а также в МЭК 1000-2-5 [1]. МЭК 1000-5-1 [2], МЭК 1024-1 [3] и МЭК 1312-1 [4] (см. рисунок 5).
Меры, предпринимаемые против электрического и магнитного воздействия на электрическое оборудование.
Все электрическое оборудование должно отвечать требованиям соответствующих стандартов по электромагнитной совместимости. При этом следует руководствоваться ГОСТ 30331.2 / ГОСТ Р 50571.2, пункт 321.10, а также Изменением № 1 к ГОСТ Р 50571.23, пункт 515.3. Следует также учитывать электромагнитную совместимость по ГОСТ Р 50571.10.
Для уменьшения отрицательного эффекта от перенапряжений, индуктированных ЭМИ, проектировщики и монтажники электрических установок должны учитывать требования следующих пунктов (см. также рисунок 4):
- 444.3.1 - локализация потенциальных источников ЭМИ относительно чувствительного оборудования;
- 444.3.2 - локализация чувствительного оборудования относительно источников ЭМИ (относительно мест протекания больших токов, например таких, как токоотводящие спуски молниеотводов, питающие кабели лифтов и т.п.);
- 444.3.3 - установка фильтров и / или защитных приборов от перенапряжений в цепях, по которым подается питание на чувствительное оборудование;
- 444.3.4 - выбор аппаратов защиты электрических сетей с соответствующими временными характеристиками срабатывания (например, осуществляющих отключение в бестоковую паузу) для устранения нежелательных отключений или переходных процессов;
- 444.3.5 - эквипотенциальное соединение металлических кожухов и экранирующих устройств;
- 444.3.6 - адекватное отделение (расстоянием или экранированием) силовых и сигнальных кабелей и прокладка кабелей под прямым углом друг к другу;
- 444.3.7 - адекватное отделение (расстоянием или экранированием) силовых и сигнальных кабелей от вертикального токоотводящего спуска молниеотвода (см. МЭК 1024-1 [3] и рисунок 5);
- 444.3.8 - устранение индуктивных петель путем соответствующей прокладки проводов различных систем (см. также п. 444.4.4);
- 444.3.9 - использование экранированных и / или скрученных пар сигнальных кабелей;
- 444.3.10 - по возможности короткие соединения;
- 444.3.11 - пучки одножильных проводов должны быть заключены в металлические или аналогичные им кожухи;
- 444.3.12 - TN-C-системы не должны применяться в электроустановках, содержащих чувствительное оборудование (см. рисунок 1, а также пункт 548.4 ГОСТ Р 50571.21). В зданиях, где установлено большое количество информационного технологического оборудования, должны применяться специальные защитные (РЕ), функциональные (FE) и нулевые рабочие (N) проводники, подсоединенные к заземляющему устройству до точки ввода (считая по ходу движения энергии), чтобы свести к минимуму возможность возникновения электромагнитных излучений из-за ответвления в сигнальные кабели части тока, который должен был полностью протекать по нулевому проводнику, что может вызвать помехи и даже повреждения высокочувствительного оборудования;
- 444.3.13 - для устранения TN-C-систем внутри зданий возможны два варианта, зависящие от схемы внутренних соединений оборудования и внешней сети:
замена внутри здания всех секций TN-C в системе TN-C-S на секции TN-S (см. рисунки 1а, b и 2),
ликвидация внутри здания избыточных витков между различными секциями TN-S в системе TN-C-S;
- 444.3.14 - металлические трубы (для воды, газа и отопления) и кабели (электроснабжения, телефона и антенный кабель) должны вводиться в здание в одном месте. Металлические листы, экраны, металлические трубы и короба, а также сочленения этих элементов должны быть подсоединены к главной потенциалоуравнивающей шине (ГПШ) здания проводниками с низким электрическим сопротивлением;
- 444.3.15 - при невозможности обеспечить эквипотенциальность вводов (например, когда они находятся в разных местах здания) необходимо использовать неметаллический волоконно-оптический кабель или принять другие меры.
Примечание - Дифференциальные напряжения, связанные с заземлением больших телекоммуникационных установок, являются проблемой оператора, который может выбирать другие варианты;
- 444.3.16 - применительно к электроустановкам, размещенным в помещениях одноэтажных зданий или на первых этажах многоэтажных зданий, имеющих электропроводящие полы, например в помещениях сельскохозяйственного производства, в которых содержатся животные и находится высокочувствительное оборудование, относящееся к классу информационных, действенной мерой против возникновения перенапряжений может служить отделение пола в горизонтальном направлении от зоны нулевого потенциала участком с более высоким удельным электрическим сопротивлением, достигаемым, например, пропиткой участка земли отходами нефтепродуктов в соответствии с требованиями ОСТ 46 180-85 [5].
В зданиях, в которых имеются PEN-проводники или в которых на сигнальные кабели воздействует заметная электромагнитная индукция из-за отсутствия адекватных мер безопасности в электропроводке (см. пункт 548.5 ГОСТ Р 50571.21), возможно применение следующих методов, чтобы свести проблему к минимуму или полностью устранить ее:
- 444.4.1 - использование волоконно-оптических линий для сигнальных соединений;
- 444.4.2 - использование оборудования класса II.
- 444.4.3 - использование местных разделительных трансформаторов с электрически независимыми обмотками (трансформаторы с двумя обмотками) для подачи питания на информационное технологическое оборудование с учетом требований пунктов 312.2.3 и 413.1.5 для IT-систем (местные IT-системы) или раздела 413.5 ГОСТ 30331.3 / ГОСТ Р 50571.3, относящихся к вопросам защиты путем использования электрической независимости (разделительные трансформаторы в соответствии с МЭК 742 [6];
- 444.4.4 - использование соответствующей кабельной проводки для минимизации площади, охваченной витками, образованными питающими и сигнальными кабелями.
1) - PEN-проводник; 2) - уравнивание электрических потенциалов; 3) - металлоконструкция здания, например труба центрального отопления
Рисунок 1а - TN-C-система здания

1) - PEN-проводник; 2) - уравнивание электрических потенциалов; 3) - металлоконструкция здания, например труба центрального отопления
Рисунок 1b - TN-C-S-система здания

1) - устранение падения напряжения ΔU вдоль РЕ; 2) - соединительный проводник на ограниченной площади; 3) - металлоконструкция здания, например труба центрального отопления
Примечание- Система TN-S ликвидирует ток в нейтральном проводнике, показанном на рисунке 1.
Рисунок 2 - Схема устранения токов в нейтральном проводнике при помощи использования в здании TN-S-системы

Рисунок 3а - Односторонний ввод (предпочтителен, U ≈ 0)

Рисунок 3b - Ввод
из разных сторон (нежелателен,
)
Условные обозначения
- точка
присоединения заземляющего проводника;
- нулевой проводник (М-проводник);
- защитный
проводник (РЕ-проводник);
- фазный проводник;
FE - функциональный нейтральный проводник
1) - РЕ-проводник, 2) - распределительный щит, 3) - уравнивание электрических потенциалов, 4) - экранированный провод, 5) - нулевой провод, 6) - разделительный трансформатор, 7) - локальное УВЭП, 8) - электрооборудование
Рисунок 4 - Иллюстрация мер безопасности
Рисунок 5 - Общий вид системы заземления здания в соответствии с требованиями ГОСТ 50571.10, МЭК 1000-2-5 [1] и МЭК 1024-1 [3]
3 МЭК 1024-1: 1990 Защита сооружений от удара молний. Часть 1: Общие принципы
4 МЭК 1312-1: 1995 Защита от электромагнитного импульса молнии. Часть 1. Общие принципы
6 МЭК 742-83 Разделительные трансформаторы и трансформаторы безопасного напряжения. Требования
Ключевые слова: электроустановки зданий; электроустановки до 1 кВ; обеспечение безопасности; защита от перенапряжений; уравнивание электрических потенциалов; электромагнитное влияние