МИНИСТЕРСТВО АВТОМОБИЛЬНЫХ ДОРОГ РСФСР
Утверждены Министерством
автомобильных дорог РСФСР
8 апреля 1986 г
УКАЗАНИЯ
ПО ПОВЫШЕНИЮ НЕСУЩЕЙ СПОСОБНОСТИ ЗЕМЛЯНОГО ПОЛОТНА И ДОРОЖНЫХ ОДЕЖД С
ПРИМЕНЕНИЕМ СИНТЕТИЧЕСКИХ МАТЕРИАЛОВ
ВСН 49-86
Минавтодор РСФСР
![]()
МОСКВА «ТРАНСПОРТ» 1988
Указания по повышению несущей способности земляного полотна и дорожных одежд с применением синтетических материалов разработаны на основе теоретических и экспериментальных исследований, анализа результатов опытно-экспериментального строительства в различных дорожно-климатических условиях, а также данных стран - членов СЭВ, выполнявших в 1980-1984 гг. в рамках КОЦ СЭВ совместные работы по применению синтетических материалов при строительстве и ремонте автомобильных дорог (ведущая организация - Гипродорнии). При составлении Указаний учтены результаты исследований, выполненных Гипродорнии совместно с НИИОСПом Госстроя СССР (кандидаты техн. наук В.А. Барвашов, В.Г. Буданов, В.Г. Федоровский, инж. В.А. Александрович) и Владимирским филиалом треста «Росдороргтехстрой» (инж. Е.А. Поспелов), а также исследований Союздорнии, Гипротюменьнефтегаза, МАДИ, ЦНИИИМЭ, Хабаровского филиала Гипродорнии, ЛИСИ. Опытно-экспериментальные работы выполнялись производственными подразделениями Минавтодора РСФСР (Калининавтодор, Ярославльавтодор, Владимиравтодор, Архангельскавтодор, Тюменьавтодор, Хабаровскавтодор, Управления дорог Москва-Ленинград, Москва-Горький).
Указания предназначены для инженерно-технических работников организаций, занимающихся вопросами проектирования, строительства и эксплуатации автомобильных дорог. Разработаны Гипродорнии (кандидатами техн. наук Ю.Р. Перковым, Н.М. Смуровым, инж. А.П. Фоминым при участии инж. В.Н. Емельянова, М.А. Завьялова, М.В. Фоминой, В.Н. Уткина) совместно с МАДИ (д-ром техн. наук А.Я. Тулаевым, канд. техн. наук В.И. Кукановым, инж. В.И. Костиным) и Хабаровским филиалом Гипродорнии (кандидатами техн. наук И.Е. Закурдаевым, И.А. Печорским).
Заведующий редакцией В.Г. Пешков
Редактор М.И. Демидова
Выпущено по заказу Министерства автомобильных дорог РСФСР
|
Министерство автомобильных дорог РСФСР |
Ведомственные строительные нормы |
ВСН 49-86 |
|
Указания по повышению несущей способности земляного полотна и дорожных одежд с применением синтетических материалов |
1.1. Настоящие Указания предусматривают применение рулонных синтетических материалов (СМ) для создания армирующих, дренирующих и защитных прослоек в активной зоне земляного полотна, нижних конструктивных слоях дорожных одежд, на обочинах, в основании насыпей и на откосах, в дренажных устройствах строящихся или ремонтируемых автомобильных дорог общей сети, промышленных и сельскохозяйственных предприятий, временных автомобильных дорог, подъездных путей.
1.2. Под рулонными синтетическими материалами (называемыми в некоторых случаях также синтетическими текстильными, геотекстильными) подразумеваются тонкие, гибкие полотна, получаемые путем соединения волокон или нитей из синтетического (полиэфир, полиамид, полипропилен) или вторичного сырья, включающего в том числе несинтетические компоненты, механическими (плетение, иглопробивание), химическими (склеивание) или физическими (сплавление) способами.
армирования (усиление дорожных конструкций в результате перераспределения СМ возникающих в грунтовом массиве при действии нагрузок от транспортных средств и собственного веса напряжений);
дренирования (ускорение отвода воды) или гидроизоляции (уменьшение притока в земляное полотно поверхностных вод рассматривается, если СМ одновременно выполняют функции защиты или армирования);
защиты (предотвращение или замедление процесса эрозии грунтов, предотвращение взаимопроникания материалов контактирующих слоев, в том числе работа в качестве фильтра).
1.4. Возможность выполнения СМ перечисленных в п. 1.3 функций определяется соответствием их свойств требованиям п. 2.2. Эффективность применения дорожных конструкций с прослойками из СМ оценивают путем их технико-экономического сравнения с традиционными конструктивными решениями (п. 7). Общая характеристика основных областей применения СМ, рассматриваемых в настоящих Указаниях, дана в табл. 1.1.
|
Внесены Государственным дорожным проектно-изыскательским и научно-исследовательским институтом Гипродорнии |
Утвердждены Министерством автомобильных дорог РСФСР |
Срок введения 1 января 1987 г. |
Таблица 1.1
|
Область применения |
Получаемый эффект |
Схема применения |
Основные функции CM |
|
|
I |
Земляное полотно и нижние слои дорожной одежды |
|
|
- |
|
А |
Активная зона земляного полотна |
Сокращение объемов используемых дренирующих грунтов, повышение сроков службы и эксплуатационной надежности дорог |
|
Усиление грунта, в том числе за счет снижения бокового распора (обойма), предотвращение заиления дренирующего слоя, повышение эффективности дренирования |
|
Б |
Нижние слои дорожных одежд |
Сокращение объемов материалов, используемых в нижних слоях дорожных одежд, повышение эксплуатационной надежности и сроков службы дорог |
|
Усиление дорожной одежды, сохранение свойств материалов слоев за счет снижения степени их взаимопроникания при строительстве и эксплуатации дорог |
|
В |
Обочины |
Повышение эксплуатационных характеристик и сроков службы, сокращение расходов традиционных материалов |
|
Усиление конструкции укрепления, замедление водной эрозии обочины и откоса, повышение прочности земляного полотна за счет снижения притока поверхностных вод |
|
Г |
Земляное полотно постоянных дорог в сложных грунтовых условиях (слабые основания) |
Сокращение сроков до устройства покрытая, повышение эксплуатационной надежности, сокращение потерь традиционных материалов, улучшение условий производства работ, сокращение объемов привозных, грунтов |
|
Ускорение консолидации основания насыпи за счет улучшения условий отвода воды, сохранение механических свойств материалов за счет предотвращения взаимопроникания грунта насыпи и материалов основания, усиление основания |
|
II |
Откосы |
|
|
|
|
А |
Общая устойчивость откосов |
Повышение общей устойчивости, сокращение объемов земляных работ, площади отводимых земель |
|
Армирование откосов |
|
Б |
Местная устойчивость откосов |
Сокращение объемов применяемых материалов, повышение эксплуатационной надежности и сроков службы конструкция защиты откосов |
|
Замена (защита) обратного фильтра, снижение напора выклинивающихся грунтовых вод, предотвращение эрозии откоса |
|
III |
Дренирование грунтов, дренажные устройства |
|
|
|
|
A |
Дренирование нижней части земляного полотна из грунтов повышенной влажности |
Сокращение сроков до устройства покрытия, объемов традиционных материалов и приводных грунтов, улучшение условий производства работ |
|
Ускорение консолидации земляного полотна за счет улучшения условий отвода воды, защита песчаных прослоек |
|
Б |
Дренажные устройства |
Сокращение объемов применяемых традиционных материалов, повышение сроков службы дренажных устройств |
|
Фильтр, повышение эффективности дренирования |
|
IV |
Временные дороги |
Повышение эксплуатационных качеств дороги, сокращение объемов применяемых традиционных материалов, улучшение условий производства работ, увеличение сроков службы, обеспечение проезда на период строительства |
|
Усиление основания, предотвращение взаимопроникновения грунта насыпи и основания |
Примечание. 1 - рулонный синтетический материал; 2 - дорожная одежда; 3 - песчаный дренирующий слой; 4 - бетонные плиты.
2.1.1 Область, эффективность и целесообразность применение синтетических рулонных материалов определяются их свойствами, которые зависят от состава сырья и технологии производства.
2.1.2. Общая характеристика CM по наиболее распространенному сырью для изготовления (полиамид, полиэфир и полипропилен) приведена в табл. 2.1.
Таблица 2.1
|
Сырье |
|||
|
Полиэфир |
Полиамид |
Полипропилен |
|
|
Водостойкость |
Хорошая |
Снижение прочности на величину до 30% при увлажнении |
Хорошая |
|
Биостойкость |
» |
Хорошая |
» |
|
Стойкость к действию кислотных и щелочных сред, возможных в условия эксплуатации концентраций |
Снижение прочности в щелочной среде (гидроокись кальция) |
Снижение прочности при рН среды менее 5,5 |
» |
|
Светостойкость |
Хорошая |
Плохая |
Плохая |
|
Механические свойства волокон |
Хорошие |
Хорошие |
Низкая длительная прочность |
Предпочтительным видом сырья для изготовления СМ дорожного назначения является полиэфир. Следует ограничивать применение полиамидных СМ в кислотных средах (рН<5,5), полипропиленовых - в условиях длительного действия значительной по величине нагрузки, полиэфирных - на контакте со слоями, содержащими известь, цемент.
2.1.3. Для изготовления СМ дорожного назначения может применяться вторичное сырье, в том числе содержащее несинтетические компоненты, при условии соответствия вырабатываемых на их основе рулонных материалов требованиям п. 2.2.
2.1.4. По технологии производства СМ разделяют на тканые и нетканые. Тканые СМ имеют регулярную структуру, повышенную прочность, высокий модуль упругости, но не обладают достаточной водопроницаемостью в плоскости полотна. Такие материалы целесообразно применять в случаях, когда прослойки СM должны выполнять функции армирования, защиты, но не дренирования.
2.1.5. Свойства нетканых СМ, представляющих собой хаотичное переплетение коротких или длинных волокон, зависят от способа упрочнения (соединения волокон). Нетканые СМ упрочняют механическим, термическим или химическим способами.
Механические упрочненные (иглопробивные) нетканые синтетические материалы (типа дорнит) отличаются достаточной прочностью, высокой деформативностью, защитными свойствами, водопроницаемостью в плоскости полотна и направлении, ей нормальном. Их основные функции - дренирование и защита, в отдельных случаях при возникновении больших деформаций - армирование (например, при укладке в основание тонкой насыпи временной дороги). Термически упрочненные нетканые СМ имеют небольшую деформативность, применимы в качестве фильтров. При химическом упрочнении (склеивании) свойства получаемых полотен определяются видом связующего. Обычно такие материалы подвержены быстрому старению в условиях эксплуатации и применимы как временные элементы дорожных конструкций.
2.2.1. Синтетические материалы должны поставляться, как правило, в рулонах массой до 80 кг, предпочтительно с длиной полотна не менее 40 м и шириной не менее 1,5 м. Исключение могут составить синтетических материалы, применяемые в дренажных конструкциях или для укрепления обочин. Рулоны необходимо транспортировать и хранить в закрытой светонепроницаемой упаковке.
2.2.2. СМ не должны иметь разрывов, вырывов и других нарушений сплошности. Максимальные отклонения от нормируемых значений по однородности (плотность и толщина), ровности кромок, ширине полотна не должны превышать 5% (не более 5 см по ширине) в сторону уменьшения от среднего значения.
2.2.3. Вид исходного сырья и структура СМ по возможности должны обеспечивать соединение отдельных полотен механическим, тепловым или другим технологически простым способом, в том числе и непосредственно на месте производства работ.
2.2.4. CM должны обладать стойкостью к воздействию воды, химически и биологически активных сред, температуры (в диапазоне -30 + 40 °С), солнечного света при его действии в течение 10 ч. Под стойкостью понимается сохранение свойств СМ во времени или их снижение до величин, обеспечивающих работоспособность конструкции на заданные сроки эксплуатации. При отсутствии данных изменение прочности СМ в процессе эксплуатации за период Т (лет) в средних грунтовых условиях может быть ориентировочно оценено путем умножения начального ее значения на поправочный коэффициент, принимаемый по табл. 1 приложения 2 или рассчитываемый по формуле
, (2.1)
где а, в - параметры, зависящие от вида сырья СМ (при изготовлении СМ на основе, полиэфира и полипропилена а = 0,09, в = 0,5; полиамида а = 0,4, в = 1).
предел прочности на растяжение Rр;
условный модуль деформации (упругости) при растяжении Ед(см) (Ecм);
общее относительное удлинение при разрыве eо;
сопротивляемость местным повреждениям;
коэффициент фильтрации Кф;
фильтрующая способность;
стойкость к агрессивным воздействиям;
сопротивление сдвигу на контакте с грунтом.
2.2.6. При разработке и предварительном выборе новых видов СМ за основу могут быть взяты показатели их свойств, приведенные в табл. 2.2. Окончательный выбор СМ для данной области применения осуществляется с помощью расчетов, приведенных в соответствующих пунктах Указаний.
Таблица 2.2.
|
Область применения, функциональное назначение |
Показатели (по п. 2.2.5) |
|||||
|
Rр, Н/см, не менее |
eо, % |
Ед(см)×Н/см, Н/см, не менее |
Есм, Н/см, не менее |
Кф, м/сут, не менее |
||
|
1 |
2 |
3 |
4 |
5 |
0 |
7 |
|
1 |
Активная зона земляного полотна, нижние слои дорожных одежд дороги с покрытиями: |
|
|
|
|
|
|
А |
усовершенствованными: |
|
|
|
|
|
|
50 |
<30* |
350 |
450 |
- |
||
|
|
40 |
<70* |
70* |
100* |
100 |
|
|
|
50 |
<70* |
150 |
200 |
20* |
|
|
Б |
переходными и низшими: |
|
|
|
|
|
|
50 |
<50* |
250 |
350 |
- |
||
|
50 |
<70* |
100 |
150 |
20* |
||
|
2 |
Обочины: |
|
|
|
|
|
|
50 |
<70* |
250 |
350 |
- |
||
|
|
40 |
<70* |
100* |
150* |
40 |
|
|
3 |
Слабые основания насыпей: |
|
|
|
|
|
|
|
армирование и защита (обеспечение устойчивости основания и откосов, пп. 3.2.8, 3.2.9) |
70 |
<50 |
150 |
- |
20* |
|
|
дренирование и защита (ускорение консолидации основания, п. 3.1.11) |
50 |
70-120 |
70* |
- |
100 |
|
4 |
Откосы: |
|
|
|
|
|
|
армирование (обеспечение общей устойчивости, п. 4.2.4) |
100 |
<50 |
300 |
400 |
- |
|
|
|
защита |
30 |
>30* |
- |
- |
20* |
|
5 |
Земляное полотно из грунтов повышенной влажности: |
|
|
|
|
|
|
|
дренирование (п. 5.1.3) |
30 |
60-120* |
70* |
100* |
100 |
|
|
защита (п. 5.1.2) |
30 |
70* |
100* |
150* |
20 |
|
6 |
Траншейный дренаж, защита и дренирование (п. 5.2.5) |
30 |
>30* |
- |
- |
50 |
|
7 |
Временные дороги на слабых основаниях, армирование и защита (п. 3.2.10) |
60 |
70-120* |
100 |
- |
40 |
Примечания. 1. В таблице приведены показатели CM на момент их производства.
2. Показатели, отмеченные знаком *, представляют собой наиболее приемлемые значения и строго не нормируются; знак (-) обозначает, что показатель не нормируется.
3. Пункты Указаний, на которые сделана ссылка в графе 2, содержат дополнительные требования к СМ для данной области применения и функционального назначения.
4. При необходимости выполнении СМ нескольких из перечисленных в графе 2 функций следует руководствоваться максимальными значениями показателей.
5. Значения показателей по графам 3 - 6 даны для испытаний СМ по методике одноосного растяжения (см. п. 2.3.1, приложение 1А). Их отклонение в меньшую сторону у анизотропных СМ допускается только для случая применения последних при армировании откосов и в направлении, нормальном действию растягивающих напряжений.
2.3.1. Механические характеристики СМ (Rр, Ед(см), Есм, eо - см. п. 2.2.5) являются основными показателями, от которых зависит возможность, а также эффективность их применения. Они определяются предприятиями-изготовителями по ГОСТ 15902.3-79 путем одноосного растяжения образцов размерами 50´200 мм (100 мм - деформируемая часть). Упрощенный вариант данного метода, более доступный производственным подразделениям, изложен в приложении 1А.
Поскольку условия деформирования образцов в данных испытаниях не соответствуют в ряде случаев условиям деформирования СМ в дорожной конструкции, полученные результаты применимы прежде всего для сопоставления СМ различных видов, предварительного их выбора и примерной оценки области применения. Такие испытания также применимы для оценки характеристик СМ, если последние не воспринимают значительных усилий в дорожной конструкции (фильтры дренажных устройств, обратные фильтры, защитные прослойки для повышения местной устойчивости откосов). В других же случаях они должны быть дополнены испытаниями, отражающими особенности работы прослоек из СМ в реальных условиях, а именно:
при усилении верхней части дорожных конструкций, обочин, армировании слабых оснований насыпей - методом сферического растяжения по приложению 1Б (возможно применение других аналогичных методов, предусматривающих испытание СМ в условиях сложного напряженного состояния);
при армировании откосов с целью повышения их общей устойчивости - методом длительного растяжения по приложению 1В.
2.3.2. В случае возможности возникновения в отдельных точках СМ значительных локальных усилий (укладка СМ на контакте с крупнофракционными материалами, например под слой гравийного или щебеночного основания дорожной одежды) должна быть оценена сопротивляемость СМ местным повреждениям в соответствии с приложением 1Г.
2.3.3. Водопроницаемость CM, выполняющих функции дренирующих прослоек, оценивают по значениям коэффициентов фильтрации в плоскости полотна и нормальном ей направлении. В первом случае испытания проводят, пропуская воду порциями 30 см3 вдоль блока из 2 - 4 образцов CM, обжатых давлением не менее 0,01 МПа, и фиксируют время истечения. Во втором испытания проводят по методике, принятой для песка, заменяя его на блок из 20 - 30; образцов СМ. Коэффициенты фильтрации Кф определяют по формуле
, (2.2)
где Q - расход воды, м3; t - время истечения, с; I - градиент фильтрации; F - площадь сечения образцов, см2; Dt - температурная поправка (аналогично испытаниям грунтов).
Как правило, следует пользоваться данными организаций и институтов по водопроницаемости СМ данного вида и табличными значениями (приложение 5).
2.3.4. Стойкость CM к агрессивным воздействиям определяет срок их службы и оценивается специальными испытаниями, проводимыми предприятиями-поставщиками или разработчиками СМ. Испытания заключаются в воздействии на образцы СМ водной среды, растворов химически активных веществ реально возможных концентраций (рН 2 - 11), биологических и температурных (в диапазоне -30 - 40°С) факторов с оценкой изменения механических характеристик образцов. Испытания проводятся на основе ГОСТ 9.022-74 «Ткани из натуральных, искусственных и синтетических волокон, кожа искусственная и материалы пленочные. Методы испытаний на старение в природных и лабораторных условиях», ГОСТ 9.060-75 «Ткани. Метод лабораторных испытаний на устойчивость к микробиологическому разрушению», ГОСТ 12020-72 «Пластмассы. Метод определения стойки к действию химических сред». При отсутствии данных по стойкости СМ дорожные организации должны получить соответствующую информацию в специализированных организациях-разработчиках СМ.
Стойкость СМ к агрессивным воздействиям в целом или к воздействию отдельных факторов можно не оценивать при их изготовлении из чисто синтетического сырья и требуемом сроке службы не более одного года (с учетом п. 2.1.2); при сроке службы более года тех же материалов, если стойкость к воздействию отдельных факторов составляющего сырья известна; при незначительном воздействии биологических, химических и температурных факторов. Стойкость СМ к агрессивным воздействиям должна оцениваться по всех случаях, если в состав сырья входят несинтетические компоненты в любом количестве, а также если синтетические материалы упрочняются химическим способом.
2.3.5. Сопротивление сдвигу СМ на контакте с окружающим грунтом определяют во всех случаях, когда в результате внешних воздействий возможен сдвиг СМ и контактирующего с ним грунта относительно друг друга, например при армировании откосов, в соответствии с приложением 1Д.
В отдельных случаях для повышения сопротивления сдвигу на контакте в СМ целесообразно создавать отверстия диаметром 1,5 - 4 см на расстоянии до 1 - 3 м друг от друга 1.
1 А. с. № 585249 (СССР).
2.3.6. Другие из названных в п. 2.2. характеристик СМ определяют следующим образом:
поверхностную плотность (массу 1 м2) -взвешиванием образца размером 500´500 мм с увеличением полученного результата в 4 раза. Точность взвешивания 5 гс;
толщину - замером ее по каждой из сторон пригруженного нагрузкой 1 Н образца размером 50´200 мм для нетканых и замером ее в трех точках на расстоянии не менее 20 мм от кромки полотна для других материалов с вычислением среднего значения. Точность замеров 0,05 мм. Замеры выполняют толщиномерами, микрометрами. (ГОСТ 6507-78). В условиях строительных организаций допускается применение штангенциркуля;
ширину - измерением металлической линейкой (ГОСТ 427-75) с точностью до 5 см.
3.1.1. Принимаемые решения по введению в дорожную конструкцию прослоек из рулонных синтетических материалов должны обеспечивать максимальное использование комплекса их эксплуатационных свойств для полной реализации возможностей СМ как армирующих, дренирующих (гидроизолирующих) и защитных элементов.
В зависимости от конкретных условий строительства и ставящихся целей такие прослойки устраивают в верхней части дорожных конструкций (пп. 3.1.2 - 3.1.9) или в нижней части (основании) земляного полотна (пп. 3.1.10 - 3.1.14).
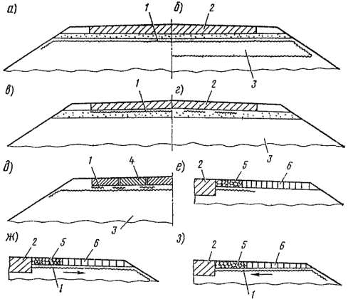
3.1.2. Усиление верхней части земляного полотна, нижних конструктивных слоев дорожной одежды и обочин направлено на повышение прочности дорожной конструкции. Оно может выполняться введением армирующей прослойки СМ тканого и нетканого типов, если их характеристики соответствуют требованиям табл. 2.2. Основные конструктивные решения приведены на рис. 1.
Рис. 1. Прослойки из CM в верхней части дорожных конструкций:
1 - СМ; 2 - дорожная одежда проезжей части; 3 - земляное полотно; 4 - покрытие из железобетонных плит; 5 - укрепление краевой полосы обочины; 6 - укрепление остановочной полосы обочины
3.1.3. При армировании с одновременным улучшением условий дренирования прослойки СМ укладывают на всю ширину земляного полотна на контакте между песчаным дренирующим слоем и грунтом (рис. 1, а). При повышенной влажности грунтов земляного полотна возможно устройство одновременно двух прослоек из СМ (на поверхности земляного полотна и на глубине 0,5 - 0,8 м) с объединением их в обойму (рис. 1, б). В таких случаях следует использовать СМ нетканого типа, удовлетворяющие дополнительным требованиям п. 5.1.5, а при расчете учитывать положения п. 5.2.
3.1.4. При армировании верхней части дорожных конструкций, если одновременно не ставят цели улучшения условий дренирования, СМ укладывают непосредственно под нижний слой основания дорожной одежды только в пределах ширины проезжей части (рис. 1, в). К СМ в этом случае предъявляют дополнительные требования по деформативности (п. 3.2.2).
3.1.5. Если основание дорожной одежды представлено крупнофракционным материалом (щебень, гравий, шлак), прослойка СМ дополнительно выполняет защитные функции (см. п. 1.3). В этом случае можно не устраивать защитные слои из традиционных дорожно-строительных материалов, рекомендуемых п. 2.39 Инструкции по проектированию дорожных одежд нежесткого типа ВСН 46-83, Минтрансстрой СССР. М.: Транспорт, 1985 г. К СМ предъявляют дополнительные требования по сопротивляемости местным повреждениям (см. п. 2.2) и деформативности (п. 3.2.3).
При небольшой распределяющей способности дорожной одежды (дороги с переходным типом покрытия) и отсутствии необходимости выполнения СМ других функций возможно устройство защитных прослоек только в пределах полос наката (рис. 1, г). Такое решение не следует применять, если грунт под СМ имеет повышенную влажность.
3.1.6. Прослойки СМ в качестве защитных целесообразно использовать также для обеспечения принятой технологии устройства слоя основания - п. 3.1.7 (песчаного дренирующего слоя - п. 5.1.2), улучшения работы сборных железобетонных покрытий - п. 3.1.8.
3.1.7. Защитные прослойки из СМ для обеспечения принятой технологии устройства основания целесообразны в сложных условиях строительства: грунты земляного полотна повышенной влажности, значительная интенсивность движения в период строительства. Они выполняют свои функции только в период строительства дороги и могут создаваться из относительно недолговечных рулонных материалов - несинтетических или включающих в значительном объеме несинтетические компоненты. В частности, защитные прослойки на период строительства могут быть устроены из дешевых рулонных бумажных материалов (приложение 6).
3.1.8. Защитные прослойки из СМ под швами сборных железобетонных плит позволяют исключить выплески песка из-под плит при нарушении его динамической устойчивости, предотвратить размыв песка под швами и кромками покрытия. Полосы СМ, шириной не менее половины ширины плиты, укладывают как под продольные, так и под поперечные швы, причем в последнем случае их выводят на откосную часть (рис. 1, д). Следует применять нетканые СМ толщиной более 3,5 мм, с коэффициентом фильтрации более 50 м/сут и прочностью более 70 Н/см.
Прослойки из СМ при двухстадийном строительстве устраивают на второй стадии после завершения консолидации грунта при перекладке плит. На дорогах IV категории они заменяют монтажный слой из песко-цемента и основание из песчано-гравийной смеси при обеспеченной морозоустойчивости конструкции.
3.1.9. Прослойки из СМ для укрепления обочин применяют в качестве армирующих, защитных, дренирующих элементов. Их укладывают только в пределах краевой укрепительной полосы (рис. 1, е), если нет необходимости в выполнении ими дренирующих (гидроизолирующих) функций и не ставится задача защиты обочины от эрозии, или в противном случае на всю ширину обочины с выводом на откосную часть (рис. 1, ж). Для обеспечения лучших условий работы конструкции укрепления, обочины допустимо в отдельных случаях устраивать прослойки СМ с обратным уклоном (рис. 1, з), если это не будет способствовать дополнительному увлажнению земляного полотна (например, укладка СМ, водопроницаемых только в направлении, нормальном к плоскости полотен (сетки, тканые CM) - на водопроницаемое основание).
При выборе места расположения СМ в конструкции укрепления обочин (уровень заложения, размещение по ширине) следует учитывать положения пп. 3.1.2 - 3.1.6 Указаний. Если применяемый СМ выполняет функции гидроизолирующей прослойки и занимает не менее 2/3 ширины обочины, при расчете дорожной одежды проезжей части величина расчетной влажности грунтов земляного полотна может быть снижена на 0,04 (в долях от Wт) во II-III и на 0,02 в IV-V дорожно-климатических зонах.
3.1.10. При строительстве постоянных и временных дорог в районах распространения слабых грунтов (торф, переувлажненные минеральные грунты) целесообразно применение прослоек из СМ в качестве армирующих, дренирующих и защитных элементов в нижней части (основания) насыпей, параметры которых выбираются согласно положениям действующих документов. Их устройство позволяет снизить объемы земляных работ (исключение в ряде случаев необходимости удаления слабых грунтов, сокращение расхода привозных грунтов), обеспечить устойчивость основания и откосов насыпей, сократить сроки консолидации основания дорог. Устройство прослоек также исключает (уменьшает) взаимопроникновение материалов насыпи и грунта основания, улучшает условия отсыпки и уплотнения насыпи, что облегчает технологию производства работ, сокращает потери материала насыпи.
Рис. 2. Прослойки из CM в нижней части и основании насыпи постоянных (а, б) и временных (в, г, д) дорог:
1 - СМ; 2 - насыпь; 3 - слабое основание; 4 - местный грунт (торф); 5 - лежневой настил
3.1.11. При устройстве насыпей постоянных дорог для решения задачи ускорения консолидации грунтов (уменьшения сроков до устройства покрытия) применяют нетканые иглопробивные СМ толщиной более 3,5 мм (толщина под нагрузкой от веса насыпи не менее 2 мм), отвечающие требованиям по водопроницаемости. Прослойку из СМ устраивают непосредственно на слабом грунте - по всей ширине подошвы насыпи с запасом не менее 1,0 м в каждую сторону (рис. 2, а). Полотна СМ укладывают с перекрытием в, назначаемым с учетом осадки насыпи (в = 0,15+0,2S, м), рассчитанной в соответствии с действующими нормативными документами. Ориентировочные значения осадок S (м) для насыпей высотой 2 - 3 м, возводимых на болотах глубиной до 8 м приведены в табл. 3.1.
Подобное решение рекомендуется применять, если коэффициент фильтрации песка нижней части насыпи менее 1 м/сут. Расчетную степень консолидации основания, по достижении которой допустимо устройство покрытия, можно в этом случае снизить до 0,95 от требуемой нормами для дорог не выше III категории.
Таблица 3.1
|
Материал основания |
||
|
Плотные торфы (коэффициент пористости до 15) |
Высокопористые торфы (коэффициент пористости более 15) |
|
|
2 |
0,5 |
0,9 |
|
4 |
1,0 |
1,5 |
|
6 |
1,5 |
2,0 |
|
8 |
2,0 |
2,5 |
3.1.12. Обеспечение устойчивости основания и откосов постоянных дорог достигается путем увеличения жесткости нижней части насыпи. В этом случае должна быть обеспечена равнопрочность устраиваемой прослойки из СМ в поперечном направлении (п. 3.3.4). СМ укладывают в один или в два слоя, объединяя их в обойму (рис. 2, б). Устойчивость откосов оценивают по методике п. 3.2.7.
3.1.13. Конструкции по рис. 2, а, б применяют на дорогах II - V категорий на болотах I, II типов, а для дорог I категории с асфальтобетонным покрытием на болотах I типа. Минимальную высоту насыпи назначают из условий снегозаносимости, возвышения низа дорожной одежды над уровнем поверхностных вод и исключения упругих колебаний от проходящего транспорта.
Нижняя часть насыпи постоянных дорог может быть возведена при применении СМ из местных грунтов в следующих случаях:
на дорогах III - V категории на болотах I, II типов. Местный грунт связный с Кw£1,2 (Кw - коэффициент переувлажнения, отношение фактической влажности к оптимальной). СМ укладывают на поверхность местного грунта (аналогично рис. 2, г);
на дорогах IV-V категорий на болотах I, II типов. Местный грунт связный с Кw>1,2 или торф сильноразложившийся влажностью до 400 - 500%. Местный грунт заключают в замкнутую обойму (см. рис. 2, б).
Толщину верхней части насыпи назначают в этих случаях расчетом исходя из исключения упругих колебаний от проходящего транспорта, но не менее 1,0 м для дорог с асфальтобетонным и 1,2 м с цементобетонным покрытием. Толщину нижней части насыпи назначают из условия возвышения низа дорожной одежды над уровнем поверхностных вод или поверхности слабого основания с учетом осадки насыпи.
3.1.14. При устройстве временных автомобильных дорог, подъездов, обеспечении проезда на период строительства в сложных грунтово-гидрологических условиях СМ укладывают непосредственно на основание (рис. 2, в), в нижней части насыпи (см. рис. 2, г) или на лежневой настил, фашинную выстилку (рис. 2, д). При этом:
насыпь по рис. 2, в устраивают на болотах I типа глубиной до 4 м, сложенных плотным торфом, на минеральных грунтах повышенной влажности, если толщина насыпи по условию обеспечения проезда (п. 3.1.15) превышает осадку насыпи за период эксплуатации не менее чем на 0,2 м (на подтопляемых участках - не менее чем на глубину поверхностных вод +0,2 м). При возможности подтопления целесообразно отгибать край СМ на откос с анкеровкой его в теле насыпи;
насыпь на рис. 2, г устраивают на глубоких болотах I типа, сложенных торфом малой и средней влажности, на болотах II типа и в перечисленных выше случаях, когда условие превышения толщины насыпи над осадкой за период эксплуатации не соблюдается. Нижняя часть насыпи может быть отсыпана из местного торфяного грунта с обязательным его уплотнением;
насыпь толщиной 0,6 - 0,7 м по рис. 2, д устраивают на болотах II - III типов, сложенных сильносжимаемым слаборазложившимся торфом и на болотах сплавинного типа.
Минимальную толщину насыпей (см. рис. 2, в, г) по условию обеспечения проезда (hп) назначают по расчету или ориентировочно по табл. 3.2.
Таблица 3.2
|
Среднемесячная интенсивность движения в одном направлении, авт/сут |
Минимальная толщина насыпей hп, см, при грунтах основания |
|||
|
Осушенный торф (W<300 %) |
Маловлажный торф (W=300¸600 %) |
Глинистый грунт (W<0,9Wт) |
Заторфованный или глинистый грунт (W>0,9 Wт) |
|
|
Одиночные автомобили |
40 - 60 |
50 - 70 |
25 - 40 |
40 - 60 |
|
До 50 |
50 - 80 |
60 - 90 |
40 - 60 |
50 - 80 |
|
Свыше 50 |
60 - 90 |
70 - 100 |
50 - 80 |
60 - 90 |
|
Сверхтяжелые нагрузки (разовый проезд) |
60 - 80 |
60 - 90 |
40 - 60 |
60 - 90 |
Примечание. Общая продолжительность периодов эксплуатации дороги с названной интенсивностью до одного года; меньшие значения толщин принимают для насыпей из песчано-гравийных смесей оптимального состава, большие - для насыпей из мелких непылеватых песков.
3.1.15. Параметры конструкций по пп. 3.1.13 и 3.1.14 принимаются согласно рекомендаций 1 и настоящих Указаний.
1 Методические рекомендации по применению нетканых синтетических материалов при строительстве автомобильных дорог на слабых грунтах. Союздорнии, М., 1981.
3.2.1. Расчет дорожных конструкций с армирующими и защитными прослойками из CM в верхней части (активная зона земляного полотна, нижние конструктивные слои дорожной одежды, обочины) проводят в два этапа. На первом этапе рассчитывают конструкцию без прослоек. При этом:
дорожную одежду проезжей части дороги рассчитывают в соответствии с Инструкцией по проектированию дорожных одежд нежесткого типа BCН 46-83 Минтрансстроя СССР. М.: Транспорт, 1985, с учетом п. 3.1.9 Указаний;
конструкции укрепления обочин рассчитывают по Техническим указаниям по укреплению обочин автомобильных дорог BCН 39-79 Минавтодора РСФСР. М.: Транспорт, 1980.
На втором этапе после назначения вида материалов, количества и толщин слоев проводят корректировку (уменьшение) толщин, соответствующую усилению конструкции и результате применения СМ (пп. 3.2.2 - 3.2.5 Указаний). При этом:
оценивают по пп. 3.2.2 и 3.2.3 соответствие применяемого СМ требованиям по деформативности;
выполняют расчеты по п. 3.2.3 (защитные прослойки) и по п. 3.2.4 (армирующие прослойки - перерасчет толщин слоев);
оценивают по п. 3.2.5 соответствие прочности СМ действующим в конструкции напряжениям.
При уменьшении толщин слоев проводят также повторный расчет дорожной одежды, по сопротивлению сдвигу в грунтах, слабосвязных материалах и сопротивлению растяжению при изгибе монолитных слоев в соответствии с ВСН 46-83, причем при расчете дорожной одежды по сопротивлению сдвигу (п. 3.36 и 3.42 ВСН 46-83) величину активных напряжений сдвига в грунте, расположенном непосредственно под армирующей или защитной прослойкой из СМ (грунт земляного полотна, песок подстилающего слоя), уменьшают в 1,2 раза. Предварительно проводят расчет дренирующего слоя с СМ из условия осушения по п. 5.2, если СМ выполняют функцию дренирования.
3.2.2. Корректировку толщин и количества слоев дорожной одежды, проводят по п. 3.2.4, если СМ выполняют функции армирующих прослоек при условии, что Есм не менее 350 Н/см и удовлетворяется неравенство
, (3.1)
где 0,01 - коэффициент приведения размерностей; f - коэффициент, зависящий от методики определения Есм (f = 2 - для методики приложения 1А, f = 1 - для методики приложения 1Б и других методик, предусматривающих проведение испытаний в условиях сложного напряженного состояния); Есм - условный модуль упругости СМ, принимаемый по результатам испытаний или приложению 5, Н/см; d - толщина синтетического материала, см; Е0 - модуль упругости на поверхности лежащих под СМ грунтовых слоев (см. п. 3.2.4), МПа.
3.2.3. Если 150£Есм<350 Н/см и прослойку из СМ укладывают на контакте «крупнофракционный материал (щебень, гравий) - грунт», модуль упругости на поверхности грунта без расчета повышают в 1,2 раза. Корректировку толщин в этом случае не выполняют, а конечный эффект от применения СМ выражают в увеличении межремонтных сроков службы (п. 7.6).
3.2.4. Корректировку толщин проводят следующим образом:
приводят к двухслойной назначенную согласно ВСН 46-83 конструкцию дорожной одежды (рис. 3, а), границей между слоями которой является прослойка СМ (рис. 3, б). Верхний слой имеет параметры (обозначения по рис. 3):
; (3.2)
.
Рис. 3. Схемы к расчету по п. 3.2
Рис. 4. Номограмма к расчету по п. 3.2
Нижний слой имеет модуль упругости Е0, равный модулю упругости на поверхности лежащих под СМ грунтовых слоев. Значение Е0 находят по номограмме (рис. 4). При укладке СМ непосредственно на поверхность земляного полотна Е0 равен модулю упругости грунта земляного полотна;
определяют общий модуль упругости на поверхности покрытия дорожной одежды: Еаобщ = Еобщ/a1(2) где a1(2) - коэффициент усиления, принимаемый по табл. 3 приложения 2 при известных значениях Еср, Н, Есм, Е0, D (D = 37 см);
уменьшают толщину одного из слоев дорожной одежды до соблюдения условия Еаобщ = Етр, так как Еаобщ > Еобщ ³ Етр. Для этого исходя из нового значения модуля упругости на поверхности покрытия Еаобщ последовательно сверху вниз с использованием номограммы (см. рис. 4) определяют значения модулей упругости на поверхности каждого слоя дорожной одежды вплоть до слоя, толщину которого предполагается уменьшить. По той же номограмме находят его условную толщину h¢i при найденном новом (увеличенном) значении модуля упругости на поверхности этого слоя и скорректированное значение этой толщины hia из выражения
Последовательность расчета показана в приложении 3А.
где sа, Rрасч - соответственно
напряжения, возникающие в СМ от действия колесной нагрузки, и расчетное
значение прочности СМ, МПа; 0,01 - коэффициент приведения размерностей; 1,9 -
коэффициент, зависящий от соотношения коэффициентов Пуассона грунта m0 и СМ mсм (принято m0 =
mсм = 0,3); Р - удельное
давление от колеса расчетного автомобиля, МПа;, Е0 - см. п. 3.2.2;
- безразмерный
параметр (табл. 2
приложения 2);
Кр - коэффициент, определяемый из выражения Кp =
Кn/m при значении К по п. 2.2.4; n = 0,7 для полиамидных и
полиэфирных, n = 0,4 для полипропиленовых СМ (вводится, если СМ
выполняют функции армирующей прослойки); m = 1,2 (вводится при укладке
СМ на контакте крупнофракционный материал-грунт); Rp -
прочность СМ по результатам испытаний (приложение 1А,
Б), Н/см, d - толщина прослоек СМ.
При проверке прочности на действие строительных нагрузок принимают К = 1, а параметры На и Еаср (см. сноску к табл. 2 приложения 2) - равными параметрам отсыпаемого непосредственно на СМ слоя.
3.2.6. Расчет насыпей на слабом основании с прослойкой из СМ на контакте «насыпь - слабое основание» выполняют в соответствии с действующими нормативными документами, руководствуясь также дополнительными положениями:
при расчете дорожных одежд - расчетное значение относительной влажности слабого грунта основания может быть уменьшено на 5 - 10 %;
расчетную степень консолидации основания назначают с учетом п. 3.1.11;
при применении СМ для обеспечения устойчивости основания и откосов (п. 3.1.12) расчет устойчивости откосов проводят с учетом армирующего действия СМ (пп. 3.2.7, 3.2.8, 4.2) и оценивают соответствие механических характеристик СМ условиям его применения (пп. 3.2.9, 3.2.10).
, (3.5)
где spi - предельное значение растягивающих напряжений для грунта (п. 4.2.3); n, d - количество и толщина прослоек СМ; Rдл - длительная прочность СМ (п. 3.2.8); Pi = giFiB - вес каждого из блоков, на которые разбивается откос над поверхностью скольжения; Fi, В, gi, Li - соответственно площадь, толщина, удельный вес грунта блоков и длина поверхности скольжения в их пределах; bi - угол наклона поверхности скольжения в пределах i-го блока.
Если прослойки СМ расположены также в теле насыпи, расчет выполняют по п. 4.2 Указаний, заменяя sp на Rдл для прослойки, расположенной в основании насыпи.
3.2.8. Значения длительной прочности СМ Rдл (по п. 3.2.7) назначают по результатам испытаний (см. приложение 1В). При использовании данных приложения 5 за Rдл принимают: для нетканых иглопробивных CM - 1,2sд, для остальных - sд. Для СМ, не пошедших в таблицу приложения 5, можно ориентировочно принимать:
для тканых материалов, жестких сеток из полиамидного, полиэфирного сырья Rдл = 0,7/Rр/d, полипропиленового Rдл = 0,4/Rр/d;
дли нетканых иглопробивных СМ из полиамидного, полиэфирного сырья Rдл = 0,5/Rр/d, полипропиленового Rдл = 0,2/Rр/d, Rр - предел прочности СМ, определяемый по приложению 1А.
В любом случае величина Rдл не должна превышать значения КRр/d (см. п. 2.2.4).
3.2.9. Приближенную оценку соответствия механических характеристик СМ, отвечающих требованиям табл. 2.2, условиям применения для нетканых иглопробивных и других сильно деформируемых материалов (e0³30 %) выполняют в соответствии с выражением
, (3.6)
где f - см. п. 3.2.2, m1, H - соответственно заложение откоса и высота насыпи, S - осадка насыпи, определяемая по действующим нормативным документам; e0 - общее относительное удлинение СМ при разрыве (назначается после испытаний по методике приложения 1А или по паспортным данным).
В случае применения жестких СМ с e0<30% для армирования основании (п. 3.1.12) такую оценку выполняют исходя из условий восприятия ими всего усилия, соответствующего растягивающим напряжениям sх в нижней части насыпи
, (3.7)
где H - высота насыпи; g, j - удельный вес и угол внутреннего трения грунта насыпи; остальные обозначения по п. 3.2.8, т.е. величина sх не должна превышать значения Rдл (Rдл - см. п. 3.2.8).
3.2.10. При укладке СМ в основание насыпи на лежневой настил (п. 3.1.14) должно быть проверено соблюдение условия
, (3.8)
где lп - размер пустот (щелей), перекрываемых СМ, см; Р - давление песчаной засыпки на прослойку, МПа.
3.3.1. При устройстве прослоек из СМ в применяемые технологии дополнительно вводятся операции:
подготовка подстилающего прослойку грунта;
транспортировка, распределение по участку рулонов СМ, их укладка и при необходимости соединение;
Отсыпка на СМ материала вышележащего слоя, его распределение и уплощение.
Общая технологическая схема устройства прослоек из СМ приведена на рис. 5.
3.3.2. Подготовка подстилающего СМ грунта состоит в профилировании его поверхности и уплотнении. Коэффициент уплотнения грунта должен соответствовать нормативным требованиям, поверхность не должна иметь колеи, ям и других неровностей глубиной более 5 см.
Рис. 5. Общая технологическая схема устройства прослоек из СМ:
а - продольная укладка СМ; б - поперечная укладка СМ, 1 - 9 - рулоны (полотна) СМ; 10 - установка для соединения СМ, 11 - бульдозер; 11 - автомобиль-самосвал
Рис. 6. Способы укладки CM (а, б) и отсыпка на поверхность СМ материала, лежащего выше слоя (в):
1 - рулоны СМ; 2 - уложенные полотна СМ; 3 - зона перекрытия, 4 - анкеры, 5 - место соединения полотен
При устройстве прослойки из CM в основании насыпи, сложенном слабыми грунтами, подготовка может не выполняться, если отсутствует опасность повреждения СМ. При наличии глубокой колеи или ям их засыпают грунтом, планируют автогрейдером или бульдозером. Кустарник, деревья вырубают и спиливают на одном уровне с поверхностью. В этом случае корчевка пней может не проводиться. Если в момент производства работ на участке имеются поверхностные воды, то отсыпают защитный слой из местного грунта толщиной 20 - 30 см, но не менее чем на глубину подтопления.
3.3.3. Рулоны CM транспортируют к месту производства работ непосредственно перед укладкой и распределяют по длине участка работ через расстояние, соответствующее длине полотна в рулоне.
3.3.4. Укладку полотен выполняют, как правило, вдоль земляного полотна путем раскатки рулонов вручную звеном из трех дорожных рабочих. После раскатки первых метров краевую часть (по ширине) полотна прижимают к грунту двумя-тремя анкерами (стержни диаметром 3 - 5 мм) длиной 15 - 20 см с отогнутым верхним и заостренным нижним концами. При дальнейшей раскатке производят периодическое разравнивание полотна с небольшим продольным его натяжением и креплением к грунту анкерами (или другим способом) через 10 - 15 м (через 1,5 - 2,0 м при устройстве прослойки из CM на слабом основании). Крепление выполняют во избежание смещения полотна при действии ветровой нагрузки, укладке вышележащего слоя, а также для сохранения небольшого предварительного натяжения СМ. Полотна укладывают с перекрытием не менее 0,15 м (рис. 6, а) и при необходимости дополнительно соединяют. При устройстве прослойки из СМ в основании насыпи, сложенном слабыми грунтами, величину перекрытия назначают в соответствии с п. 3.1.11, но не менее 0,3 м.
Укладку полотен в поперечном направлении выполняют, если необходимо обеспечить равнопрочность полотна по ширине насыпи (устройство прослойки с целью обеспечения устойчивости слабого основания и откосов насыпи) и невозможно обеспечить надежное соединение отдельных полотен. Величина перекрытия полотен в этом случае должна быть не менее 0,2 - 0,3 м; полотна крепят к грунту анкерами, устанавливаемыми на ширине перекрытия через 1,5 - 2,0 м.
В тяжелых грунтовых условиях возможна также укладка СМ по принципу, указанному на рис. 6, б (п. 3.3.5).
Производительность работ по укладке полотен может быть определена исходя из следующих данных: скорость раскатывания рулонов при их ширине 1,5 - 2,0 м составляет 1500 - 2000 м3/ч; потери времени на выравнивание и анкеровку полотен составляют в среднем 0,18 - 0,20 ч на одно полотно при его длине 80 - 100 м. В зависимости от условий выполнения работ, ширины полотна СМ в рулоне производительность колеблется от 1000 (грунты повышенной влажности, ширина полотна 1,5 - 2,0 м) до 10000 м2/смену (ширина полотна 4,5 м, продольная укладка).
Рис. 7. Схема установки для соединения полотен СМ тепловым способом:
1 - колеса тележки; 2 - оси тележки; 3 - ручка тележки; 4, 11, 12 - соответственно ось колеса и шарнирный блок опоры; 5 - подвижная опора; 6 - направляющий конус; 7 - CM; 8 - газовый баллон; 9 - хомут; 10 - каркас, 13 - газовая горелка
3.3.5. Соединение отдельных полотен СМ выполняют одним из технологически возможных способов (тепловое соединение, сшивание, склеивание и т.д.), которые наиболее приемлемы для данного вида синтетического материала и окружающих условий. Для обеспечения прочного соединения краевые зоны полотна в этих случаях перекрываются на 0,1 м. При соединении тепловым способом может быть применена установка 1, схема которой приведена на рис. 7.
1 А. с. № 927524 (СССР).
При производстве работ в сложных грунтово-гидрологических условиях (например, наличие грунтов повышенной влажности) для облегчения выполнения работ, улучшения их качества целесообразно соединение полотен частично или полностью выполнять за пределами участка строительства (на производственной базе строительной организации, предприятия-изготовителя). В этом случае выполняют укладку полотен увеличенной ширины. Раскатывают одно полотно поверх другого с соединением по краю одним из названных способов, а также иглопробиванием (в условиях предприятия-изготовителя), с последующим свертыванием в рулон, транспортировкой и раскладкой полученного блока полотен на месте производства работ (см. рис. 6, б).
3.3.6. Отсыпку на СМ материала вышележащего слоя необходимо вести с таким расчетом, чтобы СМ находился под действием дневного света не более 5 ч. Перед отсыпкой грунта проверяют качество усложненной прослойки путем визуального осмотра и фиксации сплошности, величины перекрытия, качества стыковки полотен. Также оценивают визуально качество самого СМ. По результатам осмотра составляют акт на скрытые работы, где приводят результаты осмотра, данные о поставщике и характеристики СМ, указанные в паспорте на партию СМ или на этикетках рулонов, а также данные, полученные при приемке СМ (прежде всего массу 1 м2 и толщину). В случае несоответствия фактических данных приведенным в паспорте, на этикетке или общим требованиям (п. 2.2 Указаний) производство работ следует приостановить и провести контрольные испытания образцов СМ (п. 2.3 Указаний).
Отсыпку материала на СМ ведут по способу «от себя» без заезда занятых на строительстве машин на открытое полотно. Толщина отсыпаемого слоя в плотном теле должна быть не менее 15 см, а при устройстве прослойки из СМ на слабом основании - не менее 20 см при разовом пропуске транспорта и не менее величин, указанных в табл. 3.2 при регулярном проезде автомобилей. Разравнивание отсыпаемого непосредственно на СМ материала ведут бульдозером с последовательной срезкой и надвижкой его не менее чем за три прохода (рис. 6, в).
При планировании производства работ следует руководствоваться положениями Технологических карт по устройству дорожных одежд и земляного полотна с применением рулонных синтетических текстильных материалов (Гидродорнии. М.: ЦБНТИ Минавтодора РСФСР, 1981), Технологической карты на возведение земляного полотна с прослойкой в основании насыпи из синтетических нетканых материалов (ВПТИТрансстрой, М.: Минтрансстрой СССР, 1985).
4.1.1. Рулонные синтетические материалы применяют как для укрепления откосов земляного полотна (повышение местной устойчивости), так и для усиления грунтового массива (повышение общей устойчивости откосов).
4.1.2. При укреплении откосов СМ служит временным или постоянным элементом, выполняющим в первую очередь функции защиты и играющим роль: покрытия на откосе, замедляющего или предотвращающего его эрозию под действием воды и ветра; арматуры, повышающей устойчивость грунтов поверхностной зоны откоса; фильтра, предотвращающего вынос частиц грунтовыми водами. В первых двух случаях применимы сплошные или мелкосетчатые СМ (сетки), в третьем - сплошные дренирующие СМ обычно нетканого типа, отвечающие требованиям раздела 2.2 настоящих Указаний. Как правило, СМ используют в комбинации с другими типами, укрепления - биологическими, несущими, защитными и изолирующими.
4.1.3. CM применяют в сочетании с биологическими типами конструкций укрепления в виде посева трав различными способами (механизированный посев по предварительно нанесенному на откосы растительному грунту слоем 10 см с содержанием гумуса не менее 2%, гидропосев с мульчированием).
СМ укладывают непосредственно на поверхность откоса под растительный грунт (рис. 8, а) или с гидропосевом трав на его поверхность для создания более плотного травяного покрова, выравнивания влажностного режима. СМ укладывают на поверхность растительного грунта с засевом трав или с гидропосевом трав непосредственно на поверхность откоса под СМ в районах с неблагоприятными для развития травяного покрова климатическими условиями или при наличии интенсивного размыва грунта для защиты семян от вымывания, создания более благоприятного температурно-влажностного режима, защиты откоса от эрозии только на период формирования травяного покрова (CM - временный элемент, рис. 8, б). Если в последнем случае СМ должен служить в качестве постоянного элемента, над ним устраивают замыкающий слой из грунтовой засыпки толщиной не менее 5 см. В сочетании с верхним замыкающим слоем из засеянного травами растительного или дренирующего грунта толщиной 10 - 30 см нетканые СМ целесообразно использовать в выемках, сложенных глинистыми грунтами повышенной влажности, при выклинивающихся водоносных грунтах. Цель применения СМ, помимо защиты откосов от размыва поверхностными водами, - предотвращение выноса грунта и образования сплывов. СМ укладывают на поверхность откоса с выводом в траншейный дренаж (рис. 8, в).
Рис. 8. Укрепление откосов земляного полотна СМ в комбинации с биологическими типами укрепления:
1 - СМ; 2 - растительный грунт; 3 - замыкающий грунтовым слой; 4 - насыпной грунт; 5 - переувлажненный грунт; 6 - траншейный дренаж; 7 - закрепление СМ у бровки откоса; 8 - грунт ПГС и др.; 9 - укрепление обочины
Рис. 9. Укрепление откосов земляного полотна СМ в комбинации с решетчатыми конструкциями (а), бетонными плитами (б) и укрепление армированием поверхностной зоны (в):
1 - СМ; 2 - решетка; 3 - заполнение решетки; 4 - упор; 5 - бетонная плита; 6 - защитный слой
СМ, применяемый как постоянный элемент, закрепляют на обочине (рис. 8, г). Целесообразно одновременно с откосами укреплять и обочины (рис. 8, д).
4.1.4. СМ применяют в сочетании с несущими решетчатыми сборными конструкциями укрепления с заполнением ячеек решетки щебнем 40 - 70 мм, камнем 50 - 100 мм, а также защитными изолирующими решетчатыми сборными облегченными конструкциями укрепления с заполнением ячеек решетки растительным грунтом с посевом трав, морозостойким неусадочным грунтом, торфо-песчаной, гравийно-песчаной смесями. В этом случае СМ укладывают непосредственно на поверхность откоса под решетку (рис, 9, а) в качестве фильтра. Такое решение применяют в сложных грунтовых условиях при водонеустойчивых легкоразмываемых грунтах неподтопляемых откосов, наличии выклинивающихся водоносных горизонтов в мокрых выемках, а также при защите подтопляемых откосов. Края СМ закрепляют на обочине, а при подтопляемых откосах - дополнительно и у их подошвы с заглублением под упор.
4.1.5. CM применяют в сочетании с несущими бетонными или железобетонными, монолитными или сборными конструкциями укрепления конусов и откосов периодически подтопляемых насыпей. Они заменяют и конструкции укрепления частично или полностью обратные фильтры из других материалов. Перед укладкой СМ на откосе, сложенном связными легкоразмываемыми грунтами, следует создавать защитный слой толщиной 10 см из средне- или крупнозернистого песка. Для облегчения технологии производства работ над СМ рекомендуется устраивать монтажный песчаный слой толщиной 5 см.
СМ в зависимости от его вида; гидрологических условий подтопления, грунтовых условий, вида применяемых бетонных конструкций укрепления укладывают в один, два слоя или в один слой с дополнительным слоем над швами плит.
Рис. 10. Применение CM для повышения общей устойчивости откосов (а, б) и расчетная схема (в): 1 - СМ
Нетканые иглопробивные СМ толщиной 3 - 4 мм, как правило, укладывают в случае укрепления откоса: сборными плитами, омоноличиваемыми по контуру - в один сплошной слой с дополнительным слоем шириной 0,5 м под швами; монолитным бетонным покрытием - в один сплошной слой; сборными плитами с открытыми швами - в два сплошных слоя. У бровки земляного полотна СМ закрепляют отсыпкой на него грунта, щебня, песчано-гравийной смеси, у подошвы - заглублением под упор (рис. 9, б).
4.1.6. В зонах, где вероятны разрушения откосов вследствие эрозии и размывов при временном подтоплении, в случаях если уплотнение откосных частей затруднено, если земляное полотно возводится из легкоразмываемых или резко снижающих свою прочность при увлажнении грунтов, целесообразно заглубление прослоек из CM в откос для армирования его поверхностной зоны (рис. 9, в). Следует, как правило, обеспечивать вывод свободных концов прослоек на откос для одновременного создания поверхностной защиты или объединять прослойки в «обоймы». Величина заделки прослоек в грунт в таких случаях должна быть не менее 1,5 м, а расстояние между ними 0,5 - 0,7 м. Армирование откосов дополняют устройством защитного слоя с последующим посевом трав.
4.1.7. CM, уложенные в откос с пересечением предполагаемой поверхности скольжения (рис. 10, а), воспринимают часть растягивающих напряжений. Этим создается возможность повысить общую устойчивость откосов; обеспечить их общую устойчивость в сложных условиях строительства, например при возведении насыпи на слабом основании (п. 3.1.12); увеличить крутизну откосов, сократив тем самым объем земляных работ, площадь отводимых под строительство земель, обеспечить строительство в стесненных условиях. Количество прослоек назначают расчетом исходя из обеспечения требуемого коэффициента запаса устойчивости, а длина их заделки lз в грунт должна превышать минимальную, назначаемую исходя из недопущения проскальзывания СМ относительно грунта (п. 4.2). При выборе места укладки прослоек СМ по высоте насыпи следует учитывать, что наиболее нагруженной от собственного веса грунта является нижняя часть насыпи. Как правило, для несвязных грунтов верхняя из прослоек должна находиться не выше чем на половине высоты насыпи и для связных - на глубине 1,0 м от поверхности насыпи, нижняя - на расстоянии 0,5 м над самой низкой точкой поверхности скольжения. В этом диапазоне армирующие слои из СМ размещают равномерно.
Для одновременного повышения и местной устойчивости прослойки укладывают с выводом на откос, а при необходимости увеличения жесткости нижней части насыпи их можно объединить в «обойму» (рис. 10, б). В этих случаях СМ способны содействовать ускорению отвода воды из тела земляного полотна.
При выводе прослоек на откос устраивают защитный замыкающий слой из растительного грунта или применяют укрепление согласно проекту.
4.2.1. При проектировании конструкций насыпей с армированными СМ откосами должны быть решены следующие задачи:
проведена оценка устойчивости откоса в виде расчета его коэффициента запаса и на основе этого подобрано необходимое число прослоек (пп. 4.2.2 - 4.2.5);
проведен расчет длины заделки, прослойки (п. 4.2.6);
назначено распределение прослоек по высоте насыпи (п. 4.1.7).
4.2.2. Расчет коэффициента запаса устойчивости армированного СМ откоса выполняют по формуле
, (4.1)
где spi - предельное значение растягивающих напряжений для грунта (п. 4.2.3); n, d - количество прослоек СМ, их толщина; Pi = giFiB - вес каждого из блоков, на которые разбивается откос над поверхностью скольжения (положение линии скольжения определяется любым известным методом, например с использованием графика Ямбу - рис. 11); Fi, В, gi, Li - соответственно площадь, толщина, удельный вес блоков и длина поверхности скольжения в их пределах (как правило, В=1); sд - расчетное значение допустимого растягивающего напряжения для СМ (п. 4.2.4); bi - угол наклона поверхности скольжения к горизонту в пределах блока.
Схема к расчету приведена на рис. 10, в.
4.2.3. Для точного определения предельного значения растягивающих напряжений для грунта spi по стандартной методике ГОСТ 12248-78 проводят испытания грунта на сдвиг при значении нормального давления sn соответствующего нормальному давлению на поверхности скольжения в данном блоке i, после чего spi рассчитывают по формуле
, (4.2)
где tпрi - предельное значение касательного напряжения при данном sni.
При известных фактических прочностных характеристиках j и С значение spi для данного грунта может быть рассчитано по формуле
, (4.3)
где sn = 0,1 МПа.
Для примерной оценки spi с использованием табличных значений j и С его величина может быть найдена из следующего выражения:
spi = К1С, (4.4)
где К1 - коэффициент, принимаемый в зависимости от значения j:
|
j, град |
£3 |
5 |
7 |
9 |
11 |
13 |
15 |
17 |
21 |
³25 |
|
К1 |
0,40 |
0,48 |
0,55 |
0,63 |
0,70 |
0,77 |
0,85 |
0,90 |
0,96 |
1,0 |
Рис. 11. График для определения положения линии скольжения
4.2.4. Величину расчетного значения допустимого растягивающего напряжения для прослойки sд назначают по результатам специальных испытаний (приложение 1В). Для проведения предварительных расчетов величину sд допускается принимать в долях от прочности СМ при растяжении Rp (Rp назначается по паспортным данным или после испытаний по методике приложения 1А):
для тканых материалов, жестких сеток из полиамидного, полиэфирного сырья sд = 0,6 Rр/d, из полипропиленового сырья sд = 0,3 Rр/d;
для нетканых иглопробивных СМ из полиамидного, полиэфирного сырья sд = 0,25Rр/d, полипропиленового sд = 0,1 Rр/d.
В любом случае величина sд не должна превышать значения КRр/d (К - см. п. 2.2.4).
4.2.5. Подбор числа прослоек арматуры выполняют по формуле
, (4.5)
где Кзап.тр - требуемый коэффициент запаса устойчивости откоса.
4.2.6. Длину заделки прослойки в грунт lз, определяют по формуле
, (4.6)
где Rр - предел прочности СМ на растяжение, определяемый по паспортным данным или методике приложения 1А; gi, hi - удельный вес и толщина слоев грунта, расположенных над верхней из прослоек; j¢ и С¢ - прочностные характеристики по контакту «арматура-грунт», определяемые по результатам испытаний (приложение 1Д).
Для примерной оценки их значения даны в табл. 4.1 в зависимости от j и С грунта.
Таблица 4.1
|
Значения прочностных характеристик для |
||
|
связного грунта |
несвязного грунта |
|
|
Тканый, нетканый, сетка |
tgj¢ = tgj, С¢ = 0,1C |
tgj¢ = 0,9tgj |
|
Пленки и другие СМ с гладкой поверхностью |
Только по результатам испытаний |
tgj¢ = 0,45tgj |
Значения длины заделки материала lз (см. рис. 10, а, б) должны быть не менее 2 м.
4.3.1. Основные технологические процессы по устройству различных конструкций укрепления с применением СМ назначаются в соответствии с действующими нормативно-техническими документами. Дополнительно выполняются лишь операции по укладке полотен СМ.
4.3.2. Операции по укладке СМ включают:
подготовку (при необходимости) траншеи вдоль бровки земляного полотна для закрепления прослойки в верхней его части (см. рис. 8, г);
транспортировку рулонов к месту строительства, их разгрузку и распределение вдоль откоса, подготовку рулонов к укладке;
укладку СМ;
закрепление полотен в верхней и (при необходимости) нижней частях откоса.
4.3.4. Рулоны транспортируют и распределяют вдоль бровки через определенное расстояние, зависящее от длины материала в рулоне, длины образующей откоса, направления раскатки рулонов.
4.3.5. Укладку полотен СМ выполняют путем продольной или поперечной раскатки рулонов по поверхности откоса. Характер раскатки определяется конкретными условиями строительства. Продольная раскатка рулонов технологически предпочтительна для относительно пологих откосов с заложением 1:2 и выше. Поперечная раскатка рулонов обеспечивает лучшие условия для закрепления создаваемой прослойки в верхней и нижней частях насыпи и большую сопротивляемость ее возникающим сдвигающим усилиям. Такая раскатка предпочтительна для укрепления откосов насыпей значительной высоты и обязательна для повышения их общей устойчивости.
Продольную раскатку рулонов выполняют вручную полосами, начиная с нижней части насыпи с взаимным перекрытием не менее 0,2 м. В процессе раскатки полотна периодически через 10 - 15 м разравнивают и прижимают к поверхности откоса анкерами или скобами. Анкеры и скобы устанавливают в 2-3 точках по ширине рулона через 5 - 6 м по его длине.
Поперечную раскатку выполняют от бровки насыпи. Для этого предварительно край полотна закрепляют анкерами или скобами на поверхности насыпи, после чего рулон постепенно опускают к подошве насыпи, обрезают, полотна разравнивают с легким натяжением за нижний конец и закрепляют через 4 - 5 м анкерами или скобами. Рулон поднимают на поверхность откоса и повторяют операцию. Соседние полотна должны иметь перекрытие не менее 0,1 - 0,15 м. Перемещение рулона в нижнее положение с одновременной раскаткой и обратно можно выполнять вручную с помощью установки в центр рулона тонкой трубки или стержня и веревки.
4.3.6. Если предусмотрено дополнительное закрепление СМ у подошвы, например под упором (см, рис. 9, а, б), и в верхней части, например в траншее (п. 4.3.3), дополнительно по местам перелома траншей выполняют прижатие полотен к грунту анкерами.
Траншею в верхней части насыпи после укладки СМ заполняют песчано-гравийной смесью, щебнем, местным грунтом и уплотняют.
При устройстве конструкций укрепления откосов по п. 4.1.6, предусматривающих заглубление СМ в тело земляного полотна, укладку полотен СМ выполняют в процессе послойного возведения земляного полотна. При этом рулоны раскатывают в продольном направлении, если ширина полотен достаточна с точки зрения их заделки в грунт или есть возможность обеспечить равнопрочность швов при соединении отдельных полотен. В остальных случаях рулона СМ раскатывают в поперечном к оси насыпи направлении.
Раскатку рулонов выполняют от предварительно обозначенной линии разметки с периодическим разравниванием, натяжением и креплением полотен к поверхности грунта анкерами в двух-трех местах по ширине рулона и через 10 - 12 м по длине. Величина взаимного перекрытия соседних полотен - не менее 0,2 м при выводе. СМ на поверхность откоса; в других случаях полотна укладывают вплотную без перекрытия.
Если предусмотрен вывод СМ на поверхность откоса, свободные его края крепятся к поверхности откоса ниже уровня укладки СМ анкерами или скобами.
5.1.1. Дренирование грунтов является эффективным средством повышения прочности земляного полотна. Оно осуществляется с помощью дренирующих слоев, устраиваемых в нижней части земляного полотна для ускорения консолидации слагающих ее переувлажненных грунтов (рис. 12, а, б), непосредственно под дорожной одеждой (рис. 12, в), траншейным дренажем мелкого и глубокого заложения и т.д. (рис. 12, в, г, д, е).
Применение при их устройстве СМ позволяет сократить объем дренирующего материала и продлить срок эффективной работы дренажа за счет уменьшения (исключения) его заиливания, исключения перемешивания дренирующего материала с грунтом, ускорения отвода воды.
Рис. 12. Применение СМ для дренирования грунтов:
1 - СМ; 2 - песок; 3 - дорожная одежда; 4 - дренаж мелкого заложения; 5 - глиняный экран; 6 - щебень; 7 - трубчатая дрена
5.1.2. Прослойки из CM в сочетании с песчаными дренирующими слоями в нижней части земляного полотна, рассчитываемыми согласно Методическим рекомендациям по сооружению земляного полотна автомобильных дорог из грунтов повышенной влажности (М.: Союздорнии, 1980), устраивают для защиты от перемешивания грунта и материала дренирующего слоя на период строительства (см. рис. 12, а). Для этого используют СМ, как правило, нетканого типа толщиной не менее 1,5 мм, отвечающие требованиям табл. 2.2. Толщина дренирующих слоев при применении таких СМ может быть уменьшена на 20%.
Расстояние между дренирующими слоями составляет не более 2 м для суглинков и 1,5 м для тяжелых суглинков и глин. Верхний слой должен размещаться на расстоянии не менее Н¢ от поверхности земляного полотна в условиях, указанных в табл. 5.1.
5.1.3. Нетканые иглопробивные СМ толщиной не менее 3,5 мм при соблюдении требований по водонепроницаемости могут в таких случаях выполнять функции самостоятельных дренирующих элементов, заменяющих песчаные слои в нижней части земляного полотна. Прослойки из СМ устраивают на всю ширину насыпи с поперечным уклоном 4‰ и выводом краев полотен на откос. Для снижения степени их заиления над и под прослойкой из СМ следует создавать песчаный защитный слой минимальной толщины (см. рис. 12, б).
Таблица 5.1
|
Минимальное расстояние от поверхности земляного полотна до верхнего дренирующего слоя Н¢, м, при значении Кw |
|||||
|
1,1 |
1,2 |
1,3 |
1,4 |
1,5 |
|
|
Легкий суглинок |
3,0 |
2,5 |
2,25 |
2,0 |
1,5 |
|
Тяжелый суглинок и глина, суглинок пылеватый |
5,5 |
5,0 |
4,35 |
3,5 |
2,5 |
Примечание. Кw - коэффициент переувлажнения грунтов земляного полотна (отношение фактической влажности к оптимальной).
5.1.4. Если отдельные полотна СМ укладывают поперек земляного полотна или при продольной укладке предусмотрено соединение полотен сшиванием, возможно одновременно решить задачу повышения общей устойчивости откосов (см. п. 4.2).
5.1.5. Прослойки из СМ в сочетании с песчаным дренирующим слоем дорожной одежды (см. рис. 12, в) устраивают из нетканых упрочненных иглопробиванием СМ, отвечающих требованиям табл. 2.2 и имеющих толщину не менее 3,5 мм и вес не менее 300 г/м2. Рекомендуемое начальное значение коэффициента фильтрации СМ в плоскости полотна при обжатии нагрузкой 0,01 МПа составляет 140 м/сут, но не менее 100 м/сут. Если предусмотрен сброс воды по прослойке из СМ непосредственно в продольный трубчатый дренаж, отношение коэффициента фильтрации СМ в нормальном плоскости полотна направлении к коэффициенту фильтрации грунта должно быть больше 2 при дренировании песчаных грунтов, больше или равно 10 при дренировании глинистых грунтов. Расчет дренирующих слоев с прослойками СМ выполняют согласно п. 5.2.
5.1.6. Прослойки из СМ по п. 5.1.5 укладывают непосредственно на земляное полотно под песчаный дренирующий слой по всей ширине последнего (см. рис. 12, б), их края должны быть выведены на откосную часть не менее чем на 0,5 м. В этом случае обеспечивается эффективное функционирование дренирующего слоя, создаваемого в том числе из песков средней крупности и мелких с низким коэффициентом фильтрации (1 - 3 м/сут).
5.1.7. Если грунты земляного полотна содержат более 50% частиц размером 0,005 - 0,05 мм и менее 25% частиц крупнее 0,1 мм по массе, на контакте «CM-земляное полотно» следует предусматривать устройство технологического песчаного слоя минимальной толщины.
5.1.8. При устройстве траншейных дренажей, дренажей с трубчатыми дренами СМ используют в качестве дренирующего и защитного элемента (фильтра), обеспечивающего долговременное функционирование дренажа взамен устройства трудоемких фильтровых обсыпок. В этом случае СМ должны отвечать требованиям табл. 2.2, а возможность их применения должна быть проверена по методике, изложенной в п. 5.2.
5.2.1. Расчет песчаного дренирующего слоя дорожной одежды в сочетании с прослойкой из СМ и проверка возможности применения СМ в качестве фильтра изложены соответственно в пп. 5.2.2, 5.2.4 и 5.2.5. После назначения толщины дренирующего слоя по п. 5.2.2 проводят перерасчет дорожной конструкции с введением поправки на расчетную влажность грунтов земляного полотна согласно табл. 8 приложения 2.
5.2.2. Назначение толщины песчаного дренирующего слоя с прослойкой из СМ выполняют исходя из условия временного размещения в нем воды (ВСН 46-83) и своевременного ее отвода. Расчет песчаного дренирующего слоя с прослойкой из СМ из условия своевременного отвода воды выполняют в следующем порядке (приложение 3Б):
определяют расчетное значение коэффициента фильтрации СМ в плоскости полотна Крф (п. 5.2.3);
определяют расчетное значение притока воды в дренирующий слой qр по формуле
где q - среднесуточный приток воды в основание дорожной одежды; Кп - коэффициент «пик», назначаемые по табл. 18, 19 ВСН 46-83;
определяют по номограмме (рис. 13, а, б) расчетную глубину фильтрационного потока hр в зависимости от длины пути фильтрации lф, коэффициентов фильтрации CM Крф и песка Киф поперечного уклона земляного полотна i и притока воды;
определяют по номограмме (рис. 14, а) степень увлажнения С в зависимости от i и отношения hp/lф;
определяют толщину слоя, полностью насыщенного водой hнас, по номограмме (рис. 14, б) и вычисляют толщину дренирующего слоя hд:
hд = hнас + hзап, (5.2)
где hзап - дополнительная толщина слоя, принимаемая равной для мелких песков 0,18 - 0,20 м, песков средней крупности 0,14 - 0,15 м, крупных 0,10 - 0,12 м.
определяют по номограмме (рис. 15) величину вертикальных нормальных напряжении sn от колесной нагрузки на уровне земляного полотна;
принимают в зависимости от sn и i по табл. 4 приложения 2 значение коэффициента фильтрации на начало периода стабилизации заиления Ксф;
принимают значение времени работы дренажа в расчетный период tр в зависимости от группы грунта земляного полотна, дорожно-климатической зоны и типа местности (табл. 7 приложения 2);
вычисляют общее число приложений колесной нагрузки Nобщ за требуемый период эксплуатации дороги Т, годы
Nобщ = NпрtрТ, (5.3)
где Nпр - расчетная приведенная интенсивность движения (п. 3.20 ВСН 46-83);
определяют по табл. 5 приложения 2 число нагружений на момент стабилизации заиления Nс в зависимости от веса CM r W/WТ и содержания в грунте земляного полотна частиц nп размером менее 0,05 мм;
вычисляют значение Крф
где b - коэффициент, учитывающий
интенсивность протекания процесса заиления в период его стабилизации (рис. 16).
Значение
может быть найдено
также по табл. 6
приложения 2.
Рис. 13. Номограмма к расчету по п. 5.2 (определение hp):
а - при lф = 3,5 м; б - при lф = 7,0 м;
- Кпф = 1; - - -
- при Кпф = 3 м/сут
Рис. 14. Номограмма к расчету дренирующего слоя по п. 5.2 (определение hнас и С):
- пески средней крупности; - - - - -
пески мелкие
Рис. 15. Номограмма к определению вертикальных нормальный напряжений sn на уровне земляного полотна
5.2.5. Возможность применения CM в качестве фильтров проверяют по критериям:
;
;
; (5.5)
где
,
- размер пор СМ,
меньше которого количество пор соответствует 15 и 50%;
,
,
- диаметр частиц
грунта, меньше которого содержание частиц, по весу соответствует 15, 50, 85%.
Рис. 16. Графики к расчету по п. 5.2 (определение коэффициента b)
Рис. 17. График к подбору обратного фильтра (п. 5.2):
1 - кривая распределения пористости СМ с r=600 г/м2; 2 - то же с r=300 г/м2
Следует считать возможным применение СМ как фильтра, если кривая распределения зерного состава грунта пересекает горизонталь, соответствующую 15% содержания частиц, правее точки а (рис. 17).
5.3.1. Устройство из CM защитных прослоек и прослоек для улучшения условий дренирования (см. рис. 12, а, б, в) выполняют в соответствии с пп. 3.3.1 - 3.3.6. Укладку полотен ведут, начиная от бровки земляного полотна к центру с перекрытием их краев на 0,2 м и учетом запаса для выпуска на откосную часть. Соединение полотен выполняют анкерами или скобами в месте их перекрытия через 6 - 8 м по длине полотна. Если отвод воды предусмотрен по прослойке СМ непосредственно в дрену (см. рис. 12, в) или подкюветный дренаж, СМ укладывают с выпуском, достаточным для охвата дрены или контура траншеи.
Рис. 18. Порядок выполнения работ при устройстве траншейного дренажа:
1 - траншея; 2 - СМ; 3 - анкеры; 4 - щебень; 5 - песок; 6 - глиняный экран; 7 - трубчатая дрена
5.3.2. При устройстве конструкции по рис. 12, г, е полотна укладывают вдоль траншеи, один край закрепляют на поверхности грунта анкерами, устанавливаемыми через 3 - 4 м вдоль траншеи. После этого СМ опускают в траншею, разравнивают и закрепляют второй его конец. Такое решение применяют, если ширина полотна (с учетом перекрытия концевых частей на 0,3 м) не менее периметра дренажной засыпки. В противном случае полотна СМ нарезают отдельными кусками длиной, равной периметру дренажной засыпки, и укладывают поперек траншеи с взаимным перекрытием кусков 0,2 м.
5.3.3. Дренирующий материал засыпают по оси траншеи после разравнивания, закрепления СМ и укладки дрены (если она предусмотрена проектом). Засыпку разравнивают и послойно уплотняют, обеспечивая целостность СМ и уложенной дрены. Края полотен освобождают от анкеров, заворачивают на поверхность уложенного дренирующего материала и создают слой водонепроницаемого экрана. Схематически порядок выполнения работ приведен на рис. 18, а.
5.3.4. При устройстве конструкций по рис. 12, д на дно траншеи укладывают предварительно подготовленную полосу СМ требуемой ширины, укладывают на нее дрену и покрывают дрену второй полосой СМ. Полосы с двух сторон от дрены прижимают к дну траншеи анкерами, устанавливаемыми через 4 - 5 м вдоль траншеи. Схематически порядок выполнения работ приведен на рис. 18, б. В сложных грунтовых условиях применяют комбинированное решение, когда конструкцию по типу рис. 18, б помещают в траншею, закрытую СМ по типу рис. 18, а.
6.1. К работе с применением рулонных синтетических материалов допускаются лица, прошедшие обучение и инструктаж по безопасности труда в соответствии с ГОСТ 12.0.004-79 и знающие безопасные методы и приемы труда.
6.2. Работающие с вредными веществами должны быть проинструктированы об их свойствах и о мерах по оказанию первой помощи при поражении ими. Лица, допускаемые к эксплуатации дорожно-строительных машин, должны иметь удостоверения на право работы на них.
6.3. Лица, допускаемые к эксплуатации установок для соединения полотен СМ с использованием газового топлива, должны пройти обучение и получить удостоверение и соответствии с Правилами безопасности в газовом хозяйстве, утвержденными Госгортехнадзором СССР 26.06.79. В соответствии с теми же Правилами (п. 1.13) и дорожных организациях, где используются указанные выше yустановки, должны назначаться лица, ответственные за безопасную эксплуатацию газового хозяйства, из числа руководящих инженерно-технических работников.
6.4. Весь персонал во время работы должен пользоваться средствами индивидуальной защиты (СИЗ), предусмотренными действующими нормами (Образцы моделей средств индивидуальной защиты для работников дорожного хозяйства, Минавтодор РСФСР. М.: Транспорт, 1984).
6.5. В случае производства работ на проезжей части без прекращения движения на ней транспорта место работы должно ограждаться в соответствии с Инструкцией по организации движения и ограждению места производства дорожных работ ВСН 37-84. Организация работ в этих случаях должна включать передвижение работающих по открытой для движения транспорта части дороги. Место работ должно быть освещено в соответствии с действующими нормами.
6.6. При производстве работ по подготовке основания под укладку СМ, а также по отсыпке верхнего покрывающего СМ слоя, его профилировании и уплотнении необходимо выполнять требования соответствующих правил и инструкций по охране труда, в частности, СНиП III-4-80 «Техника безопасности в строительстве», утвержденный Госстроем СССР 9.05.80; Правила техники безопасности при строительстве, ремонте и содержании автомобильных дорог, утвержденные Минавтодором РСФСР 25.02.77; Типовая инструкция по технике безопасности для машиниста самоходного катка, утвержденная Минавтодором РСФСР 28.11.74; Типовая инструкция по охране труда для машиниста автогрейдера, утвержденная Минавтодором РСФСР 8.02.78; Типовая инструкция по охране труда для машиниста бульдозера, утвержденная Минавтодором РСФСР 8.02.78; Типовая инструкция по охране труда при ремонте и содержании автомобильных дорог, утвержденная Минавтодором РСФСР 18.01.78.
6.7. На месте производства работ должны находиться средства пожаротушения и средства первой доврачебной помощи. Весь персонал должен знать, где они находятся, и уметь ими пользоваться.
6.8. Работы по погрузке и выгрузке рулонов СМ должны быть механизированы. Работы по укладке СМ должны вестись не ближе чем за 20 м от места засыпки уложенных полотен. При работах по устройству траншейного дренажа с использованием СМ вход в траншею работающим запрещается.
6.9. При работе с установкой для теплового соединения (сварки) полотен CM необходимо перед началом работы проверить исправность всех ее узлов. Особое внимание следует обратить на исправность манометра, наличие на нем пломбы, даты последней проверки и отметки у цифры предельно допустимого давления, а также на плотность соединений редуктора и газопровода.
Проверка плотности соединений газопровода и редуктора, а также определение мест утечек газа должны производиться с помощью мыльной эмульсии или специальными приборами. Применять огонь для обнаружения утечек газа запрещается.
Перед зажиганием горелки установки следует проверить наличие необходимого давления газа в газопроводе. Отключающее устройство на газопроводе перед горелкой разрешается открывать только после поднесения к ней запальника. При зажигании горелки и ее регулировании подача газа должна производиться постепенно. При работе необходимо следить за тем, чтобы горелка работала без отрыва пламени или проскока его внутрь горелки.
Во время работы с установкой необходимо постоянно следить за показаниями манометров и работой горелки. В случае если показание давления на одном из манометров превысит допустимое или возникнут неполадки в горелке или других узлах установки, необходимо немедленно закрыть вентиль на газовом баллоне. Работу на установке разрешается возобновить только после устранения неполадок по разрешению руководителя работ.
Оставлять без присмотра установку с горящей горелкой или незакрытым вентиль на газовом баллоне запрещается. После окончания работ установку необходимо помещать в специально отведенное место, исключающее доступ посторонних лиц. При работе установки газовый баллон должен предохраняться от нагревания солнечными лучами или другими источниками тепла с тем, чтобы максимальный нагрев баллона не превышал 45 °С.
6.10. При эксплуатации, хранении и транспортировании газовых баллонов необходимо соблюдать Правила устройства и безопасной эксплуатации сосудов, работающих под давлением, и Правила безопасности в газовом хозяйстве.
6.11. При использовании для соединения (сварки) полотен СМ паяльной лампы необходимо соблюдать следующие требования: разрешается пользоваться только той лампой, на которую имеется паспорт с указанием результатов заводского гидравлического испытания и запускаемого рабочего давления; заправлять паяльные лампы горючим, разжигать, а также разбирать и ремонтировать их разрешается только в специально отведенных местах, где не запрещено пользоваться огнем; пробку лампы нужно завертывать плотно, до отказа.
Запрещается применять лампу без предохранительного клапана или имеющую утечку топлива; применять в лампе горючую жидкость, не предназначенную для данной лампы, а также этилированный бензин; заполнять лампу более чем на 3/4 объема ее резервуара; заправлять лампу, а также отвертывать воздушный винт или пробку, если она горит или не остыла; повышать давление в резервуаре лампы сверх допускаемого.
7.1. Технико-экономическая эффективность применения СМ определяется областью и конкретными условиями применения. Экономический эффект оценивают путем сопоставления приведенных затрат по базовому и внедряемому вариантам.
7.2. За базовый вариант принимают конструкцию дорожной одежды или насыпи, назначаемую в соответствии с действующими нормами, за внедряемый - конструкцию дорожной одежды или насыпи с прослойкой из СМ и соответствующими ее изменениями, назначенными согласно положениям настоящих Указаний (снижение толщины отдельных слоев дорожной одежды, высоты насыпи, изменение крутизны откосов и т.д.).
7.3. Снижение приведенных затрат в результате применения СМ достигается за счет:
экономии дорожно-строительных материалов, снижения объема земляных работ и общей материалоемкости дорожной конструкции в связи с уменьшением толщин отдельных слоев дорожной одежды, высоты насыпи, изменением крутизны откосов и т.д.;
снижения затрат по эксплуатации машин и основной заработной платы в связи с уменьшением затрат на транспортировку дорожно-строительных материалов, их укладку, уплотнение и т.д.;
снижения затрат на ремонт (например, увеличения срока службы между средними ремонтами) и содержание дорожной конструкции в связи с большей эксплутационной ее надежностью;
снижения удельных капитальных вложений в производственные фонды, связанные с уменьшением общей стоимости занятых на строительстве машин (прежде всего транспортных средств).
7.4. Расчет экономического эффекта проводят в соответствии с Отраслевыми методическими указаниями по определению экономической эффективности использования в дорожном строительстве новой техники, изобретений и рационализаторских предложений (Гипродорнии. М., 1978).
7.5. Приведенные затраты З по вариантам рассчитывают по формуле
З = С + Ен×К, (7.1)
где К - удельные капитальные вложения (единовременные затраты) в производственные фонды; Ен - нормативный коэффициент (0,15); С - себестоимость принятой единицы измерения, определяемая по формуле
С = П + Н = (Пм + Пз + Пэ + Пр) +Н, (7.2)
где П - прямые затраты, включающие стоимость материалов Пм, основную заработную плату Пз, расходы по эксплуатации машин Пэ, а также затраты на ремонт и содержание в процессе эксплуатации Пр:
, (7.3)
где Пср - затраты на средний ремонт при общем количестве ремонтов nр за период суммирования затрат tр (срок службы до капитального ремонта) и период между средними ремонтами tср; ПТ - затраты на текущий ремонт и содержание, соответствующие году их осуществления t; Н - накладные расходы, включая 8,6% от П, 15% от Па, а также зависящие от трудоемкости (1,9 руб./чел.-день).
, (7.4)
где
,
- приведенные
интенсивности движения для базового и внедряемого вариантов;
определяют исходя из
фактических данных по интенсивности движения;
находят по графику
зависимости Етр = f (N) (ВСН 46-83)
для найденного повышенного за счет введения прослойки СМ модуля упругости на
поверхности конструкции; j - коэффициент, зависящий от
типа покрытия (для усовершенствованного капитального - 0,12, облегченного -
0,148, переходного - 0,171); q - показатель роста
интенсивности движения (1,1); tрб - период суммирования для
базового варианта.
7.7. Годовой экономический эффект от применения СМ
Э = (Зб - Зв)А, (7.5)
где Зв, Зб - приведенные затраты по внедряемому и базовому вариантам; А - годовой объем работ.
7.8. Форму и порядок расчета экономического эффекта назначают в зависимости от области применения СМ с учетом также формы и порядка примера расчета, приведенного в приложении 4.
А. Определение механических характеристик СМ в условиях одноосного растяжения (упрощенная методика). Механические характеристики СМ определяют растяжением образца СМ прямоугольной формы размером 5´20 см (рис. 1). Испытуемый образец закрепляют в двух зажимах, один из которых установлен неподвижно, а через второй ступенями прикладывают нагрузку. Расстояние между зажимами (длина деформируемой части образца) 10 см. По боковым граням подвижного зажима установлены направляющие, служащие для предотвращения его перекоса в процессе испытаний. Направляющая снабжена шкалой, по которой замеряют перемещения зажима после каждой ступени нагружения и разгрузки (общая и остаточная деформации). При небольших перемещениях (3 - 5 мм при нагрузках 25 - 30 Н/см) необходимо применять более точную аппаратуру, например прогибомеры типа ПМ-130 с ценой деления не менее 0,1 мм.
Общее число ступеней нагружения принимается равным 8 - 10, причем 4 - 5 из них должны приходиться на диапазон нагрузок до 25 - 30 Н/см, а первую из них назначают равной 3 Н/см. Время выдержки на каждой ступени 15 с.
Для оценки надежности закрепления вдоль кромок подвижного и неподвижного зажимов на СМ любым красителем наносят полосы. При правильном закреплении полосы не должны отходить от зажима, а разрыв образца происходит в средней его части.
Испытывают не менее 6 образцов: 3 в продольном и 3 в поперечном направлениях по отношению к направлению раскатки рулона.
Рис. 1. Схема испытаний СМ по методу одноосного растяжения (упрощенный вариант):
1 - образец СМ; 2, 4 - верхний неподвижный и нижний подвижный зажимы; 3 - направляющие полосы; 5 - шкала; 6 - грузы
Механические характеристики CM (п. 2.2.5) определяют из следующих выражений:
;
; (1)
где R¢, Dl - общая нагрузка, Н, и перемещение зажима, см, при разрыве образца; e¢ и e¢y - общая и упругая относительные деформации при нагрузке R1 = 25 - 30 Н/см (вычисляют аналогично e0); Dlп - перемещение зажима на первой ступени нагружения, см; l0 и b - соответственно длина и ширина образца, см.
Б. Определение механических характеристик СМ в условиях сложного напряженного состояния методом сферического растяжения. Испытания СМ по методу сферического растяжения заключаются в нагружении жидкостью (маслом) защемленного по контуру круглого образца СМ диаметром 12 см (рис. 2, а) через резиновую предварительно оттарированную мембрану. Для оценки механических свойств СМ, как правило, достаточно 5 образцов. Испытания проводятся путем приложения к образцу ступенчатой нагрузки (5 - 6 ступеней) с разгрузкой на каждой ступени. Выдержка нагрузки на каждой ступени 15 с.
Рис. 2. Схема прибора для оценки механических свойств СМ по методу сферического растяжения (а), расчетная схема (б) и графики результирующих зависимостей (в) по этому методу:
1 - штатив; 2 - датчик замера перемещений; 3 - камера с маслом; 4, 5 - рукоятка и рабочая камера насоса; 6 - станина; 7 - манометр; 8 - трубопроводы для подачи масла; 9 - регулировочные краны; 10 - мембрана; 11 - нижняя рабочая камера; 12, 13 - нижняя и верхняя кольцевые накладки для закрепления образца; 14 - образец СМ
Величину прогиба мембраны Sп замеряют на каждой ступени приложения нагрузки. Определение восстанавливающей части прогиба мембраны Sy осуществляют также на каждой ступени при разгрузке образца. Общую относительную деформацию и растягивающее усилие Rn (рис. 2, б, в) рассчитывают на каждой ступени нагружения по формулам:
, (3)
где q - удельное давление жидкости на испытываемый образец, МПа; r - радиус испытываемого образца, см.
Величину восстанавливающейся части относительной деформации рассчитывают по формуле (4), но при значении Sп = Syп (Syп - величина восстанавливающейся части общего прогиба мембраны).
Значения условных модулей упругости и деформации СМ рассчитывают по формуле (2).
В. Определение механических характеристик СМ по методу длительного растяжения. Испытания состоят в замере через определенные промежутки времени деформаций образцов, к которым приложены длительно действующие постоянные нагрузки R. Испытаниям подвергают образцы прямоугольной формы шириной 50 и длиной 20 см при длине свободно растягиваемой части l0 = 10 см (рис. 3, а). Для примерной предварительной оценки допустимо уменьшение ширины образцов до стандартной - 5 см (приложение 1А), но с дополнительной установкой накладок, препятствующих их сужению (рис, 3, б). Конструкцию накладок назначают в зависимости от вида СМ таким образом, чтобы его структура не нарушалась На рис. 3, в представлены различные варианты накладок.
Испытания выполняют в следующем порядке:
проводят предварительные испытания трех образцов СМ по методике приложения 1А, при времени выдержки на каждой из ступеней нагружения 10 мин. По их результатам назначают нагрузку R для основных испытаний. При этом если деформации e=5% (без учета начальной - см. приложение 1А) достигается до разрыва образцов значения R в основных испытаниях принимают равными 30, 50, 70, 90% от R5 (где R5 - нагрузка при e=5%). В противном случае значения принимают в долях нагрузки при разрыве Rp: для полиамидных, полиэфирных тканых и нетканых (исключая нетканые из коротких волокон при химическом способе упрочнения полотна) - 30, 45, 60, 75% от Rp; для полипропиленовых - 5, 10, 15, 20% от Rp; для остальных при отсутствии данных о свойствах - 20, 30, 40, 50, 60, 70% от Rp;
Рис. 3. Схемы испытаний по методу длительного растяжения:
1, 4 - зажимы; 2 - СМ; 3 - накладки; 5 - грузы; 6 - стяжки; 7, 8 - верхняя и нижняя накладки; 9 - накладка с отверстием под шины; 10 - шины
к образцам основных испытаний (см. рис. 3, а, б) прикладывают начальную нагрузку Rн=3 Н/см и через tн=10 мин замеряют величину удлинения образца Dlн с помощью прогибомеров ПМ-130 или других устройств с точностью отсчета не ниже 0,1 мм;
нагрузку Rн дополняют для каждого из образцов до одной из нагрузок R, ранее принятых по результатам предварительных испытаний. Через определенные промежутки времени проводят замер удлинений образцов Dl. Время замеров назначают равным 1, 2, 4, 6, 24, 48 ч. Время последующих замеров назначают в зависимости от хода деформирования образцов. Если значения R5£0,3Rр для полиамидных и полиэфирных, R5£0,05Rр для полипропиленовых и R5£0,2Rр для других видов материалов, а удлинение за последние 24 ч меньше 10% удлинения за первые 24 ч, испытания прекращают. В других случаях испытания проводят до достижения удлинения Dl = (0,1l0+Dlн) или до начала роста скорости деформирования образца, но не более 60 сут, время между замерами 24 ч (для примерной оценки можно ограничиться временем испытаний 48 ч).
Обработку данных выполняют в следующем порядке:
по результатам испытаний строят график зависимости относительных деформаций образца (e, %) от времени наблюдений (lgt, ч) для каждого из значений постоянно действующих нагрузок R (рис. 4), где e = 100 (Dl - Dlн)/ l0;
вычисляют значения конечных деформаций eк при каждом из значений R, исключая те, при которых наблюдается рост скорости деформирования образца (рост угла наклона a прямой на рис. 4 к оси lgt),
eк = e1 +к lgT,
где e1 - относительная деформация образца за время наблюдения, равное 1 ч; k=tga; Т - требуемый срок службы.
строят график зависимостей eк от R (рис. 5). Величину допустимой нагрузки на растяжение СМ Rд принимают равной нагрузке R, соответствующей на графике eк = f (R) значению eк = 5%. Если на данном графике все значения eк < 5%, то Rд принимают равным минимальному из значений R, при котором наблюдается рост скорости деформирования образца (R4, рис. 4);
Рис. 4. График деформирования образцов СМ при длительном растяжении
определяют расчетное значение допустимого растягивающего напряжения sд для СМ из выражения sд = Rд/d.
График eк = f (R) должен быть построен не менее чем по трем точкам. Если же по результатам испытаний может быть вычислено меньше трех значений eк, проводят дополнительные испытания (одно или два) при значениях R, меньших максимального, для которого вычислено значение eк.
При определении величины Rдл для расчетов устойчивости откосов насыпи, возводимых на слабых основаниях (пп. 3.2.7, 3.2.8), испытания проводят при R, назначаемых в долях от Rр, как сказано ранее, в любом случае (независимо от величины e). За Rд принимают минимальное значение R, при котором наблюдается рост скорости деформирования образцов (Rдл = Rд/d).
Рис. 5. Результирующая зависимость метода длительного растяжения
Г. Методика оценки сопротивляемости СМ местным повреждениям. Оценка сопротивляемости СМ местным повреждениям проводится для выяснения возможности его укладки непосредственно под крупнофракционные материалы - щебень, гравий, шлак и другие, если в процессе строительства или эксплуатации возникают значительные нагрузки на уровне укладки СМ. Методика оценки сопротивляемости СМ местным повреждениям состоит в следующем:
в лабораторных условиях в жесткой прямоугольной обойме размером 15´30 см создают трехслойную модель, верхний слой которой - крупнофракционный материал, средний - образец СМ размером 15´20 см, нижний - грунт. Размер фракций и толщина материала верхнего слоя, вид и состояние (плотность, влажность грунта нижнего слоя) должны отвечать конкретным условиям строительства. Толщину слоя грунта принимают равной 10 см;
через прямоугольный штамп размером 150´100 мм, устанавливаемый на поверхности модели, прикладывают давление, соответствующее расчетному (0,6 МПа при оценке сопротивляемости повреждениям в период строительства, не менее 0,1 МПа в других случаях). Общее число циклов приложения нагрузки 10, с выдержкой расчетной нагрузки в течение 1 мин и последующей разгрузкой;
образец СМ извлекают из модели и визуально оценивают степень его повреждения. При отсутствии явно выраженных нарушений структуры СМ, проколов образцы разрезают на три полосы размером 5´20 см и испытывают их в соответствии с методикой приложения 1А. Укладку на поверхность СМ крупнофракционных материалов считают возможной при отсутствии явно выраженных нарушений его структуры и снижении прочности не более чем на 10% для нетканых иглопробивных и 5% для других видов СМ.
Д. Методика определения сопротивления сдвигу СМ по грунту. Для определения сопротивления сдвигу СМ по грунту используют прибор, схема которого представлена на рис. 6. Он состоит из верхней и неподвижной нижней жестких прямоугольных обойм размером 10´20 см. Обе обоймы заполняют грунтом, который пригружается через штамп. СМ располагают на контакте верхней и нижней обойм. Для того чтобы исключить поперечную деформацию СМ при действии нагрузки Rг (исключение возможности изменения площади находящегося в грунте СМ), а также его смятие при движении, СМ закрепляют в специальной рамке с помощью винтов на половину длины обойм. Снижение величины сил трения при движении рамки достигают с помощью шариков, размещенных в канавках.
Испытания проводят в следующей последовательности:
заполняют подготовленным грунтом нижнюю обойму прибора и уплотняют его через металлическую прокладку (в том случае, если в испытаниях используется грунт нарушенного сложения), срезают грунт на 2 - 3 мм выше верхней плоскости нижней обоймы;
на нижнюю обойму устанавливают рамку с закрепленным в ней образцом СМ;
заполняют подготовленным грунтом верхнюю обойму и уплотняют его (если используется грунт нарушенного сложения);
устанавливают на рамку верхнюю обойму с грунтом, на поверхность грунта устанавливают штамп и прикладывают вертикальную нагрузку Q, имитирующую вес грунта (дорожной одежды) с выдержкой до начала опыта в течение 1 ч;
при каждом из значений вертикальных нагрузок Q (не менее трех), принимаемых таким образом, чтобы диапазон их изменения охватывал реально действующую в дорожной конструкции, проводят испытания. Для этого ступенями (не менее 6 - 8 за период испытаний) прикладывают горизонтальную нагрузку с фиксацией перемещений СМ и точках А и Б (в точке А - прогибомером с закреплением струны на образец).
Время выдержки на каждой ступени горизонтальной нагрузки выбирают из расчета выполнения испытания за время не более 4 мин, причем время выдержки на каждой ступени нагружения должно быть достаточно лишь для выявления стабилизации перемещения. Опыт считается законченным, если перемещение в точке Б рамки с геотекстильным материалом приобретает незатухающий характер или величина перемещений в точке А превысит 5% длины обоймы.
Соответствующее окончанию опыта значение горизонтальной нагрузки Рг принимается за предельное. Обработка проводится путем построения зависимости t = f (Q), где t = P/2F (F - площадь части образца, закрепленной в грунте), и определения значений прочностных характеристик (j¢, С¢ подобно определению j и С на диаграмме сдвига для грунта (ГОСТ 12248-78).
Рис. 6. Схема испытаний по определению сопротивляемости сдвигу СМ по грунту:
1 - штамп; 2, 3 - обоймы; 4 - основание; 5 - образец CM; 6, 7 - рамка; 8 - шарики в канавках; 9, 10 - винты
Таблица 1
Поправочный коэффициент К (к п. 2.2.4)
|
Значение поправочного коэффициента для периода эксплуатации Т, годы |
|||||||||
|
1 |
2 |
4 |
6 |
8 |
10 |
12 |
16 |
18 |
|
|
Полиамид |
0,71 |
0,50 |
0,38 |
0,29 |
0,24 |
0,20 |
0,17 |
0,14 |
0,12 |
|
Полипропилен и полиэфир |
0,92 |
0,89 |
0,85 |
0,82 |
0,80 |
0,78 |
0,76 |
0,74 |
0,72 |
Таблица 2
Коэффициент e (к п. 3.2.5)
|
h*э/D |
|
h*э/D |
|
|
0,25 |
0,195 |
1,50 |
0,04 |
|
0,50 |
0,160 |
1,75 |
0,031 |
|
0,75 |
0,118 |
2,00 |
0,024 |
|
1,00 |
0,077 |
2,25 |
0,019 |
|
1,25 |
0,053 |
2,50 |
0,013 |
*
, где
- суммарная толщина
лежащих над СМ слоев укрепления, см; Еср - средний модуль
упругости этих слоев, Мпа.
.
При проверке в период строительства принимают
и Еср
равным толщине и модулю упругости отсыпаемого непосредственно на СМ слоя.
Таблица 3
Значение коэффициентов а (к п. 3.2.4)
|
Значение a при H/D |
||||||||||||||
|
0,3 |
0,6 |
0,9 |
1,2 |
1,5¸2,0 |
||||||||||
|
Е0 = 20 Мпа |
||||||||||||||
|
1,0 |
0,635 |
0,690 |
0,766 |
0,829 |
0,908 |
|||||||||
|
|
0,720 |
0,790 |
0,873 |
0,939 |
0,989 |
|||||||||
|
3,0 |
0,635 |
0,701 |
0,778 |
0,864 |
0,926 |
|||||||||
|
|
0,720 |
0,803 |
0,884 |
0,967 |
0,995 |
|||||||||
|
5,0 |
0,635 |
0,710 |
0,800 |
0,886 |
0,947 |
|||||||||
|
|
0,720 |
0,813 |
0,912 |
0,978 |
0,998 |
|||||||||
|
10,0 |
0,637 |
0,722 |
0,837 |
0,913 |
0,966 |
|||||||||
|
|
0,723 |
0,827 |
0,945 |
0,986 |
1,000 |
|||||||||
|
20,0 |
0,646 |
0,773 |
0,869 |
0,932 |
0,974 |
|||||||||
|
|
0,738 |
0,878 |
0,960 |
0,991 |
1,000 |
|||||||||
|
40,0 |
0,654 |
0,806 |
0,893 |
0,945 |
0,978 |
|||||||||
|
|
0,751 |
0,909 |
0,970 |
0,996 |
1,000 |
|||||||||
|
Е0 = 28 Мпа |
||||||||||||||
|
1,0 |
0,637 |
0,712 |
0,792 |
0,877 |
0,938 |
|||||||||
|
|
0,723 |
0,816 |
0,901 |
0,974 |
0,996 |
|||||||||
|
3,0 |
0,642 |
0,719 |
0,829 |
0,906 |
0,962 |
|||||||||
|
|
0,731 |
0,823 |
0,939 |
0,984 |
1,000 |
|||||||||
|
5,0 |
0,647 |
0,753 |
0,852 |
0,921 |
0,969 |
|||||||||
|
|
0,740 |
0,858 |
0,953 |
0,988 |
1,000 |
|||||||||
|
10,0 |
0,654 |
0,791 |
0,880 |
0,937 |
0,977 |
|||||||||
|
|
0,752 |
0,896 |
0,965 |
0,993 |
1,000 |
|||||||||
|
20,0 |
0,666 |
0,824 |
0,902 |
0,950 |
0,983 |
|||||||||
|
|
0,766 |
0,920 |
0,974 |
0,996 |
1,000 |
|||||||||
|
40,0 |
0,694 |
0,840 |
0,913 |
0,956 |
0,983 |
|||||||||
|
|
0,794 |
0,929 |
0,979 |
0,996 |
1,000 |
|||||||||
|
Е0 = 36 Мпа |
||||||||||||||
|
1,0 |
0,650 |
0,729 |
0,833 |
0,907 |
0,963 |
|||||||||
|
|
0,744 |
0,834 |
0,941 |
0,985 |
1,000 |
|||||||||
|
3,0 |
0,654 |
0,775 |
0,864 |
0,927 |
0,972 |
|||||||||
|
|
0,751 |
0,880 |
0,958 |
0,990 |
1,000 |
|||||||||
|
5,0 |
0,659 |
0,797 |
0,881 |
0,938 |
0,977 |
|||||||||
|
|
0,758 |
0,902 |
0,966 |
0,993 |
1,000 |
|||||||||
|
10,0 |
0,691 |
0,828 |
0,908 |
0,950 |
0,986 |
|||||||||
|
|
0,791 |
0,922 |
0,975 |
0,996 |
1,000 |
|||||||||
|
20,0 |
0,729 |
0,854 |
0,920 |
0,960 |
0,986 |
|||||||||
|
|
0,832 |
0,936 |
0,982 |
0,997 |
1,000 |
|||||||||
|
30,0 |
0,749 |
0,867 |
0,927 |
0,964 |
0,988 |
|||||||||
|
|
0,853 |
0,943 |
0,984 |
0,998 |
1,000 |
|||||||||
|
Е0 = 42 Мпа |
||||||||||||||
|
1,0 |
0,655 |
0,755 |
0,848 |
0,917 |
0,968 |
|||||||||
|
|
0,752 |
0,860 |
0,951 |
0,987 |
1,000 |
|||||||||
|
2,0 |
0,655 |
0,777 |
0,864 |
0,927 |
0,974 |
|||||||||
|
|
0,752 |
0,882 |
0,958 |
0,990 |
1,000 |
|||||||||
|
3,0 |
0,658 |
0,792 |
0,876 |
0,934 |
0,974 |
|||||||||
|
|
0,758 |
0,897 |
0,963 |
0,992 |
1,000 |
|||||||||
|
5,0 |
0,680 |
0,813 |
0,892 |
0,943 |
0,985 |
|||||||||
|
|
0,780 |
0,913 |
0,970 |
0,995 |
1,000 |
|||||||||
|
10,0 |
0,717 |
0,841 |
0,911 |
0,954 |
0,985 |
|||||||||
|
|
0,818 |
0,934 |
0,978 |
0,096 |
1,000 |
|||||||||
|
20,0 |
0,750 |
0,865 |
0,925 |
0,963 |
1,000 |
|||||||||
|
|
0,854 |
0,946 |
0,984 |
0,997 |
1,000 |
|||||||||
|
Е0 = 50 Мпа |
||||||||||||||
|
1,0 |
0,675 |
0,794 |
0,875 |
0,933 |
0,978 |
|||||||||
|
|
0,755 |
0,899 |
0,963 |
0,992 |
1,000 |
|||||||||
|
2,0 |
0,698 |
0,811 |
0,888 |
0,941 |
0,978 |
|||||||||
|
|
0,798 |
0,912 |
0,968 |
0,994 |
1,000 |
|||||||||
|
3,0 |
0,714 |
0,824 |
0,898 |
0,946 |
1,000 |
|||||||||
|
|
0,824 |
0,920 |
0,073 |
0,995 |
1,000 |
|||||||||
|
5,0 |
0,733 |
0,842 |
0,910 |
0,954 |
0,987 |
|||||||||
|
|
0,836 |
0,932 |
0,978 |
0,996 |
1,000 |
|||||||||
|
10,0 |
0,760 |
0,865 |
0,924 |
0,963 |
0,987 |
|||||||||
|
|
0,864 |
0,947 |
0,983 |
0,997 |
1,000 |
|||||||||
|
20,0 |
0,783 |
0,883 |
0,935 |
0,970 |
0,980 |
|||||||||
|
|
0,881 |
0,950 |
0,987 |
0,998 |
1,000 |
|||||||||
|
Е0 = 60 Мпа |
||||||||||||||
|
1,0 |
0,721 |
0,821 |
0,894 |
0,943 |
0,981 |
|||||||||
|
|
0,823 |
0,918 |
0,971 |
0,995 |
1,000 |
|||||||||
|
2,0 |
0,738 |
0,836 |
0,904 |
0,950 |
0,981 |
|||||||||
|
|
0,842 |
0,927 |
0,975 |
0,996 |
1,000 |
|||||||||
|
3,0 |
0,751 |
0,847 |
0,912 |
0,954 |
0,985 |
|||||||||
|
|
0,855 |
0,934 |
0,979 |
0,996 |
1,000 |
|||||||||
|
5,0 |
0,766 |
0,862 |
0,922 |
0,961 |
0,985 |
|||||||||
|
|
0,868 |
0,943 |
0,982 |
0,997 |
1,000 |
|||||||||
|
10,0 |
0,786 |
0,881 |
0,933 |
0,968 |
1,000 |
|||||||||
|
|
0,883 |
0,956 |
0,986 |
0,998 |
1,000 |
|||||||||
|
15,0 |
0,798 |
0,889 |
0,938 |
0,972 |
1,000 |
|||||||||
|
|
0,982 |
0,962 |
0,988 |
1,000 |
1,000 |
|||||||||
|
Е0 = 80 Мпа |
||||||||||||||
|
1,0 |
0,773 |
0,856 |
0,916 |
0,959 |
0,987 |
|||||||||
|
|
0,873 |
0,937 |
0,980 |
0,997 |
1,000 |
|||||||||
|
2,0 |
0,784 |
0,867 |
0,923 |
0,959 |
0,987 |
|||||||||
|
|
0,882 |
0,946 |
0,983 |
0,997 |
1,000 |
|||||||||
|
3,0 |
0,792 |
0,875 |
0,928 |
0,963 |
1,000 |
|||||||||
|
|
0,888 |
0,951 |
0,985 |
0,997 |
1,000 |
|||||||||
|
5,0 |
0,804 |
0,886 |
0,935 |
0,969 |
1,000 |
|||||||||
|
|
0,898 |
0,958 |
0,987 |
0,998 |
1,000 |
|||||||||
|
10,0 |
0,821 |
0,898 |
0,943 |
0,975 |
1,000 |
|||||||||
|
|
0,913 |
0,966 |
0,990 |
1,000 |
1,000 |
|||||||||
|
Е0 = 100 Мпа |
||||||||||||||
|
1,0 |
0,802 |
0,877 |
0,931 |
0,966 |
1,000 |
|||||||||
|
|
0,896 |
0,957 |
0,986 |
0,998 |
1,000 |
|||||||||
|
2,0 |
0,812 |
0,885 |
0,931 |
0,966 |
1,000 |
|||||||||
|
|
0,905 |
0,963 |
0,986 |
0,998 |
1,000 |
|||||||||
|
3,0 |
0,819 |
0,891 |
0,936 |
0,974 |
1,000 |
|||||||||
|
|
0,912 |
0,967 |
0,987 |
1,000 |
1,000 |
|||||||||
|
5,0 |
0,829 |
0,898 |
0,943 |
0,974 |
1,000 |
|||||||||
|
|
0,920 |
0,972 |
0,990 |
1,000 |
1,000 |
|||||||||
|
10,0 |
0,843 |
0,908 |
0,952 |
0,974 |
1,000 |
|||||||||
|
|
0,932 |
0,978 |
0,993 |
1,000 |
1,000 |
|||||||||
Примечание. Верхнее значение a в таблице берется при Есм³600 Н/см, нижнее - при 350£Есм<600 Н/см
Таблица 4
Значения коэффициента фильтрации в плоскости полотна СМ на начало периода стабилизации заиления Ксф (к п. 5.2.3)
|
Удельная нагрузка от колеса автомобиля на уровне земляного полотна sп, МПа |
Коэффициент фильтрации в плоскости полотна СМ на начало периода стабилизации заиления Ксф, м/сут |
|
|
0,02 |
0,2 |
81 |
|
0,04 |
57 |
|
|
0,06 |
33 |
|
|
0,03 |
0,02 |
79 |
|
0,04 |
61 |
|
|
0,06 |
42 |
|
|
0,04 |
0,02 |
77 |
|
0,04 |
65 |
|
|
0,06 |
52 |
Примечание. Значения Ксф справедливы для CM, отвечающих требованиям п. 5.1.2.
Таблица 5
Число нагружений на момент стабилизации заиления Nс (тыс. автомобилей) (к п. 5.2.3)
|
W/WT |
0,6 - 0,7 |
0,8 - 0,9 |
|||||||
|
nn, % |
20 |
40 |
60 |
80 |
20 |
40 |
60 |
80 |
|
|
r, г/м3 |
i = 0,02 |
||||||||
|
300 |
29,8 |
31,9 |
34,0 |
36,1 |
35,5 |
37,6 |
39,7 |
41,8 |
|
|
400 |
23,5 |
25,6 |
27,7 |
29,8 |
29,2 |
31,3 |
33,4 |
35,5 |
|
|
500 |
17,2 |
19,3 |
21,4 |
23,5 |
22,9 |
25,0 |
27,1 |
29,2 |
|
|
600 |
8,2 |
10,3 |
12,4 |
14,5 |
16,6 |
18,7 |
20,8 |
22,9 |
|
|
r, г/м3 |
i = 0,03 |
||||||||
|
300 |
32,8 |
34,9 |
37,0 |
39,1 |
38,4 |
40,5 |
42,6 |
44,7 |
|
|
400 |
26,5 |
28,6 |
30,7 |
32,8 |
32,1 |
34,2 |
36,3 |
38,4 |
|
|
500 |
20,2 |
22,3 |
24,4 |
26,5 |
25,8 |
27,9 |
30,0 |
32,1 |
|
|
600 |
13,0 |
16,0 |
18,1 |
20,2 |
19,5 |
21,6 |
23,7 |
25,8 |
|
|
r, г/м3 |
i = 0,04 |
||||||||
|
300 |
35,7 |
37,8 |
39,9 |
42,2 |
41,2 |
43,3 |
45,4 |
47,5 |
|
|
400 |
29,4 |
31,5 |
33,6 |
35,7 |
34,9 |
37,0 |
39,1 |
41,2 |
|
|
500 |
23,1 |
25,2 |
27,0 |
29,4 |
28,6 |
30,7 |
32,8 |
34,9 |
|
|
600 |
16,6 |
18,9 |
21,0 |
23,1 |
20,3 |
24,4 |
26,6 |
28,6 |
|
Примечание. i - см. табл. 4, W/WT - расчетная влажность грунта земляного полотна; nn - содержание в грунте частиц размером менее 0,05 мм; r - масса СМ (на 1 м2 полотна по ГОСТ 15902.1-80).
Таблица 6
Значение
коэффициента
(к п. 5.2.3)
|
Значение коэффициента |
|||
|
200 |
500 |
3000 |
|
|
30 |
0,96 |
0,90 |
0,82 |
|
50 |
0,98 |
0,95 |
0,90 |
|
75 |
0,99 |
0,98 |
0,95 |
Таблица 7
Время работы дренажа в расчетный период года tг, сут (к п. 5.2.3)
|
Группы грунтов в дорожно-климатических зонах |
||||||||||
|
II |
III |
IV |
||||||||
|
А |
Б |
В |
Г |
A и Б |
В |
Г |
А и Б |
В |
Г |
|
|
1 |
8 |
10 |
12 |
9 |
7 |
10 |
8 |
0 |
0 |
0 |
|
2 |
8 |
17 |
20 |
14 |
10 |
15 |
12 |
14 |
30 |
13 |
|
3 |
17 |
23 |
26 |
15 |
16 |
20 |
13 |
13 |
15 |
8 |
Примечание. Группы грунтов: А - пески пылеватые, супеси легкие и тяжелые (непылеватые); Б - суглинки тяжелые и пылеватые, глины; В - суглинки легкие и пылеватые; Г - супеси пылеватые.
Таблица 8
Значение снижений влажности DW по сравнению с расчетной за счет применения СМ (к п. 5.2.1)
|
Расчетный коэффициент фильтрации CM Крф, м/сут |
Коэффициент фильтрации песка, Кпф, м/сут |
Значение снижения влажности DW по сравнению с расчетной для грунтов |
|
|
суглинков |
супесей |
||
|
20 |
1 |
0,04 |
0,09 |
|
|
3 |
0,02 |
0,02 |
|
40 |
1 |
0,04 |
0,10 |
|
|
3 |
0,03 |
0,03 |
ПРИЛОЖЕНИЕ 3
А. Пример расчета дорожной одежды, усиленной прослойкой из СМ (к п. 3.2 Указаний). Требуется выполнить расчет дорожной одежды на участке дороги с переходным типом покрытия во II дорожно-климатической зоне, усиленной прослойкой из СМ (п. 1 приложения 5).
Исходные данные. Местность по условиям увлажнения - 2-й тип. Грунт земляного полотна - суглинок легкий.
Расчетная нагрузка - автомобиль группы А, приведенная интенсивность движения 110 авт/сут, общий модуль упругости Еобщ=112 МПа. Расчет дорожной одежды без прослойки из СМ выполнен в соответствии с ВСН 46-83, расчетные характеристики и толщины слоев:
расчетная относительная влажность грунта 0,9WТ, Егр=24 МПа;
основание - песок мелкий, Е2=100 МПа, h2=20 см;
покрытие - щебень 2-го класса по принципу заклинки, Е1=350 МПа, l1=23 см.
Корректировка толщин дорожной одежды:
проверяют соблюдение условий п. 3.2.2: Есм=350 Н/см и п. 3:
МПа,
где Е0=44 МПа (из номограммы рис. 4 при Е0/Е1 = Егр/Е2 = 0,24; h/D = h2/D = 0,54; Еобщ/Е1 = Е0/Е2 = 0;44; E0 = 0,44E2;
приводят конструкцию к двухслойной: СМ расположен непосредственно под покрытием, поэтому параметры верхнего слоя Еср/Е1 = 350 МПа, Н = h1 = 23 см, нижнего слоя Е0 = 44 МПа;
определяют Еаобщ = Еобщ/a2 = 112/0,930 = 120 МПа, где Еобщ = 112 МПа, a2 равно 0,930 по табл. 3 приложения 2 при Н/D = 0,62, E0 = 44 МПа, Еср/Е0 = 350/44=8;
определяют значение условий толщины слоя h¢i (из номограммы рис. 4, принимая Еобщ/Е1 - Еаобщ/Е1 = 0,34; Е0/Е1 - Е0/2 = 0,12; h¢1D = h¢iD = 0,80; h¢i = 0,80D = 30 см);
определяют новое значение толщины слоя щебня при устройстве в его основании прослойки из СМ [выражение (3.3)]:
см.
Проверка прочности прослойки CM [по условию (3.4)]:
определяют напряжение в СМ от действия колесной нагрузки:
МПа,
где Eсм, d,
Е0 - см. корректировку толщин,
= 0,116 из табл. 2
приложения 2
при hэ/D = 28/37 = 0,76;
см
(см. примечание к табл. 2 приложения 2); Р = 0,6 МПа;
определяют расчетное значение прочности СМ:
МПа,
где Rр, d - см. п. 1 таблицы приложения 5; Кp = К×n/m = 0,29×0,7/1,2 = 0,17 (n, m см. п. 3.2.5, К = 0,29 из табл. 1 приложения 2);
так как sа = 0,035 МПа< Rрасч = 0,29 МПа, условие (3.4) проверки прочности на период эксплуатации соблюдено;
проверяют соблюдение условия (3.4) в период строительств, поскольку прослойку из CM устраивают непосредственно под покрытием из щебня, значения sа в период строительства и эксплуатации равны, а условие (3.4) записывается в виде
,
где Кp = К×n/m = 1×0,7/1,2 = 0,58.
Прочность СМ достаточна для создания прослойки в данных условиях.
Б. Пример расчета дренирующего слоя с прослойкой из СМ (к п. 5.2 Указаний). Требуется назначить толщину дренирующего слоя, работающего по методу осушения на участке дороги II категории по II дорожно-климатической зоне.
Исходные данные. Местность по условиям увлажнения относится к 1-му типу. Грунт земляного полотна - суглинок пылеватый. Согласно кривой зернового состава количество глинистых частиц (d<0,005 мм) 20%, пылеватых (d=0,05 - 0,005 мм) 40%, песчаных (d=2 - 0,05 мм) 40%. Расчетная влажность грунта Wp = 0,9WT.
Ширина земляного полотна равна 15 м, поперечный уклон i = 0,04.
Состав грузового движения на полосу с учетом перспективы: автомобили с нагрузкой на ось 10 т - 800 авт/сут, 7 т - 1700 авт/сут, 4 т - 2200 авт/сут. Приведенная интенсивность движения Nпр = 1456 авт/сут. Расчетный автомобиль - группа А.
Дренирующий слой создают из песка (Кпф = 2 м/сут, высота капиллярного поднятия hк = 0,4 м) с устройством прослойки из СМ дорнит Ф-2 (r = 600 г/м2).
Определение расчетного значения коэффициента фильтрации СМ в плоскости полотна Крф:
по номограмме (см. рис. 15) определяют sп/Р = 0,07 для отношений Еср/Е0 и h/D, полученных заранее при выполнении расчета на прочность. Отсюда значение вертикальных нормальных напряжений на уровне земляного полотна sп = 0,07×0,6 = 0,04 МПа (Р = 0,6 МПа - значение удельного давления на покрытие);
по табл. 4 приложения 2 для i = 0,04 и sп = 0,04 МПа находят значение Кcф = 65 м/сут;
по табл. 7 приложения 2 для грунтов группы В, 3-го типа местности, II дорожно-климатической зоны находят tг = 20 сут;
по формуле (5.3) вычисляют общее число приложений нагрузки: Nобщ = NпрtрT = 1456×20×18 =524,l тыс. при требуемом периоде эксплуатации дороги до капитального ремонта Т = 18 лет;
по табл. 5 приложения 2 для СМ с r = 600 г/м2, грунтов с W/WT = 0,9 и содержанием частиц размером менее 0,05 мм, nп = 60% находят число нагружений на момент стабилизации заиления Nc = 26,6 тыс.;
по формуле (5.4) находят
м/сут,
где коэффициент b = 0,00004 (см. рис. 16).
Определение толщины дренирующего слоя под прослойкой из СМ:
по формуле (5.1) определяют значение притока воды:
м3/м2 сут
для значения q = 5 л/м2 сут, Кп = 1,7 (табл. 18, 19 ВСН 46-83);
по номограмме (см. рис. 13) для lф = 7,5 м, Крф = 60 м/сут, Кпф = 2 м/сут, i = 0,04 и qp = 0,0085 находят расчетную глубину фильтрационного потока hр = 20 см;
по номограмме (см. рис. 14, а) для i = 0,04 и отношения hр/lф = 20/750 = 0,026 находят степень увлажнения С = 0,0027;
по номограмме (см. рис. 14, б) для lф = 7,5 м, i = 0,04, Кпф = 2 м/сут, С = 0,0027 находят толщину слоя, полностью насыщенного водой, hнас = 16 см;
по формуле (5.2) вычисляют толщину дренирующего слоя:
hд = hнас + hзап = 16 + 14 = 30 см,
где hзап = 14 см (см. п. 5.2.2).
1. Расчет выполняется применительно к усилению активной зоны земляного полотна и нижних конструктивных слоев дорожных одежд синтетическим рулонным материалом СМ. Применение СМ позволяет сократить расход традиционных дорожно-строительных материалов, составляющих слои дорожной одежды автомобильной дороги.
2. Экономический эффект от применения СМ определяется сравнением приведенных затрат на устройство равнопрочных конструкций оснований из щебня М 800 толщиной слоя 20 см (базовый вариант - вариант 1) и из щебня М 800 толщиной слоя 12 см на прослойке из СМ (внедряемый вариант - вариант 2) при одинаковом сроке службы дорожной одежды.
3. Расчет выполняется в соответствии с Отраслевыми методическими указаниями по определению экономической эффективности использования в дорожном строительстве новой техники, изобретений и рационализаторских предложений (Гипродорнии. М., 1978).
4. Приведенные затраты по вариантам
З = С + ЕнК,
где С - себестоимость (табл. 1); К - капитальные вложения (табл. 2); Ен = 0,15.
Отсюда:
по варианту 1 (базовому) З1 = 48688,3 + 0,15´9300 = 50083,3 руб.;
по варианту 2 (внедряемому) З2 = 46007,3 + 0,15´6050 = 46914,8 руб.
5. Экономическая эффективность применения СМ в расчете на 10000 м2 (примерно 1 км дороги), определяемая как разность приведенных затрат, составляет
Э = З1 - З2 = 50083,3 - 46914,8 = 3168,5 руб.
При этом обеспечена экономия на 1 км дороги:
а) трудозатрат - п. 4 табл. 1 (578,6 - 385,7) = 192,9 чел.-дня;
б) щебня - п. 1 табл. 3 (2520 - 1512) = 1008 м3;
в) машино-смен автомобилей-самосвалов - п. 2, 3 табл. 2
машино-смены.
Таблица 1
Расчет себестоимости устройства 10000 м2 основания
|
Ед. измерения |
Вариант 1 (базовый) |
Вариант 2 (внедряемый) |
|||||
|
Количество |
Стоимость единицы измерения, руб. |
Сумма, руб. |
Количество |
Стоимость единицы измерения, руб. |
Сумма, руб. |
||
|
1. Материалы (табл. 3) |
руб. |
- |
- |
32966,7 |
- |
- |
34660,5 |
|
2. Основная заработная плата рабочих (табл. 5) |
руб. |
- |
- |
2917 |
- |
- |
1940,1 |
|
3. В том числе при машинах |
руб. |
- |
- |
28,8 |
- |
- |
86,5 |
|
4. Трудовые затраты всех рабочих (см. табл. 5) |
чел.-дней |
578,6 |
- |
- |
385,7 |
- |
- |
|
5. Расходы по эксплуатации машин (табл. 2) |
руб. |
- |
- |
10422 |
- |
- |
6674,3 |
|
Итого прямых затрат (п. 1 + 3 + 5) |
руб. |
|
|
43417,5 |
|
|
41421,3 |
|
Накладные расходы: |
|
|
|
|
|
|
|
|
условно-постоянные (8,6% от прямых затрат)1 |
руб. |
|
|
3733,9 |
|
|
3562,2 |
|
зависящие от трудоемкости (1,9 руб. на 1 чел.-день) |
руб. |
- |
- |
1099,3 |
- |
- |
732,8 |
|
зависящие от основной заработной платы (15%) |
руб. |
|
|
437,6 |
|
|
291 |
|
Итого накладных расходов |
руб. |
|
|
5270,8 |
|
|
4586 |
|
Всего себестоимость |
руб. |
|
|
48688,3 |
|
|
46007,3 |
1 8,6% = 0,6´14,3, где 14,3 - величина нормативных накладных расходов для Минавтодора РСФСР.
Таблица 2
Состав отряда, стоимость эксплуатации и расчетные стоимости машин (капитальные вложения в основные фонды)
Сменный успех - 1400 м2
|
Наименование машин и механизмов |
Стоимость1 машино-смены, руб. |
Расчетная стоимость машины, тыс. руб. |
Вариант 1 (базовый) |
Вариант 2 (внедряемый) |
|||||||||
|
Количество машино-смен |
Стоимость машино-смен всех машин, руб. |
Количество машин |
Стоимость машин, тыс. руб. |
Количество машино-смен |
Стоимость машино-смен всех машин, руб. |
Количество машин |
Стоимость всех машин, тыс. руб. |
||||||
|
1 |
2 |
3 |
4 |
5 |
6 |
7 |
8 |
9 |
10 |
11 |
12 |
||
|
1 |
Распределитель Д-337 |
37,6 |
10,6 |
0,572)´1400 100´8,2 |
=0,97 |
36,5 |
1 |
10,6 |
0,52)´1400 100´8,2 |
=0,85 |
32 |
1 |
10,6 |
|
2 |
Автомобили-самосвалы ЗИЛ-555 на перевозке щебня |
18 |
3,4 |
1400´0,2 3,83) |
=73,7 |
1326,6 |
74 |
251,6 |
1400´0,2 3,83) |
=44,21 |
795,8 |
44 |
49,6 |
|
3 |
Автомобили ЗИЛ-555 на перевозке СМ |
18 |
3,4 |
- |
|
- |
- |
- |
1400 19303) |
=0,73 |
13,1 |
1 |
3,4 |
|
4 |
Каток Д-552 |
20,6 |
2,9 |
1,655)´1400 100´8,2 |
=2,82 |
58,1 |
3 |
8,7 |
1,655)´1400 100´8,2 |
=2,82 |
58,1 |
3 |
8,7 |
|
5 |
Каток Д-400-А |
19,6 |
4,6 |
1,155)´1400 100´8,2 |
=1,96 |
38,4 |
2 |
9,2 |
1,155)´1400 100´8,2 |
=1,96 |
38,4 |
2 |
9,2 |
|
6 |
Итого: |
|
|
|
|
|
|
|
|
|
|
||
|
|
а) стоимость машино-смен |
|
|
|
1459,6 |
|
|
|
937,4 |
|
|
||
|
|
б) стоимость машин |
|
|
|
|
|
280,1 |
|
|
|
181,5 |
||
|
7 |
Всего на 10000 м2 |
|
|
|
|
|
|
|
|
|
|
||
|
|
Основания: |
|
|
|
|
|
|
|
|
|
|
||
|
|
а) стоимость машино-смен (стр. 6а´10000)/1400 |
|
|
|
10422 |
|
|
|
6874,3 |
|
|
||
|
|
б) стоимость машин (стр. 6б´10000)/300000, где 30000 м2 - годовой объем работ |
|
|
|
|
|
9,3 |
|
|
|
6,05 |
||
Примечания. 1. СНиП IV-3-82 2. ЕНиР 17-2. 3. Технологические карты на устройство дорожных одежд и земляного полотна с применением синтетических материалов. М: Гипродорнии. 1981 (расчет 3). Производительность ЗИЛ-555 П-6 т/смену = 3,8 м3/смену (транспортировка щебня на 50 км). 4. См. п. 3 (расчет 5). П=1930 м3/смену (транспортировка СМ на 50 км). 5. ЕНиР 17-11.
Таблица 3
Стоимость материалов, необходимых для устройства 10000 м2 основания
|
Наименование материала |
Единица измерения |
Вариант 1 (базовый) |
Вариант 2 (внедряемый) |
|||||
|
Стоимость единицы измерения1, руб. |
Количество единицы измерения2 |
Общая стоимость, руб. |
Стоимость единицы измерения1, руб. |
Количество единицы измерения2 |
Общая стоимость, руб. |
|||
|
1 |
Щебень фракции 40-70 мм |
м3 |
12,21 |
(18,9 + 5 ´ 1,26) ´ 100 = 2520 |
30767,7 |
12,21 |
(18,9 - 3 ´ 1,26) ´ 100 = 1512 |
18461,5 |
|
2 |
Щебень фракции 10-20 мм |
м3 |
14,66 |
1,5 ´ 100 = 150 |
2199 |
14,66 |
1,5 ´ 100 = 150 |
2199 |
|
3 |
Синтетический материал |
м2 |
- |
- |
- |
1,4 |
10000 |
14000 |
|
|
Итого |
|
|
|
32966,7 |
|
|
34660,5 |
1 См. табл. 4.
2 ЕРЕР 27-42.
Таблица 4
Калькуляция стоимости материалов
|
Единицы измерения |
Наименование поставщика |
Вид отпускной цены |
Транспортные расходы на 1 т груза2 |
На единицу измерения |
|||||||
|
отпускная цена |
наценка сбытовых и снабж. органов |
стоимость тары и реквизита |
транспортные расходы |
итого франкоприобъектный склад |
заготовительно-складские расходы (2%) |
всего |
|||||
|
Щебень фракции 40- 70 мм |
м3 |
Стационарный карьер |
ФВСО |
5,42 |
3,31) |
- |
- |
8,67 |
11,97 |
0,24 |
12,21 |
|
Щебень фракции 10- 20 мм |
м3 |
То же |
»г |
5,42 |
5,71) |
- |
- |
8,67 |
14,37 |
0,29 |
14,66 |
|
Синтетический материал |
м2 |
Завод |
- |
- |
- |
- |
- |
- |
- |
- |
1,4 |
1 Отпускные цены приняты по Ценнику № 1 для III пояса.
2 См. Калькуляции транспортных расходов. Для щебня принята транспортировка по железной дороге на расстояние 400 км и последующие автомобильные перевозки на расстояние 50 км.
Таблица 5
Калькуляция транспортных расходов на 1 т щебня. Тарифная схема 47-45*
|
Наименование операции |
Наименование конечных пунктов перевозки (от - до) |
Расстояние перевозки (км) |
Стоимость на 1 т. руб. |
||
|
Формула счета |
Всего |
||||
|
1 |
Стоимость подачи и уборки вагонов на станции назначения |
Станция назначения |
- |
0,5 |
0,5 |
|
2 |
Железнодорожные перевозки |
Станция отправления - станция назначения |
400 |
1,7 |
1,7 |
|
3 |
Погрузочно-разгрузочные работы |
Станция назначения |
- |
0,31 + 0,15 |
0,46 |
|
4 |
Автомобильные перевозки |
Станция назначения - приобъектный склад |
50 |
2,4 + 1,15 |
2,76 |
|
|
Итого |
|
|
|
5,42 |
* СНиП IV-4-82.
Таблица 6
Расчет заработной платы рабочих
|
№ п/п |
Рабочие и их разряды |
Тарифная ставка руб./смену |
Вариант 1 (базовый) |
Вариант 2 (внедряемый) |
||
|
Количество рабочих1 |
Сумма заработной платы, руб. |
Количество рабочих2 |
Сумма заработной платы, руб. |
|||
|
1 |
Машинисты 5-го разряда |
5,75 |
1 + 3 + 2 = 5 |
34,5 |
1 + 3 + 2 = 6 |
34,5 |
|
2 |
Водители автомобилей 3-го класса |
5 |
74 |
370 |
45 |
225 |
|
3 |
Дорожные рабочие 2-го разряда |
4,04 |
1 |
4,04 |
3 |
12,12 |
|
4 |
Итого за 1 смену (сменный успех 1400 м2) |
|
81 |
408,54 |
54 |
271,62 |
|
5 |
В том числе заработная плата рабочих при машинах |
|
|
4,04 |
|
12,12 |
|
6 |
Всего заработная плата на 10000 м2 основания (стр. 4´10000/1400) |
|
578,6 |
2917 |
385,7 |
1940,1 |
|
7 |
Заработная плата рабочих при машинах на 10000 м2 (стр. 3´10000/1400) |
|
|
28,8 |
|
86,5 |
1 ЕНиР 17-2, ЕНиР-17-11, табл. 2.
2 Технологические карты (см. п. 3.3.7).
|
№ п/п |
Наименование (марка) CM, сырье, способ упрочнения |
Толщина, мм |
Ширина, мм |
Вес, г/м2 |
Минимальная прочность при растяжении Rр, Н/см |
Относительное удлинение при разрыве eр, продольное (поперечное) направление, % |
Условный модуль упругости Есм (деформации Едсм), Н/см |
Условный модуль упругости Е¢см (сферическое растяжение), Н/см |
Относительная прочность при длительном действии нагрузки к Rр, % |
Коэффициент фильтрации Кф, м/сут |
Рекомендуемая область применения |
|
1 |
2 |
3 |
4 |
5 |
6 |
7 |
8 |
9 |
10 |
11 |
12 |
|
1 |
Армодор 1: смесь волокон, включая несинтетические, нетканый, иглопробивной, обработанный дисперсией резины (ТУ 63.178 ОП 09-81) |
3-4 |
1500 |
900 |
50 |
30 (50) |
350 (200) |
500 |
40-50 |
До 40 |
Армирующая, защитная прослойка при усилении верхней части дорожных конструкций (активная зона земляного полотна, нижние слои дорожных одежд, обочины) |
|
2 |
Армодор 2: отходы поливинилхлорида с добавками, пленочный (ТУ 63.070 ОП 37-86) |
1 |
1000-1200 |
1500 |
40 |
20 (25) |
600 (500) |
1000 |
30-40 |
- |
То же и дополнительно в качестве гидроизолирующей прослойки |
|
|
Дорнит, нетканый, иглопробивной, смесь синтетических волокон (ТУ 21-29-81-81): |
|
|
|
|
|
|
|
|
|
Дренирующая, защитная и армирующая прослойка в слабых основаниях насыпей (типы 1, 2), дренирующая и защитная прослойка дренажных устройств на откосах (типы 1-3), защитная прослойка в нижних слоях оснований дорожных одежд, на обочинах, дренирующая и защитная прослойка в сочетании с песчаными слоями (типы 1, 2) |
|
|
тип 1 |
|
|
|
70 |
70 (130) |
150 (100) |
250 |
|
|
|
|
|
» 2 |
4 |
850-2500 |
600 |
60 |
70 (130) |
150 (100) |
250 |
50 |
150 |
|
|
|
» 3 |
|
|
|
40 |
80 (140) |
100 (50) |
200 |
|
|
|
|
4 |
Нетканый иглопробивной капроновый материал (ТУ 6-06-С105-84) |
2,5-3,5 |
1500 |
500-600 |
70 |
150 (170) |
150 (100) |
250 |
50 |
80 |
Защитная прослойка в нижних слоях дорожных одежд, на обочинах, откосах, слабых основаниях насыпей временных дорог, в дренажных устройствах |
|
5 |
СПАП: сетка из стекловолокна пропитанная (ТУ 6-11-217-76) |
2 |
1200 |
370 |
300 |
3-6 |
Более 1000 (900) |
- |
40 |
- |
Армирующая прослойка при обеспечении общей и защитная при обеспечении местной устойчивости откосов |
Примечания. 1 Значения показателей по графам 6 - 8 даны для испытаний в условиях одноосного растяжения (п. 2.3.1), по графе 9 - в условиях сложного напряженного состояния (сферическое растяжение - п. 2.3.1).
2. Значение показателя в графе 10 соответствует величине dsд (пп. 3.2.8 в 4.2.4 Указаний).
3. Область и эффективность применения СМ уточняют применительно к конкретным условиям проектирования и строительства после выполнения расчетов по методикам, изложенным в соответствующих разделах Указаний.
Защитные прослойки из рулонных бумажных материалов устраивают для обеспечения выполнения технологии устройства слоя основании из крупнофракционных материалов, укладываемых на песчаный дренирующий слой или на грунт земляного полотна, и их защиты от перемешивания. Рулонный бумажный материал укладывают под слой основания.
Для устройства прослойки, используют двухслойную упаковочную бумагу (ГОСТ 8828-75) или пароводонепроницаемую бумагу (ТУ 81-04-236-79), обработанную с обеих сторон битумом. После обработки бумага должна иметь характеристики не ниже приведенных в табл. 1.
Таблица 1
|
Прочность при растяжении Rр, Н/см |
Условный модуль упругости Есм, Н/см |
Относительная деформация при разрыве, % |
|
|
Воздушно-сухие |
40 |
2000 |
2 |
|
Водонасыщенные |
20 |
900 |
3 |
|
После 15 циклов замораживания-оттаивания |
10 |
600 |
3 |
Ширина бумажного рулона предпочтительна более 1,8 м, масса не более 600 кг. Бумага должна отвечать требованиям по сопротивляемости местным повреждениям (п. 2.3.2). В случае если последняя недостаточна, бумагу укладывают в два слоя, склеивая их битумом.
Обработку бумаги битумом выполняют одновременно с ее укладкой с помощью специальной установки (рис. 7), монтируемой на самоходной машине или прицепе, при этом ширина колеи шасси должна быть менее ширины бумажного рулона. Работу ведут в следующем порядке:
рулон бумаги (в случае укладки в два слоя - два рулона бумаги) устанавливают на оси. В ванну заливают горячий (t = 160 - 170 °C) битум БНД 90/130 и включают горелку подогревающего устройства. Бумагу запасовывают через систему роликов и вручную протягивают до соприкосновения с поверхностью земляного полотна или слоем, на который она укладывается. Далее бумагу сматывают с рулона и протягивают через битум за счет движения машины. При обработке бумаги битумом расход его регулируется специальным устройством. Для укладки однослойных прослоек расход битума составляет 600 - 800 г/м2, при двухслойных - до 1200 г/м2.

Рис. 7. Схема установки для обработки битумом бумажного материала и его укладки:
1 - рулоны бумаги; 1 - оси рулонов; 3 - ролики; 4 - устройство для регулировки расхода битума; 5 - ванна с битумом; 6 - ролик утапливающий; 7 - подогревающее устройство
Укладку выполняют вдоль оси дороги, начиная от обочин, с перекрытием отдельных рядом лежащих полотен на 0,15 - 0,2 м. Работы следует вести в сухую погоду при температуре воздуха не менее 5 °С и силе ветра не более 6 м/с.
Отсыпка на прослойку материала вышележащего слоя ведется по способу «от себя» без заезда построечного транспорта на открытую поверхность. Разравнивание материала выполняют не менее чем за три хода, чтобы предотвратить скольжение его по бумаге, что может вызвать её разрыв. В течение смены весь уложенный материал должен быть перекрыт вышележащим слоем.
СОДЕРЖАНИЕ