Нормативные документы размещены исключительно с целью ознакомления учащихся ВУЗов, техникумов и училищ.
Объявления:

ГОСУДАРСТВЕННЫЙ СТАНДАРТ СОЮЗА ССР

СОЕДИНЕНИЯ КОНТАКТНЫЕ ЭЛЕКТРИЧЕСКИЕ

ПРИЕМКА И МЕТОДЫ ИСПЫТАНИЙ

ГОСТ 17441-84

ГОСУДАРСТВЕННЫЙ КОМИТЕТ СССР ПО СТАНДАРТАМ

Москва

ГОСУДАРСТВЕННЫЙ СТАНДАРТ СОЮЗА ССР

СОЕДИНЕНИЯ КОНТАКТНЫЕ ЭЛЕКТРИЧЕСКИЕ

Приемка и методы испытаний

Electrical contact connections.

Acceptance and methods of tests

ГОСТ
17441-84

Взамен
ГОСТ 17441-78

(Измененная редакция, изм. №1).

Постановлением Государственного комитета СССР по стандартам от 29 ноября 1984 г. № 4050 срок действия установлен

с 01.01.86

до 01.01.91

Настоящий стандарт распространяется на разборные и неразборные электрические контактные соединения (далее - соединения), изготовленные в соответствии с ГОСТ 10434-82.

1. ПРАВИЛА ПРИЕМКИ

1.1. Проверку соединений следует проводить при квалификационных, приемо-сдаточных, периодических и типовых испытаниях электротехнических устройств, при приемо-сдаточных испытаниях соединений воздушных линий электропередачи, кабелей и т.д.

1.2. Виды проверок и объем выборки должны быть установлены в программах и методиках испытаний, стандартах или технических условиях на конкретные виды электротехнических устройств.

При отсутствии таких указаний виды проверок и объем выборки должны приниматься в соответствии с настоящим стандартом.

1.3. Виды проверок и объем выборки при квалификационных испытаниях приведены в табл. 1.

1.4. При периодических испытаниях должны выполняться проверки по пп. 1, 5 и 6 табл. 1.

Периодические испытания проводят один раз в два года, если иное не установлено в стандартах или технических условиях на конкретные виды электротехнических устройств.

1.5. Соединения, не выдержавшие испытания по одному из пп. 1-8 табл. 1, подвергают повторным испытаниям по этому пункту на удвоенном количестве образцов; при этом результаты повторных испытаний являются окончательными. Соединения, не выдержавшие испытания по п. 9 табл. 1, бракуют.

1.6. Виды проверок и объем выборки при типовых испытаниях должны быть достаточными для проверки тех характеристик соединений, которые могут измениться вследствие изменения конструкции, материала или технологии изготовления.

1.7. При приемо-сдаточных испытаниях должны выполняться проверки по пп. 1 и 5 табл. 1. Объем выборки должен быть установлен в стандартах или технических условиях на конкретные виды электротехнических устройств; при отсутствии таких указаний объем выборки должен составлять 0,5% (но не менее 3 шт.) соединений одного типоразмера, предъявляемых одновременно по одному документу. Отбор соединений в выборку следует осуществлять по ГОСТ 18321-73.

Примечания:

По согласованию с потребителем в зоне монтажа допускается не проводить проверку по п. 5 табл. 1 при приемосдаточных испытаниях неразборных контактных соединений, выполненных опрессовкой стандартным инструментом при соблюдении технологии, установленной в ГОСТ 10434-82.

2. При наличии в объеме испытаний проверки по п. 5 табл. 1 допускается не проводить проверку по п. 2.2.4.

(Измененная редакция, изм. №1).

1.8. Соединения, не выдержавшие испытания по пп. 1 или 5 табл. 1, подвергают повторным испытаниям по этому пункту на удвоенном количестве образцов; при этом результаты повторных испытаний являются окончательными и распространяются на всю партию.

Таблица 1

Наименование проверок

Пункты

Число образцов, не менее

Примечание

технических требований по ГОСТ 10434-82

методов испытаний по настоящему стандарту

1. Проверка соответствия требованиям к конструкции

2.1.1; 2.1.5-2.1.14; 2.3.4

2.2.1-2.2.6

19

При проверках по пп. 1-8

2. Испытание на воздействие климатических факторов внешней среды

2.1.8; 2.2.3

2.3.1-2.3.3

3

После проверки по п. 1

3. Испытание на воздействие механических факторов внешней среды

2.3.1; 2.3.4; 2.2.3

2.4.1-2.4.3

3

То же

4. Испытание на воздействие статической осевой нагрузки

2.3.2

2.5.1-2.5.3

3

"

5. Определение начального электрического сопротивления

2.2.1; 2.2.2

2.6.1-2.6.3

10

После проверки по п. 1

6. Испытание на нагревание номинальным (длительно-допустимым) током

2.2.4; 2.2.5

2.7.1-2.7.4

10

После проверки по п. 5

7. Ускоренное испытание в режиме циклического нагревания

2.2.3

2.8.1-2.8.4

7

После проверки по п. 6

8. Испытание на стойкость при сквозных токах

2.2.3-2.2.7

2.9.1-2.9.5

3

То же

9. Испытание на надежность

2.4.1

2.10.1-2.10.7

По п. 2.10.5

По п. 2.10

Примечание. При испытании соединении в составе изделия число образцов определяется числом испытываемых изделий и их конструкцией.

2. МЕТОДЫ ИСПЫТАНИЙ

2.1. Общие положения

2.1.1. Подготовка соединений к испытаниям должна включать: отбор готовых изделий, блоков или отдельных соединений; сборку соединений или их макетов по установленной технологии.

2.1.2. Монтаж разборных соединений рекомендуется проводить за 1-4 сут до начала исследовательских испытаний. В течение этого времени у соединений многопроволочных жил проводов и кабелей, неоконцованных наконечниками, с гнездовыми выводами и зажимами допускается двухкратное подтягивание винтов (болтов).

(Измененная редакция, изм. №1).

2.1.3. Подготовка рабочих поверхностей контакт-деталей должна выполняться в соответствии с ГОСТ 10434-82.

2.1.4. В разборных соединениях должны использоваться крепежные детали, указанные в ГОСТ 10434-82. Болты рекомендуется затягивать моментными индикаторными ключами, винты - тарированными отвертками; крутящие моменты рекомендуется принимать в соответствии с ГОСТ 10434-82.

2.1.5. Подготовленные к испытаниям соединения должны иметь четкую, нестирающуюся при испытаниях, маркировку (номер контактного соединения).

2.1.6. Материалы, длина и номинальное сечение соединительных проводников при испытаниях соединений должны соответствовать стандартам или техническим условиям на конкретные виды электротехнических устройств.

При отсутствии таких указаний рекомендуется длину соединительных проводников выбирать в соответствии с требованиями п. 2.1.7; номинальное сечение - из расчета протекания испытательного тока: для шин - по «Правилам устройства электроустановок» утвержденным Госэнергонадзором, для проводов и кабелей - по табл. 2. Изоляцию проводов и кабелей следует удалить по всей длине проводника.

Таблица 2

Номинальное сечение, мм2

Ток проводника IП, А

медного

алюмомедного

алюминиевого

из алюминиевого сплава

0,5

12

-

-

-

0,75

16

-

-

-

1,0

20

-

-

-

1,5

26

-

-

16

2,5

36

-

27

24

4,0

50

22

37

-

6,0

63

30

50

-

10,0

86

40

67

-

16,0

117

51

90

-

25,0

155

69

120

-

35,0

192

-

148

-

50,0

240

-

187

-

70,0

300

-

231

-

95,0

365

-

282

-

120,0

425

-

328

-

150,0

480

-

376

-

185,0

542

-

430

-

240,0

640

-

502

-

300,0

735

-

578

-

2.1.7. Длина соединительных проводников для испытания соединений должна соответствовать указанной в табл. 3. При испытании на нагревание номинальным током для измерения температуры проводника, если это необходимо, один из проводников должен иметь удвоенную длину.

Таблица 3

Номинальное сечение проводника, мм2

До 16

Св. 16 до 60

Св. 50 до 120

Св. 120 до 240

Св. 240

Длина проводника, мм, не менее, при испытаниях*

на нагревание номинальным током

250

500

750

1000

1000

на воздействие механических факторов внешней среды

150

200

300

400

500

* При других испытаниях длина проводников не нормируется. При ускоренном испытании в режиме циклического нагревания макетов соединений, собранных в последовательную цепь, рекомендуемая длина соединительных проводников - 50 мм.

2.2. Проверка соответствия требованиям к конструкции

2.2.1. Соответствие соединений требованиям к конструкции следует проверять визуально и с помощью стандартных измерительных инструментов.

2.2.2. Соединения подвергают контролю с целью установления их соответствия требованиям стандартов, технических условий, чертежей и технологических инструкций в части материала, размеров, комплектности и качества подготовки поверхностей.

2.2.3. Качество защитного металлического покрытия проверяют визуально.

2.2.4. У плоских разборных соединений контролируют плотность прилегания контактных поверхностей.

Соединения считают выдержавшими испытания, если щуп толщиной 0,03 мм не входит в паз сопряжения токоведущих деталей далее зоны, ограниченной периметром шайбы или гайки. При наличии шайб разного диаметра зону определяют диаметром меньшей шайбы. Для сжимных соединений суммарная длина участков нахождения щупа толщиной 0,03 мм в стык между сопрягаемыми плоскостями проводников не должна превышать 25 % периметра нахлеста.

(Измененная редакция, изм. №1).

2.2.5. У неразборных соединений, выполненных опрессовкой, контролируют геометрические размеры опрессованной части.

2.2.6. У сварных или паяных соединений контролируют отсутствие трещин, подрезов, незаплавленных кратеров. Качество этих соединений проверяют одним из методов, указанных в ГОСТ 3242-79, ГОСТ 7512-82 и ГОСТ 14782-86.

(Измененная редакция, изм. №1).

2.3. Испытание на воздействие климатических факторов внешней среды

2.3.1. Виды и значения климатических факторов внешней среды устанавливают в стандартах или технических условиях на конкретные виды электротехнических устройств.

2.3.2. Методы испытаний соединений - по ГОСТ 20.57.406-81 или ГОСТ 16962.1-89.

(Измененная редакция, изм. №1).

2.3.3. Соединения считают выдержавшими испытание, если при визуальном осмотре на их контактных поверхностях не будет обнаружено очагов коррозии, препятствующих эксплуатации, и если рост электрического сопротивления после испытания не превышает значений, установленных в ГОСТ 10434-82.

2.4. Испытание на воздействие механических факторов внешней среды

2.4.1. Виды воздействующих факторов и их значения (степени жесткости) в зависимости от условий эксплуатации устанавливают в стандартах или технических условиях на конкретные виды электротехнических устройств.

2.4.2. Методы испытаний соединений - по ГОСТ 20.57.406-81 или ГОСТ 16962-71. Отходящие проводники рекомендуется монтировать на жестком основании вне вибрационного стенда с помощью скоб. Свободная длина проводника должна соответствовать требованиям табл. 3.

2.4.3. Соединения считают выдержавшими испытание, если при визуальном осмотре не обнаружено повреждений, остаточных деформаций, ослабления затяжки болтов, винтов и гаек, препятствующих эксплуатации, и если рост электрического сопротивления после испытания не превышает значений, установленных в ГОСТ 10434-82.

2.5. Испытание на воздействие осевой нагрузки

2.5.1. Испытание сварных соединений проводят по ГОСТ 6996-66 на стандартных образцах или соединениях; испытания паяных, спрессованных и разборных соединений - по ГОСТ 1497-84.

2.5.2. Прочность соединения оценивают путем сравнения статических осевых нагрузок, разрушающих соединение и целый проводник. Если соединение выполнено из проводников различных сечений или материалов, прочность соединения оценивают сравнением с целым проводником меньшей прочности.

2.5.3. Соединения считают выдержавшими испытание, если они: выдерживают статические осевые нагрузки по ГОСТ 10434-82.

2.6. Определение электрического сопротивления

2.6.1. Электрическое сопротивление соединения измеряют на участке между точками, указанными на черт. 1-6*. Сопротивление проводника измеряют на контрольном сопротивлении** (целый участок проводника, равный условной длине l соединения).

* В случаях, обусловленных конструктивным исполнением изделий, допускается сопротивление не измерять.

** По согласованию с потребителем сопротивление проводника допускается определять расчетным путем. При присоединении к штыревому выводу (черт. 6) сопротивление проводника не измеряют; сопротивление соединения в этом случае должно соответствовать значениям, установленным в ГОСТ 10434-82.

Для соединений, не указанных на черт. 1-6, точки измерения устанавливают на расстоянии 2-10 мм от контактного стыка по ходу тока.

Сопротивление соединений пакета шин измеряют отдельно для каждой пары элементов соединения (измерение можно производить на ребрах шин так, как это показано на черт. 1).

Измерение ведут с помощью щупов с острыми иглами, разрушающими окисную пленку.

На многопроволочных жилах проводов и кабелей в местах приложения измерительных (потенциальных) щупов должно быть обеспечено равномерное распределение тока и одинаковый потенциал по всем проволокам. Для этого рекомендуется припайка или сплавление проводов, опреесовка гильз или наложение бандажа из двух-трех витков медной луженой проволоки диаметром 0,4-1,5 мм.

Черт. 1

Черт. 2

Черт. 3

Оконцевание многопроволочной жилы

Черт. 4

Присоединения к плоскому выводу

Черт. 5

Черт. 6

Измерение сопротивления соединений многопроволочных жил сечением до 6 мм2 и однопроволочных жил сечением до 16 мм2 допускается выполнять с проколом изоляции без обеспечения мер по выравниванию распределения тока и потенциала.

(Измененная редакция, изм. №1).

2.6.2. Сопротивление (падение напряжения) соединений следует измерять методом вольтметра-амперметра па постоянном токе с учетом требований ГОСТ 2933-83, микроомметром или двойным мостом.

Сопротивление соединений с многопроволочными жилами следует измерять методом вольтметра-амперметра. Допускается измерение микроомметром, при этом для присоединения токовых наконечников щупов следует обеспечивать те же условия, что и для потенциальных.

При определении сопротивления методом вольтметра-амперметра измерительный ток рекомендуется принимать не более 0,3 номинального тока проводника.

Сопротивление измеряют при температуре окружающей среды.

(Измененная редакция, изм. №1).

2.6.3. Соединения считают выдержавшими испытания, если среднее значение сопротивления выборки* соответствует требованиям ГОСТ 10434-82.

* При исследовательских испытаниях сопротивление каждого соединения выборки должно соответствовать требованиям ГОСТ 10434-82.

2.7. Испытание на нагревание номинальным током

2.7.1. Испытанию подвергают соединения, прошедшие проверку по п. 2.6 и удовлетворяющие требованиям п. 2.6.3.

2.7.2. Нагревание проводят постоянным или переменным током. При отсутствии в стандартах и технических условиях на конкретные виды электротехнических устройств значений номинального тока следует проводить испытания на испытательном токе, значение которого приведено в п. 2.1.6. Методы испытаний - по ГОСТ 2933-83.

(Измененная редакция, изм. №1).

2.7.3. (Исключен, изм. №1).

2.7.4. Соединения считают выдержавшими испытания, если их температура с учетом верхнего рабочего значения температуры окружающего воздуха по ГОСТ 15543.1-89 (измеренное превышение температуры над температурой воздуха пря испытаниях плюс верхнее рабочее значение температуры окружающего воздуха) не выше значений, установленных в ГОСТ 10434-82.

(Измененная редакция, изм. №1).

2.8. Ускоренное испытание в режиме циклического нагревания

2.8.1. Испытанию подвергают соединения, прошедшие испытание по п. 2.7 и удовлетворяющие требованиям п. 2.7.4.

2.8.2. Ускоренное испытание состоит в попеременном (циклическом) нагревании соединений током до (120±5)°С с последующим их охлаждением до температуры (25±10)°С. Значение тока испытания устанавливают опытным путем из расчета времени нагревания соединений 3-10 мин*. Для ускорения испытания допускается охлаждение соединений обдувом.

* Для проводников на номинальный ток более 100 А время нагревания допускается увеличивать до 20 мин.

Количество циклов «нагревание-охлаждение» должно быть не менее 500 - для соединений класса 1, 300 - для класса 2 и 50 - для класса 3.

2.8.3. В процессе испытания периодически через каждые 100 циклов (для соединений класса 3 после 50 циклов) измеряют электрическое сопротивление соединений в соответствии с п. 2.6 и определяют среднее значение сопротивления выборки.

2.8.4. Соединения считают выдержавшими испытания, если среднее значение сопротивления выборки после каждого опыта из 100 циклов (для соединений класса 3 после 50 циклов) в сравнении со средним значением сопротивления выборки, полученным до начала испытаний, соответствует требованиям ГОСТ 10434-82

(Измененная редакция, изм. №1).

2.9. Испытание на стойкость при сквозных токах

2.9.1. Испытанию подвергают соединения, прошедшие испытание по п. 2.7 и удовлетворяющие требованиям п. 2.7.4.

2.9.2. Методы испытаний соединений - по ГОСТ 2933-83 к ГОСТ 687-78.

2.9.3. Испытание проводят трехразовой нагрузкой током IСКВ, значение которого определяют по формуле

IСКВ=Sqt,                                                                (1)

где S - номинальное сечение проводника, мм2;

qt - плотность односекундного тока, А/мм2 (принимается по ГОСТ 10434-82 или стандартам и техническим условиям на конкретные виды электротехнических устройств).

Допускается испытание проводить током I'СКВ, значение которого меньше IСКВ. При этом длительность протекания тока должна быть выше 1 с, но не более 4 с.

Значение тока I'СКВ следует вычислять по формуле

где t=1 с; 1 с£t'£4 с.

2.9.4. После испытания на стойкость при сквозных токах измеряют электрическое сопротивление в соответствии с п. 2.6 и установившуюся температуру соединений при нагревании номинальным током в соответствии с п. 2.7.

2.9.5. Соединения считают выдержавшими испытание на стойкость при сквозных токах, если они соответствуют требованиям ГОСТ 10434-82.

2.10. Испытание на надежность

2.10.1. Методы испытания соединений на надежность, а также объём выборки устанавливают в стандартах или технических условиях на конкретные виды электротехнических устройств. При отсутствии таких указаний эти испытания следует проводить в соответствии с настоящим стандартом.

2.10.2. Испытанию подвергают соединения, прошедшие испытание по п. 2.7 и удовлетворяющие требованиям п. 2.7.4.

2.10.3. Испытание проводят последовательно в режиме циклического нагревания в соответствии с п. 2.8 и в режиме длительного протекания номинального тока в соответствии с п. 2.7.

Продолжительность испытания в режиме длительного протекания номинального тока должна устанавливаться в стандартах или технических условиях на конкретные виды электротехнических устройств. При отсутствии таких указаний рекомендуемая продолжительность испытаний - 1500 ч. Периодически через каждые 300 ч при испытании в режиме длительного протекания номинального тока измеряют температуру соединений.

2.10.4. Отказом соединения при испытании на надежность считают несоответствие его температуры требованиям ГОСТ 10434-82.

2.10.5. Объем выборки при испытании соединений на надежность должен соответствовать табл. 4.

Таблица 4

Значение гамма-процентного ресурса, %

75

85

90

92

94

96

99

Объем выборки

6

10

15

19

26

39

159

2.10.6. Соединения считают выдержавшими испытание, если за время испытаний не отмечено ни одного отказа.

2.10.7. Методика испытания контакт-деталей для прогнозирования наработки на отказ соединения приведена в приложении 1.

(Измененная редакция, изм. №1).

2.10.8. Методика испытаний контактных соединений для прогнозирования среднего срока службы приведена в приложении 2.

(Добавлено, изм. №1).

ПРИЛОЖЕНИЕ 1

Рекомендуемое

МЕТОДИКА ИСПЫТАНИЯ КОНТАКТ-ДЕТАЛЕЙ ДЛЯ ПРОГНОЗИРОВАНИЯ НАРАБОТКИ НА ОТКАЗ СОЕДИНЕНИЯ

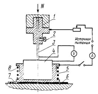
1. Аппаратура и материалы

1.1. Измерения производят на установке, смонтированной на базе прибора ПМТ-3 или ПМТ-5, в котором алмазная пирамидка заменена золотым электродом в виде иглы (чертеж). Допускается применение позолоченной иглы с толщиной покрытия не менее 3 мкм, например, золоченых контактов разъемов типа 2PMAI. В держателе 1 крепят винтом 2 золотую иглу 3 с радиусом закругления вершины 0,5 мм. Образец 4 устанавливают в оправке 5, закрепленной на столике 6 прибора ПМТ и изолированной от него прокладкой 7. Оправка снабжена нагревателем 8. Температуру образца измеряют термопарой с помощью прибора, имеющего класс точности не менее 1,5. Нормальную нагрузку задают гирями и прикладывают посредством нагружающего устройства прибора ПМТ. Допускается применение другого нагружающего устройства, обеспечивающего строго вертикальное перемещение иглы 3 и погрешность в величине приложенной нормальной нагрузки не более 0,005 Н. Установка должна быть виброизолирована.

1.2. Испытываемый образец изготавливают из материала контакт-детали: по той же технологии, что и реальную деталь. Рабочая поверхность образца должна иметь шероховатость Ra£16 мкм по ГОСТ 2789-73.

1.3. Для промывки образцов перед испытаниями используют бензин по ГОСТ 443-76 и ацетон по ГОСТ 2603-79.

2. Проведение испытаний

2.1. Образец и золотую иглу промывают жидкостями, указанными в п. 1.3, и протирают чистой хлопчатобумажной тканью.

2.2. Устанавливают образец в оправке на столике прибора ПМГ.

2.3. На золотую иглу прикладывают нагрузку 0,05 Н.

2.4. Нагревают контакт до температуры, соответствующей допустимому значению по ГОСТ 10434-82.

2.5. Периодически измеряют электрическое сопротивление контакта золотая игла-образец (см. п. 2.6).

2.6. Измеряют время, за которое контактное сопротивление возрастает до значения, допустимого ГОСТ 10434-82. Указанное время является временем безотказной работы одноточечного контакта.

2.7. Минимальное время безотказной работы соединения рассчитывают по формуле

                                                                (1)

где t0 - время безотказной работы одноточечного контакта по п. 2.6;

п - количество пятен контакта.

Количество пятен контакта можно определить по приближенной формуле

где А - поминальная (кажущаяся) площадь соединения, м2;

N - нормальная нагрузка в соединении, Н;

НВ - твердость материала контакт-деталей, Па.

ПРИЛОЖЕНИЕ 2

Рекомендуемое

МЕТОДИКА ИСПЫТАНИЙ КОНТАКТНЫХ СОЕДИНЕНИЙ ДЛЯ ПРОГНОЗИРОВАНИЯ СРЕДНЕГО СРОКА СЛУЖБЫ

1. Испытания проводят на выборке контактных соединений каждого типа в режиме циклического нагревания в соответствии с п. 2.8.

2. Через каждые 100 циклов устанавливают перерывы, в процессе которых осуществляют дополнительный нагрев контактных соединений номинальным током до установившейся температуры в соответствии с п. 2.7, которую измеряют и регистрируют.

3. Испытания продолжают до достижения контактными соединениями допустимой температуры по ГОСТ 10434-82. По полученным экспериментальным данным после окончания ускоренных испытаний строят зависимости среднего значения температуры от числа циклов. Затем осуществляют переход от результатов ускоренных испытаний к ожидаемым результатам в условиях эксплуатации. Для этого масштабируют число циклов во времени (рекомендуемый масштаб: 1 цикл эквивалентен 10-15 ч нагрева контактных соединений номинальным током).

4. По зависимости температуры от времени, полученной для данного типа контактного соединения, определяют средний срок его службы, т.е. находят точку «а» по допустимой температуре нагрева, как показано на чертеже.

(Добавлено, изм. №1).

СОДЕРЖАНИЕ

1. Правила приемки. 1

2. Методы испытаний. 2

Приложение 1 Методика испытания контакт-деталей для прогнозирования наработки на отказ соединения. 8

Приложение 2 Методика испытаний контактных соединений для прогнозирования среднего срока службы.. 9

 

2008-2013. ГОСТы, СНиПы, СанПиНы - Нормативные документы - стандарты.