
ГОСУДАРСТВЕННЫЙ СТАНДАРТ СОЮЗА ССР
ЕДИНАЯ СИСТЕМА КОНСТРУКТОРСКОЙ ДОКУМЕНТАЦИИ
ОБОЗНАЧЕНИЯ
УСЛОВНЫЕ ПРОВОДОВ
И КОНТАКТНЫХ СОЕДИНЕНИЙ
ЭЛЕКТРИЧЕСКИХ ЭЛЕМЕНТОВ,
ОБОРУДОВАНИЯ И УЧАСТКОВ ЦЕПЕЙ
В ЭЛЕКТРИЧЕСКИХ СХЕМАХ
ГОСТ 2.709-89
(СТ СЭВ 3754-82, СТ СЭВ 6308-88)
ГОСУДАРСТВЕННЫЙ КОМИТЕТ СССР ПО СТАНДАРТАМ
Москва
ГОСУДАРСТВЕННЫЙ СТАНДАРТ СОЮЗА ССР
|
Единая система конструкторской документации ОБОЗНАЧЕНИЯ
УСЛОВНЫЕ ПРОВОДОВ И Unified system of design documentation. |
ГОСТ (CT СЭВ 3754-82, CT СЭВ 6308-88) |
Дата введения 01.01.90
Настоящий стандарт распространяется на электрические схемы изделий всех отраслей промышленности и строительства и устанавливает условные обозначения проводов и зажимов электрических элементов, устройств, оборудования, базовых электрических элементов (резисторов, предохранителей, реле, трансформаторов, вращающихся машин), управляющих устройств двигателей, питания, заземления, соединения с корпусом, участков цепей в электрических схемах.
1.1. Настоящий стандарт устанавливает способы, используемые для отличия зажимов, а также общие правила для их единообразного обозначения.
Примечание. Термин «обозначение зажимов» применяется для обозначения токопроводящих участков цепи и электрических элементов, предназначенных для подключения.
1.2. Единый способ обозначения можно применять при использовании вычислительной техники и передачи информации телетайпом.
1.3. Чертежи в настоящем стандарте приведены в качестве примеров для пояснения текста.
2.1. Для выбора способа обозначения зажимов важным критерием является их функция и расположение.
Отличительными признаками способа обозначения являются:
1) расположение зажимов по избранной системе;
2) условный цвет по избранной системе;
3) условное графическое обозначение по ГОСТ 2.721;
4) буквенно-цифровое обозначение по разд. 4.
Примечание. Указанные способы с точки зрения их использования равноценны.
Допускается использовать графические обозначения по ГОСТ 2.721 взамен буквенно-цифровых (см. табл. 1 и 2).
2.2. Выбор способа обозначения зависит от вида устройства, расположения зажимов, а также сложности устройства или проводки.
2.3. Буквенно-цифровые обозначения используются для сложных устройств и проводок и являются удобными для передачи по телетайпу.
3.1. Для обозначения зажимов электрических элементов используют условный цвет, соответствующее графическое или буквенно-цифровое обозначение.
3.2. При обозначении зажимов условным цветом, взаимоотношение цвета и равноценного графического или буквенно-цифрового обозначения должно быть показано в сопроводительной документации.
3.3. Если конструкция определенного элемента или устройства не позволяет обозначить зажим, то в сопроводительной документации должно быть показано отношение между расположением зажима, равноценным графическим или буквенно-цифровым обозначениями, а также взаимное расположение зажимов.
4.1. При построении буквенно-цифровых обозначений используют прописные буквы латинского алфавита и арабские цифры.
Не рекомендуется применять буквы I и О.
4.2. Полное обозначение состоит из групп, каждая группа - из букв и (или) цифр.
Допускается опускать одну или несколько групп, если это не ведет к ошибке при подключениях.
Для разделения групп, состоящих только из цифр или букв, используют точку. Если нет необходимости различать последующие группы, точку можно опустить. Например, полное обозначение 1U11 можно записать так: 1.11, если нет необходимости указывать группу U; если нет необходимости различать последующие группы, точку можно опустить: 111.
4.3. Допускается использовать знаки «+» и «-» при передаче телетайпом.
4.4. В системе обозначения соблюдены следующие принципы.
Две концевые точки элементов обозначают последовательными цифрами (например, 1 и 2 на черт. 1).
Промежуточные точки простого элемента обозначают предпочтительно последующими цифрами (3, 4, 5 и т.д.).
Нумерацию промежуточных точек начинают от концевой точки, обозначенной меньшим номером. Например, промежуточные точки элемента с конечными зажимами 1 и 2 обозначают цифрами 3, 4, 5 по черт. 2.
Черт. 1
Черт. 2
1) перед цифрами по п. 4.4 помещают буквы (например, U, V, W) в соответствии с фазами трехфазной системы (черт. 3а);
2) перед цифрами по п. 4.4, при отсутствии необходимости или возможности различения фаз, помещают последующую цифру. Например, концы одного элемента обозначены 1.1 и 1.2, а те же концы следующего элемента - 2.1 и 2.2, если это не ведет к подмене обозначения 11, 12 и 21, 22 (черт. 3б).
Черт. 3
4.6. Одинаковые группы элементов, концам которых внутри этих групп присвоены обозначения в соответствии с п. 4.5, различают, помещая перед этими обозначениями порядковые номера групп по черт. 4.
Черт. 4
Буквенное обозначение зажимов для элементов постоянного тока предпочтительно выбирать из первой половины латинского алфавита, а для элементов переменного тока - из второй половины алфавита.
Примечание. Пример применения буквенно-цифровых обозначений проводов и зажимов трехфазной системы приведен на черт. 5.
Черт. 5
Обозначения зажимов электрических устройств, присоединенных к специальным проводам, приведены в табл. 1.
Таблица 1
|
Присоединительный зажим электрического устройства |
Обозначение |
|
|
буквенно-цифровое |
графическое |
|
|
Для переменного тока |
|
|
|
1-я фаза |
U |
|
|
2-я фаза |
V |
|
|
3-я фаза |
W |
|
|
нейтральный провод |
N |
|
|
Защитный провод |
РЕ |
По ГОСТ 2.721 |
|
Заземляющий провод |
Е |
» |
|
Провод бесшумового заземления |
ТЕ |
» |
|
Провод соединения с корпусом |
ММ |
» |
|
Провод эквипотенциальный |
СС |
» |
Зажимы электрических устройств, предназначенные для прямого или непрямого соединения с питающими проводами трехфазной системы, предпочтительно обозначать буквами U, V, W, если необходимо соблюдение последовательности фаз.
Зажим, соединенный с корпусом, обозначают буквами ММ, зажим эквипотенциальный - СС. Этим обозначением пользуются только в том случае, когда соединение этого зажима с защитным проводом или землей не видно.
4.7. Обозначения проводов специального вида приведены в табл. 2.
Таблица 2
|
Наименование |
Обозначение |
|
|
буквенно-цифровое |
графическое |
|
|
Система питания переменного тока: |
|
|
|
фазный провод |
L |
|
|
1-я фаза |
L1 |
|
|
2-я фаза |
L2 |
|
|
3-я фаза |
L3 |
|
|
нейтральный провод |
N |
|
|
Система питания постоянного тока: |
|
|
|
положительный полюс |
L+ |
+ |
|
отрицательный полюс |
L- |
- |
|
средний провод |
М |
|
|
Защитный провод с заземлением |
РЕ |
По ГОСТ 2.721 |
|
Защитный провод незаземленный |
PU |
» |
|
Соединенный защитный и средний провод |
PEN |
» |
|
Заземляющий провод |
Е |
» |
|
Провод бесшумового заземления |
ТЕ |
» |
|
Провод соединения с корпусом |
ММ |
» |
|
Провод эквипотенциальный |
СС |
» |
5.1. Обозначение участков цепей служит для их опознавания, может отражать их функциональное назначение и создает связь между схемой и устройством.
5.2. При обозначении используют прописные буквы латинского алфавита и арабские цифры, выполненные одним размером шрифта.
5.3. Участки цепи, разделенные контактами аппаратов, обмотками машин, резисторами и другими элементами, должны иметь разное обозначение.
5.4. Соединения, проходящие через неразборные, разборные и разъемные контактные соединения, обозначают одинаково. Допускаются в обоснованных случаях разные обозначения.
5.5. Участки цепи в схеме обозначают независимо от нумерации входных и выходных зажимов машин и устройств.
5.6. Последовательность обозначения должна быть, как правило, от ввода (источника питания) к потребителю. Разветвляющиеся цепи обозначают сверху вниз в направлении слева направо.
Для удобной ориентации в схемах при обозначении участков цепей допускается оставлять резервные номера или некоторые номера пропускать.
5.7. Обозначение цепи переменного тока состоит из обозначения участков цепей фазы и последовательного номера.
Например, участки цепи 1-й фазы - L1, L11, L12, L13 и т.д.,
2-й фазы - L2, L21, L22, L23 и т.д.,
3-й фазы - L3, L31, L32, L33 и т.д.
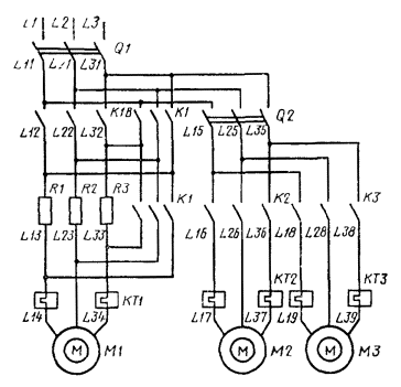
Пример обозначения приведен на черт. 6. Допускается сокращение обозначения по п. 4.2.
Допускается, если это не вызовет ошибочного подключения, обозначать фазы соответственно буквами А, В, С.
5.8. Для отличия проводов фазы или полярности, относящихся к разным потребителям, применяют последовательные номера, которые помещают перед обозначением данной фазы или полярности (например, обозначение 2L1 означает провод первой фазы, ведущей ко второму потребителю).
Черт. 6
5.9. Допускается обозначать участки цепи последовательными числами, как указано на черт. 7.
Черт. 7
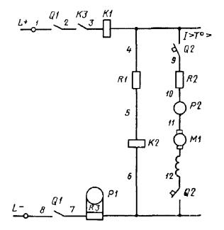
5.10. Цепи постоянного тока обозначают нечетными числами на участках положительной полярности и четными числами на участках отрицательной полярности. Входные и выходные участки цепи обозначают с указанием полярности «L+» и «L-»; допускается применять только знаки «+» или «-» (черт. 8).
Черт. 8
5.11. Допускается в обозначение цепей управления, защиты, сигнализации, автоматики, измерения включать обозначение фаз (черт. 9).
В однофазных и двухфазных несиловых цепях переменного тока допускается участки цепей обозначать четными и нечетными числами.
В обозначение цепи допускается включать обозначение, характеризующее функциональное назначение цепи. В этом случае последовательность чисел допускается устанавливать в пределах функциональной цепи.
Черт. 9
5.12. Допускается в обозначение цепей отдельного устройства, входящего в изделие, включать прописную букву латинского алфавита (кроме А, В, С, М), выбранную для обозначения цепей данного устройства. В этом случае последовательность чисел допускается устанавливать в пределах устройства.
5.13. На схеме обозначение проставляют около концов или в середине участка цепи: слева от изображения цепи - при вертикальном расположении цепи; над изображением цепи - при горизонтальном расположении цепи.
В технически обоснованных случаях допускается проставлять обозначения над изображением цепи.
5.14. В качестве обозначения могут быть использованы адреса присоединений участка цепи. В этом случае у начала участка указывают адрес присоединения конца участка, а у конца - адрес присоединения начала участка. В качестве адресов используют буквенно-цифровые обозначения элемента, устройства или функциональной группы по ГОСТ 2.710 (черт. 10 и 11).
Черт. 10
Черт. 11
Допускается применять смешанное обозначение, состоящее из указания цепи и адресов присоединения (черт. 12).
Черт. 12
1. РАЗРАБОТАН И ВНЕСЕН Государственным комитетом СССР по стандартам
ИСПОЛНИТЕЛИ
С. С. Борушек; В. В. Гугнина; Б. Я. Кабаков; Б. С. Мендриков; С. Л. Таллер; Н. К. Токарева; П. А. Шалаев, канд. техн. наук
2. УТВЕРЖДЕН И ВВЕДЕН В ДЕЙСТВИЕ Постановлением Государственного комитета СССР по стандартам от 24.03.89 № 669
3. Стандарт полностью соответствует СТ СЭВ 3754-72, СТ СЭВ 6308-88
4. Взамен ГОСТ 2.709-72
5. ССЫЛОЧНЫЕ НОРМАТИВНО-ТЕХНИЧЕСКИЕ ДОКУМЕНТЫ
|
Обозначение НТД, на который дана ссылка |
Номер пункта |
СОДЕРЖАНИЕ
|
3. Использование обозначений. 2 4. Единая система буквенно-цифровых обозначений проводов и зажимов. 2 |