
ГОСУДАРСТВЕННЫЙ СТАНДАРТ СОЮЗА ССР
ВИСКОЗИМЕТРЫ
ДЛЯ ОПРЕДЕЛЕНИЯ
УСЛОВНОЙ ВЯЗКОСТИ
ТЕХНИЧЕСКИЕ УСЛОВИЯ
ГОСТ 1532-81
ГОСУДАРСТВЕННЫЙ
КОМИТЕТ СССР ПО УПРАВЛЕНИЮ
КАЧЕСТВОМ ПРОДУКЦИИ И СТАНДАРТАМ
Москва
ГОСУДАРСТВЕННЫЙ СТАНДАРТ СОЮЗА ССР
|
ВИСКОЗИМЕТРЫ ДЛЯ ОПРЕДЕЛЕНИЯ Технические условия Viscosimeters of relative
viscosity. |
ГОСТ Взамен |
Постановлением Государственного комитета СССР по стандартам от 2 апреля 1981 г. № 1764 срок введения установлен
с 01.01.82
для вискозиметров типа ВУ1 –
с 01.01.83
Проверен в 1986 г. Постановлением Госстандарта СССР от 26.09.86 № 2916 срок действия продлен
до 01.01.92
Настоящий стандарт распространяется на вискозиметры, предназначенные для определения условной вязкости жидких сред (далее - жидкостей), дающих непрерывную струю в течение всего времени испытания по ГОСТ 6258-85, изготовляемые для нужд народного хозяйства и экспорта.
1.1. Типы, основные параметры и размеры вискозиметров должны соответствовать указанным на черт. 1 - 6 и в таблице.
|
Тип вискозиметра |
Код ОКП |
Исполнение |
Регулирование температуры |
Напряжение, В |
Частота, Гц |
|
питающей сети |
|||||
|
ВУ |
42 1572 0034 02 |
Обыкновенное |
Ручное |
|
50; 60 |
|
42 1572 0046 09 |
Экспортное |
||||
|
ВУ1 |
42 1572 0035 01 |
Обыкновенное |
Автоматическое (за счет применения термостата) |
- |
|
|
42 1572 0017 08 |
Экспортное |
||||
Пример условного обозначения вискозиметра типа ВУ:
ВУ ГОСТ 1532-81
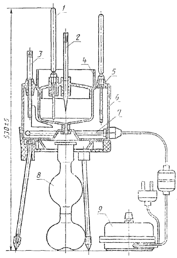
Вискозиметр типа ВУ
1 - термометры; 2 - стержень; 3 - мешалка; 4 - резервуар; 5 - крышка; 6 - ванна; 7 - нагреватель; 8 - измерительная колба; 9 - регулятор мощности
Черт. 1
Вискозиметр типа ВУ1

1 - термометр; 2 - стержень; 3 - ванна; 4 - резервуар; 5 - измерительная колба; 6 - патрубки
Черт. 2
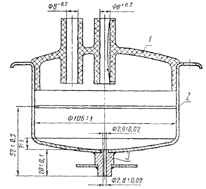
Резервуар вискозиметра типа ВУ

1 - резервуар; 2 - крышка; 3 - сточная трубка; 4 - гайка
Черт. 3
Резервуар вискозиметра типа ВУ1

1 - крышка; 2 - резервуар; 3 - сточная трубка
Черт. 4
Измерительная колба
Черт. 5
Стержень
Черт. 6
(Измененная редакция, Изм. № 2).
1.2. По устойчивости к воздействию температуры и влажности воздуха в условиях эксплуатации вискозиметры должны соответствовать исполнению УХЛ категории размещения 4.2 или исполнению Т категории размещения 4.1 по ГОСТ 15150-69.
1.3. По устойчивости к механическим воздействиям вискозиметры должны соответствовать группе исполнения L3 по ГОСТ 12997-84.
(Измененная редакция, Изм. № 2).
Внешний вид вискозиметров, предназначенных для экспорта, должен соответствовать специальному образцу, утвержденному в установленном порядке.
2.2. Вискозиметры должны работать при следующих условиях эксплуатации:
температура окружающего воздуха 10 - 35 °С;
относительная влажность воздуха до 80 %;
отсутствие вибрационных воздействий.
2.4. Требования к конструкции
2.4.1. Металлические части вискозиметров должны быть защищены противокоррозионным покрытием по ГОСТ 9.306-85, которое должно быть сплошным и не терять стойкости в процессе эксплуатации.
Параметр шероховатости внутренней поверхности резервуара должен быть Ra 0,40 - 0,63 мкм; параметр шероховатости сточной трубки - Ra 0,20 - 0,32 мкм по ГОСТ 2789-73.
(Измененная редакция, Изм. № 1).
2.4.2. Сточная трубка должна быть изготовлена из нержавеющей стали группы 1 по ГОСТ 5632-72.
2.4.3. Отклонение от перпендикулярности среза сточной трубки к ее оси должно быть не более 0,1 мм.
2.4.4. Дно резервуара должно иметь форму шарового сегмента.
На внутренней поверхности стенки резервуара должна быть нанесена риска или должен быть предусмотрен другой указатель уровня жидкости и горизонтальности установки вискозиметра.
2.4.5. Материал крышки резервуара - фенопласт жаростойкого типа, марки Ж1-010-40 по ГОСТ 5689-79.
Крышка должна входить в резервуар с зазором не более 0,5 мм по диаметру и плотно соприкасаться с наружной поверхностью резервуара. Отверстие на крышке, служащее направляющей для стержня, должно быть снабжено приспособлением, удерживающим стержень в приподнятом положении.
2.4.6. Стержень должен состоять из конической части, изготовленной из алюминия марки АД1 по ГОСТ 4784-74 и цилиндрической части, изготовленной из фенопласта марки Ж1-010-40 по ГОСТ 5689-79.
2.4.7. Места соединений патрубков и сточной трубки с резервуаром и ванной должны быть герметичными.
2.4.10. Масса вискозиметра ВУ должна быть не более 2,6 кг; вискозиметра ВУ1 - 1,1 кг.
2.4.11. Мощность вискозиметра ВУ не должна быть более 300 В×А.
2.4.10, 2.4.11. (Введены дополнительно, Изм. № 1).
2.5. Требования к электрической изоляции
2.6.1. Средняя наработка на отказ вискозиметров должна быть не менее 20000 ч.
Критерием отказа следует считать несоответствие вискозиметров требованиям п. 2.3.
Установленная безотказная наработка вискозиметров должна быть не менее 6000 ч.
2.6.2. Полный средний срок службы вискозиметров должен быть не менее 10 лет.
Полный установленный срок службы вискозиметров должен быть не менее 8 лет.
2.6.1, 2.6.2. (Измененная редакция, Изм. № 1).
2.7. Требования к вискозиметрам в упаковке для транспортирования - по ГОСТ 12997-84.
2.8. Требования безопасности - по ГОСТ 8.290-78.
2.9. Технические требования к измерительным колбам должны соответствовать техническим требованиям, предъявляемым к мерным колбам 2-го класса по ГОСТ 1770-74.
(Введен дополнительно, Изм. № 2).
3.1. В комплект вискозиметров должны входить:
термометры типов ТН3-1 и ТН3-2 по ГОСТ 400-80;
стержень - 3 шт.;
колба - 2 шт.
К комплекту прилагают эксплуатационную документацию по ГОСТ 2.601-68.
(Измененная редакция, Изм. № 1).
4.1. Для проверки вискозиметров на соответствие требованиям настоящего стандарта предприятие-изготовитель должно проводить государственные контрольные, приемо-сдаточные, периодические испытания и контрольные испытания на безотказность.
4.2. Порядок проведения государственных контрольных испытаний - по ГОСТ 8.001-80.
4.3. Приемо-сдаточным испытаниям следует подвергать каждый вискозиметр на соответствие требованиям пп. 2.1 - 2.5; 2.7 и 2.8.
4.4. Периодическим испытаниям, проводимым не реже раза в год, следует подвергать не менее трех вискозиметров на соответствие всем требованиям настоящего стандарта, кроме п. 2.6.
При несоответствии вискозиметров хотя бы одному из требований настоящего стандарта проводят повторные испытания удвоенного числа вискозиметров. Результаты повторных испытаний являются окончательными.
4.5. Контрольные испытания на безотказность
4.5.1. Контрольные испытания на безотказность (п. 2.6.1) проводят раз в три года по отраслевой нормативно-технической документации, утвержденной в установленном порядке и п. 5.7, если объем годового выпуска превышает 200 вискозиметров. Допускается оценивать показатели безотказности по результатам обработки эксплуатационной информации.
4.5.2. Контрольные испытания на безотказность планируют с учетом следующих данных: приемочный уровень Ра = 0,9; браковочный уровень Рb = 0,7; риск изготовителя а = 0,1; риск потребителя b = 0,2.
Контрольные испытания на безотказность проводят одноступенчатым методом с ограниченной продолжительностью испытаний при объеме выборки n = 19, приемочном числе отказов С = 3 и продолжительности испытаний каждого образца t = 2000 ч.
Допускается увеличивать или уменьшать объем выборки и продолжительность испытаний.
4.5.3. Если за время испытаний число отказов превышает три, то разрешается продолжить испытания с увеличенным числом вискозиметров до объема, предусматривающего приемку при наблюдаемом числе отказов, либо увеличить продолжительность испытаний пропорционально требуемому новому объему выборки.
4.5.4. Вискозиметры, предъявляемые к испытанию на безотказность, должны пройти приемо-сдаточные испытания. Допускается проводить испытания на безотказность на вискозиметрах, прошедших периодические испытания.
4.5.5. В паспорте на образцы вискозиметров, прошедшие контрольные испытания на безотказность, следует указывать время наработки при испытаниях.
4.6. Правила приемки измерительных колб должны соответствовать правилам приемки, предъявляемым к мерным колбам 2-го класса по ГОСТ 1770-74.
(Введен дополнительно, Изм. № 2).
5.1. Размеры вискозиметров (пп. 1.1; 2.1; 2.4.3 - 2.4.5), качество покрытия (пп. 2.4.1 и 2.4.2) следует проверять измерительным инструментом, обеспечивающим требуемую точность, и внешним осмотром. Материалы, из которых изготовляют вискозиметры (пп. 2.4.5 и 2.4.6), проверяют в процессе производства.
5.2. Постоянную вискозиметров (п. 2.3) следует проверять по ГОСТ 8.290-78.
5.3. Для проверки герметичности соединения сточной трубки с резервуаром (п. 2.4.7) в верхнее отверстие сточной трубки вставляют стержень, избегая разбрызгивания, наливают воду в резервуар и выдерживают в течение 10 мин.
Вискозиметры считают выдержавшими испытания, если после выдержки на внешней поверхности соединения не появились следы влаги. Вискозиметры типа ВУ дополнительно проверяют по пп. 2.5.1 и 2.5.2.
5.4. Проверку на соответствие требованиям п. 2.4.8 проверяют в последовательности, приведенной ниже:
ванну вискозиметра заполняют нефтяным маслом с температурой вспышки в открытом тигле не менее 180 °С;
ручку регулятора мощности устанавливают в положение, обеспечивающее нагрев нефтепродукта в резервуаре до 110 °С. Через 1 ч измеряют температуру нефтепродукта.
Нагреватель вискозиметра считают выдержавшим испытание, если температура нефтепродукта в резервуаре по истечении 1 ч составит не менее 110 °С.
5.5. Проверку конструкции вискозиметра типа ВУ1 (п. 2.4.9) проводят подсоединением к нему термостата с помощью патрубков в соответствии с п. 5.4.
5.6. Электрическую прочность и сопротивление изоляции между корпусом ванны и контактами вилки вискозиметров типа ВУ (пп. 2.5.1 и 2.5.2) следует проверять в соответствии с требованиями ГОСТ 21657-83.
5.7. Испытания вискозиметров на безотказность (п. 2.6) следует проверять при условиях, указанных в п. 2.2, в последовательности, приведенной ниже:
ванну и резервуар вискозиметров заполняют водой, регулятор мощности подключают к сети переменного тока;
ручку регулятора мощности устанавливают в положение, обеспечивающее нагрев воды в резервуаре 75 - 80 °С.
Испытания проводят в режиме непрерывного включения регулятора мощности через каждые 8 ч. Допускается проводить испытания непрерывно в течение суток. В процессе испытаний должен быть обеспечен заданный уровень воды в резервуаре. Периодически, не реже раза в 200 ч, следует проверять параметр, по которому определяют отказ вискозиметров.
5.8. Устойчивость вискозиметров в упаковке к воздействию транспортной тряски, повышенной влажности и температуры (п. 2.7) следует проверять по ГОСТ 12997-84.
После проведения испытаний вискозиметры проверяют на соответствие требованиям пп. 2.3 и 2.4.7.
5.9. Методы испытаний измерительных колб должны соответствовать методам испытаний, предъявляемым к мерным колбам 2-го класса по ГОСТ 1770-74.
(Введен дополнительно, Изм. № 2).
6.1. На ванне и корпусе регулятора мощности вискозиметров типа ВУ должна быть прикреплена табличка по ГОСТ 12971-67 с указанием:
товарного знака или наименования предприятия-изготовителя;
условного обозначения вискозиметра;
порядкового номера вискозиметра по системе нумерации предприятия-изготовителя;
года (последние две цифры) и квартала изготовления;
изображения государственного Знака качества (если он присвоен);
знака Государственного реестра (если государственный Знак качества присвоен).
На измерительной колбе должны быть четко нанесены:
номинальная вместимость в см3;
«20 °С»;
буква Н (налив);
надпись: «к вискозиметру ВУ».
Расположение обозначений должно соответствовать черт. 5.
Маркировка вискозиметров в экспортном исполнении должна соответствовать требованиям нормативно-технической документации и заказу-наряду внешнеторговой организации.
(Измененная редакция, Изм. № 2).
6.2. Вискозиметры упаковывают с прокладкой из амортизирующего материала в ящики по ГОСТ 2991-85, ГОСТ 5959-80 и ГОСТ 24634-81.
6.3. Маркировка транспортной тары - по ГОСТ 14192-77 и нормативно-технической документации. На ящике должны быть нанесены манипуляционные знаки, соответствующие надписям: «Верх, не кантовать», «Осторожно, хрупкое» и надпись «Не бросать!».
Ящики и прокладочный материал для вискозиметров, предназначенных для экспорта в страны с тропическим климатом, должны быть подвергнуты защитной обработке по ГОСТ 15155-89.
(Измененная редакция, Изм. № 2).
6.4. Вискозиметры перед упаковыванием в ящик должны быть подвергнуты консервации по ГОСТ 9.014-78. Вариант защиты - ВЗ-1, вариант упаковки - ВУ-1.
6.5. Пакетирование - по ГОСТ 21929-76.
6.6. Вискозиметры транспортируют всеми видами закрытого транспорта.
При транспортировании вискозиметров в районы Крайнего Севера их упаковка должна соответствовать требованиям ГОСТ 15846-79.
6.7. Условие хранения вискозиметров в упаковке - 1 по ГОСТ 15150-69. Не допускается хранить вискозиметры с веществами, вызывающими коррозию.
6.5-6.7. (Измененная редакция, Изм. № 1).
6.8. Товаросопроводительная и эксплуатационная документации на вискозиметры, предназначенные для экспорта, должны соответствовать требованиям заказа-наряда внешнеторговой организации.
7.1. Изготовитель гарантирует соответствие вискозиметров требованиям настоящего стандарта при соблюдении условий эксплуатации, транспортирования и хранения.
7.2. Гарантийный срок эксплуатации вискозиметров - 18 мес. со дня их ввода в эксплуатацию.
Для вискозиметров, предназначенных для экспорта, гарантийный срок эксплуатации - 12 мес. со дня их ввода в эксплуатацию, но не более 24 мес. с момента их проследования через Государственную границу СССР.
СОДЕРЖАНИЕ