
ГОСУДАРСТВЕННЫЕ СТАНДАРТЫ СОЮЗА ССР
НЕФТЕПРОДУКТЫ ОТРАБОТАННЫЕ
МЕТОД ОПРЕДЕЛЕНИЯ ВОДЫ
ГОСТ 26378.1-84
ГОСУДАРСТВЕННЫЙ КОМИТЕТ СССР ПО СТАНДАРТАМ
Москва
РАЗРАБОТАНЫ Государственным комитетом СССР по обеспечению нефтепродуктами
ИСПОЛНИТЕЛИ
А.Ф. Гуревичев, В.С. Вермул, М.К. Заманский, Н.М. Нюренберг, Е.Н. Попова
ВНЕСЕНЫ Государственным комитетом СССР по обеспечению нефтепродуктами
Член Коллегии А.Д. Рудковский
УТВЕРЖДЕНЫ И ВВЕДЕНЫ В ДЕЙСТВИЕ Постановлением Государственного комитета СССР по стандартам от 20 декабря 1984 г. № 4756
ГОСУДАРСТВЕННЫЙ СТАНДАРТ СОЮЗА ССР
|
НЕФТЕПРОДУКТЫ ОТРАБОТАННЫЕ Метод определения воды Used petroleum products. Method for the determination of water |
ГОСТ |
Постановлением Государственного комитета СССР по стандартам от 20 декабря 1984 г. № 4756 срок действия установлен
с 01.01.87
до 01.01.92
Несоблюдение стандарта преследуется по закону
Сущность метода заключается в определении теплового эффекта реакции гидратации сернокислой меди с водой, содержащейся в отработанном нефтепродукте.
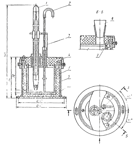
Влагомер (приложение 1).
Воронка стеклянная № 3 по ГОСТ 25336-82 или полиэтиленовая диаметром 56-75 мм.
Мерник для реактива с ручкой (диаметр 22 мм, высота 26 мм).
Часы песочные ЧПН-1 или секундомер.
Термометр ТЛ-4 с ценой деления шкалы 0,1 °С и пределом измерения от 0 до 55 °С.
Медь сернокислая ч. или ч. д. а. по ГОСТ 4165-78, обезвоженная по ГОСТ 26378.0-84, п. 4.1.
Керосин, топливо дизельное по ГОСТ 305-82 или топливо для реактивных двигателей по ГОСТ 10227-86 любой марки, обезвоженные по ГОСТ 20378.0-84, п. 4.2.
(Новая редакция, Изм. № 1).
2.1. Пробу нефтепродукта, предварительно выдержанную в одном помещении с влагомером или нагретую до комнатной температуры, тщательно перемешивают и наливают в стакан влагомера до метки. Стакан с пробой помещают и корпус влагомера, корпус закрывают крышкой и устанавливают термометр.
(Измененная редакция, Изм. № 1).
2.2. Ручной мешалкой, вмонтированной в крышку влагомера, перемешивают пробу два-три раза в секунду. Через каждую минуту записывают температуру пробы во влагомере с погрешностью не более 0,1 °С. Если температура остается неизменной 2-3 мин, ее принимают за начальную температуру испытания.
Если температура во влагомере растет, необходимо выдержать пробу при комнатной температуре еще 5-10 мин и повторить определение начальной температуры.
Во избежание нагрева влагомера от рук лаборанта при перемешивании пробы следует придерживать влагомер, слегка касаясь двумя пальцами края нижнего буртика корпуса.
(Измененная редакция, Изм. № 1).
3.1. Мерником набирают порцию (10,7±0,3) г обезвоженной сернокислой меди и в течение 1-2 с высыпают его в пробу нефтепродукта при помощи воронки, вставленной в отверстие крышки влагомера. Закрывают отверстие пробкой.
Перемешивая пробу, записывают показания термометра в конце каждой минуты испытания.
Если температура не повышается и в течение 2 мин остается без изменения или начинает понижаться, записывают наивысшую температуру как конечную температуру испытания.
(Измененная редакция, Изм. № 1).
3.2. После определения воды верхний слой нефтепродукта допускается слить из стаканчика влагомера для последующего использования при определении условной вязкости и температуры вспышки.
3.3. При массовой доле воды более 6,0 % для нефтепродуктов без присадок и более 7,0 % - для нефтепродуктов с присадками для определения воды смешивают 50 см3 отработанного нефтепродукта и 50 см3 обезвоженного (по ГОСТ 26378.0-84) керосина или дизельного топлива или топлива для реактивных двигателей, полученную смесь заливают в стаканчик влагомера и проводят определение по пп. 2.2-3.1.
(Измененная редакция, Изм. № 1).
4.1. Разность конечной и начальной температур испытания (Δt) в °С вычисляют по формуле
Δt = t2 - t1,
где t1 - начальная температура испытания, °С;
t2 - конечная температура испытания, °С.
По полученной разности температур массовую долю воды в нефтепродуктах с присадками, нефтепродуктах неизвестных марок и их смесей находят по табл. 1 приложения 2, в нефтепродуктах без присадок - по табл. 2.
(Измененная редакция, Изм. № 1).
4.2. Если Δt превышает предельные значения, указанные в приложении, определение проводят с разбавлением по п. 3.3, при этом найденную по таблицам массовую долю удваивают.
4.3. (Исключен, Изм. № 1).
5.1. Сходимость
Два результата определений, полученные одним исполнителем, признаются достоверными (с 95 %-ной доверительной вероятностью), если расхождение между ними не превышает 0,20 %.
(Введен дополнительно, Изм. № 1).
5.2. Воспроизводимость
Два результата испытаний, полученные в двух разных лабораториях, признаются достоверными (с 95 %-ной доверительной вероятностью), если расхождение между ними не превышает 1,0 %».
(Введен дополнительно, Изм. № 1).
Обязательное

1 - термометр с муфтами; 2 - ручка мешалки; 3 - ручка крышки; 4 - крышка; 5 - термоизоляционный стакан; 6 - стакан влагомера; 7 - корпус; 8 - пробка; 9 - уплотнительное кольцо
(Новая редакция, Изм. № 1).
Обязательное
Таблица 1
Нефтепродукты с присадками
|
Δt, °С |
Массовая доля воды, % |
Δt, °С |
Массовая доля воды, % |
Δt, °С |
Массовая доля воды, % |
|
|
|
5,2 |
2,10 |
9,6 |
4,20 |
|
Менее 1,0 |
Отсутствие |
5,4 |
2,20 |
9,8 |
4,30 |
|
1,2 |
0,30 |
5,6 |
2,30 |
10,0 |
4,40 |
|
1,4 |
0,40 |
5,8 |
2,40 |
10,2 |
4,50 |
|
1,6 |
0,50 |
6,0 |
2,50 |
10,4 |
4,60 |
|
1,8 |
0,60 |
6,2 |
2,60 |
10,6 |
4,70 |
|
2,0 |
0,70 |
6,4 |
2,70 |
10,8 |
4,80 |
|
2,2 |
0,80 |
6,6 |
2,80 |
11,0 |
5,00 |
|
2,4 |
0,90 |
6,8 |
2,90 |
11,2 |
5,10 |
|
2,6 |
1,00 |
7,0 |
3,00 |
11,4 |
5,20 |
|
2,8 |
1,10 |
7,2 |
3,10 |
11,6 |
5,30 |
|
3,0 |
1,20 |
7,4 |
3,20 |
11,8 |
5,50 |
|
3,2 |
1,25 |
7,6 |
3,30 |
12,0 |
5,60 |
|
3,4 |
1,30 |
7,8 |
3,40 |
12,2 |
5,80 |
|
3,6 |
1,40 |
8,0 |
3,50 |
12,4 |
5,90 |
|
3,8 |
1,50 |
8,2 |
3,60 |
12,6 |
6,00 |
|
4,0 |
1,60 |
8,4 |
3,65 |
12,8 |
6,20 |
|
4,2 |
1,70 |
8,6 |
3,70 |
13,0 |
6,30 |
|
4,4 |
1,80 |
8,8 |
3,80 |
13,2 |
6,50 |
|
4,6 |
1,85 |
9,0 |
3,90 |
13,4 |
6,70 |
|
4,8 |
1,90 |
9,2 |
4,00 |
13,6 |
6,90 |
|
5,0 |
2,00 |
9,4 |
4,10 |
13,7 |
7,00 |
Таблица 2
Нефтепродукты без присадок
|
Δt, °С |
Массовая доля воды, % |
Δt, °С |
Массовая доля воды, % |
Δt, °С |
Массовая доля воды, % |
Δt, °С |
Массовая доля воды, % |
|
|
|
5,0 |
1,80 |
9,6 |
3,40 |
14,2 |
5,00 |
|
0,6 |
Отсутствие |
5,2 |
1,85 |
9,8 |
3,45 |
14,4 |
5,05 |
|
0,8 |
0,30 |
5,4 |
1,90 |
10,0 |
3,50 |
14,6 |
5,10 |
|
1,0 |
0,40 |
5,6 |
2,00 |
10,2 |
3,60 |
14,8 |
5,20 |
|
1,2 |
0,45 |
5,8 |
2,05 |
10,4 |
3,65 |
15,0 |
5,25 |
|
1,4 |
0,50 |
6,0 |
2,10 |
10,6 |
3,70 |
15,2 |
5,30 |
|
1,6 |
0,60 |
6,2 |
2,20 |
10,8 |
3,80 |
15,4 |
5,40 |
|
1,8 |
0,65 |
6,4 |
2,25 |
11,0 |
3,85 |
15,6 |
5,45 |
|
2,0 |
0,70 |
6,6 |
2,30 |
11,2 |
3,90 |
15,8 |
5,50 |
|
2,2 |
0,80 |
6,8 |
2,40 |
11,4 |
4,00 |
16,0 |
5,60 |
|
2,4 |
0,85 |
7,0 |
2,50 |
11,6 |
4,10 |
16,2 |
5,70 |
|
2,6 |
0,90 |
7,2 |
2,55 |
11,8 |
4,15 |
16,4 |
5,75 |
|
2,8 |
1,00 |
7,4 |
2,60 |
12,0 |
4,20 |
16,6 |
5,80 |
|
3,0 |
1,10 |
7,6 |
2,70 |
12,2 |
4,30 |
16,8 |
5,90 |
|
3,2 |
1,15 |
7,8 |
2,75 |
12,4 |
4,35 |
17,0 |
6,00 |
|
3,4 |
1,20 |
8,0 |
2,80 |
12,6 |
4,40 |
|
|
|
3,6 |
1,30 |
8,2 |
2,90 |
12,8 |
4,50 |
|
|
|
3,8 |
1,35 |
8,4 |
2,95 |
13,0 |
4,55 |
|
|
|
4,0 |
1,40 |
8,6 |
3,00 |
13,2 |
4,60 |
|
|
|
4,2 |
1,50 |
8,8 |
3,10 |
13,4 |
4,70 |
|
|
|
4,4 |
1,60 |
9,0 |
3,20 |
13,6 |
4,80 |
|
|
|
4,6 |
1,65 |
9,2 |
3,25 |
13,8 |
4,85 |
|
|
|
4,8 |
1,70 |
9,4 |
3,30 |
14,0 |
4,90 |
|
|
(Введен дополнительно, Изм. № 1).
СОДЕРЖАНИЕ