Нормативные документы размещены исключительно с целью ознакомления учащихся ВУЗов, техникумов и училищ.
Объявления:

Изменение № 1 ГОСТ 26378.1-84 Нефтепродукты отработанные. Метод определения воды

Утверждено и введено в действие Постановлением Государственного комитета СССР по управлению качеством продукции и стандартам от 03.04.91 № 434

Дата введения 01.10.91

Раздел 1 изложить в новой редакции:

«1. Аппаратура и реактивы

Влагомер (приложение 1).

Воронка стеклянная № 3 по ГОСТ 25336-82 или полиэтиленовая диаметром 56-75 мм.

Мерник для реактива с ручкой (диаметр 22 мм, высота 26 мм).

Часы песочные ЧПН-1 или секундомер.

Термометр ТЛ-4 с ценой деления шкалы 0,1 °С и пределом измерения от 0 до 55 °С.

Медь сернокислая ч. или ч. д. а. по ГОСТ 4165-78, обезвоженная по ГОСТ 26378.0-84, п. 4.1.

Керосин, топливо дизельное по ГОСТ 305-82 или топливо для реактивных двигателей по ГОСТ 10227-86 любой марки, обезвоженные по ГОСТ 20378.0-84, п. 4.2».

Пункт 2.1 после слова «нефтепродукта» дополнить словами: «предварительно выдержанную в одном помещении с влагомером или нагретую до комнатной температуры».

Пункт 2.2 дополнить абзацем: «Во избежание нагрева влагомера от рук лаборанта при перемешивании пробы следует придерживать влагомер, слегка касаясь двумя пальцами края нижнего буртика корпуса».

Пункт 3.1. Первый абзац. Заменить слова: «чашкой» на «мерником»; «обезвоженного реактива» на «(10,0,3) г обезвоженной сернокислой меди».

Пункт 3.3. Заменить слова и ссылку: «или дизельного топлива» на «дизельного топлива или топлива для реактивных двигателей»; п. 3.1 на пп. 2.2-3.1.

Пункт 4.1. Второй абзац. Заменить слова: «обязательного приложения» на «приложения 2».

Пункт 4.3 исключить.

Стандарт дополнить разделом - 5:

«5. Точность метода

5.1. Сходимость

Два результата определений, полученные одним исполнителем, признаются достоверными (с 95 %-ной доверительной вероятностью), если расхождение между ними не превышает 0,20 %.

5.2. Воспроизводимость

Два результата испытаний, полученные в двух разных лабораториях, признаются достоверными (с 95 %-ной доверительной вероятностью), если расхождение между ними не превышает 1,0 %».

Приложение изложить в новой редакции:

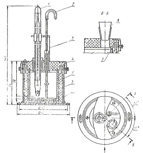
ПРИЛОЖЕНИЕ 1

Обязательное

Влагомер

1 - термометр с муфтами; 2 - ручка мешалки; 3 - ручка крышки; 4 - крышка; 5 - термоизоляционный стакан; 6 - стакан влагомера; 7 - корпус; 8 - пробка; 9 - уплотнительное кольцо

Стандарт дополнить приложением - 2:

ПРИЛОЖЕНИЕ 2

Обязательное

ОПРЕДЕЛЕНИЕ МАССОВОЙ ДОЛИ ВОДЫ

Таблица 1

Нефтепродукты с присадками

Δt, °С

Массовая доля воды, %

Δt, °С

Массовая доля воды, %

Δt, °С

Массовая доля воды, %

 

 

5,2

2,10

9,6

4,20

Менее 1,0

Отсутствие

5,4

2,20

9,8

4,30

1,2

0,30

5,6

2,30

10,0

4,40

1,4

0,40

5,8

2,40

10,2

4,50

1,6

0,50

6,0

2,50

10,4

4,60

1,8

0,60

6,2

2,60

10,6

4,70

2,0

0,70

6,4

2,70

10,8

4,80

2,2

0,80

6,6

2,80

11,0

5,00

2,4

0,90

6,8

2,90

11,2

5,10

2,6

1,00

7,0

3,00

11,4

5,20

2,8

1,10

7,2

3,10

11,6

5,30

3,0

1,20

7,4

3,20

11,8

5,50

3,2

1,25

7,6

3,30

12,0

5,60

3,4

1,30

7,8

3,40

12,2

5,80

3,6

1,40

8,0

3,50

12,4

5,90

3,8

1,50

8,2

3,60

12,6

6,00

4,0

1,60

8,4

3,65

12,8

6,20

4,2

1,70

8,6

3,70

13,0

6,30

4,4

1,80

8,8

3,80

13,2

6,50

4,6

1,85

9,0

3,90

13,4

6,70

4,8

1,90

9,2

4,00

13,6

6,90

5,0

2,00

9,4

4,10

13,7

7,00

Таблица 2

Нефтепродукты без присадок

Δt, °С

Массовая доля воды, %

Δt, °С

Массовая доля воды, %

Δt, °С

Массовая доля воды, %

Δt, °С

Массовая доля воды, %

 

 

5,0

1,80

9,6

3,40

14,2

5,00

0,6

Отсутствие

5,2

1,85

9,8

3,45

14,4

5,05

0,8

0,30

5,4

1,90

10,0

3,50

14,6

5,10

1,0

0,40

5,6

2,00

10,2

3,60

14,8

5,20

1,2

0,45

5,8

2,05

10,4

3,65

15,0

5,25

1,4

0,50

6,0

2,10

10,6

3,70

15,2

5,30

1,6

0,60

6,2

2,20

10,8

3,80

15,4

5,40

1,8

0,65

6,4

2,25

11,0

3,85

15,6

5,45

2,0

0,70

6,6

2,30

11,2

3,90

15,8

5,50

2,2

0,80

6,8

2,40

11,4

4,00

16,0

5,60

2,4

0,85

7,0

2,50

11,6

4,10

16,2

5,70

2,6

0,90

7,2

2,55

11,8

4,15

16,4

5,75

2,8

1,00

7,4

2,60

12,0

4,20

16,6

5,80

3,0

1,10

7,6

2,70

12,2

4,30

16,8

5,90

3,2

1,15

7,8

2,75

12,4

4,35

17,0

6,00

3,4

1,20

8,0

2,80

12,6

4,40

 

 

3,6

1,30

8,2

2,90

12,8

4,50

 

 

3,8

1,35

8,4

2,95

13,0

4,55

 

 

4,0

1,40

8,6

3,00

13,2

4,60

 

 

4,2

1,50

8,8

3,10

13,4

4,70

 

 

4,4

1,60

9,0

3,20

13,6

4,80

 

 

4,6

1,65

9,2

3,25

13,8

4,85

 

 

4,8

1,70

9,4

3,30

14,0

4,90

 

 

(ИУС № 7 1991 г.)

2008-2013. ГОСТы, СНиПы, СанПиНы - Нормативные документы - стандарты.