|
ФЕДЕРАЛЬНОЕ АГЕНТСТВО |
||
|
|
НАЦИОНАЛЬНЫЙ |
ГОСТ Р
|
ЭЛЕКТРООБОРУДОВАНИЕ ДЛЯ ВЗРЫВООПАСНЫХ ГАЗОВЫХ СРЕД
Часть 2
Оболочки под избыточным давлением «р»
IEC 60079-2:2007
Electrical apparatus for explosive gas atmospheres - Part 2: Pressurized enclosures «p»
(IDT)
|
|
Москва Стандартинформ 2006 |
Предисловие
Цели и принципы стандартизации в Российской Федерации установлены Федеральным законом от 27 декабря 2002 г. № 184-ФЗ «О техническом регулировании», а правила применения национальных стандартов Российской Федерации - ГОСТ Р 1.0-2004 «Стандартизация в Российской Федерации. Основные положения»
Сведения о стандарте
1 ПОДГОТОВЛЕН Автономной некоммерческой национальной организацией «Ех-стандарт» (АННО «Ex-стандарт») на основе собственного аутентичного перевода стандарта, указанного в пункте 4
2 ВНЕСЕН Техническим комитетом по стандартизации ТК 403 «Взрывозащищенное и рудничное электрооборудование»
3 УТВЕРЖДЕН И ВВЕДЕН В ДЕЙСТВИЕ Приказом Федерального агентства по техническому регулированию и метрологии от 14 сентября 2006 г. № 198-ст
4 Настоящий стандарт идентичен международному стандарту МЭК 60079-2:2007 «Электрооборудование для взрывоопасных газовых сред. - Часть 2. Оболочки под избыточным давлением «р» (IEC 60079-2:2007 «Electrical apparatus for explosive gas atmospheres - Part 2: Pressurized enclosures «p»).
При применении настоящего стандарта рекомендуется использовав вместо ссылочных международных стандартов соответствующие им национальные стандарты Российской Федерации, сведения о которых приведены в справочном приложении Н
5 ВВЕДЕН ВПЕРВЫЕ
Информация об изменениях к настоящему стандарту публикуется в ежегодно издаваемом информационном указателе «Национальные стандарты», а также изменений и поправок - в ежемесячно издаваемых информационных указателях «Национальные стандарты». В случае пересмотра (замены) или отмены настоящего стандарта соответствующее уведомление будет опубликовано в ежемесячно издаваемом информационном указателе «Национальные стандарты». Соответствующая информация, уведомление и тексты размещаются также в информационной системе общего пользования - на официальном сайте Федерального агентства по техническому регулированию и метрологии в сети Интернет
Содержание
Введение
В настоящем стандарте приводятся требования к дизайну, конструкции, испытаниям и маркировке электрооборудования, предназначенного для использования в потенциально взрывоопасных газовых средах, в которых:
a) защитный газ, поддерживаемый под давлением выше давления внешней среды, используется для защиты от образования взрывоопасной газовой смеси внутри оболочек, которые не содержат внутреннего источника утечки горючего газа или пара, или
b) защитный газ подается в количестве, достаточном, чтобы полученная концентрация взрывоопасной газовой (паровой) смеси вокруг электрических компонентов была вне верхнего и нижнего пределов взрываемости в соответствии с конкретными условиями эксплуатации. Защитный газ подается в оболочку, содержащую один или более внутренних источников утечки для предотвращения образования взрывоопасных смесей внутри.
Настоящий стандарт содержит требования к устройству и связанному с ним оборудованию, включая входной и выходной газопроводы, а также к дополнительному устройству контроля, необходимому для осуществления и поддержания наддува и (или) разбавления.
НАЦИОНАЛЬНЫЙ СТАНДАРТ РОССИЙСКОЙ ФЕДЕРАЦИИ |
|
ЭЛЕКТРООБОРУДОВАНИЕ ДЛЯ ВЗРЫВООПАСНЫХ ГАЗОВЫХ СРЕД Часть 2 Оболочки под избыточным давлением «р» Electrical apparatus for explosive gas atmospheres. Part 2: Pressurized enclosures «p» |
Дата введения - 2007-07-01
Настоящий стандарт содержит специальные требования к конструкции и испытаниям электрооборудования с оболочками под давлением, обеспечивающими взрывозащиту вида «р» и предназначенными для использования во взрывоопасной среде. Стандарт устанавливает требования к оболочкам под давлением с ограниченной утечкой воспламеняющегося вещества. Требования настоящего стандарта дополняют требования МЭК 60079-0.
Настоящий стандарт не содержит требований:
к оболочкам под давлением, в которых встроенная система может выделять:
a) воздух с содержанием кислорода выше нормального или
b) кислород в сочетании с инертным газом (объемная доля кислорода в инертном газе больше 21 %);
к помещениям под давлением или помещениям, предназначенным для установки анализаторов (см. МЭК 60079-13 и МЭК 60079-16).
Примечания
1 Для данного вида защиты погрешность измерения у регулярно калибруемой измерительной аппаратуры хорошего качества не оказывает значительного влияния на результаты измерений, и ее не следует учитывать при измерениях, необходимых для проверки соответствия оборудования требованиям настоящего стандарта.
2 Когда пользователь выступает в роли изготовителя, он отвечает за то, чтобы все соответствующие части настоящего стандарта применялись при изготовлении и испытании оборудования.
Приведенные ниже документы являются обязательными для применения настоящего стандарта. В части документов с датой опубликования применяют только указанные издания. В тех случаях, когда дата опубликования не указана, применяется последнее издание приведенного документа (включая любые поправки):
МЭК 60034-5 Вращающиеся электрические машины. Часть 5. Классификация степеней защиты, обеспечиваемой корпусами вращающихся электрических машин
МЭК 60050 (151) Международный электротехнический словарь. Глава 151. Электрические и магнитные устройства
МЭК 60050(426) Международный электротехнический словарь. Глава 426. Электрооборудование для взрывоопасных сред
МЭК 60079-0:2004 Электрооборудование для взрывоопасных газовых сред. Часть 0. Общие требования
МЭК 60112 Метод определения сравнительного и контрольного индексов трекингостойкости у твердых изоляционных материалов во влажной среде
МЭК 660529 Степени защиты, обеспечиваемые оболочками (код IP)
МЭК 60664-1:1992 Выбор изоляции оборудования для низковольтных систем. Часть 1. Принципы, требования и испытания.
В настоящем стандарте применены термины и определения, приведенные в МЭК 60050 (151), МЭК 60050 (426) и МЭК 60079-0, а также термины и определения, указанные ниже:
Примечания - В настоящем стандарте, если нет других указаний, термины «напряжение» и «ток» означают постоянное напряжение или действующее значение переменного напряжения или тока.
3.1 сигнальное устройство (alarm): Электрооборудование, осуществляющее визуальные или звуковые сигналы, предназначенные для привлечения внимания.
3.2 встроенная система (containment system): Часть электрооборудования, содержащая воспламеняющееся вещество, которая может быть внутренним источником выделения (утечки) этого вещества.
3.3 разбавление (dilution): Непрерывная подача защитного газа после предварительной (предпусковой) продувки (очистки) с таким расходом, что концентрация воспламеняющегося вещества внутри оболочки под давлением поддерживается вне пределов взрываемости у любого потенциального источника воспламенения (т.е. вне зоны разбавления).
Примечания - Разбавление кислорода инертным газом может привести к образованию концентрации взрывоопасного газа или пара выше верхнего концентрационного предела взрываемости (ВКПВ).
3.4 зона разбавления (dilution area): Зона вблизи внутреннего источника утечки, в которой концентрация воспламеняющегося вещества не уменьшена до безопасного значения.
3.5 объем оболочки (enclosure volume): Внутренний объем оболочки без встроенного оборудования. Для вращающихся электрических машин это свободный внутренний объем плюс объем, вытесненный ротором.
3.6 воспламеняющееся вещество (flammable substance): Газы, пары, жидкости или их смеси, которые способны к воспламенению.
3.7 герметично закрытое устройство (hermetically sealed device): Устройство такой конструкции, что наружная среда не может проникнуть внутрь, а любое соединение выполнено неразъемным, например пайкой, дуговой сваркой или сплавлением стекла и металла.
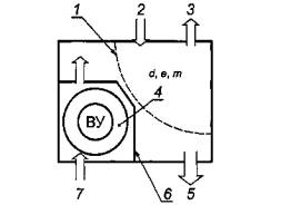
3.8 воспламеняющее устройство (ВУ) (ignition capable apparatus) (ICA): Устройство, которое в нормальном режиме работы является источником воспламенения для заданной взрывоопасной газовой среды. Это определение распространяется на электрооборудование, не защищенное как указано в 7.13.
3.9 индикатор (indicator): Устройство, подтверждающее правильность расхода или давления, которое подвергается периодической проверке в соответствии с условиями эксплуатации.
3.10 внутренний источник утечки (internal source of release): Точка или участок внутри защитной оболочки, из которых воспламеняющееся вещество в виде газа, пара или жидкости может поступать в оболочку под давлением в количестве, достаточном для образования в смеси с воздухом взрывоопасной газовой среды.
3.11 компенсация утечки (leakage compensation): Обеспечение потока защитного газа, достаточного для компенсации любой утечки из оболочки под давлением и ее газопроводов.
3.12 избыточное давление (overpressure): Давление внутри защитной оболочки, превышающее давление во внешней среде, окружающей оболочку.
3.13 наддув (pressurization): Обеспечение защиты от проникания внешней среды в оболочку путем поддержания в ней давления защитного газа выше давления во внешней среде.
3.14 система установления избыточного давления (система наддува) (pressurization system): Совокупность компонентов, обеспечивающих создание и контроль избыточного давления в оболочке под давлением.
3.15 оболочка под давлением (pressurized enclosure): Оболочка, в которой защитный газ поддерживается под давлением, превышающим давление во внешней среде.
3.16 защитный газ (protective gas): Воздух или инертный газ, используемый для продувки и поддержания избыточного давления, а если требуется, и для разбавления воспламеняющихся веществ внутри оболочки.
Примечания - В настоящем стандарте инертный газ - это азот, диоксид углерода, аргон или любой газ, который при смешении с кислородом в отношении 4:1 (как в атмосферном воздухе) не расширяет пределы воспламенения взрывоопасных смесей.
3.17 источник защитного газа (protective gas supply): Компрессор, воздуходувка или баллон со сжатым газом, обеспечивающие подачу защитного газа под избыточным давлением. Источник защитного газа содержит входные и выходные трубы, регуляторы давления, клапаны. Компоненты системы установления избыточного давления не включены.
3.18 продувка (purging): Операция пропускания защитного газа через оболочку и газопроводы под давлением в количестве, достаточном для снижения взрывоопасной газовой среды до безопасного уровня.
3.19 приемосдаточные испытания (routine test): Испытания, которым подвергается каждое отдельное устройство (оборудование) во время изготовления или после него, с тем чтобы убедиться, что оно соответствует определенным критериям (Международный электротехнический словарь 151-04-16, измененная редакция).
3.20 статическое избыточное давление (static pressurization): Поддержание избыточного давления внутри оболочки под давлением без дополнительного поступления защитного газа в опасную зону.
3.21 установление избыточного давления для взрывозащиты вида «рх» (type «px» pressurization): Увеличение давления, которое изменяет классификацию взрывоопасной зоны внутри оболочки под давлением от зоны класса 1 или группы 1 до невзрывоопасной зоны.
3.22 установление избыточного давления для взрывозащиты вида «ру» (type «py» pressurization): Увеличение давления, изменяющее классификацию взрывоопасной зоны внутри оболочки под давлением от зоны класса 1 до зоны класса 2.
3.23 установление избыточного давления для взрывозащиты вида «pz» (type «pz» pressurization): Увеличение давления, изменяющее классификацию взрывоопасной зоны внутри оболочки под давлением от зоны класса 2 до невзрывоопасной зоны.
3.24 типовое испытание (type test): Испытание одного или более устройств определенной конструкции, проводимое для того, чтобы показать, что данная конструкция соответствует определенным техническим характеристикам (МЭС 151-04-15).
Взрывозащита «Оболочки под избыточным давлением» подразделяется на три вида («рх», «ру» и «pz»), выбираемые с учетом класса зоны внешней потенциально взрывоопасной среды (1, 2 или группы 1) в зависимости от того, существует ли вероятность внутренней утечки и может ли устройство, находящееся внутри оболочки под давлением, вызвать воспламенение (см. таблицу 1). Кроме того, вид защиты определяет конструктивные требования к оболочке под давлением и к системе установления избыточного давления (см. таблицу 2).
Таблица 1 - Выбор вида взрывозащиты
|
Агрегатное состояние воспламеняющегося вещества во встроенной системе |
Класс взрывоопасной зоны |
Оболочка, содержащая воспламеняющие устройства |
Оболочка, не содержащая воспламеняющих устройств |
|
Встроенная система отсутствует |
1 |
«рха)» |
«ру» |
|
Встроенная система отсутствует |
2 |
«pz» |
Наддув не требуется |
|
Газ/пар |
1 |
«рх»а) |
«ру» |
|
Газ/пар |
2 |
«рх» (и воспламеняющее устройство не расположено в зоне разбавления) |
«ру»b) |
|
Жидкость |
1 |
«рх»а) (инертный)с) |
«ру» |
|
Жидкость |
2 |
«pz» (инертный)с) |
Наддув не требуетсяd) |
|
а) Вид взрывозащиты «рх» применим также к группе 1. b) При отсутствии нормальной утечки: см. приложение Е. с) Защитный газ должен быть инертным, если за видом защиты избыточным давлением следует указание «инертный»; см. раздел 13. d) Защита избыточным давлением не требуется, так как считают маловероятным, что неисправность, вызывающая утечку жидкости, возникает одновременно с неисправностью в оборудовании, в результате которой возникает источник воспламенения. Примечания - Если воспламеняющимся веществом является жидкость, нормальная утечка не допускается. |
|||
Таблица 2 - Требования к конструкции в соответствии с видом взрывозащиты
|
Критерии конструкции и защиты |
Взрывозащита вида |
|||||
|
«рх» |
«рy» |
«pz» |
||||
|
с индикацией |
с сигнализацией |
|||||
|
Степень защиты оболочки в соответствии с МЭК 60529 или МЭК 60034-5 |
МинимальноIP4X |
Минимально IP3X |
||||
|
Ударопрочность оболочки |
МЭК 60079-0, таблица 8 |
МЭК 60079-0, половина значения, приведенного в таблице 8 |
||||
|
Проверка периода продувки |
Требуются наличие прибора контроля времени и контроль за давлением и расходом |
Время продувки и величина расхода, указанные в - маркировке |
||||
|
Предотвращение выхода раскаленных частиц через нормально закрытое выходное отверстие во взрывоопасную зону класса 1 |
Требуется барьер от искр и частиц (см. 5.8), если искры и частицы обычно образуются |
Требование отсутствует (примечание 1) |
Требуется барьер от искр и частиц (см. 5.8), если искры и частицы обычно образуются |
|||
|
Предотвращение выхода раскаленных частиц через нормально закрытое выходное отверстие во взрывоопасную зону класса 2 |
Требование отсутствует (примечание 2) |
|||||
|
Предотвращение выхода раскаленных частиц во взрывоопасную зону класса 1 через открытое выходное отверстие в нормальных условиях работы |
Требуется барьер от искр и частиц (см. 5.8) |
|||||
|
Предотвращение выхода раскаленных частиц во взрывоопасную зону класса 2 через открытое выходное отверстие в нормальных условиях работы |
Требуется барьер от искр и частиц (см. 5.8), если искры и частицы обычно образуются |
Требование отсутствует |
Требуется барьер от искр и частиц (см.. 5.8), если искры и частицы обычно образуются |
|||
|
Двери или крышки, 1 для открытия которых требуется инструмент |
Предупреждение согласно 5.3 (примечание 1) |
|||||
|
Двери или крышки, для открытия которых инструмент не требуется |
Блокировка согласно 7.12 (при отсутствии внутренних нагретых частей) |
Предупреждение согласно 5.3 и (примечание 1) |
Требование отсутствует (примечание 3) |
|||
|
Внутренние нагретые части, требующие; времени для охлаждения перед открыванием оболочки |
Исполнение в соответствии с 6.2 b) ii) |
Не применяется |
||||
|
Примечания 1 Подпункт 6.2 b) ii) не применим для взрывозащиты вида «ру», так как не допускается наличие нагретых внутренних частей и появление раскаленных частиц в нормальных условиях работы. 2 Требование относительно барьеров от искр и частиц отсутствует, так как в условиях аварийной работы, при которой выходное отверстие открывается, маловероятно, чтобы концентрация внешней атмосферы была в пределах взрываемости. 3 Требования к применению инструмента для оболочки с взрывозащитой вида «pz» не предъявляются, поскольку в нормальных условиях работы оболочка со всеми установленными крышками и дверцами находится под давлением. Маловероятно, что концентрация внешней атмосферы будет в пределах взрываемости в случае удаления крышки или дверцы. |
||||||
Степень защиты оболочки под давлением должна соответствовать значению из таблицы 2.
Примечание - При влажности и запыленности в условиях угольной пыли степень защиты, обеспечиваемая оболочкой, должна быть IP44.
Применяемый защитный газ не должен неблагоприятно влиять на материалы оболочки, газопроводов и соединительных частей.
5.3.1 В оболочках под давлением для электрооборудования группы I двери и крышки должны быть:
- предусмотрены специальные крепления согласно 9.2 МЭК 60079-0 или
- блокированы так, чтобы электропитание электрооборудования, не имеющего защиты согласно 7.13, отключалось автоматически при их открывании и не могло быть включено, пока они не будут закрыты. Должны также выполняться требования 7.6.
5.3.2 В оболочках под давлением для электрооборудования группы I со статическим избыточным давлением двери и крышки должны иметь специальные крепления согласно 9.2 МЭК 60079-2.
5.3.3 На оболочки под давлением для электрооборудования группы II требования к креплениям согласно 9.2 МЭК 60079-0 не распространяются.
При взрывозащите вида «рх» двери и крышки, за исключением тех, которые могут быть открыты только с помощью инструмента или ключа, должны быть заблокированы так, чтобы электропитание электрооборудования, не указанного в 7.13, отключалось автоматически при их открывании и не могло быть включено до тех пор, пока они не будут закрыты.
Для взрывозащиты видов «ру» и «pz» применение инструмента или ключа для открывания дверей и крышек не требуется.
Примечание - Под воздействием высокого внутреннего давления открывание дверей или крышек может быть резким. Защиту операторов и обслуживающего персонала осуществляют одним из следующих способов:
a) использованием нескольких креплений, которые обеспечивают безопасное снижение избыточного давления в оболочке до того, как ослабнут все крепления, или
b) использованием крепления на два положения, что позволяет производить безопасное снижение давления при открывании оболочки, или
c) ограничением максимального внутреннего давления до значения, не превышающего 2,5 кПа.
5.3.4 В оболочках со статическим избыточным давлением для электрооборудования группы II двери и крышки должны открываться только с помощью инструмента.
5.3.5 Оболочка под давлением со взрывозащитой вида «рх», в которой находятся нагретые компоненты, требующие времени для охлаждения, не должна открываться без использования инструмента или ключа.
5.3.6 Для электрооборудования группы I или II на дверцы и крышки необходимо нанести предупредительную надпись:
«ПРЕДОСТЕРЕЖЕНИЕ! НЕ ОТКРЫВАТЬ, ЕСЛИ ВЕРОЯТНО ПРИСУТСТВИЕ ВЗРЫВООПАСНОЙ АТМОСФЕРЫ»
Оболочки под давлением, газопроводы (при их наличии) и соединения должны выдерживать при условии закрытых выходов давление, в 1,5 раза превышающее максимальное избыточное давление, указанное изготовителем для нормальных условий эксплуатации, но не менее 200 Па.
Однако если в процессе эксплуатации может возникнуть давление, способное привести к деформации оболочки, газопроводов (при их наличии) или соединений, то необходимо применение защитного устройства для ограничения максимального внутреннего избыточного давления до уровня безопасного для взрывозащиты данного вида. Если изготовитель не обеспечивает такое защитное устройство, то оборудование следует маркировать знаком «X» и в технической документации должна быть приведена вся информация, необходимая потребителю для обеспечения требований настоящего стандарта.
5.5.1 Отверстия и перегородки следует размещать таким образом, чтобы обеспечить эффективную продувку.
Примечание
1 Непродуваемые участки должны быть устранены путем правильного размещения входа и выхода защитного газа и за счет учета влияния на продувку внутренних перегородок.
2 Для газов или паров, которые тяжелее воздуха, вход защитного газа должен быть ближе к верху оболочки, а выход - ближе к низу оболочки.
3 Для газа и паров легче воздуха вход защитного газа должен находиться ближе к низу оболочки, а выход - ближе к верху оболочки.
4 Размещение входа и выхода с противоположных сторон обол очки способствует перекрестной вентиляции.
5 Внутренние перегородки (например монтажные платы) следует размещать таким образом, чтобы не препятствовать потоку защитного газа. Использование коллекторов или экранов также улучшает поток вокруг препятствий.
6 Число отверстий для входа и выхода зависит от конструкции электрооборудования. Особое внимание следует обращать на продувку подотсеков, на которые может быть подразделено электрооборудование.
5.5.2 Поток защитного газа для внутренних отсеков следует направлять через основную оболочку или продувать их отдельно.
Примечание - Для обеспечения соответствующей продувки выходные отверстия должны иметь площадь сечения не менее 1 см2 на каждые 1000 см3 объема оболочки при минимальном диаметре отверстия 6,3 мм.
5.5.3 Катодно-лучевые трубки и другие герметичные устройства не требуют продувки.
5.5.4 Компоненты со свободным внутренним объемом менее 20 см3 не рассматривают как внутренние отсеки, требующие продувки, если их внутренний объем составляет не более 1 % свободного внутреннего объема оболочки под давлением.
Примечание
1 Значение, равное 1 % внутреннего объема, соответствует 25 % нижнего предела взрываемости водорода (см. А.2).
2 Электрические элементы, герметизированные от окружающей среды, например транзисторы, микросхемы, конденсаторы и др., не учитывают при расчетах общего объема компонента.
5.5.5 В случаях статического избыточного давления оболочка должна иметь одно или более отверстий. После заполнения и достижения избыточного давления все отверстия следует заглушить.
У электрооборудования группы I изоляционные материалы, находящиеся под напряжением, способным вызывать дуговые разряды в воздухе под воздействием номинального тока более 16 А в коммутационных устройствах (автоматические выключатели, контакторы, разъединители), должны отвечать следующим условиям:
- группа трекингостойкости должна иметь индекс СИТ ≥ 400 М согласно МЭК 60112;
- должно быть предусмотрено соответствующее устройство, которое определяет разрушение изоляционных материалов внутри оболочки, создающее опасную ситуацию, и автоматически отсоединяет источник электропитания, подаваемого на оболочку со стороны этого источника. Наличие и работа такого устройства должны быть проверены испытательной лабораторией;
- пути утечки между оголенными проводами под напряжением должны соответствовать значениям, приведенным для эквивалентного напряжения в группе материалов III для степени загрязнения 3 в таблице 4 МЭК 60664-1.
Кабели и газопроводы, связанные с оболочкой под давлением, следует уплотнить для обеспечения требуемого уровня защиты оболочки от воздействия окружающей среды. При отсутствии уплотнения их следует рассматривать как часть оболочки.
Оболочки под давлением и газопроводы, если таковые используются для защитного газа, должны быть снабжены барьерами от искр и частиц для защиты от попадания раскаленных частиц во взрывоопасную зону.
1 Такие барьеры для выходного отверстия не требуются при сбросе в зону класса 1, если раскаленные частицы в нормальном режиме не образуются.
2 Барьеры не требуются при выходе в зону класса 2, если в нормальном режиме раскаленные частицы не образуются.
Принято считать, что в нормальном режиме раскаленные частицы не образуются, если контакты замыкания/размыкания находятся подтоком менее 10 А, рабочее напряжение не превышает 275 В переменного тока или 60 В постоянного тока, а контакты имеют покрытие.
Если изготовитель не применяет барьеры защиты от искр и нагретых частиц, то маркировка электрооборудования должна соответствовать 29.2, перечисление i) МЭК 60079-0 и специальным условиям безопасного использования.
Электрооборудование должно быть классифицировано в соответствии с требованиями температурной классификации по МЭК 60079-0. Температурный класс должен быть определен в соответствии с 6.2 и 6.3.
Для данных видов взрывозащиты температурная классификация должна основываться на более высокой из следующих температур:
a) самая высокая температура внешней поверхности оболочки или
b) самая нагретая поверхность внутреннего компонента.
Исключение - Температура внутреннего компонента может превышать температурную классификацию, если:
i) компонент отвечает требованиям 5.4 МЭК 60079-0 или
ii) оболочка под давлением маркирована согласно 6.3 МЭК 60079-0 с учетом времени, достаточного для охлаждения компонента до температуры, соответствующей температурной классификации, указанной в маркировке оболочки. Должны быть приняты соответствующие меры с целью предотвращения (в случае потери избыточного давления) контакта любой взрывоопасной газовой среды, которая может существовать, с поверхностью нагретого компонента до его охлаждения ниже допустимого максимального значения.
Примечание
1 Охлаждение обеспечивается за счет соответствующей конструкции соединений оболочки под давлением и газопроводов или другим способом, например с помощью вспомогательных систем вентиляции или путем заключения нагретой поверхности внутри оболочки под давлением в герметичный корпус.
2 В оболочке со взрывозащитой вида «ру» нагретые частицы, способные вызвать воспламенение в нормальном режиме, не допускаются.
Температурная классификация для данного вида взрывозащиты основана на температуре самой нагретой наружной поверхности оболочки.
Примечание - При определении температурной классификации следует учитывать любое внутреннее устройство с его собственной защитой, которое может оставаться под напряжением при отключенной системе установления избыточного давления (система наддува).
Устройства защиты, предохраняющие электрооборудование, защищенное с помощью избыточного давления, от взрыва не должны быть источником взрыва (см. 7.13), или же их следует устанавливать за пределами взрывоопасной зоны.
Защитные устройства, предусмотренные настоящим стандартом (см. таблицу 3), являются компонентами системы управления.
Изготовитель должен проверить соответствие безопасности и целостности системы управления следующим требованиям:
- для взрывозащиты вида «рх» или «ру» - наличие одной неисправности;
-для взрывозащиты вида «pz» - работа в нормальном режиме.
Таблица 3 - Средства защиты в зависимости от вида взрывозащиты
|
Вид защитных устройств |
Взрывозащита вида |
||
|
«рх» |
«ру» |
«pz» |
|
|
Защитное устройство для определения потери минимального избыточного давления |
Датчик давления (7.9) |
Индикатор или датчик давления (7.9 d) |
|
|
Защитное(ые) устройство(a) для проверки времени предварительной продувки |
Реле времени, датчики давления и расхода на выходе (7.6) |
Время продувки и значение расхода, указанные в табличке согласно 7.7 с) |
|
|
Защитное устройство для двери или крышки, открываемой с помощью инструмента |
Предупреждение (6.2 b) |
Не требуется |
|
|
Защитное устройство для двери или крышки, открываемой без инструмента |
Блокировка (7.12) (нагретых внутренних компонентов нет) |
Не требуется (6.2b) (нагретых внутренних компонентов нет) |
Не требуется |
|
Защитное устройство при наличии нагретых внутренних компонентов и встроенной системы (см. 15) |
Аварийная сигнализация и блокировка, обеспечивающая прекращение поступления воспламеняющегося вещества |
Не применяется для защиты, поскольку нагрев внутренних частей не допускается |
Аварийная сигнализация (нормальная утечка не допускается) |
Защитные устройства поставляются изготовителем электрооборудования или пользователем. Если изготовитель не обеспечивает установку защитных устройств, электрооборудование маркируют знаком «X» и техническое описание должно содержать всю необходимую потребителю информацию согласно требованиям настоящего стандарта.
Для оболочек с взрывозащитой вида «рх» с целью определения режима работы системы управления изготовитель должен представить схему последовательности функционирования средств и устройств защиты, например в виде таблицы или диаграммы состояния, диаграммы расхода и т.п.
Схема последовательности функционирования должна четко идентифицировать и отражать рабочее состояние средств и устройств защиты и последовательность их действий.
Для проверки соответствия диаграмме проводят испытания на функционирование. Эти испытания следует проводить только в нормальных атмосферных условиях, если нет других указаний изготовителя.
Примечание - Пример информации, представляемой изготовителем, приведен в приложении В.
Изготовитель должен указать максимальные и минимальные уровни срабатывания и допуски для защитных устройств. Защитные устройства должны использоваться в пределах нормальных эксплуатационных условий, определенных изготовителем.
При взрывозащите вида «рх» должны быть предусмотрены защитные устройства, предотвращающие подачу питания на электрооборудование внутри оболочки под давлением до завершения предварительной продувки.
Последовательность работы защитных устройств следующая:
a) после запуска производят контроль расхода защитного газа и значения избыточного давления в оболочке под давлением согласно требованиям настоящего стандарта;
b) время продувки отсчитывают, когда достигается минимальный допустимый расход защитного газа, а избыточное давление находится в заданных пределах;
c) по истечении заданного времени продувки включается питание электрооборудования;
d) в случае нарушения работы защитных устройств на любом этапе отсчет времени прекращают и реле времени переключают на начало цикла.
Изготовитель должен указать условия надлежащей продувки после открывания оболочки или падения избыточного давления ниже указанного изготовителем допустимого минимума:
a) для взрывозащиты вида «рх» или «ру» изготовитель должен указать минимальный расход газа при продувке и время продувки согласно требованиям испытаний (см. 16.3 или 16.4). Минимальный расход продувочного газа и время продувки могут быть приняты равными пятикратному объему оболочки, если испытательная лаборатория на основании расчетов сочтет такую продувку достаточной без испытаний;
b) для взрывозащиты вида «pz» изготовитель должен указать такой минимальный расход защитного газа и такое время продувки оболочки под давлением, чтобы количество пропущенного защитного газа было равно пяти объемам оболочки. Количество защитного газа может быть уменьшено, если испытания (см. 16.3 или 16.4) показали эффективность продувки;
c) расход защитного газа следует контролировать на выходе из оболочки под давлением. Для взрывозащиты вида «рх» необходимо контролировать фактический расход. Для взрывозащиты вида «ру» или «pz» расход защитного газа при продувке может быть вычислен, например, исходя из давления в оболочке и установленных размеров выходного сопла. Для взрывозащиты вида «ру» или «pz» должна быть установлена табличка, регламентирующая продувку оболочки под давлением до подачи питания на электрооборудование. Табличка должна содержать приведенное ниже или аналогичное предостережение:
«ПРЕДОСТЕРЕЖЕНИЕ! После того, как оболочка была открыта, подачу питания можно возобновить только после продувки оболочки в течение _____________ мин при расходе защитного газа, равном ______________.»
Примечание - Определение свободного пространства в газопроводах, не являющихся частью сертифицированного электрооборудования, и установление дополнительного времени продувки при заданном минимальном расходе входит в обязанности потребителя.
Если изготовителем обозначен минимальный расход защитного газа с учетом специальных условий (например, когда температура встроенного электрооборудования выше указанного температурного класса), необходимы одно или более автоматических защитных устройств, которые срабатывают в случае падения расхода защитного газа на выходе ниже минимального значения.
Следует предусмотреть одно или более автоматических защитных устройств, которые должны срабатывать, когда избыточное давление внутри оболочки под давлением падает ниже минимума, указанного изготовителем:
a) автоматическое защитное устройство получает сигнал от датчика, соединенного непосредственно со средой внутри оболочки под давлением;
b) между датчиком автоматического защитного устройства и внутренним объемом оболочки под давлением устанавливать клапаны не разрешается;
c) необходимо обеспечить возможность проверки правильности работы защитных устройств. Их размещение и установку требуемых параметров следует производить согласно 7.10.
Примечание - Выбор конкретного вида действия автоматического защитного устройства (например, отключение питания, включение звуковой аварийной сигнализации с целью обеспечения безопасности установки: входит в компетенцию потребителя.
d) при взрывозащите вида «pz» должны соблюдаться указанные ниже условия, если оболочка под давлением снабжена индикатором вместо автоматического защитного устройства:
1 Источник защитного газа должен быть снабжен аварийным сигнализатором для индикации неисправности источника защитного газа. Этот сигнализатор позволяет контролировать возможность обеспечения минимального давления в оболочке под давлением.
2 Между оболочкой под давлением и аварийным сигнализатором источника защитного газа не должно быть никаких устройств, кроме аварийного клапана и (или) устройства регулирования давления или расхода.
3 Любой аварийный клапан должен:
- иметь маркировку «ПРЕДУПРЕЖДЕНИЕ! КЛАПАН ДЛЯ ПОДАЧИ ЗАЩИТНОГО ГАЗА. ИЗУЧИТЕ ИНСТРУКЦИЮ ПЕРЕД ТЕМ, КАК ЗАКРЫВАТЬ КЛАПАН»;
- предусматривать закрепление в открытом положении;
- иметь указатель положения (открыто/закрыто);
- размещаться в непосредственной близости от оболочки под давлением;
- использоваться только при обслуживании оболочки под давлением.
Примечание - Этот клапан должен оставаться в открытом положении, если только не установлено, что в зоне отсутствует взрывоопасная газовая среда или все устройство внутри оболочки под давлением отключено от напряжения и охлаждено.
4 Настройка и управление устройством регулирования давления или расхода (если оно предусмотрено) должны проводиться с помощью специального инструмента.
5 Между оболочкой под давлением и аварийным сигнализатором подачи защитного газа запрещается устанавливать фильтры.
6 Размещение индикатора должно обеспечивать удобное наблюдение показаний.
7 Индикатор должен определять значение давления в оболочке.
8 Точку измерения для индикатора следует выбирать таким образом, чтобы можно было учитывать самые жесткие условия эксплуатации.
Примечание
1 Если для определения расхода и давления защитного газа используют расходомер, то его следует размещать на выходе.
2 Если расходомер используется только для индикации давления, то его можно размещать на любом участке оболочки, кроме входа.
3 Поток защитного газа через оболочку или давление в оболочке можно контролировать на входе в оболочку только в исключительных случаях.
9) Между индикатором и оболочкой под давлением не следует устанавливать клапаны.
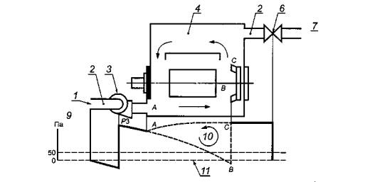
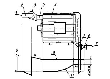
В каждой точке внутри оболочки под давлением и подключенных газопроводов, где возможна утечка, следует установить минимальное избыточное давление относительно внешнего давления: 50 Па для взрывозащиты вида «рх» или «ру» и 25 Па для «pz».
Изготовитель должен обозначить минимальное и максимальное избыточное давления при эксплуатации и максимальную скорость утечки при максимальном избыточном давлении.
Распределение давления в различных системах и газопроводах приводится на рисунках С.1-С.4.
Примечание - Для безопасности установки оболочек под давлением очень важно, чтобы при установке связанных с оболочкой газопроводов, компрессора или вентилятора последние не создавали опасности при эксплуатации. Основные требования к установке газопроводных систем изложены в приложении D.
При использовании общего источника защитного газа для ряда отдельных оболочек под давлением можно применять общее защитное устройство или устройства при условии, что конечное регулирующее воздействие учитывает наиболее неблагоприятную конфигурацию группы оболочек. Если используется общее защитное устройство, то при открывании двери или крышки одной оболочки нет необходимости отключать электрооборудование в других оболочках под давлением или включать аварийную сигнализацию, если соблюдены три следующих условия:
a) для взрывозащиты вида «рх» перед открыванием двери или кры шки следует отключить питание электрооборудования в данной оболочке под давлением, за исключением случая, когда это разрешено согласно 7.13;
b) общее защитное устройство продолжает контролировать избыточное давление и, если это необходимо, расход через все другие оболочки под давлением в этой группе;
c) перед подключением питания к электрооборудованию в данной оболочке под давлением необходимо произвести продувку, описанную в 7.6.
В устройствах с взрывозащитой вида "рх" крышки и двери следует блокировать таким образом, чтобы отключение питания электрооборудования, не указанного в 7.13, происходило автоматически при их открывании, а включение питания было возможным только после их закрывания. Указанные устройства также должны соответствовать требованиям 7.6.
Электрооборудование внутри оболочки под давлением, на которое может подаваться питание в условиях отключения взрывозащиты вида «рх» или «ру», должно иметь взрывозащиту видов «d», «e», «ia», «ib» , «ma», «mb», «о» или «q».
Электрооборудование внутри оболочки под давлением с взрывозащитой вида «pz», на которое может подаваться питание в условиях отключения защиты, должно иметь взрывозащиту видов «d», «e», «ia», «ib», «ic»,«ma», «mb», «mc», «о» , «q», «nA» , «nC» или «nL».
Электрооборудование внутри оболочки под давлением с взрывозащитой вида «ру» должно иметь взрывозащиту видов «о», «q», «d», «ia», «ib» , «ic»,«ma», «mb», «mc», «e», «nA», «nC» или «nL».
Все защитные устройства, предотвращающие взрыв в электрооборудовании, защищенном статическим избыточным давлением, не должны инициировать взрыв, и если защитные устройства приводятся в действие электрическими средствами, они должны быть защищены с использованием одного из видов защиты, приведенных в МЭК 60079-0, или должны быть установлены за пределами взрывоопасной зоны.
Защитный газ должен быть инертным. Объемная доля кислорода после заполнения инертным газом должна составлять менее 1 %.
Внутренние источники выделения воспламеняющихся веществ не допускаются.
Оболочку под давлением следует заполнить инертным газом вне взрывоопасной зоны, используя методику, указанную изготовителем.
Если избыточное давление падает ниже минимума, указанного изготовителем, то требуется срабатывание двух автоматических защитных устройств при взрывозащите видов «рх» или «ру» ил и одного автоматического защитного устройства при взрывозащите вида «pz. » Необходимо обеспечить возможность проверки правильности работы устройств во время эксплуатации электрооборудования. Изменение уставок автоматических защитных устройств должно быть возможно только с помощью инструмента или ключа.
Примечание - Потребитель определяет назначение автоматических защитных устройств (например для отключения питания или включения звуковой аварийной сигнализации, или для принятия других мер обеспечения безопасности).
Электрооборудование внутри оболочки под давлением, на которое подается питание, когда взрывозащита вида «р» не функционирует, должно иметь один из видов взрывозащиты, указанных в 7.13.
Минимальное избыточное давление должно превышать максимальную потерю давления в нормальных условиях эксплуатации за время, необходимое для охлаждения встроенных в оболочку компонентов в соответствии с 6.3 , перечисление b) МЭК 60079-0 при минимальном значении, равном 1 ч. Минимальное избыточное давление должно превышать внешнее давление не менее чем на 50 Па в наиболее неблагоприятных допустимых условиях эксплуатации.
Защитный газ не должен быть воспламеняющимся. Изготовитель должен указать тип защитного газа и допустимый альтернативный газ.
Примечание
1 Защитный газ не должен из-за химических свойств или содержащихся примесей снижать эффективность взрывозащиты вида «р» или неблагоприятно влиять на функционирование и целостность встроенного в оболочку электрооборудования.
2 В качестве защитного газа может использоваться воздух, применяемый для приборов автоматики, азот или другой невоспламеняющийся газ.
3 При испытании инертного газа существует опасность удушья. Поэтому на оболочке должна быть размещена предупреждающая надпись. В качестве альтернативы должно быть предусмотрено соответствующее устройство для продувки оболочки с целью удаления инертного газа до открывания дверей и крышек.
Температура защитного газа не должна обычно превышать 40 °С на входе оболочки. В особых случаях допускается более высокая температура или может потребоваться более низкая температура; в этом случае температура должна быть указана на оболочке.
Примечание - Если это необходимо, следует принять меры , чтобы избежать конденсации и замерзания.
Условия поступления воспламеняющихся веществ, требования к конструкции встроенной системы, соответствующая методика установления избыточного давления, ограничения, налагаемые на электрооборудование, способное вызвать воспламенение, и на температуру внутренних нагретых поверхностей приведены в разделах 11-15.
11.1.1 Если встроенная система является неповреждаемой, то внутренняя утечка (поступление) отсутствует (см. 12.2).
11.1.2 Считают, что внутренняя утечка не происходит, если воспламеняющиеся вещества внутри встроенной системы находятся в газовой или паровой фазе в условиях работы в заданных температурных пределах или если:
a) газовая смесь внутри встроенной системы всегда имеет концентрацию ниже нижнего предела взрываемости, или
b) минимальное давление, установленное для оболочки под давлением, не менее чем на 50 Па выше максимального давления, установленного для встроенной системы, и предусмотрено автоматическое защитное устройство, которое срабатывает, если перепад давления меньше 50 Па.
Примечание - Потребитель определяет назначение сигнала от автоматического защитного устройства (например для отключения питания или включения звуковой сигнализации, или для принятия других мер обеспечения безопасности).
Согласно данному подпункту электрооборудование следует маркировать знаком «X» в соответствии с 29.2, перечисление i) МЭК 60079-0 и указать в специальных условиях безопасного применения меры обеспечения безопасного применения.
Необходимо иметь возможность прогнозирования величины поступления (утечки) воспламеняющегося вещества в оболочку под давлением при любых неисправностях во встроенной системе (см. 12.3).
Примечание - В настоящем стандарте утечку сжиженного газа рассматривают как утечку газа.
Интенсивность утечки воспламеняющегося вещества в оболочку под давлением ограничена так же, как и в 11.2, однако превращение жидкости в воспламеняющийся пар непредсказуемо. Необходимо учитывать возможность скопления жидкости внутри оболочки под давлением и последствия этого скопления.
Если из жидкости высвобождается кислород, то необходимо прогнозировать его возможный максимальный расход (см. 13.2.2).
Конструкция встроенной системы, определяющая допустимость или недопустимость утечки, должна быть рассчитана на наиболее неблагоприятные условия эксплуатации, указанные изготовителем.
Система должна быть неповреждаемой или иметь ограниченную утечку при неисправности. Если воспламеняющимся веществом является жидкость, ее утечки в нормальных условиях эксплуатации не должно быть, а защитный газ должен быть инертным (см. приложение Е).
Примечание - Защитный газ должен быть инертным, чтобы образующиеся пары не превышали допустимый предел разбавления защитного газа.
Изготовитель должен указать максимальное входное давление встроенной системы.
Изготовитель должен предоставить описание конструкции аппарата встроенной системы, указать типы воспламеняющегося вещества и рабочие условия, а также прогнозируемую интенсивность утечки в заданных точках, что позволит классифицировать встроенную систему (неповреждаемая (12.2) или с ограниченной утечкой (12.3).
Встроенная система должна быть выполнена из металла, керамики или стекла в виде трубок или емкостей без подвижных соединений. Соединения выполняют сваркой, дуговой пайкой, сплавлением стекла с металлом или с помощью эвтектических методов1)).
Низкотемпературные сплавы для пайки типа композитов свинец/олово не допускаются.
Примечание - Изготовитель должен тщательно определить возможность отрицательного воздействия рабочих условий на потенциально хрупкую встроенную систему. Неблагоприятные условия работы, которые должны быть согласованы между изготовителем и пользователем, могут включать вибрацию, тепловой удар и операции по обслуживанию, требующие открытия дверей и крышек оболочки под давлением.
1) Метод соединения двух или более компонентов (обычно металлических) с использованием двойного или тройного сплава, затвердевающего при постоянной температуре, которая ниже температуры начала отвердения любого соединяемого компонента.
Конструкция системы должна быть такой, чтобы значение утечки воспламеняющегося вещества можно было прогнозировать при любой ее неисправности. Количество воспламеняющегося вещества, попадающее в оболочку под давлением, включает в себя количество воспламеняющегося вещества во встроенной системе и воспламеняющегося вещества, поступающего во встроенную систему из процесса. Его расход следует ограничить до прогнозируемого значения с помощью соответствующих устройств, размещаемых за пределами оболочки под давлением.
Однако если часть встроенной системы от точки ввода в оболочку под давлением до входа в устройство, включая вход устройства для ограничения расхода, соответствует требованиям 12.2, то ограничительное устройство можно устанавливать внутри оболочки под давлением; в этом случае оно должно крепиться неподвижно и не иметь подвижных частей.
Количество воспламеняющегося вещества, поступающего во встроенную систему из процесса, нет необходимости ограничивать, если можно прогнозировать максимальную величину утечки из встроенной системы в оболочку под давлением. Это условие может быть удовлетворено, если:
a) встроенная система содержит соединяемые части, каждая из которых в отдельности отвечает требованиям 12.2, и соединения между частями выполнены таким образом, чтобы можно было прогнозировать максимальную утечку, при этом соединения должны быть закреплены неподвижно и (или)
b) встроенная система содержит сопла или отверстия для выхода в нормальных условиях работы (например, пламени). В остальном она должна отвечать требованиям 12.1.
Если в электрооборудовании нет устройства ограничения расхода, то оболочку под давлением маркируют знаком «X» в соответствии с 29.2, перечисление i) МЭК 60079-0. Специальные условия безопасной эксплуатации предусматривают обозначение максимального давления и расхода воспламеняющегося вещества во встроенной системе.
Оболочку под давлением, содержащую пламя, следует рассматривать так, как если бы пламя было погашено. Максимальное количество смеси топливо/воздух, являющейся источником пламени, следует суммировать со значением утечки из встроенной системы.
Примечания
1 Во встроенной системе допускаются уплотнения из эластомера, смотровые окна и другие неметаллические части. Допускается также трубная резьба, компрессионные соединения (например металлические компрессионные фитинги) и фланцевые соединения.
2 Потребитель должен учитывать возможность образования воспламеняющейся смеси при проникновении воздуха во встроенную систему и принимать соответствующие дополнительные защитные меры.
Выбор защитного газа зависит от вероятности появления, количества и состава утечки из встроенной системы. Допустимый защитный газ указан в таблице 4.
Таблица 4 - Требования к защитному газу для оболочки под давлением со встроенной системой
|
Состояние вещества |
Внутренняя утечка при |
Пункт приложения |
Непрерывное разбавление при |
Компенсация утечки |
|||
|
нормальном режиме |
аварии |
ВКПВ* < 80 % |
ВКПВ* > 80 % |
ВКПВ* < 80 % |
ВКПВ* > 80% |
||
|
Газ или жидкость |
Отсутствует |
Е.2 |
Не применяется |
||||
|
Газ |
Отсутствует |
Ограниченная |
Е.З |
Воздух или инертный газ |
Воздух |
Только инертный газ |
Нет** |
|
Газ |
Ограниченная |
Е.4 |
Нет** |
||||
|
Жидкость |
Отсутствует |
Е.З |
Только инертный газ |
Нет** |
Только инертный газ |
||
|
Жидкость |
Ограниченная |
Е.4 |
Нет** |
||||
|
* ВКПВ - верхний концентрационный предел взрываемости. ** Методика установления избыточного давления не используется. |
|||||||
Конструкцией оболочки под давлением со встроенной системой и ограниченной утечкой должна быть исключена возможность образования взрывоопасной газовой среды внутри оболочки под давлением на участке потенциального источника воспламенения, т.е. за пределами зоны разбавления. В приложении F приведены примеры, каким образом внутренние перегородки позволяют разместить потенциальные источники воспламенения за пределами зоны разбавления.
Если в качестве защитного используют инертный газ, то оболочку под давлением следует маркировать согласно 18.9.
Применяемая методика установления избыточного давления зависит от условий и состава утечки, как указано ниже.
13.2.1 Утечка отсутствует
В качестве защитного газа можно использовать воздух или инертный газ.
13.2.2 Ограниченная утечка газа или жидкости
В качестве защитного газа следует использовать инертный газ. Объемная доля кислорода в воспламеняющемся веществе не должна превышать 2%. В нормальных условиях утечка воспламеняющегося вещества должна отсутствовать (см. приложение Е).
Верхний предел взрываемости воспламеняющегося вещества не должен превышать 80 %.
Примечания
1 Обеспечить защиту с компенсацией утечки инертным газом, если воспламеняющееся вещество обладает способностью вступать в реакцию с небольшим количеством кислорода или в отсутствие кислорода, т. е. при ВКПВ > 80 %, сложно или невозможно.
2 Если ВКПВ > 80 % или объемная доля кислорода превышает 2 % или если происходит нормальная утечка воспламеняющегося вещества (см. приложение Е), то для разбавления воспламеняющегося вещества используют непрерывный поток согласно 13.3.
13.3.1 Утечка отсутствует
В качестве защитного газа можно использовать воздух или инертный газ.
13.3.2 Ограниченная утечка газа или пара
Расход защитного газа после продувки должен быть достаточным при всех возможных неисправностях встроенной системы для разбавления максимальной утечки у потенциального источника воспламенения, т. е. за пределами зоны разбавления:
a) когда защитным газом является воздух, воспламеняющееся вещество в утечке следует разбавлять до концентрации не выше 25 % от нижнего концентрационного предела взрываемости (НКПВ);
b) когда в качестве защитного газа используется инертный газ, кислород в утечке следует разбавлять до значения, не превышающего 0,02 объемных долей (2 %).
Когда воспламеняющееся вещество, высвобождаемое из встроенной системы, имеет ВКПВ > 80 %, любую утечку следует разбавлять воздухом до концентрации не более 25 % НКПВ.
Примечание - Если воспламеняющееся вещество способно вступать в реакцию с небольшим количеством кислорода или в отсутствие кислорода, т.е. имеет ВКПВ > 80 %, то необходимо разбавление до концентрации 25% НКПВ.
13.3.3 Ограниченная утечка жидкости
Защитный газ должен быть инертным, и необходимо выполнение требований 13.3.2, перечисление b). Нормальная утечка воспламеняющегося вещества должна отсутствовать (см. приложение Е).
Защита электрооборудования в зоне разбавления - в соответствии с таблицей 5. Исключение составляют факелы, поджигающие электроды и другие подобные устройства для зажигания. Зона разбавления, образуемая факелом, не должна совмещаться с любой другой зоной разбавления.
Таблица 5 - Виды взрывозащиты, допускаемые в зоне разбавления
|
Условия внутренней утечки |
Взрывозащита вида «р» |
|
|
«рх» или «ру» |
«pz» |
|
|
При аварии (отклонение от ! нормы) |
«d», «e», «ia», «ib», «ma», «mb»,«о», «q» |
«d», «e», «ia», «ib», «ic», «ma», «mb», «mc», «o», «q», «nA», «nC», «nL» |
|
В нормальных условиях |
«ia» |
|
Примечания
1 Как правило, любой внутренний источник утечки должен быть расположен ближе к выходу, а любое электрооборудование, способное вызвать воспламенение, - ближе к входу защитного газа для обеспечения наикратчайшего расстояния выхода воспламеняющегося вещества из оболочки под давлением в обход электрооборудования, способного вызвать воспламенение.
2 Для предотвращения распространения пламени от источника воспламенения внутри встроенной системы обратно на установку необходим пламегаситель. Эти меры в настоящем стандарте не рассматривают.
Если оболочка под давлением содержит поверхность, температура которой превышает температуру воспламенения высвобождаемого из встроенной системы воспламеняющегося вещества, необходимо автоматическое защитное устройство. Функционирование защитного устройства оговорено в 11.1.2 b) и приведено в таблице 3. Кроме того:
a) если в качестве защитного газа используют воздух, то утечка оставшегося во встроенной системе воспламеняющегося вещества не должна образовывать концентрацию более 50 % НКПВ вблизи нагретой(ых)поверхности(ей)или
b) если в качестве защитного газа используют инертный газ, конструкция соединений оболочки под давлением должна предотвращать какое-либо значительное смешение наружного воздуха с внутренним инертным газом (или внутренним воспламеняющимся газом, или паром) на протяжении периода охлаждения. Поступление атмосферного воздуха не должно увеличивать объемную долю кислорода в смеси свыше 2%.
На оболочку под давлением должна быть нанесена предупредительная надпись:
«ПРЕДОСТЕРЕЖЕНИЕ! НЕ ОТКРЫВАТЬ ДВЕРЬ ИЛИ КРЫШКУ В ТЕЧЕНИЕ _______ МИНУТ ПОСЛЕ ОТКЛЮЧЕНИЯ ПИТАНИЯ». Этот интервал должен быть равен наибольшему времени охлаждения нагретой поверхности ниже температуры воспламенения высвобождаемого из встроенной системы воспламеняющегося вещества или ниже температурного класса оболочки под давлением, в зависимости от того, какое значение меньше.
На оболочку под давлением, газопровод и соединения, если они являются частью оболочки, подают давление, в 1,5 раза превышающее обозначенное максимальное допустимое избыточное давление, или 200 Па, в зависимости от того, что больше.
Давление при испытании следует выдерживать в течение (120 ± 10) с.
Результаты испытания считают положительными, если не обнаружено остаточной деформации, которая может нарушить вид взрывозащиты.
16.2.1 Давление в оболочке под давлением следует установить на уровне максимального избыточного давления, обозначенного изготовителем для нормальных условий эксплуатации. Выходное отверстие закрывают, а утечку измеряют на входном отверстии.
Измеренный расход не должен превышать максимального значения утечки, указанного изготовителем.
16.2.2 В случае статического избыточного давления в оболочке под давлением следует установить максимальное избыточное давление для нормальных условий эксплуатации. Отверстие (я) закрывают и внутреннее давление измеряют в течение времени, установленного в 8.7. Изменение давления не должно превышать минимальное избыточное давление, установленное для нормальных условий эксплуатации.
16.3.1 Оболочка под давлением с воздухом в качестве защитного газа
Оболочка под давлением должна быть подготовлена к испытанию согласно приложению А. Оболочку заполняют газом для испытания до концентрации не менее 70 % в любой точке. Как только оболочка заполнится, поток газа для испытания перекрывают и включают подачу воздуха с минимальной скоростью продувки, установленной изготовителем. Измеряют время продувки, которую проводят до тех пор, пока ни водной из точек пробоотбора концентрация газа для испытания не будет превышать приведенную в А.2. Если требуется второе испытание, то оболочку под давлением заполняют другим испытательным газом с противоположным показателем плотности (легкий/тяжелый газ) до концентрации не менее 70 % в любой точке. Затем измеряют необходимое время продувки для второго испытания. Минимальная длительность продувки, установленная изготовителем, должна быть не меньше измеренного времени продувки или равняться большему из двух периодов продувки, если проводят два испытания.
16.3.2 Оболочка под давлением с инертным газом в качестве защитного газа
Оболочка под давлением должна быть подготовлена к испытанию согласно приложению А. Сначала оболочку заполняют воздухом при нормальном атмосферном давлении. Затем проводят продувку оболочки инертным газом, указанным изготовителем.
Время продувки измеряют до тех пор, пока не остается ни одной точки пробоотбора, где бы концентрация кислорода превышала приведенную в А.З. Это время принимают за время продувки.
Минимальная длительность продувки, установленная изготовителем, не должна быть меньше измеренного времени продувки.
16.3.3 Оболочка под давлением, в которой защитным газом является воздух или инертный газ плотностью, отличающейся от плотности воздуха на ± 10 %
Если воздух и инертный газ допускаются в качестве альтернативных защитных газов при том же времени продувки, то время продувки следует измерять методом 16.3.1.
16.3.4 Заполнение оболочки под давлением, защищенной статическим избыточным давлением При статическом избыточном давлении сначала следует заполнить оболочку под давлением воздухом при нормальном атмосферном давлении. Затем электрооборудование заполняют инертным газом согласно инструкции изготовителя. После этого измеряют концентрацию кислорода - в каждой точке пробоотбора объемная доля кислорода в газовой среде, заполняющей оболочку, не должна превышать 1% относительно атмосферных условий.
16.4.1 Газ для испытания
При выборе газа (ов) для испытания необходимо учитывать газы, присутствующие во внешней среде, и внутреннюю утечку воспламеняющегося вещества.
16.4.2 Оболочка под
давлением, в которой воспламеняющееся вещество содержит менее
0,02 объемной доли кислорода (2 %), а защитный газ является инертным
16.4.2.1 Испытание продувки
Испытание следует проводить по методике 16.3.2. Минимальный расход продувочного газа должен быть не менее максимальной скорости утечки из встроенной системы.
Минимальное время продувки, установленное изготовителем, должно не менее чем в 1,5 быть более измеренного во время продувки.
Примечание - Для учета количества кислорода, высвобождаемого из встроенной системы, время продувки, подтвержденное испытанием, увеличивают на 50%.
16.4.2.2 Испытание разбавления
Это испытание не требуется, если воспламеняющееся вещество содержит не более 0,02 объемной доли кислорода (2 %).
16.4.3 Оболочка под давлением, в которой избыточное давление устанавливается с помощью непрерывного потока, встроенная система содержит не более 0,21 объемной доли кислорода (21 %), защитный газ является инертным
16.4.3.1 Испытание продувки
Оболочку заполняют воздухом. Воздух вводят в оболочку через встроенную систему в объеме, соответствующем максимальной скорости утечки в самых неблагоприятных условиях. При этом учитывают место, число и характер утечек, а также их близость к потенциально воспламеняющемуся электрооборудованию, т.е. за пределами зоны разбавления.
Затем включают подачу защитного газа с минимальным расходом, установленным изготовителем.
Время измеряют до тех пор, пока ни в одной точке пробоотбора концентрация кислорода не будет превышать указанную в А.3 (приложению А.) Это время принимают за измеренное время продувки.
Минимальное время продувки, установленное изготовителем, должно быть не меньше измеренного времени продувки.
16.4.3.2 Испытание разбавления
Сразу после испытания на продувку согласно 16.4.3.1 подачу защитного газа устанавливают на минимальный расход, установленный изготовителем; расход кислорода из встроенной системы устанавливают согласно 16.4.3.1.
Концентрация кислорода, измеренная в течение не менее 30 мин, не должна превышать указанную в А.3.
Объем воздуха с содержанием кислорода, эквивалентным содержанию кислорода во встроенной системе, вводят в оболочку под давлением из встроенной системы с утечкой воздуха, как указано в 12.3.
Во время утечки концентрация кислорода вблизи потенциального источника воспламенения, т.е. за пределами зоны разбавления, не должна превышать 1,5-кратную концентрацию кислорода, указанную в А.3 (приложению А), и за время не более 30 мин должна быть снижена до значения, которое меньше указанной концентрации.
Примечание - Это испытание проводят для моделирования очень большой утечки, которая происходит при полном выходе из строя встроенной системы.
16.4.4 Оболочка под давлением, в которой воспламеняющееся вещество не является жидкостью; избыточное давление устанавливается непрерывным потоком, а защитным газом является воздух
16.4.4.1 Испытание продувки Испытание проводят по методике 16.3.1.
Кроме того, газ для испытания вводят в оболочку под давлением через встроенную систему со скоростью равную максимальной скорости утечки, таким образом, чтобы воспроизвести наиболее жесткие условия утечки; при этом учитывают места, число и характер утечек, а также их близость к потенциальному источнику воспламенения, т.е. за пределами зоны разбавления.
Время измеряют до тех пор, пока ни в одной точке пробоотбора концентрация газа для испытания не будет превышать указанную в А.2(приложению А).
Если требуется второе испытание, то используют другой газ, а за время продувки принимают измеренное время продувки.
Минимальное время продувки, установленное изготовителем, должно быть не меньше измеренного времени продувки или представлять больший из двух измеренных периодов продувки, если проводят два испытания.
16.4.4.2 Испытание разбавления
Сразу же после испытания на продувку согласно 16.4.4.1 подачу защитного газа устанавливают, если необходимо, на минимальный расход, установленный изготовителем, при этом расход газа для испытания из встроенной системы устанавливают на уровне, указанном в 16.4.3.1.
Концентрация газа для испытания, измеренная в течение не менее 30 мин, не должна превышать указанную в А.2.
Объем газа для испытания, эквивалентный объему воспламеняющегося вещества внутри встроенной системы, вводят в оболочку под давлением из встроенной системы вместе с газом для испытания, расход которого эквивалентен максимальной величине утечки воспламеняющегося газа в соответствии с 12.3.
Во время утечки концентрация газа вблизи потенциального источника воспламенения, т.е. за пределами зоны разбавления, не должна превышать двухкратное значение, указанное в А.2(приложению А), и в течение не более 30 мин должна быть снижена до значения, ниже указанного в А.2.
Если требуется второе испытание, то для его проведения используют другой газ.
Примечание - Это испытание проводят для моделирования очень большой утечки, которая может быть при полном выходе из строя встроенной системы.
Проверяют способность системы под давлением функционировать и поддерживать избыточное давление согласно 7.10 в нормальных условиях эксплуатации.
Давление в оболочке измеряют в точках возможной утечки, особенно на участках наименьшего давления.
Защитный газ подают в оболочку при минимальном избыточном давлении и, если необходимо, с минимальным расходом, указанным изготовителем.
Для вращающихся электрических машин испытания проводят как на остановленных машинах, так и работающих с максимальной номинальной скоростью.
Примечание - Эти испытания проводят на встроенной системе неповреждаемой конструкции.
16.6.1 Испытание на избыточное давление
Испытательное давление, не менее чем в пять раз превышающее максимальное внутреннее избыточное давление, установленное для нормальных условий эксплуатации, но не менее 1000 Па подают во встроенную систему и выдерживают в течение (120 ± 10) с. Встроенную систему испытывают при самой неблагоприятной номинальной температуре.
Достижение максимального давления испытания должно произойти за 5 с.
Результаты испытания считают положительными, если не обнаружено остаточной деформации и испытания выполнены в соответствии с 16.6.2.
16.6.2 Испытание на неповреждаемость
a) Встроенную систему помещают в среду гелия с давлением, равным максимальному, указанному для нормальных условий эксплуатации. Давление внутри встроенной системы снижают до абсолютного давления 0,1 Па или менее. Схема данного испытания приведена в приложении G.
b) Как вариант встроенную систему помещают в вакуумную камеру и подсоединяют к источнику гелия с максимальным давлением, указанным для нормальных условий эксплуатации. Давление внутри встроенной системы понижают до абсолютного давления 0,1 Па или менее.
Результаты испытания считают положительными, если во время работы системы удается поддерживать абсолютное давление не более 0,1 Па.
Примечание - Испытание проводят на встроенной системе с ограниченной утечкой в нормальных условиях эксплуатации.
Испытательное давление, не менее чем в 1,5 раза превышающее максимальное внутреннее избыточное давление для нормальных условий работы, но не менее 200 Па, подают во встроенную систему и поддерживают в течение (120±10) с.
Результаты испытания считают положительными, если остаточная деформация отсутствует.
16.8.1 Данное испытание проводят, если конструкция оболочки рассчитана на испытание сжатым воздухом (газом), при этом в случае отказа регулятора ограничение максимального избыточного давления в оболочке проводят за счет утечки, выходных отверстий или с помощью редукторов давления. На оболочке должна быть предупредительная надпись:
«ПРИВЕДЕННЫЕ НИЖЕ ИСПЫТАНИЯ ПОТЕНЦИАЛЬНО ОПАСНЫ И ТРЕБУЮТ ПРИНЯТИЯ МЕР ДЛЯ ЗАЩИТЫ ПЕРСОНАЛА И ИМУЩЕСТВА»
16.8.2 Систему установления избыточного давления и оболочку испытывают максимальным номинальным давлением или равным 690 кПа (в зависимости от того, что больше), которое подают на вход системы установления давления. При этом регулятор в системе установления избыточного давления байпассируют для воспроизведения условий неисправности регулятора.
Примечание - Давление 690 кПа является типовым давлением питания приборов.
16.8.3 Закрывают все отверстия, которые могут быть закрыты при нормальной эксплуатации. Исключение составляют отверстия сброса и редукторы давления.
16.8.4 Измеренное внутреннее давление не должно превышать установленное максимальное допустимое избыточное давление.
17.1 Испытание на функционирование
Проверяют работу защитных устройств.
17.2 Испытание на утечку
Утечку защитного газа проверяют согласно 16.2.
17.3 Испытание встроенной системы на неповреждаемость
Неповреждаемую встроенную систему испытывают согласно 16.6.
17.4 Испытание встроенной системы с ограниченной утечкой
Встроенную систему испытывают согласно 16.7.
18.1 Идентификация оболочки под давлением
На оболочку под давлением должна быть нанесена надпись «предостережение! оболочка под давлением» и маркировка в соответствии с требованиями МЭК 60079-0.
18.2 Предупреждения
Если в соответствии с требованиями настоящего стандарта необходима предупредительная маркировка, текст, который следует после слова «Предостережение», может быть заменен текстом, эквивалентным с технической точки зрения. Несколько предупреждений могут быть объединены в одно.
18.3 Дополнительная маркировка к маркировке по МЭК 60079-0
Маркировка должна включать следующую дополнительную информацию:
a) уровни взрывозащиты по МЭК 60079-0 - вид взрывозащиты «р» («рх», «ру» или «pz»);
b) минимальное количество защитного газа, необходимое для предварительной (предпусковой) продувки оболочки:
- минимальный расход продувки защитным газом;
- минимальное время продувки;
- минимальное дополнительное время продувки на единицу объема дополнительных газопроводов, если такие имеются.
Примечания
1 Увеличение расхода защитного газа для продувки всех соединительных газопроводов производится потребителем.
2 Для взрывозащиты вида «pz» или «ру» вместо расхода можно использовать показания датчика минимального давления, если давление является объективным показателем правильности расхода (см. 7.7, перечисление с)).
c) тип защитного газа, если это не воздух;
d) минимальное и максимальное избыточное давление;
e) минимальный расход защитного газа;
f) минимальное и максимальное давления питания на входе системы установления избыточного давления;
g) максимальное значение утечки из оболочки под давлением;
h) специальная температура или диапазон температур защитного газа на входе оболочки под давлением, если они указаны изготовителем;
i) точка или точки контроля давления, если эти данные не указаны в соответствующей документации.
18.4 Оболочка под давлением со встроенной системой
Кроме данных, указанных в 18.3, маркировка оболочек под давлением со встроенной системой должна включать следующую информацию:
a) максимальное давление на входе во встроенную систему;
b) максимальный расход во встроенной системе;
c) указание об ограничении объемной доли кислорода в воспламеняющемся веществе (не более 2%);
d) указание об ограничении ВКПВ воспламеняющегося вещества (не более 80 %).
18.5 Оболочка под давлением, защищенная статическим избыточным давлением
На оболочки под давлением, защищенные статическим избыточным давлением, должна быть нанесена надпись:
«ПРЕДУПРЕЖДЕНИЕ! ДАННАЯ ОБОЛОЧКА ЗАЩИЩЕНА СТАТИЧЕСКИМ ИЗБЫТОЧНЫМ ДАВЛЕНИЕМ. ОБОЛОЧКУ СЛЕДУЕТ ЗАПОЛНЯТЬ ТОЛЬКО ВНЕ ВЗРЫВООПАСНОЙ ЗОНЫ СОГЛАСНО ИНСТРУКЦИЯМ ИЗГОТОВИТЕЛЯ»
18.6 Системы установления избыточного давления
Если система установления избыточного давления сертифицируется отдельно, ее следует маркировать как связанное электрооборудование.
Примечание - Систему для применения вне взрывоопасной зоны маркируют [Ех р], а систему для применения во взрывоопасной зоне - Ех [р].
18.7 Предупреждения в соответствии с требованиями других разделов:
|
Раздел |
Рекомендуемая предупредительная надпись (допускаются аналогичные формулировки) |
|
5.3.6 |
«ПРЕДОСТЕРЕЖЕНИЕ! НЕ ОТКРЫВАТЬ, ЕСЛИ ВЕРОЯТНО ПРИСУТСТВИЕ ВЗРЫВООПАСНОЙ АТМОСФЕРЫ » |
|
7.7 с) |
ПРЕДОСТЕРЕЖЕНИЕ! После того, как оболочка была открыта, подачу питания можно возобновить только после продувки оболочки в течение мин при расходе защитного газа, равном.» |
|
7.9 d) |
«ПРЕДУПРЕЖДЕНИЕ! КЛАПАН ДЛЯ ПОДАЧИ ЗАЩИТНОГО ГАЗА. ИЗУЧИТЕ ИНСТРУКЦИЮ ПЕРЕД ТЕМ, КАК ЗАКРЫВАТЬ КЛАПАН» |
|
15 |
«ПРЕДОСТЕРЕЖЕНИЕ! НЕ ОТКРЫВАТЬ ДВЕРЬ ИЛИ КРЫШКУ В ТЕЧЕНИЕ ______ МИНУТ ПОСЛЕ ОТКЛЮЧЕНИЯ ПИТАНИЯ». |
18.8 Ограничение давления потребителем
Если по инструкции потребитель должен ограничивать давление, на оболочке маркируют максимальное рабочее давление. Инструкции должны содержать приведенные ниже требования:
a) потребитель должен установить такой источник защитного газа, который не увеличит максимальное рабочее давление в оболочке в условиях одной неисправности. При этом неисправность должна быть самообнаруживающейся. Защиту обеспечивают резервным регулятором или наружным редуктором давления, рассчитанным на максимальный расход, или
b) для подачи защитного газа потребитель должен использовать воздуходувки, а не источник сжатого воздуха.
Соответствие данным требованиям проверяют по инструкции и маркировке.
Если в качестве защитного используют инертный газ, то оболочку под давлением следует маркировать следующей надписью:
«ПРЕДУПРЕЖДЕНИЕ! ОБОЛОЧКА СОДЕРЖИТ ИНЕРТНЫЙ ГАЗ, КОТОРЫЙ МОЖЕТ ВЫЗВАТЬ УДУШЬЕ. КРОМЕ ТОГО, В КОРПУСЕ СОДЕРЖИТСЯ ВОСПЛАМЕНЯЮЩЕЕСЯ ВЕЩЕСТВО, КОТОРОЕ ПРИ СОЕДИНЕНИИ С ВОЗДУХОМ МОЖЕТ ВЫЗВАТЬ ВОСПЛАМЕНЕНИЕ»
А.1 Общие положения
Состав среды в оболочке под давлением следует определять в точках, где предполагается присутствие газа для испытания и вблизи потенциально воспламеняющегося электрооборудования, т.е. за пределами зоны разбавления.
Концентрацию газа в точках контроля следует измерять на протяжении всего (всех) испытания(ий). Например, оболочка под давлением может быть снабжена рядом трубок небольшого диаметра, открытые концы которых размещают внутри оболочки под давлением в точках пробоотбора.
Если в течение испытания требуется проводить отбор проб, то их количество не должно влиять на результаты испытания.
Отверстия в оболочке под давлением при необходимости можно закрыть для заполнения требуемым газом при условии их последующего открытия для испытания продувки и разбавления.
Если в качестве защитного газа используют воздух, то испытание проводят следующим образом:
- когда это необходимо для специальных случаев применения, испытания могут быть проведены для конкретных воспламеняющихся газов и паров. В этом случае должны быть указаны потенциально воспламеняющиеся газы, при этом плотность выбранного(ых) газа(ов) при испытаниях должна отличаться не более чем на ± 10 % от плотности наиболее тяжелого и наиболее легкого из указанных газов;
- если указан только один газ, проводят одно испытание, используя газ для испытания, плотность которого отличается от плотности указанного газа не более чем на ± 10 %;
- при проверке всех воспламеняющихся газов следует провести два испытания. Одно испытание проводят с газами легче воздуха, используя для испытания гелий. Второе испытание проводят с газами тяжелее воздуха, используя для испытания аргон или диоксид углерода.
Примечание - Как правило, газы для испытания должны быть не воспламеняющимися и не токсичными.
А.2 Критерии подтверждения соответствия, когда в качестве защитного газа используют воздух
Концентрация газа для испытания в точках пробоотбора после продувки и разбавления не должна превышать:
- если испытание(я) проводят на определенных воспламеняющихся газах - 25 % нижнего предела взрываемости газа, имеющего наиболее низкий НКПВ;
- если предусмотрен один определенный воспламеняющийся газ - 25 % НКПВ этого газа;
- если испытание проводят на всех воспламеняющихся газах, то 1 % объема - при испытании гелием и 0,25 % объема - при испытании аргоном или диоксидом углерода.
Примечание - Эти значения приблизительно соответствуют 25 % НКПВ для легких и тяжелых воспламеняющихся газов соответственно.
А.3 Критерии для подтверждения соответствия, если в качестве защитного используют инертный газ
Если в качестве защитного используют инертный газ, то объемная доля кислорода в инертном газе после продувки и разбавления не должна превышать 2 %.
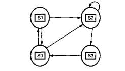
На рисунке В.1 приведен пример информации, которая должна быть представлена изготовителем по простейшей системе управления для оболочки под давлением с компенсацией утечки.
Таблица В.1 - Таблица истинности для системы управления продувкой с компенсацией утечки
|
SO |
S1 |
S2 |
S3 |
МОР |
ХОР |
PFLO |
PTIM |
|
1 |
0 |
0 |
0 |
0 |
1 |
0 |
1 |
|
1 |
0 |
о |
0 |
0 |
0 |
0 |
1 |
|
1 |
0 |
0 |
0 |
1 |
1 |
1 |
0 |
|
1 |
0 |
0 |
0 |
1 |
1 |
0 |
1 |
|
1 |
0 |
0 |
0 |
1 |
1 |
1 |
1 |
|
1 |
0 |
0 |
0 |
0 |
1 |
1 |
1 |
|
1 |
0 |
0 |
0 |
0 |
0 |
1 |
1 |
|
1 |
0 |
0 |
0 |
1 |
1 |
0 |
0 |
|
1 |
0 |
0 |
0 |
0 |
1 |
0 |
0 |
|
1 |
о |
0 |
0 |
0 |
0 |
0 |
0 |
|
1 |
0 |
0 |
0 |
0 |
0 |
1 |
0 |
|
1 |
о |
0 |
0 |
0 |
1 |
1 |
0 |
|
0 |
1 |
0 |
0 |
1 |
0 |
о |
0 |
|
0 |
0 |
1 |
0 |
1 |
0 |
1 |
0 |
|
0 |
0 |
0 |
1 |
1 |
0 |
0 |
1 |
|
0 |
0 |
0 |
1 |
1 |
0 |
1 |
1 |

Рисунок В.1 - Диаграмма состояния системы управления продувкой с компенсацией утечки
ЛОГИЧЕСКИЕ ОПРЕДЕЛЕНИЯ КОМПЕНСАЦИИ УТЕЧКИ
[ХОР] - Превышение максимального избыточного давления
[МОР] - Избыточное давление свыше 50 Па (25 Па для «pz»)
[PFLO] - Расход продувки, больший минимального
[PTIM] - Неполное время продувки
[PTIM] - Полное время продувки
SO - Начальное состояние
[МОР] & [ХОР] & [PFLO] & [PTIM] = S1 Минимальные условия запуска продувки
[МОР] & [ХОР] & [PFLO] & [PTIM] = S2 Продувка
[MOP] & [ХОР] & [PTIM] = S3 Продувка завершена, питание подключено
Каждое состояние системы определяется по реакции на входе устройств контроля и является единственным. Переходные процессы между состояниями допускаются только по маршрутам, обозначенным стрелками и в направлении стрелок. Логические условия возникновения каждого состояния определяются исключительно логическими Булевыми уравнениями. Все возможные сочетания условий входа приведены в таблице. Другие системы с большим числом устройств контроля могут быть описаны данным методом при условии, что каждое рабочее состояние определяется исключительно их входами.
Примечание - На рисунках приведены примеры установления избыточного давления с помощью вентилятора. Возможны и другие способы создания избыточного давления, например подача воздуха из баллонов со сжатым воздухом, компрессоров и т.п. В этих случаях на участке до входа оболочки происходят разные перепады давления.

Р1 - давление защитного газа (определяется по сопротивлению потока через газопровод, части внутри оболочки и в ряде случаев - через дроссельную заслонку); 1 - вход защитного газа (в безопасной зоне); 2-газопровод; 3 - вентилятор; 4- оболочка; 5 - дроссельная заслонка (в том случае, когда требуется поддерживать избыточное давление); 6 - (не используется на этом рисунке); 7-выход защитного газа; 8- (не используется на этом рисунке); 9-избыточное давление, Па; 10 - внутреннее давление; 11 - наружное давление
а) Выход защитного газа без использования барьера от искр и частиц
Р1 - давление защитного газа (определяется по сопротивлению потока через газопровод, части внутри оболочки и в ряде случаев - через дроссельную заслонку и защитный барьер от искр и частиц); 1 - вход защитного газа (в безопасной зоне); 2- газопровод; 3 - вентилятор; 4 - оболочка; 5 - дроссельная заслонка (в том случае, когда требуется поддерживать избыточное давление); 6 - (не используется на этом рисунке); 7 - выход защитного газа; 8 - защитный барьер от искр и частиц; 9 - избыточное давление, Па; 10 - внутреннее давление; 11 - наружное давление
b) Выход защитного газа с использованием защитного барьера от искр и частиц
Рисунок С.1 - Примеры установления избыточного давления

Р2 - давление защитного газа (практически постоянное); 1 - вход защитного газа (в безопасной зоне); 2 - газопровод; 3 - вентилятор; 4 - оболочка; 5 - (не используется на этом рисунке); б - выходной клапан; 7- выход защитного газа; 8 - (не используется на этом рисунке); 9 - избыточное давление, Па; 10 - внутреннее давление; 11 - внешнее давление
Рисунок С.2 - Оболочка под давлением с компенсацией утечки без подвижных частей

Р3 – давление защитного газа (определяется по сопротивлению внутренних частей потоку и подтверждается по воздействию внутреннего вентилятора, используемого для охлаждения, на участках А, В и С); 1 - вход защитного газа (в безопасной зоне); 2 - газопровод; 3 - вентилятор; 4 - оболочка; 5 - (не используется на этом рисунке); 6 - выходной клапан; 7 - выход защитного газа; 8 - (не используется на этом рисунке); 9 - избыточное давление, Па; 10 - внутреннее давление; 11 - внешнее давление
Давление в каждой точке возможной утечки превышает минимальное давление, равное 50 Па для взрывозащиты вида «рх».
Примечание - Следует соблюдать меры предосторожности при использовании избыточного давления в двигателях с внутренним контуром охлаждения, в котором циркуляции способствует внутренний вентилятор, так как подобные вентиляторы могут создать отрицательное давление в частях оболочки с последующим проникновением внешнего давления. Любое предложение о создании избыточного давления в двигателе с внутренней вентиляцией должно быть согласовано с изготовителем двигателя.
Рисунок С.3 - Оболочки под давлением с компенсацией утечки - вращающаяся электрическая машина с внутренним охлаждающим вентилятором
Р4 - давление защитного газа (определяется по сопротивлению внутренних частей потоку и по наибольшему значению давления наружного воздуха); Р5 - давление наружного воздуха, создаваемое наружным охлаждающим вентилятором; 1 - вход защитного газа; 2 - газопровод; 3 - вентилятор; 4 - оболочка; 5 - (не используется на этом рисунке); 6 - выходной клапан; 7 - выход защитного газа; 8 - (не используется на этом рисунке); 9 - избыточное давление, Па; 10-внутреннее давление; 11 - внешнее давление
Рисунок С.4 - Оболочка под давлением с компенсацией утечки - вращающаяся электрическая машина с наружным охлаждающим вентилятором
D.1 Общие положения
В целях обеспечения безопасных условий эксплуатации потребителя следует обеспечивать информацией о правилах установки системы создания избыточного давления. В тех случаях, когда условия эксплуатации требуют от потребителя установки защитных устройств или использования непредусмотренных средств защиты, изготовитель должен маркировать оборудование согласно 29.2, перечисление i) MЭК 60079-0.
Техническая документация должна содержать всю необходимую потребителю информацию для обеспечения соответствия требованиям настоящего стандарта и МЭК 60079-0.
Изготовитель должен выполнить действия, указанные в D.2 - D.6.
D.2 Линия подачи защитного газа
D.2.1 Размещение входа
За исключением подачи газа из баллонов и некоторых случаев применения по группе I, точка входа защитного газа на линию(ии) подачи должна размещаться во взрывобезопасной зоне.
Для группы I, где защитный газ поступает на линию подачи из взрывоопасной зоны, следует принимать следующие меры предосторожности:
a) на выходной стороне вентилятора или компрессора необходимо устанавливать два отдельных детектора рудничного газа, каждый из которых автоматически отключает подачу электропитания на оболочку под давлением, если концентрация рудничного газа превышает 10 % нижнего предела взрываемости;
b) время автоматического отключения не должно превышать половину времени прохождения защитного газа от точки детектирования до оболочки под давлением;
c) в случае автоматического отключения оболочку под давлением следует повторно продувать до возобновления подачи электропитания. Время продувки следует отсчитывать только после того, как концентрация рудничного газа в защитном газе станет менее 10% НКПВ.
D.2.2 Линия между оболочкой под давлением и входом
Подающий газопровод компрессора не должен проходить через взрывоопасную зону.
Если линия подачи компрессора проходит через взрывоопасную зону, она должна быть выполнена из негорючего материала и защищена от механического повреждения и коррозии.
Если внутреннее давление ниже атмосферного (см. приложение С), необходимо принимать соответствующие меры предосторожности с тем, чтобы в линии подачи защитного газа отсутствовали утечки. Следует предусматривать дополнительные защитные меры, например детекторы горючего газа, с тем, чтобы гарантировать отсутствие в линии подачи концентраций газа или пара, способных вызвать воспламенение.
D.2.3 Выходы защитного газа
Выходы газопроводов защитного газа должны предпочтительно находиться во взрывобезопасной зоне, кроме зоны, расположенной в непосредственной близости от выходов, если только изготовитель не предусмотрел барьеры от частиц или если потребитель дополнительно не установил их.
D.2.4 Дополнительное время продувки с учетом газопровода
Время продувки следует увеличивать с учетом продувки свободного объема газопроводных линий, не являющихся частью сертифицированного оборудования, не менее чем пятикратным объемом при минимальном расходе, установленном изготовителем.
D.3 Питание устройств подачи защитного газа
Электропитание устройств подачи защитного газа (воздуходувка, компрессор и т.п.) подают от отдельного источника питания или от источника питания оболочки под давлением.
D.4 Установление статического избыточного давления
Если избыточное давление падает ниже установленного минимума, то перед повторным заполнением оболочку под давлением следует переместить во взрывобезопасную зону.
D.5 Оболочка со встроенной системой
Максимальное давление и расход воспламеняющегося вещества на входе встроенной системы не должны превышать значений, установленных изготовителем.
Могут потребоваться дополнительные меры против образования взрывоопасной смеси в связи с прониканием воздуха во встроенную систему.
Необходимо принимать соответствующие меры предосторожности с тем, чтобы исключить возникновение неблагоприятных рабочих условий, которые могут повредить встроенную систему. Эти условия должны быть приведены в технической документации (вибрация, тепловой удар, а также операции по обслуживанию, требующие открытия дверей и крышек оболочки под давлением.
Может потребоваться выключатель для перекрытия потока воспламеняющегося вещества если, например, возможно его возгорание от нагретой внутренней поверхности и предотвращение утечки из встроенной системы возможно с помощью установления внутреннего положительного давления.
Если нарушение нормальной утечки изменит классификацию наружных зон, может возникнуть необходимость в дополнительных мерах предосторожности.
D.6 Максимальное избыточное давление оболочки
Потребитель должен ограничивать давление в соответствии с указаниями изготовителя.
Е.1 Общие положения
Последствия утечки воспламеняющегося вещества внутри оболочки более опасны, чем утечка в окружающую атмосферу. Временная утечка внутри оболочки приводит к скоплению воспламеняющихся веществ, которые остаются внутри нее даже после прекращения утечки. Поэтому важнее обратить особое внимание на «утечку в нормальных условиях» и на «утечку в аварийных условиях», чем на утечку на открытом воздухе.
Во всех случаях необходима установка устройств, ограничивающих расход воспламеняющихся веществ из встроенной системы в оболочку под давлением. Допускается лишь ограниченная утечка.
Е.2 Отсутствие утечки в нормальных и аварийных условиях
Встроенная система должна соответствовать конструктивным требованиям 12.2 и требованиям испытаний 16.6 для неповреждаемой встроенной системы.
Е.3 Отсутствие утечки в нормальных условиях и ограниченная утечка в аварийных условиях
Встроенную систему, не соответствующую требованиям неповреждаемости и содержащую металлические линии, трубопроводы или такие элементы, как трубки Бурдона, сильфоны или спирали с соединениями, не подлежащими демонтажу при текущем техническом обслуживании и выполненными с использованием трубной резьбы, сварки, эвтектических методов или металлических компрессионных фитингов, нельзя рассматривать как систему без утечки в нормальных условиях. Ее рассматривают как систему с ограниченной утечкой в аварийных условиях.
Поворотные или скользящие соединения, фланцевые соединения, уплотнения из эластомера и неметаллические гибкие трубки не отвечают этим критериям.
Е.4 Ограниченная утечка в нормальных условиях
Системы, не отвечающие требованию утечки в нормальных условиях, следует рассматривать как системы с ограниченной утечкой в нормальных условиях. К ним относятся встроенные системы, соединения которых подлежат текущему техническому обслуживанию. Такие соединения следует четко идентифицировать.
Встроенные системы, содержащие неметаллические трубопроводы, трубки или такие элементы, как трубки Бурдона, сильфоны, мембраны, спирали, уплотнения из эластомера, поворотные и скользящие соединения, следует рассматривать как источник утечки в нормальных условиях эксплуатации.
Оценку оболочек, в которых в нормальных условиях эксплуатации используется пламя, следует осуществлять при погашенном пламени. Следует исходить из того, что гашение пламени является нормальным событием, и это оборудование следует классифицировать как имеющее нормальную утечку, если только не установлены специальные автоматические устройства, перекрывающие поток воспламеняющегося газа или пара после гашения пламени.

1 - номинальная граница зоны разбавления; 2-вход воспламеняющегося вещества; 3-выход воспламеняющегося вещества; 4 - зона, в которой проводят испытание разбавления; 5 - выход продувочного газа; 6 - перегородка оболочки воспламеняющегося устройства; 7 - вход продувочного газа
Рисунок F.1 - Использование концепции зон разбавления с целью упрощения требований, предъявляемых к испытанию процессов продувки и разбавления
Заключив воспламеняющее устройство (ВУ) во внутренний корпус или используя перегородки, можно продемонстрировать при помощи простого испытания, что ВУ находится за пределами зоны разбавления. Поэтому нет необходимости и нежелательно определять степень распространения зоны разбавления только для установления нахождения зоны разбавления.

1 - внутренняя перегородка; 2 - вход продувочного газа; 3 - неповреждаемые части встроенной системы; 4 - выход продувочного газа; 5 - расположение ВУ; 6 - потенциальный источник утечки с номинальной зоной разбавления
Рисунок F.2 - Использование концепции неповреждаемой встроенной системы с целью упрощения требований, предъявляемых к продувке и разбавлению вокруг ВУ
Поскольку части встроенной системы, находящиеся внутри перегородки, соответствуют требованиям, предъявляемым к неповреждаемой встроенной системе, ВУ не может быть размещено в зоне разбавления.

1 - зона, в которой проводится испытание разбавления; 2 - вход продувочного инертного газа; 3- потенциальный источник утечки с номинальной зоной разбавления; 4 - выход продувочного газа
Рисунок F.3 - Использование внутренних перегородок вокруг потенциального источника утечки с целью упрощения требований к продувке и разбавлению вокруг ВУ, размещенного за пределами перегородок
Поскольку зона разбавления находится внутри перегородки, ВУ размещается вне зоны разбавления.

1 - система, заполненная гелием; 2 - испытуемая система; 3 - устройство контроля давления; 4 - система отвода газа; 5 - критический диаметр отверстия; 6 - диаметр соединительного сопла
Рисунок G.1 - Схема испытания на неповреждаемость, описанного в 16.6.2 а)
Примечания
1 Объем V2 больше объема V1 испытуемой системы.
2 Площадь поперечного сечения сопла с критическим диаметром D0 меньше площади поперечного сечения соединительного сопла диаметром Dx.
3 Устройство контроля давления Р необходимо скорректировать с учетом свойств газа, используемого при испытаниях на утечку (т.е. свойств гелия).
4 Результаты испытания считают положительными, если абсолютное давление, которое меньше или равно 0,1 Па, можно поддерживать в V2, когда оба клапана (IV1 и IV2) открыты.
5 Значение утечки (при наличии) можно определить при открытом клапане IV1 и закрытом клапане IV2.
Таблица Н.1
|
Обозначение ссылочного международного стандарта |
Обозначение и наименование соответствующего национального стандарта |
|
МЭК 60034-5 |
ГОСТ 17494-87 (МЭК 34-5-81) Машины электрические вращающиеся. Классификация степеней защиты, обеспечиваемых оболочками вращающихся машин |
|
МЭК 60050 (151) |
* |
|
МЭК 60050 (426) |
ГОСТ Р МЭК 60050-426-2006 Международный электротехнический словарь. Часть 426. Электрооборудование для взрывоопасных сред |
|
МЭК 60079-0:2004 |
ГОСТ Р 52350.0-2005 (МЭК 60079-0:2004) Электрооборудование для взрывоопасных газовых сред. Часть 0. Общие требования |
|
МЭК 60112 |
ГОСТ 27473-87 (МЭК 112-79) Материалы электроизоляционные твердые. Методы определения сравнительного и контрольного индексов трекингостойкости во влажной среде |
|
МЭК 60529 |
ГОСТ 14254-96 (МЭК 529-89) Степени защиты, обеспечиваемые оболочками (Код IP) |
|
МЭК 60664-1:1992 |
* |
|
* Соответствующий национальный стандарт отсутствует. До его утверждения рекомендуется использовать перевод на русский язык данного международного стандарта. Перевод данного международного стандарта находится в Федеральном информационном фонде технических регламентов и стандартов. |
|
[1] МЭК 60051 (все части) Приборы электроизмерительные показывающие аналоговые прямого действия и принадлежности к ним
[2] МЭК 60079-13 Электрооборудование для взрывоопасных газовых сред. Часть 13. Конструкция и использование помещений или зданий, защищенных с помощью избыточного давления
[3] МЭК 60079-16 Электрооборудование для взрывоопасных газовых сред. Часть 16. Искусственная вентиляция с целью защиты помещений, в которых находится анализатор (анализаторы)
Ключевые слова: оболочки под избыточным давлением, защитный газ, защитные устройства, встроенная система, продувка, разбавление