Нормативные документы размещены исключительно с целью ознакомления учащихся ВУЗов, техникумов и училищ.
Объявления:

ГОСТ 30403-96

МЕЖГОСУДАРСТВЕННЫЙ СТАНДАРТ

 

КОНСТРУКЦИИ СТРОИТЕЛЬНЫЕ

МЕТОД ОПРЕДЕЛЕНИЯ ПОЖАРНОЙ ОПАСНОСТИ

 

 

 

МЕЖГОСУДАРСТВЕННАЯ НАУЧНО-ТЕХНИЧЕСКАЯ КОМИССИЯ
ПО СТАНДАРТИЗАЦИИ И ТЕХНИЧЕСКОМУ НОРМИРОВАНИЮ
В СТРОИТЕЛЬСТВЕ (МНТКС)

Москва 1996

 

 

Предисловие

1 РАЗРАБОТАН Государственным Центральным научно-исследовательским и проектно-экспериментальным институтом комплексных проблем строительных конструкций и сооружений имени В.А. Кучеренко (ЦНИИСК им. Кучеренко) Государственного научного центра "Строительство" (ГНЦ "Строительство") Минстроя России совместно с Всероссийским научно-исследовательским институтом противопожарной обороны (ВНИИПО) МВД России и Центром противопожарных исследований и тепловой защиты в строительстве ЦНИИСК (ЦПИТЗС ЦНИИСК)

ВНЕСЕН Минстроем России

2 ПРИНЯТ Межгосударственной научно-технической комиссией по стандартизации и техническому нормированию в строительстве (МНТКС) 15 мая 1996 г.

За принятие проголосовали

Наименование государства

Наименование органа государственного управления строительством

Азербайджанская Республика

Госстроя Азербайджанской Республики

Республика Армения

Госупрархитектуры Республики Армения

Республика Казахстан

Минстрой Республики Казахстан

Республика Молдова

Минархстрой Республики Молдова

Российская Федерация

Минстрой России

Республика Таджикистан

Госстрой Республики Таджикистан

Республика Узбекистан

Госкомархитектстрой Республики Узбекистан

3 ВВЕДЕН ВПЕРВЫЕ

4 ВВЕДЕН В ДЕЙСТВИЕ с 1 июля 1996 г. в качестве государственного стандарта Российской Федерации постановлением Минстроя России от 22 мая 1996 г. № 18-36

 

Содержание

1 Область применения

2 Нормативные ссылки

3 Термины и определения

4 Основные положения

5 Оборудование для испытаний

6 Образцы для испытаний

7 Калибровка печи

8 Подготовка к проведению испытаний

9 Проведение испытаний

10 Оценка результатов испытаний

11 Протокол испытания

 

 

МЕЖГОСУДАРСТВЕННЫЙ СТАНДАРТ

КОНСТРУКЦИИ СТРОИТЕЛЬНЫЕ

МЕТОД ОПРЕДЕЛЕНИЯ ПОЖАРНОЙ ОПАСНОСТИ

 

BUILDING STRUCTURES

FIRE HAZARD TEST METHOD

Дата введения 1996-07-01

1 ОБЛАСТЬ ПРИМЕНЕНИЯ

Настоящий стандарт устанавливает требования к методу испытания строительных конструкций на пожарную опасность.

Настоящий стандарт распространяется на элементы зданий - колонны, ригели, фермы, балки, арки, рамы и связи, наружные и внутренние стены, перегородки, перекрытия, покрытия, стены лестничных клеток, противопожарные преграды, марши и площадки лестниц.

Стандарт может применяться для сравнительной оценки пожарной опасности подвесных потолков, воздуховодов, трубопроводов, электрических кабелей и проводов.

Настоящий стандарт не распространяется на конструкции заполнения проемов, на покрытия полов и фальшполы, кровли, облицовки и отделки.

2 НОРМАТИВНЫЕ ССЫЛКИ

В настоящем стандарте использованы ссылки на следующие нормативные документы:

ГОСТ 12.1.044-89 Пожаровзрывоопасность веществ и материалов. Номенклатура показателей и методы их определения

ГОСТ 30244-94 Материалы строительные. Методы испытания на горючесть

ГОСТ 30247.0-94 Конструкции строительные. Методы испытаний на огнестойкость. Общие требования

ГОСТ 30402-96 Материалы строительные. Метод испытания на воспламеняемость

СТ СЭВ 383-87 Пожарная безопасность в строительстве. Термины и определения

3 ТЕРМИНЫ И ОПРЕДЕЛЕНИЯ

В настоящем стандарте применяют термины с соответствующими определениями.

Пожарная опасность конструкции - по СТ СЭВ 383.

Класс пожарной опасности конструкции - классификационная характеристика пожарной опасности конструкции, определяемая по результатам стандартных испытаний.

Огневая камера - часть испытательной печи, в которой при калибровке создается стандартный температурный режим, соответствующий требованиям ГОСТ 30247.0.

Тепловая камера - часть испытательной печи, в которой при калибровке создается специальный температурный режим, регламентируемый настоящим стандартом.

Зона огневого воздействия на образец - часть образца, расположенная в огневой камере.

Контрольная зона образца - часть образца, расположенная в тепловой камере.

Приведенная толщина металла - отношение площади поперечного сечения металлического элемента к той части его периметра, которая подвергается нагреву.

4 ОСНОВНЫЕ ПОЛОЖЕНИЯ

4.1 Сущность метода заключается в определении показателей пожарной опасности конструкции при ее испытании в условиях теплового воздействия, установленных настоящим стандартом, в течение времени, определяемого требованиями к этой конструкции по огнестойкости.

4.2 При установлении класса пожарной опасности конструкции следует учитывать:

- наличие теплового эффекта от горения или термического разложения составляющих конструкцию материалов;

- наличие пламенного горения газов или расплавов, выделяющихся из конструкции в результате термического разложения составляющих ее материалов;

- размеры повреждения конструкции и составляющих ее материалов, возникшего при испытании конструкции, вследствие их горения или термического разложения;

- характеристики пожарной опасности составляющих конструкцию материалов, поврежденных при испытании по методу, изложенному в настоящем стандарте.

4.3 В качестве характеристик пожарной опасности материалов принимают горючесть, воспламеняемость и дымообразующую способность. Горючесть материала устанавливают по ГОСТ 30244, воспламеняемость - по ГОСТ 30402, дымообразующую способность - по ГОСТ 12.1.044.

5 ОБОРУДОВАНИЕ ДЛЯ ИСПЫТАНИЙ

5.1 Для испытаний используется следующее оборудование:

- двухкамерная испытательная печь с системой подачи и сжигания топлива (далее "печь");

- приспособления для установки образца, обеспечивающие соблюдение условий его крепления;

- система измерения и регистрации параметров, включая оборудование для проведения кино-, фото- или видеосъемок.

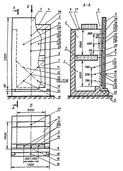
5.2 Схемы печей и установки на них образцов конструкций приведены на рисунках 1 и 2 (размеры указаны справочно).

 

 

1 - огневая камера; 2 - тепловая камера; 3 - перекрытие, разделяющее огневую и тепловую камеры; 4 - ограждение тепловой камеры; 5 -образец; 6 - уплотнение; 7 - проем между обогреваемой поверхностью образца и торцом перекрытия 3; 8 - граница тепловой камеры и контрольной зоны образца; 9 - проем для выхода газов; 10 - прокладка; 11-27 - термопары для измерения температуры конструкции и газовой среды в огневой и тепловой камерах

Рисунок 1 - Схема печи для испытаний вертикальных конструкций
и установки на ней образца конструкции

 

1 - огневая камера; 2 - тепловая камера; 3 - перегородка, разделяющая огневую и тепловую камеры; 4 - ограждение тепловой камеры; 5 -образец; 6 - уплотнение; 7 - проем между обогреваемой поверхностью образца и торцом перегородки 3; 8 - граница тепловой камеры и контрольной зоны образца; 9 - проем для выхода газов; 10 - прокладка; 11-27 - термопары для измерения температуры конструкции и газовой среды в огневой и тепловой камерах

Рисунок 2 - Схема печи для испытаний горизонтальных конструкций
и установки на ней образца конструкции

5.3 Технические требования к системе подачи и сжигания топлива, системам измерения и регистрации параметров - по ГОСТ 30247.0.

6 ОБРАЗЦЫ ДЛЯ ИСПЫТАНИЙ

6.1 Образцы конструкций для испытаний, включая стыки и их заполнение, должны быть выполнены в соответствии с технической документацией на изготовление и применение конструкций. Образцы не должны иметь проемов, а также декоративной отделки или облицовки.

6.2 Для испытаний на пожарную опасность стержневых, в том числе слоистых, конструкций (колонн, балок, ферм, арок, рам, связей, воздуховодов и трубопроводов) допускается изготавливать плоские образцы, в которых расположение слоев и их толщина должны быть такими же, как и в стержневых конструкциях (для металлических элементов - по приведенной толщине).

6.3 Образцы  должны иметь длину не менее 2,4 м, ширину - не менее 1,3 м, толщину - по технической документации.

6.4 Материалы и детали образцов, подлежащих испытанию, в том числе стыковые соединения ограждающих конструкций, должны соответствовать технической документации на их изготовление и применение.

6.5 Влажность образца - по ГОСТ 30247.0.

6.6 Для испытания конструкции одного типа должны быть, как правило, изготовлены два одинаковых образца. Допускается изготавливать один образец при условии, указанном в 10.2.

К образцам должны быть приложены комплект технической документации на испытываемую конструкцию, документация, по которой изготовлены образцы, а также официальные протоколы испытаний материалов, из которых выполнена конструкция, на пожарную опасность.

При отсутствии вышеуказанных протоколов испытаний и при необходимости использования показателей пожарной опасности материалов для классификации конструкции по пожарной опасности должны представляться образцы материалов, из которых изготовлена конструкция, для испытаний на горючесть, воспламеняемость и дымообразующую способность по 4.2 и 4.3 с соответствующей документацией.

7 КАЛИБРОВКА ПЕЧИ

7.1 Калибровка печи проводится с целью регламентации теплового воздействия на образец в процессе испытания.

7.2 Калибровочные образцы должны соответствовать требованиям ГОСТ 30247.0.

7.3 В огневой камере печи создается и контролируется стандартный температурный режим в соответствии с ГОСТ 30247.0.

При этом среднее отклонение температуры от стандартного режима при калибровке не должно быть более, %:

7,5 - в течение 10 мин от начала испытания;

5     - после 10 мин от начала испытания.

7.4 В контрольных точках тепловой камеры (термопары 19 - 21 на рисунках 1 и 2) должен быть создан температурный режим, характеризуемый следующей зависимостью:

,                                               (1)

где Tt - температура, соответствующая времени t, °С;

T0 - температура в печи до начала теплового воздействия (принимаемая равной температуре окружающей среды), °С;

t - время от начала калибровки, мин.

При этом отклонение средней температуры, измеренной термопарами 19 - 21 по зависимости (1),не должно быть более, %:

15 - в течение 10 мин от начала калибровки;

10 - после 10 мин от начала калибровки

7.5 Выполнение условий теплового воздействия на образец, указанных в 7.3 и 7.4, достигают путем изменения расхода топлива и размеров проема для выхода газов из тепловой камеры (позиция 9 на рисунках 1 и 2).

Рекомендуемая площадь сечения проема (зазора) между обогреваемой поверхностью калибровочного образца и торцом перекрытия (перегородки), разделяющего огневую и тепловую камеры печи, - 0,05м2.

7.6 В процессе калибровки регистрируют:

- температуру в огневой камере - по ГОСТ 30247.0;

- температуру в тепловой камере - по показаниям термопар 19 - 21 (рисунки 1, 2);

- расход топлива и размеры проемов для газообмена печи;

- температуру окружающей среды.

7.7 Калибровку печи проводят:

- после десяти испытаний;

- при изменении конструкции или футеровки печи;

-при изменениях в системе подачи и сжигания топлива;

- при замене типа топлива;

- при температуре окружающей среды во время испытания образца, отличающейся более чем на 10 °С по сравнению с температурой среды при проведении предшествующей калибровки.

7.8 Время калибровки - 45 мин.

8 ПОДГОТОВКА К ПРОВЕДЕНИЮ ИСПЫТАНИЙ

8.1 Подготовка к проведению испытаний включает проверку и отладку системы подачи и сжигания топлива, приборов и приспособлений; проведение калибровочных испытаний по 7.7, подготовку образцов конструкций к испытанию, установку термопар в печи и на образце.

8.2 Образцы на печи располагают таким образом, чтобы стыки плит и панелей находились в огневой камере с продолжением их в тепловую камеру, а торцы образца были свободны (рисунки 1 и 2, позиции 3 и 10).

8.3 Термопары в огневой и тепловой камерах печи и на образце размещают следующим образом.

8.3.1 В огневой камере печи термопары следует размещать в соответствии с ГОСТ 30247.0.

8.3.2 В тепловой камере печи термопары следует устанавливать на расстоянии 20 мм от обогреваемой поверхности образца и на расстоянии 400 мм от границы тепловой камеры при испытании вертикальных конструкций и 250 мм - при испытании горизонтальных конструкций в трех точках (термопары 19 - 21 на рисунках 1 и 2).

8.3.3 Рекомендуется также устанавливать термопары:

а) по осям проемов для выхода газов из тепловой камеры печи (рисунки 1 и 2, термопара 27);

б) на образце и по его сечениям в зоне огневого воздействия - в геометрическом центре обогреваемой поверхности образца (термопары 16 - 18 на рисунках 1 и 2); в контрольной зоне - на расстоянии 400 мм от границы контрольной зоны при испытании вертикальных конструкций и 250 мм - при испытании горизонтальных конструкций (термопары 22 - 24 на рисунках 1 и 2);

в) в стыковом соединении на расстоянии 800 мм от границы контрольной зоны при испытании вертикальных конструкций и 500 мм - при испытании горизонтальных конструкций (термопара 26 на рисунках 1 и 2);

г) в многослойных конструкциях - по плоскостям раздела слоев материалов (термопары 17, 22 - 25 на рисунках 1 и 2).

Расстояние от термопар, устанавливаемых по б и г, до торца или стыка образца должно быть не менее 1/2 его толщины.

9 ПРОВЕДЕНИЕ ИСПЫТАНИЙ

9.1 Испытание образцов проводят при температуре окружающего воздуха от +10 до +40 °С, скорости его движения не более 0,5 м/с и относительной влажности (60 ± 15) %, измеренных на расстоянии от 1 до 1,5 м от поверхности образца.

9.2 Испытания образцов конструкций проводят при расходе топлива, площади зазора и размерах проемов для газообмена печи, зафиксированных при калибровке.

9.3 Образцы конструкций испытывают в ненагруженном состоянии.

9.4 Образцы внутренних и наружных стен, а также перегородок несимметричного сечения следует испытывать при воздействии теплоты с каждой стороны либо со стороны заведомо большей пожарной опасности.

Образцы покрытий и перекрытий, подвесных потолков, лестничных маршей и площадок испытывают при воздействии теплоты с нижней стороны.

Конструкции, имеющие в проектном положении уклон более 30°, следует испытывать в вертикальном положении, остальные - в горизонтальном.

9.5 Продолжительность теплового воздействия должна соответствовать минимальному требуемому пределу огнестойкости испытываемой конструкции, но не должна превышать 45 мин.

При испытании конструкций, к которым не предъявляются требования по огнестойкости, а также наружных стен при воздействии теплоты со стороны внешней поверхности (фасада), продолжительность теплового воздействия следует принимать равной 15 мин.

9.6 После окончания времени теплового воздействия систему подачи и сжигания топлива отключают и образец оставляют на печи для остывания до температуры окружающей среды.

9.7 В процессе испытания следует регистрировать параметры, по которым определяется класс пожарной опасности конструкции:

- температуру в огневой и тепловой камерах для определения наличия теплового эффекта;

- способность к воспламенению газов, выделяющихся при термическом разложении материалов образца;

- образование горящего расплава.

9.8 Температуру в огневой камере следует регистрировать по показаниям термопар, установленных в соответствии с 8.3.1.

9.9 Температуру в тепловой камере следует регистрировать по показаниям термопар, установленных в соответствии с 8.3.2.

9.10 Способность к воспламенению газов, выделяющихся при термическом разложении материалов образца, проверяют посредством поднесения горящего факела к местам выхода этих газов на необогреваемые поверхности образца не реже, чем через каждые 5 мин испытания и через каждую минуту - при появлении вспышек газа; длина намотки факела должна быть не менее 150 мм, а диаметр - не менее 40 мм. Факел должен иметь держатель, обеспечивающий его безопасное использование.

9.11 Образование горящего расплава контролируют визуально по наличию горящих капель, вытекающих из торцов образца или стекающих по поверхности образца в пределах контрольной зоны.

9.12 Кроме параметров, указанных в 9.7, в процессе испытания регистрируют время появления и характер развития в образце трещин, отверстий, отслоений, раскрытия стыков, появления дыма, пламени, изменения цвета и состояния поверхностей, а также другие особенности реакции образца конструкции на тепловое воздействие.

Эти явления регистрируют визуально или с помощью фото-, видео- и киносъемки, а также с помощью термопар, установленных в соответствии с 8.3.3.

9.13 После остывания образца производят его обследование с целью определения и регистрации размеров повреждения в контрольной зоне.

При измерении размеров повреждения слоистых конструкций необходимо путем вскрытия обследовать все слои конструкции.

9.14 Размер повреждения образца измеряется в сантиметрах в плоскости конструкции от границы контрольной зоны, перпендикулярно к ней до наиболее удаленной точки повреждения образца в контрольной зоне.

9.15 Повреждением считается обугливание, оплавление и выгорание материалов, из которых изготовлена конструкция, на глубину более 0,2 см.

Не учитывается повреждение:

- длиной менее 5 см для конструкций, испытываемых в вертикальном положении, и менее 3 см для конструкций, испытываемых в горизонтальном положении;

- материала заполнения стыка в пределах контрольной зоны, если это повреждение не превышает 80 см при испытании вертикальных конструкций и 50 см - при испытании горизонтальных конструкций и если оно не влечет за собой повреждения других элементов образца;

- слоев пароизоляции толщиной не более 0,2 см;

- в виде оплавления материалов при отсутствии видимых следов горения (обугливания), наличия пламенного горения газов, горящего расплава и теплового эффекта по 10.1.

9.16 Техника безопасности при проведении испытаний - по ГОСТ 30247.0.

10 ОЦЕНКА РЕЗУЛЬТАТОВ ИСПЫТАНИЙ

10.1 Пожарную опасность конструкции характеризуют:

- наличием теплового эффекта (но не его величиной) от горения материалов образца, который выражается в превышении температуры в огневой и тепловой камерах по сравнению с верхними допустимыми границами температурных режимов, установленных в 7.3 и 7.4;

- наличием пламенного горения газов, выделяющихся при термическом разложении материалов образца, продолжительностью более 5 с;

- наличием горящего расплава при продолжительности его горения более 5 с;

- размером повреждения образца в контрольной зоне с учетом 9.15;

- пожарной опасностью материалов, из которых выполнена конструкция, имеющих повреждение в контрольной зоне образца.

10.2 Размер повреждения конструкции определяют как среднеарифметическое значение по результатам испытания двух одинаковых образцов.

Допускается определять размер повреждения по результатам испытания одного образца, если этот размер отличается от допускаемого, приведенного в таблице 1, более чем на 15 %.

В случае различия результатов испытаний двух одинаковых образцов более чем на 15 % проводят третье испытание, при этом размер повреждения определяют как среднеарифметическое значение по результатам испытаний двух образцов, имеющих наибольшие размеры повреждения.

Наличие теплового эффекта или горения учитывается, если их проявление было зафиксировано при испытании хотя бы одного образца.

10.3 Пожарную опасность материалов, составляющих конструкцию, определяют по 4.3.

10.4 Конструкции подразделяются на классы по пожарной опасности в соответствии с таблицей 1 по наименее благоприятному показателю.

10.5 Условное обозначение класса пожарной опасности конструкции включает букву К и цифры; цифра, заключенная в скобки, обозначает продолжительность теплового воздействия при испытании образца в минутах.

Одна и та же конструкция может принадлежать к различным классам пожарной опасности в зависимости от времени теплового воздействия.

Например:

К0 (15)

- конструкция класса К0 при времени теплового воздействия 15 мин;

К1 (30)

- конструкция класса К1 при времени теплового воздействия 30 мин;

К2 (45)

- конструкция класса К2 при времени теплового воздействия 45 мин;

К1 (30) / К3 (45)

- конструкция класса К1 при времени теплового воздействия 30 мин и класса К3 при времени теплового воздействия 45 мин.

Таблица 1

Класс пожарной опасности конструкций

Допускаемый размер повреждения конструкций, см

Наличие

Допускаемые характеристики пожарной опасности поврежденного материала*

вертикальных

горизонтальных

теплового эффекта

горения

группа

горючести

воспламеняемости

дымообразующей способности

К0

0

0

н.д.

н.д.

-

-

-

К1

До 40

До 25

н.д.

н.д.

н.р.

н.р.

н.р.

» 40

» 25

н.р.

н.д.

Г2

В2

Д2

К2

Более 40, но до 80

Более 25, но до 50

н.д.

н.д.

н.р.

н.р.

н.р.

То же

То же

н.р.

н.д.

Г3

В3

Д2

К3

Не регламентируется

__________

* Обозначение группы горючести поврежденного материала принято по ГОСТ 30244, воспламеняемости - по ГОСТ 30402, обозначение группы дымообразующей способности поврежденного материала Д2 соответствует материалам с умеренной дымообразующей способностью по ГОСТ 12.1.044.

Условные обозначения: н.д. - не допускается

н.р. - не регламентируется

10.6 Без испытаний конструкций допускается устанавливать классы их пожарной опасности: К0 - для конструкций, выполненных только из материалов группы горючести НГ; К3 - для конструкций, выполненных только из материалов группы горючести Г4.

11 ПРОТОКОЛ ИСПЫТАНИЯ

Протокол испытания должен содержать:

- наименование организации, проводящей испытание;

- наименование заказчика;

- наименование конструкции, сведения об изготовлении образцов, товарный знак и маркировку конструкции, данные о технической документации на изготовление конструкции и образцов;

- дату и условия испытания;

- наименование нормативного документа, в соответствии с которым проведено испытание;

- эскизы и описание испытанных образцов, данные о контрольных измерениях состояния образцов, эксплуатационных свойствах материалов и перечень отклонений, допущенных при изготовлении образца, от технической документации на конструкцию;

- время теплового воздействия на образцы;

- для несимметричных вертикальных ограждающих конструкций - указание сторон, подвергнутых тепловому воздействию;

- запись контролируемых параметров и результаты их обработки;

- фактические размеры повреждения образцов;

- видео- или фотоматериалы;

- данные о группах горючести, воспламеняемости и дымообразующей способности материалов, из которых выполнена конструкция, если они необходимы для установления класса пожарной опасности конструкции;

- сведения о наличии теплового эффекта и горения;

- результаты оценки испытания;

- заключение о классе пожарной опасности конструкции;

- срок действия протокола;

- приложения к протоколу с результатами испытаний материалов (заключения по результатам испытаний на горючесть, воспламеняемость и дымообразующую способность).

 

 

Ключевые слова: строительные конструкции, пожарная опасность, испытание, класс пожарной опасности, горючесть, огнестойкость, воспламеняемость, дымообразующая способность

 

 

2008-2013. ГОСТы, СНиПы, СанПиНы - Нормативные документы - стандарты.