
ГОСУДАРСТВЕННЫЙ СТАНДАРТ СОЮЗА ССР
СИСТЕМА СТАНДАРТОВ БЕЗОПАСНОСТИ ТРУДА
ПОЖАРОВЗРЫВООПАСНОСТЬ ВЕЩЕСТВ И МАТЕРИАЛОВ
НОМЕНКЛАТУРА ПОКАЗАТЕЛЕЙ И МЕТОДЫ ИХ ОПРЕДЕЛЕНИЯ
ГОСТ 12.1.044-89
ГОСУДАРСТВЕННЫЙ КОМИТЕТ СССР ПО УПРАВЛЕНИЮ КАЧЕСТВОМ ПРОДУКЦИИ И СТАНДАРТАМ
Москва
государственный СТАНДАРТ СОЮЗА CCР
|
Система стандартов безопасности труда ПОЖАРОВЗРЫВООПАСНОСТЬ ВЕЩЕСТВ И МАТЕРИАЛОВ Номенклатура показателей и методы их определения Occupational safety standards system. Fire and
explosion hazard of substances and |
ГОСТ 12.1.044-89 |
Дата введения 1991-01-01
Настоящий стандарт распространяется на простые вещества, химические соединения и их смеси в различных агрегатных состояниях и комбинациях, в том числе полимерные и композитные материалы (далее - вещества и материалы), применяемые в отраслях народного хозяйства.
Стандарт не распространяется на взрывчатые и радиоактивные вещества и материалы.
Стандарт устанавливает номенклатуру показателей пожаровзрывоопасности веществ и материалов и методы их определения.
1.1. Показатели пожаровзрывоопасности веществ и материалов определяют с целью получения исходных данных для разработки систем по обеспечению пожарной безопасности и взрывобезопасности в соответствии с требованиями ГОСТ 12.1.004 и ГОСТ 12.1.010, строительных норм и правил, утвержденных Госстроем СССР; правил устройства электроустановок, утвержденных Госэнергонадзором Минэнерго СССР; при классификации опасных грузов по ГОСТ 19433; для выбора категории помещений и зданий в соответствии с требованиями норм технологического проектирования; для технического надзора за изготовлением материалов и изделий при постройке и ремонте судов по правилам Регистра СССР и Речного Регистра РСФСР.
1.2. Пожаровзрывоопасность веществ и материалов определяется показателями, выбор которых зависит от агрегатного состояния вещества (материала) и условий его применения.
Методы определения показателей применяют для строительных материалов по мере установления классификации этих показателей и введения по ним нормативных требований.
1.3. При определении пожаровзрывоопасности веществ и материалов различают:
газы - вещества, давление насыщенных паров которых при температуре 25 °С и давлении 101,3 кПа превышает 101,3 кПа;
жидкости - вещества, давление насыщенных паров которых при температуре 25 °С и давлении 101,3 кПа меньше 101,3 кПа. К жидкостям относят также твердые плавящиеся вещества, температура плавления или каплепадения которых меньше 50 °С;
твердые вещества и материалы - индивидуальные вещества и иx смесевые композиции с температурой плавления или каплепадения больше 50 °С, а также вещества, не имеющие температуру плавления (например, древесина, ткани и т. п.);
пыли - диспергированные твердые вещества и материалы с размером частиц менее 850 мкм.
1.4 Номенклатура показателей и их применяемость для характеристики пожаровзрывоопасности веществ и материалов приведены в табл. 1.
|
Показатель |
Агрегатное состояние веществ и материалов |
|||
|
|
газы |
жидкости |
твердые |
пыли |
|
Группа горючести |
+ |
+ |
+ |
+ |
|
Температура вспышки |
- |
+ |
- |
- |
|
Температура воспламенения |
- |
+ |
+ |
+ |
|
Температура самовоспламенения |
+ |
+ |
+ |
+ |
|
Концентрационные пределы распространения пламени (воспламенения) |
+ |
+ |
- |
+ |
|
Температурные пределы распространения пламени (воспламенения) |
- |
+ |
- |
- |
|
Температура тления |
- |
- |
+ |
+ |
|
Условия теплового самовозгорания |
- |
- |
+ |
+ |
|
Минимальная энергия зажигания |
+ |
+ |
- |
+ |
|
Кислородный индекс |
- |
- |
+ |
- |
|
Способность взрываться и гореть при взаимодействии с водой, кислородом воздуха и другими веществами |
+ |
+ |
+ |
+ |
|
Нормальная скорость распространения пламени |
+ |
+ |
- |
- |
|
Скорость выгорания |
- |
+ |
- |
- |
|
Коэффициент дымообразования |
- |
- |
+ |
- |
|
Индекс распространения пламени |
- |
- |
+ |
- |
|
Показатель токсичности продуктов горения полимерных материалов |
- |
- |
+ |
- |
|
Минимальное взрывоопасное содержание кислорода |
+ |
+ |
- |
+ |
|
Минимальная флегматизирующая концентрация флегматизатора |
+ |
+ |
- |
+ |
|
Максимальное давление взрыва |
+ |
+ |
- |
+ |
|
Скорость нарастания давления взрыва |
+ |
+ |
- |
+ |
|
Концентрационный предел диффузионного горения газовых смесей в воздухе |
+ |
+ |
- |
- |
2. Кроме указанных в табл. 1, допускается использовать другие показатели, более детально характеризующие пожаровзрывоопасность веществ и материалов.
(Измененная редакция. Изм. № 1)
1.5. Число показателей, необходимых и достаточных для характеристики пожаровзрывоопасности веществ и материалов в условиях производства, переработки, транспортирования и хранения, определяет разработчик системы обеспечения пожаровзрывобезопасности объекта или разработчик стандарта и технических условий на вещество (материал).
Пожаровзрывоопасность веществ и материалов - совокупность свойств, характеризующих их способность к возникновению и распространению горения. Следствием горения, в зависимости от его скорости и условий протекания, могут быть пожар (диффузионное горение) или взрыв (дефлаграционное горение предварительно перемешанной смеси горючего с окислителем).
2.1. Группа горючести
2.1.1. Группа горючести - классификационная характеристика способности веществ и материалов к горению.
Горение - экзотермическая реакция, протекающая в условиях ее прогрессивного самоускорения.
2.1.2. По горючести вещества и материалы подразделяют на три группы:
негорючие (несгораемые) - вещества и материалы, не способные к горению в воздухе. Негорючие вещества могут быть пожаровзрывоопасными (например, окислители или вещества, выделяющие горючие продукты при взаимодействии с водой, кислородом воздуха или друг с другом);
трудно горючие (трудно сгораемые) - вещества и материалы, способные гореть в воздухе при воздействии источника зажигания, но не способные самостоятельно гореть после его удаления;
горючие (сгораемые) - вещества и материалы, способные самовозгораться, а также возгораться при воздействии источника зажигания и самостоятельно гореть после его удаления. Горючие жидкости с температурой вспышки не более 61°С в закрытом тигле или 66°С в открытом тигле, зафлегматизированных смесей, не имеющих вспышку в закрытом тигле, относят к легковоспламеняющимся. Особо опасными называют легковоспламеняющиеся жидкости с температурой вспышки не более 28 °С.
2.1.3. Результаты оценки группы горючести следует применять при классификации веществ и материалов по горючести и включать эти данные в стандарты и технические условия на вещества и материалы; при определении категории помещений по взрывопожарной и пожарной опасности в соответствии с требованиями норм технологического проектирования; при разработке мероприятий по обеспечению пожарной безопасности в соответствии с требованиями ГОСТ 12.1.004.
2.1.4. Сущность экспериментального метода определения горючести заключается в создании температурных условий, способствующих горению, и оценке поведения исследуемых веществ и материалов в этих условиях.
2.2. Температура вспышки
2.2.1. Температура вспышки - наименьшая температура конденсированного вещества, при которой в условиях специальных испытаний над его поверхностью образуются пары, способные вспыхивать в воздухе от источника зажигания; устойчивое горение при этом не возникает.
Вспышка - быстрое сгорание газопаровоздушной смеси над поверхностью горючего вещества, сопровождающееся кратковременным видимым свечением.
2.2.2. Значение температуры вспышки следует применять для характеристики пожарной опасности жидкости, включая эти данные в стандарты и технические условия на вещества; при определении категории помещений по взрывопожарной и пожарной опасности в соответствии с требованиями норм технологического проектирования, при разработке мероприятий по обеспечению пожарной безопасности и взрывобезопасности в соответствии с требованиями ГОСТ 12.1.004 и ГОСТ 12.1.010.
Допускается использовать экспериментальные и расчетные значения температуры вспышки.
2.2.3. Сущность экспериментального метода определения температуры вспышки заключается в нагревании определенной массы вещества с заданной скоростью, периодическом зажигании выделяющихся паров и установлении факта наличия или отсутствия вспышки при фиксируемой температуре.
2.3. Температура воспламенения
2.3.1. Температура воспламенения - наименьшая температура вещества, при которой в условиях специальных испытаний вещество выделяет горючие пары и газы с такой скоростью, что при воздействии на них источника зажигания наблюдается воспламенение.
Воспламенение - пламенное горение вещества, инициированное источником зажигания и продолжающееся после его удаления.
2.3.2. Значение температуры воспламенения следует применять при определении группы горючести вещества, оценке пожарной опасности оборудования и технологических процессов, связанных с переработкой горючих веществ, при разработке мероприятий по обеспечению пожарной безопасности в соответствии с требованиями ГОСТ 12.1.004 и ГОСТ 12.1.010, а также необходимо включать в стандарты и технические условия на жидкости.
Допускается использовать экспериментальные и расчетные значения температуры воспламенения.
2.3.3. Сущность экспериментального метода определения температуры воспламенения заключается в нагревании определенной массы вещества с заданной скоростью, периодическом зажигании выделяющихся паров и установлении факта наличия или отсутствия воспламенения при фиксируемой температуре.
2.4. Температура самовоспламенения
2.4.1. Температура самовоспламенения - наименьшая температура окружающей среды, при которой в условиях специальных испытаний наблюдается самовоспламенение вещества.
Самовоспламенение - резкое увеличение скорости экзотермических объемных реакций, сопровождающееся пламенным горением и/или взрывом.
2.4.2. Значение температуры самовоспламенения следует применять при определении группы взрывоопасной смеси по ГОСТ 12.1.011 для выбора типа взрывозащищенного электрооборудования, при разработке мероприятий по обеспечению пожаровзрывобезопасности технологических процессов в соответствии с требованиями ГОСТ 12.1.004 и ГОСТ 12.1.010, а также необходимо включать в стандарты или технические условия на вещества и материалы.
2.4.3. Сущность метода определения температуры самовоспламенения заключается во введении определенной массы вещества в нагретый объем и оценке результатов испытания. Изменяя температуру испытания, находят ее минимальное значение, при котором происходит самовоспламенение вещества.
2.5. Концентрационные пределы распространения пламени (воспламенения)
2.5.1. Нижний (верхний) концентрационный предел распространения пламени - минимальное (максимальное) содержание горючего вещества в однородной смеси с окислительной средой, при котором возможно распространение пламени по смеси на любое расстояние от источника зажигания.
2.5.2. Значения концентрационных пределов распространения пламени необходимо включать в стандарты или технические условия на газы, легковоспламеняющиеся индивидуальные жидкости и азеотропные смеси жидкостей, на твердые вещества, способные образовывать взрывоопасные пылевоздушные смеси (для пылей определяют только нижний концентрационный предел). Значения концентрационных пределов следует применять при определении категории помещений по взрывопожарной и пожарной опасности в соответствии с требованиями норм технологического проектирования; при расчете взрывобезопасных концентраций газов, паров и пылей внутри технологического оборудования и трубопроводов, при проектировании вентиляционных систем, а также при расчете предельно допустимых взрывобезопасных концентраций газов, паров и пылей в воздухе рабочей зоны с потенциальными источниками зажигания в соответствии с требованиями ГОСТ 12.1.010, при разработке мероприятий по обеспечению пожарной безопасности объекта в соответствии с требованиями ГОСТ 12.1.004.
Допускается использовать экспериментальные и расчетные значения концентрационных пределов распространения пламени.
2.5.3. Сущность метода определения концентрационных пределов распространения пламени заключается в зажигании газо -, паро - или пылевоздушной смеси заданной концентрации исследуемого вещества в объеме реакционного сосуда и установлении факта наличия или отсутствия распространения пламени. Изменяя концентрацию горючего в смеси, устанавливают ее минимальное и максимальное значения, при которых происходит распространение пламени.
2.6. Температурные пределы распространения пламени (воспламенения)
2.6.1. Температурные пределы распространения пламени - такие температуры вещества, при которых его насыщенный пар образует в окислительной среде концентрации, равные соответственно нижнему (нижний температурный предел) и верхнему (верхний температурный предел) концентрационным пределам распространения пламени.
2.6.2. Значения температурных пределов распространения пламени следует применять при разработке мероприятий по обеспечению пожаровзрывобезопасности объекта в соответствии с требованиями ГОСТ 12.1.004 и ГОСТ 12.1.010; при расчете пожаровзрывобезопасных температурных режимов работы технологического оборудования; при оценке аварийных ситуаций, связанных с разливом горючих жидкостей, для расчета концентрационных пределов распространения пламени, а также необходимо включать в стандарты или технические условия на горючие жидкости.
2.6.3. Сущность метода определения температурных пределов распространения пламени заключается в термостатировании исследуемой жидкости при заданной температуре в закрытом реакционном сосуде, содержащем воздух, испытании на зажигание паровоздушной смеси и установлении факта наличия или отсутствия распространения пламени. Изменяя температуру испытания, находят такие ее значения (минимальное и максимальное), при которых насыщенный пар образует с воздухом, смесь, способную воспламеняться от источника зажигания и распространять пламя в объеме реакционного сосуда.
2.7. Температура тления
2.7.1. Температура тления - температура вещества, при которой происходит резкое увеличение скорости экзотермических реакций окисления, заканчивающихся возникновением тления.
Тление - беспламенное горение твердого вещества (материала) при сравнительно низких температурах (400-600 °С), часто сопровождающееся выделением дыма.
2.7.2. Значение температуры тления следует применять при экспертизах причин пожаров, выборе взрывозащищенного электрооборудования и разработке мероприятий по обеспечению пожарной безопасности технологических процессов, оценке пожарной опасности полимерных материалов и разработке рецептур материалов, не склонных к тлению.
2.7.3. Сущность метода определения температуры тления заключается в термостатировании исследуемого вещества (материала) в реакционном сосуде при обдуве воздухом и визуальной оценке результатов испытания. Изменяя температуру испытания, находят ее минимальное значение, при котором наблюдается тление вещества (материала).
2.8. Условия теплового самовозгорания
2.8.1. Условия теплового самовозгорания - экспериментально выявленная зависимость между температурой окружающей среды, количеством вещества (материала) и временем до момента его .самовозгорания, Самовозгорание - резкое увеличение скорости экзотермических процессов в веществе, приводящее к возникновению очага горения.
2.8.2. Результаты оценки условий теплового самовозгорания следует применять при выборе безопасных условий хранения и переработки самовозгорающихся веществ в соответствии с требованиями ГОСТ 12.1.004.
2.8.3 Сущность метода определения условий теплового самовозгорания заключается в термостатировании исследуемого вещества (материала) при заданной температуре в закрытом реакционном сосуде и установлении зависимости между температурой, при которой происходит тепловое самовозгорание образца, его размерами и временем до возникновения горения (тления).
2.9. Минимальная энергия зажигания
2.9.1. Минимальная энергия зажигания - наименьшая энергия электрического разряда, способная воспламенить наиболее легко воспламеняющуюся смесь горючего вещества с воздухом.
2.9.2 Значение минимальной энергии зажигания следует применять при разработке мероприятий по обеспечению пожаровзрывобезопасных условий переработки горючих веществ и обеспечения электростатической искробезопасности технологических процессов в соответствии с требованиями ГОСТ 12.1.004, ГОСТ 12.1.010 и ГОСТ 12.1.018.
2.9.3. Сущность метода определения минимальной энергии зажигания заключается в зажигании с заданной вероятностью газо-, паро- и пылевоздушной смеси различной концентрации электрическим разрядом различной энергии и выявлении минимального значения энергии зажигания после обработки экспериментальных данных.
2.10. Кислородный индекс
2.10.1. Кислородный индекс - минимальное содержание кислорода в кислородно-азотной смеси, при котором возможно свечеобразное горение материала в условиях специальных испытаний.
2.10.2. Значение кислородного индекса следует применять при разработке, полимерных композиций пониженной горючести и контроле горючести полимерных материалов, тканей, целлюлозно-бумажных изделий и других материалов. Кислородный индекс необходимо включать в стандарты или технические условия на твердые вещества (материалы).
2.10.3. Сущность метода определения кислородного индекса заключается в нахождении минимальной концентрации кислорода в потоке кислородно-азотной смеси, при которой наблюдается самостоятельное горение вертикально расположенного образца, зажигаемого сверху.
2.11. Способность взрываться и гореть при взаимодействии с водой, кислородом воздуха и другими веществами (взаимный контакт веществ)
2.11.1. Способность взрываться и гореть при взаимодействии с водой, кислородом воздуха и другими веществами - это качественный показатель, характеризующий особую пожарную опасность некоторых веществ.
2.11.2. Данные о способности веществ взрываться и гореть при взаимном контакте необходимо включать в стандарты или технические условия на вещества, а также следует применять при определении категории помещений по взрывопожарной и пожарной опасности в соответствии с требованиями норм технологического проектирования; при выборе безопасных условий проведения технологических процессов и условий совместного хранения и транспортирования веществ и материалов; при выборе или назначении средств пожаротушения.
2.11.3. Сущность метода определения способности взрываться и гореть при взаимном контакте веществ заключается в механическом смешивании исследуемых веществ в заданной пропорции и оценке результатов испытания.
2.12. Нормальная скорость распространения пламени
2.12.1. Нормальная скорость распространения пламени - скорость перемещения фронта пламени относительно несгоревшего газа в направлении, перпендикулярном к его поверхности.
2.12.2. Значение нормальной скорости распространения пламени следует применять в расчетах скорости нарастания давления взрыва газо- и паровоздушных смесей в закрытом, негерметичном оборудовании и помещениях, критического (гасящего) диаметра при разработке и создании огнепреградителей, площади легко сбрасываемых конструкций, предохранительных мембран и других разгерметизирующих устройств; при разработке мероприятий по обеспечению пожаровзрывобезопасности технологических процессов в соответствии с требованиями ГОСТ 12.1.004 и ГОСТ 12.1.010.
2.12.3 Сущность метода определения нормальной скорости .распространения пламени заключается в приготовлении горючей смеси известного состава внутри реакционного сосуда, зажигании смеси в центре точечным источником, регистрации изменения во времени давления в сосуде и обработке экспериментальной зависимости “давление-время” с использованием математической модели процесса горения газа в замкнутом сосуде и процедуры оптимизации. Математическая модель позволяет получить расчетную зависимость “давление-время”, оптимизация которой по аналогичной экспериментальной зависимости дает в результате изменение нормальной скорости в процессе развития взрыва для конкретного испытания.
2.13. Скорость выгорания
2.13.1. Скорость выгорания - количество жидкости, сгорающей в единицу времени с единицы площади. Скорость выгорания характеризует интенсивность горения жидкости.
2.13.2. Значение скорости выгорания следует применять при расчетных определениях продолжительности горения жидкости в резервуарах, интенсивности тепловыделения и температурного режима пожара, интенсивности подачи огнетушащих веществ.
2.13.3. Сущность метода определения скорости выгорания заключается в зажигании образца жидкости в реакционном сосуде, фиксировании потери массы образца за определенный промежуток времени и математической обработке экспериментальных данных.
2.14. Коэффициент дымообразования
2.14.1. Коэффициент дымообразования - показатель, характеризующий оптическую плотность дыма, образующегося при пламенном горении или термоокислительной деструкции (тлении) определенного количества твердого вещества (материала) в условиях специальных испытаний.
2.14.2. Значение коэффициента дымообразования следует применять для классификации материалов по дымообразующей способности. Различают три группы материалов:
с малой дымообразующей способностью - коэффициент дымообразования до 50 м2·кг-1 включ.;
с умеренной дымообразующей способностью - коэффициент дымообразования св. 50 до 500 м2·кг-1 включ.;
с высокой дымообразующей способностью - коэффициент дымообразования св. 500 м2·кг-1.
Значение коэффициента дымообразования необходимо включать в стандарты или технические условия на твердые вещества и материалы.
2.14.3. Сущность метода определения коэффициента дымообразования заключается в определении оптической плотности дыма, образующегося при горении или тлении известного количества испытуемого вещества или материала, распределенного в заданном объеме.
2.15. Индекс распространения пламени
2.15.1. Индекс распространения пламени - условный безразмерный показатель, характеризующий способность веществ воспламеняться, распространять пламя по поверхности и выделять тепло.
2.15.2. Значение индекса распространения пламени следует применять для классификации материалов:
не распространяющие пламя по поверхности - индекс распространения пламени равен 0;
медленно распространяющие пламя по поверхности - индекс распространения пламени св. 0 до 20 включ.;
быстро распространяющие пламя по поверхности - индекс распространения пламени св. 20.
2.15.3. Сущность метода определения индекса распространения пламени заключается в оценке способности материала воспламеняться, выделять тепло и распространять пламя по поверхности при воздействии внешнего теплового потока.
2.16. Показатель токсичности продуктов горения полимерных материалов
2.16.1 Показатель токсичности продуктов горения - отношение количества материала к единице объема замкнутого пространства, в котором образующиеся при горении материала газообразные продукты вызывают гибель 50 % подопытных животных.
2.16.2. Значение показателя токсичности продуктов горения следует применять для сравнительной оценки полимерных материалов, а также включать в технические условия и стандарты на отделочные и теплоизоляционные материалы.
Классификация материалов по значению показателя токсичности продуктов горения приведена в табл. 2.
|
Класс опасности |
|
|||
|
5 |
15 |
30 |
60 |
|
|
Чрезвычайно опасные |
До 25 |
До 17 |
До 13 |
До 10 |
|
Высоко опасные |
25-70 |
17-50 |
13-40 |
10-30 |
|
Умеренно опасные |
70-210 |
50-150 |
40-120 |
30-90 |
|
Малоопасные |
Св. 210 |
Св. 150 |
Св. 120 |
Св. 90 |
2.16.3. Сущность метода определения показателя токсичности заключается в сжигании исследуемого материала в камере сгорания при заданной плотности теплового потока и выявлении зависимости летального эффекта газообразных продуктов горения от массы материала, отнесенной к единице объема экспозиционной камеры.
2.17. Минимальная флегматизирующая концентрация флегматизатора
2.17.1. Минимальная флегматизирующая концентрация флегматизатора - наименьшая концентрация флегматизатора в смеси с горючим и окислителем, при которой смесь становится неспособной к распространению пламени при любом соотношении горючего и окислителя.
2.17.2. Значение минимальной флегматизирующей концентрации флегматизатора следует применять при разработке мероприятий по обеспечению пожаровзрывобезопасности технологических процессов методом флегматизации в соответствии с требованиями ГОСТ 12.1.004 и ГОСТ 12.1.010.
2.17.3. Сущность метода определения минимальной флегматизирующей концентрации флегматизатора заключается в определении концентрационных пределов распространения пламени горючего вещества при разбавлении газо-, паро- и пылевоздушной смеси данным флегматизатором и получении “кривой флегматизации”. Пик “кривой флегматизации” соответствует значению минимальной флегматизирующей концентрации флегматизатора.
2.18. Минимальное взрывоопасное содержание кислорода
2.18.1. Минимальное взрывоопасное содержание кислорода - такая концентрация кислорода в горючей смеси, состоящей из горючего вещества, воздуха и флегматизатора, меньше которой распространение пламени в смеси становится невозможным при любой концентрации горючего в смеси, разбавленной данным флегматизатором.
2.18.2. Значение минимального взрывоопасного содержания кислорода следует применять при разработке мероприятий по обеспечению пожаровзрывобезопасности технологических процессов в соответствии с требованиями ГОСТ 12.1.004 и ГОСТ 12.1.010.
2.18.3. Сущность метода определения минимального взрывоопасного содержания кислорода заключается в испытании на воспламенение газо-, паро- или пылевоздушных смесей различного состава, разбавленных данным флегматизатором, до выявления минимальной концентрации кислорода и максимальной концентрации флегматизатора, при которых еще возможно распространение пламени по смеси.
2.19. Максимальное давление взрыва
2.19.1. Максимальное давление взрыва - наибольшее избыточное давление, возникающее при дефлаграционном сгорании газо-, паро- или пылевоздушной смеси в замкнутом сосуде при начальном давлении смеси 101,3 кПа.
2.19.2. Значение максимального давления взрыва следует применять при определении категории помещений по взрывопожарной и пожарной опасности в соответствии с требованиями норм технологического проектирования, при разработке мероприятий по обеспечению пожаровзрывобезопасности технологических процессов в соответствии с требованиями ГОСТ 12.1.004 и ГОСТ 12.1.010.
2.19.3. Сущность метода определения максимального давления взрыва заключается в зажигании газо-, паро- и пылевоздушной смеси заданного состава в объеме реакционного сосуда и регистрации избыточного развивающегося при воспламенении горючей смеси давления. Изменяя концентрацию горючего в смеси, выявляют максимальное значение давления взрыва.
2.20. Скорость нарастания давления взрыва
2.20.1. Скорость нарастания давления взрыва - производная давления взрыва по времени на восходящем участке зависимости давления взрыва горючей смеси в замкнутом сосуде от времени.
2.20.2. Значение скорости нарастания давления взрыва следует применять при разработке мероприятий по обеспечению пожаровзрывобезопасности технологических процессов в соответствии с требованиями ГОСТ 12.1.004 и ГОСТ 12.1.010.
2.20.3. Сущность метода определения скорости нарастания давления заключается в экспериментальном определении максимального давления взрыва горючей смеси в замкнутом сосуде, построении графика изменения давления взрыва во времени и расчете средней и максимальной скорости по известным формулам.
2.21. Концентрационный предел диффузионного горения газовых смесей в воздухе.
(Введен дополнительно. Изм. № 1)
2.21.1. Концентрационный предел диффузионного горения газовых смесей в воздухе (ПДГ) - предельная концентрация горючего газа в смеси с разбавителем, при которой данная газовая смесь при истечении в атмосферу не способна к диффузионному горению.
2.21.2. Концентрационный предел диффузионного горения газовых смесей в воздухе следует учитывать при разработке мероприятий по обеспечению пожаровзрывобезопасности технологических процессов в соответствии с требованиями ГОСТ 12.1.004 -91 и ГОСТ 12.1.010-76.
2.21.3. Сущность метода определения концентрационного предела диффузионного горения газовых смесей в воздухе заключается в определении предельной концентрации горючего газа в смеси с разбавителем, при которой данная газовая смесь не способна к диффузионному горению. При этом фиксируется предельная скорость подачи газовой смеси.
2.21.4. Метод определения концентрационного предела диффузионного горения газовых смесей в воздухе применим для смесей с температурой 20-300°С.
3.1. Для обеспечения пожаровзрывобезопасности процессов производства, переработки, хранения и транспортирования веществ и материалов необходимо данные о показателях пожаровзрывоопасности веществ и материалов использовать с коэффициентами безопасности, приведенными в табл. 3.
|
Способ предотвращения пожара, взрыва |
Регламентируемый параметр |
Условия пожаровзрывобезопасности |
|
Предотвращение образования горючей среды |
|
|
|
Ограничение воспламеняемости и горючести веществ и материалов |
Горючесть вещества (материала)
|
Горючесть вещества (материала) не должна быть более регламентированной |
|
Предотвращение образования в горючей среде (или внесения внее) источников зажигания |
|
|
|
|
|
-
кислородный индекс, % об.;
- допустимый
кислородный индекс при нормальной температуре, % об.;
-
воспроизводимость метода определения показателя пожарной опасности при
доверительной вероятности 95%;
-
безопасная температура, °С;
-
допустимая температура вспышки, °С;
-
температура вспышки в закрытом тигле, °С;
-
минимальная температура среды, при которой наблюдается самовозгорание образца,
°С;
-
температура тления, °С;
-
безопасная энергия зажигания, Дж;
-
минимальная энергия зажигания, Дж:
-
верхний концентрационный предел распространения пламени по смеси горючего
вещества с воздухом, % об. (г·м-3);
- безопасная концентрация горючего вещества, % об. (г·м-3);
- нижний
концентрационный предел распространения пламени по смеси горючего вещества с
воздухом, % об. (г·м-3);
-
минимальное взрывоопасное содержание кислорода в горючей смеси, % об.;
-
безопасная концентрация кислорода в горючей смеси, % об.;
-
минимальная флегматизирующая концентрация флегматизатора, % об.;
-
безопасная флегматизирующая концентрация флегматизатора, % об.
Метод экспериментального определения предпочтителен и является обязательным, если отсутствует апробированный расчетный метод, а также если точность или область применения расчетных методов не удовлетворительна.
4.1. Метод экспериментального определения группы негорючих материалов
Метод не применим для испытания слоистых материалов и материалов с покрытиями и облицовками.
4.1.1. Аппаратура
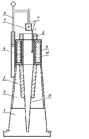
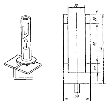
Схема прибора для определения группы негорючих материалов приведена на черт. 1.

1 - подставка; 2 - вытяжка; 3 - теплоизоляционный слой защитного экрана и стабилизатора; 4 - печь, 5 - держатель образца; 6 - устройство для опускания образца; 7 - термоэлектрические преобразователи; 8 - защитный экран; 9 - защитный кожух; 10 - теплоизоляционный материал; 11 - стабилизатор воздушного потока.
4.1.1.1. Печь трубчатого типа внутренним диаметром (75±1) мм, высотой (150±1) мм, толщиной стенки (10±1) мм, изготовленная из огнеупорного материала плотностью (2800±300) кг·м-3. Труба печи обматывается в один слой электрической спиралью из нихромовой проволоки сечением 1 мм с сопротивлением (19±1) Ом. Общая толщина стенки с учетом огнеупорного цемента, крепящего электрическую спираль, не должна превышать 15 мм. Трубу печи следует закрепить в центре защитного кожуха. Пространство между трубой и кожухом заполняют несгораемым теплоизоляционным материалом средней плотностью (140±20) кг·м-3.
4.1.1.2. Защитный экран внутренним диаметром (75±1) мм и высотой 50 мм с отполированной внутренней поверхностью, изготовленный из листовой стали толщиной 1 мм. Снаружи экран теплоизолируют слоем минерального волокна с теплопроводностью (0,04±0,01) Вт·м-1·К-1 при средней температуре 20 °С. Толщина теплоизолирующего слоя - не менее 25 мм.
4.1.1.3. Стабилизатор воздушного потока конической формы, плотно, воздухонепроницаемо присоединенный к основанию печи. Длина стабилизатора 500 мм., внутренний верхний диаметр (75±1) мм и нижний (10,0±0,5) мм. Стабилизатор изготавливают из листовой стали толщиной 1 мм с отполированной внутренней поверхностью. Верхнюю часть стабилизатора длиной не менее 250 мм теплоизолируют с внешней стороны слоем минерального волокна с теплопроводностью (0,04±0,01) Вт·м-1·К-1 при средней температуре 20 °С.·
4.1.1.4. Собранные вместе печь, защитный экран и стабилизатор устанавливают на подставку, имеющую основание и вытяжку, служащую для уменьшения тяги у основания конуса стабилизатора. Высота вытяжки - 550 мм. Расстояние между нижним концом стабилизатора и основанием подставки должно составлять не менее 250 мм.
4.1.1.5. Держатель образца, изготовленный из жаростойкой стальной проволоки диаметром 1,5 мм, должен иметь цилиндрическую форму. Основанием держателя являются сетка из тонкой стальной жаростойкой проволоки. Высота держателя (50±2) мм, диаметр 47 мм. Держатель образца массой (15±2) г подвешен на трубке из нержавеющей стали с внешним диаметром 6 мм и внутренним - 4 мм.
4.1.1.6 Устройство для опускания образца, состоящее из металлического стержня, скользящего по вертикальной направляющей, позволяет легко опускать образец внутрь печи без касания ее стенки таким образом, чтобы образец точно и надежно располагался в герметическом центре печи.
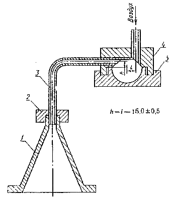
4.1.1.7. Термоэлектрические преобразователи с оболочкой из нержавеющей стали внешним диаметром 1,5 мм, максимальным диаметром изолированного рабочего спая не более 0,5 мм, служащие для измерения температуры в печи, на поверхности и внутри образца исследуемого материала. Рабочие спаи трех термоэлектрических преобразователей устанавливают с помощью шаблона на одном горизонтальном уровне, соответствующем средней линии печи (черт. 2). Термоэлектрический преобразователь Т1, измеряющий температуру в печи, должен быть установлен таким образом, чтобы рабочий спай находился на расстоянии (10,0±0,5) мм от стенки печи. Регулировку его положения осуществляют с помощью направляющей, прикрепленной к защитному экрану. Термоэлектрический преобразователь Т2, измеряющий температуру на поверхности образца, должен быть установлен таким образом, чтобы рабочий спай имел контакт с образцом с момента начала испытания и располагался диаметрально противоположно положению термоэлектрического преобразователя, измеряющего температуру в печи. Термоэлектрический преобразователь Т3, измеряющий температуру внутри образца, должен быть установлен таким образом, чтобы рабочий спай находился в геометрическом центре образца (для чего в образце делают отверстие диаметром 2 мм).

Черт. 2.
Все новые термоэлектрические преобразователи перед использованием должны подвергаться искусственному старению для снижения отражающей способности.
4.1.1.8. Трехканальный самопишущий прибор, регистрирующий выходные сигналы термоэлектрических преобразователей с погрешностью градуировки не более 1 °С и обеспечивающий непрерывную запись поступающих данных с интервалом не более 0,5 с. Класс точности прибора - не ниже 0,5.
4.1.1.9. Секундомер с погрешностью измерения не более 1 с.
4.1.1.10. Для наблюдения за образцом в печи и безопасной работы оператора устанавливают над печью смотровое зеркало с горизонтальным углом отклонения 30°.
4.1.1.11. Регулятор напряжения с выходной мощностью не менее 1,5 кВ·А, погрешность работы которого должна составлять не более 1 % от номинальной величины.
4.1.2. Подготовка к испытаниям
4.1.2.1. Размещение прибора для испытаний должно предусматривать отсутствие воздействия тяги воздуха извне, прямого солнечного света или искусственного освещения, затрудняющих проведение испытания и наблюдение за пламенем внутри печи.
4.1.2.2. Перед проведением испытаний стабилизируют работу печи, предварительно вынув из нее держатель образца с устройством для его опускания. Устанавливают термоэлектрический преобразователь для измерения температуры в печи в соответствии с 4.1.1.7. Регулируя величину подаваемого напряжения, нагревают постепенно печь в течение 2 ч до температуры (750±5) °С. Установившаяся температура в печи не должна изменяться более чем на 2 °С в течение 10 мин.
4.1.2.3. В случаях проведения испытаний в новой печи, при замене или ремонте отдельных узлов прибора, необходимо провести градуировку печи путем измерения температуры стенки печи по трем вертикальным осям в точках, соответствующих середине высоты стенки печи и на уровне 30 мм выше и ниже средней точки с помощью сканирующего устройства с термоэлектрическим преобразователем (черт. 3). Особое внимание следует уделять обеспечению контакта между термоэлектрическим преобразователем и стенкой печи. Положение термоэлектрического преобразователя
нельзя изменять в течение 5 мин до момента регистрации температуры.

Среднее арифметическое значение всех 9 зарегистрированных температур должно составлять (835±10) °С, и такая температура должна поддерживаться перед началом испытаний. Подобранный таким образом режим подачи напряжения на нагревательный элемент поддерживают и в дальнейшем.
4.1.2.4. Для испытаний готовят 5 образцов исследуемого
материала диаметром (45
) мм, высотой (50±3) мм. Если толщина исследуемого материала
составляет менее 50 мм, то образец набирают из нескольких слоев, чтобы
обеспечить необходимую высоту. Слои в образце располагают только горизонтально
и плотно соединяют между собой стальной проволокой диаметром не более 0,5 мм.
Слои в образце располагают таким образом, чтобы рабочий спай
термоэлектрического преобразователя, установленного в середине образца,
находился внутри слоя материала, а не на границе раздела слоев.
Образцы должны характеризовать средние свойства исследуемого материала.
4.1.2.5. В верхней части образца делают осевое отверстие диаметром 2 мм для размещения термоэлектрического преобразователя. Перед испытанием образцы выдерживают в сушильном шкафу при температуре (60 ± 6) °С в течение 20-24 ч с последующим охлаждением их до температуры окружающей среды. Допускается кондиционирование образцов в соответствии с требованиями НТД на материал.
4.1.2.6. После кондиционирования определяют массу каждого образца с погрешностью не более ±0,1 г.
4.1.3. Проведение испытаний
4.1.3.1. Стабилизируют работу печи согласно 4.1.2.2.
4.1.3.2. Подготовленный к испытанию образец помещают в держатель, крепят к нему термоэлектрические преобразователи согласно 4.1.1.7, после чего держатель с образцом без каких-либо толчков опускают в печь за время не более 5 с. Включают секундомер сразу же после введения испытуемого образца в печь.
4.1.3.3. В течение всего испытания показания термоэлектрических преобразователей, измеряющих температуру печи и образца, должны регистрироваться самопишущим прибором.
4.1.3.4. Время испытания, как правило, составляет 30 мин. За это время достигается конечное температурное равновесие, регистрируемое термоэлектрическими преобразователями в печи, внутри образца и на его поверхности, различие между показаниями которых не должно превышать 2 °С в течение последних 10 мин. В случае, если температурное равновесие не достигнуто за 30 мин, то необходимо продолжить испытание до момента достижения конечного температурного равновесия, проверяя показания термоэлектрических преобразователей с интервалом 5 мин. При достижении температурного равновесия испытание прекращают по окончании последнего 5-минутного интервала; фиксируют продолжительность испытания.
4.1.3.5. Образец извлекают из печи и после его охлаждения до температуры окружающей среды взвешивают (с учетом отходов, которые отделились от образца и упали вниз в процессе испытания или после его окончания).
4.1.3.6. Испытанию подлежат все 5 подготовленных образцов. В протоколе отражают все наблюдения, касающиеся поведения каждого образца в процессе испытаний; отмечают все случаи воспламенения для каждого образца и фиксируют их продолжительность.
Воспламенение считают устойчивым при наличии пламени в печи, возникшем при горении образца и продолжающемся 10 с и более.
4.1.4. Оценка результатов
4.1.4.1. Вычисляют разницу (
) между максимальной и конечной температурами по показаниям
термоэлектрических преобразователей в печи, на поверхности и внутри каждого
образца.
4.1.4.2. По полученным значениям
каждого образца
вычисляют среднее арифметическое (
средн.)
изменения температуры в печи, на поверхности и внутри образца по результатам
испытаний 5 образцов.
4.1.4.3. На основе данных по определению потери массы каждого образца (в процентном отношении к первоначальной массе образца) вычисляют среднее арифметическое значение потери массы 5 образцов.
4.1.4.4 На основе данных по определению продолжительности горения каждого образца вычисляют среднюю арифметическую продолжительность горения по результатам испытания 5 образцов.
4.1.4.5. Материал относят к группе негорючих, если соблюдены следующие условия:
среднее арифметическое изменение температуры в печи, на поверхности и внутри образца не превышает 50 °С;
среднее арифметическое значение потери массы для 5 образцов не превышает 50 % от их среднего значения первоначальной массы после кондиционирования;
среднее арифметическое значение продолжительности устойчивого горения 5 образцов не превышает 10 с. Результаты испытаний 5 образцов, в которых продолжительность устойчивого горения составляет менее 10 с, принимают равными нулю.
4.1.4.6. Условия и результаты испытаний регистрируют в протоколе, форма которого приведена в приложении 1.
4.1.5. Требования безопасности
Прибор для определения группы негорючих материалов следует устанавливать в вытяжном шкафу. Рабочее место оператора должно удовлетворять, требованиям электробезопасности по ГОСТ 12.1.019 и санитарно-гигиеническим требованиям по ГОСТ 12.1.005.
4.2. Косвенное определение группы горючести газов и жидкостей по другим экспериментально определенным показателям пожаровзрывоопасности
4.2.1. Газы
При наличии концентрационных пределов распространения пламени газ относят к горючим; при отсутствии концентрационных пределов распространения пламени и наличии температуры самовоспламенения газ относят к трудногорючим; при отсутствии концентрационных пределов распространения пламени и температуры самовоспламенения газ относят к негорючим.
4.2.2. Жидкости
При наличии температуры воспламенения жидкость относят к горючим; при отсутствии температуры воспламенения и наличии температуры самовоспламенения жидкость относят к трудногорючим. При отсутствии температур вспышки, воспламенения, самовоспламенения, температурных и концентрационных пределов распространения пламени жидкость относят к группе негорючих.
4.3. Метод экспериментального определения группы трудногорючих и горючих твердых веществ и материалов
Метод применяют для оценки горючести неметаллических материалов, содержащих в своем составе более 3% масс. органических веществ. Метод не применим для испытания материалов, имеющих одностороннее огнезащитное или негорючее покрытие. Для строительных материалов заключение о группе горючести делают по результатам испытаний по СТ СЭВ 2437.
4.3.1. Аппаратура
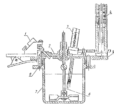
4.3.1.1. Прибор ОТМ (черт. 4) состоит из керамической реакционной камеры прямоугольной формы высотой (295±2) мм и имеющей в сечении квадрат со стороной (88±2) мм, установленной на металлическую подставку; газовой горелки внутренним диаметром (7,0±0,1) мм; механизма ввода образца с держателем, фиксирующим положение образца в центре реакционной камеры: зонта с рукояткой, установленного соосно на верхнюю кромку реакционной камеры, и смотрового зеркала для наблюдения за образцом в реакционной камере.

1 - горелка; 2 - реакционная камера; 3 - механизм ввода образца; 4 - образец; 5, 6 - держатели образца,
7 - зеркало; 8 - термоэлектрический преобразователь; 9 - зонт.
4.3.1.2. Для измерения температуры газообразных продуктов горения используют термоэлектрический преобразователь диаметром электродов 0,5 мм, рабочий спай которого располагают в центре зонта на расстоянии 15 мм от его верхней кромки.
4.3.1.3. Регистрирующий температуру прибор с диапазоном измерения от 0 до 800 °С, класс точности не ниже 0,5.
4.3.1.4. Секундомер с погрешностью измерения не более 1 с.
4.3.1.5. Becы лабораторные с наибольшим пределом взвешивания 500 г, погрешностью измерения не более 0,1 г.
4.3.2. Подготовка к испытаниям
4.3.2.1. Для испытания готовят 3 образца материала длиной (60±1) мм, высотой (150±3) мм и фактической толщиной, но не более 30 мм. Для сыпучих веществ готовят 3 корзиночки прямоугольной формы длиной (60±1) мм, шириной (10±1) мм, высотой (150±3) мм, в которые помещают (90±1) см3 вещества. Корзиночки должны быть выполнены из сетки с размерами ячеек не более 1,0 мм; материал сетки - проволока из жаростойкой стали диаметром 0,55 мм. Материалы, способные при нагревании плавиться, помещают в мешочки прямоугольной формы длиной (65±1) мм, шириной (10±1) мм, высотой (160±1) мм. Мешочки делают из стеклоткани толщиной 0,10-0,15 мм, швы сшивают негорючими нитками или металлическими скрепками.
4.3.2.2. Подготовленные образцы выдерживают в вентилируемом сушильном шкафу при температуре (60±5) °С не менее 20 ч, затем охлаждают до температуры окружающей среды, не вынимая их из шкафа. Допускается кондиционирование образцов в соответствии с требованиями технических условий на материал.
4.3.2.3. После кондиционирования образцы взвешивают с погрешностью не более ±0,1 г. Сыпучие вещества взвешивают вместе с корзиночками, а плавящиеся - с мешочками. Образцы одного материала (вещества) не должны отличаться по массе более чем на 2 %.
4.3.2.4. Внутреннюю поверхность реакционной камеры перед испытанием покрывают двумя слоями алюминиевой фольги толщиной не более 0,2 мм, которую по мере прогорания или загрязнения продуктами горения заменяют на новую.
4.3.2.5. Пригодность установки к работе проверяют по стандартному образцу - древесине глубокой пропитки, потеря массы которого после испытания должна составлять (20,6± 1,4) %. Стандартные образцы изготавливают согласно ГОСТ 16363 (п. 2).
4.3.3. Проведение испытаний
4.3.3.1. Образец исследуемого материала закрепляют в держателе и при помощи шаблона проверяют положение образца относительно его вертикальной оси.
4.3.3.2. Включают прибор для регистрации температуры, зажигают газовую горелку и регулируют расход газа так, чтобы контролируемая в течение 3 мин температура газообразных продуктов горения составляла (200 ± 5) °С.
Если при испытании максимальная температура не превышает 260 °С, то продолжительность испытания составляет (300±2) с. После чего горелку выключают. Образец выдерживают в камере до полного остывания (комнатной температуры). Остывший образец извлекают из камеры и взвешивают.
Если при испытании максимальная температура превысила 260 °С, то продолжительность испытания определяется временем достижения максимальной температуры. Горелку выключают, образец извлекают из камеры и после остывания взвешивают.
4.3.3.4. После получения данных по 4.3.3.3. проводят два аналогичных испытания с новыми образцами.
4.3.3.5. После каждого испытания необходимо очистить, от сажи рабочий спай термоэлектрического преобразователя.
4.3.4. Оценка результатов
4.3.4.1 Максимальное приращение температуры (
) вычисляют по формуле
=
-
, (1)
где tmax - максимальная температура газообразных продуктов горения исследуемого материала, °С ;
t0 - начальная температура испытания, равная 200 °С.
4.3.4.2. Потерю массы образца (
) в процентах вычисляют по формуле
=![]()
, (2)
где mн - масса образца до испытания, г;
mк - масса образца после испытания, г.
4.3.4.3. По значению максимального приращения температуры
max и потере массы
материалы
классифицируют:
трудногорючие -
max < 60 °С и
< 60 %;
горючие -
max
60 °С или ![]()
60%.
Горючие материалы подразделяют в зависимости от времени (
) достижения tmax на:
трудновоспламеняемые - τ > 4 мин;
средней воспламеняемости - 0,5 ≤ τ ≤ 4 мин;
легковоспламеняемые - τ < 0,5 мин.
При классификации материалов, пропитанных негорючими
составами или с нанесенными на них огнезащитными покрытиями. используют только
показатель
max.
4.3.4.4. Если по результатам испытаний трех образцов в одном из них будет превышено любое из классификационных значений в устанавливаемой группе горючести, то проводят дополнительные испытания на трех образцах. Если в дополнительных испытаниях будет превышено одно из классификационных значений, то материал относят к ближайшей (более опасной) по горючести группе.
4.3.4.5. Условия и результаты испытаний регистрируют в протоколе, форма которого приведена в приложении 1.
4.3.5. Требования безопасности
Прибор ОТМ устанавливают в вытяжном шкафу, в свободном проеме которого скорость движения воздуха не более 1,5 м·с-1. Рабочее место оператора должно удовлетворять санитарно-гигиеническим требованиям по ГОСТ 12.1.005.
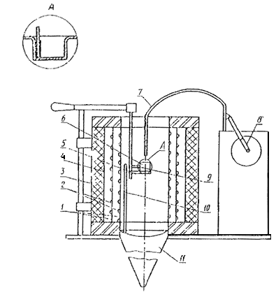
4.4. Метод экспериментального определения температуры вспышки жидкостей в закрытом тигле
Метод реализуется в диапазоне температур от минус 15 до 360 °С и не применим для испытания полимеризующихся при нагревании, гидролизующихся и быстро окисляющихся жидкостей.
4.4.1. Аппаратура
Прибор для определения температуры вспышки в закрытом тигле должен включать в себя следующие элементы.
4.4.1.1. Тигель (черт. 5) высотой (55,9±0,1) мм, внутренним диаметром 50,8 мм, выполненный из коррозионно-стойкого металла, имеет указатель уровня заполнения на глубине 21,8 мм от верхнего края тигля. Тигель снабжен хорошо пригнанной крышкой с мешалкой, открывающейся заслонкой и зажигающей горелкой. Источником пламени в горелке может быть любой горючий газ (допускается использование других источников пламени, удовлетворяющих требованиям 4.4.2.4.).
4.4.1.2 Воздушная баня для нагревания тигля с исследуемой жидкостью.
Примечание - Нагревание тигля с вязкой жидкостью типа лаков, красок, эмалей, нефтяных и аналогичных продуктов (далее - лаков) можно проводить в жидкостной бане достаточной теплоемкости, позволяющей регулировать скорость нагрева в заданном режиме. Допускается использовать автоматические аппараты для определения температуры вспышки, которые позволяют экономить время эксперимента, использовать меньшие количества проб и обладают другими характеристиками, оправдывающими их .применение. При использовании aавтоматических аппаратов необходимо строго соблюдать все инструкции изготовителя.
В спорных случаях температуру вспышки следует определять вручную.
4.4.1.3. Термометры типов ТН 1-1, ТН 1-2, TH - 6 по ГОСТ 400 с делением шкалы не более 1 °С или другие измерители температуры с погрешностью не более указанной.
4.4.1.4. Секундомер с погрешностью не более 1с для контроля скорости нагревания жидкости.
4.4.2. Подготовка к испытаниям
4.4.2.1. Устанавливают соответствие исследуемой жидкости паспортным данным.
4.4.2.2. Образец жидкости, имеющей температуру вспышки ниже 50 °С, охлаждают до температуры, которая не менее чем на 17 °С ниже предполагаемой температуры вспышки. Образцы вязких жидкостей перед испытанием нагревают до достаточной текучести.

1 - зажигающая горелка; 2 - заслонка; 3 - термометр; 4 - пружинный механизм; 5 - крышка; 6 - мешалка; 7 - тигель; 8 - штифт-фиксатор крышки.
Примечание - Температуру жидкостной бани при определении температуры вспышки лаков устанавливают примерно на 5 °С ниже предполагаемой температуры вспышки.
4.4.2.5. Пригодность аппарата к работе проверяют по стандартным образцам ГСО 4088-87-4092-87, значение температуры вспышки которых приведены в табл. 4.
|
Индекс и номер стандартного образца |
Температура вспышки, °С |
Абсолютная погрешность, °С |
|
ТЗТ-1-1 |
16 |
1 |
|
ТЗТ-2-1 |
35 |
1 |
|
ТЗТ-3-1 |
53 |
1 |
|
ТЗТ-4-1 |
70 |
1 |
|
ТЗТ-5-1 |
119 |
2 |
4.4.3. Проведение испытаний
4.4.3.1. Включают перемешивающее устройство, обеспечивая частоту вращения от 1,5 до 2,0 с-1. При испытании лаков ограничений на частоту вращения мешалки не вводят.
4.4.3.2. Включают обогрев прибора и нагревают исследуемую жидкость со скоростью 5-6 °С/мин. При испытании лаков скорость нагревания должна составлять не более 1 °С за 3 мин. При использовании жидкостной бани нагревание ведут с такой скоростью, чтобы разница между температурами жидкости в бане и исследуемого образца в закрытом тигле не превышала 2 °С.
4.4.3.3. Испытание на вспышку начинают проводить при достижении температуры образца на 17°С ниже предполагаемой температуры вспышки и повторяют через каждый 1 °С повышения температуры для жидкостей с температурой вспышки до 104 °С и через каждые 2 °С - для жидкостей с температурой вспышки более 104 °С.
Испытание на вспышку для лаков начинают проводить за 5 °С до предполагаемой температуры вспышки и повторяют через каждые 0,5 °С повышения температуры.
4.4.3.4. В момент испытания на вспышку перемешивание прекращают. Поворотом пружинного механизма открывают заслонку на крышке и опускают пламя горелки внутрь тигля за время 0,5с, оставляют горелку в нижнем положении 1с и быстро возвращают в исходное положение. Следят за пламенем при открывании и закрывании заслонки.
4.4.3.5. За температуру вспышки принимают показания термометра в момент появления первого пламени над поверхностью жидкости. Вспышку паров исследуемой жидкости над поверхностью крышки тигля не учитывают. Испытание на вспышку (в случае ее отсутствия) прекращают при достижении температуры кипения исследуемой жидкости.
4.4.3.7. Если испытанию подвергают жидкость с неизвестной температурой вспышки, то проводят предварительное определение по 4.4.2.3 - 4.4.3.6. Этот результат не учитывают, если расхождение между предварительным и последующим испытанием превышает величину, указанную в 4.4.4.2.
Примечание - Для лаков, содержащих летучие компоненты, общее время испытания не должно превышать 1 ч.
4.4.4. Оценка результатов
4.4.4.1. За температуру вспышки исследуемой жидкости принимают среднее арифметическое значение температур вспышки, полученных на двух образцах при испытании лаков и на 3 образцах при испытании других жидкостей, с поправкой на атмосферное давление. Поправку (∆t) на атмосферное давление в °С вычисляют по формуле
∆t = 0,27(101,3 – рэ); (3)
где рэ - атмосферное давление, кПа.
4.4.4.2. Сходимость и воспроизводимость метода не должна превышать значений, указанных в табл. 5.
|
Вещество |
Температура |
Допускаемые расхождения |
|
|
вспышки, °С |
сходимость |
воспроизводимость |
|
|
Химические органические вещества и нефтепродукты |
До 104 Св. 104 |
2,0 5,5 |
3,5 8,0 |
|
Лаки, краски, эмали и аналогичные продукты |
- |
2,0 |
3,0 |
4.4.4.3. Условия и результаты испытаний регистрируют в протоколе, форма которого приведена в приложении 1.
4.4.5. Требования безопасности
Прибор для определения температуры вспышки следует устанавливать в вытяжном шкафу. Рабочее место оператора должно удовлетворять требованиям электробезопасности по ГОСТ 12.1.019. и санитарно-гигиеническим требованиям по ГОСТ 12.1.005.
4.5. Метод экспериментального определения температуры вспышки жидкостей в открытом тигле
Метод реализуется в диапазоне температур от минус 15 до 300 °С и не применим для испытания полимеризующихся при нагревании, гидролизующихся и быстро окисляющихся жидкостей.
Прибор для определения температуры вспышки в открытом тигле включает в себя следующие элементы.
4.5.1.1. Тигель с внутренним указателем уровня заполнения (черт. 6), выполненный из коррозионно-стойкого материала.

4.5.1.2. Устройство для нагревания тигля, обеспечивающее скорость нагревания до 17 °С/мин.
Примечание - Допускается использование прибора ТВ с фарфоровым тиглем низкой формы № 5 по ГОСТ № 9147 или аналогичным ему металлическим (черт. 7), а также автоматических аппаратов для определения температуры вспышки, которые позволяют экономить время испытаний, использовать меньшие количества проб и обладают другими характеристиками оправдывающими их применении. При использовании автоматических приборов для испытаний необходимо строго соблюдать все инструкции изготовителя.
В спорных случаях температуру вспышки следует определять вручную.

Черт. 7.
1 - нагревательная ванна; 2 - кольцо из паронита; 3 - фарфоровый тигель; 4 - термометр; 5 - держатель термометра; 6 - штатив;
7 - подставка для горелки; 8 - газовая горелка; 9 - нагревательное устройство; 10 - асбестовая прокладка.
4.5.1.3. Термометры типа ТН-2 и ТИН-3 по ГОСТ 400 с делением шкалы не более 1°С или другие измерители температуры с погрешностью не более указанной.
4.5.1.4. Секундомер с погрешностью не более 1 с для контроля скорости нагревания жидкости.
4.5.1.5 Трехстворчатый экран с шириной створки 460 мм и высотой 610 мм для защиты тигля от потоков воздуха.
4.5.1.6. Газовая горелка, имеющая пламя в форме шара диаметром (4,0±0,5) мм.
4.5.2. Подготовка к испытаниям
4.5.2.1. Устанавливают соответствие исследуемой жидкости паспортным данным.
4.5.2.2. Образец жидкости, имеющей температуру вспышки ниже 79 °С, охлаждают до температуры, которая на 28 °С меньше предполагаемой температуры вспышки. Образцы вязких жидкостей предварительно нагревают до достаточной текучести, но не более чем до температуры, которая на 5 °С ниже предполагаемой температуры вспышки.
4.5.2.3. Прибор устанавливают на ровной устойчивой поверхности в таком месте, где нет заметного движения воздуха и свет настолько затемнен, что вспышка хорошо видна.
Примечание - Результаты испытаний, проведенных в лаборатории под тягой или в другом месте, где имеется вытяжка, не вполне надежны.
Примечание - При использовании прибора ТВ исследуемую жидкость наливают до уровня на .12 мм ниже края тигля.
4.5.2.5 Тигель устанавливают на нагревательную пластину аппарата для определения температуры вспышки и воспламенения в открытом тигле; в тигель опускают термометр на расстоянии 6 мм от дна, помещая его в точке, лежащей посередине между центром и стенкой тигля. Зажигают газовую горелку.
4.5.2.6. Пригодность аппарата к работе проверяют по стандартным образцам ГСО 4407-89-4409-89, значение температуры вспышки которых приведены в табл. 6.
|
Индекс и номер стандартного образца |
Температура вспышки |
Абсолютная погрешность |
|
ТОТ-1-1 |
74 |
3 |
|
ТОТ-2-1 |
103 |
3 |
|
ТОТ-3-1 |
126 |
3 |
4.5.3.1 Включают обогрев прибора. При испытании жидкостей с предполагаемой температурой вспышки выше 79 °С скорость нагревания должна быть 14 - 17 °С/мин. За 56 °С до предполагаемой температуры вспышки нагревание уменьшают настолько, чтобы скорость повышения температуры за последние 28 °С до температуры вспышки была равна 5-6 °С/мин.
При испытании жидкостей с предполагаемой температурой вспышки ниже 79 °С скорость повышения температуры должна составлять 5 - 6 °С/мин.
Примечание - При испытании вязких жидкостей типа лаков нагревание за 5 °С до предполагаемой температуры вспышки следует проводить со скоростью 1 °С за 3 мин.
4.5.3.2. Испытание на вспышку начинают при достижении температуры образца на 28 °С (5 °С для лаков) ниже предполагаемой температуры вспышки и повторяют через каждые 2 °С (1 °С для лаков) повышения температуры. Перед испытанием лаков на вспышку перемешивают образец в течение 3 - 4с при помощи стеклянной палочки, погружая ее на глубину 12-15 мм. Затем палочку вынимают и проводят испытания на вспышку.
4.5.3.3. При испытании на вспышку пламя газовой горелки проводят при равномерном непрерывном движении от одной стороны тигля до другой в горизонтальной плоскости не более чем на 2 мм выше верхнего края тигля и только в одном направлении. Каждый последующий раз пламя перемещают в противоположном направлении, затрачивая на его перемещение примерно 1с.
4.5.3.4. За температуру вспышки в открытом тигле принимают температуру, показываемую термометром при появлении пламени над частью или над всей поверхностью жидкости. Вспышку не следует путать с голубоватым ореолом, иногда окружающим испытательное пламя.
4.5.3.5. Если испытывают жидкость с неизвестной температурой вспышки, то проводят предварительное определение по 4.5.2.4.- 4.5.3.4., нагревая при этом образец с постоянной скоростью 5 - 6 °С/мин.
4.5.3.6. В случае отсутствия температуры вспышки (при испытании индивидуальной жидкости) нагревание и испытание образца прекращают при достижении температуры кипения.
Примечание - При испытании смесей, содержащих легкокипящие негорючие или трудногорючие компоненты, нагревание ведут до выкипания названных компонентов. Особенности проведения такого испытания отмечают в протоколе.
4.5.4. Оценка результатов
4.5.4.1. За температуру вспышки исследуемой жидкости принимают среднее арифметическое значении температуры вспышки, полученных на 3 образцах с поправкой на атмосферное давление, рассчитываемой по формуле (3).
4.5.4.2. Сходимость метода при доверительной вероятности 95 % не должна превышать 8 °С.
4.5.4.3. Воспроизводимость метода при доверительной вероятности 95 % не должна превышать 16 °С.
4.5.4.4. Условия и результаты испытаний регистрируют в протоколе, форма которого приведена в приложении 1.
4.5.5. Требования безопасности
Прибор для определения температуры вспышки следует устанавливать в вытяжном шкафу. Рабочее место оператора должно удовлетворять требованиям электробезопасности по ГОСТ 12.1.019. и санитарно-гигиеническим требованиям по ГОСТ 12.1.005.
4.6. Метод экспериментального определения температуры воспламенения жидкостей
Метод, реализуют в диапазоне температур от минус 15 до 360 °С и не применяют для испытания полимеризующихся при нагревании, гидролизующихся и быстро окисляющихся жидкостей.
4.6.1. Аппаратура
Температуру воспламенения определяют в приборах, применяемых для определения температуры вспышки в открытом тигле (см. 4.5.1.).
4.6.2. Подготовка к испытаниям (см. 4.5.2.)
4.6.3. Проведение испытаний
4.6.3.1. Метод определения температуры воспламенения может существовать как самостоятельный метод или осуществляться одновременно с температурой вспышки на том же образце. После получения вспышки согласно 4.5.3.4. образец продолжают нагревать в том же режиме, что и при определении температуры вспышки. Испытание на воспламенение проводят через каждые 2 °С повышения температуры.
4.6.3.2. За температуру воспламенения принимают температуру испытания, при которой образующиеся над поверхностью жидкости пары воспламеняются от пламени газовой горелки и продолжают гореть не менее 5 с после его удаления.
4.6.4. Оценка результатов
4.6.4.1. За температуру воспламенения исследуемой жидкости принимают среднее арифметическое значений температуры воспламенения, полученных на трех образцах с поправкой на атмосферное давление, вычисляемой по формуле (3).
4.6.4.2. Сходимость метода при доверительной вероятности 95 % не должна превышать 8 °С.
4.6.4.3. Воспроизводимость метода при доверительной вероятности 95 % не должна превышать 16 °С.
4.6.4.4. Условия и результаты испытаний регистрируют в протоколе, форма которого приведена в приложении 1.
4.6.5 Требования безопасности
Прибор для определения температуры воспламенения следует устанавливать в вытяжном шкафу. Рабочее место оператора должно удовлетворять требованиям электробезопасности по ГОСТ 12.1.019. и санитарно-гигиеническим требованиям по ГОСТ 12.1.005.
4.7. Метод экспериментального определения температуры воспламенения твердых веществ и материалов
Метод реализуют в диапазоне температур от 25 до 600 °С и не применяют для испытания металлических порошков.
Схема прибора для определения температуры воспламенения приведена на черт. 8.

1 - стеклянные цилиндры; 2 - спиральные электронагреватели; 3 - теплоизоляционный материал; 4 - стальной экран; 5 - держатель образца; 6 - контейнер; 7 - газовая горелка; 8 - электропривод горелки; 9, 10 - термоэлектрические преобразователи; 11 - ламинатор
4.7.1.1 Прибор ОТП, представляющий собой вертикальную электропечь с двумя коаксиально расположенными цилиндрами, выполненными из кварцевого стекла. Один из цилиндров внутренним диаметром (80±3) мм, высотой 240 мм является реакционной камерой; второй цилиндр такой же высоты имеет внутренний диаметр (101±3) мм. На цилиндры навиты спиральные электронагреватели общей мощностью не менее 2 кВт, что позволяет создавать температуру рабочей зоны 600 °С за время не более 40 мин.
4.7.1.2. Для размещения образца исследуемого вещества
(материала), применяют контейнер диаметром (45±1) мм, высотой (18,0
) мм, выполненный из стальной сетки или стального листа толщиной
не более 0,5 мм. Контейнер устанавливают в кольцо держателя диаметром
(49,0±0,6) мм. Держатель представляет собой металлическую трубку из жаростойкой
стали с приваренным в нижней части кольцом для размещения контейнера.
4.7.1.3. Газовая горелка для зажигания образца, представляющая собой трубку внутренним диаметром (6±1) мм. выполнена из жаростойкой стали, запаяна снизу и имеет на боковой поверхности отверстие диаметром (0,8±0,1) мм на расстоянии (5,0±0,5) мм от запаянного конца.
4.7.1.4. Ламинатор, выполненный из листовой жаростойкой стали в форме конуса верхним диаметром не более 78 мм, нижним диаметром не более 11 мм и длиной (500±5 мм) служит для подачи естественного потока воздуха в реакционную камеру.
4.7.1.5. Термоэлектрические преобразователи диаметром термоэлектродов не менее 0,5 мм. Термоэлектрический преобразователь 9 служит для измерения температуры образцов и расположен таким образом, чтобы обеспечивался контакт с дном и стенкой контейнера (черт. 8). Термоэлектрический преобразователь 10 служит для контроля и регулирования температуры печи и расположен внутри реакционной камеры на расстоянии (140±5) мм от верхнего края камеры и (5±1) мм от стенки камеры. Погрешность измерения регулирующего и регистрирующего температуру приборов не должна превышать 0,5 %.
4.7.1.6. Зеркало для наблюдения за образцом внутри камеры.
4.7.1.7. Секундомер с погрешностью измерения не более 1с.
4.7.1.8. Шаблоны для определения расстояния от нижнего края горелки до поверхности образца и для центровки контейнера внутри камеры.
4.7.1.9. Источник сжатого воздуха для горелки с расходом до 40 л·ч-1.
4.7.2. Подготовка к испытаниям
4.7.2.1. Для испытаний готовят 10-15 образцов исследуемого вещества (материала) массой по (3,0±0,1) г. Образцы ячеистых материалов должны иметь цилиндрическую форму диаметром (45±1) мм. Пленочные и листовые материалы набирают в стопку диаметром (45±1) мм, накладывая слои друг на друга до достижения указанной массы.
4.7.2.2. Перед испытанием образцы кондиционируют в соответствии с требованиями ГОСТ 12423 или технических условий на материал. Образцы должны характеризовать средние свойства исследуемого вещества (материала).
4.7.2.3. В зависимости от объема образца определяют с помощью шаблона и фиксируют положение контейнера внутри камеры и расстояние между газовой горелкой и поверхностью образца.
4.7.2.4. Пригодность установки к работе, проверяют по стандартному веществу - органическому стеклу (ГОСТ 10667), температура воспламенения которого равна (265±10) °С.
4.7.3. Проведение испытаний
4.7.3.1. Нагревают реакционную камеру до температуры начала разложения исследуемого вещества (материала) или до 300 °С.
4.7.3.2. Регулируя подачу газа и воздуха в горелку, формируют пламя газовой горелки в виде клина длиной (10±2) мм.
4.7.3.3. Извлекают из камеры держатель с контейнером. В контейнер помещают образец за время не более 15 с и вводят его в реакционную камеру. Электропривод газовой горелки включают в заданный режим работы. Периодичность подвода газовой горелки к образцу на расстояние (10±1) мм от его поверхности должна составлять (10±2) с. Наблюдают за образцом в рабочей камере с помощью зеркала.
4.7.3.4. Если при температуре испытания образец воспламенится, то испытание прекращают, горелку останавливают в положении “вне печи”, контейнер с образцом извлекают из камеры. Отмечают в протоколе температуру воспламенения и следующее испытание проводят с новым образцом при меньшей температуре (например, на 50 °С меньше).
Если в течение 20 мин образец не воспламенится или ранее этого времени полностью прекратится дымовыделение, то испытание прекращают и в протоколе отмечают отказ.
За температуру испытания принимают показания термоэлектрического преобразователя, измеряющего температуру образца.
4.7.3.5. Методом последовательных приближений, используя новые образцы и изменяя температуру испытания, определяют минимальную температуру образца, при которой за время выдержки в печи не более 20 мин образец воспламенится и будет гореть более 5 с после удаления горелки, а при температуре на 10°С меньше воспламенение отсутствует.
4.7.4. Оценка результатов
4.7.4.1. За температуру воспламенения исследуемого вещества (материала) принимают среднее арифметическое двух температур, отличающихся не более чем на 10°С, при одной из которых наблюдается воспламенение 3 образцов, а при другой - три отказа. Полученное значение температуры округляют с точностью до 5 °С.
4.7.4.2. Сходимость метода при доверительной вероятности 95 % не должна превышать 7 °С.
4.7.4.3. Воспроизводимость метода при доверительной вероятности 95 % не должна превышать 20 °С.
4.7.4.4. Условия и результаты испытаний регистрируют в протоколе, форма которого приведена в приложении 1.
4.7.5. Требования безопасности
Прибор для определения температуры воспламенения следует устанавливать в вытяжном шкафу. Рабочее место оператора должно удовлетворять требованиям электробезопасности по ГОСТ 12.1.019. и санитарно-гигиеническим требованиям по ГОСТ 12.1.005.
4.8. Метод экспериментального определения температуры самовоспламенения газов и жидкостей
4.8.1. Аппаратура
Допускается определение температуры самовоспламенения по специальной программе в иной аппаратуре (по сравнению с описанной в 4.8.1) в случаях, необходимых с точки зрения разработчика системы обеспечения пожаровзрывобезопасности объекта.
Установка для определения температуры самовоспламенения (черт. 9) должна включать в себя следующие элементы.

Черт. 9.
1 - корпус термостата; 2 - электрическая спираль нагревателя; 3 - крыльчатка вентилятора; 4 - реакционный сосуд; 5 - крышка термостата; 6 - зеркало; 7 - термоэлектрические преобразователи.
4.8.1.1. Реакционный сосуд в виде колбы Erlenmeyer вместимостью 200 см3 из кварцевого стекла (Кн-200 по ГОСТ 19908). Химически чистая колба должна использоваться для испытания каждого вещества и проведения основной серии испытаний.
Примечание - Если температура самовоспламенения исследуемого вещества превышает температуру размягчения стекла колбы, допускается применять аналогичные колбы из металла (это надо отмечать в протоколе испытаний).
4.8.1.2. Воздушный термостат, обеспечивающий равномерный нагрев колбы до заданной температуры. Колбу следует считать равномерно нагретой и состояние проведения испытания удовлетворительным, если полученные значения температур самовоспламенения соответствуют данным из табл. 7 с допустимыми отклонениями согласно 4.8.3.2.
4.8.1.3. Для измерения температуры колбы используют калиброванные термоэлектрические преобразователи (один или несколько) максимальным диаметром рабочего спая не более 0,8 мм. Термоэлектрические преобразователи располагают в выбранных точках в тесном контакте с внешней поверхностью колбы. При использовании нескольких термоэлектрических преобразователей за температуру испытания принимают среднее арифметическое значение наименьшей и наибольшей температур по показаниям термоэлектрических преобразователей. Расхождения между показаниями термоэлектрических преобразователей не должно превышать 1 %.
|
Вещество |
Температура самовоспламенения, °С |
|
к-Гептан |
220 |
|
Этилен |
435 |
|
Бензол |
500 |
|
Примечание - Вещества, используемые для проверки работы термостата, должны иметь чистоту не менее 99,9 %. |
|
4.8.1.4. Для дозирования исследуемых веществ применяют шприцы и пипетки.
Для дозирования подачи жидкостей используют:
а) шприц, вместимостью от 0,25 до 1 см3 (цена деления не более 0,01 см3) с иглой из нержавеющей стали максимальным диаметром 0,15 мм;
б) калиброванную пипетку вместимостью 1 см3, обеспечивающую подачу 1 см3 дистиллированной воды в 35-40 капель.
Для дозированной подачи газов рекомендуется использовать газонепроницаемый стеклянный калиброванный шприц вместимостью 200 см3 (цена деления не более 10 см3), снабженный трехходовым краном (черт. 10).

1 - огнепреградитель;2 - предохранительная мембрана; 3 - пластинки из спеченного стекла (перегородки); 4 - герметичный шприц; 5 - резервуар с газом; 6 - предкамера.
Для дозированной подачи паст, готовых красок, мастик и т. п. веществ готовят несколько навесок, отличающихся друг от друга на 0,05 - 0,10 г с погрешностью не более 0,01 г.
Примечание - Допускается использовать другие дозирующие средства, обеспечивающие требуемые параметры.
4.8.1.5. Секундомер с погрешностью измерения не более 1с для определения периода индукции.
4.8.1.6. Наблюдение за реакцией в колбе осуществляется датчиком обнаружения пламени или с помощью зеркала, которое устанавливают на высоте (250±10) мм над колбой.
4.8.2. Проведение испытаний
4.8.2.1. Температуру внутри, термостата предварительно регулируют таким образом, чтобы было обеспечено равномерное нагревание колбы до необходимого значения температуры.
4.8.2.2. Введение пробы в колбу.
Рекомендуемый объем пробы для предварительного испытания жидкостей 0,07 см3, газов 20 см3, паст, мастик и т. п. 0,2 г.
Пробу исследуемого вещества вводят в центр колбы за время не более 2 с; пробу газа вводят в колбу с расходом около 25 см3·с-1. После ввода пробы дозирующее устройство быстро отводят. Во время подачи жидкости следует избегать ее попадания на стенки колбы. Навеску пасты, мастики и т. п. вещества допускается вносить в колбу на алюминиевой фольге.
Примечание - При испытании веществ с температурой кипения, близкой или равной комнатной температуре, необходимо принять соответствующие меры, чтобы не произошло изменение агрегатного состояния вещества перед введением его в колбу (например, охладить).
4.8.2.3. В момент окончания ввода пробы в колбу включают секундомер и наблюдают за содержимым колбы до появления пламени и/или взрыва. В этот момент секундомер останавливают и регистрируют период индукции самовоспламенения. Если пламя и/или взрыв не наблюдается, секундомер останавливают через 5 мин и испытание прекращают.
4.8.2.4. После каждого испытания колбу продувают сухим воздухом, после чего она должна принять необходимую температуру испытания. В случае загрязнения колбы твердыми продуктами сгорания ее очищают или заменяют чистой.
4.8.2.5. Испытания повторяют при различных температурах и с различными объемами проб до достижения минимальной температуры самовоспламенения (что определяют по графику зависимости температуры самовоспламенения от массы пробы, см. черт. 11).

4.8.3. Оценка результатов
4.8.3.1. За температуру самовоспламенения исследуемого вещества принимают наименьшую температуру испытаний, при которой наблюдалось самовоспламенение образца в условиях, предусмотренных в 4.8.2.6.
4.8.3.2. Сходимость метода при доверительной вероятности 95 % не должна превышать 2 %.
4.8.3.3. Воспроизводимость метода при доверительной вероятности 95 % не должна превышать 5 %.
4.8.3.1. Условия и результаты испытаний регистрируют в протоколе, форма которого приведена в приложении 1.
4.8.4. Требования безопасности
Прибор для определения температуры самовоспламенения следует устанавливать в вытяжном шкафу. Рабочее место оператора должно удовлетворять требованиям электробезопасности по ГОСТ 12.1.019. и санитарно-гигиеническим требованиям по ГОСТ 12.1.005.
4.9. Метод экспериментального определения температуры самовоспламенения твердых веществ и материалов
Метод реализуется в диапазоне температур от 25 до 600 °С и не применим для испытания металлических порошков.
4.9.1. Аппаратура
Аппаратура для определения температуры самовоспламенения твердых веществ и материалов - по 4.7.1.
Газовую горелку при определении температуры самовоспламенения не используют, она находится в положении «вне печи».
4.9.2. Подготовка к испытаниям - в соответствии с 4.7.2.
4.9.3. Проведение испытаний
4.9.3.1. Нагревают рабочую камеру до температуры, превышающей на 200 °С температуру начала разложения исследуемого вещества (материала), или до 500 °С.
4.9.3.2. После установления в рабочей камере стационарного температурного режима, определяемого по постоянству показаний двух термоэлектрических преобразователей, извлекают из камеры контейнер, заполняют его образцом за время не более 15 с и опускают внутрь камеры. Наблюдают за образцом с помощью зеркала.
4.9.3.3. Если при заданной температуре испытания наблюдается самовоспламенение, то следующее испытание проводят при меньшей температуре (например, на 50 °С).
Если в течение 20 мин или до момента полного прекращения дымовыделения самовоспламенение не наблюдается, испытание прекращают и в протоколе отмечают отказ.
4.9.3.4. Методом последовательных приближений определяют минимальную температуру рабочей камеры, при которой образец самовоспламеняется и горит более 5 с, а при температуре на 10 °С меньше - наблюдается отказ.
4.9.4. Оценка результатов
4.9.4.1. За температуру самовоспламенения исследуемого вещества (материала) принимают среднее арифметическое двух температур, отличающихся не более чем на 10 °С, при одной из которых наблюдается самовоспламенение 3 образцов, а при другой - три отказа. Полученное значение температуры самовоспламенения округляют с точностью до 5 °С.
4.9.4.2. Сходимость метода при доверительной вероятности 95 % не должна превышать 5 °С.
4.9.4.3. Воспроизводимость метода при доверительной вероятности 95 % не должна превышать 17 °С.
4.9.4.4. Условия и результаты испытаний регистрируют в протоколе, форма которого приведена в приложении 1.
4.9.5. Требования безопасности
Прибор для определения температуры самовоспламенения следует устанавливать в вытяжном шкафу. Рабочее место оператора должно удовлетворять требованиям электробезопасности по ГОСТ 12.1.019. и санитарно-гигиеническим требованиям по ГОСТ 12.1.005.
4.10.Метод экспериментального определения концентрационных пределов распространения пламени по газо- и паровоздушным смесям
Метод применим для определения концентрационных пределов распространения пламени (далее - пределов) при атмосферном давлении и температуре от 15 ДО 150 °С.
Метод не применим для определения пределов холодных пламен, а также веществ:
околопредельные смеси которых чувствительны к детонации;
склонных к термическому разложению или полимеризации при температурах испытаний;
способных вызвать в результате самопроизвольных химических реакций изменение состава смеси или ее взрыв до момента зажигания;
высоковязких типа клея, лаков, красок и т. д. с растворенными или взвешенными в них твердыми компонентами;
парциальное давление которых в смеси, соответствующей расчетному пределу, больше, чем половина давления насыщенного пара при температуре испытания;
температура самовоспламенения которых меньше величины (tи + 20) °С, где tи - температура испытания.
Пределы, полученные по данному методу, не могут быть использованы для обеспечения взрывобезопасности трубчатых агрегатов с диаметром труб менее 50 мм.
Установка для определения концентрационных пределов распространения пламени (черт. 12) включает в себя следующие элементы.
4.10.1.1 Термошкаф, представляющий собой ящик с теплоизолированными стенками, имеющий электронагреватель, вентилятор, продувочные окна с задвижками, дверь со смотровым окном, концевой выключатель.
Электронагреватели термошкафа совместно с изоляцией должны обеспечивать нагревание внутреннего объема термошкафа с расположенными в нем узлами установки до температуры (150±5) °С в течение 1 ч.
Вентилятор должен обеспечивать циркуляцию воздуха вокруг электронагревателя, а также во всем объеме термошкафа для создания однородного поля температур с максимальной разницей в двух любых точках не более 5 °С; электродвигатель вентилятора должен иметь электрический тормоз для быстрой остановки.
Продувочные окна с задвижками должны обеспечивать продувку объема термошкафа воздухом за время не более 15 мин.
Дверь со смотровым окном должна обеспечивать доступ ко всем узлам установки внутри термошкафа и возможность, визуального наблюдения за пламенем в реакционном сосуде.
Концевой выключатель служит для включения источника зажигания.
Конструкция термошкафа должна обеспечивать, относительную его газонепроницаемость для создания необходимых санитарно-гигиенических условий на рабочем месте.

1 - термошкаф; 2 - реакционный сосуд; 3 - смотровые окна; 4 - продувочный патрубок; 5 - термоэлектропреобразователь блока регулирования температуры; 6 - задвижка; 7 - вентиляционный патрубок; 8 - испаритель; 9 - вентиль; 10 - ртутный манометр; 11 - пневмопульт; 12 - газовый термометр; 13 - датчик термометра; 14 - электроды источника зажигания; 15 - огнепреградитель; 16 - нижняя крышка; 17 - коромысло; 18 - шестерни; 19 - продувочное отверстие; 20 - заслонка; 21 - штурвал; 22 - вентилятор; 23 - электродвигатель; 24 - электронагреватели; 25 - перемешиватели; 26 - источник зажигания; 27 - электропульт; 28 - блок регулирования температуры.
Все металлические элементы, расположенные внутри термошкафа, и его внутренние стенки должны быть выполнены из коррозионно-стойкой стали.
4.10.1.2. Реакционный сосуд, представляющий собой цилиндр с внутренним диаметром (300±10) мм, высотой (800±30) мм и толщиной стенки не менее 2 мм, герметично закрываемый неподвижной верхней и подвижной нижней крышками.
Реакционный сосуд крепят вертикально внутри термошкафа. Расстояние от нижнего торца реакционного сосуда до нижней стенки термошкафа, обеспечивающее свободный выход продуктов горения из сосуда, должно быть от 100 до 150 мм.
Реакционный сосуд должен иметь электроды зажигания, два конвективных перемешивателя, огнепреградитель, температурный датчик, продувочное отверстие, смотровое окно, механизм управления нижней крышкой, вводы и выводы газов.
Электроды служат для зажигания смесей в реакционном сосуде. Они представляют собой металлические стержни диаметром. (3,0±0,3) мм, устанавливаемые горизонтально и соосно друг к другу в диаметральной плоскости реакционного сосуда на расстоянии (750±20) мм от верхней крышки. Ввод электродов в реакционный сосуд осуществляют через герметичные разъемы. Внутренние концы электродов, заточенные под углом (10±3) °, должны отстоять друг от друга на расстоянии от 5 до 7 мм.
Конвективные перемешиватели, служащие для перемешивания смесей в реакционном сосуде, представляют собой трубчатые нагреватели с проточной водой. Перемешиватели имеют форму петли и устанавливаются: один - на расстоянии не менее 30 мм ниже электродов зажигания, второй - на расстоянии не более 100 мм. от верхней крышки сосуда. Перемешиватели должны обеспечивать, перемешивание смеси за время не более 15 мин.
Огнепреградитель, служащий для предотвращения выброса пламени из реакционного сосуда, не должен создавать повышения давления в сосуде при сгорании смеси более чем 25 кПа. Огнепреградитель устанавливают в нижней части реакционного сосуда ниже конвективного перемешивателя,
Температурный датчик, представляющий собой колбу газового. термометра, служит для измерения температуры смеси в реакционном сосуде. Датчик вводят в сосуд через гермоввод и устанавливают в горизонтальной плоскости электродов на расстоянии 70 мм от них.
Продувочный патрубок диаметром от 25 до 30 мм, служащий для удаления продуктов горения из сосуда, располагают в верхней крышке и герметично закрывают съемной заглушкой.
Смотровое окно должно обеспечивать возможность визуального наблюдения за пламенем по всей высоте реакционного сосуда и иметь размеры не менее чем (720х130) мм. Окно герметично. закрывают стеклом толщиной от 10 до 12 мм с прижимным фланцем.
Механизм управления нижней крышкой служит для обеспечения герметичности контакта крышки с сосудом в его закрытом положении и отведения крышки в боковом направлении при открывании сосуда. Механизм состоит из винта, коромысла, системы шестерен и штурвала, с помощью которого вручную открывают крышку. Штурвал должен быть выведен за пределы термошкафа. Крышка должна иметь уплотнительный элемент, а механизм управления - упоры для фиксации в крайних положениях.
Вводы и выводы газов служат для подсоединения к реакционному сосуду трубопроводов пневмосистемы.
Реакционный сосуд должен выдерживать, без разрушения и деформации вакуум до 100 Па, давление до 200 кПа.
Все металлические части реакционного сосуда и его узлов должны быть выполнены из коррозионно-стойкой стали. Конструкция реакционного сосуда должна обеспечивать свободное, без контакта с какой-либо поверхностью, распространение пламени от электродов до боковой стенки и верхней крышки.
4.10.1.3. Испаритель, служащий для обеспечения необходимого давления пара жидких горючих веществ не более 10 МПа, должен иметь собственный нагреватель для испарения жидкостей в том случае, когда электронагреватели термошкафа не включены. Испаритель должен быть .изготовлен из коррозионно-стойкой стали.
4.10.1.4. Трубопроводы с арматурой, изготовленные из коррозионно-стойкой стали и служащие для:
подачи в реакционный сосуд атмосферного воздуха;
измерения давления в реакционном сосуде;
подачи горючего газа из баллона;
подачи горючего компонента в паровой или жидкой фазе из испарителя в реакционный сосуд;
отбора проб смеси из реакционного сосуда для количественного анализа;
вакуумирования реакционного сосуда и испарителя.
Все трубопроводы должны иметь запорные вентили. Суммарный объем трубопроводов между вентилями и реакционным сосудом не должен превышать 1 % от объема реакционного сосуда. Все трубопроводы, кроме их концов, идущих на манометр и вакуумный насос, должны быть расположены внутри термошкафа. Маховики запорной арматуры должны быть выведены за пределы термошкафа в пневмопульт.
Трубопроводы, запорная арматура, связанная с испарителем, и сам испаритель должны выдерживать вакуум до 100 Па и давление до 15 МПа; трубопроводы и запорная арматура, связанные, только с реакционным сосудом, должны выдерживать вакуум до 100 Па и давление до 200 кПа.
4.10.1.5. Пневмопульт, служащий для управления пневмосистемой установки при составлении смесей, должен иметь ртутный манометр, газовый термометр, маховики запорной арматуры трубопроводов, блок подвода газов к установке.
Ртутный манометр служит для измерения давления в реакционном сосуде. Манометр должен иметь пределы измерения от 0 до 120 кПа н погрешность измерения давления не более ±66 Па. Манометр должен иметь устройство для определения уровня ртути с погрешностью не более 13,3 Па. На трубопроводе, соединяющем манометр с реакционным сосудом, должна быть ртутная ловушка.
Газовый термометр служит для измерения температуры в реакционном сосуде. Термометр должен иметь пределы измерений от 15 до 150 °С и погрешность измерения температуры не более 2 °С. Инерционность термометра не должна превышать 3 мин. Допускается использование других измерителей температуры с погрешностью не более указанной.
Маховики запорной арматуры должны обеспечивать удобство их вращения при одновременном наблюдении за уровнем ртути в манометре как на нижнем, так и на верхнем пределах измерения.
Блок подвода газов к установке должен иметь присоединительные элементы для подключения трубопроводов от баллонов, а также трубопроводы для подачи газов к запорной арматуре трубопроводов термошкафа. Элементы блока должны выдерживать давление до 0,3 МПа.
Суммарный объем трубопровода, соединяющий реакционный сосуд с ртутным манометром, ртутной ловушкой и ртутной чашкой манометра при минимальном уровне ртути в ней, не должен превышать 1,5 % от объема реакционного сосуда.
4.10.1.6. Вакуум-насос, служащий для создания необходимого разрежения в реакционном сосуде и пневмосистеме установки. Производительность вакуум-насоса должна обеспечивать вакуумирование реакционного сосуда и пневмосистемы до 100 Па за время не более 30 мин.
4.10.1.7. Блок регулирования температуры, служащий для создания и автоматического поддержания температуры термошкафа на любом заданном уровне в диапазоне рабочих температур. Блок должен обеспечивать совместно с электронагревателями термошкафа повышение температуры в объеме термошкафа до заданного уровня с погрешностью не более 2 °С за время не более 1 ч.
4.10.1.8. Зажигающее устройство, служащее для формирования искрового разряда в искровом промежутке между электродами реакционного сосуда, должно обеспечивать пробеги искрового промежутка индукционной искрой и образование в воздухе устойчивого плазменного «колпачка» высотой, от 0,5 до 1,5 см. Выделяемая энергия искр на электродах при нормальных условиях при длительности разряда (2,0±0,1) с должна составлять от 30 до 40 Дж. Конструкция зажигающего устройства должна обеспечивать дистанционное управление.
4.10.1.9. Электропульт, служащий для подачи электропитания на все потребители установки: электронагреватели термошкафа, электродвигатель вентилятора, блок регулирования температуры, зажигающее устройство, вакуум-насос. Качество и прочность электроизоляции электропульта, проводов и потребителей должны соответствовать требованиям электробезопасности при работе на установке.
4.10.2. Подготовка к испытаниям
4.10.2.1. При необходимости устанавливают соответствие исследуемого образца паспортным данным.
4.10.2.2. Находят расчетные значения пределов по формулам, приведенным в приложении 4.
4.10.2.3. Перед испытанием проверяют установку на герметичность. Герметичность установки, включая испаритель, реакционный сосуд, трубопроводы с арматурой, ртутный манометр, должна быть такой, чтобы при остаточном давлении от 0,90 до 1,33 кПа изменение давления за счет натечек. не превышало 66 Па за 30 мин.
4.10.2.4 Проверяют пригодность установки к работе при температуре (25±10) °С по пропану с чистотой не менее 99,95 %,. нижний предел которого должен составлять (2,05±0,10) % об.
4.10.3. Проведение испытаний
4.10.3.1 Для определения нижнего предела органических веществ, содержащих только атомы С, Н, О, N и один атом C1, вначале приготавливают газо- и паро-воздушную смесь, содержащую в 1,3 раза меньше исследуемого вещества, чем необходимо для создания смеси, соответствующей его расчетному пределу. Для других веществ вначале приготавливают смесь, содержащую в два. раза меньше исследуемого вещества, чем на расчетном пределе.
Следует учитывать, что нижний предел при температуре (25±10) °С не может быть ниже следующих значений: для паров - 0,4 % об., для газов - 1,5 % об.
Для определения верхнего предела органических веществ, содержащих только атомы С, Н, О, N и один атом C1, вначале приготавливают смесь, содержащую кислорода в 1,5 раза меньше, чем необходимо для создания смеси, соответствующей расчетному пределу. Для других веществ вначале приготавливают смесь, содержащую кислорода в два раза меньше, чем в расчетной предельной смеси.
4.10.3.2. При необходимости заполняют испаритель жидким горючим, нагревают испаритель, включают блок регулирования температуры и выводят установку на требуемый температурный режим.
4.10.3.3. Для приготовления смеси требуемого состава
реакционный сосуд вакуумируют до остаточного давления 133,3 Па, затем
поочередно подают в него компоненты смеси по парциальным давлениям (
), вычисляемым по
формуле
=
,
(4)
где jк - задаваемая концентрация компонента смеси, % об.;
pсм - общее давление газовой смеси, кПа;
При необходимости допускаются иные способы приготовления смесей, если они дают точность не ниже, чем предлагаемый способ.
4.10.3.4. Общее давление смеси выбирают в пределах от атмосферного давления до 120 кПа. Выбор величины общего давления определяется необходимостью иметь избыток давления смеси по отношению к атмосферному давлению при проведении количественного анализа.
4.10.3.5. Очередность подачи компонентов смеси в реакционный сосуд зависит от их парциальных давлений: компонент с меньшим парциальным давлением подают первым, компонент с большим парциальным давлением - последним.
4.10.3.6. После напуска компонентов в реакционный сосуд смесь перемешивают в течение 15 мин.
4.10.3.7. При необходимости проводят количественный анализ смеси при ее отборе через трубопровод с запорным вентилем, сообщающим реакционный сосуд с атмосферой. После анализа избыток давления в реакционном сосуде понижают до значения атмосферного давления.
.4.10.3.8. Выключают нагреватели и вентилятор термошкафа. Затемняют помещение лаборатории. Открывают нижнюю крышку реакционного сосуда до упора в концевой выключатель.
4.10.3.9. С переносного пульта зажигают смесь путем подачи искры на электроды. Продолжительность времени с момента открытия нижней крышки до момента зажигания смеси не должна превышать 5 с.
4.10.3.10. Результат испытания на распространение пламени оценивают визуально. Для наблюдения за пламенем используют зеркало, установленное под углом не больше 45 ° к установке. 1
4.10.3.11. В смесях, где пламя распространяется в виде деформированной конвектирующей сферы, за горючую смесь принимают такую, в которой пламя распространяется до боковых стенок реакционного сосуда. Дальнейшее поведение пламени (дойдет оно до верхней крышки сосуда или, в результате выталкивающего «эффекта трубы», будет выброшено из сосуда, не успев достигнуть верхней крышки сосуда) не должно приниматься во внимание при оценке результата опыта.
В смесях, где пламя может достигнуть верхней крышки сосуда раньше, чем боковых стенок, за горючую смесь принимают такую, в которой пламя распространяется до верхней крышки реакционного сосуда.
4.10.3.12. Если при первом испытании смеси получен отрицательный результат, то в каждом последующем испытании при определении нижнего (верхнего) предела концентрацию исследуемого вещества следует увеличивать не более чем на 10 % (уменьшать не более чем на 5 %) от первоначальной концентрации до получения положительного результата.
Если при первом испытании получен положительный результат, то последующие испытания проводят с уменьшенной на нижнем пределе и увеличенной на верхнем пределе концентрациями горючего компонента до получения отрицательного результата.
В дальнейшем шаг изменения концентрации компонентов и смеси постепенно уменьшают до тех пор, пока наблюдается повторяемость результатов.
4.10.3.13. После каждого испытания реакционный сосуд и термошкаф продувают воздухом для удаления продуктов горения или газов и для охлаждения стенок сосуда. Последующее испытание начинают после того, как температура в реакционном сосуде достигнет температуры заданного режима.
4.10.3.14. После серии испытании с одним веществом следует тщательно промыть сосуд, трубопроводы и запорную арматуру этанолом, а затем просушить и продуть воздухом.
4.10.4. Оценка результатов
4.10.4.1. За предел распространения пламени принимают среднее арифметическое шести ближайших значений концентрации исследуемого вещества в смеси, в трех из которых наблюдается положительный результат испытания, в трех других - отрицательный. Полученное значение предела округляют до второго знака после запятой.
4.10.4.2. Сходимость метода при доверительной вероятности 95 % не должна превышать 0,1 % об. на нижнем пределе и 0,2 % на верхнем пределе.
4.10.4.3. Воспроизводимость метода при доверительной вероятности 95 % не должна превышать 0,3 % об. на нижнем пределе и 0,6 % об. на верхнем пределе.
4.10.4.4. Условия и результаты испытаний регистрируют в протоколе, форма которого приведена в приложении 1.
4.10.5. Требования безопасности
4.10.5.1. При зажигании горючей смеси оператор должен находиться на расстоянии не менее 2 м от установки.
4.10.5.2. Не следует проводить испытания смесей с концентрацией горючего больше, чем концентрация первой горючей смеси в бедных смесях и меньше, чем концентрация первой горючей смеси в богатых смесях.
4.10.5.3. Рабочее место оператора должно удовлетворять требованиям электробезопасности по ГОСТ 12.1.019. и санитарно-гигиеническим .требованиям по ГОСТ 12.1.005.
4.11. Метод экспериментального определения показателей взрыва пылевоздушных смесей - максимального давления взрыва, нижнего концентрационного предела распространения пламени, минимального взрывоопасного содержания кислорода и минимальной флегматизирующей концентрации флегматизатора.
4.11.1. Аппаратура
Установка для определения показателей взрыва пылевоздушных смесей (черт. 13) включает в себя следующие элементы.

Черт. 13.
1 - реакционный сосуд; 2 - конус распылителя; 3 - форкамера; 4 - обратный клапан; 5 - клапан с электроприводом; 6 - манометр; 7 - ресивер; 8 - газоанализатор; 9 - пульт управления; 10 - источник зажигания; 11 - регистрирующая аппаратура; 12 - датчик давления.
4.11.1. Реакционный сосуд, представляющий собой цилиндр высотой (450-25) мм и внутренним диаметром (105±5) мм, выполнен из нержавеющей стали и рассчитан на рабочее давление до 1 МПа. Сосуд снабжен штуцерами для подачи газовых компонентов и подсоединения датчика давления.
Кроме металлического реакционного сосуда установка снабжена
реакционным сосудом из стеклянной трубы по ГОСТ 8894
высотой (450±25) мм, внутренним диаметром (10
) мм и толщиной стенки (7±1) мм.
4.11.1.2. Система газоприготовления и распыления исследуемого вещества, рассчитанная на рабочее давление до 1 МПа, состоит из:
конусного распылителя с углом раствора (30±5)°, который является верхней крышкой реакционного сосуда и выполнен из нержавеющей стали;
форкамеры, в которую помещают образец исследуемого вещества (рекомендуемая конструкция форкамеры приведена в приложении 5;
обратного клапана и клапана с электроприводом; время открытия электропневмоклапана (0,3±0,1) с;
ресивера с трубопроводами вместимостью (1,0±0,2) дм3;
манометра класса точности 0,25.
Условный диаметр прохода трубопроводов должен быть (10,0±0.5) мм, элементов системы газоприготовления и распыления не менее 10 мм, вентилей не менее 4 мм. Длина трубопроводов между ресивером и распылителем должна составлять (0,9±0,1) м.
4.11.1.3. Источник зажигания, представляющий собой нагреваемую электрическим током до температуры (1050±50) °С спираль из проволоки марки Х80Н20-Н (ГОСТ 12766.1) диаметром 0,8 мм. Длина спирали (50±1) мм, внутренний диаметр спирали (8,0±0,5) мм; число витков 30; потребляемая мощность при токе (13,0±0,5) А составляет (475±25) Вт, время выхода на рабочую температуру (8±1) с. Спираль расположена горизонтально на оси цилиндра на расстоянии (150±5) мм от нижнего фланца.
4.11.1.4. Система регистрации давления, состоящая из датчика давления и вторичных приборов, должна обеспечивать непрерывную или дискретную запись изменения давления во времени в частотном диапазоне от 0 до 300 Гц с верхним пределом измерения не менее 1 МПа. За начало отсчета времени принимают момент срабатывания клапана распыления образца исследуемого вещества.
4.11.1.5. Контроль содержания кислорода в реакционном сосуде и ресивере осуществляют газоанализатором с диапазоном измерения от 0 до 21 % об. и пределом допускаемой погрешности показаний не более ±2,5 %.
4.11.1.6. Пульт управления, обеспечивающий электропитание и синхронизацию в заданной последовательности работы системы распыления, источника зажигания и системы регистрации.
4.11.2. Подготовка к испытаниям
4.11.2.1. Устанавливают соответствие исследуемого вещества паспортным данным по внешнему виду, влажности, зольности, а для плавящихся веществ - дополнительно по температуре плавления.
4.11.2.2. Исследуемые вещества рассеивают; при испытании используют образцы с размерами частиц менее 50 мкм для металлов и менее 100 мкм -для других веществ.
4.11.2.3. Проверяют стальной реакционный сосуд на герметичность.
4.11.2.4. Тарируют систему регистрации давления.
4.11.2.5. Пригодность установки к работе проверяют по ликоподию (ГОСТ 22226), показатели взрыва которого должны быть равны: максимальное давление взрыва (620±85) кПа, нижний концентрационный предел (34±8) г·м-3, минимальное взрывоопасное содержание кислорода (10,2±1,0) % об.
4.11.3. Проведение испытаний
4.11.3.1. Готовят газовую смесь заданного состава отдельно в реакционном сосуде и в ресивере по парциальным давлениям компонентов (pк), вычисляемым по формуле (4).
B реакционном сосуде готовят газовую смесь с таким расчетом, чтобы общее давление газовой смеси превышало атмосферное не менее чем на 50 кПа. Затем сбрасывают избыточное давление через газоанализатор, определяя при этом содержание кислорода в реакционном сосуде.
В ресивере готовят газовую смесь с таким расчетом, чтобы общее давление газовой смеси превышало атмосферное не менее чем на 350 кПа. Затем сбрасывают избыточное давление через газоанализатор до начального давления распыления (pн), равного (300±10) кПа, определяя при этом содержание кислорода в ресивере. Различие концентрации кислорода в реакционном сосуде и ресивере не должно превышать 0,5 % об.
4.11.3.2. Взвешивают образец исследуемого вещества с погрешностью не более 0,01 г и помещают его в форкамеру.
4.11.3.3. Устанавливают на пульте управления продолжительность распыления образца. Включают источник зажигания и по выходу последнего на режим распыляют образец, фиксируя при этом изменение давления в реакционном сосуде и конечное давление (pк) в ресивере. После распыления образца определяют массу оставшегося в форкамере не распыленного вещества.
4.11.3.4. Очищают реакционный сосуд от остатков вещества и продуктов горения. Продувают реакционный сосуд, ресивер и трубопроводы воздухом.
4.11.3.5. Повторяют испытания с различными по массе образцами исследуемого вещества.
Примечание - Для подтверждения пламенного характера взрыва пылегазовых смесей, близких по составу к нижнепредельным, испытания проводят в стеклянном сосуде.
4.11.4. Оценка результатов
4.11.4.1. По результатам единичного испытания определяют наибольшие значения избыточного давления взрыва и концентрацию исследуемого вещества во взвеси по формулам:
; (5)
; (6)
, (7)
где pвзр, Dp - соответственно значения избыточного давления взрыва и максимального изменения давления в процессе единичного испытания, кПа;
pа- атмосферное давление, кПа;
p0 - размерный коэффициент, кПа;
rs - концентрация исследуемого вещества в реакционном сосуде для единичного испытания, кг×м3;
m - масса образца в единичном испытании, кг;
Vк , Vр - соответственно вместимость реакционного сосуда и ресивера, м3;
pн, pк - соответственно начальное и конечное давления в ресивере в процессе единичного испытания, кПа.
Примечание - Конечное давление в ресивере измеряют спустя 15-20 с после завершения процесса горения в реакционном сосуде до продувки ресивера воздухом.
4.11.4.2. Для определения максимального давления взрыва исследуемого вещества строят кривую зависимости давления взрыва (pвзр) от концентрации вещества (rs). Массу образца, соответствующую наибольшему из полученных значений pвзр, принимают за оптимальную (типичные значения оптимальных масс образца находятся в диапазоне от 1,5 до 5,0 г). Наибольшее из полученных значений давления взрыва принимают за максимальное давление взрыва исследуемого вещества.
4.11.4.3. За величину нижнего концентрационного предела распространения пламени пылевоздушной смеси исследуемого вещества принимают значение концентрации rs, соответствующее давлению взрыва 50 кПа на упомянутой в 4.11.4.2. зависимости.
4.11.4.4 Минимальное взрывоопасное содержание кислорода (
) определяют на образцах оптимальной массы, соответствующей
максимальному давлению взрыва (4.11.4.2.),
путем последовательного уменьшения содержания кислорода в газо-пылевоздушной
смеси. За значение
принимают среднее
арифметическое двух концентраций кислорода в смеси, различающихся не более чем
на 1 % об., при большем из которых наблюдается давление взрыва св. 50 кПа, а
при меньшем давление взрыва не превышает 50 кПа при шестикратном повторении
испытаний.
4.11.4.5. Значение минимальной флегматизирующей концентрации флегматизатора в пылевоздушных смесях (jф), % об. вычисляют по формуле
, (8)
где
- содержание водяного
пара в воздухе, % об., вычисляемое по формуле
, (9)
где E - относительная влажность воздуха, %;
- давление
насыщенного водяного пара, кПа.
4.11.4.6. Если в процессе испытаний пылевоздушных смесей максимальное давление взрыва не превышает 50 кПа, то исследуемое вещество можно отнести к взрывобезопасным только при условии, что оно является трудногорючим или негорючим по результатам определения группы горючести. Для горючих веществ в таком случае рекомендуется провести испытания в крупномасштабной взрывной камере вместимостью не менее 20 дм3 с использованием источника зажигания большей энергии и мощности (например, пиротехнического, с запасом химической энергии не менее 10 кДж).
4.11.4.7. Сходимость и воспроизводимость метода определения показателей взрыва пылевоздушных смесей при доверительной вероятности 95% не должна превышать значений, приведенных в табл. 8.
Таблица 8
|
Показатель взрыва пылевоздушных смесей |
Показатель точности, % |
|
|
|
сходимость |
воспроизводимость |
|
Максимальное давление взрыва |
14 |
23 |
|
Нижний концентрационный предел |
12 |
59 |
|
Минимальное взрывоопасное содержание кислорода |
10 |
11 |
|
Минимальная флегматизирующая концентрация флегматизатора |
13 |
14 |
4.11.4.8. Условия и результаты испытаний регистрируют в протоколе, форма которого приведена в приложении 1.
4.11.5. Требования безопасности
При испытаниях реакционный сосуд следует устанавливать в специальном шкафу, оборудованном вытяжной вентиляцией и обеспечивающем безопасность оператора в случае разрушения реакционного сосуда.
В процессе подготовки образцов для испытания следует применять индивидуальные средства защиты, выбираемые в соответствии со свойствами исследуемого вещества.
Рабочее место оператора должно удовлетворять требованиям электробезопасности по ГОСТ 12.1.019. и санитарно-гигиеническим требованиям по ГОСТ 12.1.005.
4.12. Метод экспериментального определения температурных пределов распространения пламени по паровоздушным смесям
Метод реализуется при температурах от минус 50 до 300°С и не применим для испытания полимеризующихся при нагревании, гидролизирующихся и быстро окисляющихся жидкостей, а также смесей, содержащих более 40 % воды.
4.12.1. Аппаратура
Прибор для определения температурных пределов распространения пламени включает в себя следующие элементы.
4.12.1.1. Реакционный сосуд (черт. 14) с тремя горловинами из термостойкого стекла наружным диаметром (65±2) мм и высотой до горловин (125±5) мм.

Черт. 14
1 - реакционный сосуд; 2 - зажигающее устройство; 3 - сбросной клапан; 4 - термоэлектрический преобразователь.
4.12.1.2. Зажигающее устройство, вырабатывающее искру мощностью (6±1) Дж за 1с при разрядном промежутке между электродами (5±1) мм. Электроды зажигающегося устройства выполнены в виде конуса и расположены в центре паровоздушного пространства.
Примечание - Для веществ, которые не воспламеняются от искрового источника зажигания, применяют спираль из нихромовой проволоки диаметром 0,3 мм и длиной 300 мм; внутренний диаметр спирали (5±1) мм. Температура накала спирали - 1000 - 1200°С, время выхода на рабочую температуру - не более 4 с.
4.12.1.3. Термоэлектрические преобразователи с максимальным диаметром рабочего спая не более 1 мм для измерения температуры исследуемой жидкости и паровоздушной смеси.
4.12.1.4. Термостат, обеспечивающий рабочую температуру от минус 50 до 300 °С.
4.12.1.5. Устройство для продувки реакционного сосуда воздухом.
4.12.2. Подготовка к испытаниям
4.12.2.1. Устанавливают соответствие исследуемой жидкости паспортным данным.
4.12.2.2. Рассчитывают предварительно температурные пределы распространения пламени по формулам, приведенным в приложении 6.
4.12.2.3. В зависимости от расчетных значений температурных пределов выбирают рабочую температуру для термостатирования реакционного сосуда с исследуемой жидкостью. Для первого испытания в термостате устанавливают температуру, которая должна быть при определении нижнего предела меньше его расчетного значения или значения температуры вспышки в закрытом тигле на 5 - 10 °С, а при определении верхнего предела - больше его расчетного значения на 10 - 15 °С.
4.12.2.4. В чистый сухой реакционный сосуд помещают (70±2) см3 исследуемой жидкости. В одну из горловин устанавливают искровой источник зажигания, искровой промежуток которого должен находиться в центре паровоздушного пространства. Во вторую горловину устанавливают два термоэлектрических преобразователя таким образом, чтобы рабочий спай одного из них находился в центре слоя жидкости, а рабочий спай другого - в центре паровоздушного пространства. Третья. горловина служит для сброса избыточного давления через клапан, масса которого не более 6 г. Затем реакционный сосуд помещают в термостат.
4.12.2.5. Пригодность прибора к работе проверяют по додекану (чистотой не менее 99,9 %), температурные пределы которого равны: нижний (79±5) °С, верхний (119±5) °С.
4.12.3. Проведение испытаний
4.12.3.1. При выбранной температуре испытания реакционный сосуд с исследуемой жидкостью термостатируют в течение 12 - 15 мин для установления термодинамического равновесия между жидкой и паровой фазами. При этом температуры жидкой и паровой фаз должны стабилизироваться, а их разность не должна, превышать 1 °С.
За температуру испытания принимают температуру жидкой фазы.
4.12.3.2. Проводят испытание на воспламенение, включая источник зажигания на 1с.
1.12.3.3 Результаты испытания на распространение пламени. оценивают визуально или с помощью датчика.
За воспламенение принимают распространение пламени по паровоздушной смеси от источника зажигания до верхней части реакционного сосуда.
4.12.3.4. Если при первом испытании на воспламенение получен отрицательный результат, то следующее испытание проводят при. температуре, увеличенной не более чем на 5°С для нижнего предела и уменьшенной не более чем на 5 °С для верхнего предела.
4.12.3.5. Если при первом испытании на воспламенение получен положительный результат, то следующее испытание проводят при температуре, уменьшенной не менее чем на 5 °С для нижнего предела и увеличенной не менее чем на 5 °С для верхнего предела.
Изменяя температуру исследуемой жидкости, находят два таких значения температуры с разницей не более 2 °С, при одном из которых происходит воспламенение, а при другом - отказ.
4.12.3.6. После каждого испытания на воспламенение независимо от его результатов реакционный сосуд продувают воздухом, обеспечивая кратность обмена воздуха в паровоздушном пространстве не менее трех.
4.12.3.7. Если исследуемая жидкость изменяет свои физические свойства или внешний вид, то последующие испытания необходимо проводить с новым образцом.
4.12.4. Оценка результатов
4.12.4.1. За температурный предел распространения пламени принимают среднее арифметическое не менее трех пар определений на воспламенение и отказ, полученных на трех образцах исследуемой жидкости.
4.12.4.2. Сходимость и воспроизводимость метода при доверительной вероятности 95 % не должны превышать значений, указанных в табл. 9.
Таблица 9
|
Вещество |
Допускаемые расхождения, °С |
|
|
сходимость |
воспроизводимость |
|
|
Химические органические вещества и нефтепродукты |
7 |
15 |
|
Технические смеси и реакционные массы |
9 |
20 |
4.12.4.3. Условия и результаты испытаний регистрируют в протоколе, форма которого приведена в приложении 1.
4.12.5. Требования безопасности
Прибор для определения температурных пределов распространения пламени следует устанавливать в вытяжном шкафу. Рабочее место оператора должно удовлетворять требованиям электробезопасности по ГОСТ 12.1.019. и санитарно-гигиеническим требованиям по ГОСТ 12.1.005.
4.13. Метод экспериментального определения температуры тления твердых веществ и материалов
Метод реализуется при температурах от 25 до 600 °С и не применим для испытания металлических порошков.
4.13.1. Аппаратура
Для определения температуры тления применяют прибор ОТП, описанный в 4.7.1.
4.13.2. Подготовка к испытаниям
4.13.2.1. Для испытаний готовят 10 - 15 образцов исследуемого вещества (материала) массой (3,0±0,1) г. Образцы ячеистых материалов должны иметь цилиндрическую форму диаметром (45±1) мм; в образце делают сквозное отверстие диаметром (20±1) мм со смещением от центра на (3,5±0,2) мм для ввода горелки.
Пленочные и листовые материалы набирают в стопку диаметром (45±1) мм, накладывая слои друг на друга до достижения указанной массы.
4.13.2.2. Перед испытанием образцы кондиционируют в соответствии с требованиями ГОСТ 12423 или технических условий на материал. Образцы должны характеризовать средние свойства исследуемого вещества (материала).
4.13.2.3. В зависимости от объема образца определяют с помощью шаблонов и фиксируют положение контейнера внутри камеры и расстояние между газовой горелкой и поверхностью образца.
4.13.2.4. Газовую горелку в данном методе используют как магистраль для принудительной подачи воздуха на образец. Для этого необходимо включить микрокомпрессор, обеспечивающий расход воздуха 0,7 л·мин-1 и полностью открыть вентиль расхода воздуха.
4.13.3. Проведение испытаний
4.13.3.1. Нагревают реакционную камеру до температуры начала разложения исследуемого вещества (материала) или до 300 °С.
4.13.3.2. Извлекают из реакционной камеры держатель с контейнером. За время не более 15с помещают образец в контейнер и вводят его в реакционную камеру. Опускают внутрь реакционной камеры горелку.
4.13.3.3. Если при температуре испытания образец тлеет (наблюдается свечение) более 5 с, то испытание прекращают, контейнер извлекают из камеры и освобождают от продуктов тления. Следующее испытание с новым образцом, проводят при меньшей температуре (например, на 50 °С меньше).
Если в течение 20 мин образец не тлеет, испытание прекращают и в протоколе отмечают отказ. Методом последовательных приближений определяют минимальную температуру, при которой за время выдержки в печи не более 20 мин наблюдается тление образца, а при температуре на 10 °С меньше тление отсутствует.
4.13.4. Оценка результатов
4.13.4.1. За температуру тления принимают среднее арифметическое значение двух температур, отличающихся не более чем на 10°С, при одной из которых наблюдается тление трех образцов, а при другой - три отказа. Полученное значение температуры округляют с точностью до 5 °С.
4.13.4.2 Сходимость метода при доверительной вероятности 95 % не должна превышать 7 °С.
4.13.4.3. Воспроизводимость метода при доверительной вероятности 95 % не должна превышать 20 °С.
4.13.1.4. Условия и результаты испытаний регистрируют в протоколе, форма которого приведена в приложении 1
4.13.5. Требования безопасности
Прибор для определения температуры тления следует устанавливать, в вытяжном шкафу. Рабочее место оператора должно удовлетворять требованиям электробезопасности по ГОСТ 12.1.019 и санитарно-гигиеническим требованиям по ГОСТ 12.1.005.
4.14. Метод экспериментального определения кислородного индекса пластмасс
Метод применим для испытания пластмасс, в том числе ячеистых плотностью не менее 100 кг·м-3, а также пластмасс в виде пленок и листов толщиной не более 10,5 мм, за исключением материалов с большой усадкой при высоких температурах.
Метод применяют в сертификационных и арбитражных целях для сравнительной оценки горючести пластмасс в определенных контролируемых условиях.
При разработке пластмасс пониженной горючести допускается использовать метод определения кислородного индекса по ГОСТ 21793.
4.14.1. Аппаратура
Установка для определения кислородного индекса включает в себя следующие элементы.

Черт. 15.
1 - вентиль предварительной регулировки; 2 - вентиль точной регулировки; 3 - смеситель; 4 - расходомер; 5 - реакционная камера; 6 - держатель образца; 7 - кислородный анализатор.
4.14.1.1. Реакционная камера представляющая собой термостойкую прозрачную трубу внутренним диаметром не менее 70 мм и высотой не менее 450 мм, установленная вертикально на основании.
На дно камеры монтируют приспособление для равномерного распределения газовой смеси, состоящее, например, из стеклянных или металлических шариков диаметром 3 - 5 мм, помещенных слоем высотой 80 - 100 мм.
4.14.1.2. Держатель образца для закрепления его в вертикальном положении в трубе. Рекомендуется применять: для жестких образцов - маленькие клещи, закрепляющие образец на расстоянии не менее 15 мм от самой нижней горящей точки образца; для гибких образцов - рамку, маркированную согласно 4.14.2.3. (черт. 16).
Все детали держателя не должны иметь острых кромок для лучшего обтекания газовым потоком.

Черт. 16.
4.14.1.3. Металлическое проволочное сито размером ячейки 1,0 - 1,6 мм, помещенное над шариками для улавливания падающих частиц.
4.14.1.4. Баллоны с газообразными кислородом и азотом (чистота которых должна быть не менее 98 %) или с очищенным воздухом при концентрации кислорода 20,9 % об.
Если результаты испытаний зависят от влажности газов, влажность каждого газа не должна превышать 0,1 % масс.
4.14.1.5. Система смешивания и регулировки газов перед поступлением в реакционную камеру, позволяющая изменять концентрацию кислорода с шагом не более 0.2 % об.
4.14.1.6. Средства измерения и контроля концентрации кислорода в газовой смеси с погрешностью не более 0,5 % об. и регулировки концентрации с погрешностью ±0,1 % об.
Рекомендуется применять: игольчатые клапаны на линиях отдельных газов и смеси газов; парамагнитный кислородный анализатор для непрерывного отбора пробы смеси; градуированные расходомеры (ротаметры); градуированные диафрагмы с манометрами.
4.14.1.7. Источник зажигания (например, горелка с диаметром наконечника (2±1) мм), обеспечивающий на пропане высоту пламени (16±1) мм и свободно входящий в
камеру через верхний открытый конец.
4.14.1.8. Секундомер с погрешностью измерения не более 1 с.
4.14.1.9. Приспособление для удаления сажи, дыма и тепла, обеспечивающее достаточное отсасывание без изменения потока газов в колонке или ее температуры.
Таблица 10
|
Стандартный материал |
Кислородный индекс в % об. для варианта зажигания |
|
|
А |
Б |
|
|
Полипропилен |
От 18,3 до 19,0 |
От 17,7 до 18,2 |
|
Меламин-формальдегид |
” 41,0 ” 43,6 |
” 39,6 ” 42,5 |
|
Полиметилметакрилат (толщиной 3 мм) |
” 17,3 ” 18,1 |
” 17,2 ” 18,0 |
|
Полиметилметакрилат (толщиной 10 мм) |
” 17,9 ” 19,0 |
” 17,5 ” 18,5 |
|
Фенольная пена (толщиной 10,5 мм) |
” 39,1 ” 40,7 |
” 39,6 ” 40,9 |
|
ПВХ-пленка толщиной 0,02 мм |
- |
” 22,4 ” 23,6 |
4.14.2. Подготовка образцов
4.14.2.1. Для испытания применяют не менее 15 образцов. Размеры образцов должны соответствовать указанным в табл. 11.
4.14.2.2. Края образцов должны быть гладкими.
На образцы типов 1 - 4 наносят метки на расстоянии 50 мм от конца образца, вступающего в контакт с источником зажигания, в случае варианта А и на расстоянии 10 и 60 мм в случае варианта Б зажигания.
Для образцов типа 5 метки наносят на держатель образца (или/и на образец) на расстоянии 20 и 100 мм от верхнего края.
4.14.2.4. В случае анизотропных материалов записывают расположение и ориентацию образцов в зависимости от осей анизотропии.
4.14.3. Проведение испытаний
4.14.3.1. Если нет других указаний, образцы перед испытанием кондиционируют не менее 88 ч в стандартной атмосфере 23/50 по ГОСТ 12423.
|
Тип |
Размер образца, мм |
Тип материала |
||
|
образца |
Длина |
Ширина |
Толщина |
|
|
1 |
|
|
4,00 ± 0,25 |
Материалы, обладающие стабильной формой |
|
2 |
От 80 до150 |
10±0,5 |
10,0 ± 0,5 |
Ячеистые материалы |
|
3 |
|
|
До 10,5 |
Листовые и пленочные материалы |
|
4 |
От 70 до 150 |
6,5 ± 0,5 |
3,00 ± 0,25 |
Материалы, обладающие стабильной формой, или листовые материалы для электротехнических устройств |
|
5 |
140,0 ± 0,5 |
52,0 ± 0,5 |
До 10,5 |
Гибкие листы и пленки |
|
Примечание - Результаты, полученные на образцах различных размеров, несопоставимы. |
||||
4.14.3.2. Время между изготовлением исследуемого материала и началом испытания должно быть не менее 72 ч.
4.14.3.3 Испытания проводят при температуре (23±2) °С.
4.14.3.4. В случае необходимости аппаратуру калибруют согласно п. 4.14.1.10.
4.14.3.5. Начальную концентрацию кислорода выбирают на основе опыта работы с материалами, аналогичными исследуемому. В противном случае один из приготовленных образцов сжигают на воздухе н наблюдают за горением. Устанавливают начальную концентрацию кислорода: около 18 % об., если образец горит быстро, около 21 % об., если образец горит медленно или неустойчиво; не менее 25 % об., если образец затухает.
4.14.3.7. Приборы для измерения давления и расхода газов регулируют так, чтобы газовый поток в колонке при температуре (23±2) °С с заданной концентрацией кислорода имел скорость (40±10) мм·с-1.
4.14.3.8. Систему продувают газовой смесью не менее 30 с перед испытанием и поддерживают концентрацию кислорода постоянной до конца испытания.
4.14.3.9. Зажигание образцов проводят в зависимости от типа образцов по одному из следующих вариантов.
Вариант А (для образцов типа 1 - 4).
Подводят самую нижнюю часть пламени горелки к верхней горизонтальной поверхности образца, медленно перемещая так, чтобы пламя покрывало ее полностью и не касалось вертикальных поверхностей или граней образца. Длительность воздействия пламени на образец составляет 30с с короткими перерывами через каждые 5с. Образец считают воспламененным, если после отвода горелки через 5с вся его верхняя часть горит.
Вариант Б (для образцов типа 5).
Наклоняют и подводят горелку так, чтобы высокотемпературная зона пламени покрыла верхнюю и вертикальные поверхности образца по длине около 6 мм. Длительность воздействия пламени на образец составляет 30с с короткими перерывами через каждые 5с или до момента, когда горение доходит до верхней метки на рамке.
4.14.3.10. После воспламенения образца включают секундомер и наблюдают за распространением горения.
4.14.3.11. Если горение прекращается и не возобновляется в течение 1с, то, выключив секундомер, определяют время горения и измеряют максимальную длину сгоревшей части образца.
Если хотя бы один из указанных показателей горения образца превосходит приведенные в табл. 12 критерии, то результат испытания записывают как X. В противном случае результат испытания записывают как 0.
Таблица 12
|
Тип образца |
Вариант зажигания |
Критерии |
|
|
Время горения после зажигания, с |
Длина сгоревшей части образца, мм |
||
|
1 |
А |
180 |
50 от верхнего торца образца |
|
2 |
|
|
|
|
3 |
180 |
50 ниже верхней метки |
|
|
4 |
|
|
|
|
5 |
Б |
180 |
80 ниже верхней метки (на рамке) |
4.14.3.12. По ходу испытания отмечают процессы, сопровождающие горение, такие как, например, падение частиц, обугливание, неравномерное горение, тление.
В случае необходимости очищают поверхность горелки и камеры. сито и приспособление для равномерного распределения газовой смеси.
4.14.3.14. При испытании последующего образца выбирают концентрацию кислорода таким образом, что:
уменьшают концентрацию кислорода, если для предыдущего образца записан X, или
увеличивают концентрацию кислорода, если записан 0.
4.14.3.15. Для определения предварительной концентрации кислорода повторяют этапы, указанные в 4.14.3.6. - 4.14.3.14., произвольно изменяя при этом концентрацию кислорода до получения пары концентраций, отличающихся друг от друга не более чем на 1 %, при одной из которых получен результат X. Из этой пары выбирают концентрацию, для которой получен результат 0.
Примечания:
1. Необязательно получить эту пару концентраций в двух последовательных определениях.
2. Концентрация кислорода, для которой записан X, должна превышать концентрацию, для которой записан 0.
4.14.3.16. Испытывают один образец, повторяя этапы, указанные в 4.14.3.6. - 4.14.3.13, при определенной по 4.14.3.15 величине концентрации кислорода и записывают результат.
4.14.3.17. Затем, выбирая изменения концентрации кислорода (d), равные 0.2 % об., испытывают ряд образцов. повторяя этапы, указанные в 4.14.3.6. - 4.14.3.14, до получения первого результата, противоположного полученному в 4.14.3.16.
4.14.3.18. Испытывают еще четыре образца согласно 4.14.3.6. - 4.14.3.14, поддерживая при этом d = 0,2 % об. и записывая концентрации кислорода и результаты. Записывают концентрацию кислорода для последнего образца (Ск) и вычисляют величину кислородного индекса.
4.14.4. Оценка результатов
4.14.4.1. Кислородный индекс (КИ) в % об. вычисляют по формуле
КИ = Ск + Kd (10)
где Ск - конечное значение концентрации кислорода, определенное согласно 4.14.3.18, округленное до десятичного знака. % об.;
d - разница между значениями концентрации кислорода, определенная согласно 4.14.3.16 - 4.14.3.17, % об.;
К - коэффициент, определяемый из табл. 13 согласно 4.14.4.2.
Кислородный индекс округляют до десятичного знака в сторону уменьшения.
4.14.4.2. Коэффициент К и его математический знак определяют из табл. 13 следующим образом: если для испытуемого по 4.14.3.16 образца получен ответ 0 и согласно 4.14.3.17 противоположный ответ будет X, из графы 2 табл. 13 выбирают строку, для которой последние четыре символа идентичны ответам, полученным по 4.14.3.18. Коэффициент К и его знак определяют на пересечении данной строки и одной из граф 2 - 5, для которой число символов 0 в строке п соответствует числу ответов 0, полученных по 4.14.3.16 и 4.14.3.17; если для испытуемого по 4.14.3.16 образца получен ответ Х и согласно 4.14.3.17 противоположный ответ будет 0, из графы 6 табл. 13 выбирают строку, для которой последние четыре символа идентичны ответам, полученным по 4.14.3.18. Коэффициент К определяют на пересечении данной строки и одной из граф 2 - 5, для которой число символов Х в строке б соответствует числу ответов X, полученных по 4.14.3.16 и 4.14.3.17.
|
Ответы последних 5 образцов по 4.14.3.18 |
|
||||
|
(а) 0 |
00 |
000 |
0000 |
||
|
1 |
2 |
3 |
4 |
5 |
6 |
|
1. Х0000 |
- 0,55 |
- 0,55 |
- 0,55 |
- 0,55 |
0ХХХХ |
|
2. Х000Х |
- 1,25 |
- 1,25 |
- 1,25 |
- 1,25 |
0ХХХ0 |
|
3. Х00Х0 |
0,37 |
0,38 |
0,38 |
0,38 |
0ХХ0Х |
|
4. Х00ХХ |
- 0,17 |
- 0,14 |
- 0,14 |
- 0,14 |
0ХХ00 |
|
5. Х0Х00 |
0,02 |
0,04 |
0,04 |
0,04 |
0Х0ХХ |
|
6. Х0Х0Х |
- 0,50 |
- 0,46 |
- 0,45 |
- 0,45 |
0Х0Х0 |
|
7. Х0ХХ0 |
1,17 |
1,24 |
1,25 |
1,25 |
0Х00Х |
|
8. Х0ХХХ |
0,61 |
0,73 |
0,76 |
0,76 |
0Х000 |
|
9. ХХ000 |
- 0,30 |
- 0,27 |
- 0,26 |
- 0,26 |
00ХХХ |
|
10. ХХ00Х |
- 0,83 |
- 0,76 |
- 0,75 |
- 0,75 |
00ХХ0 |
|
11. ХХ0Х0 |
0,83 |
0,94 |
0,95 |
0,95 |
00Х0Х |
|
12. ХХ0ХХ |
0,30 |
0,46 |
0,50 |
0,50 |
00Х00 |
|
13. ХХХ00 |
0,50 |
0,65 |
0,68 |
0,68 |
000ХХ |
|
14. ХХХ0Х |
- 0,04 |
0,19 |
0,24 |
0,25 |
000Х0 |
|
15. ХХХХ0 |
1,60 |
1,92 |
2,00 |
2,00 |
0000Х |
|
16. ХХХХХ |
0,89 |
1,33 |
1,47 |
1,50 |
00000 |
|
|
(б) Х |
ХХ |
ХХХ |
ХХХХ |
Ответы для последних 5 |
|
Значения [ - K] для первых испытаний по 4.14.3.16 и 4.14.3.17. |
образцов по 4.14.3.18 |
||||
4.14.4.3. За результат испытания принимают значение кислородного индекса, определенного по 4.14.4.1, если стандартное отклонение удовлетворяет соотношению
, (11)
где
- оценка стандартного
отклонения концентрации кислорода, вычисляемая для последних шести испытаний по
формуле
=
, (12)
где Vi - последовательные значения концентрации кислорода, полученные в последних шести испытаниях;
n = 6.
Если условие неравенства (11)
не выполняется и ![]()
, то повторяют испытания с увеличенным значением d до тех пор, пока не выполнится условие (11). Если ![]()
, то повторяют испытания с уменьшенным значением d до тех пор, пока не выполнится условие (11) (при этом d не должно быть менее
0,2 % об.).
4.14.4.4. Сходимость метода при доверительной вероятности 95 % не должна превышать 0,5 % об.
4.14.4.5. Воспроизводимость метода при доверительной вероятности 95 % не должна превышать 1,4 % об.
4.14.4.6. Условия и результаты испытаний регистрируют в протоколе, форма которого приведена в приложении 1.
4.14.5. Требования безопасности
Установку для определения кислородного индекса следует помещать в вытяжной шкаф или под вытяжной зонт, обеспечивающий удаление газообразных продуктов горения без изменения скорости потока в реакционной камере. Рабочее место оператора должно удовлетворять санитарно-гигиеническим требованиям по ГОСТ 12.1.005.
4.15. Метод экспериментального определения способности взрываться и гореть при взаимодействии с водой, кислородом воздуха и другими веществами
4.15.1. Аппаратура
Аппаратура, применяемая для определения способности веществ взрываться и гореть при взаимодействии с водой, кислородом воздуха и друг с другом включает в себя следующие элементы.
4.15.1.1. Термостат (электрический сушильный шкаф) вместимостью не менее 2 дм3 с терморегулятором, позволяющим поддерживать постоянную температуру рабочей зоны в диапазоне 25 - 100°С с погрешностью не более 1 °С.
4.15.1.2. Термоэлектрические преобразователи среднеинерционныe.
4.15.1.3. Реакционные сосуды из коррозионно-стойкого материала (например, фарфоровые тигли диаметром 50 мм).
4.15.2. Проведение испытаний
4.15.2.1. Устанавливают соответствие исследуемых веществ паспортным данным.
4.15.2.2. Предварительные испытания веществ на способность взрываться и гореть при взаимодействии друг с другом проводят путем контакта капли, кристаллика или небольшого количества порошкообразного вещества с таким же количеством другого вещества или подачей нескольких капель одного вещества на избыточное количество (до 1 см3) другого вещества.
Если при этом происходит энергичное взаимодействие (взрыв или самовоспламенение) веществ, то такие вещества являются несовместимыми.
4.15.2.3. Если при контакте малых количеств веществ не происходит активного взаимодействия, то в последующих испытаниях исследуют двухкомпонентные смеси испытуемых веществ в соотношении 10:10, 2:18 и 18:2 см3 (общим объемом 20 см3).
4.15.2.4. Образцы исследуемых веществ помещают в отдельные реакционные сосуды, устанавливают их в термостат с заданной температурой испытания и выдерживают в течение (40±10) мин до выравнивания температур исследуемых веществ и рабочей зоны термостата (оценивается по показаниям термоэлектрических преобразователей: два из которых измеряют температуры в центре образцов исследуемых веществ, третий - температуру рабочей зоны термостата).
4.15.2.5. За температуру испытания принимают показания термоэлектрического преобразователя, измеряющего температуру рабочей зоны термостата.
4.15.2.6. После выравнивания температур образцов и рабочей зоны термостата, разница между которыми не должна превышать 3 °С, смешивают исследуемые вещества в одном из реакционных сосудов.
4.15.2.7. Испытание веществ на способность взрываться и гореть при взаимодействии друг с другом длится не менее 2 ч.
4.15.2.8. Для каждой смеси проводят по три испытания при каждой из температур: 25, 50 и 100 °C.
Температура испытания не должна быть равной температуре изменения агрегатного состояния вещества.
4.15.3. Оценка результатов
4.15.3.1. Если за время не менее 2 ч температура смеси в каждом испытании увеличится не более чем на 5 °С, то вещества считают совместимыми с точки зрения пожарной безопасности и допускается их совместное хранение.
4.15.3.2. Если температура смеси твердых веществ хотя бы в одном испытании увеличится более чем на 5 °С, то для окончательного вывода о совместимости веществ определяют условия теплового самовозгорания данной смеси.
В случае выявления способности данной смеси к тепловому самовозгоранию считают недопустимым совместное хранение исследуемых веществ.
4.15.3.3 Условия и результаты испытаний регистрируют в протоколе, форма которого приведена в приложении 1.
4.15.4. Требования безопасности
Взаимодействие некоторых веществ может быть бурным или даже взрывоопасным, поэтому при проведении испытаний необходимо соблюдать особую осторожность и руководствоваться соответствующей документацией по технике безопасности, утвержденной в установленном порядке.
Термостат следует устанавливать в вытяжном шкафу. Рабочее место оператора должно удовлетворять санитарно-гигиеническим требованиям по ГОСТ 12.1.005.
4.16. Метод экспериментального определения скорости выгорания жидкостей
Метод не применим для испытания жидкостей с кинематической вязкостью более 1,5·10-3 м2·с-1 при 20 °С, давлением насыщенного пара более 19,9 кПа при 20 °С, а также жидкостей, образующих на поверхности при горении твердые продукты реакции.
4.16.1. Аппаратура
Установка для определения массовой скорости выгорания жидкостей (черт. 17) включает в себя следующие элементы.

Черт. 17.
1 - основание; 2 - блок горелок; 3 - горелка; 4 - сетчатое ограждение; 5 - теплоизолирующий экран с передвижными шторками; 6 - уровнемер; 7 - заправочная емкость; 8 - верхняя крышка; 9 - винт; 10 - штуцер; 11, 18 - гибкие шланги; 12 - измерительный блок; 13 - трубка; 14 - смотровое окно; 15, 19 - стаканы; 16 - трехходовой кран; 17 - нижняя крышка.
4.16.1.1. Набор горелок внутренним диаметром 10,0+0,1, 15,0+0,1, 18,00+0,15, 20,00+0,15, 25,0+0,2, 30,00+0,25, 40,00+0,25, 50,00+0,25, 60,0+0,3 мм, высотой (50,0±0,5) мм, толщиной стенки 0,5-0,1 мм, выполненных из стали марки 12Х18Н9Т по ГОСТ 5632.
4.16.1.2. Блок горелок, служащий для закрепления горелки в рабочем положении, сбора пролитой жидкости в стакан и установки сетчатого ограждения.
4.16.1.3. Сетчатое ограждение высотой (300±2) мм и диаметром (200±2) мм, изготовленное из металлической сетки с размером ячеек от 0,25 до 0,50 мм, предназначено для исключения воздействия потоков воздуха приточно-вытяжной вентиляции на процесс горения.
4.16.1.4. Заправочная емкость высотой 250 мм, внутренним диаметром 45 мм, герметично закрытая торцевыми крышками, выполнена из нержавеющей стали и служит для поддержания постоянного уровня исследуемой жидкости в горелке. Заполнение емкости жидкостью производят через отверстие в верхней крышке. Заправочная емкость соединена с измерительным блоком гибким шлангом. По вмонтированной в верхнюю крышку трубке в заправочную емкость поступает воздух из атмосферы. Контроль за работой установки осуществляют визуально через смотровое окно по поступлению пузырьков воздуха в заправочную емкость.
Примечание - Допускается в качестве заправочной емкости применять стеклянный сосуд таких же размеров.
4.16.1.5. Двойной теплоизолирующий экран высотой 460 мм, шириной 230 мм, расположенный между блоком горелок и заправочной емкостью, снабжен передвижными шторками, закрывающими отверстие, через которое проходит соединительный шланг от нижней крышки заправочной емкости к горелке.
4.16.1.6. Измерительный блок для преобразования изменения давления в верхней части заправочной емкости, пропорционального массе выгоревшей жидкости, в электрический сигнал. Запись сигнала осуществляют электронным потенциометром класса точности не ниже 0,5, ширина диаграммной ленты - не менее 250 мм. Измерительный блок должен фиксировать потерю массы (2·10-6 - 1,5·10-4) кг·с-1 и иметь градуировочный коэффициент при максимальной чувствительности не ниже 8,5 мм·г-1.
4.16.1.7. Установку следует считать подготовленной к работе и состояние проведения испытаний удовлетворительным, если полученное значение массовой скорости выгорания стандартного вещества этил ацетата (ГОСТ 22300) на горелке диаметром 30 мм составляет (296±25)· 10-4 кг·м-2·с-1.
4.16.2. Проведение испытаний
4.16.2.1. Устанавливают соответствие исследуемой жидкости паспортным данным. Перед началом испытания жидкость должна иметь температуру (20±3) °С.
4.16.2.3. В соответствии с инструкцией по эксплуатации установки определяют градуировочный коэффициент R измерительной системы, который представляет собой отношение отклонения показаний измерительного прибора к соответствующей ему потере массы жидкости в горелке.
4.16.2.4. Заполняют заправочную емкость исследуемой жидкостью и проверяют работу установки по 4.16.2.2. Если исследуемая жидкость имеет давление пара выше допустимого, наблюдаются явления, подобные случаю нарушения герметичности заправочной емкости.
4.16.2.5. Определяют массовую скорость выгорания жидкости, для чего соединяют заправочную емкость с горелкой, установив уровень жидкости в горелке на высоте ее среза. В зависимости от принятого метода определения скорости выгорания (4.17.2 или 4.17.3) проводят эксперименты на одной горелке или последовательно на горелках разного диаметра. Зажигают жидкость в горелке открытым пламенем или электрической спиралью. Устанавливают сетчатое ограждение и включают регистрирующий прибор.
4.16.2.6. Если при разгорании жидкость вскипает или, расширяясь, переливается через край горелки, то необходимо произвести плавную корректировку уровня жидкости в горелке, понизив его на минимальное расстояние, позволяющее устранить перечисленные выше эффекты.
4.16.2.7. В протоколе испытаний фиксируют ламинарный или переходный режим горения жидкости. Ламинарное горение обычно наблюдается в горелках диаметром менее 20 мм и характеризуется отсутствием колебаний и закручивания пламени. Пульсирующее горение следует квалифицировать как переходное.
4.16.2.9. Проводят еще два параллельных испытания на той же горелке согласно 4.16.2.4 - 4.16.2.8.
4.16.3. Оценка результатов
4.16.3.1. Массовую скорость выгорания каждого испытания (mi) в кг·м-2·c-1 вычисляют по формуле
, (13)
где w - скорость движения диаграммной ленты, мм·с-1;
D l - проекция прямолинейного участка диаграммы на ось абсцисс, мм;
d - внутренний диаметр горелки, мм;
R - градуировочный коэффициент, мм·г-1;
Dt - проекция прямолинейного участка диаграммы на ось ординат, мм.
Вычисления проводят с точностью до 4-го знака после запятой.
4.16.3.2. Вычисляют среднее
арифметическое значение скорости выгорания (
i) по результатам, полученным при испытании исследуемой
жидкости на горелке данного диаметра.
4.16.3.3. За скорость выгорания исследуемой жидкости принимают скорость выгорания в турбулентном режиме, вычисляемую по формуле (24).
4.16.3.4. Сходимость метода при доверительной вероятности 95 % не должна превышать 15 %.
4.16.3.5. Воспроизводимость метода при доверительной вероятности 95 % не должна превышать 23 %.
4.16.3.6. Условия и результаты испытаний регистрируют в протоколе, форма которого приведена в приложении 1.
4.16.4. Требования безопасности
Установку для определения скорости выгорания жидкости следует помещать в вытяжной шкаф. При работе с токсичными веществами необходимо применять соответствующие индивидуальные средства защиты. Рабочее место оператора должно удовлетворять требованиям электробезопасности по ГОСТ 12.1.019 и санитарно-гигиеническим требованиям по ГОСТ 12.1.005.
4.17. Методы расчета скорости выгорания жидкостей
4.17.1. Если известны параметры состояния исследуемой жидкости, входящие в формулы (14) - (23), то в зависимости от имеющихся данных скорость выгорания (m) в любом режиме горения можно вычислить, не проводя экспериментальных исследований, по формулам:
; (14)
; (15)
; (16)
где M - безразмерная скорость выгорания;
m - динамическая вязкость паров жидкости при температуре кипения, Н·с·м-2;
r - плотность паров жидкости при температуре кипения, кг·м-3;
n - кинематическая вязкость паров жидкости при температуре кипения, м2·с-1; если величина n неизвестна, то ее вычисляют по формуле
;
(17)
MF - молекулярная масса жидкости, кг·моль-1;
d - характерный размер зеркала горящей жидкости, м. Определяется как корень квадратный из площади поверхности горения; если площадь горения имеет форму окружности, то характерный размер равен ее диаметру. При расчете скорости турбулентного горения можно принять d = 10 м;
Тк - температура кипения жидкости, К.
Порядок расчета следующий.
4.17.1.1. Определяют режим горения по величине критерия Галилея Ga, вычисляемого по формуле
, (18)
где g - ускорение свободного падения, м·с-2.
4.17.1.2. В зависимости от режима горения вычисляют безразмерную скорость выгорания М. Для ламинарного режима горения:
;
, (19)
Для переходного режима горения:
если
, то
, (20)
если
, то
, (21)
Для турбулентного режима горения:
;
, (22)
где
;
;
M0 - молекулярная масса кислорода, кг·моль-1;
n0 - стехиометрический коэффициент кислорода в реакции горения;
nF - стехиометрический коэффициент жидкости в реакции горения.
Примечание
- При Ga
< 4,8·108 для ароматических углеводородов A = 1,45 при
и A = 3,40s - 1,56 при s > 0,9.
B - безразмерный параметр, характеризующий интенсивность массопереноса, вычисляемый по формуле
, (23)
где Q - низшая теплота сгорания жидкости, кДж·кг-1;
-
безразмерное значение массы кислорода, необходимого для сгорания 1 кг жидкости;
c - изобарная теплоемкость продуктов горения ( принимается равной теплоемкости воздуха c = 1), кДж·кг-1·К-1;
T0 - температура окружающей среды, принимаемая равной 293 К;
H - теплота парообразования жидкости при температуре кипения, кДж·кг-1 ;
ce - средняя изобарная теплоемкость жидкости в интервале от T0 до Tк.
4.17.2. Если известны кинематическая вязкость пара или молекулярная масса и температура кипения исследуемой жидкости, то скорость турбулентного горения вычисляют с использованием экспериментальных данных по формуле
,
(24)
где mi - экспериментальное значение скорости выгорания в переходном режиме горения, полученное по 4.16.2.5 - 4.16.3.2, кг·м--2·с-1;
di - диаметр горелки, в которой получено значение mi, м. Рекомендуется использовать горелку диаметром 30 мм. Если в горелке диаметром 30 мм наблюдается ламинарный режим горения, следует применять горелку большего диаметра.
Относительная погрешность расчета по формулам (16) и (24) не превышает 21 %.
4.17.3.1. Находят скорость выгорания жидкости в горелках диаметром 10, 15, 18, 20. 25 и 30 мм согласно 4.16.2.5 - 4.16.3.2. Полученные результаты заносят в табл. 14.
4.17.3.2. Вычисляют среднее арифметическое значение (md), л, для всех испытаний в которых наблюдалось ламинарное горение.
Примечание
- Обычно значения
в условиях ламинарного горения близки по значению или
монотонно убывают с увеличением диаметра горелки. Для переходного режима
горения характерно возрастание значений
.
Таблица 14
|
Диаметр горелки, di, м |
Скорость выгорания |
Режим горения (визуальное наблюдение) |
|
|
|
|
|
|
|
|
4.17.3.3. Результаты испытаний,
относящиеся к переходному режиму горения, заносят в табл. 15 в виде функций
,
, ![]()
, с точностью до
четвертого знака после запятой.
Количество экспериментальных точек должно быть не менее трех, в противном случае проводят дополнительные эксперименты согласно 4.16.2.5 - 4.16.3.2 в горелках диаметром более 30 мм.
|
№ п/п (i) |
|
|
|
|
|
|
|
|
|
|
Вычисляют по столбцам табл. 15
,
,
,
, и средние значения
,
,
где n - число экспериментальных точек, относящихся к переходному режиму горения.
4.17.3.4. Вычисляют параметры а и b по формулам:
,
(25)
. (26)
4.17.3.5. Определяют кинематическую вязкость паров исследуемой жидкости (n) по формуле
. (27)
Скорость выгорания вычисляют по формуле (24).
Относительная погрешность метода оценки по 4.17.3.1 - 4.17.3.5 - не более 30 %.
4.18. Метод экспериментального определения коэффициента дымообразования твердых веществ и материалов
4.18.1. Аппаратура
Установка для определения коэффициента дымообразования (черт. 18) включает в себя следующие элементы.

Черт. 18
1 - камера сгорания; 2 - держатель образца; 3 - окно из кварцевого стекла; 4, 7 -клапаны продувки; 5 - приемник света; 6 - камера измерений; 8 - кварцевое стекло; 9 - источник света; 10 - предохранительная мембрана; 11 - вентилятор: 12 - направляющий козырек; 13 - запальная горелка: 14- вкладыш; 15 -электронагревательная панель.
4.18.1.1. Камера сгорания вместимостью 3·10-3 м3, выполненная из нержавеющей стали. Внутренняя поверхность камеры теплоизолирована асбосилитовыми плитами
толщиной 20 мм и покрыта алюминиевой фольгой толщиной 0,2 мм. В камере сгорания установлены электронагревательная панель и держатель образца. Электронагревательную панель размерами (120х120) мм монтируют на верхней стенке камеры под углом 15° к горизонтали. Электроспираль панели изготавливается из проволоки марки Х20Н80-Н (ГОСТ 12766.1) диаметром 0,8 - 1,0 мм.
Держатель образца размерами (100х100х20) мм крепят на дверце камеры сгорания. В держателе установлен вкладыш из асбосилита размерами (92х92х20) мм, в центре которого имеется углубление для размещения лодочки с образцом (углубление во вкладыше должно быть таким, чтобы нагреваемая поверхность образца находилась на расстоянии 60 мм от электронагревательной панели).
Над держателем образца установлена запальная газовая горелка, представляющая собой трубку из нержавеющей стали внутренним диаметром 1,5 - 2,0 мм.
В камере сгорания имеются верхнее и нижнее отверстия сечением (30х160) мм, соединяющие ее с камерой измерений.
4.18.1.2. Камера измерений размерами (800х800х800) мм, изготовленная из нержавеющей стали, имеет в верхней стенке отверстия для возвратного клапана продувки, источника света и предохранительной мембраны. На боковой стенке камеры установлен вентилятор с частотой вращения 5 с-1. На передней стенке камеры имеется дверца с уплотнением из мягкой резины по периметру. В днище камеры должны быть отверстия для приемника света и возвратного клапана продувки.
4.18.1.3. Фотометрическая система, состоящая из источника и приемника света. Источник света (гелий-неоновый лазер мощностью 2 - 5 мВт) крепят на верхней стенке камеры измерений, приемник света (фотодиод) расположен в днище камеры. Между источником света и камерой измерений устанавливают защитное кварцевое стекло, нагреваемое электроспиралью до температуры 120 - 140 °С.
Фотометрическая система должна обеспечивать измерение светового потока в рабочем диапазоне светопропускания от 2 до 90 % с погрешностью не более 10%.
4.18.2. Подготовка образцов
4.18.2.1. Для испытаний готовят 10 - 15 образцов исследуемого материала размером (40х40) мм и фактической толщиной, но не более 10 мм (для образцов пенопластов допускается толщина до 15 мм). Лакокрасочные и пленочные покрытия испытывают нанесенными на ту же основу, которая принята в реальной конструкции. Если область применения лаков и красок неизвестна, то их испытывают нанесенными на алюминиевую фольгу толщиной 0,2 мм.
4.18.2.2. Подготовленные образцы перед испытаниями выдерживают при температуре (20±2) °С не менее 48 ч, затем взвешивают с погрешностью не более 0,01 г. Образцы должны характеризовать средние свойства исследуемого материала.
4.18.2.3. Проверку режимов работы установки проводят с помощью стандартного образца, описание которого приведено в приложении 9. При этом значения коэффициента дымообразования (Dm) должно быть в пределах:
режим тления (без инициирующего пламени) Dm = (360±20) м2·кг-1;
режим горения (с инициирующим пламенем) Dm = (120±8) м2·кг-1.
4.18.3. Проведение испытаний
4.18.3.1. Испытание образцов проводят в двух режимах: в режиме тления и в режиме горения с использованием газовой горелки (длина пламени горелки 10 - 15 мм).
4.18.3.2. Включают электропитание установки в таком режиме, чтобы плотность теплового потока, падающего на образец, составляла 35 кВт·м-2. Контролируют плотность падающего теплового потока с помощью теплоприемника типа Гордона с погрешностью не более 8 %.
4.18.3.3. Включают источник и приемник света. Устанавливают начальное значение светопропускания, соответствующее верхнему пределу измерений регистрирующего прибора и принимаемому за 100%.
4.18.3.4. Подготовленный образец помещают в лодочку из нержавеющей стали. Открывают дверцу камеры сгорания и без задержки устанавливают лодочку с образцом в держатель, после чего дверцу закрывают.
4.18.3.5 Испытание прекращают при достижении минимального значения светопропускания.
В случае, когда минимальное значение светопропускания выходит за пределы рабочего диапазона или находится вблизи его границ, допускается уменьшать длину пути луча света (расстояние между источником и приемником света) либо изменять размеры образца.
При испытаниях в режиме тления образцы не должны самовоспламеняться. В случае самовоспламенения образца последующие испытания проводят при уменьшенном на 5 кВт·м-2 значении плотности теплового потока. Плотность теплового потока снижают до тех пор, пока не прекратится самовоспламенение образца во время испытания.
4.18.3.6. По окончании испытания лодочку с остатками образца вынимают из камеры сгорания. Установку вентилируют в течение 3 - 5 мин, но не менее чем требуется для достижения исходного значения светопропускания в камере измерений.
Примечание - В случае, когда не достигается начальное значение светопропускания, защитные стекла фотометрической системы протирают тампоном из мягкой ткани, слегка смоченным этиловым спиртом.
4.18.3.7. В каждом режиме испытывают по пять образцов.
4.18.4. Оценка результатов
4.18.4.1 Коэффициент дымообразования (Dm) в м2·кг-1 вычисляют по формуле
;
(28)
где V - вместимость камеры измерения, м3;
L - длина пути луча света в задымленной среде, м;
m - масса образца, кг;
Т0 , Tmin - соответственно значения начального и конечного светопропускания, %.
4.18.4.2. Для каждого режима испытаний определяют коэффициент дымообразования как среднее арифметическое по результатам пяти испытаний.
За коэффициент дымообразования исследуемого материала принимают большее значение коэффициента дымообразования, вычисленное для двух режимов испытания.
4.18.4.3. Сходимость и воспроизводимость метода при доверительной вероятности 95 % не должна превышать 15 %.
4.18.4.4. Условия и результаты испытаний регистрируют в протоколе, форма которого приведена в приложении 1.
4.18.5. Требования безопасности
Установку для определения коэффициента дымообразования необходимо помещать в вытяжной шкаф. Рабочее место оператора должно удовлетворять требованиям электробезопасности по ГОСТ 12.1.019 и санитарно-гигиеническим требованиям по ГОСТ 12.1.005.
4.19. Метод экспериментального определения индекса распространения пламени
4.19.1. Аппаратура
Установка для определения индекса распространения пламени (черт. 19) включает в себя следующие элементы.

Черт. 19.
1 - стойка; 2 - электрическая радиационная панель; 3 - рамка держателя образца; 4 - вытяжной зонт; 5 - запальная горелка.
4.19.1.1. Электрическая радиационная панель, состоящая из керамической плиты, в пазы которой уложены спирали из проволоки марки Х20Н80-Н. Параметры спиралей (диаметр, шаг намотки, электрическое сопротивление) должны быть такими, чтобы при равномерном распределении спиралей по поверхности керамической плиты суммарная потребляемая мощность не превышала 8 кВт. Керамическая плита закреплена в теплоэлектроизолированном корпусе, имеющем отверстия для крепления к стойке прибора и колодку подключения электрического питания. Для увеличения мощности инфракрасного излучения и уменьшения влияния потоков воздуха перед керамической плитой установлена сетка из жаропрочной стали.
4.19.1.2. Держатель образца, состоящий из подставки и рамки. Рамку закрепляют на подставке так, чтобы плоскость образца материала, установленного в ней, была наклонена под углом 30° от вертикали в сторону радиационной панели. Держатель образца устанавливают так, чтобы расстояние от края образца, ограниченного рамкой, до сетки радиационной панели составляло 70 мм.
Боковая поверхность рамки имеет контрольные деления через каждые (30±1) мм, пронумерованные от нулевого до девятого.
4.19.1.3. Вытяжной зонт размерами (360х360х700) мм, установленный над держателем образца, служит для сбора и удаления продуктов горения.
4.19.1.4. Термоэлектрический преобразователь диаметром электродов 0,5 мм для замера температуры продуктов горения в центре сечения суженной части вытяжного зонта.
4.19.1.5 Запальная горелка, установленная перед радиационной панелью таким образом, чтобы расстояние от трубки горелки, находящейся напротив середины нулевого участка, до поверхности испытываемого образца составляло (8±1) мм, а оси пяти отверстий были ориентированы по нормали к поверхности образца. Для стабилизации запального пламени горелка имеет однослойный чехол из металлической сетки.
В положении «контроль» горелку выводят за край рамки.
4.19.1.6. Блок питания, состоящий из двух регуляторов напряжения с максимальным током нагрузки не менее 20А и регулируемым выходным напряжением от 0 до 240 В.
4.19.1.7. Секундомер с погрешностью измерения не более 1с.
4.19.2. Подготовка к испытаниям
4.19.2.1. Для испытаний готовят 5 образцов исследуемого материала длиной (320±2) мм, шириной (140±2) мм. фактической толщиной, но не более 20 мм. Отделочные и облицовочные материалы, а также .лакокрасочные и пленочные покрытия испытывают нанесенными на ту же основу, которая принята в реальной конструкции.
4.19.2.2. Образцы кондиционируют в лабораторных условиях не менее 48 ч. Они должны характеризовать средние свойства исследуемого материала.
4.19.2.4. Устанавливают перед радиационной панелью в рабочее положение держатель образца с закрепленной асбоцементной плитой, в первом контрольном отверстии которой находится датчик теплового потока.
4.19.2.5. Нагревают радиационную панель, обеспечивая плотность теплового потока в стационарном режиме для первой контрольной точки (32±3) кВт·м-2. Плотность теплового потока контролируют датчиком типа Гордона с погрешностью не более ±8%.
Примечание - Считают, что радиационная панель вышла на стационарный режим, если показания датчика теплового потока достигают заданной величины и остаются неизменными в течение 15 мин.
4.19.2.6. Перестановкой датчика в следующие контрольные отверстия асбоцементной плиты регистрируют профиль падающего теплового потока вдоль поверхности образца. Во второй и третьей точках он должен быть равен соответственно (20±3) и (12,0±1,5) кВт·м-2.
4.19.2.7. По окончании замеров уровней тепловых потоков датчик снимают и приступают к определению теплового коэффициента установки (b), характеризующего количество тепла, подводимого к поверхности образца в единицу времени и необходимого для повышения температуры дымовых газов на 1 °С. Для этого перед асбоцементной плитой устанавливают щелевую калибровочную газовую горелку. Переводят в рабочее положение и включают запальную газовую горелку, регистрируя через 15 мин горения температуру (t0) в вытяжном зонте. Затем зажигают щелевую калибровочную горелку, регулируя подачу газа с расходом (0,030 ± 0,001) л·с-1. Через 10 мин горения регистрируют температуру (t1) в вытяжном зонте.
Тепловой коэффициент установки (b) вычисляют по формуле
, (29)
где q - удельная теплота сгорания газа, кДж·л-1;
Q - расход газа запальной горелки, л·с-1.
В качестве теплового коэффициента установки принимают среднее арифметическое результатов пяти калибровочных испытании.
4.19.2.8. Проверку режимов работы установки проводят с помощью стандартного образца, описание которого приведено в приложении 10. Индекс распространения пламени стандартного образца должен быть 18,4±1,5.
4.19.3. Проведение испытаний
4.19.3.1. Перед проведением каждого испытания контролируют плотность теплового потока в первой контрольной точке по 4.19.2.3 - 4.19.2.5.
4.19.3.2. Подготовленный к испытаниям образец материала устанавливают в держатель и на поверхность образца наносят риски с шагом (30±1) мм.
Примечание - Материалы толщиной менее 10 мм испытывают с подложкой из асбоцементной плиты размерами (320х140х10) мм.
4.19.3.3. Зажигают запальную горелку и переводят ее в рабочее положение.
4.19.3.4. Заменяют держатель образца, используемый для контроля тепловых потоков, на держатель с исследуемым образцом за время не более 30 с.
4.19.3.5. Испытание длится до момента прекращения распространения пламени по поверхности образца. В процессе испытания определяют:
время от начала испытания до момента прохождения фронтом пламени нулевой отметки, t0, с;
время прохождения фронтом пламени i-го участка поверхности образца (i = l, 2, ...9) ti , с;
расстояние l, на которое распространился фронт пламени, мм;
максимальную температуру дымовых газов tmax °С;
время от начала испытания до достижения максимальной температуры tmax, с.
4.19.4 Оценка результатов
4.19.4.1 Для каждого образца вычисляют индекс распространения пламени (I) по формуле
,
(30)
где 0,0115 - размерный коэффициент, Вт-1;
0,2 - размерный коэффициент, см·м-1.
Среднее арифметическое значение индекса 5 испытанных образцов принимают за индекс распространения пламени исследуемого материала.
4.19.4.2. Сходимость и воспроизводимость метода при доверительной вероятности 95 % не должна превышать 25 %.
1.19.4.3. Условия и результаты испытаний регистрируют в протоколе, форма которого приведена в приложении 1.
4.19.5 Требования безопасности
Во время испытаний материалов и тарировки установки следует включать принудительную вентиляцию помещения, при этом скорость воздушного потока не должна быть более 0,35 м·с-1. Рабочее место оператора должно удовлетворять требованиям электробезопасности по ГОСТ 12.1.019 и санитарно-гигиеническим требованиям по ГОСТ 12.1.005.
4.20. Метод экспериментального определения показателя токсичности продуктов горения полимерных материалов
4.20.1. Аппаратура
Установка для определения показателя токсичности (черт. 20) включает в себя следующие элементы.

Черт. 20.
1 - камера сгорания; 2 -держатель образца; 3 - элелектронагревательный излучатель; 4 - заслонки; 5, 18 - переходные рукава; 6 - стационарная секция экспозиционной камеры; 7 - дверца предкамеры; 8 - подвижная секция экспозиционной камеры; 9, 15 - штуцеры; 10 - термометр; 11 - клетка для подопытных животных; 12 - предкамера; 13 - предохранительная мембрана; 14 - вентилятор; 16 - резиновая прокладка; 17 - клапан продувки.
4.20.1.1. Камера сгорания вместимостью 3·10-3 м3, соединенная с экспозиционной камерой переходными рукавами, выполнена из листовой нержавеющей стали толщиной (2,0±0,1) мм. Внутренняя поверхность, камеры сгорания изолирована асбоцементными плитами толщиной 20 мм. В камере установлен экранированный электронагревательный излучатель размерами (120х120) мм и держатель образца размерами (120х120х25) мм. Излучатель представляет собой нагревательную спираль, размещенную в трубках из кварцевого стекла и расположенную перед стальным полированным отражателем с водяным охлаждением. Он закреплен на верхней стенке камеры под углом 45° к горизонтали. Спираль излучателя сопротивлением (22,0±0,1) Ом изготовлена из проволоки марки Х20Н80-Н (ГОСТ 12766.1) диаметром (0,9±0,1) мм. Электропитание излучателя регулируют с помощью трансформатора и контролируют по показаниям вольтметра с погрешностью не более 0,5 В.
Держатель образца выполнен в виде металлической рамки, в которой закреплен асбоцементный поддон. Поддон имеет углубление для размещения вкладыша с образцом материала. Нагреваемая поверхность образца и поверхность электронагревательного излучателя параллельны, расстояние между ними равно 60 мм.
На боковой стенке камеры сгорания имеется окно из кварцевого стекла для наблюдения за образцом при испытаниях.
На выходе из камеры сгорания размещены заслонки верхнего и нижнего переходных рукавов. Длина верхнего рукава 250 мм, нижнего - 180 мм, проходные сечения рукавов соответственно (160х40) мм и (160х30) мм. Внутренняя поверхность верхнего переходного рукава также облицована асбоцементными плитами.
4.20.1.2. Экспозиционная камера, состоящая из стационарной и подвижной секций. По периметру стационарной секции имеется паз для надувной резиновой прокладки с рабочим давлением не менее 6 МПа. В верхней части камеры находится четырехлопастный вентилятор перемешивания диаметром 150 мм с частотой вращения 5 с-1. На боковой стенке установлен клапан продувки. На торцевой стенке подвижной секции закреплены предохранительная мембрана, предкамера, штуцеры для подключения газоанализаторов, термометр для измерения температуры в нижней части камеры. Перемещение подвижной секции позволяет изменять объем экспозиционной камеры от 0,1 до 0,2 м3.
4.20.1.3. Предкамера объемом 0,015 м3, оборудованная наружной и внутренней дверцами и смотровым окном.
4.20.1.4. Водоохлаждаемый датчик типа Гордона ФОА-013 и регистрирующий прибор типа А 565-001-06 с диапазоном измерений от 0 до 100 мВ для контроля плотности теплового потока. Погрешность измерения плотности теплового потока не должна быть более ± 8 %.
4.20.1.5. Для непрерывного контроля состава газовоздушной среды в экспозиционной камере используют газоанализаторы оксида углерода (ГИАМ-5М с диапазоном измерений от 0 до 1 %, допустимой погрешностью ±2%), диоксида углерода (ГИАМ-5М с диапазоном измерений от 0 до 5 %, допустимой погрешностью ±2 %) и кислорода (МН 5130-1 с диапазоном измерений от 0 до 21 %, допустимой погрешностью ±2 %).
4.20.1.6. Термометр лабораторный любого типа с диапазоном измерений от 0 до 100 °С, с погрешностью не более 1 °С.
4.20.2. Подготовка к испытаниям
4.20.2.1. При наладке установки следует определить параметры напряжения на спирали электронагревательного излучателя, при которых обеспечиваются заданные уровни плотности теплового потока. Для измерения величины падающего теплового потока водоохлаждаемый датчик ФОА-013 закрепляют на нейтральном участке держателя образца. Измерения проводят при герметизированной экспозиционной камере и открытых заслонках переходных рукавов. По результатам измерений строят график зависимости плотности падающего теплового потока (Q) от напряжения на спирали электронагревательного излучателя.
4.20.2.2. По величине плотности теплового потока определяют значение температуры испытания (tисп), соответствующее температуре нагреваемой поверхности контрольного (негорючего) образца из асбоцемента. Для определения (tисп) используют данные, приведенные в табл. 16.
Таблица 16
|
Q, кВт·м-2 |
10,0 |
13,5 |
18,0 |
23,0 |
28,0 |
32,5 |
38,0 |
44,0 |
52,5 |
65,02 |
|
tисп , °С |
300 |
350 |
400 |
450 |
500 |
550 |
600 |
650 |
700 |
750 |
4.20.2.3. Установку следует считать готовой к испытаниям материалов, если при контрольной проверке:
значения плотности падающего теплового потока соответствуют установленным значениям напряжения на спирали электронагревательного излучателя;
выход СО в условиях термоокислительного разложения порошковой целлюлозы (фракция 0,25-0,75) массой 2,5 г при температуре испытания 450 °С (плотность падающего теплового потока 23 кВт·м-2) составляет (200±4) мг·г-1;
концентрация СО в экспозиционной камере за время выдерживания 30 мин снижается не более чем на 5 % от первоначального уровня.
4.20.2.4. Для испытаний готовят не менее 10 образцов размером (40х40) мм фактической толщины, но не более 10 мм. Образцы кондиционируют в лабораторных условиях не менее 48 ч и затем взвешивают с погрешностью не более 0,1 г. Они должны характеризовать средние свойства исследуемого материала.
4.20.2.5. Предварительно образцы каждого материала подвергают воздействию тепловых потоков различной плотности, обеспечивающих в каждом последующем опыте повышение температуры испытания образца на 50 °С. При этом находят значение температуры испытания материала в режиме термоокислительного разложения (тления). Оно должно быть на 50 °С ниже температуры, при которой наблюдается самовоспламенение образца.
4.20.3. Проведение испытаний
4.20.3.1. Материалы испытывают в одном из двух режимов - термоокислительного разложения или пламенного горения, а именно в режиме, способствующем выделению более токсичных смесей летучих веществ. Режим пламенного горения обеспечивается при температуре испытания 750°С (плотность падающего теплового потока 65 кВт·м-2). Критерием выбора режима основных испытаний служит наибольшее число летальных исходов в сравниваемых группах подопытных животных.
4.20.3.2. При проведении основных испытаний в установленном режиме находят ряд значений зависимости токсического действия продуктов горения от величины отношения массы образца к объему установки. Для получения токсических эффектов ниже и выше уровня 50 % летальности изменяют объем экспозиционной камеры при постоянных размерах образцов материалов.
Примечание - При определении токсического эффекта учитывают гибель животных, наступившую во время экспозиции, а также в течение последующих 14 суток.
4.20.3.3. Затравку животных проводят статическим способом. В каждом опыте используют не менее 8 белых мышей массой (20±2) г. Продолжительность экспозиции составляет 30 мин. Температура воздуха в предкамере за время экспозиции не должна превышать 30 °С , а концентрация кислорода должна быть менее 16 % об.
Примечание - В отдельных случаях по требованию заказчика время экспозиции может быть изменено в пределах 5 - 60 мин.
4.20.3.4. Предусматривают следующий порядок проведения испытания. Нагнетают воздух в надувную прокладку до давления 0,6 МПа, проверяют заземление установки, исправность приборов и оборудования, эффективность вентиляции. Подают воду для охлаждения излучателя, после чего включают его на соответствующее напряжение. Заслонки переходных рукавов, клапан продувки, дверца камеры сгорания находятся в положении «закрыто».
Взвешенный образец материала помещают, а при необходимости закрепляют во вкладыше, имеющем комнатную температуру. Клетку с животными устанавливают в предкамере, наружную дверцу которой закрывают.
С момента выхода электронагревательного излучателя на стабилизированный режим (через 3 мин после включения) открывают заслонки переходных рукавов и дверцу камеры сгорания. Вкладыш с образцом без задержки помещают в держатель образца, после чего дверцу камеры сгорания быстро закрывают. Отмечают время начала экспозиции животных в токсический среде.
По достижении максимальных значений концентрации СО и СО2 в экспозиционной камере заслонки переходных рукавов закрывают. Снимают напряжение с нагревательного элемента излучателя. Включают на 2 мин вентилятор перемешивания.
По истечении времени экспозиции животных открывают клапан продувки, заслонки переходных рукавов и наружную дверцу предкамеры. Установку вентилируют не менее 10 мин. Регистрируют число погибших и выживших животных.
Примечание - В случае определения показателя токсичности продуктов горения при условии кратковременной (5 - 20 мин) экспозиции затравку животных начинают с момента достижения максимальных значений концентрации СО и СО2, но не позднее чем через 15 мин после разложения образца.
4.20.3.5. В зависимости от состава материала при анализе продуктов горения определяют количественный выход оксида углерода, диоксида углерода, цианистого водорода, оксидов азота, альдегидов и других веществ. Для оценки вклада оксида углерода в токсический эффект измеряют содержание карбоксигемоглобина в крови подопытных животных.
4.20.3.6 Если масса образца принятых размеров (40х40) мм не позволяет получить эффекты меньше или больше уровня летальности 50 %, допускается уменьшить размеры образца или увеличить их до (80х80) мм и толщину до 20мм.
4.20.4. Оценка результатов
4.20.4.1. Полученный ряд значений зависимости летальности от
относительной массы материала используют для расчета показателя токсичности
в г·м-3. Расчет проводят с помощью
пробит-анализа или других способов расчета средних смертельных доз и
концентраций.
4.20.4.2. При необходимости определить классификационные параметры для других значений времени экспозиции их вычисляют по формуле
, (31)
где CL50CO - средняя смертельная концентрация оксида углерода в мг·м-3, которую вычисляют по уравнению CL50 = 4502 + 2229 t-1 (t - время экспозиции в мин);
gCO = уровень выделения СО при сгорании условно «эталонных» материалов: для чрезвычайно опасных - больше 360 мг·г-1, высоко опасных 120-360 мг·г-1, умеренно опасных 40-120 мг·г-1, малоопасных - до 40 мг·г-1.
4.20.4.3. Если значение
, полученное в результате испытания материала, близко к
граничному значению двух классов, то при определении степени опасности
материала принимают во внимание режим испытания, время разложения образца,
данные о составе продуктов горения, сведения о токсичности обнаруженных
соединений.
4.20.4.4. При содержании карбоксигемоглобина в крови подопытных животных 50 % и более считают, что токсический эффект продуктов горения обуславливается в основном действием оксида углерода.
4.20.4.5 Сходимость метода при доверительной вероятности 95 % не должна превышать по выходу СО (мг·г-1) 15 %.
4.20.4.6. Воспроизводимость метода при доверительной вероятности 95 % не должна превышать по выходу СО (мг·г-1) 25 %
420.4.7. Условия и результаты испытаний регистрируют в протоколе. форма которого приведена в приложении 1.
4.20.5. Требования безопасности
Помещение, в котором проводят испытания по определению токсичности продуктов горения, должно быть оборудовано приточно-вытяжной вентиляцией. Рабочее место оператора должно удовлетворять требованиям электробезопасности по ГОСТ 12.1.019 и санитарно-гигиеническим требованиям по ГОСТ 12.1.005.
4.21. Метод экспериментального определения минимальной флегматизирующей концентрации флегматизатора и минимального взрывоопасного содержания кислорода в газо- и паро-воздушных смесях
4.21.1. Аппаратура
Определение минимальной флегматизирующей концентрации флегматизатора и минимального взрывоопасного содержания кислорода в газо- и паровоздушной смеси осуществляют на установке, описанной в 4.10.1.
4.21.2 Проведение испытаний
Испытания проводят по методу, изложенному в 4.10.2.
4.21.2.1. В вакуумированный реакционный сосуд последовательно подают по парциальным давлениям исследуемое вещество и заданный флегматизатор, а затем подают воздух до выравнивания давления в реакционном сосуде с атмосферным.
4.21.2.2. Изменяя содержание исследуемою вещества в смеси при неизменной концентрации флегматизатора, находят концентрационные пределы распространения пламени по смеси.
4.21.2.3. Затем увеличивают на 2 % содержание флегматизатора в смеси и снова находят пределы распространения пламени.
4.21.2.4. Проводя аналогичные испытания, находят такое содержание флегматизатора в смеси, при котором нижний и верхний предел распространения пламени сходятся на графике в одну точку jф, (черт. 21). Испытание смеси, соответствующей по составу точке jф, повторяют не менее трех раз.

4.21.3. Оценка результатов
4.21.3.1. Содержание флегматизатора, соответствующее точке jф, принимают за минимальную флегматизирующую концентрацию данного флегматизатора для исследуемого вещества.
4.21.3.2. Минимальное взрывоопасное содержание кислорода (
) в % об. вычисляют по формуле
, (32)
где jф - минимальная флегматизирующая концентрация флегматизатора, % об;
-
содержание водяного пара в воздухе (% об.), вычисляемое по формуле (9).
4.21.3.3. Сходимость метода при доверительной вероятности 95 % не должна превышать 0,2 % об.
4.21.3.4. Воспроизводимость метода при доверительной вероятности 95 % не должна превышать 0,6 % об.
Условия и результаты испытаний регистрируют в протоколе, форма которого приведена в приложении 1.
4.21.4. Требования безопасности
Рабочее место оператора должно удовлетворять требованиям электробезопасности по ГОСТ 12.1.019 и санитарно-гигиеническим требованиям по ГОСТ 12.1.005.
4.22. Метод экспериментального определения концентрационного предела диффузионного горения (ПДГ) газовых смесей в воздухе
Установка для определения ПДГ газовых смесей в воздухе представлена на черт. 21а.
4.22.1.1. Термостат представляет собой замкнутый объем с термоизоляцией. Термостат предназначен для поддержания заданного температурного режима 20 - 300°С газовой смеси путем нагрева элементов системы газоприготовления. Обогрев термостата осуществляется нагревателем Э3 мощностью 9,6 кВт. Внутри термостата размещен ресивер для приготовления смеси горючего газа с разбавителем и парогенератор, предназначенный для приготовления водяного пара или пара горючей жидкости. Ресивер представляет собой сосуд объемом 20 дм3, рассчитанный на давление 2,5 МПа. Обогрев ресивера осуществляется нагревателем Э1 мощностью 6,2 кВт. Парогенератор представляет собой сосуд объемом 25 дм3. Для получения водяного пара служит нагреватель Э2 мощностью 9,6 кВт. Допускается отклонение от указанных значений объемов и мощностей на 5 %.
4.22.1.2. Насадок диффузионного горения (НДГ) представляет собой сопло Лаваля с форсункой (2,1 ± 0,1) мм.
4.22.1.3. Элементы измерительной системы:
система терморегулирования и управления нагревателями Э1, Э2, Э3;
вакуумметры класса точности 0,4;
манометры с диапазоном измерения 1,0 и 0,25 МПа класса точности 0,4; тип манометра выбирается исходя из условия приготовления газовой смеси с точностью 0,5% (об.) и необходимого начального давления смеси в ресивере;
датчик давления с диапазоном измерения 1,0 МПа;
измерительно-регистрирующая аппаратура для измерения сигналов с датчика давления в частотном диапазоне до 10 Гц с верхним пределом измерения не более 1, 0 МПа.

1 – ресивер; 2 – первичный термопреобразователь t1; 3 – вакуумметр; 4 – вакуумный насос;
5 – измерительное устройство сигналов с датчика давления; 6 – датчик давления;
7 – вентиль точной регулировки; 8 – насадок диффузионного горения;
9 – первичный термопреобразователь t3; 10 – нагреватель Э3; 11 – термостат;
12 – нагреватель Э1; 13 – первичный термопреобразователь t2; 14 – вакуумметр;
15 – манометр; 16 – система терморегулирования; 17 – емкость для воды;
18 – парогенератор; 19 – нагреватель Э2
Черт. 21а
Измененная редакция (Изм. № 1)
4.22.2. Подготовка к испытаниям
4.22.2.1. Проверяют наличие и содержание паспортных данных на исследуемое вещество.
4.22.2.2. Проверяют оборудование на герметичность. Для этого в ресивер подают воздух или инертный разбавитель под избыточным давлением 1,0 МПа. Установка считается герметичной, если за 300 с давление упало менее чем на половину деления по шкале манометра с диапазоном измерения 1,0 МПа класса точности 0,4.
4.22.2.3. Проводят тарировку датчика давления по показаниям образцового манометра с диапазоном измерения 0,25 МПа класса точности 0,4.
4.22.2.4. При работе с горючей жидкостью с низким давлением паров при температуре 20°С жидкость наливают в парогенератор, включают нагреватели Э1, Э2, Э3 и нагревают парогенератор, ресивер и термостат до температуры, при которой давление паров горючей жидкости достаточно для создания требуемых газовых смесей.
4.22.3.2. По парциальным давлениям газов Рi в ресивере приготавливают требуемую газовую смесь исследуемого горючего и разбавителя. Концентрацию газа Сi рассчитывают по формуле
Сi = 100 × Рi / Робщ,
где Робщ – общее давление в ресивере, МПа.
Приготовление смеси осуществляют в следующей последовательности:
в ресивер подают горючий газ;
осуществляют вакуумирование газовых магистралей;
подают в ресивер разбавитель.
4.22.3.3. Включают нагреватель Э1 и исследуемую газовую смесь нагревают до заданной температуры. Указанную температуру вносят в протокол испытаний (приложение 1) как температуру исследуемой газовой смеси.
4.22.3.4. Открывают линию подачи газовой смеси на НДГ. Скорость истечения заданной газовой смеси из форсунки при этом должна быть минимально возможной. Одновременно ее зажигают (пламенем спиртовки, спичками и т.п.).
После зажигания газовой смеси и образования устойчивого горения диффузионного факела начинают увеличивать скорость истечения газа из форсунки с помощью вентиля точной регулировки. Увеличение скорости истечения продолжается до тех пор, пока не наступит срыв пламени.
В момент срыва горения фиксируют давление на входе НДГ.
Процедуру определения давления срыва диффузионного пламени повторяют 5 раз. По результатам этих измерений определяют среднее арифметическое значение DРср.
4.22.3.5. Повторяют серию экспериментов в соответствии с пп. 4.22.3.1 – 4.22.3.4 при концентрациях горючего газа в смеси на 5 % (об.) ниже предыдущих значений. В области предельных концентраций горючего газа в смеси с разбавителем концентрация горючего газа изменяется с шагом 1 % (об.).
При проведении серии огневых испытаний в каждом опыте в момент зажигания газовой смеси необходимо выполнение условия, при котором давление газа перед форсункой должно быть ниже первого измеренного в данной серии испытаний значения DРср.
Путем последовательного уменьшения концентрации горючего газа в смеси с разбавителем определяют концентрацию горючего газа, при которой данная газовая смесь при истечении в атмосферу не способна к диффузионному горению.
4.22.4. Обработка результатов
4.22.4.1. За концентрационный предел диффузионного горения газовых смесей в воздухе принимают среднее арифметическое значение ближайших концентраций горючего, различающихся не более чем на 2 % (об.)., при одной из которых наблюдается диффузионное горение газовой смеси при истечении в атмосферу, а при другой - его отсутствие.
4.22.4.2. По результатам измерений рассчитывают скорость срыва диффузионного горения V, м/с, по формуле
,
где K - коэффициент расхода форсунки, равный 0,75;
m - молекулярная масса исследуемой газовой смеси, кг/моль;
Ср – теплоемкость исследуемой газовой смеси, кДж/моль×K ;
Т – температура газа, K ;
Ра – атмосферное давление, Ра = 1,01×105 Па;
DРср – избыточное давление, при котором наблюдается срыв диффузионного горения, Па;
g = Ср / СV .
4.22.4.3. Условия и результаты испытаний регистрируют в протоколе, форма которого приведена в приложении 1.
4.22.5. Требования безопасности
При испытаниях необходимо соблюдать меры безопасности, связанные с работой с открытым огнем.
В процессе подготовки и проведения испытаний следует применять индивидуальные средства защиты, выбираемые в соответствии со свойствами исследуемого вещества.
Рабочее место оператора должно удовлетворять требованиям электробезопасности ГОСТ 12.1.019-79 и санитарно-гигиеническим требованиям ГОСТ 12.1.005-88.
Обслуживающий персонал обязан строго выполнять инструкции по безопасной эксплуатации сосудов, работающих под давлением».
4.22, 4.22.1, 4.22.1.1 - 4.22.1.3, 4.22.2, 4.22.2.1 - 4.22.2.4, 4.22.3, 4.22.3.1 - 4.22.3.5, 4.22.4, 4.22.4.1 - 4.22.4.3, 4.22.5
Введены дополнительно (Изм. № 1)
ПРОТОКОЛ
экспериментального определения группы негорючих материалов
Дата _______________________________________ Наименование, физико-химические свойства или
Условия в помещении: указание НТД на материал ____________________
температура, °С___________________________ ___________________________________________
атмосферное давление, кПа_________________ ___________________________________________
относительная влажность, %________________ ___________________________________________
Характеристика измерительных приборов _____________________________________________________
|
Номер образца для |
Температура в печи, °С |
Dtf °С |
Температура на поверхности образца, °С |
Dts °С |
Температура внутри образца, °С |
Dtc °С |
Время самостоятельного |
Масса образца, г |
Потеря массы образца, |
|||||
|
испытания |
начальная |
максимальная tf,макс |
конечная, tf,кон |
|
максимальная ts,макс |
конечная, ts,кон |
|
максимальная tc,макс |
конечная, tc,кон |
|
горения образца, с |
до испытания |
после испытания |
% |
|
|
|
|
|
|
|
|
|
|
|
|
|
|
|
|
Dtf, средн = _______________; Dts, средн = _______________; Dtc, средн = ____________________;
Примечание __________________________________________________________________
Вывод _______________________________________________________________________
Фамилия оператора ____________________________________________________________
Наименование лаборатории ____________________________________________________
ПРОТОКОЛ
экспериментального определения группы трудногорючих и горючих твердых веществ и материалов
Дата _______________________________________ Наименование, состав и физико-химические
Условия в помещении: свойства вещества или указание НД на материал
температура, °С___________________________ __________________________________________
атмосферное давление, кПа_________________ ___________________________________________
относительная влажность, %________________ ___________________________________________
Характеристика измерительных приборов _____________________________________________________
|
Номер образца для испытания |
Температура реакционной камеры до введения образца, °С |
Максимальная температура газообразных продуктов горения, °С |
Время достижения максимальной температуры, с |
Масса образца, г |
Потеря массы образца, % |
|
|
до испытания |
после испытания |
|||||
|
|
|
|
|
|
|
|
Примечание ________________________________________________________________
Вывод _____________________________________________________________________
Фамилия оператора __________________________________________________________
Наименование лаборатории __________________________________________________
ПРОТОКОЛ
определения температуры вспышки жидкостей в закрытом тигле
(указать марку прибора и способ нагревания; допускается применять
прибор ПВНЭ, прибор по ТУ 38110207 и аналогичные)
Дата _______________________________________ Наименование, состав и физико-химические
Условия в помещении: свойства исследуемой жидкости ______________
температура, °С___________________________ __________________________________________
атмосферное давление, кПа_________________ ___________________________________________
относительная влажность, %________________ ___________________________________________
|
Номер образца для испытания |
Скорость нагревания образца,°С×мин-1 |
Температура испытания,°С |
Результат испытания на вспышку |
Температура вспышки, °С |
Особенности испытания |
|
|
|
|
|
|
|
tвсп = tвсп, средн + 0,27(101,3 - p) = ____________________________________________
Вывод _________________________________________________________________
Фамилия оператора ______________________________________________________
Наименование лаборатории _______________________________________________
ПРОТОКОЛ
определения температуры вспышки и воспламенения жидкостей в открытом тигле
(указать марку прибора и способ нагревания)
Дата _______________________________________ Наименование, состав и физико-химические
Условия в помещении: свойства исследуемой жидкости ______________
температура, °С___________________________ __________________________________________
атмосферное давление, кПа_________________ ___________________________________________
относительная влажность, %________________ ___________________________________________
|
Номер образца для испытания |
Скорость нагревания образца,°С×мин-1 |
Температура испытания,°С |
Результат испытания на вспышку (воспламенение) |
Температура вспышки (воспламенения), °С |
Особенности испытания |
|
|
|
|
|
|
|
tвсп (воспл) = tвсп (воспл),средн + 0,27 (101,3 - p) = ____________________________________
Вывод __________________________________________________________________
Фамилия оператора ______________________________________________________
Наименование лаборатории ______________________________________________
ПРОТОКОЛ
определения температуры воспламенения (самовоспламенения или тления) твердых веществ и материалов
Дата _______________________________________ Наименование, состав и физико-химические
Условия в помещении: свойства исследуемого вещества или указание
температура, °С___________________________ НД на материал ____________________________
атмосферное давление, кПа_________________ ___________________________________________
относительная влажность, %________________ ___________________________________________
Характеристика измерительных приборов _____________________________________________________
|
Номер образца для испытания |
Температура испытания |
Результат испытания |
Особенности испытания |
|
|
|
|
|
Вывод ____________________________________________________________________
Фамилия оператора _________________________________________________________
Наименование лаборатории _________________________________________________
ПРОТОКОЛ
определения температуры самовоспламенения газов и жидкостей
Дата _______________________________________ Наименование, состав и физико-химические
Условия в помещении: свойства исследуемого вещества ______________
температура, °С___________________________ __________________________________________
атмосферное давление, кПа_________________ ___________________________________________
относительная влажность, %________________ ___________________________________________
Характеристика измерительных приборов _____________________________________________________
|
Номер |
Количество |
Температура колбы, °С |
Температура |
Период |
Результат |
||
|
пробы вещества |
вещества в пробе, см3, (г) |
верх |
середина |
низ |
испытания, °С |
индукции, с |
испытания |
|
|
|
|
|
|
|
|
|
Примечание _______________________________________________________________
Вывод ____________________________________________________________________
Фамилия оператора _________________________________________________________
Наименование лаборатории _________________________________________________
ПРОТОКОЛ
определения концентрационных пределов распространения пламени по газо- и паровоздушным смесям
Дата____________________________________________________________________________________
Название и состав вещества, температура кипения и давление насыщенного пара при температуре испытаний_______________________________________________________________________________
Расчетное значение концентрационных пределов: jи = _______________% об., jв = ____________% об.
|
Номер испытания |
Атмосферное давление, мм. рт. ст. |
Температура испытания, °С |
Относительная влажность воздуха, % |
Общее давление смеси, мм. рт. ст. |
Парциальное давление компонентов смеси, мм. рт. ст. |
Концентрация компонентов смеси, % об. |
Результат испытания на воспламенение |
|
|||||||||
|
|
|
|
|
|
1 |
2 |
3 |
4 |
5 |
1 |
2 |
3 |
4 |
5 |
|
||
|
|
|
|
|
|
|
|
|
|
|
|
|
|
|
|
|
||
Примечание __________________________________________________________________
Вывод: jи ____________________________; jв _____________________________________
Фамилия оператора ____________________________________________________________
Наименование лаборатории _____________________________________________________
ПРОТОКОЛ
определения нижнего концентрационного предела распространения пламени, максимального давления взрыва, максимальной скорости нарастания давления, минимального взрывоопасного содержания кислорода и минимальной флегматизирующей концентрации флегматизатора
Дата _______________________________________ Наименование, состав и физико-химические
Условия в помещении: свойства исследуемого вещества ______________
температура, °С___________________________ __________________________________________
атмосферное давление, кПа_________________ ___________________________________________
относительная влажность, %________________ ___________________________________________
Вместимость реакционного сосуда ___________________, вместимость ресивера __________________
Характеристика измерительных приборов _____________________________________________________
|
Номер образца для испытания |
Содержание кислорода в газовоздушной смеси, % об. |
Масса образца, г |
Концентрация вещества в реакционном сосуде, г×м-3 |
Давление взрыва, кПа |
Скорость нарастания давления, МПа×с-1 |
|
|
|
|
|
|
|
Примечание ________________________________________________________________
Вывод: jи = _______________; pмакс = __________________; (dp/dt)макс_______________
=
_____________________________; jф = ____________________________________
Фамилия оператора __________________________________________________________
Наименование лаборатории ___________________________________________________
ПРОТОКОЛ
определения температурных пределов распространения пламени по паровоздушным смесям
Дата _______________________________________ Наименование, состав и физико-химические
Условия в помещении: свойства исследуемого вещества ______________
температура, °С___________________________ __________________________________________
атмосферное давление, кПа_________________ ___________________________________________
относительная влажность, %________________ ___________________________________________
Характеристика измерительных приборов _____________________________________________________
Расчетное значение температурных пределов:
|
Номер образца для |
Температура, °С |
Мощность источника |
Результат испытания |
Особенности |
|
|
испытания |
жидкой фазы |
паровой фазы |
зажигания, мДж |
на воспламенение |
испытания |
|
|
|
|
|
|
|
ta
, tb = ![]()
Вывод: t = _______________________; t = ______________________________________
Фамилия оператора _________________________________________________________
Наименование лаборатории __________________________________________________
ПРОТОКОЛ
определения условий теплового самовозгорания твердых веществ и материалов
Дата _______________________________________ Наименование, состав и физико-химические
Условия в помещении: свойства исследуемого вещества или указание
температура, °С___________________________ НД на материал ____________________________
атмосферное давление, кПа_________________ ___________________________________________
относительная влажность, %________________ ___________________________________________
Характеристика измерительных приборов _____________________________________________________
|
Номер образца для испытания |
Размер образца (по размеру корзиночки), мм |
Удельная поверхность образца, м-1 |
Показания термоэлектрических преобразователей |
Температура испытания, °С |
Время до самовозгорания, ч |
Продолжительность испытания, ч |
||
|
1 |
2 |
3 |
||||||
|
|
|
|
|
|
|
|
|
|
Примечание _________________________________________________________________
Уравнения, выражающие условия теплового самовозгорания:
lg tc = ___________________________________; lg tc = _____________________________
Фамилия оператора ___________________________________________________________
Наименование лаборатории ____________________________________________________
определения минимальной энергии зажигания пылевоздушных смесей
Дата _______________________________________ Наименование, состав и физико-химические
Условия в помещении: свойства исследуемого вещества ______________
температура, °С___________________________ ___________________________________________
атмосферное давление, кПа_________________ Данные о фракционном составе образца ________
относительная влажность, %________________ ___________________________________________
Характеристика измерительных приборов __________________________________________________
____________________________________________________________________________________
|
Номер испытания |
Напряжение на вибраторе, В |
Расстояние между распылителем и электродами h, мкм |
Разрядный промежуток l, м |
Напряжение на конденсаторе, кВ |
Емкость конденсатора, пФ |
Число искровых разрядов n |
Число воспламенений m |
Энергия искрового разряда, мДж |
|
|
U1 |
U2 |
||||||||
|
|
|
|
|
|
|
|
|
|
|
Примечание ________________________________________________________________
Вывод: W =_________________________________________________________________
Фамилия оператора __________________________________________________________
Наименование лаборатории ___________________________________________________
ПРОТОКОЛ
определения кислородного индекса
Дата _______________________________________ Наименование материала_____________________
Условия в помещении: Вид, размеры и ориентация образца________________
температура, °С___________________________ ___________________________________________
атмосферное давление, кПа_________________ ___________________________________________
относительная влажность, %________________ ___________________________________________
Вариант зажигания (А или Б)_________________________________________________________________
Кондиционирование: без, 23, 23/50
Значения d =______________________; КИ = ______________________; s =______________________
1. Определение концентрации кислорода для пары символов Х и 0 в интервале концентрации
не более 1 % (по п. 4.14.3.15).
|
Концентрация кислорода, % об. |
|
|
Время горения, с |
|
|
Длина сгоревшей части, мм |
|
|
Символы 0 или X |
|
Концентрация кислорода символа 0 для пары = _______( с этой величины начинают часть 2).
2. Определение значения кислородного индекса.
3. Проверка значения d (согласно п. 4.14.4.3).
|
Последние 6 |
Концентрация кислорода, % |
|||
|
результатов |
Vi |
КИ |
Vi - КИ |
(Vi - КИ)2 |
|
Ск 1 |
|
|
|
|
|
2 |
|
|
|
|
|
3 |
|
|
|
|
|
4 |
|
|
|
|
|
5 |
|
|
|
|
|
n = 6 |
|
|
|
|
.
Примечание _______________________________________________________________
Фамилия оператора _________________________________________________________
Наименование лаборатории __________________________________________________
ПРОТОКОЛ
определения способности взрываться и гореть при взаимодействии с водой, кислородом воздуха
и другими веществами
Дата _______________________________________ Наименование, состав и физико-химические
Условия в помещении: свойства исследуемых веществ_________________
температура, °С___________________________ _______________ ____________________________
атмосферное давление, кПа_________________ ___________________________________________
относительная влажность, %________________ ___________________________________________
Характеристика измерительных приборов _____________________________________________________
|
Номер образца для испытания |
Количество исследуемого вещества в образце, г (см3) |
Температура испытания, °С |
Продолжительность испытания, ч |
Результат испытания |
Особенности испытания |
|
|
|
|
|
|
|
Вывод __________________________________________________________________
Фамилия оператора _______________________________________________________
Наименование лаборатории _____________________________________________________
ПРОТОКОЛ
определения нормальной скорости распространения пламени, максимального давления взрыва и максимальной скорости нарастания давления взрыва газо- и паровоздушной смеси
Дата _______________________________________ Наименование, состав и физико-химические
Условия в помещении: свойства исследуемого вещества______________
температура, °С___________________________ ___________________________________________
атмосферное давление, кПа_________________ ___________________________________________
относительная влажность, %________________ ___________________________________________
Вместимость реакционного сосуда, дм3 _______________________________________________________
Способ приготовления горючей смеси ________________________________________________________
Характеристика измерительных приборов _____________________________________________________
|
Концентрация горючего в реакционном сосуде, % об. (мм. рт. ст.) |
Норма термостатирования, мин |
Равномерность нагрева реакционного сосуда, К |
Энергия искрового разряда, мДж |
Длительность искрового разряда, мс |
Особенности испытания |
||
|
Т1 |
Т2 |
Т3 |
|||||
|
|
|
|
|
|
|
|
|
|
|
|
|
|
|
|
|
|
Особенности проведения расчета ______________________________________________
Тип применяемой ЭВМ ______________________________________________________
Метод оптимизации _________________________________________________________
Название программы и фамилия программиста __________________________________
Точность расчета (одинарная, двойная) _________________________________________
Результаты расчетов для каждой серии испытаний оформляют в виде отдельной таблицы.
Характеристики серии испытаний:
начальное давление pi×105, Па = _____________________________________________
исходная температура Т, К = ________________________________________________
концентрация горючего, jг, % об. = __________________________________________
относительное максимальное давление взрыва, Пс = ____________________________
(подчеркните: расчет, экспер.)
показатель адиабаты исходной смеси gи = _____________________________________
показатель адиабаты продуктов горения gв =___________________________________
|
Номер испытания в серии |
Результаты эксперимента |
Результаты расчета |
Среднее значение в серии испытаний |
|||
|
|
p×105, Па |
t, см |
sи i ± Dsni |
e ± De |
|
eo ± Deo |
|
|
|
|
|
|
|
|
Целесообразно к протоколу прилагать график зависимости максимального давления взрыва и максимальной скорости нарастания давления от концентрации исследуемого вещества в горючей смеси с указанием начального давления и температуры и значений этих величин в каждом испытании.
Фамилия оператора __________________________________________________________
Наименование лаборатории ___________________________________________________
ПРОТОКОЛ
определения скорости выгорания жидкостей
Дата _______________________________________ Наименование, состав и физико-химические
Условия в помещении: свойства исследуемого жидкости______________
температура, °С___________________________ ___________________________________________
атмосферное давление, кПа_________________ ___________________________________________
относительная влажность, %________________ ___________________________________________
Градуировочный коэффициент установки R = __________________________________________________
Характеристика измерительных приборов _____________________________________________________
|
Номер испытания |
Диаметр горелки, мм |
Показания регистрирующего прибора, мм |
Массовая скорость выгорания, mi, кг×м-2×с-1 |
Среднее значение скорости
выгорания |
Характер и режим горения |
|
|
|
|
|||||
|
|
|
|
|
|
|
|
Примечание ________________________________________________________________
Фамилия оператора _________________________________________________________
Наименование лаборатории __________________________________________________
ПРОТОКОЛ
определения коэффициента дымообразования
Дата _______________________________________ Наименование, состав и физико-химические
Условия в помещении: свойства исследуемого вещества или указание
температура, °С___________________________ НД на материал ____________________________
атмосферное давление, кПа_________________ ___________________________________________
относительная влажность, %________________ ___________________________________________
Размеры и внешние признаки испытываемых образцов.
|
Режим испытаний |
Номер образца для испытания |
Масса образца, кг |
Светопропускание, % |
Коэффициент дымообразования для каждого образца, м2×кг-1 |
|
|
начальное |
конечное |
||||
|
|
|
|
|
|
|
Примечание ________________________________________________________________
Вывод _____________________________________________________________________
Фамилия оператора _________________________________________________________
Наименование лаборатории _________________________________________________
ПРОТОКОЛ
определения индекса распространения пламени
Дата _______________________________________ Наименование, состав и указание НД на
Условия в помещении: материал _________________________________
температура, °С___________________________ ___________________________________________
атмосферное давление, кПа_________________ ___________________________________________
относительная влажность, %________________ ___________________________________________
Значение теплового коэффициента установки b = _______________________________________________
|
Номер образца для испытания |
Размеры образца, мм |
Температура дымовых газов, °С |
Время, с |
Длина обгоревшего участка образца, мм |
Индекс распространения пламени для каждого образца |
|||||||||||
|
прохождения фронтом пламени i - го участка |
Достижения максимальной температуры дымовых газов |
|||||||||||||||
|
начальная |
максимальная |
0 |
1 |
2 |
3 |
4 |
5 |
6 |
7 |
8 |
9 |
|||||
|
|
|
|
|
|
|
|
|
|
|
|
|
|
|
|
|
|
Примечание ______________________________________________________________
Вывод I =________________________________________________________________
Фамилия оператора _______________________________________________________
Наименование лаборатории ________________________________________________
ПРОТОКОЛ
определения показатели токсичности продуктов горения полимерных материалов
Дата ___________________________________ Наименование, состав и указание НД на
Условия в помещении: материал _________________________________
температура, °С___________________________ ___________________________________________
атмосферное давление, кПа_________________ ___________________________________________
относительная влажность, %________________ ___________________________________________
Размеры и внешние признаки испытываемых образцов___________________________________________
|
Номер образца |
Температура испытания, °С |
Время разложения (горения) образца, мин |
Потеря массы, г |
Массовая |
Продолжительность экспозиции животных, мин |
Параметры токсичности |
|
|
доля летучих веществ, % |
|
Массовая доля карбоксигемоглобина, % |
|||||
|
|
|
|
|
|
|
|
|
Примечание _______________________________________________________________
Вывод ____________________________________________________________________
Фамилия оператора _________________________________________________________
Наименование лаборатории __________________________________________________
ПРОТОКОЛ
определения минимальной флегматизирующей концентрации флегматизатора и
минимального взрывоопасного содержания кислорода в газо- и паровоздушных смесях
Дата _________________________________________ Наименование, состав и физико-химические
Условия в помещении: свойства исследуемого вещества______________
температура, °С___________________________ ___________________________________________
атмосферное давление, кПа_________________ ___________________________________________
относительная влажность, %________________ ___________________________________________
Расчетное значение концентрационных пределов.
|
Номер пробы вещества |
Остаточное давление в реакционном |
Парциальные давления компонентов смеси, мм. рт. ст. |
Концентрация компонентов смеси, % об. |
Результат испытания на воспламенение |
Концентрационные пределы распространения пламени по смеси, % об. |
||||
|
сосуде, мм. рт. ст. |
Вещество |
Флегматизатор |
Воздух |
Вещество |
Флегматизатор |
Воздух |
|||
|
|
|
|
|
|
|
|
|
|
|
Примечание _______________________________________________________________
Вывод:
__________________________________________________________; ![]()
Фамилия оператора _________________________________________________________
Наименование лаборатории __________________________________________________
Протокол
опытов по определению концентрационного предела диффузионного горения газовых смесей в воздухе
Дата проведения испытаний ________________________________________________
Наименование горючего ___________________________________________________
Наименование разбавителя _________________________________________________
Температура исследуемой газовой смеси _____________________________________
Атмосферное давление ____________________________________________________
|
Номер п/п |
Концентрация горючего, % (об.) |
Давление срыва, кПа |
Скорость срыва диффузионного горения, м/с |
|
|
|
|
|
Принятое значение ПДГ смеси ___________ в воздухе при температуре ________ °С составляет ____________________ % (об.).
Фамилия оператора ___________________________
Подпись
(ИУС № 7 2000 г.)
(Введено дополнительно. Изм. № 1)
1. Методы расчета температуры вспышки индивидуальных жидкостей в закрытом тигле.
1.1 Температуру вспышки жидкостей (tвсп) в °С, имеющих нижеперечисленные виды связей (табл. 17), вычисляют по формуле
,
(33)
где a0 - размерный коэффициент, равный минус 73,14 °С;
a1 - безразмерный коэффициент, равный 0,659;
tкип - температура кипения исследуемой жидкости, °С;
aj - эмпирические коэффициенты, приведенные в табл. 17;
lj - количество связей вида j в молекуле исследуемой жидкости.
Средняя квадратическая погрешность расчета (d)по формуле (33), составляет 13 °С.
|
Вид связи |
aj, °С |
Вид связи |
aj, °С |
|
С - С |
-2.03 |
C - Cl |
15,11 |
|
C |
-0,28 |
C - Br |
19,40 |
|
С = С |
1,72 |
C - Si |
-4,84 |
|
С - Н |
1,105 |
Si - H |
11,00 |
|
C - O |
2,47 |
Si - Cl |
10,07 |
|
C = O |
11,60 |
N - H |
5,83 |
|
C - N |
14,15 |
O - H |
23,90 |
|
C |
12,13 |
S - H |
5,64 |
|
C - S |
2,09 |
P - O |
3,27 |
|
C = S |
-11,91 |
P = O |
9,64 |
|
C - F |
3,33 |
1.2. Для нижеперечисленных классов веществ температуру вспышки в °С вычисляют по формуле
tвсп = a + btкип, (31)
где a, b - эмпирические коэффициенты, приведенные в табл. 18 вместе со средними квадратическими погрешностями расчета d.
Таблица 18
|
Класс вещества |
Коэффициенты |
d, °С |
|
|
|
a, °С |
b |
|
|
Алканы |
-73,22 |
0,693 |
1,5 |
|
Спирты |
-41,69 |
0,652 |
1,4 |
|
Алкиланилины |
-21,94 |
0,533 |
2,0 |
|
Карбоновые кислоты |
-43,57 |
0,708 |
2,2 |
|
Алкилфенолы |
-38,42 |
0,623 |
1,4 |
|
Ароматические углеводороды |
-67,83 |
0,665 |
3,0 |
|
Альдегиды |
-74,76 |
0,813 |
1,5 |
|
Бромалканы |
-49,56 |
0,665 |
2,2 |
|
Кетоны |
-52,69 |
0,643 |
1,9 |
|
Хлоралканы |
-55,70 |
0,631 |
1,7 |
1.3. Если для исследуемой жидкости известна зависимость давления насыщенного пара от температуры, то температуру вспышки в °С вычисляют по формуле
,
(35)
где АБ - константа, равная 280 кПа×см2×с-1×К;
pвсп - парциальное давление пара исследуемой жидкости при температуре вспышки, кПа;
D0 - коэффициент диффузии пара в воздухе, см2×с-1;
b - стехиометрический коэффициент кислорода в реакции горения, определяемый пo формуле
b = mС + mS + 0,25(mH - mX) - 0,5mO + 2,5mp, (36)
где mС, mS, mH, mX, mO, mp - число атомов соответственно углерода, серы, водорода, галоида, кислорода и фосфора в молекуле жидкости.
Средняя квадратическая погрешность расчета по формуле (35) составляет 13 °С.
2. Методы расчета температуры вспышки смесей горючих жидкостей в закрытом тигле.
2.1. Температуру вспышки смесей горючих жидкостей (tвсп) в °С вычисляют по формуле
,
(37)
где xi - мольная доля i-го компонента в жидкой фазе;
DHисп i - мольная теплота испарения i-го компонента, кДж×моль-1;
tвсп i - температура вспышки i-го компонента, °С;
R - универсальная газовая постоянная.
Значение DHисп i/R может быть вычислено по иитерполяционной формуле
DHисп i/R = -2918,6 + 19,6(tкип i + 273), (38)
где tкип i - температура кипения i-го компонента, °С.
Средняя квадратическая погрешность расчета по формуле (37) составляет 9 °С.
2.2. Если для компонентов смеси известна зависимость давления насыщенного пара от температуры, то температуру вспышки смеси вычисляют по формуле
, (39)
где
,
,
,
-
константы уравнения Антуана для i-го компонента.
Средняя квадратическая погрешность расчета по формуле (39) составляет 11 °С.
2.3 Температуру вспышки бинарных смесей жидкостей, принадлежащих одному гомологическому ряду, вычисляют по формуле
, (40)
где t’всп - температура вспышки легкокипящего компонента, °С;
D - гомологическая разность по температуре вспышки в рассматриваемом ряду, °С;
х - массовая доля высококипящего компонента в жидкой фазе;
m - разность между числом углеродных атомов компонентов смеси;
х’ -
коэффициент, учитывающий нелинейный характер зависимости tвсп от
х. При
; при x < 0,5 x’ = 0.
Формула (40) применима для гомологических рядов n-спиртов и сложных эфиров нормального строения.
Средняя квадратическая пoгpeшнocть расчета составляет 2 °С.
3. Методы расчета температуры вспышки индивидуальных жидкостей в открытом тигле.
3.1. Температуру вспышки в открытом тигле вычисляют по формуле (33), используя величины эмпирических коэффициентов из табл. 19.
Taблица 19
|
Вид связи |
aj, °С |
Вид связи |
aj, °С |
|
С - С |
3,63 |
Si - H |
-4,58 |
|
C |
6,482 |
- SiCl3 |
50,49 |
|
С = С |
-4,18 |
O - H |
44,29 |
|
С - H |
0,35 |
S - H |
10,75 |
|
C - O |
4,62 |
P - O |
22,23 |
|
C = O |
25,36 |
P = O |
-9,86 |
|
C - N |
-7,03 |
N - H |
18,15 |
|
C - S |
14,86 |
|
|
Коэффициенты a0 и a1 при расчете температуры вспышки в открытом тигле равны соответственно минус 73 °С и 0,409.
Средняя квадратическая погрешность расчета составляст 10 °С.
3.2. Если для исследуемой жидкости известна зависимость давления насыщенного пара от температуры, то температуру вспышки в открытом тигле вычисляют по формуле (35), где АБ = 427 кПа×см2×с-1×K.
Средняя квадратическая погрешность расчета составляет 13 °С.
1. Температуру воспламенения (tвосп) индивидуальных жидкостей в °С вычисляют по формуле (33), где a0 - размерный коэффициент, равный минус 47,78 °С; a1 - безразмерный коэффициент, равный 0,882; аj - эмпирические коэффициенты, приведенные в табл. 20.
Таблица 20
|
Вид связи |
aj, °С |
Вид связи |
aj, °С |
|
С - С |
0,027 |
C = O |
-0,826 |
|
C |
-2,069 |
C - N |
-5,876 |
|
С = С |
-8,980 |
O - H |
8,216 |
|
С - H |
-2,118 |
N - H |
-0,261 |
|
C - O |
-0,111 |
|
|
Средняя квадратическая погрешность расчета составляет 5 °С.
2 Если известна зависимость даления насыщенных паров от температуры, то температуру воспламенения индивидуальных жидкостей, состоящих из атомов C, H, О, N, вычисляют по формуле
,
(41)
где АБ - константа, равная 453 кПа·см2·см-1·К (для фосфорорганических веществ АБ = 1333 кПа·см2·см-1·К);
pвосп - парциальное давление пара исследуемой жидкости при температуре воспламенения, кПа;
b - стехиометрический коэффициент кислорода в реакции горения, вычисляемый по формуле (36).
Средняя квадратическая погрешность расчета составляет 6° С.
3. Температуру воспламенения алифатических спиртов и сложных эфиров вычисляют по формуле
,
(42)
где К - эмпирический коэффициент, равный 6·10-4 для спиртов и 7·10-4 для сложных эфиров.
Средняя квадратическая погрешность расчета составляет 2 °С для спиртов и 4 °С - для сложных эфиров.
Методы расчета применимы для индивидуальных органических веществ, состоящих из атомов С, H, О, N, Сl (не более одного атома хлора в молекуле) и их смесей. В случаях, оговоренных в пп. 2 и 3, в состав смесей могут входить водород, диоксид углерода, азот, водяной пар. Относительная средняя квадратическая погрешность расчетных значений концентрационных пределов распространения пламени не превышает 20 %.
Методы расчета концентрационных пределов распространения пламени индивидуальных веществ для начальной температуры 25 °С.
1.1. Нижний предел (jн) в % об. вычисляют по формулам
,
(43)
или
,
(44)
где hf - эмпирический параметр теплоты образования вещества, моль·кДж-1;
-
стандартная теплота образования вещества в газообразном состоянии при 25 °С,
кДж·моль-1;
hj, hr, hs, - коэффициенты, характеризующие вклад j-х атомов (С, H, О, N, Сl), r и s-х структурных групп, влияющих на нижний предел;
mj, mr, ms - число атомов j-го элемента, r и s-х структурных групп в молекуле вещества;
l, p, q - число химических элементов и типов структурных групп в молекуле вещества.
Значения коэффициентов hj, hr, hf приведены в табл. 21.
Tаблица 21
|
hj |
hr |
hf , |
|||||
|
hc |
hH |
hO |
hN |
hCl |
|
|
моль·кДж-1 |
|
9,134 |
2,612 |
-0,522 |
-0,494 |
-3,57 |
7,88 |
0,50 |
0,0246 |
Значения коэффициентов hs, приведены в табл. 22.
Таблица 22
|
Вид структурной группы |
hs |
Вид структурной группы |
hs |
|
C - C |
3,75 |
C - Cl |
0,71 |
|
C = C |
11,10 |
O - H |
0,52 |
|
C - H |
4,47 |
N - H |
1,90 |
|
C - O |
0,90 |
N - N |
13,84 |
|
C = C |
3,12 |
C |
31,05 |
|
C - N (трехвалентный) |
2,27 |
|
44,13 |
1.2. Верхний предел распространения пламени (jв) в % об. вычисляют в зависимости от величины стехиометрического коэффициента кислорода (b) по формулам:
при
; (45)
при b
> 8,
(46)
где hj, qs, - коэффициенты, учитывающие химическое строение вещества;
mj - число связей j -го элемента.
Значения коэффициентов hj и qs приведены в табл. 23 и 24.
Таблица 23
|
Вид структурной группы |
hj |
Вид структурной группы |
hj |
|
C - C |
-0,84 |
C = O |
1,31 |
|
C |
0,89 |
C - N |
-1,17 |
|
C = C |
0,24 |
C |
2,07 |
|
C |
1,93 |
C - Cl |
0,71 |
|
C - H |
1,39 |
N - H |
0,69 |
|
C - O |
-1,40 |
O - H |
1,25 |
Таблица 24
|
Вид структурной группы |
qs |
|
|
-1,47 |
|
цикл неароматический |
9/mc |
|
|
11,1 |
2. Метод расчета концентрационных пределов распространения пламени для смесей горючих веществ при начальной температуре 25 °С.
Метод предназначен для веществ, не вступающих между собой в химическую реакцию при начальной температуре. В число компонентов смеси может входить молекулярный водород, объемная концентрация которого не должна превышать 75 % от суммы горючих компонентов смеси. Негорючими компонентами смеси являются диоксид углерода, азот и водяной пар. В число компонентов смеси не входит кислород.
Нижний jн (верхний jв) предел распространения пламени для смеси горючих веществ в % об. вычисляют по формуле
,
(47)
где jк - концентрация k-го горючего компонента смеси, % об.;
jп к - нижний или верхний предел для бинарной смеси k-го горючего компонента с воздухом, % об.;
n - число горючих компонентов смеси.
Если предел (jп к) какого-либо компонента смеси неизвестен, его вычисляют, как указано в п. 1.
3. Методы расчета пределов распространения пламени для смесей горючих веществ с негорючими при выпуске их в воздух для начальной температуры 25 °С.
Данные методы расчета применяются в том случае, если компоненты смеси не вступают между собой в химическую реакцию при начальной температуре, негорючими компонентами смеси являются диоксид углерода, азот и водяной нар. В число горючих компонентов смеси может входить молекулярный водород, объемная концентрация которого не должна превышать 75 %. В число компонентов смеси не входит кислород.
3.1. Нижний концентрационный предел распространении пламени для смеси (jн) в % об. вычисляют по формуле
,
(48)
где nв - число молей воздуха, приходящееся на 1 моль исходной смеси, определяют по формуле
,
(49)
где jн к - нижний предел распространения пламени k-го горючего компонента, % об.;
j j - концентрация j-го негорючего компонента, % об.;
Cj - коэффициент j-го негорючего компонента;
m - число негорючих компонентов смеси.
Значения коэффициента Cj приведены в табл. 25.
Таблица 25
|
Негорючий компонент смеси |
Cj |
|
Азот |
0,988 |
|
Водяной пар |
1,247 |
|
Диоксид углерода |
1,590 |
3.2. Верхний предел распространения пламени для смеси (jв) в % об. вычисляют по формуле
,
(50)где jв k - верхний предел распространения пламени для бинарной смеси k-го горючего компонента с воздухом, % об.;
jв j - верхний условный предел распространения пламени j-го негорючего компонента, вычисляемый для каждого негорючего компонента по формуле
,
(51)где jф - минимальная флегматизирующая концентрация негорючего компонента, % об.;
Кф - коэффициент флегматизации.
Минимальную флегматизирующую концентрацию (jф) каждого негорючего компонента в % об. вычисляют по формуле
,
(52)где
- коэффициент теплоты образования смеси горючих компонентов в
газообразном состоянии, моль·кДж-1;
-
свободные члены;
-
коэффициенты атомов и структурных групп горючих компонентов (их значения приведены в табл. 26);
mj - число атомов j-го вида в смеси горючих компонентов
Таблица 26
|
Коэффициенты
|
Значение коэффициента при разбавлении смеси |
||
|
|
азотом |
водяным паром |
диоксидом углерода |
|
|
0,865·10-2 |
0,802·10-2 |
0,736·10-2 |
|
|
1,256 |
0,780 |
0,584 |
|
|
2,528 |
1,651 |
1,292 |
|
|
0,759 |
0,527 |
0,427 |
|
|
0,197 |
0,446 |
0,570 |
|
|
-0,151 |
-0,147 |
-0,133 |
|
|
1,500 |
1,500 |
1,500 |
|
|
2,800 |
2,236 |
2,020 |
|
|
5,946 |
5,000 |
4,642 |
|
|
1,486 |
1,250 |
1,160 |
|
|
-2,973 |
-2,500 |
-2,321 |
|
|
0 |
0 |
0 |
|
|
0 |
0 |
0 |
Для смеси горючих компонентов
величины
в кДж·моль-1 и mj вычисляют по формулам
,
(53)
, (54)где
- стандартная теплота
образования k-го горючего компонента в газообразном
состоянии, кДж·моль-1;
mj - число j-х атомов в молекуле k-го горючего компонента.
Если среди горючих компонентов смеси отсутствуют молекулярный водород, моноксид углерода и уксусная кислота, то значение коэффициента флегматизации Кф берут из табл. 27. В противном случае Кф вычисляют по формуле (55) с использованием данных табл. 27.
где Кф k - коэффициент флегматизации k-го горючего компонента данным флегматизатором.
Таблица 27
|
|
Кф при флегматизации |
||
|
Флегматизатор |
органических веществ |
молекулярного водорода |
монооксида углерода |
|
Азот |
0,100 |
0,003 |
0,020 |
|
Диоксид углерода |
0,190 |
0,018 |
0,096 |
|
Водяной пар |
0,160 |
0,003 |
- |
4. Метод расчета пределов распространения пламени при повышенных температурах.
При температурах (t) в диапазоне от 25 до 150 °С нижний (jн t) и верхний (jв t) пределы распространения пламени в % об. вычисляют по формулам
Распылитель состоит из конуса 1 и форкамеры (черт. 22). Конус с углом раствора 30° одновременно служит верхней крышкой реакционною сосуда диаметром (105±5) мм. Форкамера состоит из корпуса 4 и донышка 5, образующих внутреннюю сферу диаметром (40±1) мм. Образец исследуемого вещества, помещенный на донышко форкамеры, взвихривается при кратковременной подаче сжатого воздуха и через патрубок 3, соединенный с конусом распылителя накидной гайкой 2, увлекается в реакционный сосуд.

Черт. 22.
1 - конус; 2 - гайка накидная; 3 - патрубок; 4 - корпус форкамеры; 5 - донышко.
1. Расчет температурных пределов распространения пламени индивидуальных жидкостей.
Если известна зависимость давления насыщенного пара от температуры, то значение нижнего или верхнего температурного предела распространения пламени (tп) в °С вычисляют по соответствующему значению концентрационного предела распространения пламени (jп) по формуле
где A, B, CA - константы уравнения Антуана;
p0 - атмосферное давление, кПа.
Значение jп может быть рассчитано но методам, приведенным в приложении 4. Погрешность расчета по формуле (58) определяется погрешностью расчета jп.
1.2. Если неизвестна зависимость давления насыщенного пара от температуры, то для веществ, состоящих из атомов С, H, О, N значение нижнего или верхнего температурного предела (tп) вычисляют по формуле(jп)
, (59)
где a0 - размерный коэффициент, равный минус 62,46 °C для нижнего и минус 41,43 °С для верхнего пределов;
a1 - безразмерный коэффициент, равный 0,655 для нижнего и 0,723 для верхнего пределов;
aj - эмпирические коэффициенты, характеризующие вклад j-х структурных групп, приведены в табл. 28.
Таблица 28
|
Вид структурной группы |
aj, °С |
Вид структурной группы |
aj, °С |
||
|
|
tн |
tв |
|
tн |
tв |
|
C - C |
-0,909 |
-1,158 |
C - N |
-2,14 |
0,096 |
|
C = C |
-2,66 |
-4,64 |
N - H |
6,53 |
6,152 |
|
C - H |
-0,009 |
0,570 |
O - H |
19,75 |
17,80 |
|
C - O |
0,110 |
1,267 |
|
-4,40 |
-1,60 |
|
C = O |
5,57 |
5,86 |
|||
Среднее квадратическое отклонение расчета по формуле (59) составляет 9 °С.
1.3. Если неизвестна температура кипения исследуемого вещества при нормaльном атмосферном давлении, то значение нижнего температурного предела распространения пламени (tн) вычисляют по формуле
где tвсп - экспериментальное значение температуры вспышки, °С,
С - константа, равная 2 °С, если для расчета используют значение tвсп в закрытом тигле, и равная 8 °С, если для расчета используют значение tвсп в открытом тигле.
Средняя квадратическая погрешность расчета по формуле (60) не превышает 12 °С.
2. Расчет температурных пределов распространения пламени для смесей жидкостей, представляющих собой растворы.
2.1. Если известна зависимость давления насыщенного пара от температуры для каждого из компонентов смеси, то температурный предел распространения пламени для смеси (tп.см) в °С вычисляют по формуле
где k - число компонентов смеси;
gi - коэффициент активности i-го компонента;
xi - мольные доли i-го компонента в жидкой фазе;
;
;
,
- константы уравнения
Антуана для i-го компонента;
tп i - температурный предел распространения пламени i-го компонента, °С.
Средняя квадратическая погрешность расчета составляет 10°С для нижнего температурного предела и не превышает 20 °С для верхнего предела.
2.2. Если неизвестна зависимость. давления насыщенного пара от температуры хотя бы для одного компонента смеси, то нижний температурный предел распространения пламени для смеси (tн.см) в °С вычисляют по формуле
, (62)где D Hисп.i - мольная теплота испарения i-го компонента, кДж·моль-1;
tн.i - нижний температурный предел распространения пламени i-го компонента, °С.
Значение D Hисп.i /R может быть определено по интерполяционной формуле (38).
Средняя квадратическая погрешность расчета по формуле (62) составляет 10 °С.
3. Расчет нижнего температурного предела распространения пламени для смесей горючих и негорючих жидкостей.
Если смесь жидкостей представляет собой раствор, то, используя известную зависимость давления насыщенных паров от температуры для каждого негорючего компонента, можно рассчитать нижний температурный предел распространения пламени для смеси (Tн.см) в градусах Кельвина по формуле
, (63)где xi, xj - мольные доли i-го горючего и j-го негорючего кoмпoнeнта в жидкой фазе;
D Hисп.i, D Hисп.j - мольная теплота испарения i-го горючего и j-го негорючего компонента, кДж·моль-1;
Tн.i - нижний температурный предел распространения пламени i-го горючего компонента, К;
Tн.j - условный нижний предел распространения пламени j-го негорючего компонента вычисляют по формуле
где A, B, CA - константы уравнения Антуана для данного негорючего компонента;
p0 - атмосферное давление, кПа;
g - параметр, характеризующий флегматизирующее или ингибирующее влияние негорючего компонента в паровой фазе. Значения g для наиболее распространенных негорючих компонентов приведены в табл. 29.
Таблица 29
|
Наименование вещества |
g |
|
Вода |
1,23 |
|
Тетрахлорметан |
4,80 |
|
1, 1, 2 - Трифтортрихлорэтан |
5,60 |
|
1,2 - Дибромтетрафторэтан |
21,30 |
Средняя квадратическая погрешность расчета составляет 10 °С.
Метод оптимизации, применяемый для определения нормальной скорости в широком диапазоне давлений и температур.
Схема установки для определения нормальной скорости распространения пламени приведена на черт. 23.

Черт. 23.
1 - реакционный сосуд; 2 - электроды зажигания; 3 - термостат; 4 - линия подачи горючего; 5 - линия подачи окислителя; 6 - линия подачи флегматизатора; 7 - измеритель давления; 8 - клапаны; 9 - ртутный манометр; 10 - вакуумный насос; 11 - газовый смеситель; 12 - усилители тиристорные; 13 - регуляторы температуры; 14 - электронагреватели; 15 - термоэлектрические преобразователи; 16 - датчик давления; 17 - регистратор динамического давления; 18 - пульт управления; 19 - зажигающее устройство; 20 - усилитель; 21 - смотровые окна; 22 - скоростная кинокамера; 23 - измеритель температуры.
1.1.1. Реакционный сферический сосуд вместимостью 10 дм3, имеющий смотровое окно для регистрации процесса распространения пламени. Реакционный сосуд снабжен датчиком давления и соединен через клапаны с манометром, вакуумным насосом. системой подачи и сброса газов и паров. В центре сферической полости сосуда сформирован разрядный промежуток. Для повышения точности регистрации давления на начальной стадии развития процесса рекомендуется использовать второй датчик давления.
Примечание - Допускается применять сферические реакционные сосуды вместимостью от 3 до 25 дм3.
1.1.2. Смеситель газовый для приготовления гомогенной газопаровой смеси при повышенном давлении позволяет проводить подряд несколько экспериментов в реакционном сосуде со смесью заданной концентрации.
1.1.3. Датчик давления должен обеспечивать регистрацию быстроизменяющегося давления в частотном диапазоне от 0 до 1500 Гц и иметь верхний предел измерения не менее чем в 10 раз больше начального давления в сосуде.
Примечание - При необходимости систему измерения давления тарируют либо подачей воздуха в реакционный сосуд, либо на специально предназначенном для этого прессе.
1.1.4. В качестве источника зажигания используют электрическую искру с энергией не более 0,1 Дж и длительностью не более 3 мс. Расстояние между конусообразными концами электродов не более 2,5 мм. Диаметр электродов не более 3 мм.
1.1.5. Термошкаф, обеспечивающий нагрев реакционного сосуда, испарителя и связывающих их пневмолиний до необходимой температуры с равномерностью не менее 5 %.
1.1.6. Регистратор динамического давления должен обеспечивать непрерывную или дискретную запись изменения во времени давления внутри сосуда в процессе горения. За начало отсчета времени принимают момент срабатывания источника зажигания.
1.1.7. Манометры для измерения статического давления в сосуде, пневмолиниях, испарителе и газовом смесителе с погрешностью измерения не более 0,133 кПа при давлении до 100 кПа и не более 0,25 % - при давлении более 100 кПа.
1.1.8. Вакуумный насос, обеспечивающий остаточное давление в реакционном сосуде не более 0,266 кПа.
1.1.9. Клапаны и пневмолинии, выдерживающие давление взрыва и обеспечивающие возможность вакуумирования сосуда.
1.1.10. Пульт управления, обеспечивающий синхронизацию момента зажигания смеси с регистрацией процесса распространения пламени с помощью скоростной кинокамеры.
1.2.1. Реакционный сосуд проверяют на герметичность. Герметичность сосуда должна быть такой, чтобы при остаточном давлении не более 1 кПа изменение давления за 10 мин не превысило 0,133 кПа.
1.2.2. Приготавливают в реакционном сосуде горючую смесь. Для чего вакуумируют сосуд до остаточного давления не более 0,266 кПа, затем поочередно подают в него компоненты смеси по парциальным давлениям или газовую смесь из смесителя, где она предварительно подвергается конвективному перемешиванию.
1.2.3. При необходимости сосуд и испаритель нагревают до температуры испытаний, для чего используют термошкаф и устройства автоматического регулирования температуры. Допускается нагревать исходную смесь до температуры, не превышающей 55 % от температуры самовоспламенения.
В реакционном сосуде создают требуемое для испытаний давление горючей смеси.
1.2.4. Закрывают все клапаны установки и с пульта управления инициируют зажигание смеси в сосуде. Момент срабатывания зажигающего устройства и изменение давления в сосуде записываются регистратором динамического давления. При необходимости используют скоростную кинокамеру для регистрации процесса распространения пламени.
Каждую экспериментальную зависимость изменения давления во времени обрабатывают в соответствии с 1.3.
1.2.6. После каждого испытания реакционный сосуд вакуумируют и продувают воздухом не менее трех раз. При наличии конденсата сосуд промывают.
1.2.7. С целью определения максимального значения нормальной скорости распространения пламени для исследуемого вещества при заданных значениях начального давления и температуры проводят испытания со смесями различного состава, близкого к стехиометрическому.
1.2.8. Для определения значений нормальной скорости распространения пламени по смеси заданного состава в широком диапазоне давлений и температур проводят серии испытаний, отличающиеся начальным давлением и/или температурой.
1.3. Оценка результатов.
1.3.1. Расчетную зависимость изменения давления в сосуде во времени получают интегрированием дифференциального уравнения математической модели процесса
, (65)в котором
, (66)
, (67)где p = p/pi - относительное давление;
p - текущее расчетное давление в сосуде, кПа;
pi - начальное давление в сосуде, кПа;
t - время, с;
a - радиус реакционного сосуда, м;
gи, gb - соответственно показатели адиабат горючей смеси и продуктов горения;
nи =
- относительная масса горючей смеси в сосуде;
mи - текущее значение массы горючей смеси, кг;
mi - начальное значение массы горючей смеси, кг;
pe = pс/pi - относительное максимальное давление взрыва в сосуде;
pc - максимальное давление взрыва в сосуде при начальном давлении pi, кПа;
sи - текущее значение нормальной скорости распространения пламени, м·с-1;
Радиус пламени (rb) вычисляют по формуле
Сравнение экспериментальной и расчетной зависимостей измерения радиуса пламени от времени может быть использовано для контроля правильности определения нормальной скорости.
Зависимость нормальной скорости от давления и температуры смеси принимают в виде
где sи.i - начальная скорость распространения пламени (при начальных давлений и температуре), м·с-1;
Ти - текущее значение температуры смеси, К;
Ti - начальная температура смеси в сосуде, К;
n - барический показатель;
m - температурный показатель.
В приближении адиабатического сжатия смеси изменение нормальной скорости с ростом относительного давления описывается выражением
где e =
- термокинетический
показатель.
Входящие в расчетные формулы параметры gи, gb, pе определяют термодинамическим расчетом. При отсутствии расчетных значений gb и pе, вычисления могут проводиться в приближении gb = gи, а значение pе может быть заимствовано из экспериментальных данных.
Расчетная зависимость p (t) определяется двумя неизвестными параметрами - sи.i и e.
1.3.2. Из экспериментальной записи изменения давления во времени выбирают не менее пяти значений pk (tk), удовлетворяющих условию
где pи - давление. соответствующее точке перегиба кривой изменения давления взрыва от времени, кПа.
Примечание - Для оценки соответствия энергии искры условиям испытания используют экспериментальную точку pi (0), соответствующую моменту срабатывания зажигающего устройства. При этом считают, что энергия искры соответствует условиям испытания, если расчетная зависимость изменения давления, полученная в результате оптимизации, совпадает с экспериментальной, включая точку pi (0).
1.3.3. Оптимизируют расчетную зависимость изменения давления
внутри сосуда по экспериментальной путем минимизации функционала ![]()
где
- вектор столбец
неизвестных параметров;
-
экспериментальное относительное давление в момент времени tk;
-
расчетное относительное давление в момент времени tk,
получаемое численным интегрированием уравнения (65);
N - число точек эксперимента, пo которым производят оптимизацию.
1.3.3.1. Метод нелинейных оценок.
В данном методе минимизацию функционала (72) производят итеративно, причем
, (73)
где L - номер итерации. Значение поправки
определяют при каждой
итерации из выражения
где
- матрица размерностью 2хN;
-
транспонированная матрица
;
-
вектор-столбец размерностью N;
-
матрица, обратная матрице
.
Транспонирование, перемножение и обращение матриц осуществляют по стандартным процедурам, имеющимся в библиотеках подпрограмм ЭВМ.
Итерационный процесс прекращается при выполнении условия
где
, (76)с. начальными условиями
. В уравнении (76) символ f использован для обозначения
правой части уравнения (65).
В процессе вычислений для нахождения доверительных интервалов (см. формулу (81) найденных параметров получают информационную матрицу Фишера
где S2 - дисперсия экспериментальных данных, вычисляемая по формуле
в которой N - число экспериментальных точек, используемых при оптимизации;
K = 2 - число параметров, по которым проводят оптимизацию.
1.3.3.2. По методу Давидона - Флетчера - Пауэла итерационный
процесс минимизации функционала (72)
проводят по (формуле (73), в которой
определяют по формуле
где
- длина шага поиска,
определяемая одномерным поиском в направлении минус
;
HL - симметричная матрица, вычисляемая по уравнению
, (80)стремится в конце итерационного процесса к обратной матрице
частных производных второго порядка
в точке минимума;
-
градиент функционала в точке Q;
значение
, а
находится аналогично
элементам матрицы
метода нелинейных
оценок.
Прекращение итерационного процесса происходит при выполнении
условия
, где
- заданная точность
вычисления. Целесообразно задавать
несколько больше, чем
10-D,
где D - число значащих цифр в представлении с плавающей запятой в
ЭВМ.
В ходе построения итерационного процесса аналогично предыдущему
методу нелинейных оценок получают информационную матрицу Фишера
.
Для обоих изложенных выше методов доверительный интервал значений, определяемых в процессе оптимизации параметров, вычисляют при заданной доверительной вероятности a в соответствии с условием

из формулы
где m = 1, 2 (индекс 1 соответствует параметру sи.i, индекс 2 - параметру e);
bmm - m-й диагональный элемент информационной матрицы Фишера,
Fa (K N - K) - табулированные значения критерия Фишера.
Для эксперимента с порядковым номером l получают
где
- вектор-столбец
неизвестных параметров;
- среднее значение для l-го
эксперимента;
-
доверительный интервал.
Примечание -
Метод применим в условиях пренебрежения конвекцией. Контроль правильности
определения нормальной скорости распространения пламени методом оптимизации
осуществляют по условию
, в котором число Фруда
где ss - видимая скорость пламени, м·с-1 ,
g - ускорение силы тяжести, м·с-2;
d - диаметр сосуда, м.
1.3.4. Обрабатывают в соответствии с
1.3.3 серию экспериментальных зависимостей изменения давления, которые получены
при одних и тех же условиях. Оценивают экспериментальное (sэ) и расчетное (sр) среднее квадратическое
отклонение и получают для конкретных условий эксперимента искомое значение
неизвестных параметров (
) по серии экспериментов
где
- среднее значение по
серии L экспериментов, определяемое по формуле
, (86)
, (87)Контроль правильности использования данного метода осуществляют по условию равенства нормальной скорости распространения пламени в стехиометрической изопропаноло-воздушной смеси в стандартных условиях значению (0,29± ,02) м·с-1.
Сходимость метода при доверительной вероятности 95 % не должна превышать 10 %. Воспроизводимость метода при доверительной вероятности 95 % не должна превышать 20 %.
1.3.5. Для каждой серии испытаний, отличающейся начальным
давлением и/или температурой, определяют значения
в соответствии с 1.3.2 - 1.3.4 и изменение нормальной скорости в процессе горения
по формуле (70). Температура горючей
смеси в процессе горения изменяется по закону
Используя формулы (70)
и (88). на графике su (р) строят серию изотерм. Например, первую изотерму (Ти = Тi), при условии равенства
начальной температуры смеси во всех сериях испытаний, строят по точкам
, где различные начальные давления pi
- заданы, a
- определены
методом оптимизации. Для построения следующих изотерм (Tи
= const) по формуле
(88) определяют относительное давление p и давление p = p pi, при котором температура горючей смеси равна
выбранному значению Ти в
серии испытаний с различными начальными давлениями. Определив из формулы (88)
значение p,
находят по формуле (70) соответствующее
значение нормальной скорости sи для каждой
серии испытаний, т. е. при одинаковой температуре Tи
и различных давлениях р.
1.3.6. Условия и результаты испытаний регистрируют в протоколе, форма которого приведена п приложении 1.
1.4. Требования безопасности
Реакционный сосуд следует устанавливать в отдельном специальном помещении с вытяжной вентиляцией. Подготовку и проведение эксперимента при давлении больше атмосферного осуществляют дистанционно. Рабочее место оператора должно удовлетворять требованиям электробезопасности по ГОСТ 12.1.019 и санитарно-гигиеническим требованиям по ГОСТ 12.1.005.
2. Метод начального участка, применяемый для определения одиночных значений нормальной скорости распространения пламени.
2.1. Аппаратура.
Описание установки приведено в 1.1.
2.2. Проведение испытаний
Испытания проводят согласно 1.2. Для регистрации процесса распространения пламени применяют скоростную кинокамеру. В отличие от требования 1.2.5 экспериментальная зависимость изменения давления внутри сосуда во времени не подлежит обработке по 1.3.
2.3. Оценка результатов.
2.3.1. По кинограмме распространения пламени на начальном участке (до 1/3) радиуса сосуда), по углу наклона прямой, выражающей зависимость радиуса пламени or времени, определяют значение видимой скорости распространения пламени ss.
2.3.2. Значение коэффициента расширения продуктов горения (Ei) определяют либо расчетным путем по формуле
либо по экспериментальным данным из соотношения
где Tbi, Тi, и Mbi, Мi - соответственно температура и молекулярная масса продуктов горения сразу после зажигания и начальной горючей смеси.
2.3.3. Нормальную скорость распространения пламени при начальных значениях давления и температуры в сосуде вычисляют по формуле
2.3.4. Сходимость метода при доверительной вероятности 95 % не должна превышать 10 %.
2.3.5. Воспроизводимость метода при доверительной вероятности 95 % не должна превышать 20 %.
1. Аппаратура.
Описание установки приведено в 1.1 приложения 7.
2. Проведение испытаний.
Испытания проводят согласно 1.2 приложения 7. Экспериментальную зависимость изменения давления во времени обрабатывают в соответствии с 3.
3. Оценка результатов.
3.1. За максимальное давление взрыва исследуемой газо- и паровоздушной смеси при известных значениях начального давления и температуры принимают наибольшее давление взрыва, полученное в процессе испытаний при различных концентрациях горючего в смеси.
3.2. За максимальную скорость нарастания давления принимают наибольшее значение тангенса угла наклона касательной к экспериментальной зависимости «давление - время», полученное в процессе испытаний при различных концентрациях горючего в смеси.
3.3. Условия и результаты испытаний регистрируют в протоколе, форма которого приведена в приложении 1.
Проверку режимов работы установки, применяемой для определения коэффициента дымообразования, осуществляют с помощью стандартного образца, (черт. 24), включающего в себя лодочку из листовой нержавеющей стали толщиной 1 мм, в центре которой закреплена цилиндрическая емкость внутренним диаметром 15 мм, высотой 8 мм и толщиной стенки 2 мм. Емкость наполнена смесью дибутилфталата и дисперсного кварцевого песка (размолотого кварцевого стекла).

1 - песок; 2 - жидкость; 3 - лодочка; 4 - цилиндрическая емкость.
Перед приготовлением стандартного образца лодочку прокаливают при температуре 750-800°С не менее 5 мин. После охлаждения лодочки до комнатной температуры ее очищают от сажи и промывают спиртом. С помощью дозирующего устройства (например, медицинского шприца) в чистую сухую цилиндрическую емкость лодочки наливают определенное количество дибутилфталата, а затем туда же насыпают (10,0±0,1) г кварцевого песка. Количество дибутилфталата для режима тления (0,10±0,01) г, для режима горения - (0,20±0,01) г.
Проверку работы установки, применяемой для определения индекса распространения пламени, осуществляют с помощью макета стандартного образца (черт. 25). состоящего из пластины негорючего материала - асбосилита размерами (320х140) мм и толщиной 20 мм, плотностью 800 кг·м-3. В пластину на расстоянии 30 мм друг от друга вмонтированы емкости, снабженные щелевыми отверстиями в определенных точках поверхности. В емкости с помощью шприца заливают химически чистый диэтаноламин. В емкости № 1 - 7 заливают (2,0±0,1) см3, в емкости № 8, 9 - (5,0±0,2) см3. Перед заправкой макета стандартного образца с его поверхности удаляют сажу и образец прокаливают в термошкафу в течение 1 ч при температуре (200±20) °С.

Черт. 25.
1 - корпус; 2 - емкости для горючей жидкости, пронумерованные сверху вниз; 3 - горючая жидкость.
Метод расчета максимального давления взрыва газо- и паровоздушных смесей распространяется на вещества, состоящие из атомов С, H, O, N, S, F, Сl, Вr, P, Si.
1. Максимальное давление взрыва рмакс без учета степени диссоциации продуктов горения в кПа вычисляют по формуле
, (92)где рн - начальное давление, при котором находится исходная смесь, кПа;
Тад (V) - адиабатическая температура горения стехиометрической смеси горючего с воздухом при постоянном объеме, К;
- сумма
числа молей конечных продуктов горения;
Ти - температура исходной смеси. К;
- сумма
числа молей газообразных исходных веществ.
2.1. Если для горючего вещества неизвестна адиабатическая температура горения стехиометрической смеси, то ее вычисляют по формуле
где
- абсолютная
энтальпия горючего, кДж·моль-1. Вычисляют по формуле
(94)
где
- стандартная теплота
образования горючего вещества, кДж·моль-1;
-
абсолютная энтальпия простых веществ и продуктов их горения, значения которых
приведены в табл. 30 - 32:
-
абсолютная энтальпия галогена, кДж·моль-1. Если в молекуле горючего
вещества несколько галогенов, то выражение
заменяют на
;
R - универсальная газовая постоянная, кДж·моль-1·К-1;
Т°, T’ - соответственно начальная температура исходной горючей смеси и температура горения, К;
- абсолютные энтальпии продуктов
горения, значения которых приведены в табл.
31 и 32.
Задача вычисления адиабатической температуры горения сводится к нахождению такой температуры (T’), при которой наблюдается равенство внутренних энергий исходных веществ и продуктов их горения.
|
Вещество |
Абсолютная энтальпия при 298,15 К, кДж·моль-1 |
|
Br2 (жидкость) |
-21,159 |
|
C (газ) |
1108,235 |
|
H2O (жидкость) |
-34, 071 |
|
P (тв., белый) |
719,625 |
|
S (ромб) |
298,460 |
|
S2 (газ) |
725,954 |
|
Si |
906,514 |
3. Значение
без учета степени
диссоциации продуктов горения вычисляют по формуле
где mC, mS, mX, mH, mN, mP - число атомов углерода, серы, галоида, водорода, азота, фосфора в молекуле горючего вещества.
Значение
вычисляют по формуле
где b - стехиометрический коэффициент кислорода, вычисляемый по формуле (36).
Относительная средняя квадратическая погрешность расчета по формуле (92) составляет 30%.
|
Т, К |
Абсолютные энтальпии простых веществ и продуктов их горения, кДж·моль-1 |
||||||||||||
|
Воздух |
CO2 |
CO |
O2 |
O |
H2O |
OH |
H2 |
H |
N2 |
NO |
Ar |
C (графит) |
|
|
0 |
0 |
0 |
279,07 |
0 |
246,55 |
0 |
158,04 |
238,94 |
335,17 |
0 |
89,78 |
0 |
393,21 |
|
298,15 |
8,66 |
0,35 |
287,74 |
8,67 |
253,27 |
9,91 |
166,86 |
247,39 |
341,36 |
8,67 |
98,95 |
6,19 |
394,19 |
|
400 |
11,64 |
13,36 |
290,71 |
11,69 |
255,48 |
13,36 |
169,88 |
250,37 |
343,47 |
11,64 |
101,99 |
8,30 |
395,21 |
|
600 |
17,62 |
22,25 |
296,67 |
17,91 |
259,73 |
20,41 |
175,78 |
256,22 |
347,63 |
17,56 |
108,09 |
12,46 |
398,14 |
|
800 |
23,86 |
32,14 |
302,90 |
24,49 |
263,93 |
27,93 |
181,72 |
262,14 |
351,79 |
23,71 |
114,48 |
16,61 |
401,87 |
|
1000 |
30,36 |
42,72 |
309,40 |
31,36 |
268,12 |
35,94 |
187,76 |
268,09 |
355,94 |
30,13 |
121,15 |
20,77 |
406,02 |
|
1200 |
37,09 |
53,77 |
316,14 |
38,41 |
272,29 |
44,48 |
193,98 |
274,21 |
360,09 |
36,78 |
128,02 |
24,92 |
410,45 |
|
1400 |
44,00 |
65,19 |
323,04 |
45,60 |
276,46 |
53,51 |
200,39 |
280,49 |
364,24 |
43,61 |
135,04 |
29,08 |
415,09 |
|
1600 |
51,05 |
76,87 |
330,08 |
52,91 |
280,63 |
62,97 |
206,99 |
286,95 |
368,40 |
50,58 |
142,17 |
33,23 |
419,90 |
|
1800 |
58,20 |
88,70 |
337,21 |
60,31 |
284,79 |
72,82 |
213,72 |
293,57 |
372,55 |
57,65 |
149,39 |
37,38 |
424,83 |
|
2000 |
65,44 |
100,71 |
344,42 |
67,81 |
288,96 |
83,02 |
220,60 |
300,36 |
376,70 |
64,81 |
156,66 |
41,54 |
429,85 |
|
2200 |
72,76 |
112,82 |
351,69 |
75,41 |
293,11 |
93,41 |
227,60 |
306,99 |
380,86 |
71,97 |
163,98 |
45,69 |
434,53 |
|
2400 |
80,14 |
125,04 |
359,01 |
83,10 |
297,28 |
104,14 |
234,71 |
314,03 |
385,01 |
79,26 |
171,35 |
49,85 |
439,69 |
|
2600 |
86,58 |
137,32 |
366,37 |
90,88 |
301,44 |
115,08 |
241,91 |
321,19 |
389,16 |
86,57 |
178,75 |
54,00 |
444,92 |
|
2800 |
95,06 |
149,69 |
373,77 |
98,74 |
305,61 |
126,22 |
249,22 |
328,46 |
393,32 |
93,91 |
186,17 |
58,15 |
450,20 |
|
3000 |
102,60 |
162,10 |
381,18 |
106,69 |
309,79 |
137,56 |
256,56 |
335,82 |
397,47 |
101,30 |
193,62 |
62,307 |
455,54 |
|
3200 |
110,17 |
174,55 |
388,64 |
114,72 |
313,98 |
149,05 |
263,99 |
343,27 |
401,62 |
108,71 |
201,08 |
66,46 |
460,93 |
|
3400 |
117,77 |
187,06 |
396,10 |
122,82 |
318,18 |
160,69 |
271,49 |
350,81 |
405,77 |
116,14 |
208,57 |
70,60 |
466,37 |
|
3600 |
125,41 |
199,61 |
403,60 |
130,98 |
322,39 |
172,47 |
279,04 |
358,44 |
409,93 |
123,61 |
216,08 |
74,77 |
471,86 |
|
3800 |
133,08 |
212,19 |
411,10 |
139,22 |
326,62 |
184,37 |
286,65 |
366,13 |
414,08 |
131,08 |
223,60 |
78,92 |
477,41 |
|
4000 |
140,78 |
224,81 |
418,63 |
147,51 |
330,87 |
196,42 |
294,30 |
373,90 |
418,23 |
138,58 |
231,13 |
83,08 |
483,00 |
|
Т, К |
Абсолютные энтальпии простых веществ и продуктов их горения, кДж·моль-1 |
|||||||||||||
|
HF |
CF4 |
F2 |
F |
HCl |
Cl2 |
Cl |
HBr |
Br2 |
Br |
P4O10 |
P (газ) |
SO2 |
SiO2 |
|
|
0 |
0 |
75,04 |
298,14 |
226,25 |
27,35 |
0 |
119,33 |
67,90 |
0 |
94,93 |
0 |
1030,6 |
64,06 |
0 |
|
298.15 |
8,60 |
87,77 |
306,97 |
232,76 |
35,99 |
9,18 |
125,59 |
76,55 |
9,73 |
101,14 |
30,17 |
1036,8 |
44,61 |
6,93 |
|
400 |
11,56 |
94,60 |
310,25 |
235,06 |
38,96 |
12,71 |
127,85 |
79,53 |
13,43 |
103,25 |
51,69 |
1038,9 |
78,86 |
11,97 |
|
600 |
17,40 |
110,70 |
317,11 |
239,48 |
44,83 |
19,92 |
132,38 |
85,40 |
20,84 |
107,41 |
102,52 |
1043,1 |
88,15 |
23,85 |
|
800 |
23,28 |
128,93 |
324,29 |
243,80 |
50,82 |
27,30 |
136,92 |
91,52 |
28,33 |
111,59 |
159,64 |
1047,2 |
98,33 |
37,57 |
|
1000 |
29,25 |
148,32 |
331,67 |
248,07 |
57,04 |
34,78 |
141,39 |
97,86 |
35,86 |
115,82 |
220,03 |
1051,4 |
109,04 |
52,61 |
|
1200 |
35,36 |
168,37 |
339,18 |
252,30 |
63,48 |
42,32 |
145,80 |
104,45 |
43,43 |
120,13 |
282,27 |
1055,5 |
120,08 |
66,97 |
|
1400 |
41,63 |
188,84 |
346,82 |
256,52 |
70,12 |
49,91 |
150,17 |
11,23 |
51,02 |
124,51 |
345,66 |
1059,7 |
131,35 |
81,26 |
|
1600 |
48,08 |
209,58 |
354,54 |
260,72 |
76,94 |
57,54 |
154,49 |
118,19 |
58,65 |
128,96 |
409,78 |
1063,9 |
142,77 |
95,99 |
|
1800 |
54,70 |
230,49 |
362,38 |
264,91 |
83,90 |
65,21 |
158,79 |
125,27 |
66,30 |
133,45 |
474,42 |
1068,0 |
154,31 |
111,29 |
|
2000 |
61,45 |
251,56 |
370,35 |
269,10 |
90,99 |
72,93 |
163,06 |
132,48 |
73,98 |
137,98 |
539,42 |
1072,3 |
165,95 |
126,59 |
|
2200 |
68,27 |
272,46 |
378,05 |
273,27 |
98,08 |
80,62 |
167,32 |
139,64 |
81,61 |
142,52 |
604,11 |
1076,49 |
177,55 |
154,34 |
|
2400 |
75,26 |
293,67 |
386,25 |
277,45 |
105,34 |
88,43 |
171,56 |
147,00 |
89,37 |
147,08 |
669,52 |
1080,81 |
189,27 |
174,42 |
|
2600 |
82,32 |
314,95 |
394,55 |
281,62 |
112,67 |
96,30 |
175,78 |
154,45 |
97,16 |
151,63 |
735,08 |
1085,23 |
201,21 |
194,50 |
|
2800 |
89,48 |
336,25 |
402,92 |
285,79 |
120,09 |
104,21 |
180,01 |
161,74 |
105,02 |
156,16 |
800,76 |
1089,75 |
213,16 |
214,59 |
|
3000 |
96,74 |
357,59 |
411,38 |
289,96 |
127,64 |
112,21 |
184,22 |
169,49 |
112,96 |
160,71 |
866,57 |
1094,38 |
225,15 |
234,67 |
|
3200 |
104,04 |
378,99 |
419,91 |
294,12 |
135,06 |
120,26 |
188,42 |
177,08 |
121,00 |
165,23 |
932,45 |
1099,14 |
237,24 |
254,75 |
|
3400 |
111,40 |
400,39 |
428,44 |
298,28 |
142,62 |
128,37 |
192,62 |
184,75 |
129,16 |
169,74 |
998,40 |
1104,04 |
249,36 |
274,83 |
|
3600 |
118,84 |
421,81 |
436,93 |
302,44 |
150,24 |
136,59 |
196,82 |
192,44 |
137,44 |
174,23 |
1064,38 |
1109,06 |
261,59 |
294,92 |
|
3800 |
126,33 |
445,00 |
445,46 |
306,61 |
157,90 |
144,81 |
201,01 |
200,20 |
145,88 |
178,71 |
1130,42 |
1114,21 |
273,89 |
315,00 |
|
4000 |
133,85 |
464,73 |
453,91 |
310,77 |
165,60 |
153,14 |
205,20 |
207,99 |
154,46 |
183,17 |
1196,50 |
1119,50 |
286,20 |
335,00 |
1 Метод заключается в определении верхних границ для максимальной и средней скорости нарастания давления взрыва газо- и паровоздушных смесей в сферическом реакционном сосуде постоянного объема.
Верхнюю границу для максимальной скорости нарастания давления в кПа·с-1 вычисляют по формуле
где pi - начальное давление, кПа;
Sи.i - нормальная скорость распространения пламени при начальных давлении и температуре, м·с-1;
a - радиус сферического реакционного сосуда, м;
-
безразмерное максимальное давление взрыва;
рe - максимальное абсолютное давление взрыва, кПа;
gи - показатель адиабаты для исследуемой смеси;
e - термокинетический показатель степени в зависимости нормальной скорости распространения пламени от давления и температуры. Если значение e неизвестно, его принимают равным 0,4.
Верхнюю границу для средней скорости нарастания давления в кПа·с-1 вычисляют по формуле
, (98)где
- функция от
параметров pе,
gи,
e,
значения которой находят с помощью номограмм, приведенных на черт. 26 и 27.

Черт. 26.
Значения pе и gи находят термодинамическим расчетом или, в случае невозможности расчета, принимают равным соответственно 9,0 и 1,4.
Относительная средняя квадратическая погрешность расчета по формулам (97) и (98) не превышает 20 %.

Черт. 27.
2. Максимальную скорость нарастания давления взрыва газо- и паровоздушных смесей для веществ, состоящих из атомов C, H, O, N, S, F, Cl вычисляют по формуле
, (99)
где V - объем реакционного сосуда, м3.
Относительная средняя квадратическая погрешность расчета по формуле (99) не превышает 30 %.
1. Аппаратура.
Аппаратура для определения условий теплового самовозгорания включает в себя следующие элементы.
1.1. Термостат вместимостью рабочей камеры не менее 40 дм3 с терморегулятором, позволяющим поддерживать постоянную температуру от 60 до 250°С с погрешностью не более 3 °С.
1.2. Корзиночки из коррозионно-стойкого металла кубической или цилиндрической формы высотой 35, 50, 70, 100, 140 и 200 мм (по 10 шт. каждого размера) с крышками. Диаметр цилиндрической корзиночки должен быть равен ее высоте. Толщина стенки корзиночки - (1,0±0,1) мм.
1.3. Термоэлектрические преобразователи (не менее 3) максимальным диаметром рабочего спая не более 0,8 мм.
2. Подготовка к испытанию.
2.1. Проводят тарировочное испытание с целью определения поправки (DtT) к показаниям термоэлектрических преобразователей 2 и 3. Для этого в термостат, нагретый до заданной температуры, помещают корзиночку с негорючим веществом (например, прокаленным песком). Устанавливают термоэлектрические преобразователи (черт. 2) таким образом, чтобы рабочий спай одного термоэлектрического преобразователя контактировал с образцом и располагался в его центре, второго - соприкасался с внешней стороной корзиночки, третьего - находился на расстоянии (30±1) мм от стенки корзиночки. Рабочие спаи всех трех термоэлектрических преобразователей должны располагаться на одном горизонтальном уровне, соответствующем средней линии термостата.

Черт. 28.
1, 2, 3 - рабочие спаи термоэлектрических преобразователей.
Корзиночку с негорючим веществом выдерживают в термостате до установления стационарного режима, при котором показания всех термоэлектрических
преобразователей в течение 10 мин остаются неизменными или колеблются с постоянной амплитудой около средних температур t1, t2, t3. Поправку DtT вычисляют по формуле
2.2. Образцы для испытания должны характеризовать средние свойства исследуемого вещества (материала). При испытании листового материала его набирают в стопку, соответствующую внутренним размерам корзиночки. В образцах монолитных материалов предварительно высверливают до центра отверстие диаметром (7,0±0,5) мм для термоэлектрического преобразователя.
3. Проведение испытаний.
3.1. Заполняют корзиночку исследуемым образцом. Устанавливают термоэлектрические преобразователи в соответствии с 2.1. Корзиночку запрещают крышкой и помещают ее в центр термостата, нагретого до заданной температуры испытания (например, 200 °С).
За температуру испытания принимают среднее арифметическое показаний термоэлектрических преобразователей 2 и 3 за вычетом поправки DtT.
3.2. Образец выдерживают в термостате до самовозгорания или (при отсутствии самовозгорания) в течение времени. указанного в табл. 33.
|
Высота корзиночки, мм |
Продолжительность испытания на самовозгорание, ч |
|
35 |
6 |
|
50 |
12 |
|
70 |
24 |
|
100 |
48 |
|
140 |
96 |
|
200 |
192 |
За самовозгорание принимают повышение температуры образца (по показаниям термоэлектрического преобразователя 1) до (450±50) °С.
3.3. Если при первом испытании самовозгорание не произошло в течение времени, указанного в табл. 33, тo следующее испытание с новым образцом данного объема проводят при большей температуре.
3.4. Если при первом испытании произошло самовозгорание, то следующее испытание с новым образцом данного объема проводят при меньшей температуре (например, на 20 °С меньше).
3.5. Испытания повторяют при различных температурах с образцами данного объема до достижения минимальной температуры, при которой происходит самовозгорание, а при температуре на 10 °С меньше минимальной самовозгорание не происходит. Среднее арифметическое значение этих температур принимают за температуру самовозгорания образца данного объема.
Аналогичные испытания проводят с образцами исследуемого вещества в корзиночках других размеров.
4. Оценка результатов.
4.1. На основании полученных результатов испытаний строят графики зависимости логарифма температуры самовозгорания от логарифма удельной поверхности и логарифма времени до самовозгорания (черт. 29), которые описываются уравнениями
прямой линии:

где tc - температура самовозгорания, °С;
Ap, np, An, nn - коэффициенты, определяемые по опытным данным;
t - продолжительность испытания от момента выравнивания температур образца исследуемого вещества и термостата до момента самовозгорания, ч;
S - удельная поверхность образца, в м-1 вычисляемая по формуле
где F - полная наружная поверхность образца, м2;
V - объем образца, м2.
4.2. Условия и результаты испытаний регистрируют в протоколе, форма которого приведена в приложении 1.
5. Требования безопасности.
Из-за выделения токсичных продуктов термического разложения термостат следует устанавливать в отдельном помещении с приточно-вытяжной вентиляцией, обеспечивающей кратность обмена воздуха не менее восьми. Рабочее место оператора должно удовлетворять санитарно-гигиеническим требованиям по ГОСТ 12.1.005.
1. Аппаратура.
Установка для определения минимальной энергии зажигания пылевоздушных смесей (черт. 30) включает в себя следующие элементы.

Черт. 30.
1 - вибратор; 2 - распылитель; 3 - сетка; 4 - электроды зажигания; 5 - регулятор межэлектродного расстояния.
1.1. Виброситовой распылитель на базе электромагнитного вибратора от вибромассажного прибора ВПМ-З мощностью 18 Вт, обеспечивающий создание пылевого облака различной концентрации. Изменение концентрации пылевоздушной смеси, достигается регулировкой напряжения на вибраторе распылителя, в диапазоне 20-240 В. Распылитель снабжен ситами с размером ячеек 40 и 100 мкм. Диаметр сит должен быть 15-20 мм. Расстояние между ситом распылителя и горизонтальной плоскостью расположения электродов должно регулироваться дискретно с погрешностью не более 1 мм и принимать значения 5; 10 мм.
1.2. Электроды искрового источника зажигания, представляющие собой стержни из нержавеющей стали диаметром не более 3 мм, длиной не менее 20 мм. Электроды закреплены горизонтально и соосно друг к другу. Угол заточки электродов должен быть не более 15°, расстояние между электродами составляет 2 - 6 мм и регулируется дискретно с шагом 1 мм и погрешностью ±0,1 мм.
1.3. Установка должна обеспечивать искровой разряд с запасенной энергией 10-3-10-1 Дж (при необходимости указанные пределы можно расширить). Частота следования искровых разрядов не должна превышать 2 Гц. В блоке формирования искрового разряда используют источник высокого напряжения постоянного тока с регулируемым напряжением от 5 до 12 кВ; киловольтметр типа С-196; измеритель L, C, R типа Е7-14; конденсаторы вакуумные типа КИ 1-4 для запасаемой энергии от 0 до 50 мДж и дополнительные конденсаторы типа ФГТ-И для запасаемой энергии от 50 до 100 мДж; индуктивность в качестве которой используется высоковольтная обмотка автомобильной катушки зажигания типа Б.1.15; вакуумные выключатели типа ВВ-16/10. Монтаж высоковольтной цепи должен производиться высоковольтным проводом марки ППОВ, а суммарная длина провода не должна превышать 2 м.
1.4. Пригодность установки к работе проверяют по ликоподию (ГОСТ 22226), минимальная энергия зажигания которого должна быть равной (15±5) мДж.
2. Проведение испытаний.
2.1. Для испытаний используют пыль дисперсностью менее 100 мкм.
2.2. Регулируют параметры разрядного контура (емкость рабочего конденсатора и напряжение на его обкладках) таким образом, чтобы обеспечивалось заданное значение запасенной в конденсаторе энергии.
2.3. Устанавливают в распылитель сито с таким размером ячеек, при котором достигается максимальный диапазон изменения концентрации пыли. Виброситовым распылителем создается пылевоздушная смесь, пронизывающая разрядный промежуток.
2.4. Включают рабочую и контролирующую аппаратуру, обеспечивающую .режим периодичного инициирования искрового разряда.
2.5. Испытания на воспламенение пылевоздушной смеси проводят при заведомо зажигающей энергии, дающей вероятность воспламенения от 0,1 до 0,6. При этом величина разрядного промежутка равна 4 мм, расстояние между ситом и электродами равно 10 мм.
Если при 100 мДж нет воспламенений пылевоздушной смеси, то испытания повторяют, изменяя величину разрядного промежутка (см. 1.1), высоту сита над электродами, а также напряжение на вибраторе с шагом 50 В. Число искровых разрядов в каждой серии должно быть не менее 100.
Минимальной энергией зажигания данной пылевоздушной смеси считают энергию св. 100 мДж, если при испытаниях не зарегистрировано ни одного воспламенения.
2.6. В момент воспламенения пылевоздушной смеси отключают виброситовой распылитель и источник высокого напряжения постоянною тока.
За воспламенение принимают горение пылевоздушной смеси и распространение пламени от источника зажигания на расстояние, более чем в 2 раза превышающее разрядный промежуток.
2.7. Испытания на воспламенение пылевоздушной смеси повторяют при различном напряжении на вибраторе распылителя до выявления наиболее легко воспламеняющейся смеси.
Наиболее легко воспламеняющаяся пылевоздушная смесь имеет самую высокую вероятность воспламенения. Вероятность воспламенения (Р) вычисляют по формуле
,
где m - число воспламенений пылевоздушной смеси в данной серии испытаний;
n - общее число искровых разрядов в данной серии испытаний.
Примечание - Число воспламенений должно быть одинаковым в каждой серии и не менее 10.
2.8. Изменяя расстояние (h) между ситом дозатора и электродами, а также величину разрядного промежутка (l), повторяют испытания с наиболее легко воспламеняющейся пылевоздушной смесью до выявления оптимальных значений переменных параметров h и l. Оптимальные значения указанных параметров характеризуются наибольшей вероятностью воспламенения.
2.9. Изменяя энергию искрового разряда, проводят испытания с наиболее легко воспламеняющейся пылевоздушной смесью при оптимальных значениях h и l до выявления минимальной энергии зажигания. По экспериментальным данным строят кривую зависимости вероятности воспламенения от величины энергии зажигания (черт. 31).
Зависимость вероятности воспламенении пылевоздушной смеси сополимера САМЕД (ГОСТ 12271) от значения энергии зажигания.

3. Оценка результатов.
3.1. За минимальную энергию зажигания исследуемой пылевоздушной смеси принимают значение энергии зажигания, соответствующее вероятности воспламенения 0,01.
3.2. Условия и результаты испытаний регистрируют в протоколе, форма которого приведена в приложении 1.
4. Требования безопасности.
Установку следует помещать в вытяжном шкафу. Рабочее место оператора должно удовлетворять требованиям электробезопасности по ГОСТ 12.1.019 и санитарно-гигиеническим требованиям по ГОСТ 12.1.005.
1. Аппаратура.
Описание аппаратуры для определения максимальной скорости нарастания давления взрыва пылевоздушных смесей приведено в 4.11.1.
2. Подготовка к испытанию.
Подготовка к испытанию - по 4.11.2.
3. Проведение испытаний.
Испытания по определению максимальной скорости нарастания давления взрыва пылевоздушных смесей проводят согласно 4.11.3.
4. Оценка результатов.
По результатам единичного испытания определяют наибольшее значение скорости нарастания давления взрыва пылевоздушной смеси по формуле
где
- соответственно
значения скорости нарастания давления взрыва и максимальной скорости изменения
давления в процессе единичного испытания, кПа с-1.
Для определения максимальной скорости нарастания давления взрыва строят кривую зависимости скорости нарастания давления взрыва (dp/dt)взр от концентрации вещества r. Наибольшее из полученных значений (dp/dt)взр принимают за максимальную скорость нарастания давления взрыва исследуемого вещества.
5. Условия и результаты испытаний регистрируют в протоколе, форма которого приведена в приложении 1.
1. РАЗРАБОТАН И ВНЕСЕН Министерством внутренних дел СССР
РАЗРАБОТЧИКИ:
А. Я. Корольченко, д-р техн. наук, профессор; Л. С. Афанасьева.;. В. С. Бабкин, д-р техн. наук; О. М. Говдак; В. И. Горшков, канд. техн. наук; Н. Н. Гурьянова, канд. техн. наук; М. О. Девликанов; А. В. Иванов, канд. техн. наук; В. С. Иличкин; Б. 3. Колчев; Г. Н. Кравчук; В. С. Криворучко; В. Н. Кривулин, канд. техн. наук; Н. М. Круглякова; Е. А. Кудрявцев, канд. техн. наук; В. С. Кулев; М. П. Маленков; В. В. Мольков, канд. физ.-мат. наук; В. А. Мороз; М. А. Мотин; В. Ю. Навценя, канд. техн. наук; Н. Л. Полетаев, канд. техн. наук; С. А. Попов, канд. техн. наук; В. М. Сидорюк; Г. Н. Смелков, д-р техн. наук; Н. А. Терешина; Р. 3. Фахрисламов, канд. техн. наук; Л. Г. Филин, канд. техн. наук; Ю. Н. Шебеко, д-р техн. наук; В. А. Ярош, канд. техн. наук.
2. УТВЕРЖДЕН И ВВЕДЕН В ДЕЙСТВИЕ Постановлением Государственного комитета СССР по управлению качеством продукции и стандартам от 12.12.89 № 3683
3. Срок первой проверки 1995 г., периодичность проверки 5 лет.
4. Стандарт полностью соответствует международному стандарту МЭК 79-4-75 по определению температуры самовоспламенения газов и жидкостей. Стандарт соответствует международному стандарту ИСО 1182-83 в части метода проведения испытания материалов на негорючесть; СТ СЭВ 382-76 в части оценки результатов испытания материалов на негорючесть; ИСО 2719-73 и СТ СЭВ 1495-75 в части скорости нагревания образца и проведения испытания на вспышку нефтепродуктов в закрытом тигле; ИСО 1523-83 в части скорости нагревания образца и проведения испытания на вспышку лаков, красок, нефтяных и аналогичных продуктов в закрытом тигле; ИСО 2592-73 и СТ СЭВ 5469-86 в части определения, температуры вспышки и воспламенения нефтепродуктов в открытом тигле; СТ СЭВ 4831-84 в части метода определения концентрационного предела распространения пламени в пылевоздушных смесях.
В стандарт введены международный стандарт ИСО 4589-84, СТ СЭВ 6219-88 и СТ СЭВ 6527-88.
5. ВЗАМЕН ГОСТ 12.1.044-84.
6. ССЫЛОЧНЫЕ НОРМАТИВНО-ТЕХНИЧЕСКИЕ ДОКУМЕНТЫ
|
Обозначение НТД, на который дана ссылка |
Номер пункта, подпункта приложения |
|
ГОСТ 12.1.004 -91 |
1.1, 2.1.3, 2.2.2, 2.3.2, 2.4.2, 2.5.2, 2.6.2, 2.8 2, 2.9.2, 2.12.2, 2.17.2, 2.18.2, 2.19.2, 2.20.2 |
|
4.1.5, 4.3.5, 4.4.5, 4.5.5, 4.6.5, 4.7.5, 4.8.4, 4.9.5, 4.10.5, 4.11.5, 4.12.5, 4.13.5, 4.14.5, 4.15.4, 4.16.4, 4.18.5, 4.19.5, 4.20.5, 4.21.4, приложения 7, 13, 14 |
|
|
1.1, 2.2.2, 2.3.2, 2.4.2, 2.5.2, 2.6.2, 2.9.2, 2.12.2, 2.17.2, 2.18.2, 2.19.2, 2.20.2 |
|
|
2.4.2 |
|
|
2.9.2 |
|
|
4.1.5, 4.4.5, 4.5.5, 4.6.5, 4.7.5, 4.8.5, 4.9.5, 4.10.5.3, 4.11.5, 4.12.5, 4.13.5, 4.16.4, 4.18.5, 4.19.5, 4.20.5, 4.21.4, приложения 7. 14 |
|
|
ГОСТ 400-80 |
4.5.1.3 |
|
4.12.2.5 |
|
|
ГОСТ 2715-75 |
Приложение 14 |
|
4.16.1.1 |
|
|
ГОСТ 6006-78 |
4.12.2.5 |
|
ГОСТ 8894 -86 |
4.11.1.1 |
|
ГОСТ 9147-80 |
4.5.1.2 |
|
ГОСТ 10667-90 |
4.7.2.4 |
|
ГОСТ 12271-76 |
Приложение 14 |
|
ГОСТ 12423 -66 |
4.7.2.2, 4.13.2.2, 4.14.3.1 |
|
ГОСТ 12766.1-90 |
4.11.1.3, 4.18.1.1, 4.20.1.1 |
|
ГОСТ 16363-76 |
4.3.2.6 |
|
ГОСТ 19433-88 |
1.1 |
|
ГОСТ 19908-90 |
4.8.1.1 |
|
ГОСТ 21793-76 |
4.14 |
|
ГОСТ 22226-76 |
4.11.2.5, приложение 14 |
|
ГОСТ 22300-76 |
4.16.1.7 |
7. ПЕРЕИЗДАНИЕ. Январь 1996 г.
СОДЕРЖАНИЕ