Нормативные документы размещены исключительно с целью ознакомления учащихся ВУЗов, техникумов и училищ.
Объявления:

ГОСТ Р 51164-98

ГОСУДАРСТВЕННЫЙ СТАНДАРТ РОССИЙСКОЙ ФЕДЕРАЦИИ

ТРУБОПРОВОДЫ СТАЛЬНЫЕ
МАГИСТРАЛЬНЫЕ

ОБЩИЕ ТРЕБОВАНИЯ К ЗАЩИТЕ ОТ КОРРОЗИИ

ГОССТАНДАРТ РОССИИ

Москва

Предисловие

1 РАЗРАБОТАН Инжиниринговой научно-исследовательской компанией Всероссийский научно-исследовательский институт по строительству трубопроводов и объектов ТЭК (АО ВНИИСТ), Всероссийским научно-исследовательским институтом природного газа и газовых технологий (ВНИИГАЗ) и Институтом проблем транспорта энергоресурсов (ИПТЭР)

ВНЕСЕН Министерством топлива и энергетики Российской Федерации

2 УТВЕРЖДЕН И ВВЕДЕН В ДЕЙСТВИЕ Постановлением Госстандарта России от 23 апреля 1998 г. № 144

3 ВВЕДЕН ВПЕРВЫЕ

ГОСУДАРСТВЕННЫЙ СТАНДАРТ РОССИЙСКОЙ ФЕДЕРАЦИИ

ТРУБОПРОВОДЫ СТАЛЬНЫЕ МАГИСТРАЛЬНЫЕ

Общие требования к защите от коррозии

Steel pipe mains. General requirements for corrosion protection

Дата введения 1999-07-01

1 ОБЛАСТЬ ПРИМЕНЕНИЯ

Настоящий стандарт устанавливает общие требования к защите от подземной и атмосферной коррозии наружной поверхности стальных (малоуглеродистые низколегированные стали класса не выше К60) магистральных трубопроводов, транспортирующих природный газ, нефть и нефтепродукты, и отводов от них, трубопроводов компрессорных, газораспределительных, перекачивающих и насосных станций, а также нефтебаз, головных сооружений нефтегазопромыслов (включая резервуары и обсадные колонны скважин), подземных хранилищ газа, установок комплексной подготовки газа и нефти, трубопроводов теплоэлектростанций, соединенных с магистральными трубопроводами (далее - трубопроводы), подземной, подводной (с заглублением в дно), наземной (в насыпи) и надземной прокладках, а также трубопроводов на территории других аналогичных промышленных площадок.

Стандарт не распространяется на теплопроводы и трубопроводы, проложенные в населенных пунктах, коллекторах, зданиях, многолетнемерзлых грунтах и в водоемах без заглубления в дно.

2 НОРМАТИВНЫЕ ССЫЛКИ

В настоящем стандарте использованы ссылки на следующие стандарты:

ГОСТ 9.032-74 ЕСЗКС. Покрытия лакокрасочные. Группы, технические требования и обозначения

ГОСТ 9.048-89 ЕСЗКС. Изделия технические. Методы лабораторных испытаний на стойкость к воздействию плесневых грибов

ГОСТ 9.049-91 ЕСЗКС. Материалы полимерные и их компоненты. Методы лабораторных испытаний на стойкость к воздействию плесневых грибов

ГОСТ 9.050-75 ЕСЗКС. Покрытия лакокрасочные. Методы лабораторных испытаний на стойкость к воздействию плесневых грибов

ГОСТ 9.052-88 ЕСЗКС. Масла и смазки. Методы лабораторных испытаний на стойкость к воздействию плесневых грибов

ГОСТ 9.104-79 ЕСЗКС. Покрытия лакокрасочные. Группы условий эксплуатации

ГОСТ 9.602-89 ЕСЗКС. Сооружения подземные. Общие требования к защите от коррозии

ГОСТ 12.0.004-90 ССБТ. Организация обучения безопасности труда. Общие положения

ГОСТ 12.1.004-91 ССБТ. Пожарная безопасность. Общие требования

ГОСТ 12.1.005-88 ССБТ. Общие санитарные гигиенические требования к воздуху рабочей зоны

ГОСТ 12.1.008-76 ССБТ. Биологическая безопасность. Общие требования

ГОСТ 12.1.012-90 ССБТ. Вибрационная безопасность. Общие требования

ГОСТ 12.2.003-91 ССБТ. Оборудование производственное. Общие требования безопасности

ГОСТ 12.2.004-75 ССБТ. Машины и механизмы специальные для трубопроводного строительства. Требования безопасности

ГОСТ 12.2.007.0-75 ССБТ. Изделия электротехнические. Общие требования безопасности

ГОСТ 12.3.005-75 (СТ СЭВ 3951-82) ССБТ. Работы окрасочные. Общие требования безопасности

ГОСТ 12.3.008-75 ССБТ. Производство покрытий металлических и неметаллических неорганических. Общие требования безопасности

ГОСТ 12.3.016-87 ССБТ. Строительство. Работы антикоррозионные. Требования безопасности

ГОСТ 12.4.011-89 (СТ СЭВ 1086-88) ССБТ. Средства защиты работающих. Общие требования и классификация

ГОСТ 112-78 Термометры метеорологические стеклянные. Технические условия

ГОСТ 411-77 Резина и клей. Методы определения прочности связи с металлом при отслаивании

ГОСТ 427-75 Линейки измерительные металлические. Технические условия

ГОСТ 1759.1-82 (СТ СЭВ 2651-80) Болты, винты, шпильки, гайки и шурупы. Допуски. Методы контроля размеров и отклонений формы и расположения поверхностей

ГОСТ 2678-94 Материалы рулонные кровельные и гидроизоляционные. Методы испытаний

ГОСТ 4233-77 Натрий хлористый. Технические условия

ГОСТ 4650-80 (СТ СЭВ 1692-79) Пластмассы. Метод определения влагонасыщения

ГОСТ 6323-79 (СТ СЭВ 578-87) Провода с поливинилхлоридной изоляцией для электрических условий. Технические условия

ГОСТ 6433.2-71 (СТ СЭВ 2411-80) Материалы электроизоляционные твердые. Методы определения электрического сопротивления при постоянном напряжении

ГОСТ 6709-72 Вода дистиллированная. Технические условия

ГОСТ 7871-75 Проволока сварочная из алюминия и алюминиевых сплавов. Технические условия

ГОСТ 9070-75 Вискозиметры для определения условной вязкости лакокрасочных материалов. Технические условия

ГОСТ 10821-75 Проволока из платины и платинородиевых сплавов для термоэлектрических преобразователей. Технические условия

ГОСТ 11262-80 (СТ СЭВ 1199-78) Пластмассы. Метод испытания на растяжение

ГОСТ 12652-74 Стеклотекстолит электротехнический листовой. Технические условия

ГОСТ 13073-77 (СТ СЭВ 4821-84) Проволока цинковая. Технические условия

ГОСТ 13518-68 Пластмассы. Метод определения стойкости полиэтилена к растрескиванию под напряжением

ГОСТ 14236-81 (СТ СЭВ 1490-79) Пленки полимерные. Метод испытаний на растяжение

ГОСТ 14254-96 (МЭК 529-89) Изделия электротехнические. Оболочки. Степени защиты. Обозначения. Методы испытаний

ГОСТ 14759-69 Клеи. Метод определения прочности при сдвиге

ГОСТ 15140-78 Материалы лакокрасочные. Методы определения адгезии

ГОСТ 15150-69 (СТ СЭВ 458-77, СТ СЭВ 460-77, СТ СЭВ 991-78, СТ СЭВ 6136-87) Машины, приборы и другие технические изделия. Исполнения для различных климатических районов. Категории, условия эксплуатации, хранения и транспортирования в части воздействия климатических факторов внешней среды

ГОСТ 16336-77 Композиции полиэтилена для кабельной промышленности. Технические условия

ГОСТ 16337-77 Полиэтилен высокого давления. Технические условия

ГОСТ 16783-71 Пластмассы. Метод определения температуры хрупкости при сдавливании образца, сложенного петлей

ГОСТ 16842-82 Радиопомехи индустриальные. Методы испытания источников индустриальных радиопомех

ГОСТ 17299-78 Спирт этиловый технический. Технические условия

ГОСТ 17792-72 Электрод сравнения хлорсеребряный насыщенный образцовый 2-го разряда

ГОСТ 18299-72 Материалы лакокрасочные. Метод определения предела прочности при растяжении, относительного удлинения при разрыве и модуля упругости

ГОСТ 18300-87 Спирт этиловый ректификованный технический. Технические условия

ГОСТ 18599-83 Трубы напорные из полиэтилена. Технические условия

ГОСТ 22042-76 Шпильки для деталей с гладкими отверстиями. Класс точности В. Конструкция и размеры

ГОСТ 22261-94 Средства измерений электрических и магнитных величин. Общие технические условия

ГОСТ 23511-79 Радиопомехи индустриальные от электротехнических устройств, эксплуатируемых в жилых дамах или подключаемых к их электрическим сетям. Нормы и методы измерений

ГОСТ 23932-90 Посуда и оборудование лабораторные стеклянные. Общие технические условия

ГОСТ 25336-82 Посуда и оборудование лабораторные стеклянные. Типы, основные параметры и размеры

3 ОБЩИЕ ПОЛОЖЕНИЯ

3.1 Требования настоящего стандарта должны выполняться при проектировании, строительстве, монтаже, реконструкции, эксплуатации и ремонте трубопроводов и являются основой при разработке нормативной документации (НД), используемой при защите от коррозии конкретных видов трубопроводов, утвержденной в установленном порядке и согласованной с Госгортехнадзором России.

3.2 Защита трубопроводов от коррозии должна обеспечивать их безаварийную (по этой причине) работу на весь период эксплуатации.

3.3 При всех способах прокладки, кроме надземной, трубопроводы подлежат комплексной защите от коррозии защитными покрытиями и средствами электрохимической защиты, независимо от коррозионной агрессивности грунта.

3.4 При надземной прокладке трубопроводы защищают от атмосферной коррозии металлическими и неметаллическими покрытиями в соответствии с НД на эти покрытия.

3.5 Участки трубопроводов при надземной прокладке должны быть электрически изолированы от опор. Общее сопротивление этой изоляции при нормальных условиях должно быть не менее 100 кОм на одной опоре.

3.6 Магистральные трубопроводы, температура стенок которых в период эксплуатации ниже 268 К (минус 5 °С), не подлежат электрохимической защите в случае отсутствия негативного влияния блуждающих токов источников переменного (50 Гц) и постоянного тока.

Если в строительный период температура стенок и грунта выше указанной температуры, то они подлежат временной электрохимической защите на срок с момента засыпки до момента стабилизации технологического режима эксплуатации согласно НД.

3.7 На нефтегазопромысловых объектах допускается не применять электрохимическую защиту и (или) защитные покрытия при условии технико-экономического обоснования с учетом коррозионной агрессивности грунтов и срока службы объекта при обеспечении безопасной эксплуатации и исключении экологического ущерба.

Обсадные колонны скважин допускается защищать от коррозии только средствами электрохимической защиты.

3.8 Тип, конструкция и материал защитного покрытия и средства электрохимической защиты трубопроводов от коррозии должны быть определены в проекте защиты, который разрабатывается одновременно с проектом нового или реконструируемого трубопровода.

В проекте должны учитываться возможные изменения условий коррозии трубопровода.

3.8.1 Проекты противокоррозионной защиты для трубопроводов длиной более 100 км должны проходить экспертизу в специализированных организациях на соответствие требованиям государственной стандартизации.

3.9 Каждый вновь построенный трубопровод должен иметь сертификат соответствия качества противокоррозионной защиты государственным стандартам и другой НД. Для эксплуатируемых трубопроводов сертификат соответствия может быть выдан только после комплексного обследования. Сертификаты соответствия выдаются органами по сертификации, внесенными в Госреестр.

3.10 Комплексное обследование трубопроводов с целью определения состояния их защиты от коррозии и коррозионного состояния должно проводиться периодически организациями, имеющими право на выполнение этих работ в соответствии с требованиями настоящего стандарта.

Затраты на комплексное обследование и диагностику противокоррозионной защиты строящихся трубопроводов должны быть предусмотрены в проекте.

3.11 На трубопроводах допускается использовать изолирующие соединения (фланцы, муфты и т.п.) согласно требованиям ГОСТ 9.602.

При применении изолирующих соединений необходимо принять меры, исключающие возникновение вредного влияния электрохимической защиты на электроизолированную часть трубопровода и сооружений, имеющих металлический контакт с ним.

3.12 Технические решения проекта, строительство и эксплуатация комплексной защиты трубопроводов от коррозии не должны оказывать вредного влияния на окружающую среду.

4 ТРЕБОВАНИЯ К ЗАЩИТНЫМ ПОКРЫТИЯМ

4.1 Конструкция защитных покрытий трубопроводов при их подземной, подводной (с заглублением в дно) и наземной (в насыпи) прокладке в зависимости от вида материалов и условий нанесения покрытий приведены в таблице 1.

Таблица 1 - Конструкция защитных покрытий строящихся и реконструируемых трубопроводов

Условия нанесения покрытия1)

Номер конструкции

Конструкция (структура) защитного покрытия

Толщина защитного покрытия, мм, не менее, для труб диаметром, мм, не более

Максимальная температура эксплуатации, К (°С)2)

273

530

820

1420

Защитные покрытия усиленного типа

Заводское или базовое

1

Трехслойное полимерное3):

грунтовка на основе термореактивных смол;

термоплавкий полимерный подслой;

защитный слой на основе экструдированного полиолефина

2,0

2,2

2,5

3,0

333 (60)

Заводское или базовое

2

Двухслойное полимерное3):

термоплавкий полимерный подслой;

защитный слой на основе экструдированного полиолефина

2,0

2,2

2,5

3,0

333 (60)

Заводское, базовое или трассовое

3

На основе полиуретановых смол

1,5

2,0

2,0

2,0

353 (80)

Заводское или базовое

4

На основе эпоксидных красок

0,35

-

353 (80)

Заводское или базовое

5

Стеклоэмалевое:

 

 

 

 

 

однослойное

двухслойное

0,3

0,4

0,3

0,4

-

-

-

-

423 (150)

423 (150)

Заводское или базовое

6

Комбинированное на основе мастики и экструдированного полиолефина:

грунтовка битумная или битумно-полимерная;

мастика битумная модифицированная или асфальтосмолистая толщиной 0,8 - 1,0 мм;

защитный слой на основе экструдированного полиолефина

2,54)

3,0

-

-

313 (40)

Заводское или базовое

7

Комбинированное на основе полимерной ленты и экструдированного полиолефина:

грунтовка полимерная;

лента изоляционная липкая толщиной не менее 0,45 мм в один слой;

защитный слой на основе экструдированного полиолефина

2,2

2,5

2,8

3,5

313 (40)

Заводское или базовое

8

На основе термоусаживающихся материалов

1,2

1,8

2,0

2

373 (100)

Базовое

9

Ленточное полимерное5):

грунтовка полимерная;

лента изоляционная липкая толщиной не менее 0,6 мм;

обертка защитная полимерная липкая толщиной не менее 0,6 мм

1,2

1,8

2,4

-

313 (40)

Базовое

10

Ленточное полимерное термостойкое5):

грунтовка полимерная;

лента изоляционная термостойкая полимерная толщиной не менее 0,6 мм;

обертка защитная термостойкая толщиной не менее 0,6 мм или армированная стеклотканью с липким слоем

1,2

1,8

2,4

-

353 (30)

Базовое

11

Мастичное полимерное армированное6):

грунтовка полимерная;

мастика изоляционная битумно-полимерная толщиной не менее 2,0 мм;

нитепрошивная стеклосетка, пропитанная битумно-полимерной мастикой, толщиной не менее 1,8 мм;

лента изоляционная липкая толщиной не менее 0,6 мм;

обертка защитная полимерная толщиной не менее 0,6 мм в один слой

5,0

(для труб диаметром до 1220 мм включительно)

313 (40)

Трассовое или базовое

12

Мастичное:

грунтовка битумная или битумно-полимерная;

мастика изоляционная битумная, битумно-полимерная или на основе асфальтосмолистых соединений толщиной не менее 3,0 мм;

рулонный армирующий материал;

мастика изоляционная битумная, битумно-полимерная или на основе асфальтосмолистых соединений толщиной не менее 3,0 мм;

рулонный армирующий материал;

обертка защитная

6,0

-

313 (40)

Трассовое

13

Комбинированное, на основе мастики и полимерной ленты7):

грунтовка битумно-полимерная;

мастика изоляционная на основе битума или асфальтосмолистых соединений;

лента полимерная толщиной не менее 0,4 мм;

обертка защитная полимерная толщиной не менее 0,5 мм

4,0

-

313 (40)

Трассовое

14

На основе термоусаживающихся материалов

1,2

1,2

1,2

2,0

373 (100)

Трассовое

15

Ленточное полимерное:

грунтовка полимерная;

лента изоляционная полимерная липкая толщиной не менее 0,6 мм;

обертка защитная полимерная липкая толщиной не менее 0,6 мм

1,2

-

313 (40)

Трассовое

16

Ленточное полимерное:

грунтовка полимерная;

лента изоляционная полимерная липкая толщиной не менее 0,6 мм в 2 слоя;

обертка защитная полимерная липкая толщиной не менее 0,6 мм

1,8

1,8

1,8

1,86)

313 (40)

Трассовое

17

Ленточное полимерное термостойкое:

грунтовка полимерная;

лента изоляционная термостойкая полимерная толщиной не менее 0,6 мм;

обертка защитная термостойкая толщиной не менее 0,6 мм или армированная стеклотканью с липким слоем

1,2

1,2

1,2

-

353 (80)

Трассовое

18

Ленточное полимерно-битумное6):

грунтовка битумно-полимерная;

лента полимерно-битумная толщиной не менее 1,5 мм в 2 слоя;

обертка защитная полимерная липкая толщиной не менее 0,6 мм

3,0

3,0

3,0

3,6

313 (40)

Трассовое

19

Ленточное полимерное с вулканизирующимся слоем (адгезивом)8)

грунтовка полимерная вулканизирующаяся;

лента изоляционная полимерная с вулканизирующимся слоем толщиной не менее 0,6 мм в один или два слоя;

обертка защитная полимерная липкая толщиной не менее 0,6 мм в один слой

1,2

1,2

1,2

1,8

313 (40)

Защитные покрытия нормального типа

Трассовое

20

Ленточное:

грунтовка полимерная или битумно-полимерная;

лента изоляционная полимерная липкая в один или два слоя общей толщиной не менее 0,7 мм;

обертка защитная полимерная толщиной не менее 0,5 мм

2,0 (кроме диаметра 820 мм)

-

303 (30)

Трассовое

21

Ленточное полимерно-битумное:

грунтовка битумно-полимерная;

лента полимерно-битумная толщиной не менее 1,5 мм;

обертка защитная полимерная толщиной не менее 0,5 мм7)

2,0 (кроме диаметра 820 мм)

-

303 (30)

Трассовое

22

Мастичное:

грунтовка битумно-полимерная;

мастика изоляционная на основе битумов или мастика изоляционная битумно-полимерная толщиной не менее 2,0 мм;

рулонный армирующий материал;

мастика изоляционная на основе битумов или мастика изоляционная битумно-полимерная толщиной не менее 2,0 мм;

обертка защитная

4,0 (кроме диаметра 820 мм)

-

303 (30)

1) Для сохранности покрытия заводского или базового нанесения в период транспортирования, погрузочно-разгрузочных работ и складирования трубопроводов необходимо принять специальные меры в соответствии с НД, исключающие механические повреждения покрытий.

2) Под максимальной температурой эксплуатации понимается максимальная температура транспортируемого продукта.

3) Толщина покрытий над усилением сварного шва должна быть не менее 1,5 мм для трубопроводов диаметром не более 530 мм, не менее 2,0 мм - для трубопроводов диаметром не более 820 мм и не менее 2,5 мм - для трубопроводов диаметром 1020 мм и более.

4) Для трубопроводов диаметром не более 114 мм допускается толщина покрытия 2,2 мм.

5) Для трубопроводов диаметром 530 мм и более конструкция защитного покрытия состоит из двух слоев изоляционной ленты и одного или двух слоев защитной обертки.

6) Данная конструкция допускается к применению на нефте- и нефтепродуктопроводах.

7) Для трубопроводов диаметром до 820 мм при пролегании трубопровода в мягких грунтах допускается применение покрытия без обертки по согласованию с заказчиком и Госгортехнадзором России.

8) Применяется для переизоляции газопроводов со сроком амортизации более 10 лет.

4.2 В зависимости от диаметра и конкретных условий эксплуатации на трубопроводах применяют два типа защитных покрытий: усиленный и нормальный. Требования к защитным покрытиям усиленного типа приведены в таблице 2, нормального типа - в таблице 3.

Таблица 2 - Требования к покрытиям усиленного типа

Наименование показателя1)

Норма

Метод испытания

Номер покрытия по таблице 1

1 Прочность при разрыве, МПа, не менее, при температуре:

 

 

 

293 К (20 °С)

12,0

ГОСТ 11262

1, 2, 3, 8, 14

10,02)

ГОСТ 11262

6, 7

18,02)

ГОСТ 14236

9, 10, 15, 16, 17, 19

333 К (60 °С)

10,0

ГОСТ 11262

1, 2, 8, 14

353 К (80 °С)

10,02)

ГОСТ 14236

10, 17

383 К (110 °С)

8,02)

ГОСТ 11262

8, 14

2 Относительное удлинение при разрыве, %, не менее, при температуре:

 

 

 

293 К (20 °С)

200

ГОСТ 11262

1, 2, 6, 7, 8, 14

200

ГОСТ 11262

9, 10, 15, 16, 17, 19

5

ГОСТ 18299

4

20

ГОСТ 11262

3

233 К (минус 40 °С)

100

ГОСТ 11262

1, 2, 6, 7, 8, 14

100

ГОСТ 14236

9, 10, 15, 16

3 Изменение относительного удлинения при разрыве после выдержки при 383 К (100 °С) в течение 1000 ч, %, не более

253)

ГОСТ 11262

1, 2, 3, 6, 7, 8, 14

ГОСТ 14236

9, 10, 15, 16, 17, 19

4 Температура хрупкости, К (°С), не выше

213 (-60)4)

ГОСТ 16783

9, 10, 14, 15, 16, 17, 19

5 Температура хрупкости мастичного слоя, К (°С), не более

253 (-20)

263 (-10)

ГОСТ 2678

6, 11, 18

12, 13

6 Стойкость к растрескиванию при температуре 323 К (50 °С), ч, не менее

1000

ГОСТ 13518

Для покрытий с толщиной полиолефинового слоя не менее 1 мм: 1, 2, 6, 7, 8, 14

7 Стойкость к воздействию УФ радиации в потоке 600 кВт·ч/м при температуре 323 К (50 °С), ч, не менее

500

ГОСТ 16337

1, 2, 6, 7, 8, 9, 10

8 Прочность при ударе при температуре:

от 233 К (минус 40 °С) до 313 К (40 °С), Дж, не менее

 

Приложение A

Для всех покрытий заводского нанесения (кроме 1, 2), для трубопроводов диаметром:

10,0

 

1020 мм и более

8,0

 

До 829 мм

6,0

 

До 530 мм

4,0

 

До 273 мм

до 313 К (40 °С), Дж, не менее

4,0

 

Для всех покрытий трассового нанесения

293 К (20 °С), Дж/мм толщины покрытия, не менее

6,0

 

1, 2 (для трубопроводов диаметром 1220 мм и более)

5,0

 

1, 2 (для трубопроводов диаметром до 1220 мм)

9 Адгезия в нахлесте при температуре 293 К (20 °С), Н/см, не менее:

 

Приложение Б

 

ленты к ленте

7,05)

9, 10, 15, 16, 17, 18

35,0

8, 14, 19

обертки к ленте

5,05)

9, 10, 15, 16, 17, 18

слоя экструдированного полиолефина к ленте

15,0

7 (для трубопроводов диаметром 530 мм и более)

10 Адгезия к стали при температуре:

 

 

 

293 К (20 °С), Н/см, не менее

70,0

ГОСТ 411 (Метод А)

1, 2 (для трубопроводов диаметром 1220 мм и более)

50,0

ГОСТ 411 (Метод A)

1, 2 (для трубопроводов диаметром 820 - 1020 мм)

35,0

ГОСТ 411 (Метод A)

1, 2, 8, 14

25,0

Приложение Б или ГОСТ 411 (Метод В)

19

20,0

Приложение Б или ГОСТ 411 (Метод В)

7, 9, 10, 15, 16, 17

293 К (20 °С), балл, не более

1

ГОСТ 15140

3, 4

293 К (20 °С), МПа/м2, не менее

0,2

Приложение Б

11, 12

0,1

ГОСТ 14759

6, 13, 18

313 К (40 °С), Н/см, не менее

50,0

ГОСТ 411 (Метод A)

1, 2 (для трубопроводов диаметром 1220 мм и более)

20,0

ГОСТ 411 (Метод А)

1, 2, 8, 14, 19

10,0

ГОСТ 411 (Метод В)

7, 9, 15, 16

333 К (60 °С), Н/см, не менее

30,0

ГОСТ 411 (Метод А)

1, 2 (для трубопроводов диаметром 1220 мм и более)

9,0

ГОСТ 411 (Метод А)

1, 2 (для трубопроводов диаметром до 1020 мм)

9,0

ГОСТ 411 (Метод А)

8, 14

353 К (80 °С), Н/см, не менее

9,0

ГОСТ 411 (Метод В)

10, 17

353 К (80 °С), балл, не более

1

ГОСТ 15140

3, 4

373 К (100 °С), Н/см, не менее

9,0

ГОСТ 411 (Метод А)

8, 14

258 К (минус 15 °С), МПа/м2, не менее

0,2

ГОСТ 14759

6, 13, 18

11 Адгезия к стали после выдержки в воде в течение 1000 ч, при температуре:

 

 

 

293 К (20 °С), Н/см, не менее

50,0

ГОСТ 411 (Метод А)

1, 2, 19 (для трубопроводов диаметром 1220 мм и более)

35,0

ГОСТ 411 (Метод А)

1, 2, 19 (для трубопроводов диаметром 820 - 1020 мм)

30,0

ГОСТ 411 (Метод А)

1, 2, 8, 14, 19

15,0

ГОСТ 411 (Метод В)

9, 10, 15, 16, 17

293 К (20 °С), балл, не более

1

ГОСТ 15140

3, 4

313 К (40 °С), Н/см, не менее

50,0

ГОСТ 411 (Метод В)

1, 2 (для трубопроводов диаметром 1220 мм и более)

35,0

ГОСТ 411 (Метод А)

1, 2 (для трубопроводов диаметром 820 - 1020 мм)

30,0

ГОСТ 411 (Метод А)

1, 2, 8, 14

15,0

ГОСТ 411 (Метод В)

7, 9, 15, 16

323 К (50 °С), балл, не более

1

ГОСТ 15140

3, 4

333 К (60 °С), Н/см, не менее

50,0

ГОСТ 411 (Метод А)

1, 2 (для трубопроводов диаметром 1220 мм и более)

35,0

ГОСТ 411 (Метод А)

1, 2 (для трубопроводов диаметром 820 - 1020 мм)

30,0

ГОСТ 411 (Метод А)

1, 2, 8, 14

371 К (98 °С), Н/см, не менее

15,0

ГОСТ 411 (Метод В)

10, 17

12 Адгезия к стали после выдержки на воздухе в течение 1000 ч, Н/см, при температуре 373 К (100 °С), не менее

20,0

ГОСТ 411 (Метод В)

7, 9, 10, 14, 16, 17

13 Грибостойкость, балл, не менее

26)

ГОСТ 9.048 - ГОСТ 9.050, ГОСТ 9.052

Для всех покрытий усиленного типа

14 Площадь отслаивания покрытия при поляризации, см, не более, при температуре:

 

Приложение В

 

293 К (20 °С)

4,0

 

1, 2, 3, 19 (для трубопроводов диаметром 1220 мм и более)

5,0

 

Для всех покрытий трубопроводов диаметром до 1020 мм

5,0

 

8, 14

313 К (40 °С)

8,0

 

1, 2, 3, 19 (для трубопроводов диметром 1220 мм и более)

313 К (40 °С)

10,0

 

Для всех покрытий трубопроводов диаметром до 1020 мм

10,0

 

8, 14

333 К (60 °С)

10,0

 

1, 2, 3 (для трубопроводов диаметром 1220 мм и более)

15,0

 

Для всех покрытий трубопроводов диаметром до 1020 мм

15,0

 

8, 14

353 К (80 °С)

20,0

 

8, 10, 14, 17

8,0

 

3, 4

15 Переходное сопротивление покрытия в 3 %-ном растворе NaCl при температуре 293 К (20 °С), Ом × м2, не менее:

 

Приложение Г

 

исходное

1010

 

1, 2, 8, 14

108

 

3, 4, 6, 7, 10, 11, 12, 13, 15, 16, 17, 18, 19

через 100 сут выдержки

109

 

1, 2, 8, 14

107

 

3, 4, 6, 7, 10, 11, 12, 13, 15, 16, 17, 18, 19

16 Сопротивление изоляции7) на законченных строительством и засыпанных участках трубопровода при температуре выше 273 К (0 °С) Ом × м2, не менее

 

Приложение Д

 

3 × 105

 

1, 2, 3, 8, 14

1 × 105

 

4, 6, 7, 10, 13, 15, 16, 17, 19

5 × 104

 

11, 12, 18

17 Диэлектрическая сплошность. Отсутствие пробоя при электрическом напряжении, кВ/мм

5

Искровой дефектоскоп

Все, кроме 4, 5

18 Сопротивление пенетрации (вдавливанию), мм, не более, при температуре:

 

Приложение Е

 

до 293 К (20 °С) и менее

0,2

 

Для всех покрытий

свыше 293 К (20 °С)

0,3

 

Для всех покрытий для трубопроводов диаметром 1200 мм и более

19 Водопоглощение ленты или обертки в течение 1000 ч при температуре 293 К (20 °С), %, не более

0,5

ГОСТ 4650

7, 9, 10, 13, 15, 16, 17, 19

20 Влагопоглощение через 1000 ч при температуре 293 К (20 °С), %, не более

5

ГОСТ 4650

3

21 На срезе покрытия под углом 45° при 3 - 5-кратном увеличении не должны наблюдаться поры на границе между металлом и покрытием

-

-

3

1) Показатели свойств измеряют при температуре 293 К (20 °С), если не оговорены иные условия.

2) Прочность при разрыве комбинированных покрытий, лент и защитных оберток (МПа) относят только к толщине несущей полимерной основы, без учета толщины мастичного или каучукового подклеивающего слоя. При этом прочность при разрыве, отнесенная к общей толщине изоляционной ленты, должна быть не менее 50 Н/см ширины, а защитной обертки - не менее 80 Н/см ширины.

3) Показатель применяют только для покрытий на основе полиолефинов. Для других полимеров - по соответствующим НД.

4) Для поливинилхлоридных (ПВХ) покрытий по согласованию с заказчиком допускается температура хрупкости, равная 253 К (минус 20 °С).

5) До 01.01.1999 г. настоящий показатель для лент допускается принимать 5 Н/см, а для оберток - 3 Н/см.

6) По согласованию с заказчиком и потребителем допускается балл 3.

7) Сопротивление изоляции для всех видов покрытий не должно уменьшаться более чем в 3 раза через 10 лет и более чем в 8 раз через 20 лет эксплуатации.

Примечание - Адгезия, измеренная по приложению Б (Метод А) перед засыпкой трубопровода, допускается при температуре окружающего воздуха до 273 К (0 °С) равной 7,5 Н/см, а выше 273 К (0 °С) равной 10,0 Н/см

Таблица 3 - Требования к покрытиям нормального типа

Наименование показателя

Норма

Метод испытания

1 Прочность при разрыве, Н/см, не менее:

 

ГОСТ 14236

обертки

изоляционной ленты

70

50

 

2 Относительное удлинение при разрыве ленты или обертки, %, не менее

802)

ГОСТ 14236

3 Изменение относительного удлинения при разрыве ленты или обертки, после выдержки при температуре 373 К (100 °С) в воде в течение 1000 ч, %, не более

102)

ГОСТ 14236

4 Адгезия к стали для покрытий:

 

 

ленточных, Н/см, не менее

10,03)

Приложение Б, ГОСТ 411 (Метод В)

мастичных, МПа, не менее

0,2

Приложение Б

5 Грибостойкость, балл

24)

ГОСТ 9.048 - ГОСТ 9.050, ГОСТ 9.052

6 Водопоглощение ленты и обертки в течение 1000 ч при температуре 293 К (20 °С), %, не более

0,5

ГОСТ 4650

7 Переходное сопротивление покрытия в 3 %-ном растворе NaCl при температуре 293 К (20 °С), Ом × м2 не менее:

 

Приложение Г

исходное

5 × 106

 

через 100 сут выдержки

5 × 105

 

8 Сопротивление изоляции на законченных строительством участках трубопровода при температуре выше 273 К (0 °С), Ом×м2, не менее5)

5 × 104

Приложение Д

9 Диэлектрическая сплошность. Отсутствие пробоя электрическим током при напряжении 5 кВ/мм толщины

Отсутствие пробоя

Искровой дефектоскоп

10 Площадь отслаивания покрытия при катодной поляризации при температуре 293 К (20 °С), см, не более

10

Приложение В

11 Температура хрупкости, К (°С), не выше

253 (-20)

ГОСТ 16783

1) Характеристики показателей измеряют при температуре 293 К (20 °С), если не оговорены иные условия.

2) Показатель относится к покрытиям на основе полиолефинов и ПВХ, для других полимеров - согласно соответствующей НД.

3) Адгезия к стали лент на основе поливинилхлорида должна быть не менее 5 Н/см ширины.

4) По согласованию с заказчиком и потребителем допускается балл 3.

5) Сопротивление изоляции для всех видов покрытий не должно уменьшаться более чем в 3 раза через 10 лет и более чем в 8 раз через 20 лет эксплуатации.

Усиленный тип защитных покрытий следует применять на трубопроводах диаметром 820 мм и более независимо от условий прокладки, а также на всех трубопроводах любого диаметра, прокладываемых в зонах повышенной коррозионной опасности:

в засоленных почвах любого района страны (солончаковых, солонцах, солодях, сорах и др.);

в болотистых, заболоченных, черноземных и поливных почвах, а также на участках перспективного обводнения или орошения; на подводных переходах и в поймах рек, а также на переходах через железные и автомобильные дороги, и на расстоянии в обе стороны от переходов по соответствующей НД;

на участках промышленных и бытовых стоков, свалок мусора и шлака;

на участках блуждающих токов источников постоянного тока;

на участках трубопроводов с температурой транспортируемого продукта выше 303 К (30 °С);

на территориях компрессорных, газораспределительных и насосных станций, а также установок комплексной подготовки газа и нефти и на расстоянии в обе стороны от них по соответствующей НД;

на пересечении с различными трубопроводами, включая по 350 м в обе стороны от места пересечения с применением покрытий заводского или базового нанесения в соответствии с НД;

на участках нефтепроводов, нефтепродуктопроводов, прокладываемых на выбранных по НД расстояниях от рек, каналов, озер, водохранилищ, а также от границ населенных пунктов и промышленных предприятий;

для транспортирования сжиженных углеводородов и аммиака.

Во всех остальных случаях применяются защитные покрытия нормального типа.

Для обетонированных труб диаметром 530 мм и более следует применять двух- или трехслойное полимерное покрытие и покрытия на основе термоусаживающихся материалов базового или заводского нанесения независимо от условий прокладки и эксплуатации. При диаметрах обетонированных труб менее 530 мм применяются полимерные ленточные покрытия, окрасочные противокоррозионные покрытия хромофосфатных составов (например, «Фанкор-40») базового или заводского нанесения по НД.

4.3 Противокоррозионную защиту трубопроводов (кроме надземных) осуществляют:

- покрытиями на основе полимерных материалов (полиэтилена, термоусаживающихся и термореактивных полимеров и др.), наносимыми в заводских и базовых условиях по соответствующим НД;

- покрытиями на основе термоусаживающихся материалов, липких полимерных лент, битумных и асфальтосмолистых мастик, наносимыми в базовых и трассовых условиях по соответствующей НД;

- стеклоэмалевыми покрытиями, наносимыми шликерным или порошковым способами в заводских условиях.

Допускается применять защитные покрытия (грунтовочные, изоляционные и оберточные материалы), НД на которые устанавливают соответствие этих покрытий и материалов требованиям настоящего стандарта.

4.4 Допускается применять покрытия:

- на основе липких полимерных лент на трубопроводах диаметром не более 820 мм;

- на основе битумов на трубопроводах диаметром не более 820 мм;

- стеклоэмалевые покрытия на трубопроводах диаметром не более 530 мм.

При ремонте трубопроводов с амортизацией более 50 % допускается применять покрытия, аналогичные использованным ранее, в том числе на основе липких полимерных лент.

4.5 Покрытия и комплектующие их материалы следует применять строго в диапазоне температур, предусмотренных НД на эти покрытия и материалы. При этом максимально допустимая температура эксплуатации этих покрытий должна быть не выше температуры, указанной в таблице 1.

4.6 Изоляция крановых узлов и фасонной арматуры, а также сварных стыков труб с заводской или базовой изоляцией должна по своим характеристикам соответствовать изоляции труб.

Изоляцию мест подключения катодных, дренажных, протекторных установок, перемычек и контрольно-измерительных пунктов, а также восстановление изоляции на поврежденных участках проводят по НД с учетом требований настоящего стандарта.

4.7 Трубопроводы при надземной прокладке защищают алюминиевыми, цинковыми, лакокрасочными, стеклоэмалевыми покрытиями или консистентными смазками, или другими атмосферостойкими покрытиями.

Выбор покрытий проводят по НД в зависимости от условий прокладки и эксплуатации трубопровода.

4.8 Сплошность лакокрасочных покрытий устанавливают по отсутствию пробоя при электрическом напряжении, составляющем 1 кВ на всю толщину покрытия.

4.9 Толщина покрытий из алюминия (ГОСТ 6132 и ГОСТ 7871) и цинка (ГОСТ 13073) должна быть не менее 0,25 мм.

4.10 На трубопроводах с любым видом покрытия, прокладываемых под автомобильными или железными дорогами, на подводных переходах, а также в скальных грунтах, помимо защитной обертки следует применять жесткую футеровку из негниющих материалов, обетонирование, опорные или фиксирующие элементы в соответствии с НД, обеспечивающие требуемую защиту покрытий от механических повреждений.

4.10.1 Непосредственные контакты металлических поверхностей трубы и кожуха не допускаются.

5 ТРЕБОВАНИЯ К ЭЛЕКТРОХИМИЧЕСКОЙ ЗАЩИТЕ

5.1 Все трубопроводы (кроме проложенных надземно) независимо от условий эксплуатации подлежат электрохимической защите.

Электрохимическая защита должна обеспечивать в течение всего срока эксплуатации непрерывную по времени катодную поляризацию трубопровода на всем его протяжении (и на всей его поверхности) таким образом, чтобы значения потенциалов на трубопроводе были (по абсолютной величине) не меньше минимального и не больше максимального значений.

Значения минимального и максимального защитных потенциалов в зависимости от условий прокладки и эксплуатации трубопровода приведены в таблицах 4 и 5.

На всех вновь построенных и реконструируемых трубопроводах должны быть обеспечены только поляризационные потенциалы (потенциалы без омической составляющей). До проведения комплексного обследования (3.9) с последующей реконструкцией допускается контроль защиты по потенциалу с омической составляющей.

Таблица 4 - Минимальные защитные потенциалы

Условия прокладки и эксплуатации трубопровода

Минимальный защитный потенциал относительно насыщенного медно-сульфатного электрода сравнения, В

Поляризационный

С омической составляющей

Грунты с удельным электрическим сопротивлением не менее 10 Ом × м или содержанием водорастворимых солей не более 1 г на 1 кг грунта или при температуре транспортируемого продукта не более 293 К (20 °С)

-0,85

-0,90

Грунты с удельным электрическим сопротивлением менее 10 Ом × м или содержанием водорастворимых солей более 1 г на 1 кг грунта, или опасном влиянии блуждающих токов промышленной частоты (50 Гц) и постоянных токов, или при возможной микробиологической коррозии, или при температуре транспортируемого продукта более 293 К (20 °С)

-0,95

-1,05

Примечания

1 Для трубопроводов, температура транспортируемого продукта которых не более 278 К (5 °С), минимальный поляризационный защитный потенциал равен минус 0,80 В относительно насыщенного медно-сульфатного электрода сравнения.

2 Минимальный защитный потенциал с омической составляющей при температуре транспортируемого продукта от 323 К (50 °С) до 343 К (70 °С) - минус 1,10 В; от 343 К (70 °С) до 373 К (100 °С) - минус 1,15 В.

3 Для грунтов с высоким удельным сопротивлением (более 100 Ом × м) значения минимального потенциала с омической составляющей должны быть определены экспериментально или расчетным путем в соответствии с НД.

Таблица 5 - Максимальные защитные потенциалы

Условия прокладки и эксплуатации трубопровода

Максимальный защитный потенциал относительно насыщенного медносульфатного электрода сравнения, В

Поляризационный

С омической составляющей

При прокладке трубопровода с температурой транспортируемого продукта выше 333 К (60 °С) в грунтах с удельным электрическим сопротивлением менее 10 Ом × м или при подводной прокладке трубопровода с температурой транспортируемого продукта выше 333 К (60 °С)

-1,10

-1,50

При других условиях прокладки трубопроводов:

 

 

с битумной изоляцией

-1,15

-2,50

с полимерной изоляцией

-1,15

-3,50

Примечания

1 Для трубопроводов из упрочненных сталей с пределом прочности 0,6 МПа (6 кгс/см2) и более не допускаются поляризационные потенциалы более отрицательные, чем минус 1,10 В.

2 В грунтах с высоким удельным электрическим сопротивлением (более 100 Ом × м) допускаются более отрицательные потенциалы с омической составляющей, установленные экспериментально или расчетным путем в соответствии с НД.

5.2 Перерыв в действии каждой установки систем электрохимической защиты допускается при проведении регламентных и ремонтных работ не более одного раза в квартал (до 80 ч). При проведении опытных или исследовательских работ допускается отключение электрохимической защиты на суммарный срок не более 10 сут в год.

5.3 Для обсадных колонн скважин, промысловых трубопроводов и кожухов на переходах в грунтах средней и низкой коррозионной агрессивности (ГОСТ 9.602) допускается минимальный поляризационный защитный потенциал более положительный, чем минус 0,85 В (с омической составляющей минус 0,90 В), при условии обеспечения нормативного срока их службы, что должно быть подтверждено технико-экономическим обоснованием в соответствии с НД и заключением специализированной организации.

Для промысловых трубопроводов, имеющих сопротивление изоляции менее 200 Ом × м2 и находящихся в грунтах средней и низкой коррозионной агрессивности, допускается применять в качестве критериев защиты катодное смещение поляризационного потенциала (поляризацию) на 100 мВ или смещение разности потенциалов «труба-земля» (потенциала с омической составляющей) на 300 мВ при технико-экономическом обосновании в соответствии с НД и положительном заключении экспертизы Госгортехнадзора России.

5.4 Электрохимическую защиту трубопроводов от коррозии следует проектировать для трубопровода в целом, с определением на начальный и конечный периоды эксплуатации (не менее 10 лет) следующих параметров:

для установок катодной защиты - силы защитного тока и напряжения на выходе катодных станций (преобразователей), а также сопротивления анодных заземлений;

для протекторных установок - силы защитного тока и сопротивления протекторов;

для установок дренажной защиты - силы тока дренажа и сопротивления дренажной цепи.

5.5 Средства электрохимической защиты трубопроводов, предусмотренные проектом, следует включать в работу в зонах блуждающего тока в течение периода не более месяца после укладки и засыпки участка трубопровода, а в остальных случаях - в течение периода не более 3 мес после укладки и засыпки участка трубопровода.

Если проектом предусматриваются более поздние сроки окончания строительства средств электрохимической защиты и ввода их в эксплуатацию, то должна быть запроектирована временная электрохимическая защита согласно требованиям НД со сроками ввода в эксплуатацию, соответствующими указанным в данном пункте.

5.6 Система электрохимической защиты от коррозии всего объекта в целом должна быть построена и включена в работу до сдачи трубопровода в эксплуатацию. Отводы и распределительные системы снабжения газом, водой, нефтью и нефтепродуктами допускается подключать к магистральным трубопроводам при условии, что защитные потенциалы на них в местах подключения должны быть не менее (по абсолютной величине), чем на магистральных трубопроводах.

5.7 Электрохимическую защиту от коррозии вновь строящихся трубопроводов необходимо проектировать с учетом действующей электрохимической защиты эксплуатируемых соседних трубопроводов и будущего перспективного (до 5 лет) строительства подземных металлических сооружений вдоль трассы проектируемого трубопровода.

5.8 При осуществлении электрохимической защиты участка трубопровода, поврежденного коррозией (более 10 % толщины стенки), минимальные защитные потенциалы должны быть на 0,050 В отрицательнее значений, указанных в 5.1.

5.9 Для повышения эффективности электрохимической защиты в зонах повышенной коррозионной опасности (скорость коррозии более 0,3 мм в год, микробиологическая коррозия, коррозионное растрескивание под напряжением) предусматривается проведение дополнительных мероприятий в соответствии с НД.

5.10 Требования к катодной защите

5.10.1 Система катодной защиты включает несколько установок катодной защиты, каждая из которых состоит из следующих восстанавливаемых элементов: источника электроснабжения, катодной станции (преобразователя), анодного заземления и линий постоянного тока, объединенных в электрическую цепь, и, при необходимости, регулирующих резисторов, шунтов, поляризованных элементов, блоков дистанционного контроля и регулирования параметров защиты.

5.10.2 В установках катодной защиты могут быть использованы катодные станции или другие внешние источники защитного тока, отвечающие требованиям приложений Ж.

5.10.3 В установках катодной защиты используют сосредоточенные, распределенные, глубинные и протяженные анодные заземления. Для снижения растворения электродов анодного заземления и их сопротивления используют коксовую мелочь и другие материалы в соответствии с НД.

5.10.4 Срок службы анодного заземления (включая линию постоянного тока и контактные узлы) независимо от условий эксплуатации для строящихся и реконструируемых трубопроводов - не менее 15 лет, а для эксплуатируемых - не менее 10 лет.

5.10.5 Использование обсадных колонн ликвидированных скважин в качестве анодного заземления допускается при положительном заключении специализированной организации и согласовании с Государственным комитетом природы России и Государственным комитетом санитарно-эпидемиологического надзора России.

5.10.6 Контактный узел электродов анодного заземления и токоотводящий провод должны иметь изоляцию с сопротивлением не менее 100 МОм, выдерживающую испытание на пробой напряжением не менее 5 кВ на 1 мм толщины изоляции.

5.10.7 Соединение точки дренажа и минуса катодной станции должно производиться только кабелем из меди с двойной изоляцией и сечением не менее 35 мм.

5.11 Требования к протекторной защите

5.11.1 Система протекторной защиты включает установки протекторной защиты, состоящие из одиночного сосредоточенного или протяженного протекторов или их группы, соединительных проводов (кабелей), а также контрольно-измерительных пунктов и, при необходимости, регулирующих резисторов, шунтов и/или поляризованных элементов.

5.11.2 Протекторы должны изготавливаться из сплавов на основе магния, алюминия или цинка, обладающих стабильным во время эксплуатации электродным потенциалом более отрицательным, чем потенциал защищаемого трубопровода.

Электродный потенциал протектора не должен облагораживаться во время эксплуатации более чем на:

100 мВ - для сплавов на основе магния;

50 мВ - для сплавов на основе алюминия;

30 мВ - для сплавов на основе цинка.

При отключении от трубопровода протектор не должен самопассивироваться и при подключении должен восстанавливать прежнюю силу защитного тока.

5.11.3 Сосредоточенные протекторы следует применять в грунтах с удельным электрическим сопротивлением не более 50 Ом × м.

Допускается использовать искусственное снижение удельного электрического сопротивления грунта в местах установки протекторов при исключении вредного воздействия на окружающую среду и технико-экономическом обосновании.

5.11.4 Протяженные протекторы следует использовать в грунтах с удельным электрическим сопротивлением не более 500 Ом × м.

5.11.5 Групповые протекторные установки, единичные и протяженные протекторы должны быть подключены к защищаемому трубопроводу через контрольно-измерительные пункты.

5.12 Требования к дренажной защите

5.12.1 Система дренажной защиты включает установки дренажной защиты, состоящие не менее чем из одного электрического дренажа, соединительных проводов (кабелей), контрольно-измерительных пунктов, а также, при необходимости, электрических перемычек, регулирующих резисторов и поляризованных блоков.

5.12.2 Катодную поляризацию трубопроводов с непрерывным обеспечением требуемых защитных потенциалов в зонах действия блуждающих токов источников постоянного тока следует осуществлять с помощью поляризованных электрических дренажей, в том числе автоматических поляризованных дренажей с управлением сопротивлением цепи защиты по дренированному току, а также автоматическими катодными станциями с поддержанием защитного потенциала и, по возможности, усиленными электрическими дренажами.

Допускается применение автоматических протекторных установок при технико-экономическом обосновании по НД.

5.12.3 Дренажные установки следует подключать к рельсовой цепи только через отсасывающие фидеры и средние точки путевых дросселей по ГОСТ 9.602.

5.12.4 Оценку коррозионного влияния блуждающих токов от источников постоянного и переменного токов на подземные сооружения и меры защиты от этого влияния осуществляют в соответствии с требованиями ГОСТ 9.602.

5.12.5 Среднечасовой ток всех установок системы дренажной защиты, находящихся в зоне действия одной тяговой подстанции электрифицированной железной дороги, не должен превышать 20 % общей среднечасовой токовой нагрузки этой подстанции.

5.12.6 В случае изменения режима работы источников блуждающего тока необходимо провести обследование трубопроводов в зоне их влияния и, при необходимости, разработать и осуществить меры по реконструкции системы электрохимической защиты в соответствии с НД.

5.13 Требования к совместной электрохимической защите

5.13.1 Система совместной электрохимической защиты включает установки катодной и/или дренажной защиты, электрические перемычки, регулировочные резисторы и вентили, согласованная работа которых обеспечивает исключение вредного влияния на соседние сооружения.

5.13.2 Критерии оценки вредного влияния указаны в ГОСТ 9.602.

5.13.3 Допускается применение раздельной электрохимической защиты нескольких трубопроводов или отдельных участков одного трубопровода при осуществлении мер по исключению вредного влияния путем изменения месторасположения точек дренажа, анодных заземлений и их конструкции, установки электрических перемычек, изолирующих соединений или иных мер.

5.13.4 Все электрические перемычки должны быть разъемными с выводом соединительных кабелей на контрольно-измерительный пункт.

5.13.5 Эксплуатация совместной или раздельной электрохимической защиты нескольких трубопроводов допускается при любой разности потенциалов между ними при условии, что потенциалы на каждом трубопроводе находятся в пределах защитных потенциалов, указанных в таблицах 4 и 5.

5.13.6 Не допускается эксплуатация автоматических катодных станций, принудительно уравнивающих потенциалы в точках дренажа на совместно защищаемых трубопроводах.

5.14 Требования к электрохимической защите участков магистральных трубопроводов, находящихся в условиях высокой коррозионной опасности, приведены в приложении И.

6 ТРЕБОВАНИЯ К КОНТРОЛЮ СОСТОЯНИЯ ЗАЩИТЫ ОТ КОРРОЗИИ

6.1 Требования к контрольно-измерительным пунктам

6.1.1 Контрольно-измерительные пункты на вновь построенных и реконструируемых трубопроводах должны отвечать следующим требованиям:

- быть окрашены в цвет, распознаваемый на трассе трубопровода;

- иметь маркировку и привязку к трассе трубопровода (с точностью ±10 м), читаемую с борта самолета или вертолета при инспекторских облетах трассы трубопровода;

- в отдельных точках, определяемых в НД, иметь подъездную дорогу для доступа к контрольно-измерительному пункту транспортных средств передвижной лаборатории электрохимической защиты типа ПЭЛ ЭХЗ или других;

- конструкция пункта должна исключать доступ посторонних лиц к контрольному щитку.

6.1.2 Контрольно-измерительный пункт для контроля поляризационного потенциала по ГОСТ 9.602 должен иметь контрольный щиток с клеммами для присоединения катодного вывода от трубопровода и проводов (кабелей) от стационарного электрода и вспомогательных электродов. На щитке должно быть предусмотрено коммутирующее устройство для размыкания цепи трубопровод - вспомогательный электрод.

6.1.3 Контрольно-измерительный пункт для измерения разности потенциалов «труба-земля» должен иметь щиток с клеммой для присоединения измерительного провода от трубы (катодного вывода).

6.1.4 Контрольно-измерительный пункт для контроля работы протекторов, анодных заземлений и электрических перемычек должен иметь не менее двух клемм для присоединения объектов измерения и шунта для измерения силы тока.

6.1.5 Контрольно-измерительный пункт для контроля совместной электрохимической защиты нескольких трубопроводов должен иметь контрольный щиток для присоединения катодных выводов, проводников от стационарных электродов сравнения и вспомогательных электродов каждого трубопровода, а также коммутирующие устройства для размыкания цепей трубопровод - вспомогательный электрод.

6.1.6 Контрольно-диагностический пункт должен иметь щиток с клеммами для присоединения двух контрольных проводов от трубопровода для измерения тока в трубопроводе, проводников от стационарного электрода сравнения, вспомогательного электрода, датчиков коррозии и датчиков выделения водорода. Контрольно-диагностические пункты устанавливаются на коррозионно-опасных участках. Месторасположение этих пунктов и их оснащенность определяются в соответствии с НД.

6.1.7 Контрольно-измерительный пункт для контроля защиты трубопровода и кожуха должен иметь щиток с клеммами: две клеммы - для присоединения проводников, соединенных с обоими концами кожуха для контроля потенциала, и две клеммы - для присоединения проводников, соединенных с трубопроводом, с целью измерения тока в трубопроводе.

6.1.8 Контрольно-измерительный пункт для контроля электрохимической защиты (на вновь построенных и реконструируемых трубопроводах) должен быть совмещен с маркером расстояния, предназначенным для привязки данных внутритрубной дефектоскопии. Этот контрольно-измерительный пункт должен иметь два вспомогательных электрода, расположенных на поверхности трубопровода. Один из этих электродов должен быть предназначен для контроля поляризационного потенциала, а другой - для определения скорости коррозии без защиты. Параметры вспомогательных электродов и их размещение вдоль трубопровода определяются в соответствии с НД.

6.1.9 Контрольно-измерительные пункты устанавливают над осью трубопровода со смещением от нее не далее 0,2 м от точки подключения к трубопроводу контрольного провода.

В случае расположения трубопровода на участке, где эксплуатация контрольно-измерительных пунктов затруднена, последние могут быть установлены в ближайших удобных для эксплуатации местах, но не далее 50 м от точки подключения контрольного провода к трубопроводу. Эти контрольно-измерительные пункты должны иметь особую маркировку.

6.1.10 На магистральных трубопроводах контрольно-измерительные пункты подключают:

- на каждом километре (не реже чем через 500 м при пересечении трубопроводом зоны действия блуждающих токов или грунтов с высокой коррозионной агрессивностью);

- на расстоянии трех диаметров трубопровода от точек дренажа установок электрохимической защиты (за исключением одиночных протекторов) и от электрических перемычек;

- у крановых площадок;

- у водных и транспортных переходов (с обеих сторон);

- у пересечения трубопроводов с другими металлическими сооружениями;

- в культурной и осваиваемой зонах: у дорог, арыков, коллекторов и других естественных и искусственных образований.

При многониточной системе трубопроводов контрольно-измерительные пункты устанавливают на каждом трубопроводе на одном поперечнике.

6.1.11 На подземных сооружениях компрессорных, насосных станций и других объектах провода контрольно-измерительных пунктов подключают:

- к коммуникациям длиной более 50 м - посередине с интервалом не более 50 м;

- на расстоянии не менее трех диаметров трубопровода от точек дренажа установок электрохимической защиты;

- в местах пересечения коммуникаций;

- в местах изменения направления при длине участка коммуникации более 50 м;

- в местах сближения коммуникаций с сосредоточенными анодными заземлениями при расстоянии между ними до 50 м;

- не менее чем в четырех диаметрально противоположных точках по периметру внешней поверхности резервуаров.

Допускается не устанавливать контрольно-измерительные пункты в указанных местах (кроме точек дренажа установок катодной, протекторной и дренажной защиты), если обеспечена возможность электрического контакта с трубопроводом.

6.1.12 Для контроля за состоянием комплексной защиты промысловых трубопроводов контрольно-измерительные пункты (дополнительно к требованиям 6.1.10) подключают на расстоянии 50 м от устья скважин.

6.1.13 В местах подключения контрольного провода к трубопроводу должна быть обеспечена возможность контакта неполяризующегося электрода сравнения с грунтом в зафиксированной на поверхности земли точке.

6.2 Требования к контролю защитных покрытий на строящихся и ремонтируемых участках трубопроводов при подземной, подводной и наземной прокладках

6.2.1 Защитные покрытия трубопроводов при подземной, подводной (с заглублением в дно) и наземной (в насыпи) прокладках контролируют:

после нанесения защитных покрытий по показателям и нормам таблицы 1, а также нормам таблиц 2 и 3 по следующим показателям: адгезия в нахлесте (пункт 9 таблицы 2), адгезия к стали (пункт 10 таблицы 2 и пункт 4 таблицы 3), прочность при ударе (пункт 8 таблицы 2), сплошность (пункт 17 таблицы 2 и пункт 9 таблицы 3);

после укладки и засыпки - по нормам таблиц 2 и 3 по сопротивлению изоляции, по сплошности (искровым дефектоскопом) и дополнительно по показателям и нормам соответствующих НД.

При разрушающих методах контроля защитное покрытие должно быть восстановлено и вновь проконтролировано на диэлектрическую сплошность.

6.2.2 При неудовлетворительных результатах испытаний по какому-либо показателю качества защитного покрытия проводят повторные испытания на удвоенном количестве мест контроля или образцов.

6.2.3 При нанесении любого защитного покрытия в заводских, базовых или трассовых условиях следует проводить визуальный контроль состояния покрытия (не допускаются вздутия, гофры, складки).

6.2.4 При нанесении полимерных лент и оберток следует контролировать ширину нахлеста смежных витков, которая при однослойном нанесении составляет не менее 3 см, при двухслойном покрытии наносимый виток должен перекрывать уложенный на 50 % его ширины плюс 3 см.

6.2.5 Толщину защитного покрытия контролируют неразрушающими методами с помощью толщиномеров типа МТ-10НЦ и МТ-50НЦ. Толщину покрытия из консистентной смазки контролируют толщиномером типа ИТСП-1.

Проверку толщины защитного покрытия проводят:

при заводском или базовом нанесении - на 10 % труб и в местах, вызывающих сомнение, не менее чем в трех сечениях по длине трубы и в четырех точках каждого сечения;

при трассовом нанесении - не менее одного измерения на каждые 100 м трубопровода и в местах, вызывающих сомнение, в четырех точках каждого сечения.

6.2.6 Адгезию защитного покрытия после нанесения на трубопровод контролируют по методике приложения Б и методикам, предусмотренным НД на изолированные в заводских или базовых условиях трубы:

при трассовом нанесении - через каждые 500 м, а также в местах, вызывающих сомнение;

при заводском или базовом нанесении - на 2 % труб, а также в местах, вызывающих сомнение.

Допускается контролировать адгезию мастичного покрытия методом выреза треугольника с углом около 60° и сторонами 3 - 5 см с последующим снятием покрытия ножом от вершины надреза. Адгезия покрытия считается удовлетворительной, если вырезанный треугольник не отслаивается самостоятельно, а только с приложением усилия, при этом наблюдается когезионный характер отслаивания по всей площади трубы под вырезанным треугольником.

6.2.7 Прочность при ударе защитного покрытия контролируют по методике приложения А в заводских и базовых условиях на 2 % труб, а также в местах, вызывающих сомнение; в трассовых условиях - в местах, вызывающих сомнение.

6.2.8 Сплошность защитного покрытия смонтированного трубопровода контролируют перед укладкой в траншею искровым дефектоскопом в соответствии с требованиями пункта 17 таблицы 2 и пункта 9 таблицы 3. Контролю подлежит вся внешняя поверхность сооружения.

В случае пробоя защитного покрытия проводят ремонт дефектных мест по НД на соответствующий вид защитного покрытия. Отремонтированные участки следует повторно проконтролировать.

6.2.9 Контроль сплошности защитного покрытия на уложенном и засыпанном трубопроводе, находящемся в незамерзшем грунте, проводят не ранее чем через две недели после засыпки искателем повреждений типа АНПИ, УДИП-1М или другим аналогичным прибором, после чего, в случае обнаружения дефектов, изоляция должна быть отремонтирована по НД на соответствующий вид покрытия.

6.2.10 Изоляционное покрытие на законченных строительством участках трубопроводов подлежит контролю методом катодной поляризации (приложение Г) на соответствие нормам таблиц 2 и 3. При несоответствии сопротивления изоляции этим требованиям необходимо установить места повреждения защитного покрытия, отремонтировать их по НД на соответствующий вид покрытия и затем провести повторный контроль.

6.2.11 На деталях трубопровода, указанных в 4.6, состояние защитного покрытия по сплошности контролируют на всей поверхности защитного покрытия этих деталей по 6.2.8.

6.2.12 Контроль защитных покрытий трубопровода в условиях эксплуатации должен выполняться при комплексном обследовании интегральными и локальными методами их оценки.

6.2.12.1 Интегральная оценка защитных покрытий трубопровода должна выполняться на основании данных о силе тока установок катодной защиты и распределения потенциалов вдоль трубопровода, а также выборочно методом катодной поляризации.

6.2.12.2 Локальная оценка состояния защитных покрытий трубопровода должна производиться выборочно (согласно НД) осмотром изоляции в шурфах по результатам:

измерений потенциала методом выносного электрода сравнения и/или обследования искателем повреждений изоляции;

измерений продольного или поперечного градиентов потенциалов в грунте с прерыванием или без прерывания тока установок катодной защиты;

обследования участка трубопровода приборами внутритрубной дефектоскопии.

Допускается применение других методов для определения месторасположения, размеров и характера дефектов в защитном покрытии трубопровода по НД.

Все обнаруженные повреждения защитного покрытия должны быть устранены согласно НД и учтены в эксплуатационной документации с указанием места расположения дефекта на трубопроводе с погрешностью не более 1 м.

6.3 Требования к контролю защитных покрытий трубопроводов при надземной прокладке

6.3.1 При контроле металлических покрытий проверяют:

сплошность - визуально;

толщину - по 6.2.5;

адгезию - не менее чем на 1 % труб и в местах, вызывающих сомнение, по НД.

6.3.2 При контроле лакокрасочных и стеклоэмалевых покрытий проверяют:

состояние поверхности - визуально по 6.2.3;

толщину - по 6.2.5;

сплошность - по 6.2.8;

адгезию лакокрасочных покрытий - не менее чем на 1 % труб и в местах, вызывающих сомнение, по ГОСТ 15140.

6.3.3 При контроле покрытий из консистентных смазок проверяют:

сплошность - визуально;

толщину - по 6.2.5.

6.4 Требования к контролю электрохимической защиты

6.4.1 При контроле установок электрохимической защиты проводят:

измерение силы тока и напряжения на выходе станций катодной защиты (по встроенным приборам или внешними приборами, подсоединяемыми к измерительным клеммам);

снятие показаний прибора оценки суммарного времени работы под нагрузкой катодной станции в заданном режиме и/или счетчика электроэнергии;

измерение среднечасовой силы тока дренажа и защитных потенциалов в точке дренажа в период минимальной и максимальной нагрузок источника блуждающих токов в соответствии с НД;

измерение силы тока протекторной установки;

измерение защитных потенциалов в точках дренажа установок катодной и протекторной защиты;

определение скорости коррозии трубопровода при катодной поляризации по НД.

Результаты контроля электрохимической защиты заносят в полевой журнал непосредственно на месте либо используют телеконтроль и компьютерные средства для обработки измерений.

6.4.2 Измерения защитных потенциалов на всех контрольно-измерительных пунктах следует проводить не реже двух раз в год относительно неполяризующегося электрода сравнения прибором (типа 43313.1) с входным сопротивлением не менее 10 МОм.

Эти измерения проводят один раз в год:

если проводится дистанционный контроль установок электрохимической защиты;

если проводится контроль защитного потенциала не реже одного раза в три месяца в отдельных наиболее коррозионно-опасных точках трубопровода, расположенных между установками электрохимической защиты;

если период положительных среднесуточных температур окружающего воздуха менее 150 дней в году.

6.4.3 На коррозионно-опасных участках трубопроводов (в том числе при длине защитной зоны менее 3 км) и участках, имеющих минимальные (по абсолютной величине) значения защитных потенциалов, дополнительные измерения защитных потенциалов должны проводиться с помощью выносного электрода сравнения, в том числе с использованием метода отключения, непрерывно или с шагом не более 10 м (в соответствии с НД) не менее одного раза в 3 года, в период максимального увлажнения грунта, а также дополнительно в случаях изменения режимов работы установок катодной защиты и при изменениях, связанных с развитием системы электрохимической защиты, источников блуждающих токов и сети подземных трубопроводов.

На строящихся трубопроводах эти измерения осуществляют по всей их протяженности, а на ремонтируемых - по всей длине ремонтируемых участков.

6.4.4 Измерение поляризационного потенциала на трубопроводах производят по ГОСТ 9.602. Специальные контрольно-измерительные пункты должны устанавливаться в точках дренажа, в зонах минимальных защитных потенциалов и в других местах по требованиям соответствующих НД.

Допускается применение других способов измерения поляризационного потенциала по соответствующим НД.

6.4.5 Защищенность трубопроводов оценивают по протяженности и по времени, а также интегрально по произведению защищенности по протяженности на защищенность по времени.

Защищенность по протяженности определяют ежегодно, как отношение длины участков, имеющих защитные потенциалы не менее требуемых значений, к общей длине данного трубопровода.

Защищенность по времени определяют ежеквартально, как отношение суммарного времени нормальной работы в установленном режиме всех средств защиты за отчетный период к длительности отчетного периода, умноженного на количество средств защиты данного участка.

При этом выделяются участки, имеющие потенциалы ниже минимальных и выше максимальных защитных значений, установки катодной защиты, простой которых более указанного в 5.2, проводится анализ отказов элементов электрохимической защиты и в соответствии с результатами комплексного обследования составляется прогноз коррозионного состояния трубопровода по НД.

6.4.6 Проверку работы установок электрохимической защиты следует осуществлять в соответствии с НД на конкретные виды трубопроводов с периодичностью:

два раза в год - на установках электрохимической защиты, обеспеченных дистанционным контролем, и установках протекторной защиты;

два раза в месяц - на установках электрохимической защиты, не обеспеченных дистанционным контролем;

четыре раза в месяц - на установках электрохимической защиты, не обеспеченных дистанционным контролем, в зоне блуждающих токов.

6.4.7 На участках трубопровода, проложенного в грунтах с высокой коррозионной агрессивностью, а также при наличии коррозионных поражений глубиной более 15 % толщины стенки средства электрохимической защиты рекомендуется обеспечивать дистанционным контролем.

6.5 При комплексном обследовании противокоррозионной защиты трубопроводов должно быть определено состояние изоляционного покрытия (сопротивление изоляции, места нарушения ее сплошности, изменение физико-механических свойств за время эксплуатации и др.), степень электрохимической защиты (наличие защитного потенциала на всей поверхности трубопровода) и коррозионное состояние трубопровода (по результатам электрометрии, шурфовки, приборами внутритрубной дефектоскопии или другими методами) по НД.

6.6 Комплексное обследование трубопроводов с целью определения их коррозионного состояния и состояния противокоррозионной защиты должно проводиться на участках высокой коррозионной опасности не реже одного раза в 5 лет, а на остальных участках - не реже одного раза в 10 лет в соответствии с НД.

На трубопроводах, оборудованных камерами приема - запуска приборов внутритрубной дефектоскопии, оценка их коррозионного состояния должна проводиться с периодичностью, устанавливаемой НД на данный вид трубопровода.

6.7 Документация по контролю состояния электрохимической защиты и защитного покрытия подлежит хранению в течение всего периода эксплуатации трубопровода.

6.8 Контроль за выполнением мероприятий по ограничению токов утечки с рельсовой цепи электрифицированного железнодорожного транспорта осуществляется по ГОСТ 9.602.

7 ТРЕБОВАНИЯ БЕЗОПАСНОСТИ

7.1 До начала выполнения работ по комплексной защите сооружений от коррозии должен быть разработан проект производства работ с инженерными разработками, обеспечивающими безопасность работающих.

7.2 При осуществлении работ по комплексной защите сооружений от коррозии следует выполнять требования техники безопасности в соответствии с ГОСТ 12.3.005, ГОСТ 12.3.008, ГОСТ 12.3.016 и пожарной безопасности в соответствии с ГОСТ 12.1.004.

7.3 К выполнению работ по комплексной защите трубопроводов от коррозии допускаются лица не моложе восемнадцати лет, прошедшие медицинское освидетельствование, обучение и инструктаж по ГОСТ 12.0.004.

7.4 Рабочих следует обеспечивать спецодеждой, спецобувью и защитными приспособлениями согласно ГОСТ 12.4.011.

7.5 При электромонтажных и электроизмерительных работах по электрохимической защите трубопроводов должны соблюдаться Правила технической эксплуатации [1].

7.6 При проведении работ по комплексной защите трубопроводов от коррозии на рабочих местах должны обеспечиваться требования:

по шуму - в соответствии с ГОСТ 12.1.008;

по вибрации - в соответствии с ГОСТ 12.1.012;

содержание вредных веществ в воздухе рабочей зоны не должно превышать предельно допустимых концентраций, установленных ГОСТ 12.1.005.

7.7 Строительно-монтажные работы по ремонту средств электрохимической защиты магистральных трубопроводов, заполненных транспортируемым продуктом, должны выполняться на основании письменного разрешения организации, эксплуатирующей их.

ПРИЛОЖЕНИЕ А

(справочное)

МЕТОД КОНТРОЛЯ ЗАЩИТНЫХ ПОКРЫТИЙ ПО ЗАДАННОЙ ПРОЧНОСТИ ПРИ УДАРЕ

А.1 Средства контроля и вспомогательные устройства

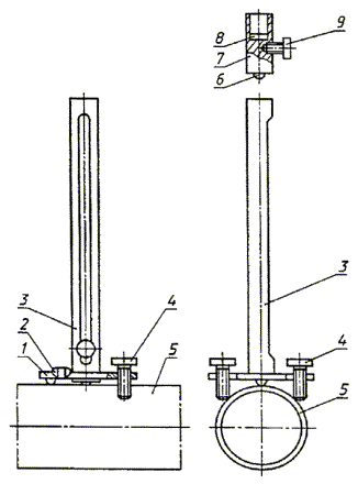
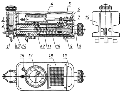
А.1.1 Ударное приспособление, выполненное по схеме, приведенной на рисунке А.1.

1 - основание; 2 - уровень (индикатор горизонтальности); 3 - направляющая; 4 - винты-ножки; 5 - труба с испытуемым покрытием; 6 - стальной боек; 7 - груз; 8 - утяжелитель; 9 - винт-рукоятка

Рисунок А.1 - Приспособление для контроля прочности защитных покрытий при ударе

Основание 1 - стальная треугольная плита толщиной 5 мм, снабженная уровнем (индикатором горизонтальности) 2 для установки ее в горизонтальном положении на трубе с испытуемым покрытием 5 и винтами-ножками 4 размером М5´50 мм с расстоянием между ними 100 мм, позволяющими устанавливать ударное приспособление на трубе любого диаметра.

Направляющая 3 со шкалой от 0 до 50 см - стальная труба, закрепленная под прямым углом к основанию, высотой 700 мм, внутренним диаметром 60 мм, толщиной стенки 0,5 мм с продольной прорезью 600´5 мм.

Свободно падающий груз 7 с постоянной массой, равной (3 ± 0,001) кг, включает в себя:

- стальной стакан наружным диаметром 59 мм, высотой 150 мм, толщиной стенки 1 мм;

- стальной боек 6 сферической формы твердостью HRC 60, радиусом 8 мм, закрепленный у основания стакана.

Масса свободно падающего груза может быть увеличена при помощи дозированных утяжелителей 8 массой 0,25 кг.

А.1.2 Искровой дефектоскоп типа ДЭП-1.

А.2 Подготовка к проведению контроля

А.2.1 Измерения проводят на 2 % труб с защитным покрытием в 10 точках, отстоящих друг от друга на расстоянии не менее 0,5 м, а также в местах, вызывающих сомнение. В точках проведения испытаний на ударную прочность предварительно определяют сплошность покрытия искровым дефектоскопом.

А.2.2 Ударное приспособление устанавливают на поверхности покрытия в точках проведения испытания с помощью винтов-ножек 4 и уровня 2.

A.3 Порядок контроля

А.3.1 Свободно падающий груз поднимают на высоту Н, см, определяемую по формуле

где U - прочность покрытия при ударе, Дж (кгс×см), согласно таблице 1 настоящего стандарта;

Р - вес груза, равный 3 кгс, и сбрасывают на поверхность защитного покрытия.

А.3.2 В месте удара искровым дефектоскопом контролируют сплошность покрытий.

А.4 Обработка результатов контроля

А.4.1 Защитное покрытие считают удовлетворительным, если после испытания в 10 точках покрытие не разрушено, то есть при падении груза с высоты, определяемой в зависимости от ударной прочности покрытия, в местах удара отсутствуют поры и трещины.

А.5 Оформление результатов контроля

А.5.1 Запись результатов измерений проводят по форме А.1.

Форма A.1

Все графы обязательны к заполнению

_________________________________________

наименование принимающей организации

АКТ

контроля прочности защитных покрытий при ударе

Тип и конструкция защитного покрытия _____________________________________

Диаметр трубы (трубопровода), мм __________________________________________

Количество испытанных труб, шт. ___________________________________________

Напряжение на щупе дефектоскопа, кВ _______________________________________

Требуемая прочность при ударе (по таблице 1 настоящего стандарта), Дж (кгс × см) _

Дата измерения

Номер партии, участок трубопровода

Номер измерения

Результат дефектоскопии

Заключение по каждой трубе

 

Первая труба

1

 

 

 

 

2

 

 

 

 

3

 

 

 

 

4

 

 

 

 

5

 

 

 

 

6

 

 

 

 

7

 

 

 

 

8

 

 

 

 

9

 

 

 

 

10

 

 

 

Вторая труба

 

 

 

Прочность при ударе партии труб (участка трубопровода) _______________________

___________________________________________________________________________

соответствует, не соответствует требуемому значению

__________________________________ ________________ ________________________

должность лиц, проводивших контроль             личная подпись                    расшифровка подписи

___________

дата

ПРИЛОЖЕНИЕ Б

(справочное)

КОНТРОЛЬ АДГЕЗИИ ЗАЩИТНЫХ ПОКРЫТИЙ

Б.1 Метод А. Контроль адгезии защитных покрытии из полимерных лент

Б.1.1 Требования к образцам и вспомогательные устройства

Б.1.1.1 Образцами для контроля являются трубы с защитными покрытиями из полимерных лент, отобранных согласно 6.2.6 настоящего стандарта.

Б.1.1.2 Устройство для контроля адгезии защитных покрытий (адгезиметр), обеспечивающее погрешность не более 0,1 Н/см (0,01 кгс/см).

Б.1.2 Подготовка к контролю

Б.1.2.1 Контроль адгезии проводят в трех точках, отстоящих друг от друга на расстоянии не менее 0,5 м.

Б.1.2.2 Специальным ножом вырезают на трубе полосу защитного покрытия шириной 10 - 40 мм.

Б.1.2.3 Стальным ножом надрезают конец вырезанной полосы, приподнимают его и закрепляют в зажиме устройства.

Б.1.3 Порядок контроля

Б.1.3.1 Отслаивание ленты (обертки) производят равномерно под углом 180° к поверхности трубы на длину 50 - 100 мм, позволяющую определить устойчивое усилие отслаивания, визуально определяя характер разрушения:

адгезионный - обнажение до металла;

когезионный - отслаивание по подклеивающему слою или по грунтовке;

смешанный - совмещение адгезионного и когезионного характеров разрушения.

Б.1.4 Обработка результатов контроля

Б.1.4.1 Адгезию защитных покрытий А, Н/см (кгс/см), определяют по формуле

где F - усилие отслаивания, Н (кгс);

В - ширина отслаиваемой ленты, см.

Б.1.4.2 За значение адгезии защитного покрытия принимают среднее арифметическое трех измерений, вычисленное с погрешностью 0,1 Н/см (0,01 кгс/см).

Б.1.5 Оформление результатов контроля

Б.1.5.1 Запись результатов измерений проводят по форме Б.1.

Б.2 Метод Б. Контроль адгезии защитных покрытий на основе битумных мастик

Б.2.1 Требования к образцам и вспомогательные устройства

Б.2.1.1 Образцами для испытания являются трубы с защитными покрытиями на основе битумных мастик.

Б.2.1.2 Прибор СМ-1 (рисунок Б.1) состоит из корпуса 15, внутри которого расположена перемещающаяся система ведущего штока 10 и ведомого штока 12, соединенных между собой тарированной пружиной 11. Ведущий горизонтальный шток 10, предназначенный для сжатия пружины 11, приводится в движение вращением винта 8, шарнирно закрепленного в торцевой части корпуса прибора. На штоке 10 закреплен кронштейн 7 с регулировочным винтом 6 и стопорной гайкой 5, предназначенными для передачи значений линейной деформации тарированной пружины 11 на подвижную ножку индикатора 17, который укреплен в чаше 4 при помощи стопорного винта 16.

Нож 1 для сдвига образца защитного покрытия укреплен внутри вертикального штока 14, перемещающегося внутри втулки 13 при вращении винта 3, закрепленного шарнирно в передней части корпуса прибора 15.

На нижнем основании корпуса прибора укреплены три опорных ножа 9, предназначенных для крепления прибора на поверхности изолированного трубопровода.

На верхней съемной крышке 19 прибора укреплена шкала 18 для пересчета показаний индикатора 17 на усилие сдвига образца.

В комплект прибора входит стальной нож для надреза защитного покрытия.

Б.2.2 Подготовка к контролю

Б.2.2.1 Определение адгезии проводят в трех точках, отстоящих друг от друга на расстоянии не менее 0,5 м.

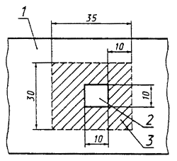
Б.2.2.2 На образце вручную делают надрез размером 10´10 мм до металла в испытуемом защитном покрытии 1 (рисунок Б.2).

Б.2.2.3 Вокруг надреза расчищают площадку 3 размером 30´35 мм (снимают покрытие) для сдвига образца покрытия 2.

Б.2.2.4 Устанавливают прибор СМ-1 на защитное покрытие так, чтобы передвижная грань ножа 1 (рисунок Б.1) находилась против торцевой плоскости вырезанного образца.

Б.2.2.5 Поднимают нож вверх с помощью вращения винта 3, затем нажимают на корпус прибора так, чтобы опорные ножи 9 вошли в защитное покрытие.

1 - стальной нож; 2 - шарнир; 3 - винт; 4 - чаша; 5 - стопорная гайка; 6 - регулировочный винт; 7 - кронштейн; 8 - винт; 9 - опорный нож; 10 - ведущий шток; 11 - тарированная пружина; 12 - ведомый шток; 13 - втулка; 14 - вертикальный шток; 15 - корпус; 16 - стопорный винт; 17 - индикатор; 18 - шкала; 19 - съемная крышка

Рисунок Б.1 - Прибор СМ-1 для испытания адгезии защитных покрытий на битумной основе

1 - испытуемое покрытие; 2 - образец покрытия для сдвига; 3 - расчищенная площадка

Рисунок Б.2 - Схема проведения надреза для сдвига образца покрытия

Б.2.2.6 Подводят нож 1 с помощью вращения винта 8 до соприкосновения с торцевой плоскостью образца, вращением винта 3 опускают нож до металлической поверхности трубы.

Б.2.2.7 Снимают крышку 19, устанавливают нуль на индикаторе доведением подвижной ножки индикатора до соприкосновения с торцом регулировочного винта 6 и вращением верхней подвижной части индикатора.

Б.2.3 Порядок контроля

Б.2.3.1 Передают усилие с помощью вращения винта 8 на нож 1, а, следовательно, и на образец защитного покрытия через систему штоков 10 и 12 и тарированную пружину 11. Вращение винта проводят (по часовой стрелке) со скоростью примерно 1/4 об/с, что соответствует скорости деформации пружины 15 мм/мин.

Деформацию пружины, пропорциональную передаваемому усилию, фиксируют индикатором 17. Ведомый шток 12 вместе с ножом 1 горизонтально перемещается, в результате чего индикатор смещается относительно торцевой плоскости регулировочного винта 6. Рост показаний индикатора при этом прекращается. Фиксируют максимальный показатель индикатора в миллиметрах и по шкале 18 определяют усилие сдвига образца защитного покрытия. Визуально определяют характер разрушения (адгезионный, когезионный, смешанный) по Б.1.3.1.

Б.2.3.2 Адгезию защитного покрытия характеризуют усилием сдвига образца изоляции площадью 1 см.

Б.2.3.3 Измерения проводят в интервале температур защитного покрытия от 258 до 298 К (от минус 15 до плюс 25 °С). При температуре выше 298 К (25 °С) допускается показатель менее 0,20 МПа (2,00 кгс/см), характеризующий адгезию материала (таблица 1 настоящего стандарта).

Б.2.4 Обработка результатов измерений

Б.2.4.1 За значение адгезии защитного покрытия принимают среднее арифметическое трех измерений с погрешностью не более 0,01 МПа (0,1 кгс/см).

Б.2.4.2 Запись результатов измерений проводят по форме Б.2.

Форма Б.1

Все графы обязательны к заполнению

__________________________________________

наименование принимающей организации

АКТ
определения адгезии защитных покрытий из полимерных лент

Тип и конструкция защитного покрытия _____________________________________

Диаметр трубы (трубопровода), мм __________________________________________

Дата измерения

Номер партии, участок трубопровода

Температура окружающего воздуха, К (°С)

Номер измерения

Усилие отслаивания F, Н (кгс)

Ширина отслаиваемой полосы В, см

Значение адгезии А, Н/см

Характер разрушения

 

 

 

1

 

 

 

 

 

 

 

2

 

 

 

 

 

 

 

3

 

 

 

 

Среднее усилие отслаивания

Адгезия партии труб (участка трубопровода) ____________________________________

соответствует, не соответствует требуемому значению

_______________________________________ _______________ ____________________

должность лиц, проводивших контроль                      личная подпись              расшифровка подписи

________________

дата

Форма Б.2

Все графы обязательны к заполнению

_________________________________________

наименование принимающей организации

АКТ
определения адгезии защитных покрытий на основе битума

Тип и конструкция защитного покрытия _____________________________________

Диаметр трубы (трубопровода), мм __________________________________________

Дата измерения

Номер партии, участок трубопровода

Температура окружающего воздуха, К (°С)

Номер измерения

Показание индикатора, мм

Значение адгезии А, Н/см

Характер разрушения

 

 

 

1

 

 

 

 

 

 

2

 

 

 

 

 

 

3

 

 

 

Среднее значение адгезии

 

 

Адгезия партии труб (участка трубопровода) ____________________________________

соответствует, не соответствует требуемому значению

________________________________   _______________    _____________________

должность лиц, проводивших контроль                         личная подпись                 расшифровка подписи

_____________

дата

ПРИЛОЖЕНИЕ В

(справочное)

ОПРЕДЕЛЕНИЕ ПЛОЩАДИ ОТСЛАИВАНИЯ ЗАЩИТНЫХ ПОКРЫТИЙ ПРИ КАТОДНОЙ ПОЛЯРИЗАЦИИ

B.1 Требования к образцам

Образцами являются покрытия, нанесенные на стальную поверхность в соответствии с НД на эти покрытия в лабораторных или промышленных условиях. Испытание проводят на образцах двух видов:

- в виде трубок;

- в виде пластин или карт с изолированных труб (используется, как правило, для неленточных покрытий).

В.2 Приборы и оборудование

Вольтметр постоянного тока с внутренним сопротивлением не менее 10 МОм и диапазоном измерений 0,01 - 5 В.

Электрод сравнения стандартный медно-сульфатный или хлорсеребряный по ГОСТ 17792.

Хлористый натрий (х.ч. по ГОСТ 4233) - 3 %-ный раствор в дистиллированной воде.

Провода монтажные с изоляцией для электроустановок или аналогичные.

Выключатель электрический.

Электронагревательный шкаф соответствующего объема, обеспечивающий поддержание температуры с точностью +3 К.

Анод активный - стержень из магния чистотой 99 % или анод инертный - платиновая проволока по ГОСТ 10821, или графитовый стержень.

Источник постоянного тока или выпрямитель переменного тока (для измерений с помощью анода инертного).

Реостат (для измерений с помощью анода инертного).

Резистор 1 Ом (для измерений с помощью анода инертного).

Скальпель.

Дистиллированная вода.

Для испытания на трубках:

стальные трубки наружным диаметром 38 мм, длиной 180 мм, с покрытием на внешней поверхности;

токонепроводящий водостойкий герметик, например, битумная мастика изоляционная;

плоскодонная емкость для электролита соответствующего объема.

Для испытания на пластинах или картах:

стальные пластины толщиной более 1,5 мм с покрытием или карты с изолированных труб размером (100 ± 0,5)´(100 ± 0,5) мм;

труба из полиэтилена по ГОСТ 18599;

пластилин.

В.3 Порядок испытания

В.3.1 В центре образца в защитном покрытии сверлят цилиндрическое отверстие до образования в металле конического углубления. Металл при этом не должен быть перфорирован. Диаметр отверстия должен быть в три раза больше толщины покрытия, но не менее 6 мм. Поверхность металла в отверстии обезжиривают спиртом.

В.3.2 Подготовка образцов для испытания на трубках

Торцы трубок (рисунки B.1 и В.2) герметизируют токонепроводящим герметиком так, чтобы электролит не проникал к внутренней незащищенной поверхности трубки. Предварительно к концу каждой трубки прикрепляют провод для электрического контакта с образцом.

Три испытуемых образца 2 на трубках помещают вертикально, симметрично центру в плоскодонную емкость 1 с электролитом 3. В центре емкости размещают анод 4.

Поверхность образца покрытия, находящаяся в контакте с электролитом, должна быть не менее 232 см Расстояние между образцами и анодом должно быть не менее 38 мм.

Дефект в покрытии обращен в сторону анода.

В.3.3 Подготовка образцов для испытания на пластинах или картах

На пластину (карту) 1 (рисунки В.3 и В.4) с помощью пластилина устанавливают трубу 2 из полиэтилена таким образом, чтобы ось трубы совпала с центром высверленного в покрытии отверстия. Если испытания проводят на картах, то торец трубы из полиэтилена обрезают так, чтобы повторялась кривизна карты.

Далее в трубу 2 заливают электролит (раствор хлористого натрия) 3 до уровня 50 мм от поверхности покрытия.

В раствор помещают анод 4 на расстоянии не менее 38 мм от поверхности покрытия.

В.4 Электрическая схема

Для проведения испытаний собирают электрическую схему согласно рисункам B.1 и В.2 (В.3 и В.4).

В.4.1 Анод магниевый

Образец с помощью проводов соединяют с магниевым анодом, как показано на рисунках B.1 и В.3. При этом на образце устанавливают потенциал минус 1,45 - минус 1,55 В по медно-сульфатному электроду сравнения 9, что соответствует приблизительно минус 1,4 В по хлорсеребряному электроду сравнения.

1 - емкость; 2 - испытуемый образец; 3 - электролит; 4 - магниевый анод; 5 - вольтметр; 9 - электрод сравнения

Рисунок В.1 - Схема проведения испытания образцов покрытий на трубках для определения площади отслаивания с применением магниевого анода

1 - емкость; 2 - испытуемый образец; 3 - электролит; 4 - инертный анод; 5 и 8 - вольтметры; 6 - эталонное сопротивление; 7 - реостат; 9 - электрод сравнения

Рисунок В.2 - Схема проведения испытания образцов покрытий на трубках для определения площади отслаивания с применением инертного анода

Измерение установившегося потенциала на образце производят с помощью электрода сравнения и высокоомного вольтметра постоянного тока 5 (рисунок B.1 или В.3).

В.4.2 Анод инертный

При испытании с инертным анодом собирают схему согласно рисункам В.2 или В.4.

1 - пластина (карта) - испытуемый образец; 2 - труба из полиэтилена; 3 - электролит; 4 - магниевый анод; 5 - вольтметр; 9 - электрод сравнения

Рисунок В.3 - Схема проведения испытания образцов покрытий на пластинах (картах) для определения площади отслаивания с применением магниевого анода

1 - пластина (карта) - испытуемый образец; 2 - труба из полиэтилена; 3 - электролит; 4 - инертный анод; 5 и 8 - вольтметры; 6 - эталонное сопротивление; 7 - реостат; 9 - электрод сравнения

Рисунок В.4 - Схема проведения испытания образцов покрытий на пластинах (картах) для определения площади отслаивания с применением инертного анода

Образец 1 подключают к отрицательному полюсу источника тока. Инертный электрод 4 соединяют последовательно с эталонным сопротивлением (1 Ом) 6, реостатом 7 и положительным полюсом источника тока. Вольтметр 5 подключают параллельно эталонному сопротивлению 6. Управляя реостатом 7 устанавливают по показателям вольтметра 8 потенциал на образце минус (1,5 ± 0,05) В. Далее вольтметр 5 отключают и фиксируют время начала испытаний.

В.5 Порядок проведения испытаний

В.5.1 Образцы выдерживают в растворе электролита под действием наложенного катодного тока в течение 30 дней при температуре 291 - 295 К (18 - 22 °С) и 30 или 7 дней (по требованию заказчика) при более высокой температуре, например, 333 К (60 °С), 353 К (80 °С) или 370 К (97 °С). Выбор температуры испытаний определяется максимальной температурой эксплуатации покрытия.

В.5.2 Испытания при повышенной температуре проводят в электронагревательном шкафу с поддержанием требуемой температуры. Уровень электролита при этом следует контролировать не реже одного раза в сутки.

В.5.3 Периодически через каждые 7 дней испытаний производят замену раствора электролита. Для этого подачу напряжения на образцы прекращают, электролит выливают, емкость и образцы промывают дистиллированной водой, заливая ее 2 - 3 раза и взбалтывая. Затем заливают свежий 3 %-ный раствор NaCl.

В.5.4 По окончании испытаний образец с покрытием демонтируют, промывают водой и вытирают ветошью. Площадь отслоившегося участка покрытия оголяют, осторожно поддевая и срезая покрытие скальпелем.

В.5.5 Для жестких покрытий толщиной более 1,2 мм допускается нагревание покрытия выше температуры размягчения с последующим полным удалением покрытия с металла. Площадью отслаивания покрытия в этом случае является площадь, ограниченная контуром изменения цвета металла с серого на более темный.

В.6 Обработка результатов испытаний

Площадь отслаивания переводят на кальку, а затем вычисляют методом взвешивания. Для этого переносят кальку площади на плотную бумагу с известной массой единицы площади. Площадь отслаивания S, см2, вычисляют по формуле

S = т/т',

где т - масса бумаги площадью, равной площади отслаивания, г;

т' - масса 1 см2 бумаги (значение т' определяют как среднее арифметическое массы 10 образцов площадью 1 см2, вырезанных по диагонали листа бумаги), г/см2.

За значение площади отслаивания данного покрытия при катодной поляризации принимают среднее арифметическое результатов измерений на трех образцах испытуемого покрытия, вычисляемое с точностью до 0,5 см.

В.7 Оформление результатов испытаний

Запись результатов измерений проводят по форме В.1.

Форма B.1

Все графы обязательны к заполнению

______________________________________

наименование принимающей организации

АКТ
определения площади отслаивания покрытий при поляризации катодным током

Конструкция и тип защитных покрытий ______________________________________

Форма образцов __________________________________________________________

Анод ____________________________________________________________________

инертный, активный

Диаметр наносимого повреждения в покрытии, мм ____________________________

Разрешенная предельная площадь отслаивания при температуре:

293 К (20 °С), см ____________________________

____ К (_____ °С), см ____________________________

Дата испытаний

Номер партии, участок трубопровода

Номер измерения

Температура испытаний, °С

Продолжительность выдержки в электролите, сут

Площадь отслаивания, см2

 

1

 

 

 

 

 

2

 

 

 

 

 

3

 

 

 

 

Средняя площадь отслаивания

 

Площадь отслаивания при катодной поляризации партии образцов _______________

___________________________________________________________________________

соответствует, не соответствует требуемому значению

___________________________________  ________________  _____________________

должность лиц, проводивших определение                личная подпись                 расшифровка подписи

______________

дата

ПРИЛОЖЕНИЕ Г

(справочное)

МЕТОДИКА ОПРЕДЕЛЕНИЯ ПЕРЕХОДНОГО СОПРОТИВЛЕНИЯ ПОКРЫТИЯ

Методика предназначена для проведения типовых испытаний и позволяет определить изменение защитной способности покрытия в электролите.

Сущность метода заключается в измерении переходного сопротивления системы покрытие - труба (после выдержки образцов в 3 %-ном растворе NaCl).

Г.1 Образцы для испытаний

Г.1.1 Испытания заводских покрытий проводят на образцах, вырезанных из изоляции труб или непосредственно на трубах с покрытием. Размеры образцов 150´150 мм (нормируются не жестко). Для других типов покрытий образцы подготавливаются путем нанесения покрытия (в соответствии с НД на данное покрытие) на стальную пластину размером 150´150 мм.

Г.1.2 Количество параллельных образцов для заданных условий испытаний - не менее 5 шт.

Г.1.3 Образцы с дефектами покрытия к испытаниям не допускаются.

Г.1.4 Толщина и диэлектрическая сплошность образцов должны соответствовать требованиям НД на испытываемое покрытие.

2Г.2 Приборы и оборудование

Тераометр типа Е 6-14, Е 6-13 А по ГОСТ 22261 с диапазоном измерений от 104 до 1014 Ом.

Цилиндры 4 из стекла марки IV или полиэтилена. Размеры цилиндров: диаметр - 50 - 90 мм, высота - 70 - 100 мм. Цилиндры могут быть вырезаны из химических стаканов объемом 250 см3 марки НН по ГОСТ 23932 и ГОСТ 25336 или полиэтиленовых труб по ГОСТ 18599.

Крышки из стеклотекстолита по ГОСТ 12652.

Проволока платиновая диаметром 0,5 - 0,8 мм по ГОСТ 10821 или стержень графитовый.

Пробки резиновые № 14 - 17.

Цилиндр мерный 0 - 1000 см3 по ГОСТ 1770.

Колба круглая плоскодонная объемом 1000 см3 по ГОСТ 1770.

Соединительные провода по ГОСТ 6323 или аналогичные.

Толщиномер любого типа с погрешностью измерения:

±50 мкм - для покрытий толщиной до 1 мм;

±100 мкм - для покрытий толщиной более 1 мм.

Крепежные шпильки М 6 по ГОСТ 22042 и гайки к ним по ГОСТ 1759.1 или другие приспособления для скрепления ячеек.

Дефектоскоп искровой типа ДИ-74 по ТУ 25-06-1668 или другой с аналогичными параметрами.

Натрий хлористый квалификации ХЧ по ГОСТ 4233.

Спирт этиловый по ГОСТ 18300.

Вода дистиллированная по ГОСТ 6709.

Пластилин.

Г.3 Подготовка к испытанию

Г.3.1 К образцам с помощью пластилина (герметика) прикрепляют стеклянные или полиэтиленовые цилиндры. В прикрепленный к образцу цилиндр заливают 3 %-ный раствор NaCl до метки на уровне не менее 50 мм от поверхности покрытия. Цилиндр накрывают стеклотекстолитовой крышкой.

Г.3.2 Образцы покрытия 5, вырезанные из изоляции труб, закрепляют между стеклотекстолитовой крышкой 6 и цилиндром 4, который закрывают крышкой 3 с пробкой 1, и стягивают в четырех местах шпильками 2 (рисунок Г.1).

Г.3.3 Поверхность покрытия обезжиривают ватой, смоченной этиловым спиртом.

Г.4 Проведение испытаний

1 - пробки резиновые; 2 - крепежные шпильки с гайками; 3 и 6 - крышки из стеклотекстолита; 4 - цилиндры из стекла или полиэтилена; 5 - испытуемое покрытие

Рисунок Г.1 - Ячейка для определения переходного сопротивления изоляционного покрытия

Г.4.1 Испытания проводят при температуре (20 ± 5) °С.

Г.4.2 Переходное сопротивление покрытия образца измеряют с помощью тераомметра при погружении платинового (графитового) электрода в раствор.

Г.4.3 Исходное переходное сопротивление покрытия измеряют после выдержки образцов в этих условиях в течение 3 сут. К дальнейшим испытаниям допускают только те образцы, переходное сопротивление которых не менее значений, указанных в таблицах 2 и 3 настоящего стандарта.

Г.4.4 При длительных испытаниях (100 сут) через каждые 25 сут измеряют переходное сопротивление покрытия. Если хотя бы в одном цилиндре сопротивление менее значения, регламентируемого требованиями данного стандарта, испытания прекращают.

Г.4.5 Не реже одного раза в 10 сут проверяют уровень раствора в цилиндрах и, доливая дистиллированную воду, доводят его до первоначального.

Г.5 Обработка результатов испытания

Г.5.1 Расчет среднего значения переходного сопротивления покрытия Riсp, Ом × м2, на каждом образце проводят по формуле

                                                  (Г.1)

где i - номер образца;

j - номер измерения;

п - количество измерений на j-м образце;

Rij - сопротивление i-го образца при j-м измерении, Ом;

S - площадь контакта образца с раствором, м2, равная

                                                         (Г.2)

где Du - внутренний диаметр цилиндра, м.

Г.6 Оценка результатов испытаний

Покрытие считают выдержавшим испытание, если переходное сопротивление покрытий на всех пяти образцах не ниже значений, указанных в таблицах 2 и 3 настоящего стандарта.

Г.7 Оформление результатов испытаний

Результаты испытаний оформляют в виде протокола, в котором указывают:

- номер партии труб с покрытием;

- номер трубы с покрытием;

- результаты определения среднего значения переходного сопротивления покрытия;

- должность, фамилию и подпись лица, проводившего испытания;

- дату испытаний.

ПРИЛОЖЕНИЕ Д

(обязательное)

КОНТРОЛЬ СОСТОЯНИЯ ИЗОЛЯЦИОННОГО ПОКРЫТИЯ ТРУБОПРОВОДОВ

Сущность метода состоит в катодной поляризации построенного и засыпанного участка трубопровода и определения качества изоляционного покрытия по смещению потенциала с омической составляющей (разности потенциалов «труба-земля») и силе поляризующего тока, вызывающей это смешение. Сила поляризующего тока определяется исходя из регламентированного таблицей 1 сопротивления изоляции данного типа, длины участка и диаметра трубопровода.

Д.1 Метод контроля состояния изоляционного покрытия на законченных строительством участках трубопровода

Д.1.1 Средства контроля и вспомогательные устройства

Для определения сопротивления изоляции используют передвижную исследовательскую лабораторию электрохимической защиты (ПЭЛ.ЭХЗ), аппаратура и приборы которой должны быть электрически подключены по схеме (рисунок Д.1).

1 - трубопровод; 2 - неизолированный конец трубопровода; 3 - контакты; 4 - резистор; 5 - амперметр; 6 - источник постоянного тока; 7 - временное анодное заземление; 8 - медно-сульфатный электрод сравнения; 9 - вольтметр

Рисунок Д.1 - Схема проведения контроля состояния изоляционного покрытия законченных строительством участков трубопроводов

Д.1.2 Подготовка к проведению контроля

Д.1.2.1 Контролируемый участок трубопровода не должен иметь контакта неизолированной поверхности трубы с грунтом, электрических и технологических перемычек с другими сооружениями, за исключением особых случаев, регламентированных НД.

Д.1.2.2 Измерения на контролируемом участке необходимо проводить в период, когда глубина промерзания грунта не превышает 0,5 м и когда расстояние между верхней границей глубинной мерзлоты и нижней образующей трубопровода составляет не менее 0,3 м.

Д.1.2.3 Временное анодное заземление из винтовых заземлителей, входящих в комплект лаборатории ПЭЛ.ЭХЗ, оборудуют на расстоянии 200 - 400 м от участка трубопровода в местах с возможно меньшим удельным сопротивлением грунта ПЭЛ.ЭХЗ (допускается использование заземлителей другого типа или соседнего подземного трубопровода в качестве заземления в соответствии с НД).

Д.1.3 Проведение контроля

Д.1.3.1 Измеряют потенциал трубопровода в конце участка с помощью вольтметра 9, электрически соединенного с трубопроводом контактом 3, относительно медно-сульфатного электрода сравнения 8.

При измерении источник постоянного тока 6 должен быть выключен.

Д.1.3.2 Включают источник постоянного тока 6 и устанавливают силу тока I, А, вычисленную по формулам:

- для участков трубопроводов длиной, равной или более 4 км:

                                                     (Д.1)

- для участков трубопроводов длиной менее 4 км:

                                                     (Д.2)

где L - длина участка трубопровода, м;

Uтз - смещение потенциала с омической составляющей (наложенная разность потенциалов «труба-земля») в конце участка, В, вычисляемое по формуле

                                           (Д.3)

где δUн - нормированное смещение потенциала в конце участка, равное 0,4 В при L ³ 4 км и 0,7 В при L < 4 км;

Rиз - требуемое сопротивление изоляции (Ом × м2), определяемое по таблице 1 настоящего стандарта;

Rр - сопротивление растеканию трубопровода (Ом × м2), вычисляемое по формуле

                                        (Д.4)

где D - диаметр трубопровода, м;

Н - глубина залегания трубопровода, м;

Rт - продольное сопротивление трубопровода, Ом/м;

rг - среднее удельное электрическое сопротивление грунта, Ом × м, вычисляемое по формуле

                                                (Д.5)

где Li - длина i-го участка с удельным электрическим сопротивлением (rгi, Ом × м), м;

п - количество участков с удельным электрическим сопротивлением rгi;

z - характеристическое сопротивление трубопровода, Ом, вычисляемое по формуле

                                      (Д.6)

a - постоянная распространения тока, 1/м, вычисляемая по формуле

                                           (Д.7)

Продольное сопротивление стального трубопровода Rt, Ом/м, имеющего стандартные размеры в практике строительства магистральных трубопроводов, вычисляют по формуле

                                                 (Д.8)

где rт - удельное сопротивление трубной стали, Ом × м;

d - толщина стенки трубопровода, м;

Д.1.3.3 Через 3 ч после включения источника тока измеряют разность потенциалов «труба-земля» в конце участка.

Д.1.4 Обработка результатов контроля

Д.1.4.1 Смещение потенциала U'тз1, В, вычисляют по формуле

U'тз = Uтз1 - Uе,                                                             (Д.9)

где Uтз1 - измеренный потенциал (после включения источника постоянного тока), В;

Uе - естественный потенциал (до включения источника постоянного тока), В.

Смещение потенциала U'тз1 должно быть не менее нормированного смещения dUн.

Д.1.4.2 Сила поляризующего тока в зависимости от длины контролируемого участка может быть определена по номограммам, построенным для каждого типа изоляционного покрытия и стандартных диаметров. Допускается проведение коррекции смещения потенциала в случае отклонения реальной силы тока от нормированной.

Д.1.5 Оформление результатов контроля

Запись результатов измерений проводят по форме Д.1.

Д.2 Метод контроля состояния изоляционного покрытия при эксплуатации

Д.2.1 Средства контроля и вспомогательные устройства

Аппаратура и приборы указаны в Д.1.1. В качестве источника постоянного тока используют катодные станции, действующие на трубопроводе, и их анодные заземления, в качестве амперметра - амперметр катодной станции. Подключение вольтметра к трубопроводу осуществляется в контрольно-измерительных пунктах.

Д.2.2 Порядок подготовки к контролю

Д.2.2.1 Контролируемый участок трубопровода должен быть оборудован контрольно-измерительными пунктами, которых должно быть не менее, чем требуется в разделе 6 (6.1.10, 6.1.11 и 6.1.12) настоящего стандарта.

Д.2.2.2 Не менее чем за сутки до проведения измерений выключают установки катодной защиты на участках трубопровода, примыкающих к контролируемому.

Д.2.3 Проведение испытаний

Д.2.3.1 Измеряют потенциал трубопровода Uе при выключенных установках катодной защиты (естественную разность потенциалов «труба-земля») по всей длине контролируемого участка.

Д.2.3.2 Включают установку катодной защиты и не ранее чем через 3 ч поляризации измеряют силу тока I установки и потенциал Uтз1 во всех контрольно-измерительных пунктах зоны действия этой катодной установки.

Д.2.3.3 После окончания испытаний все отключенные установки катодной защиты включают и устанавливают требуемые защитные токи.

Д.2.4 Обработка результатов испытаний

Д.2.4.1 Сопротивление изоляции Rиз, Ом × м2, на контролируемом участке вычисляют по формуле

                                                               (Д.10)

где  - среднее значение смещения потенциала на длине зоны действия одной установки катодной защиты, В, которое вычисляют по формуле

                                                           (Д.11)

где L - длина, определяемая расстоянием между минимальными защитными значениями потенциалов по обе стороны от места установки катодной защиты, м;

Li - длина i-го участка (половина расстояния между соседними с данным контрольно-измерительными пунктами), м, с потенциалом U, В, рассчитываемым по формуле

Ui = Uтзi - Uе,                                                      (Д.12)

где Uтзi - потенциал на i-м участке, измеренный после включения установки катодной защиты, В;

Uе - естественная разность потенциалов на i-м участке, В;

k - количество контрольно-измерительных пунктов на контролируемом участке;

j - плотность тока, А/м, вычисляемая по формуле

                                                           (Д.13)

где I - сила тока установки катодной защиты, А;

D - диаметр трубопровода, м.

Д.2.4.2 Сопротивление изоляции трубопровода RизL, Ом × м2, вычисляют по формуле

                                                     (Д.14)

где m - число установок катодной защиты на участке трубопровода длиной L, м.

Форма Д.1

Все графы обязательны к выполнению

_______________________________________

наименование принимающей организации

АКТ
оценки состояния покрытия законченного строительством (эксплуатируемого) участка трубопровода

Наименование трубопровода _______________________________________________

Участок трубопровода (начало, км _________, конец, км _______________________,

протяженность, м ______________________________________)

Диаметр трубы, м ___________________, толщина стенки, мм ___________________

Конструкция защитного покрытия ___________________________________________

Среднее удельное электрическое сопротивление грунта (r), Ом __________________

Требуемое сопротивление изоляции Rиз, Ом × м2 _______________________________

Дата начала ______________________ и окончания _____________________ засыпки

Сопротивление растеканию трубопровода Rp, Ом × м2 __________________________

Продольное сопротивление Rт, Ом/м ________________________________________

Место подключения источника постоянного тока, км __________________________

Напряжение на выходе источника V, В _______________________________________

Время измерения

Потенциал трубопровода. В, по медно-сульфатному электроду сравнения

Естественная разность потенциалов

При выключенном источнике катодной поляризации

Смещение потенциала

 

 

 

 

 

 

 

 

 

 

 

 

Состояние изоляционного покрытия участка трубопровода _____________________

___________________________________________________________________________

соответствует, не соответствует требуемому значению

__________________________________    _________________     _____________________

должность лиц, проводивших определение                личная подпись             расшифровка подписи

_______________

дата

ПРИЛОЖЕНИЕ Е

(справочное)

МЕТОДИКА ОПРЕДЕЛЕНИЯ СОПРОТИВЛЕНИЯ ВДАВЛИВАНИЮ

Методика предназначена для проведения испытания полимерных материалов и покрытий на их основе по показателю сопротивления вдавливанию и позволяет установить их соответствие требованиям НД.

Сущность метода заключается в определении сопротивления прессованного материала или покрытия вдавливанию (пенетрации) при нагрузке 10 Н/мм2.

Е.1 Образцы для испытаний

Образцами для испытания являются пластины материала, прессованного по ГОСТ 16336, размером 150´150 мм, толщиной не менее 2 мм или образцы покрытия (свидетели) по техническим условиям на эти материалы. Образцы должны иметь гладкую ровную поверхность без вздутий, сколов, трещин, раковин и других дефектов:

Е.2 Приборы и оборудование

Толщиномер изоляции.

Электрошкаф сушильный лабораторный типа СНОЛ 3,5.3,5.3,5/3,5-ИЗ или аналогичный с точностью регулирования температуры ±2 °С (или водный термостат с терморегулятором).

Термометр метеорологический по ГОСТ 112.

Стержень металлический диаметром (1,8 ± 0,1) мм общей массой (250 ± 20) г.

Дополнительный груз массой (2250 ± 50) г.

Индикатор часового типа ИЧ1ОМД по НД с ценой деления 0,01.

Часы механические.

Металлическая подложка размером 150´150 мм (размеры жестко не нормируются) или образец покрытия на стальной подложке.

Линейка измерительная металлическая по ГОСТ 427.

E.3 Подготовка к испытанию

Е.3.1 Образцы испытывают не ранее чем через 16 ч после прессования или изготовления покрытия.

E.3.2 Устанавливают переключатель электрошкафа в положение, соответствующее температуре испытания (20 или 60 °С).

Е.3.3 Устанавливают образец на металлическую подложку и выдерживают при температуре (20 ± 2) °С или (60 ± 2) °С в течение не менее 60 мин.

Е.4 Проведение испытаний

Е.4.1 На испытуемый образец устанавливают металлический стержень и через 5 с на индикаторе устанавливают нулевое значение, после чего добавляют груз массой 2250 г.

Е.4.2 Через 24 ч снимают со шкалы индикатора показание глубины вдавливания с точностью до 0,01 мм.

Е.4.3 Испытания проводят в трех точках образца, расстояние между которыми должно быть не менее 30 мм.

Е.5 Обработка результатов испытаний

Е.5.1 Расчет значения сопротивления вдавливанию Рср, мм, для каждого образца проводят по формуле

                                                      (E.1)

где Рi - значение сопротивления вдавливанию для i-й точки, мм;

п - количество испытанных точек.

Е.5.2 Сопротивление вдавливанию оценивают как удовлетворительное, если

Рср £ Рн,                                                              (Е.2)

где Рн - нормируемое значение сопротивления вдавливанию по таблице 2 настоящего стандарта.

Е.5.3 Если Рср > Рн, испытания проводят на удвоенном количестве образцов. Результаты повторных испытаний считают окончательными.

Е.6 Оформление результатов испытаний

Результаты испытаний оформляют протоколом, в котором указывают:

- марку материала и номер партии;

- сопротивление вдавливанию, мм;

- фамилию, имя, отчество, подпись и должность лиц, проводивших испытания;

- дату проведения испытания.

ПРИЛОЖЕНИЕ Ж

(рекомендуемое)

ТРЕБОВАНИЯ К ЭЛЕКТРОХИМИЧЕСКОЙ ЗАЩИТЕ УЧАСТКОВ ТРУБОПРОВОДОВ В УСЛОВИЯХ ВЫСОКОЙ КОРРОЗИОННОЙ ОПАСНОСТИ

Ж.1 К участкам высокой коррозионной опасности относят участки между установками электрохимической защиты, на которых произошли коррозионные отказы (разрывы, свищи) или обнаружены коррозионные язвы и трещины глубиной свыше 15 % толщины стенки трубы, а также участки, на которых скорость коррозии превышает 0,5 мм в год.

Ж.2 Границы участков трубопроводов высокой коррозионной опасности уточняются при детальном обследовании прилегающих участков методами внутритрубной дефектоскопии либо методами электрометрии с обязательным обследованием коррозионного состояния трубопроводов в шурфах, а также с учетом данных о распределении удельного электрического сопротивления вдоль трубопровода, химического состава и уровня грунтовых вод, поляризационных характеристик и температуры трубопровода, наличия и интенсивности блуждающих токов по НД.

Ж.3 Система электрохимической защиты должна иметь 100 %-ное резервирование в цепях преобразования и нагрузки с обеспечением автоматического перевода на резервные элементы при отказе основных.

Ж.4 Средства электрохимической защиты должны иметь повышенную надежность (не менее 30000 ч наработки на отказ).

Ж.5 При защите параллельных трубопроводов должны быть использованы регулируемые блоки совместной защиты или изолирующие соединения.

Ж.6 Система электрохимической защиты трубопроводов должна быть обеспечена коррозионным мониторингом, включающим контрольно-диагностические пункты, оборудованные сенсорными устройствами и датчиками контроля поляризационного потенциала, скорости коррозии (в том числе коррозии под изоляционным покрытием, защитного тока, интенсивности поглощения водорода, рН и др. согласно НД).

Ж.7 Средства электрохимической защиты должны быть оборудованы дистанционным контролем силы тока защиты, напряжения на выходе катодных станций и параметров коррозионного мониторинга. Вся телеметрическая информация должна быть обработана эксплуатационной службой с целью принятия мер по обеспечению эффективной защиты.

Ж.8 Отказ (перерыв) электрохимической защиты должен быть устранен в течение не более 24 ч.

ПРИЛОЖЕНИЕ И

(обязательное)

ТРЕБОВАНИЯ К КАТОДНЫМ СТАНЦИЯМ И ДРЕНАЖАМ

И.1 Средства электрохимической защиты должны обеспечивать катодную поляризацию сооружений в соответствии с требованиями настоящего стандарта независимо от условий применения.

И.2 Все элементы вновь разрабатываемых катодных станций и дренажей должны обеспечивать вероятность их безотказной работы на наработку 10000 ч не менее 0,9 (при доверительной вероятности 0,8).

И.3 Катодные станции, поляризованные автоматические и неавтоматические, а также усиленные дренажи должны иметь плавное или ступенчатое регулирование выходных параметров по напряжению или току от 10 до 100 % номинальных значений.

Пульсация тока на выходе катодных станций допускается не более 3 % на всех режимах.

И.4 Средства катодной и электродренажной защиты должны обеспечивать безопасность обслуживания по классу защиты 01 ГОСТ 12.2.007.0.

И.5 Уровень шума, создаваемый средствами катодной и электродренажной защиты, на всех частотах не должен превышать 60 дБ.

И.6 Катодные станции, автоматические поляризованные и усиленные дренажи должны иметь легко заменяемую защиту от атмосферных перенапряжений на сторонах питания и нагрузки; напряжение срабатывания защиты должно быть менее обратного напряжения применяемых вентилей, но не менее 250 В.

И.7 Уровень индустриальных радиопомех, создаваемых катодными станциями и дренажами по ГОСТ 16842, не должен превышать значений, предусмотренных ГОСТ 23511; уровень гармонических составляющих тока защиты при подключении к рельсовым сетям железных дорог не должен превышать норм ГОСТ 9.602.

И.8 По условиям эксплуатации окрашенные поверхности катодных станций и дренажей должны относиться к категории размещения группы условий эксплуатации VI ГОСТ 9.104, иметь показатели внешнего вида не ниже IV класса по ГОСТ 9.032, окраска изделий должна быть светлых тонов.

И.9 Конструкция и схема катодных станций и дренажей должны обеспечивать возможность непрерывной работы без профилактического обслуживания и ремонта не менее 6 мес.

И.10 Технический осмотр, профилактическое обслуживание и текущий ремонт катодных станций и дренажей следует проводить не реже одного раза в месяц и дополнительно при изменении параметров электрохимической защиты.

При этом проводят:

- осмотр всех доступных для внешнего наблюдения конструктивных элементов;

- проверку контактных соединений и устранение неисправностей;

- регистрацию показаний приборов, изменение и, при необходимости, регулировку потенциала на трубопроводе в точке дренажа;

- техническое обслуживание в соответствии с требованиями инструкции по эксплуатации завода-изготовителя.

Все виды неисправностей и отказов в работе следует фиксировать в полевом журнале с указанием времени их обнаружения, способа и времени устранения согласно НД.

И.11 Производственное оборудование, применяемое при проведении работ по комплексной защите сооружений от коррозии, должно соответствовать требованиям ГОСТ 12.2.003. Машины и механизмы, применяемые для профилактического обслуживания и текущего ремонта средств электрохимической защиты, а также при ремонтно-строительных работах, должны соответствовать требованиям ГОСТ 12.2.004.

И.12 Автоматические устройства катодной и дренажной защиты должны обеспечивать стабильность тока или потенциала с погрешностью, не превышающей 2,5 % заданного значения.

И.13 Катодные станции и дренажи должны соответствовать ГОСТ 15150 в части:

- климатического исполнения У категории размещения I для работы при температурах от 228 К (минус 45 °С) до 318 К (45 °С) в атмосфере типа П и при относительной влажности до 98 % при температуре 298 К (25 °С);

- климатического исполнения ХЛ категории размещения I для работы при температурах от 213 К (минус 60 °С) до 313 К (40 °С) в атмосфере типа II и при относительной влажности до 98 % при температуре 298 К (25 °С).

И.14 Катодные станции и дренажи должны иметь степень защиты от воздействия окружающей среды и от соприкосновения с токоведущими частями не ниже IР34 ГОСТ 14254 (для автоматических поляризованных дренажей допускается степень защиты не менее IР23 при условии обеспечения степени защиты IР34 для блоков управления), допускать транспортирование по условию 8 и хранение по условиям 5, для южных районов - по условиям 6 ГОСТ 15150 и соответствовать требованиям безопасности ГОСТ 12.2.007.0 и «Правилам устройства электроустановок» [2].

И.15 Коэффициент полезного действия вновь разрабатываемых устройств катодной и дренажной защиты должен быть не менее 70 %.

И.16 Соединительные кабели в установках катодной и дренажной защиты должны иметь полимерную шланговую изоляцию токоведущих жил без металлической оболочки с пластмассовым шланговым покровом.

И.17 Максимальная температура обмоток трансформатора и дросселя не должна превышать 393 К (120 °С) при температуре эксплуатация в соответствии с И.13.

И.18 Входное сопротивление регулирующих устройств на выходах подключения электродов сравнения вновь разрабатываемых автоматических катодных станций и дренажей должно быть не менее 10 МОм.

И.19 Состав комплекта запасных частей и инструментов катодных станций и дренажей должен определяться, исходя из параметров надежности их элементов, и обеспечивать работу устройств не менее 50 % всего срока их службы.

И.20 Все новые средства электрохимической защиты должны быть подвергнуты эксплуатационным испытаниям (в течение не менее одного года) на соответствие требованиям настоящего стандарта независимой экспертной комиссией в тех почвенно-климатических условиях, для которых предназначены данные средства, по программам, согласованным с потребителем.

ПРИЛОЖЕНИЕ К

(информационное)

БИБЛИОГРАФИЯ

[1] Правила технической эксплуатации электроустановок потребителей и правила техники безопасности при эксплуатации электроустановок потребителей. - М.: Энергоатомиздат, 1986

[2] Правила устройства электроустановок (ПУЭ). - М.: Атомиздат, 1976

Ключевые слова: магистральный трубопровод, изоляция, ударная прочность изоляции, сопротивление изоляции, адгезия, эффективность защиты, электрохимическая защита, защитный потенциал, катодная защита, дренажная защита, протекторная защита, катодная установка, катодная станция (катодный преобразователь), поляризационный потенциал, потенциал с омической составляющей, удельное электрическое сопротивление грунта, контрольно-измерительный пункт

СОДЕРЖАНИЕ

1 область применения. 1

2 нормативные ссылки. 1

3 общие положения. 4

4 требования к защитным покрытиям.. 5

5 требования к электрохимической защите. 14

6 требования к контролю состояния защиты от коррозии. 19

7 требования безопасности. 24

Приложение а Метод контроля защитных покрытий по заданной прочности при ударе. 25

Приложение б Контроль адгезии защитных покрытий. 27

Приложение в Определение площади отслаивания защитных покрытий при катодной поляризации. 31

Приложение г Методика определения переходного сопротивления покрытия. 35

Приложение д Контроль состояния изоляционного покрытия трубопроводов. 38

Приложение е Методика определения сопротивления вдавливанию.. 42

Приложение ж Требования к электрохимической защите участков трубопроводов в условиях высокой коррозионной опасности. 43

Приложение и Требования к катодным станциям и дренажам.. 44

Приложение к Библиография. 46

 

2008-2013. ГОСТы, СНиПы, СанПиНы - Нормативные документы - стандарты.