ГОСТ 12840-80
МЕЖГОСУДАРСТВЕННЫЙ СТАНДАРТ
ЗАМКИ
ПРЕДОХРАНИТЕЛЬНЫЕ
ДЛЯ ОДНОРОГИХ КРЮКОВ
ТИПЫ И РАЗМЕРЫ
ИПК ИЗДАТЕЛЬСТВО СТАНДАРТОВ
Москва
МЕЖГОСУДАРСТВЕННЫЙ СТАНДАРТ
|
ЗАМКИ ПРЕДОХРАНИТЕЛЬНЫЕ ДЛЯ ОДНОРОГИХ КРЮКОВ Типы и размеры Safely locks
for single hooks. |
ГОСТ |
Дата введения 01.01.81
1. Настоящий стандарт распространяется на предохранительные замки для однорогих кованых и штампованных крюков климатического исполнения У по ГОСТ 15150, применяемых в грузоподъемных машинах общего назначения.
Стандарт не распространяется на предохранительные замки для крюков, предназначенных для работы во взрывоопасной среде, а также для грузоподъемных машин специального назначения.
2. Предохранительные замки должны быть изготовлены следующих типов:
1 - замки пружинного замыкания;
2 - замки, замыкающиеся под действием собственной массы.
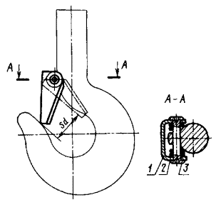
3. Присоединительные размеры замка типа 1 к крюку по ГОСТ 6627 (исполнение 2) должны соответствовать указанным на черт. 1 и в табл. 1.
Таблица 1
мм
|
Координаты центра отверстия |
Диаметр отверстия крюка d Н14 |
||
|
Н±1 |
Н1±1 |
||
|
1 |
26 |
9 |
4 |
|
2 |
28 |
||
|
3 |
31 |
10 |
|
|
4 |
35 |
12 |
5 |
|
5 |
38 |
||
|
6 |
42 |
15 |
6 |
|
7 |
48 |
||
|
8 |
56 |
18 |
8 |
|
9 |
60 |
21 |
|
|
10 |
65 |
||
|
11 |
78 |
25 |
10 |
|
12 |
82 |
28 |
|
|
13 |
92 |
32 |
12 |
|
14 |
105 |
35 |
|
Примечание. Номера замков соответствуют номерам крюков по ГОСТ 6627.
1 - защелка; 2 - пружина; 3 - штифт
Черт. 1
Примечание. Чертеж не определяет конструкцию замка.
Пример условного обозначения предохранительного замка номер 7 типа 1:
Замок 7-1 ГОСТ 12840-80
4. Присоединительные размеры замка типа 2 к крюку в случае сверления его хвостовика должны соответствовать указанным на черт. 2 и в табл. 2.
1 - скоба; 2 - штифт
Черт. 2
Примечание. Чертеж не определяет конструкцию замка.
Таблица 2
мм
|
Координаты центра отверстия Н |
Диаметр отверстия крюка d. H14 |
Номер замка |
Координаты центра отверстия Н |
Диаметр отверстия крюка d. H14 |
|||
|
Номин. |
Пред. откл. |
Номин. |
Пред. откл. |
||||
|
1 |
25 |
±1,0 |
3 |
14 |
105 |
±1,5 |
10 |
|
2 |
26 |
15 |
120 |
||||
|
3 |
30 |
16 |
130 |
||||
|
4 |
32 |
17 |
150 |
12 |
|||
|
5 |
38 |
4 |
18 |
165 |
|||
|
6 |
42 |
19 |
190 |
||||
|
7 |
48 |
20 |
210 |
16 |
|||
|
8 |
55 |
6 |
21 |
240 |
|||
|
9 |
60 |
22 |
260 |
||||
|
10 |
75 |
8 |
23 |
300 |
20 |
||
|
11 |
80 |
24 |
330 |
||||
|
12 |
85 |
25 |
370 |
||||
|
13 |
95 |
26 |
410 |
||||
Примечание. Номера замков соответствуют номерам крюков по ГОСТ 6627.
Пример условного обозначения предохранительного замка номер 7 типа 2:
Замок 7-2 ГОСТ 12840-80
Примеры конструкций предохранительных замков приведены в приложении.
Рекомендуемое
1. Пример конструкции и размеры предохранительных замков типа 1 приведены на черт. 1-3 и в табл. 1-3.

1 - защелка; 2 - пружина; 3 - штифт
Черт. 1
Таблица 1
|
Sa, мм |
Масса, г |
Дет. 1 |
Дет. 2 |
Дет. 3 по ГОСТ 10774-80 |
|
|
1 |
12 |
13 |
1-1/1 |
1-1/2 |
4h11´25 |
|
2 |
14 |
16 |
2-1/1 |
||
|
3 |
16 |
18 |
3-1/1 |
4h11´30 |
|
|
4 |
19 |
31 |
4-1/1 |
4-1/2 |
5h11´36 |
|
5 |
21 |
35 |
5-1/1 |
||
|
6 |
23 |
45 |
6-1/1 |
6-1/2 |
6h11´36 |
|
7 |
27 |
49 |
7-1/1 |
||
|
8 |
30 |
81 |
8-1/1 |
8-1/2 |
8h11´45 |
|
9 |
33 |
87 |
9-1/1 |
8h11´50 |
|
|
10 |
37 |
104 |
10-1/1 |
||
|
11 |
41 |
183 |
11-1/1 |
11-1/2 |
10h11´55 |
|
12 |
47 |
205 |
12-1/1 |
10h11´60 |
|
|
13 |
51 |
294 |
13-1/1 |
14-1/2 |
12h11´70 |
|
14 |
62 |
321 |
14-1/2 |
(Измененная редакция, Изм. № 2).
1.1. Конструкция и размеры защелки указаны на черт. 2 и в табл. 2.
Деталь 1. Защелка
Черт. 2
Пример условного обозначения защелки для замка номер 7 типа 1:
Защелка 7-1/1 ГОСТ 12840-80
Таблица 2
мм
|
b+1 |
d H14 |
L |
l1 |
l2 |
l3 |
l4 |
l5 |
l6 |
S |
r |
r1 |
Масса, г |
|
|
1-1/1 |
18 |
4 |
26 |
8 |
6 |
18 |
37 |
4 |
7 |
1,5 |
1,5-3,0 |
4 |
10,5 |
|
2-1/1 |
28 |
13,0 |
|||||||||||
|
3-1/1 |
22 |
31 |
22 |
41 |
15,0 |
||||||||
|
4-1/1 |
24 |
5 |
35 |
10 |
8 |
24 |
48 |
5 |
9 |
2,0 |
2,0-4,0 |
|
26,0 |
|
5-1/1 |
38 |
29,0 |
|||||||||||
|
6-1/1 |
28 |
6 |
43 |
12 |
10 |
28 |
54 |
6 |
6 |
36,5 |
|||
|
7-1/1 |
48 |
41,0 |
|||||||||||
|
8-1/1 |
35 |
8 |
58 |
16 |
12 |
35 |
69 |
8 |
11 |
8,0 |
63,0 |
||
|
9-1/1 |
40 |
40 |
74 |
67,0 |
|||||||||
|
10-1/1 |
62 |
84,0 |
|||||||||||
|
11-1/1 |
45 |
10 |
75 |
20 |
15 |
45 |
87 |
10 |
14 |
3,0 |
3,0-5?0 |
10 |
152,0 |
|
12-1/1 |
50 |
78 |
50 |
92 |
167,0 |
||||||||
|
13-1/1 |
60 |
12 |
92 |
24 |
60 |
110 |
12 |
16 |
12 |
235,5 |
|||
|
14-1/1 |
102 |
262,0 |
Пример условного обозначения защелки для замка номер 7 типа 1:
Защелка 7-1/1 ГОСТ 12840-80
1.2. Материал защелки - листовая сталь но ГОСТ 19903 и ГОСТ 19904.
1.3. Отклонение от соосности отверстий защелки - не более 0,25 мм.
1.4. Конструкция и размеры пружины указаны на черт. 3 и в табл. 3.
Деталь 2. Пружина
Черт. 3
Таблица 3
Размеры в мм
|
D1 |
d |
H0 |
b +1 |
l ±1 |
l1 +2 |
t |
Масса, г |
|
|
1-1/2 |
7 |
0,8 |
22 |
9 |
8 |
18 |
2 |
0,6 |
|
4-1/2 |
8 |
25 |
12 |
25 |
0,8 |
|||
|
6-1/2 |
9 |
1,0 |
32 |
12 |
10 |
32 |
3 |
1,4 |
|
8-1/2 |
11 |
39 |
20 |
12 |
45 |
1,7 |
||
|
11-1/2 |
13 |
1,2 |
50 |
25 |
14 |
50 |
4 |
3,1 |
|
14-1/2 |
15 |
60 |
35 |
16 |
3,7 |
Пример условного обозначения защелки для замка номер 7 типа 1:
Пружина 6-1/2 ГОСТ 12840-80
2. Пример конструкции и размеры предохранительных замков типа 2 приведены на черт. 4-6 и в табл. 4-6.
* Размер для справок.
1 - скоба; 2 - штифт
Черт. 4
Таблица 4
|
Sа |
Sb |
Масса, кг, не более |
Дет. 1 |
Дет. 2 |
|||
|
Заклепка по ГОСТ 10299, ГОСТ 10304 |
Штифт |
||||||
|
мм |
по ГОСТ 10774 |
по черт. 6 |
|||||
|
1 |
13 |
2 |
0,03 |
1-2/1 |
- |
3h11´30 |
- |
|
2 |
15 |
2-2/1 |
|||||
|
3 |
16 |
3-2/1 |
3´36.00 |
- |
|||
|
4 |
20 |
5 |
0,04 |
4-2/1 |
|||
|
5 |
22 |
5-2/1 |
|||||
|
6 |
24 |
0,08 |
6-2/1 |
- |
4h11´40 |
||
|
7 |
28 |
7 |
0,09 |
7-2/1 |
|||
|
8 |
30 |
0,22 |
8-2/1 |
6h11´55 |
|||
|
9 |
34 |
0,24 |
9-2/1 |
||||
|
10 |
38 |
0,28 |
10-2/1 |
||||
|
11 |
42 |
0,46 |
11-2/1 |
8h11´70 |
|||
|
12 |
45 |
10 |
0,52 |
12-2/1 |
8h11´80 |
||
|
13 |
50 |
0,58 |
13-2/1 |
||||
|
14 |
60 |
15 |
1,06 |
14-2/1 |
10h11´90 |
||
|
15 |
66 |
1,20 |
15-2/1 |
10h11´100 |
|||
|
16 |
73 |
1,23 |
16-2/1 |
||||
|
17 |
75 |
2,37 |
17-2/1 |
12h11´120 |
|||
|
18 |
90 |
20 |
2,63 |
18-2/1 |
|||
|
19 |
100 |
2,97 |
19-2/1 |
12h11´140 |
|||
|
20 |
110 |
5,61 |
20-2/1 |
16h11´160 |
|||
|
21 |
120 |
6,59 |
21-2/1 |
16h11´180 |
|||
|
22 |
130 |
22 |
7,16 |
22-2/1 |
16h11´200 |
||
|
23 |
150 |
12,31 |
23-2/1 |
- |
23-2/2 |
||
|
24 |
170 |
25 |
13,61 |
24-2/1 |
24-2/2 |
||
|
25 |
190 |
35 |
15,07 |
25-2/1 |
25-2/2 |
||
|
26 |
200 |
40 |
16,50 |
26-2/1 |
26-2/2 |
||
Примечание. Номера замков соответствуют номерам крюков по ГОСТ 6627.
(Измененная редакция, Изм. № 2).
2.1. Конструкция и размеры скобы указаны на черт. 5 и в табл. 5.
Деталь 1. Скоба
Черт. 5
Таблица 5
мм
|
L |
l |
B |
D |
d H14 |
r ±2,0 |
r1 ±2,0 |
r2 |
h |
h1 |
К не более |
S |
Масса, кг не более |
||
|
Н16 |
||||||||||||||
|
1-2/1 |
48 |
22 |
17 |
4 |
3 |
8 |
9 |
3 |
7 |
3 |
2 |
2 |
0,02 |
|
|
2-2/1 |
52 |
23 |
0,03 |
|||||||||||
|
3-2/1 |
55 |
27 |
20 |
11 |
||||||||||
|
4-2/1 |
65 |
22 |
6 |
10 |
12 |
9 |
3 |
0,04 |
||||||
|
5-2/1 |
70 |
32 |
||||||||||||
|
6-2/1 |
80 |
36 |
28 |
4 |
15 |
4 |
10 |
5 |
0,08 |
|||||
|
7-2/1 |
95 |
40 |
0,09 |
|||||||||||
|
8-2/1 |
105 |
48 |
34 |
10 |
6 |
14 |
18 |
6 |
16 |
8 |
3 |
5 |
0,21 |
|
|
9-2/1 |
115 |
51 |
38 |
20 |
0,23 |
|||||||||
|
10-2/1 |
130 |
65 |
0,27 |
|||||||||||
|
11-2/1 |
140 |
68 |
45 |
12 |
8 |
20 |
24 |
8 |
20 |
9 |
6 |
0,43 |
||
|
12-2/1 |
160 |
72 |
50 |
26 |
0,49 |
|||||||||
|
13-2/1 |
180 |
83 |
58 |
30 |
0.55 |
|||||||||
|
14-2/1 |
200 |
87 |
62 |
16 |
10 |
24 |
32 |
10 |
26 |
12 |
4 |
8 |
1,01 |
|
|
15-2/1 |
230 |
102 |
70 |
36 |
1,14 |
|||||||||
|
16-2/1 |
250 |
112 |
72 |
40 |
1,17 |
|||||||||
|
17-2/1 |
290 |
135 |
90 |
20 |
12 |
30 |
48 |
12 |
32 |
15 |
5 |
10 |
2,26 |
|
|
18-2/1 |
330 |
140 |
92 |
50 |
2,27 |
|||||||||
|
19-2/1 |
370 |
165 |
105 |
55 |
2,85 |
|||||||||
|
20-2/1 |
410 |
185 |
120 |
26 |
16 |
40 |
63 |
16 |
42 |
20 |
6 |
12 |
5,38 |
|
|
21-2/1 |
470 |
215 |
135 |
70 |
6,32 |
|||||||||
|
22-2/1 |
520 |
235 |
150 |
80 |
6,86 |
|||||||||
|
23-2/1 |
600 |
270 |
175 |
32 |
20 |
50 |
90 |
20 |
52 |
24 |
8 |
16 |
11,78 |
|
|
24-2/1 |
670 |
295 |
195 |
95 |
13,06 |
|||||||||
|
25-2/1 |
750 |
330 |
220 |
40 |
110 |
60 |
32 |
23,00 |
||||||
|
26-2/1 |
800 |
370 |
230 |
115 |
25,00 |
|||||||||
Пример условного обозначения скобы для замка номер 7 типа 2:
Скоба - 7-2/1 ГОСТ 12840-80
Примечание. Допускается увеличение диаметра D на 20 % по сравнению с указанным в таблице.
(Измененная редакция, Изм. № 1).
2.2. Косынка должна быть приварена по контуру прилегания электродами типа Э-42 по ГОСТ 9467.
2.3. Допускается цельноштампованный вариант изготовления скобы (штамповку скобы и косынки производить одновременно из круга), а также изготовление скобы методом точного литья.
2.4. Допускается изготовлять скобу без разъема и из нескольких частей с заваркой стыков электродами типа Э-42 по ГОСТ 9467.
2.5. Допускается увеличивать размер l до полного перекрытия зева крюка.
2.6. Отклонение от соосности отверстий - не более 0,25 мм.
2.7. Отклонение от перпендикулярности осей отверстий относительно плоскости симметрии скобы - не более 1,0 мм.
2.8. Материал скобы - горячекатаная круглая сталь по ГОСТ 2590 или калиброванная круглая сталь по ГОСТ 7417.
2.9. Материал косынки - сталь листовая по ГОСТ 19903 и ГОСТ 19904.
2.10. Конструкция и размеры штифтов для замков номеров 23-26 указаны на черт. 6 и в табл. 6.
Деталь 2. Штифт
Черт. 6
|
L, мм |
Масса, кг |
|
|
23-2/2 |
230 |
0,53 |
|
24-2/2 |
240 |
0,55 |
|
25-2/2 |
265 |
0,61 |
|
26-2/2 |
275 |
0,63 |
Пример условного обозначения штифта для замка номер 23 типа 2:
Штифт 23-2/2 ГОСТ 12840-80
2.11. Штифты должны быть изготовлены из стали марки 45 по ГОСТ 1050 без покрытия.
По требованию потребителя должно производиться антикоррозионное покрытие штифтов.
(Измененная редакция, Изм. № 1).
2.12. Допускается заменять штифты заклепками по ГОСТ 10299 и ГОСТ 10304.
3. Предельные
отклонения размеров, не указанные на чертежах, должны быть: охватывающих - по
Н14; охватываемых - h14; прочих - по ±
.
(Измененная редакция. Изм. № 1).
4. Предельные отклонения масс, указанных в табл. 1-6 - не более 10 %.
ИНФОРМАЦИОННЫЕ ДАННЫЕ
1. РАЗРАБОТАН И ВНЕСЕН Министерством тяжелого машиностроения СССР
РАЗРАБОТЧИКИ
А.С. Липатов, Н.И. Ивашков, Н.М. Колпаков
2. УТВЕРЖДЕН И ВВЕДЕН В ДЕЙСТВИЕ Постановлением Государственного комитета СССР по стандартам от 31.01.80 № 491
3. ВЗАМЕН ГОСТ 12840-73
4. ССЫЛОЧНЫЕ НОРМАТИВНО-ТЕХНИЧЕСКИЕ ДОКУМЕНТЫ
|
Обозначение НТД, на который дана ссылка |
Номер пункта, приложения |
|
Приложение (п. 2.11) |
|
|
Приложение (п. 2.8) |
|
|
ГОСТ 6627-74 |
|
|
Приложение (п. 2.8) |
|
|
ГОСТ 9389-75 |
Приложение (п. 1.5) |
|
ГОСТ 10774-80 ГОСТ 15150-69 |
|
5. Снято ограничение срока действия Постановлением Госстандарта от 25.07.90 № 2262
6. ПЕРЕИЗДАНИЕ (декабрь 1998 г.) с Изменениями № 1, 2, утвержденными в марте 1982 г., июле 1990 г. (ИУС 7-82, 11-90)