
ГОСУДАРСТВЕННЫЙ СТАНДАРТ СОЮЗА ССР
КАРБИД КАЛЬЦИЯ
ТЕХНИЧЕСКИЕ УСЛОВИЯ
ГОСТ 1460-81
ИПК ИЗДАТЕЛЬСТВО СТАНДАРТОВ
Москва
ГОСУДАРСТВЕННЫЙ СТАНДАРТ СОЮЗА ССР
|
КАРБИД КАЛЬЦИЯ Технические условия Calcium carbide. |
ГОСТ |
Дата введения 01.01.82
Настоящий стандарт распространяется на карбид кальция, предназначенный для получения ацетилена и для других целей.
Формула СаС2.
Молекулярная масса (по международным атомным массам 1971 г.) - 64,102.
Требования настоящего стандарта являются обязательными.
(Измененная редакция, Изм. № 3).
1.1. Карбид кальция должен быть изготовлен в соответствии с требованиями настоящего стандарта по технологическому регламенту, утвержденному в установленном порядке.
1.2. (Исключен, Изм. № 3).
1.3. Карбид кальция должен выпускаться в кусках следующих размеров, указанных в табл. 2.
Таблица 2
|
Размер кусков, мм |
Размеры других кусков, мм |
Массовая доля других кусков, %, не более |
|
|
2/25 |
От 2 до 25 |
Менее 2 От 25 до 50 |
5 10 |
|
25/50 |
От 25 до 50 |
Менее 25, |
7 |
|
в том числе менее 2 |
2 |
||
|
От 50 до 80 |
10 |
||
|
Более 80 |
Отсутствие |
||
|
25/80 |
От 25 до 80 |
Менее 25, |
7 |
|
в том числе менее 2 |
2 |
||
|
От 80 до 100 |
10 |
||
|
Более 100 |
Отсутствие |
||
|
50/80 |
От 50 до 80 |
Менее 50, |
10 |
|
в том числе менее 2 |
2 |
||
|
От 80 до 100 |
10 |
||
|
Более 100 |
Отсутствие |
Примечание. Карбид кальция с кусками размером 2/25 предназначен для предприятий, имеющих генераторы для переработки кусков указанного размера.
(Измененная редакция, Изм. № 3).
1.4. По физико-химическим показателям карбид кальция должен соответствовать нормам и требованиям, указанным в табл. 3.
Таблица 3
|
Норма для сорта |
||||
|
высшего |
первого |
второго |
||
|
1. Литраж, дм3/кг, не менее, для кусков |
|
|
|
|
|
50/80 |
295 |
285 |
275 |
|
|
25/80 |
290 |
285 |
265 |
|
|
25/50 |
285 |
280 |
260 |
|
|
2/25 |
- |
260 |
240 |
|
|
2. Объемная доля фосфористого водорода (РН3) в ацетилене, %, не более |
0,07 |
0,08 |
0,08 |
|
|
3. Массовая доля сульфидной серы, %, не более |
0,5 |
1,2 |
1,2 |
|
|
4. Массовая доля свободного углерода, %, не более |
1 |
Не нормируется |
||
|
5. Массовая доля окиси кальция (СаО), %, не более |
17 |
Не нормируется |
||
|
6. Массовая доля ферросплава, %, не более |
1,0 |
1,0 |
1,0 |
|
* Таблица 1. (Исключена, Изм. № 3).
Примечания:
1. Литраж - это объем сухого ацетилена в литрах, выделяемый 1 кг карбида кальция, приведенный к 20 °С и давлению 101325 Па (760 мм рт. ст.).
2. (Исключен, Изм. № 2).
3. (Исключен, Изм. № 3).
4. По согласованию с потребителем допускается на предприятиях, оборудованных печами с охлаждением расплава карбида кальция в охлаждающих барабанах, изготовлять карбид кальция литражом не менее 240 дм3/кг для кусков всех размеров, указанных в стандарте.
(Измененная редакция, Изм. № 2, 3).
1.5. Коды ОКП карбида кальция приведены в табл. 4.
Таблица 4
|
Код ОКП |
|
|
Карбид кальция для кусков 50/80 |
21 5531 0100 02 |
|
Высший сорт |
21 5531 0120 09 |
|
1-й сорт |
21 5531 0130 07 |
|
2-й сорт |
21 5531 0140 05 |
|
Карбид кальция для кусков 25/80 |
21 5531 0200 10 |
|
1-й сорт |
21 5531 0230 04 |
|
2-й сорт |
21 5531 0240 02 |
|
Карбид кальция для кусков 25/50 |
21 5531 0300 07 |
|
1-й сорт |
21 5531 0330 01 |
|
2-й сорт |
21 5531 0340 10 |
|
Карбид кальция для кусков 2/25 |
21 5531 0400 04 |
|
1-й сорт |
21 5531 0430 09 |
|
2-й сорт |
21 5531 0440 07 |
Ацетилен является пожаро- и взрывоопасным газом, легко реагирует с солями серебра, меди и ртути, образуя при этом нестойкие взрывчатые ацетилениды.
Максимальное давление взрыва 10,3 кг/см2.
Ацетилен обладает способностью самовоспламеняться в чистом виде и в смеси с воздухом при сравнительно низких температурах.
Температура самовоспламенения ацетилена 335 °С.
Нижний концентрационный предел воспламенения ацетилена в воздухе при атмосферном давлении, приведенный к температуре 25 °С, - 2,5 % (по объему) по ГОСТ 12.1.004.
При разложении карбида кальция водой в случае ее недостатка температура способна вызвать воспламенение выделяющегося ацетилена. Особенно опасна в этом отношении карбидная пыль.
(Измененная редакция, Изм. № 3).
2.2. Газообразный ацетилен легче воздуха и может накапливаться в слабопроветриваемых помещениях в высших точках, где возможно образование ацетилено-воздушной смеси.
2.3. В местах возможного накопления ацетилена необходимо контролировать содержание его в воздухе приборами автоматического действия в соответствии с ГОСТ 12.1.044 или приборами ручного действия с устройством для дистанционного отбора проб воздуха. Сигнал опасности загазованности должен подаваться при достижении объемной доли ацетилена в воздухе 20 % от нижнего предела взрываемости, т. е. при объемной доле ацетилена в воздухе, равной 0,46 %.
(Измененная редакция, Изм. № 2, 3).
Предельно допустимая концентрация фосфористого водорода в воздухе рабочей зоны 0,1 мг/м3 - по ГОСТ 12.1.005.
По степени воздействия на организм карбид кальция относится к веществам чрезвычайно опасным - 1-му классу опасности по ГОСТ 12.1.007.
2.5. Пыль карбида кальция оказывает раздражающее действие на кожу, дыхательные пути и глаза.
Предельно допустимая концентрация карбидной пыли - 10 мг/м3.
2.6. Производственные помещения, в которых проводятся работы с карбидом кальция, должны иметь приточную и вытяжную вентиляцию.
2.7. Запрещается ввод в здание склада с карбидом кальция водопровода, канализации, а также водяного и парового отопления.
2.8. Вскрытые или поврежденные барабаны не разрешается хранить на складах. На складах не допускается скапливание карбидной пыли.
Хранение пустой тары из-под карбида кальция осуществляется на специально отведенных площадках вне производственных помещений.
2.9. (Исключен, Изм. № 2).
2.11. При попадании карбида кальция в глаза и на кожу - промыть глаза и кожу обильным количеством воды, кожу смазать вазелиновым маслом.
У входов в помещения и места, предназначенные для хранения карбида кальция и работы с карбидом кальция, необходимо установить знак «Запрещается тушить водой» по ГОСТ 12.4.026.
(Измененная редакция, Изм. № 3).
2.13. Сточные воды при производстве карбида кальция отсутствуют. Отходящие дымовые газы очищают от пыли (извести, кокса) в соответствии с «Правилами и нормами техники безопасности и промышленной санитарии для проектирования, строительства и эксплуатации предприятий по производству карбида кальция и электродной массы».
(Введен дополнительно, Изм. № 3).
3.1. Карбид кальция принимают партиями. Партией считают количество однородного по своим показателям качества продукта в одинаковой упаковке, оформленного одним документом о качестве, но не более 120 т.
Документ о качестве должен содержать:
наименование предприятия-изготовителя и (или) его товарный знак;
наименование продукта, сорт, размеры кусков;
дату изготовления продукта;
номер партии;
массу нетто и брутто;
обозначение настоящего стандарта;
результаты проведенных анализов или подтверждение о соответствии качества продукта требованиям настоящего стандарта.
(Измененная редакция, Изм. № 2, 3).
3.2. Для проверки качества продукции отбирают пробы из установленного числа неповрежденных единиц упаковки по табл. 5.
Таблица 5
|
Количество отбираемых упаковочных единиц, шт. |
|
|
От 4 до 20 |
2 |
|
» 21 » 25 |
3 |
|
» 26 » 63 |
5 |
|
» 64 и выше |
6 |
Если партия состоит из трех или менее единиц упаковок, пробу отбирают из каждой единицы упаковки.
3.3. Для проверки массовой доли кусков карбида кальция различных размеров отбирают по одному-два барабана от партии, или по 5 кг от контейнеров, отобранных для проверки качества продукции.
3.3а. Массовую долю кусков карбида кальция в соответствии с табл. 2, а также показатели 2, 3 и 6 табл. 3 изготовитель определяет периодически не реже одного раза в месяц.
(Введен дополнительно, Изм. № 2).
Результаты повторного анализа распространяются на всю партию.
4.1. Отбор проб
4.1.1. Из отобранных упаковочных единиц отбирают точечные пробы.
Точечная проба должна состоять не менее чем из пяти кусков продукта.
4.1.2. Точечные пробы отбирают при загрузке или выгрузке переносным пробоотборником (алюминиевым совком) не менее трех от каждой упаковочной единицы равномерно на равных уровнях, соответствующих 1/4, 1/2, 3/4 объема упаковки.
4.1.1, 4.1.2. (Измененная редакция, Изм. № 2).
4.1.3. Наименьшую массу точечной пробы из барабанов в зависимости от размера куска отбирают по табл. 6.
Таблица 6
|
Наименьшая масса точечной пробы, г |
|
|
От 2 до 25 |
500 |
|
» 25 » 50 |
1500 |
|
» 25 » 80 |
2000 |
|
» 50 » 80 |
2500 |
Масса точечной пробы от контейнера должна быть не менее 20 кг. Допускается предприятиям-изготовителям отбирать точечные пробы продукта из потока алюминиевым совком, подставляя его в начале, середине и конце наполнения каждого десятого барабана или каждого контейнера.
4.2. Подготовка проб для анализа
4.2.1. Отбор проб, дробление и квартование следует производить в возможно короткие сроки.
Объединенную пробу для определения литража и примесей сокращают квартованием до средней пробы массой 1,5-2 кг.
(Измененная редакция, Изм. № 3).
4.2.4. Остаток пробы, взятой для определения литража карбида кальция, измельчают до кусков размером не более 8 мм и методом квартования сокращают до 100-200 г.
4.3. Определение литража
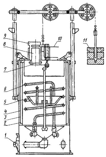
Аппарат для определения литража карбида кальция (см. черт. 1), состоящий из колокола и реактора с кольцевым водяным затвором.
Колокол имеет загрузочную камеру с колпаком и заслонку, управляемую поворотным устройством: загрузочная камера и поворотное устройство имеют водяные затворы. Реактор снабжен охлаждающим змеевиком. Колокол уравновешен грузом.
Разложение карбида кальция происходит на перфорированном поддоне. Аппарат имеет шкалу для измерения объема выделившегося ацетилена в литрах на килограмм.
Термометр ртутный стеклянный.
Манометр водяной.
(Измененная редакция, Изм. № 3).
4.3.2. Подготовка к испытанию
Перед определением литража карбида кальция реактор и кольцевой водяной затвор при снятом колпаке загрузочной камеры и открытой заслонке заполняют водой, затем наполняют водой водяные затворы загрузочной камеры и поворотного устройства и пускают воду в охлаждающий змеевик.
Воду в реакторе насыщают ацетиленом последовательным разложением трех-четырех проб карбида кальция массой около 500 г каждая.
4.3.3. Проведение анализа
От пробы, приготовленной, как указано в п. 4.2.3 или в п. 4.2.2 для проб с размером кусков 2/25, отбирают 500 или 100 г (для аппаратов меньшего объема с техническими и метрологическими характеристиками, не уступающими аппарату, указанному на черт. 1) карбида кальция и взвешивают. Результат взвешивания записывают с точностью до одного грамма.
Аппарат для определения литража карбида кальция
1 - сливной патрубок; 2 - реактор; 3 - колокол; 4 - водяной затвор; 5 - перфорированный поддон; 6 - охлаждающий змеевик; 7 - заслонка; 8 - загрузочная камера; 9 - колпак; 10 - поворотное устройство; 11 - груз
Черт. 1
При снятом колпаке и закрытой заслонке в загрузочную камеру высыпают приготовленную навеску карбида кальция, затем закрывают загрузочную камеру колпаком, перекрывают выход газа в атмосферу и поворотом рукоятки отводят заслонку. Карбид при этом высыпается в поддон.
После прекращения разложения карбида кальция уравнивают давление ацетилена под колоколом с атмосферным давлением, поднимая колокол нажатием на груз до выравнивания уровней воды в трубах водяного манометра, и производят запись объема, температуры газа и атмосферного давления.
По окончании испытания открывают выход газа и выпускают ацетилен, снимая часть груза.
Воду в аппарате должны менять не более чем через 60 определений литража карбида кальция.
4.3.4. Обработка результатов
Литраж (X) в дм3 на килограмм вычисляют по формуле
![]()
где V - объем ацетилена, выделяемый 1 кг карбида кальция, измеренный по шкале аппарата, дм3;
Р - атмосферное давление, Па (мм рт. ст.);
Wt - упругость паров воды при температуре t, Па (мм рт. ст.);
P0 - нормальное давление, составляет 101325 Па (760 мм рт. ст.);
t - температура газа под колоколом к концу разложения пробы карбида кальция, °С.
За результат анализа принимают среднее арифметическое двух параллельных определений, допускаемые расхождения между которыми не должны превышать 2 дм3/кг при доверительной вероятности Р=0,95.
Допускаемая абсолютная суммарная погрешность результата анализа ±2 дм3/кг при доверительной вероятности P=0,95.
4.3.3, 4.3.4. (Измененная редакция, Изм. № 2, 3).
4.4. Определение массовой доли кусков карбида кальция других размеров
4.4.1. Массовую долю кусков карбида кальция других размеров в продукте определяют на аппарате с механическим или ручным рассевом с набором сит с полотнами решеток с круглыми отверстиями или металлическими сетками с круглыми отверстиями, приведенными в табл. 7а.
Таблица 7а
|
Расстояние между центрами отверстий, мм |
Толщина полотна, мм |
|
|
100±1,5 |
120±2,0 |
3,0 |
|
80±1,2 |
95±1,5 |
2,5 |
|
50±1,0 |
65±1,1 |
2,5 |
|
25±0,5 |
38±1,0 |
2,5 |
|
2±0,15 |
5±0,1 |
1,0 |
Наружный размер сит должен быть не менее 450 мм. Каждому размеру кусков карбида кальция соответствует набор сит с полотнами решетными или металлическими решетками (табл. 7).
Таблица 7
|
Сито (отверстия диаметром, мм) |
|||||
|
Первое (верхнее) |
Второе |
Третье |
Четвертое |
Пятое |
|
|
От 2 до 25 |
100 |
|
50 |
25 |
2 |
|
» 25 » 50 |
80 |
50 |
25 |
2 |
|
|
» 25 » 80 |
100 |
80 |
25 |
2 |
|
|
» 50. » 80 |
100 |
80 |
50 |
2 |
|
Анализируемую пробу карбида кальция, отобранную по п. 3.4, взвешивают на технических весах по ГОСТ 24104 3-го или 4-го класса точности с наибольшим пределом взвешивания 50 кг, частями по 20-25 кг высыпают в аппарат рассева. При ручном рассеве совершают 30 качаний аппарата за ручку от упора до упора. При механическом рассеве процесс заканчивается автоматически.
Карбид кальция, оставшийся на одноименных ситах, собирают вместе и взвешивают.
Карбид кальция, прошедший через нижнее сито, выгружают и взвешивают.
(Измененная редакция, Изм. № 2, 3).
4.4.2. Обработка результатов
Массовую долю кусков карбида кальция других размеров (Х) в процентах вычисляют по формуле
![]()
где m1 - масса карбида кальция, оставшаяся на одноименных ситах или прошедшая через нижнее сито, кг;
m - масса карбида кальция, взятая для определения, кг.
За результат анализа принимают среднее арифметическое двух параллельных определений, допускаемые расхождения между которыми не должны превышать 0,25% при доверительной вероятности Р=0,95.
Допускаемая абсолютная суммарная погрешность результата анализа ±0,3 % при доверительной вероятности Р=0,95.
(Измененная редакция, Изм. № 3).
4.5. Определение объемной доли фосфористого водорода в ацетилене
4.5.1. Реактивы, растворы и аппаратура
Кислота уксусная по ГОСТ 61, раствор с массовой долей 80-90 %.
Йод по ГОСТ 4159, раствор концентрации с (1/2 J2)=0,01 моль/дм3 (0,01 н.), готовят по ГОСТ 25794.2.
Натрий уксуснокислый по ГОСТ 199.
Натрий серноватистокислый (тиосульфат натрия) по ГОСТ 27068, раствор концентрации 0,01 моль/дм3 (0,01 н.).
Кислота соляная по ГОСТ 3118, плотностью 1,19 г/см3.
Крахмал растворимый по ГОСТ 10163, водный раствор с массовой долей 0,5 %.
Вода дистиллированная по ГОСТ 6709.
Кадмий уксуснокислый, поглотительный раствор, готовят следующим образом: 27 г уксуснокислого кадмия растворяют в воде и при необходимости фильтруют. К раствору добавляют 10 см3 уксусной кислоты и 10 г уксуснокислого натрия, объем раствора доводят водой до 1 дм3 и хорошо перемешивают.
Колба коническая типа КН-500-34.
Колба плоскодонная типа КП-1000-34.
Воронки капельные.
Трубка U-образная типа КШ 14,5/23.
Склянки для промывания газов по ГОСТ 25336 типа CHI-200.
Бутыли с тубусом по ГОСТ 25336 вместимостью 3 и 10 дм3.
Термометр ртутный стеклянный.
Весы лабораторные общего назначения по ГОСТ 24104 2-го класса точности с наибольшим пределом взвешивания 200 г, допускается применение других весов с аналогичными технологическими и метрологическими характеристиками.
Бюретки, пипетки по НТД, пробирки, колбы, цилиндры по ГОСТ 1770 2-го класса точности, допускается применение другой посуды при условии получения метрологических характеристик, не уступающих указанным в соответствующих стандартах.
(Измененная редакция, Изм. № 2, 3).
Для определения фосфористого водорода в ацетилене из карбида кальция применяют прибор (черт. 2), состоящий из:
конической колбы для разложения карбида кальция вместимостью 500 см3 с присоединенной к ней капельной воронкой такой же вместимости, ванны для охлаждения колбы;
U-образной трубки, заполненной стеклянной ватой и плотно закрытой пробками (газ поступает и выходит через боковые отводы);
первой склянки для промывания газов;
второй склянки для промывания газов, снабженной фильтром ПОР 160 или ПОР 100 по ГОСТ 25336;
плоскодонной колбы, калиброванной по воде для определения фосфористого водорода, вместимостью 1 дм3 с присоединенной к ней капельной воронкой вместимостью 50-100 см3;
большого аспиратора - двух бутылей с нижними тубусами вместимостью 15 дм3 каждая, соединенных между собой резиновым шлангом через тубусы, одна из бутылей плотно закрыта пробкой со вставленным в нее термометром;
малого аспиратора - двух склянок с нижними тубусами вместимостью 3 дм3 каждая, соединенных между собой через тубусы.
Коническую и плоскодонную колбы и одну бутыль большого аспиратора плотно закрывают резиновыми пробками с двумя отверстиями.
В одно отверстие пробки конической колбы вставляют капельную воронку так, чтобы нижний оттянутый конец ее диаметром около 3 мм выступил на 5-10 мм от нижней поверхности пробки.
В другое отверстие вставляют стеклянную трубку, отводящую газ, изогнутую под прямым углом. Нижний конец трубки должен находиться на уровне нижней поверхности пробки.
В одно отверстие пробки плоскодонной колбы вставляют подводящую газ трубку, доходящую до дна колбы, в другое отверстие - капельную воронку, нижний конец которой должен быть на уровне нижней поверхности пробки. В пробку воронки плотно вставляют трубку, нижний конец которой должен находиться на уровне нижней поверхности пробки, а через верхний конец трубки весь прибор при помощи шланга соединяют с большим аспиратором.
1 - коническая колба; 2, 8 - капельные воронки; 3 - ванна для охлаждения колбы; 4 - U-образная трубка; 5 - склянка для промывания газа; 6 - склянка для промывания газа со стеклянным пористым фильтром; 7 - плоскодонная колба; 9 - большой аспиратор; 10 - малый аспиратор
Черт. 2
Отдельные части прибора соединяются между собой, как указано на черт. 2, при помощи резиновых трубок.
Перед определением краны капельных воронок смазывают вазелином, в склянки для промывания газа наливают около 50 см3 поглотительного раствора, плоскодонную колбу заполняют дистиллированной водой до пробки и ставят вверх воронкой.
Верхнюю бутыль большого аспиратора заполняют водой до пробки, а в нижней бутыли вода должна покрывать тубус. Затем все части прибора, за исключением конической колбы, соединяют между собой.
4.5.3. Проведение анализа
Около 30 г карбида кальция, приготовленного по п. 4.2.5, взвешивают, результат взвешивания в граммах записывают с точностью до второго десятичного знака и помещают в сухую коническую колбу. В ванну для охлаждения колбы наливают холодную воду, а колбу закрывают пробкой с воронкой 2.
Краны капельных воронок закрывают, в воронку 2 наливают дистиллированную воду и коническую колбу 1 присоединяют к прибору.
Прибор проверяют на герметичность, создавая в нем разрежение опусканием нижней бутыли большого аспиратора и осторожно открывая кран воронки 8.
Если система герметична, что узнают по прекращению прохождения пузырьков воздуха через склянки для промывания газов, приступают к разложению карбида кальция. Для этого осторожно открывают кран воронки 2 и по каплям пускают воду на карбид кальция.
Так как вначале разложение карбида кальция водой идет очень бурно, то в первый период разложения спуск воды должен быть не более 2-3 капель в 1 мин.
Разложение карбида кальция должно быть равномерным и продолжаться в течение 2-3 ч.
Пропустив первые 2-2,5 дм3 ацетилена, плоскодонную колбу для определения фосфористого водорода опрокидывают капельной воронкой вниз и закрепляют ее на штативе в положении, как указано на черт. 2.
После того, как вся вода из колбы будет вытеснена газом, колбу возвращают в первоначальное положение, в котором она остается до конца разложения карбида кальция.
Во избежание потерь газа воронку 2 наполняют водой по мере расхода последней.
По окончании разложения карбида кальция коническую колбу заполняют водой для вытеснения оставшегося в ней газа. До половины объема ее заполняют при разрежении, последнюю же порцию воды для заполнения конической колбы подают под давлением.
Для этого закрывают кран воронки 8 и зажимают резиновый шланг, соединяющий ее с большим аспиратором, а воронку 2 соединяют с малым аспиратором и создаваемым давлением вытесняют оставшийся газ из конической колбы.
После этого отделяют плоскодонную колбу от склянки для промывания газа с пористым стеклянным фильтром, зажав соединяющую их резиновую трубку зажимом. Затем разъединяют склянки для промывания газа и отделяют U-образную трубку от склянки для промывания газа 5. Следует соблюдать указанный порядок разъединения во избежание перетягивания растворов из одного сосуда в другой.
Заполненную ацетиленом плоскодонную колбу отделяют от большого аспиратора и вынимают пробку из воронки 8.
Для приведения газа в колбе к атмосферному давлению кран капельной воронки 8 на мгновение открывают, выпуская избыток газа, и отмечают атмосферное давление и температуру газа.
Для вытеснения оставшегося в воронке газа (при закрытом кране) ее заполняют водой, которую затем сливают. Эту операцию повторяют дважды.
Из бюретки в воронку 8 наливают 50 см3 раствора йода концентрации 0,01 моль/дм3 и через кран воронки осторожно, чтобы не попал воздух, переводят раствор йода в колбу, создавая давление в воронке. После этого ополаскивают воронку два-три раза дистиллированной водой, каждый раз так же осторожно, переводя промывные воды в колбу.
В течение 10 мин содержимое колбы энергично встряхивают, затем открывают кран воронки 8, снимают зажим с трубки и вынимают пробку из колбы. Трубку, пробку, горло и внутренние стенки колбы споласкивают водой из промывалки и титруют избыток йода раствором серноватистокислого натрия концентрации 0,01 моль/дм3 в присутствии крахмала.
(Измененная редакция, Изм. № 2).
4.5.4. Обработка результатов
Объемную долю фосфористого водорода (А) в процентах вычисляют по формуле
![]()
где V1 - объем раствора йода концентрации точно 0,01 моль/дм3, см3;
V2 - объем раствора серноватистокислого натрия концентрации точно 0,01 моль/дм3, израсходованный на титрование избытка йода, см3;
0,035 - объем фосфористого водорода, соответствующий 1 см3 раствора йода концентрации точно 0,01 моль/дм3, см3;
V - объем ацетилена, см3, равный объему плоскодонной колбы и приведенный к 101325 Па (760 мм рт. ст.) и 20 °С по формуле
![]()
где VK - объем колбы, см3;
Р - атмосферное давление, Па (мм рт. ст.);
Wt - упругость паров воды при температуре t, Па (мм рт. ст.);
P0 - нормальное давление составляет 101325 Па (760 мм рт. ст.);
t - температура газа при проведении определения, °С.
За результат анализа принимают среднее арифметическое двух параллельных определений, допускаемые расхождения между которыми не должны превышать 0,004% при доверительной вероятности Р=0,95.
Допускаемая абсолютная суммарная погрешность результата анализа ±0,004 % при доверительной вероятности Р=0,95.
(Измененная редакция, Изм. № 2, 3).
4.6. Определение массовой доли сульфидной серы
4.6.1. Реактивы, растворы и аппаратура
Кислота соляная по ГОСТ 3118, плотностью 1,12 г/см3.
Кислота уксусная по ГОСТ 61, х. ч., раствор с массовой долей 80-90 %.
Йод по ГОСТ 4159, раствор концентрации с (1/2 J2)=0,1 моль/дм3 (0,1 н.), готовят по ГОСТ 25794.2.
Натрий уксуснокислый по ГОСТ 199.
Кадмий уксуснокислый, раствор готовят по п. 4.5.1.
Натрий серноватистокислый (тиосульфат натрия) по ГОСТ 27068, ч. д. а., раствор концентрации 0,1 моль/дм3.
Крахмал растворимый по ГОСТ 10163, водный раствор с массовой долей крахмала 0,5 %.
Вода дистиллированная по ГОСТ 6709.
Колба круглодонная с боковым отводом.
Воронка капельная.
Склянка для промывания газов по ГОСТ 25336 типа CHI-200.
Весы лабораторные общего назначения по ГОСТ 24104 2-го класса точности с наибольшим пределом взвешивания 200 г; допускается применение других весов с аналогичными техническими и метрологическими характеристиками.
Прибор для выделения сульфидной серы
1 - капельная воронка; 2 - реакционная колба с боковым отводом; 3, 4 - склянки для промывки газов
Черт. 3
Бюретки, пипетки по НТД, пробирки, колбы; цилиндры по ГОСТ 1770 2-го класса точности; допускается применение другой посуды при условии получения метрологических характеристик, не уступающих указанным в соответствующих стандартах.
(Измененная редакция, Изм. № 2, 3).
4.6.2. Подготовка к анализу
Сульфидную серу из навески карбида кальция выделяют в приборе (черт. 3), состоящем из широкогорлой колбы с боковым отводом для разложения карбида кальция вместимостью 100 см3 с хорошо пригнанной резиновой пробкой, в которую вставлена капельная воронка для соляной кислоты и барботер для подачи азота. Боковая отводная трубка колбы присоединяется с помощью резиновых шлангов к склянкам для промывания газа.
Перед определением кран капельной воронки смазывают вазелином, в склянки 3 и 4 наливают по 30-40 см3 раствора уксуснокислого кадмия.
4.6.3. Проведение анализа
1-1,5 г карбида кальция, приготовленного по п. 4.2.5, взвешивают, результат взвешивания в граммах записывают с точностью до третьего десятичного знака, помещают в реакционную колбу и проверяют прибор на герметичность.
Для этого перекрывают винтовым зажимом линию подачи азота. К склянке 4 подсоединяют аспираторную склянку, закрытую пробкой со вставленным двухходовым краном. Эта склянка через тубусное отверстие соединена с другой склянкой, установленной ниже. В склянках находится дистиллированная вода. Открывают двухходовой кран аспиратора. Жидкость в верхней склянке вначале опускается, а затем устанавливается на постоянном уровне. Если система герметична, отсоединяют аспираторные склянки, вынимают пробку, закрывающую капельную воронку, и наливают в капельную воронку 15-20 см3 соляной кислоты, закрывают воронку пробкой, ослабляют винтовой зажим на линии азота и продувают систему азотом со скоростью двух пузырьков в секунду в течение 5-10 мин.
Затем осторожно по каплям, не прекращая подачи азота, разлагают карбид кальция соляной кислотой. Газ, прошедший через склянки для промывания газа, выводят при помощи резинового шланга в атмосферу. После разложения карбида кальция реакционную колбу нагревают в течение 5-10 мин, доводя содержимое колбы до кипения, затем охлаждают в токе азота до комнатной температуры. По охлаждении разбирают прибор, количественно переносят уксуснокислый кадмий вместе с образовавшимся осадком сульфида кадмия из склянок 3 и 4 в коническую колбу вместимостью 250 см3, добавляют 10 см3 раствора йода и 3 см3 соляной кислоты. Колбу закрывают часовым стеклом, оставляют в темноте в течение 5-10 мин и титруют 0,1 н. раствором тиосульфата натрия до соломенно-желтой окраски, затем приливают несколько капель раствора крахмала и продолжают титрование до обесцвечивания раствора.
(Измененная редакция, Изм. № 2).
4.6.4. Обработка результатов
Массовую долю сильфидной серы (Аз) в процентах вычисляют по формуле
![]()
где V - объем раствора йода концентрации с (1/2 J2)=0,1 моль/дм3, см3;
V1 - объем раствора тиосульфата натрия концентрации точно 0,1 моль/дм3, см3;
m - масса навески карбида кальция, г;
0,0016 - масса серы, соответствующая 1 см3 раствора йода концентрации с (1/2 J2)=0,1 моль/дм3, г.
За результат анализа принимают среднее арифметическое двух параллельных определений, допускаемые расхождения между которыми не должны превышать 0,05 % при доверительной вероятности Р=0,95.
Допускаемая абсолютная суммарная погрешность результата анализа ±0,1 % при доверительной вероятности Р=0,95.
(Измененная редакция, Изм. № 2, 3).
4.7. Определение массовой доли свободного углерода
4.7.1. Реактивы, растворы и аппаратура
Кислота соляная по ГОСТ 3118, раствор 1:1.
Серебро азотнокислое по ГОСТ 1277, ч. д. а., раствор концентрации с (AgNО3)=0,l моль/дм3 (0,1 н.), готовят по ГОСТ 25794.3.
Вода дистиллированная по ГОСТ 6709.
Стаканы и колбы стеклянные по ГОСТ 25336.
Фильтры беззольные «красная лента».
Тигель фарфоровый по ГОСТ 9147 № 3 или № 4.
Стаканчики для взвешивания по ГОСТ 25336.
Весы лабораторные общего назначения по ГОСТ 24104 2-го класса точности с наибольшим пределом взвешивания 200 г, допускается применение других весов с аналогичными техническими и метрологическими характеристиками.
Бюретки, пипетки по НТД, пробирки, цилиндры по ГОСТ 1770 2-го класса точности, допускается применение другой посуды при условии получения метрологических характеристик, не уступающих указанным в соответствующих стандартах.
4.7.2. Проведение анализа
Около 5 г карбида кальция, приготовленного по п. 4.2.5, взвешивают, результат взвешивания в граммах записывают с точностью до второго десятичного знака и помещают в стакан вместимостью 750 см3. Стакан закрывают стеклом, затем осторожно приподнимают стекло и приливают воду до полного разложения карбида кальция (около 25 см3).
Затем ставят стакан на электрическую плитку и приливают соляную кислоту до полного растворения навески при нагревании (около 25 см3).
Горячий раствор фильтруют через беззольный фильтр, предварительно высушенный при 105-110 °С в стаканчике для взвешивания и взвешенный в том же стаканчике (результат взвешивания в граммах записывают с точностью до четвертого десятичного знака).
Осадок промывают на фильтре горячей водой до отсутствия хлориона в промывных водах (проба с азотнокислым серебром).
Фильтр с осадком помещают в стаканчик для взвешивания, высушивают при 105-110 °С до постоянной массы и взвешивают с той же погрешностью. Затем фильтр с осадком переносят в прокаленный и взвешенный фарфоровый тигель (результат взвешивания в граммах записывают с точностью до четвертого десятичного знака), озоляют, прокаливают в муфельной печи при (850±25) °С до постоянной массы и взвешивают с той же погрешностью.
4.7.1, 4.7.2. (Измененная редакция, Изм. № 2).
4.7.3. Обработка результатов
Массовую долю свободного углерода (X4) в процентах вычисляют по формуле
![]()
где m1 - масса высушенного осадка, г;
m2 - масса прокаленного осадка, г;
m - масса навески карбида кальция, г.
За результат анализа принимают среднее арифметическое двух параллельных определений, допускаемые расхождения между которыми не должны превышать 0,1 % при доверительной вероятности Р=0,95.
Допускаемая абсолютная суммарная погрешность результата анализа ±0,1 % при доверительной вероятности Р=0,95.
(Измененная редакция, Изм. № 2, 3).
4.8. Определение массовой доли окиси кальция
4.8.1. Сущность метода
Метод основан на определении свободной окиси кальция по разности между общим количеством СаО и СаО, связанным в виде карбида кальция.
Кислота соляная по ГОСТ 3118, раствор 1:1.
Соль динатриевая этилендиамин-N, N, N', N'-тетрауксусной кислоты, 2-водная (трилон Б) по ГОСТ 10652, раствор концентрации 0,05 моль/дм3 (0,05 н.).
Растворяют 9,3 г трилона Б в 500-700 см3 дистиллированной воды в мерной колбе вместимостью 1000 см3. Объем раствора доводят до метки водой, перемешивают и, если раствор мутный, его фильтруют. Титр трилона Б устанавливают по стандартному образцу известняка, утвержденному в установленном порядке. 0,5 г известняка помещают в стакан вместимостью 100 см3 и кипятят 30 мин с 20 см3 раствора соляной кислоты (1:1). После охлаждения содержимое стакана переносят в мерную колбу вместимостью 250 см3, доводят объем раствора водой до метки и тщательно перемешивают. Затем отбирают несколько аликвотных частей (по 25 см3) и титруют кальций, как указано в проведении анализа.
Титр трилона Б по СаО (г/см3) вычисляют по формуле
![]()
где А - массовая доля окиси кальция в известняке, %;
V - объем раствора трилона Б концентрации 0,05 моль/дм3, израсходованный на титрование аликвотной части, см3;
V1 - объем раствора трилона Б концентрации 0,05 моль/дм3, израсходованный на титрование холостой пробы, см3.
Калий азотнокислый по ГОСТ 4144, ч.д.а.
Калия гидроокись, по ГОСТ 24363, раствор с массовой долей 20 %.
Триэтаноламин солянокислый, раствор с массовой долей 25 % или основной.
Флуорексон - сухая смесь индикатора с калием азотнокислым в соотношении 1:100.
Весы лабораторные общего назначения по ГОСТ 24104 2-го класса точности с наибольшим пределом взвешивания 200 г, допускается применение других весов с аналогичными технологическими и метрологическими характеристиками.
Бюретки, пипетки по НТД, пробирки, колбы, цилиндры по ГОСТ 1770 2-го класса точности, допускается применение другой посуды при условии получения метрологических характеристик, не уступающих указанным в соответствующих стандартах.
4.8.3. Проведение анализа
Около 1 г карбида кальция взвешивают в сухой конической колбе из термостойкого стекла вместимостью 100 см3 и результат взвешивания в граммах записывают с точностью до четвертого десятичного знака. При взвешивании колба должна быть плотно закрыта пробкой. Затем осторожно небольшими порциями приливают 50 см3 соляной кислоты 1:1, прикрывая при этом колбу часовым стеклом. После охлаждения и прекращения выделения ацетилена раствор количественно переносят в мерную колбу вместимостью 500 см3, доводят объем раствора водой до метки, перемешивают и фильтруют, отбрасывая первые порции фильтрата. Аликвотную часть 10 см3 помещают в коническую колбу вместимостью 250 см3, добавляют 100-150 см3 дистиллированной воды, 5 см3 триэтаноламина, 25 см3 гидроокиси калия, на кончике шпателя (около 10 мг) индикатор флуорексон и титруют раствором трилона Б до исчезновения флуоресценции. Титрование проводят на темном фоне при энергичном перемешивании.
4.8.2, 4.8.3. (Измененная редакция, Изм. № 2).
4.8.4. Обработка результатов
4.8.4.1. Массовую долю общего кальция (X5) в пересчете на СаО в процентах вычисляют по формуле
,
где V - объем раствора трилона Б, израсходованный на титрование, см3;
Т - титр трилона Б по СаО, г/см3;
m - масса навески образца, г.
4.8.4.2. Массовую долю окиси кальция (X6) в процентах вычисляют по формуле
![]()
где Х5 - массовая доля общего кальция в пересчете на СаО, %;
X - литраж, дм3/кг, при 20 °С и 101325 Па (760 мм рт. ст.);
56 - молекулярная масса СаО, г;
23,78 - объем, занимаемый 1 грамм-молекулой ацетилена при 20 °С и 101325 Па (760 мм рт. ст.).
За результат анализа принимают среднее арифметическое двух параллельных определений, допускаемые расхождения между которыми не должны превышать 0,5 % при доверительной вероятности Р=0,95.
Допускаемая абсолютная суммарная погрешность результата анализа ±0,3 % при доверительной вероятности Р=0,95.
(Измененная редакция, Изм. № 2, 3).
4.9. Определение массовой доли ферросплава
4.9.1. Реактивы, растворы и аппаратура
Кислота соляная по ГОСТ 3118, раствор 1:10.
Вода дистиллированная по ГОСТ 6709.
Стакан вместимостью 1 дм3 по ГОСТ 25336.
Термометр ртутный стеклянный.
Магнитная мешалка типа КМ-4 или другая с аналогичными техническими характеристиками.
Весы лабораторные общего назначения по ГОСТ 24104 2-го класса точности с наибольшим пределом взвешивания 200 г; допускается применение других весов с аналогичными техническими и метрологическими характеристиками.
(Измененная редакция, Изм. № 3).
4.9.2. Проведение анализа
Навеску карбида кальция массой 100 г взвешивают и результат взвешивания в граммах записывают с точностью до второго десятичного знака. Навеску помещают в стакан и в вытяжном шкафу к ней порциями приливают дистиллированную воду в соотношении: твердая фаза к жидкой фазе 1:5. По окончании реакции в стакан опускают магнит, предварительно взвешенный с точностью до четвертого десятичного знака, и устанавливают стакан на магнитную мешалку.
После перемешивания содержимого стакана в течение 3 мин магнит с частицами ферросплава вынимают и помещают в стакан, содержащий 500 см3 раствора соляной кислоты. В течение 1 мин промывают магнит с ферросплавом в растворе соляной кислоты, затем аналогичным образом в дистиллированной воде. Магнит с ферросплавом вынимают из стакана, помещают в фарфоровую чашку, предварительно высушенную при температуре 105-110 °С до постоянной массы.
Магнит с ферросплавом высушивают в фарфоровой чашке при температуре 105-110 °С до постоянной массы и взвешивают. Результат взвешивания в граммах записывают с точностью до четвертого десятичного знака.
(Введен дополнительно, Изм. № 2).
4.9.3. Обработка результатов
Массовую долю ферросплава в процентах (Х7) вычисляют по формуле
![]()
где m - навеска карбида кальция, г;
m1 - масса магнита, г;
m2 - масса магнита с ферросплавом, г.
За результат анализа принимают среднее арифметическое результатов двух параллельных определений, допускаемые расхождения между которыми при доверительной вероятности Р=0,95 не должны превышать 0,2 %.
Допускаемая абсолютная суммарная погрешность результата анализа ±0,1 % при доверительной вероятности Р=0,95.
(Измененная редакция, Изм. № 3).
Контейнеры заполняют карбидом кальция при продувке свободного пространства азотом.
5.2. Упаковка, маркировка, транспортирование и хранение карбида кальция в районы Крайнего Севера и отдаленные районы должны соответствовать требованиям ГОСТ 15846.
Продукт, предназначенный для экспорта, упаковывают в соответствии с заказом-нарядом внешнеторгового объединения и по ГОСТ 26319.
5.1, 5.2. (Измененная редакция, Изм. № 3).
5.3. Транспортная маркировка - по ГОСТ 14192 с нанесением манипуляционного знака «Герметичная упаковка», знака опасности по ГОСТ 19433 (класс 4, подкласс 4.3, черт. 4в, классификационный шифр 4312) и серийного номера ООН 1402.
На барабан дополнительно наносят следующие обозначения:
наименование, сорт продукта;
дату изготовления;
номер партии;
массу нетто, брутто;
обозначение настоящего стандарта.
На боковую поверхность контейнера наносят данные:
наименование продукта;
массу контейнера;
номер контейнера.
(Измененная редакция, Изм. № 2, 3).
5.4. Маркировку продукта, предназначенного для экспорта, проводят в соответствии с требованиями внешнеторгового объединения по ГОСТ 14192 и ГОСТ 19433.
(Измененная редакция, Изм. № 3).
При транспортировании барабанов железнодорожным транспортом проводят закрепление верхнего яруса барабанов и дверных проемов деревянными брусьями или досками, исключающее завалы и порчу барабанов при транспортировании.
Груз в специальных контейнерах перевозят автомобильным транспортом.
Допускается транспортирование карбида кальция автомобильным транспортом с открытыми кузовами, при этом барабаны и контейнеры должны быть закрыты брезентом.
По железной дороге карбид кальция транспортируют повагонными отправками.
Пакетирование упакованной продукции проводят в соответствии с ГОСТ 26663, ГОСТ 21650 и ГОСТ 24597.
Барабаны с карбидом кальция хранят на открытых площадках под навесом или в несгораемых, хорошо проветриваемых складах, исключающих попадание влаги, в вертикальном положении, не более чем в три яруса. Совместное хранение с другими веществами и материалами не допускается.
(Измененная редакция, Изм. № 2, 3).
6.1. Изготовитель гарантирует соответствие качества карбида кальция требованиям настоящего стандарта при соблюдении условий транспортирования и хранения.
6.2. Гарантийный срок хранения карбида кальция - шесть месяцев со дня изготовления продукта.
(Измененная редакция, Изм. № 2).
ИНФОРМАЦИОННЫЕ ДАННЫЕ
1. РАЗРАБОТАН И ВНЕСЕН Ленинградским научно-исследовательским и проектным институтом основной химической промышленности (ЛенНИИгипрохим)
РАЗРАБОТЧИКИ
Л.П. Шляпинтох, Н.А. Яблонский, И.Б. Мойжес, Г.Д. Иванова, В.Н. Ковалев, В.А. Владимиров, Ю.М. Трофимов
2. УТВЕРЖДЕН И ВВЕДЕН В ДЕЙСТВИЕ Постановлением Государственного комитета СССР по стандартам от 09.02.81 № 555
3. Периодичность проверки - 5 лет
4. ВЗАМЕН ГОСТ 1460-76
5. ССЫЛОЧНЫЕ НОРМАТИВНО-ТЕХНИЧЕСКИЕ ДОКУМЕНТЫ
|
Обозначение НТД, на который дана ссылка |
Номер пункта, подпункта |
|
ГОСТ 12,4.026-76 |
|
|
ГОСТ 12.4.122-83 |
|
|
ГОСТ 61-75 |
|
|
ГОСТ 199-78 |
|
|
ГОСТ 1277-75 |
|
|
ГОСТ 1770-74 |
|
|
ГОСТ 3118-77 |
|
|
ГОСТ 4144-79 |
|
|
ГОСТ 5044-79 |
|
|
ГОСТ 6709-72 |
|
|
ГОСТ 9147-80 |
|
|
ГОСТ 10163-76 |
|
|
ГОСТ 10652-73 |
|
|
ГОСТ 19433-88 |
|
|
ГОСТ 24363-80 |
|
|
ГОСТ 25336-82 |
|
|
ГОСТ 25794.2-83 |
|
|
ГОСТ 25794.3-83 |
|
|
ГОСТ 26319-84 |
|
|
ГОСТ 27068-86 |
|
|
ТУ 25-2021.003-88 |
6. Ограничение срока действия снято Постановлением Госстандарта от 27.08.91 № 1398
7. ПЕРЕИЗДАНИЕ (сентябрь 1997 г.) с Изменениями № 1, 2, 3, утвержденными в июне 1985 г., мае 1986 г., августе 1991 г. (ИУС 9-85, 8-86, 11-91)
СОДЕРЖАНИЕ