Нормативные документы размещены исключительно с целью ознакомления учащихся ВУЗов, техникумов и училищ.
Объявления:

ГОСТ Р 51829-2001

ГОСУДАРСТВЕННЫЙ СТАНДАРТ РОССИЙСКОЙ ФЕДЕРАЦИИ

ЛИСТЫ ГИПСОВОЛОКНИСТЫЕ

Технические условия

ГОСУДАРСТВЕННЫЙ КОМИТЕТ РОССИЙСКОЙ ФЕДЕРАЦИИ
ПО СТРОИТЕЛЬСТВУ И ЖИЛИЩНО-КОММУНАЛЬНОМУ КОМПЛЕКСУ
(ГОССТРОЙ РОССИИ)

Москва
2002

Предисловие

1 РАЗРАБОТАНО ОАО «Авангард Кнауф», ОАО «Уралгипс Кнауф», и ОАО «Кнауф Сервис»

ВНЕСЕН Управлением стандартизации, технического нормирования и сертификации Госстроя России

2 ПРИНЯТ И ВВЕДЕН В ДЕЙСТВИЕ постановлением Госстроя России от 27 ноября 2001 г. № 121

3 ВВЕДЕН ВПЕРВЫЕ

СОДЕРЖАНИЕ

1 Область применения. 1

2 Нормативные ссылки. 2

3 Определения. 2

4 Основные параметры и размеры.. 2

5 Технические требования. 3

5.1 Внешний вид. 3

5.2 Характеристики. 3

5.3 Маркировка. 3

6 Пожарно-технические характеристики. 4

7 Правила приемки. 4

8 Методы контроля. 5

8.1 Контроль внешнего вида. 5

8.2 Контроль размеров и формы.. 5

8.3 Определение массы 1 м2 листа. 5

8.4 Определение предела прочности при изгибе. 6

8.5 Определение поверхностного водопоглощения листов ГВЛВ.. 7

8.6 Определение твердости лицевой поверхности. 8

9 Транспортирование и хранение. 9

10 Указания по применению.. 9

Приложение А Перечень нормативных документов, ссылки на которые приведены в настоящем стандарте. 9

Приложение Б Термины и определения. 10

ГОСТ Р 51829-2001

ГОСУДАРСТВЕННЫЙ СТАНДАРТ РОССИЙСКОЙ ФЕДЕРАЦИИ

ЛИСТЫ ГИПСОВОЛОКНИСТЫЕ

Технические условия

GYPSUM FIBER SHEETS

Specifications

Дата введения 2002-07-01

1 Область применения

Настоящий стандарт распространяется на гипсоволокнистые листы (далее - листы), предназначенные для устройства межкомнатных перегородок, подвесных потолков и внутренней облицовки стен, устройства оснований под покрытие пола, использования для облицовки конструкций с целью повышения их предела огнестойкости.

Требования настоящего стандарта, изложенные в разделах 4, 5, 7, 8, пунктах 9.3-9.8, являются обязательными.

2 Нормативные ссылки

Перечень нормативных документов, ссылки на которые использованы в настоящем стандарте, приведен в приложении А.

3 Определения

Термины с соответствующими определениями, используемые в настоящем стандарте, приведены в приложении Б.

4 Основные параметры и размеры

4.1 В зависимости от свойств листы подразделяют на следующие виды:

- обычные (ГВЛ);

- влагостойкие (ГВЛВ).

4.2 Продольные кромки листов по форме подразделяют на типы, приведенные на рисунках 1 и 2.

Рисунок 1 - Прямая кромка (ПК)

Рисунок 2 - Фальцевая кромка (ФК)

____________

* Размеры приведены как справочные и не являются браковочным признаком.

4.3 Номинальные размеры листов приведены в таблице 1. Предельные отклонения от номинальных размеров не должны быть более указанных в таблице 2.

Таблица 1                                                                                                 В миллиметрах

Наименование показателя

Значение

Длина L

1500, 2000, 2500, 2700, 3000

Ширина В

500, 1000, 1200

Толщина s

10,0; 12,5; 15,0; 18,0; 20,0

Примечание - По согласованию предприятия-изготовителя с потребителем могут быть изготовлены листы других номинальных размеров, при этом предельные отклонения не должны быть более приведенных в таблице 2

Таблица 2                                                                                                 В миллиметрах

Номинальные размеры

Предельные отклонения по

длине

ширине

толщине

L < 2500 В< 1200

0; -3

0; -3

±0,3

L > 2500 В> 1200

0; -5

0; -4

4.4 Листы должны иметь прямоугольную форму в плане. Отклонение от прямоугольности не должно быть более 4 мм.

4.5 Условное обозначение листов должно состоять из:

- обозначения вида листов - по 4.1;

- обозначения типа продольных кромок - по 4.2;

- цифр, обозначающих номинальную длину, ширину и толщину листа в миллиметрах;

- обозначения настоящего стандарта.

Пример условного обозначения гипсоволокнистого влагостойкого листа с прямыми кромками, длиной 2500 мм, шириной 1200 мм и толщиной 10 мм:

ГВЛ В-ПК-2500х 1200х10 ГОСТ Р 51829-2001.

То же, гипсоволокнистого обычного листа с фальцевой кромкой

ГВЛ-ФК-2500х 1200х10 ГОСТ Р 51829-2001.

5 Технические требования

Листы должны изготавливаться в соответствии с требованиями настоящего стандарта по технологическому регламенту, утвержденному предприятием-изготовителем.

5.1 Внешний вид

На лицевой поверхности листов не должно быть масляных пятен, задиров, налипов, не допускаются повреждения углов, продольных и торцевых кромок. На кромках допускаются отпечатки толкателей центрирующих устройств штабелеформирующей машины.

5.2 Характеристики

5.2.1 Масса 1 м2 листов в килограммах должна быть не менее 1,05s и не более 1,25s, где s - номинальная толщина листа в миллиметрах.

5.2.2 Предел прочности листов при изгибе должен быть не менее указанного в таблице 3.

Отклонение минимального значения предела прочности при изгибе отдельного образца от требований таблицы 3 не должно быть более 10 %.

Таблица 3

Номинальная толщина листа, мм

Предел прочности при изгибе, МПа

До 10,0 включ.

6,0

Св. 10,0 до 12,5 »

5,5

» 12,5 » 15,0 »

5,0

» 15,0 » 18,0 »

4,8

» 18,0 » 20,0 »

4,5

» 20,0

4,3

5.2.3 Поверхностное водопоглощение листов ГВЛВ не должно быть более 1,0 кг/м2.

5.2.4 Твердость лицевой поверхности гипсоволокнистых листов должна быть не менее 20 МПа.

5.2.5 Удельная эффективная активность естественных радионуклидов в гипсоволокнистых листах не должна превышать 370 Бк/кг.

5.3 Маркировка

5.3.1 Маркировку листов производят на тыльной стороне каждого изделия несмываемой краской при помощи трафаретов, штампов или другим способом, обеспечивающим необходимое качество маркировки.

Маркировка должна быть отчетливой и содержать:

- товарный знак или (и) наименование предприятия-изготовителя;

- условное обозначение листов.

Надписи должны выполняться синим цветом.

5.3.2 Маркировку транспортных пакетов листов производят при помощи ярлыков, прикрепляемых к пакету любым способом, обеспечивающим его сохранность при транспортировании.

На ярлыке должно быть указано:

- наименование предприятия-изготовителя, его товарный знак и адрес;

- условное обозначение листов;

- номер партии и дата изготовления;

- количество листов в квадратных метрах и (или) в штуках;

- знак соответствия при поставке сертифицированной продукции (если это предусмотрено системой сертификации);

- штамп службы технического контроля.

5.3.3 Предприятие-изготовитель имеет право наносить на изделие и транспортный ярлык дополнительную информацию, не противоречащую требованиям настоящего стандарта и позволяющую идентифицировать продукцию и ее изготовителя.

5.3.4 Каждое грузовое место должно иметь транспортную маркировку по ГОСТ 14192, на него должны быть нанесены манипуляционные знаки: «Хрупкое. Осторожно» и «Беречь от влаги».

6 Пожарно-технические характеристики

Листы ГВЛ и ГВЛВ относятся к группе горючести Г1 по ГОСТ 30244, группе воспламеняемости В1 по ГОСТ 30402, группе дымообразующей способности Д1 и группе токсичности Т1 по ГОСТ 12.1.044.

7 Правила приемки

7.1 Каждая партия листов должна быть принята службой технического контроля предприятия-изготовителя в соответствии с требованиями настоящего стандарта.

7.2 Приемку листов производят партиями. Партия должна состоять из листов одного вида, типа продольных кромок и размеров, изготовленных по одной технологии и из одних и тех же материалов.

Объем партии устанавливают в количестве не более сменной выработки технологической линии.

7.3 Приемочный контроль осуществляют проведением приемосдаточных испытаний по следующим показателям:

- внешний вид;

- форма и размеры;

- масса 1 м2;

- предел прочности при изгибе;

- поверхностное водопоглощение (для листов ГВЛВ).

7.4 Для проведения предприятием-изготовителем приемосдаточных испытаний от партии отбирают пять листов.

Отобранные листы проверяют на соответствие требованиям настоящего стандарта по показателям внешнего вида, формы и размеров. В случае положительных результатов контроля три листа из пяти проверенных используют для контроля по остальным показателям.

Партию принимают, если все листы, отобранные для контроля, соответствуют требованиям настоящего стандарта по показателям, указанным в 7.3.

При получении неудовлетворительных результатов контроля хотя бы по одному из показателей, указанных в 7.3, проводят повторные испытания по этому показателю, для чего отбирают удвоенное число листов от той же партии.

Если результаты повторных испытаний будут удовлетворять требованиям настоящего стандарта, то партию принимают. Если не будут удовлетворять, то партия приемке не подлежит.

7.5 В случае несоответствия партии листов требованиям настоящего стандарта по внешнему виду, форме и размерам допускается повторное ее предъявление для контроля после разбраковки.

7.6 Партия листов ГВЛВ, не соответствующая требованиям настоящего стандарта по поверхностному водопоглощению, может быть принята как партия листов ГВЛ, если по всем остальным показателям она соответствует требованиям настоящего стандарта к указанным листам.

При этом должна быть произведена перемаркировка продукции, о чем должно быть указано в сопроводительном документе.

7.7 Предприятие-изготовитель должно проводить периодические испытания листов для определения твердости лицевой поверхности не реже одного раза в квартал. Для проведения испытания от партии отбирают три листа.

В случае получения неудовлетворительных результатов испытаний следует перейти на контроль твердости лицевой поверхности каждой партии листов.

При получении положительных результатов испытаний пяти следующих друг за другом партий вновь переходят к периодическим испытаниям.

Результаты периодических испытаний распространяются на все поставляемые партии листов до проведения следующих периодических испытаний.

7.8 За величину удельной эффективной активности естественных радионуклидов Аэфф в гипсоволокнистых листах принимают значение Аэфф, в применяемом для изготовления листов гипсовом вяжущем (гипсовом камне). Эту величину устанавливают на основании документа о качестве поставщика гипсового вяжущего (гипсового камня). В случае отсутствия данных о величине Аэфф в применяемом гипсовом вяжущем (гипсовом камне) испытания листов по этому показателю следует проводить не реже одного раза в год в аккредитованных испытательных лабораториях и каждый раз при смене поставщика гипсового вяжущего (гипсового камня).

7.9 Пожарно-технические характеристики определяют при постановке продукции на производство, а также при изменениях в составе продукции, которые могут привести к изменению пожарно-технических характеристик.

7.10 Для проведения контроля листы отбирают методом случайного отбора из разных мест партии.

7.11 При проведении испытаний листов потребителем, инспекционном контроле и сертификационных испытаниях объем выборки и оценку результатов контроля осуществляют в соответствии с требованиями раздела 7, применяя методы контроля по разделу 8.

7.12 Предприятие-изготовитель должно сопровождать каждую партию листов или ее часть, поставляемую в один адрес, документом о качестве, в котором указывают:

- наименование предприятия-изготовителя, его товарный знак и адрес;

- наименование и условное обозначение листов;

- номер партии и дату изготовления;

- количество листов в квадратных метрах и (или) в штуках;

- знак соответствия при поставке сертифицированной продукции (если это предусмотрено системой сертификации);

- штамп и подпись руководителя службы технического контроля;

- обозначение настоящего стандарта.

8 Методы контроля

8.1 Контроль внешнего вида

8.1.1 Внешний вид листов, наличие (отсутствие) дефектов проверяют визуально.

8.1.2 Соответствие маркировки требованиям настоящего стандарта проверяют визуально.

Маркировку считают удовлетворяющей требованиям настоящего стандарта, если она включает всю предусмотренную стандартом информацию и при этом исключена возможность оспорить ее содержание.

8.2 Контроль размеров и формы

8.2.1 Средства контроля

Рулетка с ценой деления не более 1 мм по ГОСТ 7502.

Линейка по ГОСТ 427.

Толщиномер по ГОСТ 11358 или штангенциркуль по ГОСТ 166.

Допускается применять другие средства измерений, погрешность которых не ниже требований настоящего стандарта.

Погрешность средств измерений не должна быть более: ±0,1 мм - при измерении толщины листа, ±1,0 мм - при измерении других размеров листа.

8.2.2 Проведение измерений

8.2.2.1 Длину и ширину листа измеряют рулеткой на расстоянии (65±5) мм от соответствующих кромок и посередине листа; место измерения может быть смещено от середины соответствующей стороны листа не более чем на 30 мм.

8.2.2.2 Толщину листа измеряют толщиномером или штангенциркулем по каждой торцевой кромке в трех местах: на расстоянии (65±5) мм от продольных кромок и посередине торцевой кромки; место измерения может быть смещено от середины торцевой кромки листа не более чем на 30 мм.

8.2.2.3 Для определения отклонения от прямоугольности измеряют длину каждой диагонали листа рулеткой один раз.

8.2.3 Обработка результатов

8.2.3.1 При измерении длины, ширины и длины диагоналей листа показание средства измерения округляют до 1 мм, толщины - до 0,1 мм.

8.2.3.2 При измерении длины, ширины и толщины листа результат каждого измерения должен соответствовать требованиям раздела 4.

8.2.3.3 Отклонение от прямоугольности вычисляют по разности длин измеренных диагоналей. Полученный результат должен соответствовать требованиям 4.4.

8.3 Определение массы 1 м2 листа

8.3.1 Средства контроля

Шкаф сушильный лабораторный с перфорированными полками, позволяющий автоматически поддерживать температуру в пределах (40-45) °С.

Весы лабораторные технические по ГОСТ 24104, класс точности средний.

Линейка по ГОСТ 427.

Рулетка по ГОСТ 7502.

8.3.2 Образцы

Из каждого листа, отобранного для контроля, вырезают по одному образцу длиной (400±5) мм и шириной (300±5) мм на расстоянии не менее 100 мм от кромок листа.

8.3.3 Проведение испытания

Образцы взвешивают, помещают в сушильный шкаф и сушат 24 ч при температуре (41±1) °С, после чего снова взвешивают и помещают в сушильный шкаф еще на 2 ч. Образцы должны быть высушены до постоянной массы. Массу считают постоянной, если расхождение между результатами двух последовательных взвешиваний не будет превышать 0,1 % результата предпоследнего взвешивания. Время сушки между двумя последовательными взвешиваниями должно быть не менее 2 ч.

Далее образцы охлаждают в условиях, исключающих воздействие на них влаги, и взвешивают.

При проведении испытаний предприятием-изготовителем допускается сократить время первоначальной сушки до 2 ч, если соблюдается условие постоянства массы образцов.

После взвешивания измеряют длину и ширину образца.

8.3.4 Обработка результатов

Массу 1 м2 листа т, кг, вычисляют по формуле

,                                                              (1)

где m1, - масса образца, высушенного до постоянной массы, кг;

l - длина образца, м;

b - ширина образца, м.

За массу 1 м2 листов данной партии принимают среднеарифметическое значение результатов испытаний всех образцов. Результат вычисления округляют до 0,1 кг/м2.

8.4 Определение предела прочности при изгибе

Сущность метода заключается в разрушении образца сосредоточенной нагрузкой, прикладываемой в середине пролета по однопролетной схеме.

8.4.1 Средства контроля

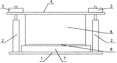
Устройство любой конструкции, обеспечивающее возможность приложения нагрузки по схеме, приведенной на рисунке 3, со скоростью нарастания нагрузки 15-20 Н/с (1,5-2,0 кгс/с) и имеющее прибор, позволяющий измерить разрушающую нагрузку с погрешностью не более 2 %.

Опоры и деталь, передающая нагрузку, в месте соприкосновения с образцом должны иметь цилиндрическую форму радиусом от 5 до 10 мм, длина опор и детали должна быть не менее ширины образца.

Рисунок 3 - Схема испытания на прочность при изгибе

8.4.2 Образцы

Испытание проводят на образцах, прошедших испытания по 8.3.

8.4.3 Проведение испытания

Перед испытанием измеряют толщину образца. Образец помещают на опоры лицевой стороной вверх. Нагрузку повышают со скоростью 15-20 Н/с (1,5-2,0 кгс/с) до разрушения образца.

(Поправка, 07.05.2002)

8.4.4 Обработка результатов

Предел прочности при изгибе Rизг, МПа, вычисляют по формуле

,                                                               (2)

где F - разрушающая нагрузка, Н; b - ширина образца, мм; s - толщина образца, мм; 350 - расстояние между осями опор, мм.

За предел прочности при изгибе листов данной партии принимают среднеарифметическое значение результатов испытаний трех образцов, при этом результат испытания отдельного образца должен соответствовать требованиям 5.2.2.

Результат вычисления округляют до 0,1 МПа.

8.5 Определение поверхностного водопоглощения листов ГВЛВ

8.5.1 Средства контроля

Весы лабораторные технические по ГОСТ 24104, класс точности средний.

Цилиндр мерный с ценой деления не более 1 мл.

Приспособление, принципиальная схема которого приведена на рисунке 4, состоящее из основания размером 190×190 мм с двумя стойками высотой не менее 100 мм, цилиндра высотой 60 мм с площадью основания по внутреннему диаметру 0,01м2, прижимной пластины, фиксирующей цилиндр на образце с помощью двух гаек, резинового кольца для обеспечения герметичности при проведении испытания. Для приспособлений, в которых основание цилиндра обрезинено, кольцо не требуется.

1 - основание; 2 - сточка; 3 - гайка; 4 - прижимная пластина; 5 - цилиндр; 6 - резиновое кольцо; 7 - образец

Рисунок 4 - Схема приспособления для определения поверхностного водологлощения листов ГВЛВ

Все металлические элементы должны быть выполнены из коррозионно-стойких металлов.

Примечание - Для испытания может быть использовано другое приспособление, обеспечивающее определение поверхностного водопоглощения по 8.5.3 на площади испытываемой поверхности образца, равной 0,01 м2.

8.5.2 Образцы

Из каждого листа, отобранного для контроля, вырезают по два квадратных образца с размерами сторон (140 ± 1) мм. Образцы вырезают на расстоянии не менее 100 мм от кромок листа. Испытываемой поверхностью одного образца является лицевая, другого - тыльная поверхность.

8.5.3 Проведение испытания

Для проведения испытания следует использовать водопроводную воду. Образцы, контрольное приспособление и вода должны иметь одинаковую температуру.

Образец взвешивают и закрепляют на приспособлении испытываемой поверхностью вверх. В цилиндр вливают 250 мл воды. Через 1 ч воду сливают. Остатки воды с поверхности образца удаляют мягкой тканью или бумажной салфеткой, затем образец вновь взвешивают.

8.5.4 Обработка результатов

Поверхностное водопоглощение Wп, кг/м2, вычисляют по формуле

(Поправка, 07.05.2002)

,                                                                   (3)

где m1 - масса образца до испытания, кг; т2 - масса образца после испытания, кг; 0,01 - площадь испытываемой поверхности образца, соответствующая площади основания цилиндра по внутреннему диаметру, м2.

За поверхностное водопоглощение листов данной партии принимают среднеарифметическое значение результатов испытаний всех образцов.

Результат вычисления округляют до 0,1 кг/м2.

8.6 Определение твердости лицевой поверхности

Метод основан на вдавливании шарика определенного диаметра под действием заданной нагрузки на лицевую поверхность образца. Глубину вдавливания измеряют под нагрузкой. Площадь поверхности отпечатка рассчитывают по его глубине.

8.6.1 Средства контроля

Аппаратура для испытания должна состоять из корпуса, несущего подъемную платформу с рабочим столом, стального закаленного и отполированного шарика диаметром (10,0±0,1) мм с соответствующими крепежными деталями и устройствами для плавного (без толчков) приложения нагрузки. Аппаратура должна быть оснащена устройством для измерения глубины вдавливания шарика с точностью ±0,005 мм.

Секундомер.

Примечание - Для определения твердости лицевой поверхности может быть использована другая аппаратура, обеспечивающая проведение испытания по 8.6.3.

8.6.2 Образцы

Из каждого листа, отобранного для контроля, вырезают по одному квадратному образцу с размерами сторон не менее 100 мм. Образцы вырезают на расстоянии не менее 100 мм от кромок листа. Допускается проведение испытания на половинках образцов, прошедших испытание по 8.4.

8.6.3 Подготовка и проведение испытания

Перед проведением испытания образцы высушивают до постоянной массы по 8.3.3.

Образец помещают на рабочий стол прибора, лицевая поверхность образца должна быть перпендикулярна к направлению приложения нагрузки.

В течение примерно 5 с прикладывают предварительную нагрузку, равную (9,81±0,10) Н, после чего устанавливают устройство, измеряющее глубину вдавливания, на нулевую отметку.

Затем в течение 2-10 с плавно без удара прикладывают нагрузку, равную, как правило, (500±5) Н. Образец выдерживают под нагрузкой 30 с, затем нагрузку снижают до (9,81±0,10) Н, после чего измеряют глубину вдавливания.

На каждом образце проводят по три определения в точках, расположенных на расстоянии не менее 10 мм друг от друга и от кромок образца.

(Поправка, 07.05.2002)

8.6.4 Обработка результатов

Твердость лицевой поверхности листа Н, МПа, вычисляют по формуле

,                                                                       (4)

где F - испытательная нагрузка, Н; D - диаметр шарика, мм; h - глубина вдавливания шарика, мм.

За твердость лицевой поверхности образца принимают среднеарифметическое значение результатов трех определений.

За твердость лицевой поверхности листов данной партии принимают среднеарифметическое значение результатов испытаний трех образцов, при этом результат испытания отдельного образца должен соответствовать требованиям 5.2.4.

Результат вычисления округляют до 0,1 МПа.

8.7 Содержание естественных радионуклидов определяют по ГОСТ 30108.

8.8 Группу горючести листов определяют по ГОСТ 30244, группу воспламеняемости - по ГОСТ 30402, группу дымообразующей способности и группу токсичности - по ГОСТ 12.1.044.

9 Транспортирование и хранение

9.1 Листы транспортируют всеми видами транспорта в соответствии с правилами перевозки грузов, действующими на данном виде транспорта, и требованиями другой документации, утвержденной в установленном порядке.

9.2 Транспортирование листов осуществляют в пакетированном виде.

Транспортные пакеты формируют из листов одного вида, типа продольных кромок и размеров с использованием поддонов или подкладок, которые изготавливают из древесины, гипсоволокнистых листов и других материалов. В качестве обвязок применяют стальную ленту по ГОСТ 3560 или синтетическую ленту. Транспортные пакеты могут быть также упакованы в полиэтиленовую термоусадочную пленку по ГОСТ 25951 или в полиэтиленовую пленку по ГОСТ 10354.

Число обвязок, их сечение, размеры подкладок и поддонов устанавливают в технологическом регламенте предприятия-изготовителя.

По согласованию с потребителем допускается транспортировать листы в непакетированном виде (без обвязки или упаковки в пленку).

9.3 Габариты пакетов не должны превышать по длине 4100 мм, ширине 1300 мм, высоте 800 мм; масса пакета не должна быть более 3000 кг.

9.4 При перевозке в открытых железнодорожных или автомобильных транспортных средствах пакеты должны быть защищены от увлажнения.

9.5 Листы следует хранить в помещениях с сухим и нормальным влажностными режимами раздельно по видам и размерам.

9.6 Хранение листов у изготовителя должно осуществляться в соответствии с 9.5 и технологическим регламентом, утвержденным.

9.7 Транспортные пакеты листов при хранении у потребителя могут быть установлены друг на друга в штабели в соответствии с правилами техники безопасности. При этом общая высота штабеля не должна превышать 3,5 м.

9.8 При погрузочно-разгрузочных, транспортно-складских и других работах не допускаются удары по листам.

10 Указания по применению

10.1 При применении листов следует руководствоваться проектной документацией, утвержденной в установленном порядке.

10.2 Листы ГВЛ применяют в зданиях и помещениях с сухим и нормальным влажностными режимами в соответствии со СНиП II-3.

10.3 Листы ГВЛВ применяют в зданиях и помещениях с сухим, нормальным и влажным влажностными режимами в соответствии со СНиП II-3.

При применении листов ГВЛВ в зданиях и помещениях с влажным влажностным режимом следует предусматривать вытяжную вентиляцию, обеспечивающую нормативный воздухообмен в соответствии со СНиП 2.04.05, СНиП 2.08.01, СНиП 2.08.02, СНиП 2.09.04.

ПРИЛОЖЕНИЕ А

(справочное)

Перечень нормативных документов, ссылки
на которые приведены в настоящем стандарте

ГОСТ 12.1.044-89 ССБТ. Пожаровзрывоопасность веществ и материалов. Номенклатура показателей и методы их определения

ГОСТ 166-89 Штангенциркули. Технические условия

ГОСТ 427-75 Линейки измерительные металлические. Технические условия

ГОСТ 3560-73 Лента стальная упаковочная. Технические условия

ГОСТ 7502-98 Рулетки измерительные металлические. Технические условия

ГОСТ 10354-82 Пленка полиэтиленовая. Технические условия

ГОСТ 11358-89 Толщиномеры и стенкомеры индикаторные с ценой деления 0,01 и 0,1 мм. Технические условия

ГОСТ 14192-96 Маркировка грузов

ГОСТ 24104-88 Весы лабораторные общего назначения и образцовые. Общие технические условия

ГОСТ 25951-83 Пленка полиэтиленовая термоусадочная. Технические условия

ГОСТ 30108-94 Материалы и изделия строительные. Определение удельной эффективной активности естественных радионуклидов

ГОСТ 30244-94 Материалы и изделия строительные. Методы испытания на возгораемость (горючесть)

ГОСТ 30402-96 Материалы строительные. Методы испытаний на воспламеняемость

СНиП II-3-79* Строительная теплотехника

СНиП 2.04.05-91* Отопление, вентиляция и кондиционирование

СНиП 2.08.01-89* Жилые здания

СНиП 2.08.02-89* Общественные здания и сооружения

СНиП 2.09.04-87* Административные и бытовые здания

ПРИЛОЖЕНИЕ Б

(обязательное)

Термины и определения

Листы гипсоволокнистые - листовые изделия, получаемые из гипсового вяжущего и целлюлозного волокна (в том числе распушенной макулатуры).

Листы гипсоволокнистые обычные (ГВЛ) - гипсоволокнистые листы, применяемые преимущественно для внутренней отделки зданий и помещений с сухим и нормальным влажностными режимами.

Листы гипсоволокнистые влагостойкие (ГВЛВ) - гипсоволокнистые листы, лицевая и тыльная поверхности которых обладают повышенным сопротивлением проникновению влаги.

Продольная кромка гипсоволокнистого листа - боковая грань по длине листа.

Торцевая кромка гипсоволокнистого листа - боковая грань по ширине листа

Ключевые слова: листы гипсоволокнистые, листы гипсоволокнистые влагостойкие, технические требования, правила приемки, методы контроля

2008-2013. ГОСТы, СНиПы, СанПиНы - Нормативные документы - стандарты.