Нормативные документы размещены исключительно с целью ознакомления учащихся ВУЗов, техникумов и училищ.
Объявления:

ГОСТ Р 51330.2-90

(МЭК 60079-1А-75)

ГОСУДАРСТВЕННЫЙ СТАНДАРТ РОССИЙСКОЙ ФЕДЕРАЦИИ

Электрооборудование взрывозащищенное

Часть 1

ВЗРЫВОЗАЩИТА ВИДА
«ВЗРЫВОНЕПРОНИЦАЕМАЯ ОБОЛОЧКА»

Дополнение 1

Приложение D

Метод определения безопасного экспериментального
максимального зазора

ГОССТАНДАРТ РОССИИ

Москва

Предисловие

1 РАЗРАБОТАН Некоммерческой автономной научно-исследовательской организацией «Центр по сертификации взрывозащищенного и рудничного электрооборудования ИГД» (НАНИО «ЦС ВЭ ИГД»)

ВНЕСЕН Техническим комитетом по стандартизации ТК 403 «Взрывозащищенное и рудничное электрооборудование»

2 ПРИНЯТ И ВВЕДЕН В ДЕЙСТВИЕ Постановлением Госстандарта России от 9 декабря 1999 г. № 493-ст

3 Настоящий стандарт, за исключением пунктов 4.3, 4.5, 5.1, 5.5, 5.6, 6.5 и рисунка 2, представляет собой аутентичный текст международного стандарта МЭК 60079-1А-75 «Электрооборудование взрывозащищенное. Часть 1. Взрывозащита вида «взрывонепроницаемая оболочка». Дополнение 1. Приложение D. Метод определения безопасного экспериментального максимального зазора»

4 ВВЕДЕН ВПЕРВЫЕ

5 ПЕРЕИЗДАНИЕ. Апрель 2001 г.

СОДЕРЖАНИЕ

1 Область применения. 2

2 Нормативные ссылки. 2

3 Описание метода. 2

4 Испытательная установка. 3

5 Методика испытаний. 4

6 Определение БЭМЗ. 5

Приложение А Наиболее легковоспламеняемая концентрация и значения БЭМЗ для различных газов и паров. 6

Введение

Настоящий стандарт входит в комплекс государственных стандартов на взрывозащищенное электрооборудование, разрабатываемых Техническим комитетом ТК 403 «Взрывозащищенное и рудничное электрооборудование» на основе применения международных стандартов на взрывозащищенное электрооборудование.

В стандарт, дополнительно к требованиям международного стандарта МЭК 60079- 1А- 75, включены положения, конкретизирующие отдельные пункты МЭК 60079-1А-75 с учетом сложившейся национальной практики, норм и требований государственных стандартов.

В разделах 2 - 6 и таблице 1 в описании метода, аппаратуры, методики испытаний по определению БЭМЗ и в названиях взрывоопасных смесей использована терминология, принятая в государственных стандартах.

Указанные дополнения в стандарте выделены курсивом.

В стандарте сохранена нумерация основного текста разделов и нумерация химических соединений, приведенных в таблице A.1 приложения А, установленная в МЭК 60079-1А-75.

ГОСУДАРСТВЕННЫЙ СТАНДАРТ РОССИЙСКОЙ ФЕДЕРАЦИИ

Электрооборудование взрывозащищенное

Часть 1

ВЗРЫВОЗАЩИТА ВИДА «ВЗРЫВОНЕПРОНИЦАЕМАЯ ОБОЛОЧКА»

Дополнение 1. Приложение D

Метод определения безопасного экспериментального максимального зазора

Electrical apparatus for explosive gas atmospheres. Part 1. Construction and verification test
of flameproof enclosures of electrical apparatus. First supplement. Appendix D. Method of
test for ascertainment of maximum experimental safe gap

Дата введения 2001-01-01

1 Область применения

Настоящий стандарт устанавливает технические требования к средствам и методу определения безопасного экспериментального максимального зазора (далее - БЭМЗ), предназначенного для классификации взрывоопасных смесей по категориям взрывоопасности.

Метод определения БЭМЗ для смесей газов и паров с воздухом при нормальной температуре* и давлении окружающей среды позволяет установить категорию взрывоопасности взрывоопасных смесей в соответствии с ГОСТ Р 51330.0 или ГОСТ Р 51330.11.

*Исключение сделано для веществ, упругость пара которых недостаточна, чтобы получить смесь заданной концентрации при температуре окружающей среды. Допускается нагрев на 5 °С выше температуры, необходимой для образования заданной упругости пара.

2 Нормативные ссылки

В настоящем стандарте использованы ссылки на следующие стандарты:

ГОСТ 12.1.044-89 Система стандартов безопасности труда. Пожаровзрывоопасность веществ и материалов. Номенклатура показателей и методы их определения

ГОСТ Р 51330.0-99 (МЭК 60079-0-98) Электрооборудование взрывозащищенное. Часть 0. Общие требования

ГОСТ Р 51330.11- 99 (МЭК 60079-12-78) Электрооборудование взрывозащищенное. Часть 12. Классификация смесей газов или паров с воздухом по безопасным экспериментальным максимальным зазорам и минимальным воспламеняющим токам

3 Описание метода

БЭМЗ представляет собой максимальный зазор между двумя частями камеры, состоящей из полусфер с фланцами длиной 25 мм, исключающий воспламенение внешней смеси газа или пара в воздухе при воспламенении этой смеси внутри камеры.

Испытательная установка состоит из внутренней и внешней камер. Внешняя камера оборудована смотровыми окнами. Внутренняя камера состоит из двух полусфер с кольцевым зазором между ними, устанавливаемым с высокой точностью. Обе камеры заполняют испытуемой смесью газа или пара с воздухом при нормальном давлении 0,1 МПа и температуре 20 °С. Воспламеняют смесь во внутренней камере, и о наличии или отсутствии воспламенения во внешней камере судят на основании наблюдения через смотровые окна.

БЭМЗ определяют путем постепенного уменьшения кольцевого зазора до такого значения, при котором не происходит воспламенения смеси во внешней камере для любой концентрации газа или пара в воздухе.

4 Испытательная установка

Схемы испытательной установки для определения БЭМЗ приведены на рисунках 1 и 2.

4.1 Механическая прочность

Испытательная установка рассчитана на максимальное давление 1,5 МПа, что обеспечивает сохранение установленного зазора с требуемой точностью.

4.2 Внутренняя камера

Внутренняя камера испытательной установки (рисунки 1 и 2) представляет собой сферическую оболочку объемом (20±1) см3, состоящую из двух полусфер с фланцами длиной 25 мм: нижняя полусфера неподвижная, верхняя прижата пружиной к микрометрическому винту.

1 - внутренняя камера; 2 - внешняя камера; 3 - микрометрический винт; 4 - насос; 5 - смотровые окна; 6 - верхняя подвижная часть внутренней камеры; 7 - нижняя неподвижная часть внутренней камеры; 8 - электроды, между которыми возникает искровой разряд; 9 - краны; 10 - огнепреградитель

Рисунок 1 - Установка для определения БЭМЗ

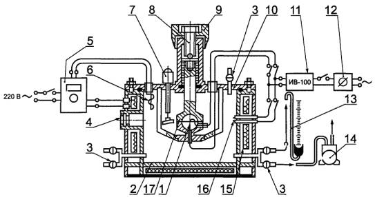
1 - электроды; 2 - камера; 3 - краны вакуумные; 4 - смотровое окно; 5 - блок автоматического терморегулирования; 6 - датчик температуры; 7 - устройство для перемешивания смеси; 8 - микрометрический винт; 9 - головка винта; 10 - крышка; 11 - индуктор высоковольтный; 12 - лабораторный автотрансформатор; 13 - вакуумметр; 12 - вакуум-насос; 15 - нагревательные элементы; 16 - запальная свеча; 17 - сферическая оболочка

Рисунок 2 - Установка для определения БЭМЗ

4.3 Внешняя камера

Внешняя камера испытательной установки (рисунки 1 и 2) представляет собой цилиндрическую камеру объемом от 2,3 до 4,0 дм3, оборудованную смотровыми окнами, запальной свечой и кранами.

4.4 Регулировка зазора

Изменение величины зазора между фланцами двух полусфер производят вращением головки микрометрического винта. Микрометрический винт должен быть с шагом резьбы 0,5 мм и диаметром 16 мм со шкалой, выгравированной на микрометрической головке.

4.5 Введение смеси

Внутреннюю камеру (рисунок 1) заполняют газо- или паровоздушной смесью через отверстие диаметром 3 мм. Объем входных каналов 5 см3. Вход во внешнюю камеру состоит из семи отверстий диаметром 2 мм. Входные и выходные отверстия для взрывоопасной смеси защищены огнепреградитетами.

В испытательной установке (рисунок 2) внутреннюю и внешнюю камеры вакууммируют, заполняют горючей компонентой и воздухом или отдельно приготовленной взрывоопасной смесью.

4.6 Электроды источников поджигания

Электроды должны быть из нержавеющей стали с искровым промежутком (3±0,5) мм. Они должны располагаться вертикально и находиться на расстоянии не менее 14 мм от внутренней кромки фланцев внутренней камеры.

4.7 Смотровые окна

Одно или два смотровых окна диаметром 74 мм должны быть расположены на стенках внешней камеры.

4.8 Материал испытательной установки

Основные элементы испытательной установки и особенно стенки и фланцы внутренней камеры, а также электроды для получения искрового разряда должны изготавливаться из нержавеющей стали. При испытаниях некоторых газов и паров допускается изготавливать основные элементы испытательной установки из других материалов, не вступающих в химическое взаимодействие с окружающей атмосферой в процессе эксперимента.

5 Методика испытаний

5.1 Приготовление взрывоопасных смесей

Для получения достоверных результатов при проведении испытаний необходимо тщательно следить за стабильностью концентрации взрывоопасной смеси. Поток взрывоопасной смеси через внутреннюю и внешнюю камеры (рисунок 1) поддерживают до тех пор, пока концентрация смеси на входе и выходе не сравняется.

В испытательной установке (рисунок 2) внутреннюю и внешнюю камеры вакууммируют, заполняют отдельно приготовленной взрывоопасной смесью или горючей компонентой и воздухом по методу парциальных давлений.

Парциальное давление газа р, кПа, необходимое для одного испытания, в соответствии с заданной концентрацией смеси рассчитывают по закону Дальтона по формуле

,                                                                 (1)

где        k - заданная концентрация, объемные доли;

             p1 - атмосферное давление, кПа.

После введения горючего камеры заполняют воздухом до атмосферного давления. Для газов с высокой критической температурой при определении объемной концентрации следует учитывать отклонение от состояния идеального газа по ГОСТ 12.1.044.

При проведении опытов с жидким горючим веществом количество жидкости т, мм, необходимое для одного испытания, рассчитывают по формуле

,                                                         (2)

где        М - молекулярная масса;

             V - вместимость камеры, дм3;

             Т - температура испытания, °С;

             r - плотность, кг/м3.

Для проведения испытаний при нагревании включают блок терморегулирования, установив его на температуру испытания.

Влажность воздуха, используемого для подготовки смеси, не должна быть больше 0,2 % по объему (относительная влажность 10 %).

5.2 Температура и давление

Испытания проводят при температуре окружающей среды (20±5) °С, за исключением испытаний паровоздушных смесей, приготавливаемых при более высокой температуре. Давление во внутренней камере должно быть равно атмосферному.

5.3 Нулевая установка зазора

Перед испытаниями необходимо проверить параллельность фланцев и нулевую установку зазора, при этом усилие, приложенное к головке микрометрического винта, должно быть небольшим (например, около 10-2 Н).

5.4 Воспламенение взрывоопасной смеси

Воспламенение взрывоопасной смеси во внутренней камере осуществляют с помощью искрового разряда, возникающего между электродами при подаче на них высокого напряжения от катушки зажигания.

5.5 Контроль за результатами испытаний

После приготовления (заполнения) смеси горючего с воздухом в камерах ее поджигают искровым электрическим разрядом. О наличии взрыва во внутренней камере судят по специальному датчику. Через смотровое окно наблюдают за результатом испытаний. Если взрыв из внутренней камеры передается через фланцевый зазор во внешнюю камеру и воспламеняет окружающую взрывоопасную смесь, считают, что произошла «передача взрыва»; если взрыв из внутренней камеры не передается через зазор в окружающую среду, то фиксируют «непередачу взрыва». При «непередаче взрыва» смесь поджигают искрой от запальной свечи во внешней камере. После испытания камеры продувают воздухом.

5.6 Требования безопасности

При выполнении испытаний должны быть соблюдены правила по технике безопасности при работе со взрывоопасными смесями и электрооборудованием.

При испытаниях токсичного вещества или вещества, которое выделяет токсичные компоненты при разложении или горении, испытания проводят при соблюдении правил по технике безопасности при работе с данными веществами. В этом случае испытательную установку помещают в вытяжном шкафу, применяют соответствующие противогаз и дегазационные средства.

6 Определение БЭМЗ

6.1 Определение БЭМЗ проводят в два этапа: предварительные и подтверждающие испытания.

6.2 Предварительные испытания

При предварительных испытаниях с заданной концентрацией горючего газа или пара в воздухе проводят не менее двух видов испытаний на воспламенение смеси в оболочке на каждом из зазоров, значения которых находятся между безопасным и опасным зазорами с интервалами 0,02 мм, с целью нахождения наименьшего зазора S100, при котором вероятность передачи взрыва из внутренней камеры во внешнюю равна 100 %, и наибольшего зазора S0, при котором вероятность передачи взрыва равна нулю. В последующем зазоры S100 и S0 определяют для других концентраций горючего в смеси с воздухом, лежащими выше и ниже взятой первоначально концентрации. По полученным результатам строят график зависимости величины зазора от концентрации взрывоопасной смеси.

Из полученных данных определяют смесь с такой концентрацией, для которой зазоры S100 и S0 имеют наименьшее значение.

6.3 Подтверждающие испытания

При подтверждающих испытаниях результаты проверяют повторением испытаний на каждой установленной величине зазора на основании 10 опытов при концентрациях смеси, близких к наиболее опасной по передаче взрыва, полученной в предварительных испытаниях. По полученным результатам определяют минимальные значения зазора S0min.

6.4 Обработка результатов испытаний

Наибольшая разница между S0min, полученная после двух серий испытаний, не должна превышать 0,04 мм. Если полученные значения S0min лежат в указанном диапазоне, то за величину БЭМЗ для данного исследуемого вещества принимают такую, для которой разность между S100min - S0min наименьшая.

Если разность между величинами S0min, полученная при различных сериях испытаний, превышает 0,04 мм, необходимо провести контрольные испытания после подтверждения того, что используемая установка позволяет воспроизвести табличное значение БЭМЗ для водорода, равное 0,29 мм при объемной доле водорода в смеси 0,27. Затем следует повторить испытания с исследуемым веществом.

6.5 Протоколирование результатов испытаний

После проведения опытов в протоколе испытаний фиксируют наиболее опасную концентрацию горючего вещества по передаче взрыва через зазор, значение БЭМЗ, категорию взрывоопасности и разность между S100min - S0min.

Концентрация с наибольшей опасностью воспламенения и значения БЭМЗ для различных газов и паров приведены в приложении А.

Условия и результаты испытаний должны регистрироваться с погрешностью

- температура ... 1 °С

- значение зазора ... 0,01 мм

- разрежение при вакуумировании ... 0,1 кПа

- время ... 1с

- объем вещества ... 0,05 см3

ПРИЛОЖЕНИЕ А

(обязательное)

Наиболее легковоспламеняемая концентрация и значения БЭМЗ для различных газов и паров

Таблица А.1

Наименование и формула газа или пара

Наиболее легковоспламеняемая концентрация, %

БЭМЗ, мм

S100min - S0min, мм

Оксид углерода

СО

40,8

0,94

0,03

Метан

СH4

8,2

1,14

0,11

Пропан

СзН8

4,2

0,92

0,03

Бутан

С4Н10

3,2

0,98

0,02

Пентан

C5H12

2,55

0,93

0,02

Гексан

С6Н14

2,5

0,93

0,02

Гептан

C7H16

2,3

0,91

0,02

Изооктан

C8H18

2,0

1,04

0,04

н-Октан

C8H18

1,94

0,94

0,02

Декан

С10Н22

120/105 (мг/л)

(1,02)

-

Циклогексанон

СбН10О

3,0

0,95

0,03

Ацетон

С3НбО

5,9/4,5

(1,02)

-

Этилметилкетон

С4Н8О

4,8

0,92

0,02

Метилацетат

С3НбО2

208/152 (мг/л)

(0,99)

-

Этилацетат

C4H8О2

4,7

0,99

0,04

Пропилацетат

С5Н10O2

135 (мг/л)

(1,04)

-

Циклогексан

СбН12

90 (мг/л)

(0,94)

-

Амилацетат

C7H14O2

110 (мг/л)

(0,99)

-

Бутилацетат

СбН12O2

130 (мг/л)

(1,02)

-

Хлорвинил

С2Н3Сl

7,3

0,99

0,04

Метиловый спирт

СН3ОН

11,0

0,92

0,03

Этиловый спирт

С2Н5OН

6,5

0,89

0,02

Винилиденхлорид

С2Н2С12

10,5

3,91

0,08

Бензотрифторид

СбН5СF3

19,3 °С

1,40

0,05

Изобутанол

С4Н10О

105/125 (мг/л)

(0,96)

-

н-Бутанол

С4Н10О

115/125 (мг/л)

(0,94)

-

Пентанол

С5Н11 ОН

100/100 (мг/л)

(0,99)

-

Этилнитрит

C2H5ONO

270/270 (мг/л)

(0,96)

-

Аммиак

NН3

24,5/17,0

(3,17)

-

1,3-Бутадиен

С4Нб

3,9

0,79

0,02

Этилен

С2Н4

6,5

0,65

0,02

Диэтиловый эфир

С4Н10О

3,47

0,87

0,01

Оксид этилена

С2Н4O

8,0

0,59

0,02

Городской газ (H2 = 57 %, СО = 16 %)

21/21

0,53

-

Ацетилен

С2Н2

3

0,37

0,01

Водород

Н2

27,0

0,29

0,01

Сероуглерод

CS2

8,5

0,34

0,02

Диоксан

C4H8O2

4,75

0,70

0,02

Изопентан

C5H12

2,45

0,98

0,02

Хлорбутан

С4Н9С1

3,9

1,06

0,04

Ди-н-бутиловый эфир

C8H18O

2,6

0,86

0,02

Диметиловый эфир

С2НбО

7,0

0,84

0,06

Пропилен

С3Н6

4,8

0,91

0,02

Ацетонитрил

C2H3N

7,2

1,50

0,05

Диизопропиловый эфир

СбН14O

2,6

0,94

0,06

1,2-Дихлорэтан

С2Н4Сl

9,5

1,8

0,05

Оксид пропилена

С3НбО

4,55

0,70

0,03

Этан

С2Нб.

5,9

0,91

0,02

Метилизобутилкетон

С6Н12O

3,0

0,98

0,03

Акрилонитрил

CH2=CHCN

7,1

0,87

0,02

Метилакрилат

С4НбO2

5,6

0,85

0,02

Бутилгликоль

СбН12O3

4,2

0,88

0,02

Ацетилацетон

С5Н8O2

3,3

0,95

0,15

Этилацетоацетат

С6Н10О3

2,4

0,90±0,05

0,05

Гексанол

СбН13ОН

3,0

0,94

0,06

Изопропанал

С3Н7ОН

5,1

0,99

0,02

Этилкрилат

C5H8O2

4,3

0,86

0,04

Цианистый водород

HCN

18,4

0,80

0,02

Винилацетат

С4НбO2

4,75

0,94

0,02

Примечание - Значения БЭМЗ, приведенные в скобках, получены путем испытания на испытательной установке, отличной от приведенной в настоящем стандарте.

Ключевые слова: электрооборудование взрывозащищенное, взрывоопасная смесь, концентрация с наибольшей опасностью воспламенения, классификация взрывоопасных смесей, категория взрывоопасности, безопасный экспериментальный максимальный зазор, испытательная установка, камера

2008-2013. ГОСТы, СНиПы, СанПиНы - Нормативные документы - стандарты.