
ГОСУДАРСТВЕННЫЙ СТАНДАРТ СОЮЗА ССР
АРМАТУРНЫЕ И ЗАКЛАДНЫЕ
ИЗДЕЛИЯ СВАРНЫЕ,
СОЕДИНЕНИЯ СВАРНЫЕ АРМАТУРЫ
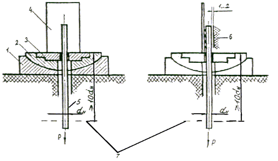
И ЗАКЛАДНЫХ ИЗДЕЛИЙ
ЖЕЛЕЗОБЕТОННЫХ КОНСТРУКЦИЙ
ОБЩИЕ ТЕХНИЧЕСКИЕ УСЛОВИЯ
ГОСТ 10922-90
ГОСУДАРСТВЕННЫЙ СТРОИТЕЛЬНЫЙ КОМИТЕТ СССР
Москва
ГОСУДАРСТВЕННЫЙ СТАНДАРТ СОЮЗА ССР
|
АРМАТУРНЫЕ И
ЗАКЛАДНЫЕ ИЗДЕЛИЯ СВАРНЫЕ, Общие технические условия Welded
reinforcing products and inserts, General specifications |
ГОСТ |
Дата введения 01.01.91
Настоящий стандарт распространяется на сварные арматурные и закладные изделия железобетонных конструкций и сварные соединения арматуры и закладных изделий, выполняемые при изготовлении и монтаже сборных и возведении монолитных железобетонных конструкций.
Стандарт устанавливает требования к арматурным изделиям из стержневой арматурной стали и арматурной проволоки диаметром 3 мм и более.
Стандарт не распространяется на закладные изделия, не имеющие анкерных стержней из арматурной стали.
1.1. Сварные арматурные изделия подразделяют на типы:
арматурные сетки;
арматурные каркасы;
отдельные стержни арматуры со сварными стыковыми соединениями по длине стержня.
1.2. Арматурные сетки
1.2.1. Сварные арматурные сетки изготовляют из стержней, расположенных в двух взаимно перпендикулярных направлениях и соединенных в местах пересечений сваркой (крестообразное соединение).
Сетки изготовляют с квадратными или прямоугольными ячейками.
В одном направлении сетки имеют стержни одинакового диаметра.
1.2.2. Сетки изготовляют с расположением рабочей арматуры:
в одном направлении (продольном или поперечном) и распределительной арматурой в другом направлении;
в обоих направлениях.
1.2.3. Сетки изготовляют плоскими или рулонными.
Рулонными изготовляют сетки с продольными стержнями из арматурной проволоки диаметрами до 5 мм включительно, при поперечных стержнях диаметрами до 10 мм включительно.
1.2.4. Сетки с продольными и поперечными стержнями диаметрами от 3 до 10 мм включительно изготовляют с поперечными стержнями на всю ширину сетки или со смещенными поперечными стержнями.
1.3. Арматурные каркасы
1.3.1. Сварные арматурные каркасы изготовляют из продольных и поперечных стержней, соединенных в местах пересечений сваркой (крестообразное соединение).
Продольные и поперечные стержни каркасов в одном направлении имеют стержни одинакового или разных диаметров.
1.3.2. Каркасы изготовляют плоскими или пространственными.
Плоские каркасы имеют поперечные стержни, расположенные в одной плоскости и предназначенные для армирования линейных изгибаемых или растянутых железобетонных элементов и конструкций с малой шириной поперечного сечения.
Пространственные каркасы изготовляют с поперечными стержнями, расположенными в разных плоскостях.
1.4. Сварные закладные изделия подразделяют на два основных типа: открытые и закрытые.
В зависимости от расположения анкерных стержней относительно плоского элемента различают закладные изделия с перпендикулярным, наклонным, параллельным или смешанным расположением анкерных стержней.
Типы закладных изделий и взаимное расположение их элементов приведены в приложении 1.
1.5. Форма и размеры сварных арматурных сеток и каркасов, отдельных стержней арматуры со сварными стыковыми соединениями по длине стержня, закладных изделий, а также тип сварного соединения и способ сварки должны соответствовать установленным стандартами, техническими условиями или проектной документацией на железобетонные конструкции или арматурные и закладные изделия.
1.5.1. Сварные плоские и рулонные арматурные сетки, изготовляемые предприятиями строительной индустрии на многоэлектродных сварочных машинах, должны соответствовать требованиям ГОСТ 23279.
1.5.2. Сварные рулонные сетки, изготовляемые метизной промышленностью из арматурной проволоки диаметром 5 мм, - по ГОСТ 8478.
1.6. Конструкция сварных соединений, выполняемых в заводских условиях и при монтаже сборных и возведении монолитных железобетонных конструкций, должна соответствовать ГОСТ 14098.
1.7. Крестообразные соединения типов К1 и К2 по ГОСТ 14098, которые должны обеспечивать восприятие арматурой сеток и каркасов напряжений не менее ее расчетных сопротивлений, подлежат выполнению с нормируемой прочностью в соответствии с требованиями пп. 2.14 и 2.16.
Соединения с нормируемой прочностью должны быть указаны в рабочих чертежах арматурных изделий.
1.8. К сварным крестообразным соединениям с ненормируемой прочностью, применяемым для обеспечения взаимного расположения стержней арматурных изделий в процессе их транспортирования, изготовления и бетонирования конструкций (при отсутствии указаний о нормируемой прочности этих соединений в рабочих чертежах изделий), относят:
1) соединения в плоских и рулонных сетках с рабочей арматурой из арматурной стали периодического профиля, независимо от ее класса и диаметра;
2) соединения в местах пересечения продольной арматуры пространственных каркасов с поперечной арматурой в виде непрерывной спирали или замкнутых хомутов;
3) соединения в местах пересечения продольных или поперечных стержней плоских каркасов и стержней сеток со стержнями, объединяющими их в пространственные каркасы, если последние применяют для армирования изгибаемых железобетонных элементов, не работающих на кручение.
1.9. Условные обозначения арматурных и закладных изделий, сварных соединений принимают в соответствии со стандартами, техническими условиями или проектной документацией на железобетонные конструкции или арматурные и закладные изделия.
2.1. Сварные арматурные и закладные изделия следует изготовлять, а сварные соединения арматуры и закладных изделий выполнять в соответствии с требованиями настоящего стандарта по нормативно-технической документации на железобетонные конструкции или арматурные и закладные изделия и по технологической документации, утвержденной в установленном порядке.
2.2. Вид и марки арматурной стали, а также марки металлопроката из углеродистой стали обыкновенного качества или низколегированной стали, применяемых для изготовления арматурных и закладных изделий, должны соответствовать установленным стандартами, техническими условиями или проектной документацией на конструкции или изделия.
Арматурные и закладные изделия следует изготовлять из арматурной стели и металлопроката, удовлетворяющих требованиям стандартов или технических условий на арматурную сталь и металлопрокат.
2.3. Действительные отклонения линейных размеров сварных арматурных и закладных изделий не должны превышать отклонений, указанных в проектной документации. При отсутствии таких указаний в проектной документации действительные отклонения линейных размеров не должны превышать предельных, установленных табл. 1 в зависимости от класса точности железобетонной конструкции.
Таблица 1
мм
|
Предельные отклонения размеров изделий, применяемых в железобетонных конструкциях |
|||||
|
сборных при их классе точности |
монолитных |
||||
|
5 |
6 |
7 |
8 |
||
|
1. Длина отдельных стержней ненапрягаемой арматуры, расстояние между крайними стержнями по длине, ширине или высоте изделия: |
|
|
|
|
|
|
до 60 включ. |
±1,0 |
±1,5 |
±2,5 |
±4,0 |
|
|
св. 60 » 120 » |
±1,5 |
±2,0 |
±4,0 |
±5,0 |
|
|
» 120 » 250 » |
±1,5 |
±2,5 |
±3,0 |
±6,0 |
|
|
» 250 » 500 » |
±2,0 |
±3,0 |
±5,0 |
±8,0 |
|
|
» 500 » 1000 » |
±2,5 |
±4,0 |
±6,0 |
±10 |
|
|
» 1000 » 1600 » |
±3,0 |
±5,0 |
+6,0 -10 |
+10 -14 |
|
|
» 1600 » 2500 » |
±4,0 |
±6,0 |
+8,0 -12 |
+12 -18 |
|
|
» 2500 » 4000 » |
±5,0 |
±8,0 |
+10 -14 +12 -18 +15 -25 +20 30 |
+15 -25 +20 -30 +25 -35 +35 45 |
+15 -30 +20 -40 +30 -50 +45 65 |
|
» 4000 » 8000 » |
±6,0 |
±10 |
|||
|
» 8000 » 16000 » |
±8,0 |
±12 |
|||
|
» 16000 |
±10 |
±15 |
|||
|
2. Расстояние от крайнего стержня одного направления до торца стержня другого направления (длина выпуска стержня) в арматурных изделиях при длине выпуска: |
|
|
|
|
|
|
до 60 включ. |
±1,0 |
±1,5 |
±2,5 |
+4,0 |
|
|
св. 60 » 120 » |
±1,5 |
±2,0 |
±3,0 |
±5,0 |
|
|
» 120 » 250 » |
±1,5 |
±2,5 |
±4,0 |
±6,0 |
|
|
» 250 » 500 » |
±2,0 |
±3,0 |
±5,0 |
±8,0 |
|
|
» 500 » 1000 » |
±2,5 |
±4,0 |
±6,0 |
±10 |
±12 |
|
» 1000 |
±3,0 |
±5,0 |
±8,0 |
±12 |
±18 |
|
3. Расстояние между двумя соседними продольными стержнями (кроме крайних) в арматурных каркасах: |
Независимо от класса точности конструкции |
|
|||
|
до 60 включ. |
±4 |
±6 |
|||
|
св. 60 » 120 » |
±5 |
±8 |
|||
|
» 120 » 250 » |
±6 |
±10 |
|||
|
» 250 » 500 » |
±8 |
±12 |
|||
|
» 500 » 1000 » |
±10 |
±15 |
|||
|
» 1000 |
±12 |
±20 |
|||
|
4. Длина и ширина плоского элемента закладного изделия: |
|
|
|
|
|
|
до 250 включ. |
±1,5 |
±2,5 |
±4,0 |
±6,0 |
|
|
» 250 » 500 » |
±2,0 |
±3,0 |
±5,0 |
±8,0 |
|
|
» 500 |
±2,5 |
±4,0 |
±6,0 |
±10 |
|
|
5. То же, при равенстве размеров плоского элемента закладного изделия и поперечного сечения железобетонной конструкции: |
|
|
|
||
|
до 250 включ. |
-2,0 |
-3,0 |
-5,0 |
||
|
» 250 » 500 » |
-2,5 |
-4,0 |
-6,0 |
||
|
» 500 |
-3,0 |
-5,0 |
-8,0 |
||
|
6. Расстояние от края плоского элемента закладного изделия до ближайшей точки поверхности анкерного стержня: |
|
|
|
|
|
|
до 60 включ. |
+1,5 |
+2,5 |
+4,0 |
+6,0 |
|
|
св. 60 » 120 » |
+2,0 |
+3,0 |
+5,0 |
+8,0 |
|
|
» 120 » 250 » |
+2,5 |
+4,0 |
+6,0 |
+10 |
|
|
» 250 |
+3,0 |
+5,0 |
+8,0 |
+12 |
|
|
7. Расстояние между наружными поверхностями плоских элементов закладных изделий закрытого типа: |
|
|
|
|
|
|
до 250 включ. |
±1,5 |
±2,5 |
±4,0 |
±6,0 |
|
|
» 250 » 500 » |
±2,0 |
±3,0 |
±5,0 |
±8,0 |
|
|
» 500 |
±2,5 |
±4,0 |
±6,0 |
±10 |
|
|
8. Длина анкерных стержней закладных изделий открытого типа: |
|
||||
|
до 250 включ. |
±10 |
||||
|
» 250 » 500 » |
±12 |
||||
|
» 500 |
±15 |
||||
Примечания: 1. Предельные отклонения длины отдельных стержней ненапрягаемой арматуры, а также расстояний между крайними стержнями по длине, ширине или высоте изделия, длины выпуска стержней (поз. 1 и 2) приведены в таблице для размеров арматурных и закладных изделий, которые соответствуют габаритным размерам конструкции.
Для других размеров этих изделий отклонения указанных параметров принимают по классу точности 8.
2. Класс точности железобетонной конструкции принимают по стандартам, техническим условиям или проектной документации на конкретные конструкции.
При отсутствии указаний о классе точности железобетонной конструкции его определяют исходя из предельных отклонений линейных размеров конструкции по ГОСТ 21779 (см. приложение 5).
3. За номинальное расстояние между стержнями принимают размер между их осями (см. п. 4.2).
Для изделий, поставляемых за пределы предприятия-изготовителя, класс точности железобетонной конструкции, для которой предназначены заказываемые изделия, необходимо указать в заказе на их изготовление. В случаях, когда класс точности конструкции не оговорен в заказе, арматурные и закладные изделия изготовляют по классу точности 8.
2.4. Отклонение от плоскостности наружных лицевых поверхностей плоских элементов закладных изделий не должно превышать 3 мм.
Угол между поверхностью плоского элемента и анкерным стержнем закладной детали должен быть в пределах, установленных ГОСТ 14098.
2.5. Кромки плоских элементов закладных изделий должны быть очищены от грата и шлака после огневой резки.
2.6. На элементах арматурных и закладных изделий, а также сварных соединений не должно быть отслаивающейся ржавчины и окалины, следов масла и других загрязнений.
2.7. Отклонения установленных ГОСТ 14098 или указанных в нормативно-технической документации размеров конструктивных элементов сварных соединений и их взаимного расположения не должны превышать предельных, приведенных в табл. 2.
Таблица 2
|
Предельные отклонения |
|
|
1. Соосность стержней в стыковых соединениях, выполненных контактной сваркой, при номинальном диаметре стержней, мм: |
|
|
10 - 28 |
0,10dн |
|
32 - 40 |
0,05dн |
|
45 - 80 |
0,03dн |
|
2. То же, выполненных ванной сваркой в инвентарных формах, ванно-шовной и дуговой на стальной скобе-накладке, а также дуговой сваркой многослойными швами, при номинальном диаметре стержней, мм: |
|
|
20 - 28 |
0,15dн |
|
32 - 40 |
0,10dн |
|
45 - 60 |
0,05dн |
|
70 - 80 |
0,03dн |
|
3. То же, выполненных дуговой сваркой швами с накладками из стержней (типа С21 и С22 по ГОСТ 14098), при арматурной стали классов: |
|
|
А-I, A-II Ac-II диаметрами 10 - 40 мм |
0,3dн |
|
A-II диаметрами 45 - 80 мм, A-III диаметрами 10 - 40 мм, A-IV и A-VI диаметрами 10 - 22 мм, Ат-IVC, Ат-IVK, A-V и Ат-V диаметрами 10 - 32 мм, Ат-IIIC и Ат-VCK диаметрами 10 - 28 мм |
0,2dн |
|
4. Створкость накладок из стержней и стыкуемой арматуры в стыковых соединениях типа С21 и С22 при номинальном диаметре стержней, мм: |
|
|
10 - 28 |
0,5dн |
|
32 - 40 |
0,3dн |
|
45 - 60 |
0,2dн |
|
70 - 80 |
0,1dн |
|
5. Симметричность расположения накладки из стержня и стальной скобы-накладки относительно сварного стыка в продольном направлении (за исключением стыков со смещенными накладками) при длине накладки: |
|
|
2dн |
±0,10dн |
|
3dн |
±0,15dн |
|
4dн |
±0,20dн |
|
6dн |
±0,30dн |
|
8dн |
±0,40dн |
|
10dн |
±0,50dн |
|
6. Длина накладки из стержня и стальной скобы-накладки |
±0,50dн |
|
7. Длина сварного шва в стыковых соединениях типа С22 по ГОСТ 14098 |
±0,5dн |
|
8. Длина нахлестки в соединениях типов С23 и Н1 по ГОСТ 14098 при длине нахлестки: |
|
|
3dн - 4dн |
±0,5dн |
|
5dн - 6dн |
+0,2dн |
|
8dн - 10dн |
+0,1dн |
|
9. Ширина валиковых швов при номинальном диаметре свариваемых стержней, мм: |
|
|
10 - 16 |
+0,2dн -0,1dн |
|
18 - 80 |
±0,1dн |
|
Примечания: 1. При стыковой сварке стержней разного диаметра за номинальный принимают меньший диаметр стержня. 2. dн - номинальный диаметр стержня. |
|
2.8. Перелом осей стержней арматуры в стыковых соединениях (для соединений типов С5 - С19 в плоскости, параллельной стенкам инвентарных форм или стальных скоб-накладок, и для соединений типа С21 по ГОСТ 14098 в плоскости, перпендикулярной к плоскости, проходящей через продольные оси накладок из стержней) не должен быть более 12 мм на базе 250 мм.
2.9. Стыковые и крестообразные соединения, выполненные контактной сваркой, должны быть окружены гратом. Смятие стержней электродами на глубину более 0,1 номинального диаметра стержня, подплавление и поджоги ребер периодического профиля стержней не допускаются.
2.10. Кольцевой венчик наплавленного металла при дуговой сварке под флюсом тавровых соединений анкерных стержней закладных изделий должен быть без разрывов. Допускаются разность высоты венчика в двух любых точках по его окружности до 7 мм и несимметричное расположение венчика относительно анкерного стержня при условии, что расстояние от края венчика до ближайшей точки на поверхности стержня должно быть не менее 0,5 мм для анкеров диаметром до 14 мм включ. и не менее 2 мм для больших диаметров стержней.
2.11. Соединения, выполненные дуговой, ванной и ванно-шовной сваркой, подлежат очистке от шлака, а соединения типов С5 - С10, С14 - С20 по ГОСТ 14098 - и от брызг металла.
2.12. Наплавленный металл в соединениях и основной металл в околошовных зонах не должен иметь трещин. Переход от наплавленного металла к основному должен осуществляться без подрезов основного металла. Все кратеры должны быть заварены.
Не допускаются перерывы наплавленного металла и шлаковые включения в нем, прожоги плоских элементов закладных изделий, свищи, поверхностные поджоги основного металла и непровары.
2.13. Размеры и число наружных дефектов в сварных соединениях, выполненных дуговой, ванной и ванно-шовной сваркой, не должны превышать указанных в табл. 3.
Таблица 3
|
Допускаемые дефекты при диаметре свариваемых стержней, мм |
|||
|
10 - 28 |
32 - 40 |
45 - 80 |
|
|
1. Число отдельных пор диаметром до 2 мм в соединениях, выполненных: |
|
|
|
|
дуговой сваркой протяженными швами на длине шва 100 мм |
2 |
4 |
5 |
|
при сварке другими способами |
4 |
5 |
7 |
|
2. Цепочки пор диаметром до 2 мм и длиной до 50 мм в соединениях, выполненных: |
|
|
|
|
дуговой сваркой протяженными швами |
Не допускаются |
2 |
3 |
|
при сварке другими способами |
1 |
2 |
|
|
3. Глубина усадочных раковин наплавленного металла при выполнении стыковых соединений ванной, ванно-шовной и дуговой сваркой, мм |
2 |
3 |
5 |
2.14. Средние значения предела прочности С стыковых, тавровых и нахлесточных сварных соединений арматуры, а также крестообразных соединений с нормируемой прочностью стержневой арматуры (п. 1.7) в зависимости от размаха значений их предела прочности (разности между максимальным и минимальным значениями) в выборке согласно п. 3.21 должны быть не ниже приведенных в табл. 4.
Размах значений предела прочности сварных соединений во всех случаях не должен превышать 118 Н/мм2 (12 кгс/мм2).
Таблица 4
Н/мм2 (кгс/мм2)
|
Размах значений предела прочности сварных соединений в выборке |
Средние значения предела прочности С сварных соединений стержней, по оси которых действует испытательная нагрузка, из арматурной стали класса |
|||||
|
А-I |
A-II и Ac-II |
A-III и Aт-IIIC |
A-IV |
A-V |
A-VI |
|
|
До 39 (4) включ. Св. 39 (4) до 78 (8) включ. " 78 (8) " 118 (12) " |
314 (32) 334 (34) 373 (38) |
432 (44) 461 (47) 491 (50) |
530 (54) 559 (57) 589 (60) |
785 (80) 814 (83) 844 (86) |
942 (96) 961 (98) 981 (100) |
1060 (109) 1100 (112) 1128 (115) |
Примечания: 1. Для арматурной стали классов А-I, А-II и Ас-II значения С приведены для крестообразных соединений при их испытании на срез. Сварные соединения стержней из этой арматурной стали других типов должны быть равнопрочны основному металлу стержней.
2. Для арматурной стали класса А-III марки 25Г2С с временным сопротивлением разрыву 560 Н/мм2 (57 кгс/мм2) по ГОСТ 5781 и класса Ат-IIIС с временным сопротивлением разрыву 540 Н/мм2 (55 кгс/мм2) по ГОСТ 10884 среднее значение предела прочности сварных соединений С допускается уменьшать соответственно на 30 и 50 Н/мм2 (3 и 5 кгс/мм2).
3. Для соединений типов К1 - К3, С1 - С4 стержней из арматурной стали классов Ат-IVС и Ат-IVК, а также для соединений типов С14 - С19 стержней из арматурной стали классов Ат-IVС значения С должны соответствовать указанным для арматурной стали класса А-IV.
4. Для соединений типов С1-С4 стержней из арматурной стали классов Ат-V и Ат-VСК с последующей локальной термической обработкой значения С должны соответствовать указанным для арматурной стали класса А-V.
2.15. Стыковые соединения стержней из термомеханически упрочненной арматурной стали класса Ат-V, выполненные контактной сваркой, при механических испытаниях на растяжение, должны разрушаться вне зоны сплавления. При этом уменьшение исходного диаметра стержнем в месте разрыва не должно быть менее 20 %.
2.16. Крестообразные сварные соединения с нормируемой прочностью (п. 1.7) проволоки класса Вр-I со стержневой арматурой или с такой же проволокой при испытании на срез должны выдерживать без разрушения нагрузку Рср не менее , гН (кгс):
35 (355) - при номинальном диаметре проволоки 3 мм;
62 (630) " " " " 4 ";
97 (985) " " " " 5 ".
2.17. В тавровых соединениях, выполненных дуговой механизированной сваркой под флюсом, когда анкерные стержни расположены под углом к плоскости или торцу плоского элемента закладного изделия, а также в сварных соединениях других типов при арматуре диаметром 36 мм и более средние значения предела прочности С, указанные в табл. 4, могут приниматься уменьшенными на 5 %.
2.18. Контактная точечная сварка соединений с ненормируемой и нормируемой прочностью не должна вызывать разупрочнение проволоки класса Вр-I, применяемой в качестве рабочей арматуры железобетонных конструкций.
При испытании проволоки на растяжение она должна выдерживать нагрузку Pр не менее Pср , указанной в п. 2.16.
2.19. Стержни рабочей арматуры классов А-III, Ат-IIIС, Ат-IVС, Ат-IVК и Ат-V, имеющие по длине крестообразные соединения типа К3 по ГОСТ 14098, не должны разупрочняться и при испытании на растяжение должны иметь предел прочности, равный или превышающий временное сопротивление разрыву sв арматурной стали соответствующего класса по ГОСТ 5781 и ГОСТ 10884.
2.20. Каждый пакет сварных плоских арматурных сеток и каркасов, каждая пачка отдельных стержней арматуры со сварными стыковыми соединениями, а также контейнер (ящик) со сварными закладными изделиями должны иметь ярлык, на котором указывают:
марку или условное обозначение арматурных или закладных изделий;
число арматурных изделий в пакете (пачке) или закладных изделий в контейнере (ящике);
номер партии и дату изготовления изделий;
отметку ОТК о приемке партии изделий.
2.21. К каждому рулону сварных арматурных сеток и штабелю пространственных арматурных каркасов должен быть прикреплен ярлык с указанием:
условного обозначения сетки или марки пространственного каркаса;
номера партии и даты изготовления изделий;
массы рулона в т (для рулонных арматурных сеток);
отметки ОТК о приемке партии изделий.
2.22. Для арматурных и закладных изделий, поставляемых за пределы предприятия-изготовителя, в ярлыке дополнительно необходимо указать наименование или товарный знак предприятия-изготовителя.
3.1. Арматурные и закладные изделия, сварные соединения арматуры и закладных изделий, выполненные при изготовлении и монтаже сборных и возведении монолитных железобетонных конструкций, должны быть приняты службой контроля предприятия-изготовителя или строительно-монтажной организации по результатам визуального осмотра, измерений, механических испытаний или ультразвукового контроля в соответствии с требованиями настоящего стандарта и СНиП 3.03.01
3.2. Приемку готовых сварных арматурных и закладных изделий и сварных соединений арматуры и закладных изделий следует осуществлять партиями.
3.3. Партия готовых сварных арматурных и закладных изделий должна состоять из изделий одного типоразмера (одной марки), изготовленных по единой технологии одним сварщиком.
3.4. При изготовлении и применении сварных арматурных и закладных изделии производственными участками одного предприятия в одну партию допускается включать следующие изделия, выполненные одним сварщиком:
1) при крестообразных соединениях с ненормируемой прочностью (п. 1.8), выполненных контактной точечной сваркой (типов К1 и К2 по ГОСТ 14098):
сетки или каркасы независимо от классов и диаметров, входящих в них стержней при рабочей арматуре периодического профиля;
плоские каркасы из проволоки класса Вр-I с продольными стержнями одинакового диаметра;
плоские или рулонные сетки из проволоки класса Вр-I, рабочая арматура которых не отличается по диаметру;
2) при крестообразных соединениях с ненормируемой прочностью, выполненных дуговой сваркой прихватками (типа К3 по ГОСТ 14098), сетки или плоские каркасы со стержнями рабочей арматуры из арматурной стали одного класса и диаметра;
3) при крестообразных соединениях с нормируемой прочностью (п. 1.7):
плоские или пространственные каркасы с поперечными стержнями (хомутами) из арматурной стали одного класса, диаметры которых могут отличаться, но не более чем на один номер профиля арматуры;
сетки из арматурной стали класса А-I, в которых более тонкие стержни имеют одинаковый диаметр;
4) отдельные стержни арматуры из арматурной стали одного класса с соединениями, выполненными контактной стыковой сваркой, с постоянным поперечным сечением по длине, отличающиеся один от другого по диаметру, но не более чем на один номер профиля арматуры;
5) закладные изделия с однотипными тавровыми соединениями анкерных стержней, выполненными дуговой сваркой в отверстие;
6) закладные изделия с однотипными сварными соединениями анкерных стержней из арматурной стали одного класса, диаметр которых может отличаться, но не более чем на один номер профиля арматуры.
3.5. Партия сварных стыковых соединений выпусков стержней арматуры сборных железобетонных и монолитных конструкций должна состоять из однотипных по конструкции соединений арматурной стали одного класса и диаметра, выполненных одним сварщиком по единой технологии.
Допускается включать в одну партию сварные соединения, выполненные несколькими сварщиками, при наличии исполнительной схемы сварки или их личного клейма на соединениях, а также соединения стержней, отличающихся по диаметру, но не более чем на один номер профиля арматуры.
3.6. Соединения, выполненные дуговой сваркой протяженными швами, включают в одну партию независимо от класса и диаметра свариваемой арматуры.
3.7. Объем партии, сформированной в соответствии с пп. 3.3 и 3.4, не должен превышать числа изделий, изготовленных в течение одной смены. При изготовлении продукции на автоматических линиях или с применением оборудования, обеспечивающего автоматизацию цикла сварки, объем партии допускается увеличивать до числа изделий, изготовленных в течение двух смен работы.
3.8. Объем партии сварных соединений, сформированной по пп. 3.5 и 3.6, не должен превышать 200 соединений. В случае приемки подряд пяти таких партий с первого предъявления, объем партии может быть увеличен, но не более чем до 400 соединений. Первое забракование партии увеличенного объема влечет за собой возврат к формированию и приемке партий объемом до 200 соединений.
3.9. Соответствие арматурных и закладных изделий, а также сварных соединений требованиям настоящего стандарта устанавливают по результатам выборочного контроля, который должен производиться:
1) при изготовлении товарных арматурных и закладных изделий - до передачи их на склад готовой продукции;
2) при изготовлении и применении сварных арматурных и закладных изделий производственными участками одного предприятия - до установки изделий в опалубку;
3) при выполнении сварных соединений на строительных площадках - до бетонирования монолитных конструкций или выпусков арматуры в стыках сборных железобетонных элементов.
3.10. Выборку следует производить методом случайного отбора (без преднамеренного отбора изделий и сварных соединений по какому-либо определенному признаку).
3.11. Соответствие арматурных и закладных изделий и сварных соединений требованиям пп. 2.3 - 2.13 должно производиться путем визуального осмотра и измерений готовых изделий и сварных соединений, отобранных из контролируемой партии.
3.12. Число изделий, отбираемых из партии для визуального осмотра и измерений, должно быть не менее 3 шт.
3.13. Число сварных стыковых соединений выпусков арматуры сборных и арматуры монолитных железобетонных конструкций, отбираемых из партии для визуального осмотра и измерений, должно составлять не менее 10 % их общего числа в партии.
3.14. В каждом отобранном арматурном изделии следует проверять:
1) класс, диаметры и марку арматурной стали по данным документа о качестве, а при его отсутствии - по результатам лабораторных испытаний арматурной стали;
2) длину отдельных стержней, расстояние между крайними стержнями по длине, ширине или высоте изделия, длину выпусков стержней в изделии (поз. 1 и 2 табл. 1), а также расстояние между двумя соседними продольными стержнями в арматурных каркасах (поз. 3 табл. 1);
3) все сварные соединения, выполненные дуговой, а также контактной стыковой сваркой, и не менее пяти соединений, выполненных контактной точечной сваркой.
3.15. В каждом отобранном закладном изделии необходимо проверить:
1) марку стали плоских элементов, класс и диаметр анкерных стержней по данным документа о качестве, а при его отсутствии - по результатам лабораторных испытаний стали;
2) отклонение от плоскостности лицевых поверхностей изделия;
3) линейные размеры плоских элементов, размещение и длину анкерных стержней;
4) расстояние между наружными плоскостями в изделиях закрытого типа;
5) состояние кромок плоских элементов и размер углов между плоскими элементами и анкерными стержнями;
6) все сварные соединения.
3.16. При осмотре сварных соединений должны быть проверены размеры их конструктивных элементов; наличие грата в соединениях, выполненных контактной сваркой; относительная осадка в крестообразных соединениях и дефекты, перечисленные в табл. 2 и 3.
3.17. Если в результате визуального осмотра и измерений арматурных и закладных изделий, а также сварных соединений их элементов хотя бы одно изделие или одно соединение не соответствует требованиям настоящего стандарта, то производят повторную проверку удвоенного числа изделий.
Если при повторной проверке хотя бы одно изделие или сварное соединение его элементов не удовлетворяет требованиям настоящего стандарта, то все изделия этой партии подлежат поштучной приемке и исправлению.
3.18. Если в результате визуального осмотра и измерений сварных соединений элементов арматуры сборных и монолитных железобетонных конструкций выявлено хотя бы одно соединение, не отвечающее требованиям настоящего стандарта, то производят поштучную приемку соединений.
Соединения с дефектами должны быть исправлены или усилены по согласованию с проектной организацией.
3.19. Результаты визуального осмотра и измерений должны быть оформлены актом.
3.20. Соответствие сварных соединений элементов арматурных и закладных изделий (кроме соединений типов К1, К2, К3 с ненормируемой прочностью, а также типов С21 - С23, Н1, Т8, Т9 по ГОСТ 14098) и основного металла стержней рабочей арматуры (после сварки крестообразных соединений) требованиям пп. 2.14 - 2.19 должно проверяться механическими испытаниями контрольных образцов, отбираемых от партий изделий, принятых по результатам визуального осмотра и измерений.
Соединения типов К1 - К3 с ненормируемой прочностью, С21 - С23, Н1, Т8, Т9 принимают по результатам визуального осмотра и измерений.
3.21. Контрольные образцы для механических испытаний сварных соединений и основного металла стержней согласно п. 3.20 отбирают в количестве 3 шт., руководствуясь требованиями п. 3.9.
3.22. Контрольные образцы крестообразных соединений и основного металла стержней рабочей арматуры рулонных сеток и арматурных изделий при их изготовлении с применением дуговой сварки прихватками, контрольные образцы тавровых и нахлесточных соединений элементов закладных изделий следует отбирать путем вырезки из готовых изделий. Допускается вырезка образцов из одного готового изделия.
3.23. Контрольные образцы крестообразных соединений и основного металла стержней рабочей арматуры плоских сеток, плоских и пространственных каркасов при их изготовлении с применением оборудования, обеспечивающего автоматическое управление циклом контактной точечной сварки, должны изготовляться в произвольный момент времени совместно с деловыми соединениями при тех же режимах сварки и из таких же материалов.
3.24. В арматурных изделиях, изготовленных с помощью многоэлектродных сварочных машин, должен обеспечиваться контроль качества сварки каждым электродом.
3.25. Сварные стыковые соединения, выполненные ванной под флюсом и дуговой сваркой в инвентарных формах, дуговой и ванно-шовной сваркой на стальной скобе-накладке и без нее, следует контролировать по ГОСТ 23858.
По согласованию с проектной организацией допускается вырезка контрольных образцов указанных сварных соединений для механических испытаний их до разрушения.
Примечание. До 01.01.92 г. допускается приемка партии сварных стыковых соединений по результатам механических испытаний контрольных образцов таких соединений, изготовленных совместно с принимаемыми соединениями одним и тем же сварщиком. Эти контрольные образцы должны быть одинаковыми с принимаемыми соединениями по классу и марке свариваемой арматурной стали и по технологии сварки.
3.26. По результатам механических испытаний контрольных образцов сварных соединений, перечисленных в п. 2.14, должны быть определены следующие показатели:
1) предел прочности стержня каждого образца, по оси которого действовала разрушающая нагрузка (s1, s2, s3);
2) размах значений предела прочности
(1)
где smax и smin - соответственно максимальное и минимальное значения предела прочности из значений s1, s2, s3;
3) среднее арифметическое значение предела прочности s
(2)
4) уменьшение исходного диаметра Δ в процентах одного из свариваемых стержней в месте разрыва (для выполненных контактной сваркой стыковых соединений арматурной стали класса Ат-V - п. 2.15)
(3)
где d1 - исходный диаметр стержня до сварки (ГОСТ 5781);
d2 - диаметр стержня в месте разрыва стержня.
3.27. Пределы прочности s1, s2, s3 независимо от характера и места разрушения образцов вычисляют путем деления значения разрушающей нагрузки на площадь поперечного сечения арматурного стержня, к которому прикладывалась эта нагрузка. Площадь поперечного сечения стержней принимают по ГОСТ 5781.
В стыковых соединениях двух стержней арматуры разного диаметра или класса арматурной стали пределы прочности вычисляют для стержня с меньшей площадью поперечного сечения или для стержня низшего класса арматурной стали.
Значения s1, s2, s3, s, R, D, smax, smin должны быть округлены до ближайшего целого числа и занесены в протокол по форме приложения 2.
3.28. Партия готовой продукции по результатам механических испытаний сварных соединений (п. 3.26) подлежит приемке при условиях:
1) R £ 118 Н/мм2 (12 кгс/мм2);
2) s ³ С по табл. 4;
3) D ³ 20 % (для арматурной стали класса Ат-V - п. 2.15).
3.29. Если при изготовлении арматурных и закладных изделий использована арматурная сталь разных плавок с размахом временного сопротивления более 118 Н/мм2 (12 кгс/мм2), то партию готовой продукции принимают без учета размаха значений предела прочности сварных соединений при условии:
![]()
где smin - по п. 3.26;
С - среднее значение предела прочности сварных соединений, принимаемое по табл. 4 при размахе 78 - 118 Н/мм2.
3.30. При несоблюдении первого условия п. 3.28 партию бракуют, выпуск продукции прекращают, а технологию сварки доводят до требуемой стандартом стабильности.
При несоблюдении второго или третьего условия п. 3.28 или требований п. 3.29 производят повторную выборку контрольных образцов в количестве 6 шт. и их испытание. Если в результате повторного испытания не соблюдается хотя бы одно из условий пп. 3.28 и 3.29, партию бракуют.
3.31. По результатам механических испытаний образцов крестообразных соединений на срез (п. 2.16) независимо от характера и места разрушения образцов должны быть определены:
1) разрушающая нагрузка для каждого из трех образцов Р1, Р2, Р3;
2) минимальное значение разрушающей нагрузки Рmin из числа Р1, Р2, P3.
Значения разрушающей нагрузки P1, Р2, P3 должны быть округлены до ближайшего целого числа и занесены в протокол по форме приложения 3.
3.32. Партия готовой продукции по результатам испытания крестообразных соединений на срез подлежит приемке если Pmin ³ Pср, принимаемой по п. 2.16.
При несоблюдении этого условия производят повторную выборку контрольных образцов в количестве 6 шт. и их испытание Если в результате повторного испытания указанное условие не соблюдается, то партию бракуют.
3.33. По результатам механических испытаний образцов на разупрочнение арматурной стали контактной точечной или дуговой сваркой прихватками (пп. 2.18 и 2.19) должны быть определены и вычислены:
1) разрывное усилие для проволоки класса Вр-I - P1, P2, P3;
2) Рmin - минимальное значение разрывного усилия из числа Р1, Р2, Р3;
3) предел прочности для горячекатаной или термомеханически упрочненной арматурной стали s1, s2, s3;
4) smin - минимальное значение предела прочности из числа s1, s2, s3.
Предел прочности s1, s2, s3 вычисляют и округляют в соответствии с указаниями п. 3.27.
Значения Р1, Р2, Р3, Pmin и значения s1, s2, s3, smin заносят в протокол по форме приложения 4.
3.34. Партию арматурных изделий по результатам испытаний на разупрочнение арматурной стали принимают, если соблюдаются условия:
Pmin ≥ Pp и σmin ≥ σв,
где Pр - по п. 2.18;
sв - по п. 2.19.
При несоблюдении этих условии производят повторную выборку образцов в количестве 6 шт. Если в результате повторных испытании указанные условия не соблюдаются, то партию бракуют.
3.35. Каждая партия товарных арматурных и закладных изделий, поставляемых за пределы предприятия-изготовителя, должна сопровождаться документом о качестве, в котором указывают:
наименование и адрес предприятия-изготовителя;
номер и дату выдачи документа;
номер партии;
наименование изделий с указанием их марок и числа в партии;
дату изготовления.
Документ о качестве должен быть подписан работником, ответственным за приемочный контроль.
4.1. Размеры арматурных и закладных изделий и сварных соединений проверяют измерительными инструментами: рулетками по ГОСТ 7502, измерительными линейками по ГОСТ 427, штангенциркулями по ГОСТ 166, поверенными в установленном порядке. Погрешность измерений - до 1,0 мм. Допускается применять специальные линейки, рейки, шаблоны, скобы и другие измерительные приспособления, отвечающие требованиям ГОСТ 8.326 и обеспечивающие измерение с указанной погрешностью.
4.2. Расстояние между парой стержней измеряют в свету. Номинальное расстояние между стержнями определяют как сумму расстояний между ними в свету и полусумму номинальных диаметров этих стержней.
Расстояния между стержнями измеряют в трех точках: у концов стержней и в средней их части.
4.3. Отклонение от линейных размеров выпусков стержней в арматурных изделиях проверяют путем измерения наибольшего и наименьшего расстояний от торцов стержней - выпусков до ближайшей точки на поверхности стержня другого направления.
4.4. Отклонение от номинального расстояния между наружными поверхностями плоских элементов закладных изделий закрытого типа проверяют в четырех точках по углам плоских элементов.
4.5. Отклонение от плоскостности наружных лицевых поверхностей плоских элементов закладных изделий проверяют путем измерения наибольшего расстояния от точек реальной поверхности до прилегающей плоскости.
4.6. Отклонение от перпендикулярности анкерных стержней проверяют путем измерения наибольшего зазора между ребром поверочного угольника 90° по ГОСТ 3749, установленного на плоский элемент закладного изделия, и ближайшей точкой на поверхности стержня.
4.7. Отклонение от соосности, перелом осей стержней арматуры в стыковых соединениях, а также отклонения от створности накладок из стержней и стыкуемых стержней определяют с помощью металлической рейки и измерительной линейки. Рейка в случае измерения отклонений от соосности должна иметь вырез для обхода грата, утолщения наплавленного металла или стальной скобы-накладки в месте сварки.
4.8. Наружный осмотр наплавленного металла в сварных соединениях должен производиться с помощью лупы четырехкратного увеличения по ГОСТ 25706.
4.9. Осадку стержней и их смятие электродами в крестообразных соединениях, выполненных контактной точечной сваркой, следует измерять штангенциркулем и вычислять с погрешностью до 0,1 мм в соответствии с ГОСТ 14098.
4.10. Механические испытания контрольных образцов сварных соединений проводят с использованием разрывных машин любых систем, отвечающих требованиям ГОСТ 7855.
Скорость нагружения образцов - по ГОСТ 12004.
4.11. Контрольные образцы стыковых соединений стержней испытывают на растяжение при расстоянии между захватами разрывной машины не менее 20 диаметров стержня, если диаметр стержней не превышает 25 мм, и не менее 10 диаметров при стержнях большего диаметра.
4.12. Уменьшение исходного диаметра стержня вместе разрыва при испытании образцов стыковых соединений стержней из арматурной стали класса Ат-V измеряют штангенциркулем с погрешностью до 0,1 мм.
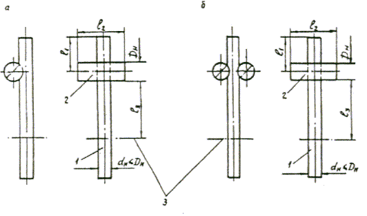
4.13. Контрольные образцы крестообразных соединений, подлежащие механическим испытаниям на срез, должны иметь размеры, указанные на схеме черт. 1 и в табл. 5.
Форма и размеры образцов для испытания крестообразных соединений на срез
а - односрезное соединение; б - двухсрезное соединение; 1, 2 - стержни арматуры; 3 - граница закрепления в захвате разрывной машины
Черт. 1
Таблица 5
мм
|
l1 |
l2 |
l3, не менее |
|
|
3 - 10 12 -25 28 - 40 Св. 40 |
15 - 50 25 - 40 40 - 60 100 - 150 |
80 80 100 200 |
20dн 15dн 10dн 10dн |
Примечание. dн - номинальный диаметр арматуры.
4.14. Образцы крестообразных соединений испытывают на разрывных машинах по схемам, указанным на черт. 2. По схеме черт. 2, а должно быть обеспечено прочное закрепление стержня диаметром Dн, исключающее возможность его поворота вокруг своей оси. При испытании должна быть обеспечена также возможность свободного перемещения стержня диаметром dн под действием усилия Р. Отгибание ненагруженного конца стержня диаметром dн в сторону, противоположную сварному соединению, не допускается. Сжим, расположенный со стороны нагруженного усилием P стержня, должен иметь вырез, обеспечивающий свободное перемещение стержня диаметром dн под действием этого усилия. Зазор между боковыми стенками выреза и гратом в сварном соединении принимают 2 - 3 мм.
Схема испытаний крестообразных соединений на срез
а - односрезное соединение; б - двухсрезное соединение; 1, 2 - стержни арматуры; 3 - сжимы; 4 - упор, препятствующий отгибу конца стержня 1; P - испытательная нагрузка
Черт. 2
4.15. Образцы сварных тавровых соединений арматурных стержней с плоскими элементами закладных изделий следует испытывать на отрыв стержня от плоского элемента по схеме черт. 3 при расстоянии между сварным соединением и захватом разрывной машины не менее 10 номинальных диаметров стержня. Радиус сферы вкладыша принимают 150 - 200 мм, радиус отверстия по вкладыше - не более диаметра стержня.
Схема испытания тавровых соединений анкерных стержней закладных изделий на отрыв
1 - сферическая опора; 2 - сферический вкладыш; 3 - сменное опорное кольцо; 4 - плоский элемент закладного изделия; 5 - анкерный стержень; 6 - граница закрепления в захвате разрывной машины; dн - номинальный диаметр анкерного стержня; Р - испытательная нагрузка
Черт. 3
4.16. Образцы нахлесточных соединений арматурных стержней с плоскими элементами закладных изделий испытывают на срез по схеме черт. 4.
Схема испытания нахлесточных соединений анкерных стержней закладных изделий на срез
1 - сферическая опора; 2 - сферический вкладыш; 3 - сменное опорное кольцо; 4 - плоский элемент закладного изделия; 5 - анкерный стержень; 6 - упор, препятствующий изгибу образца; 7 - граница закрепления в захватах разрывной машины; dн - номинальный диаметр анкерного стержня; Р - испытательная нагрузка
Черт. 4
4.17. Образцы крестообразных соединений для проверки величины разупрочнения основного металла рабочей арматуры сваркой должны иметь форму и размеры, указанные на черт. 5.
При недостаточной длине стержня рабочей арматуры допускается испытывать образцы с двумя и более поперечными стержнями.
Схема и размеры образцов для испытания рабочей арматуры на разупрочнение сваркой
1 - граница закрепления в захватах разрывной машины; 2 - стержень рабочей арматуры; dн - номинальный диаметр рабочей арматуры; P - испытательная нагрузка
Черт. 5
5.1. Арматурные и закладные изделия должны транспортироваться с соблюдением мер, исключающих появление остаточных деформаций в стержнях и механические повреждения изделий.
5.2. Плоские сварные арматурные сетки и каркасы следует транспортировать в горизонтальном положении связанными в пакеты.
Пакет должен состоять из изделий одной марки.
Массу пакета устанавливает предприятие-изготовитель.
5.3. Закладные изделия транспортируют в контейнерах (ящиках) рассортированными по маркам. В каждом контейнере (ящике) должны находиться изделия одной марки.
5.4. Арматурные и закладные изделия в пределах одного предприятия транспортируют наличными средствами.
5.5. Арматурные и закладные изделия, поставляемые за пределы предприятия-изготовителя, транспортируют автомобильным или железнодорожным транспортом в соответствии с правилами перевозок грузов, действующими на транспорте данного вида, а также техническими условиями погрузки и крепления грузов, утвержденными Министерством путей сообщения СССР.
Транспортирование по железной дороге производится повагонными или мелкими отправками в открытых или закрытых вагонах.
Загрузка и выгрузка вагонов должна осуществляться механизированным способом: открытых - кранами, крытых - автопогрузчиками.
При мелких отправках в крытых вагонах партиями не более 10 т для предохранения транспортных средств и грузов от механических повреждений рулоны арматурных сеток и их торцы должны быть обернуты бумагой по ГОСТ 8828 и упаковочной тканью по ГОСТ 5530 или другими упаковочными материалами, не ухудшающими качество упаковки.
5.6. Транспортная маркировка должна содержать основные, дополнительные и информационные надписи по ГОСТ 14192.
5.7. Способы выполнения погрузочно-разгрузочных работ должны соответствовать предусмотренным правилами техники безопасности.
5.8. Арматурные и закладные изделия должны храниться в крытых помещениях.
Пакеты плоских арматурных сеток и каркасов следует хранить раздельно по маркам в штабелях высотой не более 2 м. Рулоны сеток должны складироваться не более чем в три яруса.
При складировании между штабелями изделий должен быть обеспечен свободный проход шириной не менее 0,5 м.

а, б, в, г - закладные изделия открытого типа (соответственно с перпендикулярным, параллельным, наклонным и смешанным расположением анкерных стержней); д - закладное изделие закрытого типа (с перпендикулярным расположением анкерных стержней); 1 - анкерные стержни; 2 - плоский элемент
Черт. 6
Данные о месте проведения сварочных работ ____________________________________ Фамилия, имя, отчество сварщика, квалификационный разряд _____________________ Тип соединения по ГОСТ 14098 _______________________________________________ Объем партии, число изделий _________________________________________________ Номер выборки _____________________________________________________________ Диаметр(ы) и класс арматурной стали __________________________________________ Марка сварочного материала _________________________________________________ Площадь поперечного сечения стержня, мм2, к которому прикладывают контрольную нагрузку ___________________________________________________________________
ЗАКЛЮЧЕНИЕ. Испытанные сварные соединения ____________ требованиям ГОСТ 10922. Партия сварных соединений _______________________________________ Начальник контролирующего подразделения ______________________________________________________________ (фамилия, имя, отчество) Испытания проводил ________________________________________________________ (фамилия, имя, отчество)
|
||||||||||||||||||||
Данные о месте проведения сварочных работ ____________________________________ Фамилия, имя, отчество сварщика, квалификационный разряд _____________________ Объем партии, число изделий _________________________________________________ Номер выборки _____________________________________________________________ Диаметр арматурной проволоки, мм, к которой прикладывают контрольную нагрузку __________________________________________
Pmin гН (кгс) ЗАКЛЮЧЕНИЕ. Испытанные крестообразные сварные соединения с нормируемой прочностью ____________________ требованиям ГОСТ 10922. Партия сварных соединений ______________________ Начальник контролирующего подразделения ____________________________________ (фамилия, имя, отчество) Испытания проводил ________________________________________________________ (фамилия, имя, отчество)
|
Данные о месте проведения сварочных работ ____________________________________ Фамилия, имя, отчество сварщика, квалификационный разряд _____________________ Объем партии, число изделий _________________________________________________ Номер выборки _____________________________________________________________ Диаметр(ы) и класс арматурной стали __________________________________________ Марка сварочных материалов _________________________________________________ Площадь поперечного сечения стержня, мм2 ____________________________________
Для проволоки класса Вр-I - Pmin ______________________ Н(кгс) Для стержневой арматурной стали smin _________________ Н/мм2 (кгс/мм2) ЗАКЛЮЧЕНИЕ. Испытанные соединения ______________ требованиям ГОСТ 10922. Партия сварных соединений по результатам испытаний на разупрочнение арматурной стали _______________________________ Начальник контролирующего подразделения ____________________________________ (фамилия, имя, отчество) Испытания проводил ________________________________________________________ (фамилия, имя, отчество)
|
мм
|
Интервал номинального размера |
Значение допуска для класса точности |
|||
|
5 |
6 |
7 |
8 |
|
|
До 60 |
2,0 |
3,0 |
5 |
8 |
|
Св. 60 до 120 |
2,4 |
4,0 |
6 |
10 |
|
" 120 " 250 |
3,0 |
5,0 |
8 |
12 |
|
" 250 " 500 |
4,0 |
6,0 |
10 |
16 |
|
" 500 " 750 |
5,0 |
8,0 |
12 |
20 |
|
" 750 " 1000 |
6,0 |
10,0 |
16 |
24 |
|
" 1000 " 1500 |
8,0 |
12,0 |
20 |
30 |
|
" 1500 " 2000 |
10,0 |
16,0 |
24 |
40 |
|
" 2500 " 3000 |
12,0 |
20,0 |
30 |
50 |
|
" 3500 " 4000 |
16,0 |
24,0 |
40 |
60 |
|
" 4000 " 4500 |
20,0 |
30,0 |
50 |
80 |
Примечание. Допуски определяют как сумму абсолютных значений предельных отклонений линейных размеров железобетонной конструкции.
ИНФОРМАЦИОННЫЕ ДАННЫЕ
1. РАЗРАБОТАН И ВНЕСЕН Научно-исследовательским, проектно-конструкторским и технологическим институтом бетона и железобетона (НИИЖБ) Госстроя СССР
РАЗРАБОТЧИКИ:
И.Е. Евгеньев, канд. техн. наук (руководитель темы); А.М. Фридман, канд. техн. наук; Ф.И. Машленко, канд. техн. наук; Г.Г. Гурова; В.М. Скубко; Л.А. Зборовский; В.И. Пименова
2. УТВЕРЖДЕН И ВВЕДЕН В ДЕЙСТВИЕ Постановлением Государственного строительного комитета СССР от 18 мая 1990 г. № 45
3. ВЗАМЕН ГОСТ 10922-75
4. ССЫЛОЧНЫЕ НОРМАТИВНО-ТЕХНИЧЕСКИЕ ДОКУМЕНТЫ
|
Обозначение НТД, на который дана ссылка |
Номер пункта, подпункта, приложения |
|
ГОСТ 5530-81 |
|
|
ГОСТ 7502-89 |
|
|
ГОСТ 7855-84 |
|
|
ГОСТ 10884-81 |
|
|
ГОСТ 14098-85 |
1.6; 1.7; 2.4, 2.7; 2.8; 2.11; 2.19; 3.4; 3.20; 4.9; приложение 2 |
|
ГОСТ 14192-77 |
|
|
ГОСТ 23838-79 |
|
|
ГОСТ 25706-83 |
|
СОДЕРЖАНИЕ