Нормативные документы размещены исключительно с целью ознакомления учащихся ВУЗов, техникумов и училищ.
Объявления:

ГОСУДАРСТВЕННЫЕ СТАНДАРТЫ СОЮЗА ССР

СВАИ ЗАБИВНЫЕ ЖЕЛЕЗОБЕТОННЫЕ

СВАИ ПОЛЫЕ КРУГЛОГО СЕЧЕНИЯ И СВАИ-ОБОЛОЧКИ ЖЕЛЕЗОБЕТОННЫЕ ЦЕЛЬНЫЕ С НЕНАПРЯГАЕМОЙ АРМАТУРОЙ

Конструкция и размеры

ГОСТ 19804.5-83

ИЗДАТЕЛЬСТВО СТАНДАРТОВ

МОСКВА

ГОСУДАРСТВЕННЫЙ СТАНДАРТ СОЮЗА ССР

СВАИ ПОЛЫЕ КРУГЛОГО СЕЧЕНИЯ И СВАИ-ОБОЛОЧКИ
ЖЕЛЕЗОБЕТОННЫЕ ЦЕЛЬНЫЕ С НЕНАПРЯГАЕМОЙ
АРМАТУРОЙ

Конструкция и размеры

Reinforced concrete round hole piles and pile-shells.
Structure and dimensions

ГОСТ
19804.5-83

Постановлением Государственного комитета СССР по делам строительства от 23 декабря 1982 г. № 296 срок введения установлен

с 01.07.83

Переиздание. Май 1995 г.

1. Настоящий стандарт распространяется на железобетонные цельные полые сваи диаметром от 400 до 800 мм, сваи-оболочки диаметром от 1000 до 1600 мм с ненапрягаемой продольной арматурой и устанавливает конструкцию и размеры полых свай круглого сечения, свай-оболочек и арматурных изделий к ним.

2. Железобетонные цельные полые сваи круглого сечения (далее - сваи) и сваи-оболочки с ненапрягаемой продольной арматурой должны удовлетворять требованиям ГОСТ 19804-91 и настоящего стандарта.

3. Сваи изготовляют с закрытым нижним концом (с наконечником) или с открытым нижним концом (без наконечника). Сваи-оболочки изготовляют с открытым нижним концом.

4. Обозначения марок свай и свай-оболочек должны соответствовать указанным в ГОСТ 19804-91. Марки свай с наконечником имеют в конце цифрового обозначения строчную букву «н», например СК15-40н.

5. Форма, марки, номинальные размеры свай и свай-оболочек, а также проектные марки бетона по прочности на сжатие должны соответствовать указанным на черт. 1, 2 и в табл. 1.

6. Условия расчета и применения свай и свай-оболочек даны в приложении.

7. Марка бетона по прочности на сжатие принимается в соответствии с требованиями ГОСТ 19804-91 и настоящего стандарта.

8. Марки бетона по морозостойкости и водонепроницаемости устанавливаются в соответствии с требованиями ГОСТ 19804-91.

9. Обвалы бетона с внутренней поверхности с обнажением арматуры не допускаются.

10. В качестве крупного и мелкого заполнителей для бетона свай и свай-оболочек следует применять фракционированный щебень из естественного камня и гравия с размерами фракций 10-20 мм и природный обогащенный песок, отвечающие требованиям ГОСТ 10268-80.

Применение гравия в качестве крупного заполнителя не допускается.

11. Сваи и сваи-оболочки армируются пространственными каркасами. В качестве продольной арматуры следует применять горячекатаную арматурную сталь классов A-I и A-III по ГОСТ 5781-82.

Для поперечного армирования следует применять проволоку класса B-I или Вр-I диаметром 5 мм по ГОСТ 6727-80.

12. Арматурные каркасы следует изготовлять на навивочно-сварочных станках. Спираль следует приваривать к продольным стержням в каждом третьем пересечении или в каждом пересечении через два витка на третий.

На расстоянии 0,5 м от концов каркаса спираль должна быть приварена в каждом пересечении к продольным стержням.

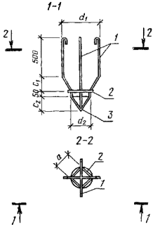
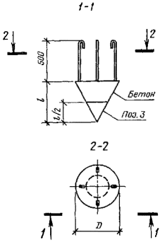
Свая без наконечника и свая-оболочка

1 – место строповки при выемке из опалубки и транспортировании (одинарная полоса); 2 – место строповки при подъеме на копер (двойная полоса)

Черт. 1

Свая с наконечником

1 – место строповки при выемке из опалубки и транспортировании (одинарная полоса); 2 – место строповки при подъеме на копер (двойная полоса)

Черт. 2

Таблица 1

Марка сваи и сваи-оболочки

Номинальные размеры, мм

Проектная марка бетона по прочности на сжатие

Объем бетона (справочный), м3

Масса сваи и сваи-оболочки (справочная), т

Расход стали на одну сваю, сваю-оболочку, кг

L

l1

l2

l

D

d

d

СК4-40

4000

-

-

-

400

240

80

М300

0,32

0,80

19,2

СК4-40н

400

0,34

0,85

19,6

СК5-40

5000

-

0,40

1,00

22,2

СК5-40н

400

0,42

1,05

22,6

СК6-40

6000

1200

1800

-

0,48

1,21

25,2

СК6-40н

400

0,50

1,26

25,6

СК7-40

7000

1450

2100

-

0,56

1,41

31,2

СК7-40н

400

0,58

1,46

31,6

СК8-40

8000

1650

2400

-

0,64

1,61

35,0

СК8-40н

400

0,66

1,66

35,4

СК9-40

9000

1900

2650

-

0,72

1,81

38,3

CK9-40н

400

0,74

1,86

38,7

СК10-40

10000

2100

2900

-

0,80

2,01

46,2

СК10-40н

400

0,82

2,06

46,6

СК11-40

11000

2300

3200

-

0,88

2,21

50,0

СК11-40н

400

0,90

2,26

50,4

СК12-40

12000

2500

3500

-

0,96

2,41

65,2

СК12-40н

400

0,98

2,46

65,6

СК13-40

13000

2700

3800

-

1,04

2,61

70,0

СК13-40н

400

1,06

2,66

70,4

СК14-40

14000

2900

4100

-

1,12

2,81

85,8

СК14-40н

400

1,14

2,86

86,2

СК15-40

15000

3100

4400

-

1,20

3,01

91,5

СК15-40н

400

1,22

3,06

91,9

СК16-40

16000

3300

4700

-

1,29

3,22

109,6

СК16-40н

400

1,31

3,27

110,0

СК17-40

17000

3500

5000

-

1,37

3,42

140,7

СК17-40н

400

1,39

3,47

141,1

СК18-40

18000

3700

5300

-

1,45

3,62

148,5

СК18-40н

400

1,47

3,67

148,9

СК4-50

4000

-

-

-

500

340

0,42

1,06

26,0

СК4-50н

500

0,45

1,14

25,9

СК5-50

5000

-

-

-

0,53

1,32

29,8

СК5-50н

500

0,56

1,40

29,7

СК6-50

6000

1200

1800

-

0,63

1,58

33,8

СК6-50н

500

0,66

1,66

33,7

СК7-50

7000

1450

2100

-

0,74

1,85

37,7

СК7-50н

500

0,77

1,93

37,6

СК8-50

8000

1650

2400

-

0,84

2,11

41,9

СК8-50н

500

0,87

2,19

41,8

СК9-50

9000

1900

2650

-

0,95

2,37

45,7

СК9-50н

500

0,98

2,45

45,6

СК10-50

10000

2100

2900

-

1,06

2,64

54,1

СК10-50н

500

1,09

2,72

54,0

СК11-50

11000

2300

3200

-

1,16

2,90

58,4

СК11-50н

500

1,19

2,98

58,3

СК12-50

12000

2500

3500

-

1,27

3,16

74,0

СК12-50н

500

1,30

3,24

73,9

СК13-50

13000

2700

3800

-

1,37

3,43

79,3

СК13-50н

500

1,40

3,51

79,2

СК14-50

14000

2900

4100

-

1,48

3,69

95,6

СК14-50н

500

1,51

3,77

95,5

СК15-50

15000

3100

4400

-

1,58

3,96

101,8

СК15-50н

500

1,61

4,04

101,7

СК16-50

16000

3300

4700

-

1,69

4,22

120,4

СК16-50н

500

1,72

4,30

120,3

СК17-50

17000

3500

5000

-

1,79

4,48

152,0

СК17-50н

500

1,82

4,56

151,9

СК18-50

18000

3700

5300

-

1,90

4,75

160,3

СК18-50н

500

1,93

4,83

160,2

СК4-60

4000

-

-

-

600

400

100

0,63

1,57

30,3

СК4-60н

600

0,69

1,71

29,8

СК5-60

5000

-

0,78

1,96

34,5

СК5-60н

600

0,84

2,10

34,0

СК6-60

6000

1200

1800

-

0,94

2,36

38,8

СК6-60н

600

1,00

2,50

38,3

СК7-60

7000

1450

2100

-

1,10

2,75

43,1

СК7-60н

600

1,16

2,89

42,6

СК8-60

8000

1650

2400

-

1,26

3,14

47,6

СК8-60н

600

1,32

3,28

47,1

СК9-60

9000

1900

2650

-

1,41

3,53

55,9

СК9-60н

600

1,47

3,67

54,4

СК10-60

10000

2100

2900

-

1,57

3,92

70,1

СК10-60н

600

1,63

4,06

69,6

СК11-60

11000

2300

3200

-

1,73

4,32

75,7

СК11-60н

600

1,76

4,46

75,2

СК12-60

12000

2500

3500

-

1,88

4,71

90,8

СК12-60н

600

1,94

4,85

90,3

СК13-60

13000

2700

3800

-

2,04

5,10

97,3

СК13-60н

600

2,10

5,24

96,8

СК14-60

14000

2900

4100

-

2,20

5,50

117,9

СК14-60н

600

2,26

5,64

117,4

СК15-60

15000

3100

4400

-

2,36

5,89

125,3

СК15-60н

600

2,42

6,03

124,8

СК16-60

16000

3300

4700

-

2,51

6,28

152,6

СК16-60н

600

2,57

6,42

152,1

СК17-60

17000

3500

5000

-

2,67

6,67

182,2

СК17-60н

600

2,73

6,81

181,7

СК18-60

18000

37010

5300

-

2,83

7,06

192,2

СК18-60н

600

2,89

7,20

191,7

СК4-80

4000

-

-

-

800

600

М400

0,88

2,20

45,6

СК4-80н

800

1,01

2,53

43,6

СК5-80

5000

-

1,10

2,75

51,8

СК5-80н

800

1,23

3,08

49,8

СК6-80

6000

-

-

 

1,32

3,30

57,8

СК6-80н

800

1,45

3,63

55,8

СК7-80

7000

 

1,54

3,85

64,0

СК7-80н

800

1,67

4,18

62,0

СК8-80

8000

 

 

-

1,76

4,40

86,9

СК8-80н

800

1,89

4,73

84,9

СК9-80

9000

1900

2650

-

1,98

4,94

95,2

СК9-80н

800

2,11

5,28

93,2

СК10-80

10000

2100

2900

-

2,20

5,50

103,4

СК10-80н

800

2,33

5,83

101,4

СК11-80

11000

2300

3200

-

2,42

6,04

120,3

СК11-80н

800

2,55

6,38

118,3

СК12-80

12000

2500

3500

-

2,64

6,59

129,2

СК12-8

800

2,77

6,93

127,2

СО6-100

6000

-

-

-

1000

760

120

1,99

4,97

131,6

СО7-100

7000

2,32

5,80

148,5

СО8-100

8000

2,65

6,63

165,4

CО9-100

9000

2,98

7,46

182,3

CО10-100

10000

3,32

8,29

199,3

СО11-100

11000

3,65

9,12

216,2

СО12-100

12000

3,98

9,95

233,1

СО6-120

6000

1200

960

2,44

6,10

140,1

CО7-120

7000

2,85

7,12

156,7

СO8-120

8000

3,26

8,14

173,2

СО9-120

9000

3,66

9,16

189,7

СО10-120

10000

4,07

10,17

206,3

СО11-120

11000

4,48

11,19

222,8

СО12-120

12000

4,88

12,21

239,4

CО6-160

6000

1600

1360

3,35

8,36

260,6

CО7-160

7000

3,90

9,76

292,9

CО8-160

8000

4,46

11,15

325,1

CО9-160

9000

5,02

12,55

357,4

CО10-160

10000

5,58

13,94

389,6

СО11-160

11000

6,13

15,34

421,9

CO12-160

12000

6,69

16,73

454,2

Примечание. Расход стали на одну сваю (сваю-оболочку) приведен при условии армирования проволокой класса B-I.

Допускается изготовлять арматурные каркасы на специализированных стендах с обязательной контактной точечной сваркой пересечений продольной и поперечной арматуры.

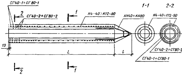
13. Сваи без наконечника и сваи-оболочки следует армировать в соответствии с черт. 3, а сваи с наконечником - в соответствии с черт. 4. Арматурные каркасы следует изготовлять в соответствии с черт. 5.

Армирование сваи без наконечника и сваи-оболочки

Черт. 3

Армирование сваи с наконечником

Черт. 4

Арматурные каркасы К4-40¸К12-160

Черт. 5

Спецификация арматурных изделий и выборка стали на одну сваю и сваю-оболочку приведены в табл. 2 и 3, ведомость стержней и выборка стали на один каркас сваи и сваи-оболочки - в табл. 4 и 5.

Таблица 2

Спецификация арматурных изделий на сваю и сваю-оболочку

Марка сваи и сваи-оболочки

Арматурный каркас (1 шт.)

Спираль головы

Каркас наконечника (1 шт.)

Марка

Кол.

СК4-40

К4-40

СГ40-1

2

-

СГ40-2

2

СК4-40н

СГ40-1

1

КН40

СГ40-2

1

СК5-40

К5-40

СГ40-1

2

-

СГ40-2

2

СК5-40н

СГ40-1

1

КН40

СГ40-2

1

СК6-40

К6-40

СГ40-1

2

-

СГ40-2

2

СК6-40н

СГ40-1

1

КН40

СГ40-2

1

СК7-40

К7-40

СГ40-1

2

-

СГ40-2

2

СК7-40н

СГ40-1

1

КН40

СГ40-2

1

СК8-40

К8-40

СГ40-1

2

-

СГ40-2

2

СК8-40н

СГ40-1

1

КН40

СГ40-2

1

СК9-40

К9-40

СГ40-1

2

-

СГ40-2

2

СК9-40н

СГ40-1

1

КН40

СГ40-2

1

СК10-40

К10-40

СГ40-1

2

-

СГ40-2

2

СК10-40н

СГ40-1

1

КН40

СГ40-2

1

СК11-40

К11-40

СГ40-1

2

-

СГ40-2

2

СК11-40н

СГ40-1

1

КН40

СГ40-2

1

СК12-40

К12-40

СГ40-1

2

-

СГ40-2

2

СК12-40н

СГ40-1

1

КН40

СГ40-2

1

СК13-40

К13-40

СГ40-1

2

-

СГ40-2

2

СК13-40н

СГ40-1

1

KH40

СГ40-2

1

СК14-40

К14-40

СГ40-1

2

-

СГ40-2

2

СК14-40н

СГ40-1

1

КН40

СГ40-2

1

СК15-40

К15-40

СГ40-1

2

-

СГ40-2

2

СК15-40н

СГ40-1

1

КН40

СГ40-2

1

СК16-40

К16-40

СГ40-1

2

-

СГ40-2

2

СК16-40н

СГ40-1

1

КН40

СГ40-2

1

СК17-40

КI7-40

СГ40-1

2

-

СГ40-2

2

СК17-40н

СГ40-1

1

КН40

СГ40-2

1

СК18-40

К18-40

СГ40-1

2

-

СГ40-2

2

СК18-40н

СГ40-1

1

КH40

СГ40-2

1

СК4-50

К4-50

СГ50-1

2

-

СГ50-2

2

СК4-50н

СГ50-1

1

КH50

СГ50-2

1

СК5-50

К5-50

СГ50-1

2

-

СГ50-2

2

СК5-50н

СГ50-1

1

КH50

СГ50-2

1

СК6-50

К6-50

CГ50-1

2

-

СГ50-2

2

СК6-50н

СГ50-1

1

КH50

СГ50-2

1

СК7-50

К7-50

СГ50-1

2

-

СГ50-2

2

СК7-50н

CГ50-1

1

КH50

СГ50-2

1

СК8-50

К8-50

СГ50-1

2

-

СГ50-2

2

СК8-50н

СГ50-1

1

КH50

СГ50-2

1

СК9-50

К9-50

СГ50-1

2

-

СГ50-2

2

СК9-50н

CГ50-1

1

КH50

СГ50-2

1

СК10-50

К10-50

СГ50-1

2

-

СГ50-2

2

СК10-50н

СГ50-1

1

КH50

СГ50-2

1

СК11-50

К11-50

СГ50-1

2

-

СГ50-2

2

СК11-50н

СГ50-1

1

КH50

СГ50-2

1

СК12-50

К12-50

СГ50-1

2

-

СГ50-2

2

СК12-50н

СГ50-1

1

КH50

СГ50-2

1

СК13-50

К13-50

СГ50-1

2

-

СГ50-2

2

СК13-50н

СГ50-1

1

КH50

СГ50-2

1

СК14-50

К14-50

СГ50-1

2

-

СГ50-2

2

СК14-50н

СГ50-1

1

КН50

СГ50-2

1

СК15-50

К15-50

СГ50-1

2

-

СГ50-2

2

СК15-50н

СГ50-1

1

КН50

СГ50-2

1

СК16-50

К16-50

СГ50-1

2

-

СГ50-2

2

СК16-50н

СГ50-1

1

КН50

СГ50-2

1

СК17-50

К17-50

СГ50-1

2

-

СГ50-2

2

СК17-50н

СГ50-1

1

КН50

СГ50-2

1

СК18-50

К18-50

СГ50-1

2

-

СГ50-2

2

СК18-50н

СГ50-1

1

КН50

СГ50-2

1

СК4-60

К4-60

СГ60-1

2

-

СГ60-2

2

СК4-60н

СГ60-1

1

КН60

СГ60-2

1

СК5-60

К5-60

СГ60-1

2

-

СГ60-2

2

СК6-60н

СГ60-1

1

КН60

СГ60-2

1

СК6-60

К6-60

СГ60-1

2

-

СГ60-2

2

СК6-60н

СГ60-1

1

КН60

СГ60-2

1

СК7-60

К7-60

СГ60-1

2

-

СГ60-2

2

СК7-60н

СГ60-1

1

КН60

СГ60-2

1

СК8-60

К8-60

СГ60-1

2

-

СГ60-2

2

СК8-60н

СГ60-1

1

КН60

СГ60-2

1

СК9-60

К9-60

СГ60-1

2

-

СГ60-2

2

СК9-60н

СГ60-1

1

КН60

СГ60-2

1

СК10-60

К10-60

СГ60-1

2

-

СГ60-2

2

СК10-60н

СГ60-1

1

КН60

СГ60-2

1

СК11-60

К11-60

СГ60-1

2

-

СГ60-2

2

СК11-60н

СГ60-1

1

КН60

СГ60-2

1

СК12-60

К12-60

СГ60-1

2

-

СГ60-2

2

СК12-60н

СГ60-1

1

КН60

СГ60-2

1

СК13-60

К13-60

СГ60-1

2

-

СГ60-2

2

СК13-60н

СГ60-1

1

КН60

СГ60-2

1

СК14-60

К14-60

СГ60-1

2

-

СГ60-2

2

СК14-60н

СГ60-1

1

КН60

СГ60-2

1

СК15-60

К15-60

СГ60.-1

2

-

СГ60-2

2

СК15-60н

СГ60-1

1

КН60

СГ60-2

1

СК16-60

К16-60

СГ60-1

2

-

СГ60-2

2

СК16-60н

СГ60-1

1

КН60

СГ60-2

1

СК17-60

К17-60

СГ60-1

2

-

СГ60-2

2

СК17-60н

СГ60-1

1

КН60

СГ60-2

1

СК18-60

К18-60

СГ60-1

2

-

СГ60-2

2

СК18-60н

СГ60-1

1

КН60

СГ60-2

1

СК4-80

К4-80

СГ80-1

2

-

СГ80-2

2

СК4-80н

СГ80-1

1

КН80

СГ80-2

1

СК5-80

К5-80

СГ80-1

2

-

СГ80-2

2

СК5-80н

СГ80-1

1

КН80

СГ80-2

1

СК6-80

К6-80

СГ80-1

2

-

СГ80-2

2

СК6-80н

СГ80-1

1

КН80

СГ80-2

1

СК7-80

К7-80

СГ80-1

2

-

СГ80-2

2

СК7-80н

СГ80-1

1

КН80

СГ80-2

1

СК8-80

К8-80

СГ80-1

2

-

СГ80-2

2

СК8-80н

СГ80-1

1

КН80

СГ80-2

1

СК9-80

К9-80

СГ80-1

2

-

СГ80-2

2

СК9-80н

СГ80-1

1

КН80

СГ80-2

1

СК10-80

К10-80

СГ80-1

2

-

СГ80-2

2

СК10-80н

СГ80-1

1

КН80

СГ80-2

1

СК11-80

К11-80

СГ80-1

2

-

СГ80-2

2

СК11-80н

СГ80-1

1

КН80

СГ80-2

1

СК12-80

К12-80

СГ80-1

2

-

СГ80-2

2

СК12-80н

СГ80-1

1

КН80

СГ80-2

1

CО6-100

К6-100

СГ100-1

2

-

СГ100-2

CО7-100

К7-100

СГ100-1

СГ100-2

CО8-100

К8-100

СГ100-1

СГ100-2

CО9-100

К9-100

СГ100-1

СГ100-2

СО10-100

К10-100

СГ100-1

СГ100-2

СО11-100

К11-100

СГ100-1

СГ100-2

СО12-100

К12-100

СГ100-1

СГ100-2

СО6-120

К6-120

СГ120-1

СГ120-2

СО7-120

К7-120

СГ120-1

СГ120-2

CO8-120

К8-120

СГ120-1

СГ120-2

CО9-120

К9-120

СГ120-1

СГ120-2

CО10-120

К10-120

СГ120-1

СГ120-2

СО11-120

К11-120

СГ120-1

СГ120-2

CO12-120

К12-120

СГ120-1

СГ120-2

CО6-160

К6-160

СГ160-1

СГ160-2

CО7-160

К7-160

СГ160-1

СГ160-2

CO8-160

К8-160

СГ160-1

СГ160-2

CО9-160

К9-160

СГ160-1

СГ160-2

CO10-160

К10-160

СГ160-1

СГ160-2

CO11-160

К11-160

СГ160-1

СГ160-2

CO12-160

К12-160

СГ160-1

СГ160-2

Таблица 3

Выборка стали на одну сваю и сваю-оболочку

Марка сваи и сваи-оболочки

Арматурная сталь

Листовая сталь по ГОСТ 19903-74, толщина 1 мм

Всего масса

по ГОСТ 5781-82

по ГОСТ 6727-80, класс В-I

Класс A-I

Класс A-III

Диаметр, мм

Масса, кг

Диаметр, мм

Масса, кг

Итого, кг

Диаметр, мм

Масса, кг

Диаметр, мм

Масса, кг

кг

СК4-40

6

5,3

8

-

5,3

-

-

5

13,9

-

19,2

СК4-40н

5,3

1,8

7,1

11,9

0,6

19,6

СК5-40

6,6

-

6,6

15,6,

-

22,2

СК5-40н

6,6

1,8

8,4

13,6

0,6

22,6

СК6-40

8,0

-

8,0

17,2

-

25,2

СК6-40н

8,0

1,8

9,8

1,5,2

0,6

25,6

СК7-40

12,4

-

12,4

18,8

-

31,2

СК7-40н

12,4

1,8

14,2

16,8

0,6

31,6

СК8-40

-

-

-

-

6

14,9

20,7

-

35,0

СК8-40н

1,8

1,8

14,9

18,7

0,6

35,4

СК9-40

-

-

15,9

22,3

-

38,3

СК9-40н

1,8

1,8

15,9

20,3

0,6

38,7

СК10-40

-

-

22,2

24,0

-

46,2

CК10-40н

1,8

1,8

22,2

22,0

0,6

46,6

CК11-40

-

-

24,4

25,6

-

50,0

CК11-40н

1,8

1,8

24,4

23,6

0,6

50,4

СК12-40

-

-

8

37,9

27,3

-

65,2

СК12-40н

1,8

1,8

37,9

25,3

0,6

65,6

СК13-40

-

-

41,0

29,0

-

70,0

СК13-40н

1,8

1,8

41,0

27,0

0,6

70,4

СК14-40

-

-

55,2

30,6

-

85,8

СК14-40н

1,8

1,8

55,2

28,6

0,6

86,2

СК15-40

-

-

59,2

32,3

-

91,5

СК15-40н

1,8

1,8

59,2

30,3

0,6

91,9

СК16-40

-

-

75,7

33,9

-

109,6

СК16-40н

1,8

1,8

75,7

31,9

0,6

110,0

СК17-40

-

-

10

104,8

35,9

-

140,7

СК17-40н

1,8

1,8

104,8

33,9

0,6

141,1

СК18-40

-

-

110,9

37,6

-

148,5

СК18-40н

1,8

1,8

110,9,

35,6

0,6

148,9

СК4-50

6

7,1

-

7,1

-

-

18,9

-

26,0

СК4-50н

7,1

2,0

9,1

15,9

0,9

25,9

СК5-50

8,8

-

8,8

21,0

-

29,8

СК5-50н

8,8

2,0

10,8

18,0

0,9

29,7

СК6-50

10,6

-

10,6

23,2

-

33,8

СК6-50н

10,6

2,0

12,6

20,2

0,9

33,7

CК7-50

12,4

-

12,4

25,3

-

37,7

СК7-50н

12,4

2,0

14,4

22,3

0,9

37,6

СК8-50

-

-

-

-

6

14,3

27,6

-

41,9

СК8-50н

2,0

2,0

14,3

24,6

0,9

41,8

СК9-50

-

-

15,9

29,7

-

45,7

СК9-50н

2,0

2,0

15,9

26,7

0,9

45,6

СК10-50

-

-

22,2

31,9

-

54,1

СК10-50н

2,0

2,0

22,2

28,9

0,9

54,0

СК11-50

-

-

24,4

34,0

-

58,4

СК11-50н

2,0

2,0

24,4

31,0

0,9

58,3

СК12-50

-

-

8

37,9

36,1

-

74,0

CК12-50н

2,0

2,0

37,9

33,1

0,9

73,9

СК13-50

-

-

41,0

38,3

-

79,3

СК13-50н

2,0

2,0

41,0

35,3

0,9

79,2

CК14-50

-

-

55,2

40,4

-

95,6

СК14-50н

2,0

2,0

55,2

37,4

0,9

95,5

СК15-50

-

-

59,2

42,6

-

101,8

СК15-50н

2,0

2,0

59,2

39, 6

0,9

101,7

СК16-50

-

-

75,7

44,7

-

120,4

СК16-50н

2,0

2,0

75,7

41,7

0,9

120,3

СК17-50

-

-

10

104,8

47,2

-

152,0

CК17-50н

2,0

2,0

104,8

44,2

0,9

151,0

CК18-50

-

-

110,9

49,4

-

160,3

СК18-50н

2,0

2,0

110,9

46,4

0,9

160,2

СК4-60

6

7,1

-

7,1

-

-

23,2

-

30,3

СК4-60н

7,1

2,2

9,3

19,2

1,3

29,8

СК5-60

8,8

-

8,8

25,7

-

34,5

СК5-60н

8,8

2,2

11,0

21,7

1,3

34,0

СК6-60

10,6

-

10,6

28,2

-

38,8

СК6-60н

10,6

2,2

12,8

24,2

1,3

38,3

СК7-60

12,4

-

12,4

30,7

-

43,1

СК7-60н

12,4

2,2

14,6

26,7

1,3

42,6

CК8-60

-

-

-

-

6

14,2

33,4

-

47,6

СК8-60н

2,2

2,2

14,2

29,4

1,3

47,1

СК9-60

-

-

19,9

36,0

-

55,9

СК9-60н

2,2

2,2

19,9

32,0

1,3

55,4

СК10-60

-

-

8

31,6

38,5

-

70,1

СК10-60н

2,2

2,2

31,6

34,5

1,3

69,6

СК11-60

-

-

34,7

41,0

-

75,7

СК11-60н

2,2

2,2

34,7

37,0

1,3

75,2

СК12-60

-

-

47,3

43,5

-

90,8

CК12-60н

2,2

2,2

47,3

39,5

1,3

90,3

СК13-60

-

-

51,3

46,0

-

97,3

СК13-60н

2,2

2,2

51,3

42,0

1,3

96,8

СК14-60

-

-

10

69,0

48,9

-

117,9

СК14-60н

2,2

2,2

69,0

44,9

1,3

117,4

СК15-60

-

-

73,9

51,4

-

125,3

CК15-60н

2,2

2,2

73,9

47,4

1,3

124,8

СК16-60

-

-

98,6

54,0

-

152,6

СК16-60н

2,2

2,2

98,6

50,0

1,3

152,1

СК17-60

-

-

125,7

56,5

-

182,2

СК17-60н

2,2

2,2

125,7

52,5

1,3

181,7

СК18-60

-

-

133,1

59,1

-

192,2

СК18-60н

2,2

2,2

133,1

55,1

1,3

191,7

СК4-80

6

10,6

-

10,6

-

 

35,0

-

45,6

СК4-80н

10,6

2,7

13,3

28,1

2,2

43,6

СК5-80

13,3

-

13,3

38,5

-

51,8

СК5-80н

13,3

2,7

16,0

31,6

2,2

49,8

СК6-80

15,9

-

15,9

41,9

-

57,8

СК6-80н

15,9

2,7

18,6

35,0

2,2

55,8

СК7-80

18,6

-

18,6

45,4

-

64,0

СК7-80н

18,6

2,7

21,3

38,5

2,2

62,0

CК8-80

-

-

37,8

37,8

49,1

-

86,9

СК8-80н

40,5

40,5

42,2

2,2

84,9

СК9-80

42,6

42,6

52,6

-

95,2

СК9-80н

45,3

45,3

45,7

2,2

93,2

СК10-80

47,3

47,3

56,1

-

103,4

СК10-80н

50,0

50,0

49,2

2,2

101,4

СК11-80

-

-

8

60,7

59,6

-

120,3

СК10-80н

2,7

2,7

60,7

52,7

2,2

118,3

CК12-80

-

-

66,2

63,0

-

129,2

CК12-80н

2,7

2,7

66,2

56,1

2,2

127,2

CО6-100

-

-

-

12

74,3

57,3

-

131,6

CО7-100

86,8

61,7

148,5

C08-100

99,2

66,2

165,4

CО9-100

111,6

70,7

182,3

CО10-100

124,1

75,2

199,3

CO11-100

136,5

79,7

216,2

СО12-100

148,9

84,2

233,1

СО6-120

10

66,4

73,7

140,1

CО7-120

77,5

79,2

156,7

CО8-120

88,6

84,6

173,2

CО9-120

99,7

90,0

189,7

CO10-120

110,8

95,5

206,3

CO11-120

121,9

100,9

222,8

CO12-120

133,0

106,4

239,4

CО6-160

12

148,7

111,9

260,6

CО7-160

173,6

119,3

292,9

CО8-160

198,4

126,7

325,1

CО9-160

223,3

134,1

357,4

CO10-160

248,1

141,5

389,6

СО11-160

273,0

148,9

421,9

CО12-160

297,9

156,3

454,2

Таблица 4

Ведомость стержней на один каркас сваи и сваи-оболочки

Марка каркаса

Поз.

Эскиз

Диаметр, мм, класс

Размеры, мм

Кол.

L-20

D1

с

К4-40

1

6AI

3980

-

171

6

2

5BI

64690

337

-

1

К5-40

1

6AI

4980

-

171

6

2

5BI

75320

337

-

1

К6-40

1

6AI

5980

-

171

6

2

5BI

85950

337

-

1

К7-40

1

6AI

6980

-

128

8

2

5BI

96570

337

-

1

К8-40

1

6AI

7980

-

129

8

2

5BI

108470

337

-

1

К9-40

1

6AI

8980

-

129

8

2

5BI

119220

337

-

1

К10-40

1

6AI

9980

-

129

10

2

5BI

129980

337

-

1

К11-40

1

6AI

10980

-

129

10

2

5BI

140730

337

-

1

К12-40

1

8AIII

11980

-

128

8

2

5BI

151480

341

-

1

К13-40

1

8AIII

12980

-

129

8

2

5BI

162240

341

-

1

К14-40

1

8AIII

13980

-

103

10

2

5BI

172990

341

-

1

К15-40

1

8AIII

14980

-

103

10

2

5BI

183750

341

-

1

К16-40

1

8AIII

15980

-

86

12

2

5BI

194500

341

-

1

К17-40

1

10AIII

16980

-

104

10

2

5BI

207640

345

-

1

К18-40

1

10AIII

117980

-

104

10

2

5BI

218520

345

-

1

К4-50

1

6AI

31980

-

167

8

2

5BI

83810

437

-

1

К5-50

1

6AI

4980

-

167

8

2

5BI

97570

437

-

1

К6-50

1

6AI

5980

-

167

8

2

5BI

111330

437

-

1

К7-50

1

6AI

6980

-

167

8

2

5BI

125080

437

-

1

К8-50

1

6AI

7980

-

168

8

2

5BI

140110

437

-

1

К9-50

1

6AIII

8980

-

168

8

2

5BI

153990

437

-

1

К10-50

1

6AIII

9980

-

168

10

2

5BI

167880

437

-

1

К11-50

1

6AIII

10980

-

168

10

2

5BI

181760

437

-

1

К12-50

1

8AIII

11980

-

168

8

2

5BI

195640

441

-

1

К13-50

1

8AIII

12980

-

168

8

1

5BI

209530

441

-

1

К14-50

1

8AIII

13980

-

134

10

2

5BI

223410

441

-

1

К15-50

1

8AIII

14980

-

134

10

2

5BI

237290

441

-

1

К16-50

1

8AIII

15980

-

112

12

2

5BI

251180

441

-

1

К17-50

1

10AIII

16900

-

135

10

2

5BI

267450

445

-

1

К18-50

1

10AIII

17980

-

135

10

2

5BI

281460

445

-

1

К4-60

1

6AI

3980

-

199

8

2

5BI

99120

517

-

1

К5-60

1

6AI

4980

-

199

8

2

5BI

115380

517

-

1

К6-60

1

6AI

5980

-

199

8

2

5BI

131650

517

-

1

К7-60

1

6AI

6980

-

159

8

2

5BI

147910

517

-

1

К8-60

1

6AIII

7980

-

199

8

2

5BI

165440

517

-

1

К9-60

1

6AIII

8980

-

160

10

2

5BI

181830

517

-

1

К10-60

1

8AIII

9980

-

160

8

2

5BI

198220

521

-

1

К11-60

1

8AIII

10980

-

160

8

2

5BI

214610

521

-

1

К12-60

1

8AIII

11980

-

160

10

2

5BI

231000

521

-

1

К13-60

1

8AIII

12980

-

160

10

2

5BI

247390

521

-

1

К14-60

1

10AIII

13980

-

200

8

2

5BI

265800

525

-

1

К15-60

1

10AIII

14980

-

200

8

2

5BI

282320

525

-

1

К16-60

1

10AIII

15980

-

160

10

2

5BI

298830

525

-

1

К17-60

1

10AIII

16980

-

133

12

2

5BI

315350

525

-

1

К18-60

1

10AIII

17980

-

133

12

2

5BI

331920

525

-

1

К4-80

1

6AI

3980

-

185

12

2

5BI

137400

717

-

1

К5-80

1

6AI

4980

-

185

12

2

5BI

159940

717

-

1

К6-80

1

6AI

5980

-

185

12

2

5BI

182470

717

-

1

К7-80

1

6AI

6980

-

185

12

2

5BI

205010

717

-

1

К8-80

1

8AI

7980

-

185

12

2

5BI

228810

721

-

1

К9-80

1

8AI

8980

-

185

12

2

5BI

251470

721

-

1

К10-80

1

8AI

9980

-

185

12

2

5BI

274130

721

-

1

К11-80

1

8AIII

10980

-

159

14

2

5BI

296800

721

-

1

К12-80

1

8AIII

11980

-

159

14

2

5BI

319460

721

-

1

К6-100

1

12AIII

5980

-

205

14

2

5BI

236370

897

-

1

К7-100

1

12AIII

6980

-

205

14

2

5BI

265550

897

-

1

К8-100

1

12AIII

7980

-

205

14

2

5BI

294740

897

-

1

К9-100

1

12AIII

8980

-

205

14

2

5BI

323930

897

-

1

К10-100

1

12AIII

9980

-

205

14

2

5BI

353120

897

-

1

К11-100

1

12AIII

10980

-

205

14

2

5BI

382310

897

-

1

К12-100

1

12AIII

11980

-

205

14

2

5BI

411490

897

-

1

К6-120

1

10AIII

5980

-

194

18

2

5BI

286200

1093

-

1

К7-120

1

10AIII

6980

-

194

18

2

5BI

321540

1093

-

1

К8-120

1

10АIII

7980

-

194

18

 

2

5BI

356880

1093

-

1

К9-120

1

10АIII

8980

-

194

18

 

2

5BI

392220

1093

-

1

К10-120

1

10АIII

9980

-

194

18

 

2

5BI

407560

1093

-

1

К11-120

1

10АIII

10980

-

194

18

 

2

5BI

462900

1093

-

1

К12-120

1

10АIII

11980

-

194

18

 

2

5BI

498240

1093

-

1

К6-160

1

12АIII

5980

-

170

28

 

2

5BI

388940

1497

-

1

К7-160

1

10АIII

6980

-

170

28

 

2

5BI

436960

1497

-

1

К8-160

1

10АIII

7980

-

170

28

 

2

5BI

484980

1497

-

1

К9-160

1

10АIII

8980

-

170

28

 

2

5BI

533000

1497

-

1

К10-160

1

10АIII

9980

-

170

28

 

2

5BI

581020

1497

-

1

К11-160

1

10АIII

10980

-

170

28

 

2

5BI

629040

1497

-

1

К12-160

1

10АIII

11980

-

170

28

 

2

5BI

77060

1497

-

1

Примечание. Размеры каркасов сваи и сваи-оболочки обозначены на черт. 5.

Таблица 5

Выборка стали на один каркас сваи и сваи-оболочки

Марка каркаса

Арматурная сталь

Всего масса, кг

по ГОСТ 5781-82

по ГОСТ 6727-80, класс В-I

Класс A-I

Класс А-III

Диаметр, мм

Масса, кг

Диаметр, мм

Масса, кг

Диаметр, мм

Масса, кг

К4-40

К5-40

К6-40

К7-40

6

5,3

6,6

8,0

12,4

-

-

5

9,9

11,6

13,2

14,8

15,2

18,3

21,2

27,2

К8-40

К9-40

К10-40

К11-40

-

-

6

14,3

15,9

22,2

24,4

16,7

18,3

20,0

21,6

31,0

34,1

42,2

46,0

К12-40

К13-40

К14-40

К15-40

К16-40

-

37,9

41,0

55,2

59,2

75,7

23,3

25,0

26,6

28,3

29,9

61,2

66,0

81,8

87,5

105,6

К17-40

К18-40

10

104,8

110,9

31,9

33,6

136,7

144,5

К4-50

К5-50

К6-50

К7-50

6

7,1

8,8

10,6

12,4

-

-

12,9

15,0

17,2

19,3

20,0

23,8

27,8

31,7

К8-50

К9-50

К10-50

К11-50

-

-

6

14,3

15,9

22,2

24,4

21,6

23,7

25,9

28,0

35,9

39,6

48,1

52,4

К12-50

К13-50

К14-50

К15-50

К16-60

8

37,9

41,0

55,2

59,2

75,7

30,1

32,3

34,4

36,6

38,7

68,0

73,3

89,6

95,8

114,4

К17-50

К18-50

10

104,8

110,9

41,2

43,4

146,0

154,3

К4-60

К5-60

К5-60

К7-60

К8-60

К9-60

К10-60

К11-60

К12-60

К13-60

К14-60

К15-60

К16-60

К17-60

К18-60

6

7,1

8,8

10,6

12,4

-

-

15,2

17,7

20,2

22,7

22,3

26,5

30,8

35,1

-

-

6

14,2

19,9

31,6

34,7

47,3

51,3

69,0

73,9

98,6

125,7

133,1

25,4

28,0

30,5

33,0

35,5

38,0

40,9

43,4

46,0

48,5

51,1

39,6

47,9

62,1

67,7

82,8

89,3

109,9

117,3

144,6

174,2

184,2

8

10

К4-80

К5-80

К6-80

К7-80

К8-80

К9-80

К10-80

К11-80

К12-80

6

10,6

13,3

15,9

18,6

-

-

21,2

24,7

28,1

31,6

35,3

38,8

42,3

45,8

49,2

31,8

38,0

44,0

50,2

73,1

81,4

89,6

106,5

115,4

8

37,8

42,6

47,3

-

-

8

60,7

66,2

К6-100

К7-100

К8-100

К9-100

К10-100

К11-100

К12-100

12

74,3

86,8

99,2

111,6

124,1

136,5

148,9

36,5

40,9

45,4

49,9

54,4

58,9

63,4

110,8

127,7

144,6

161,5

178,5

195,4

212,3

К6-120

К7-120

К8-120

К9-120

К10-120

К11-120

К12-120

10

66,4

77,5

88,6

99,7

110,8

121,9

133,0

44,1

49,6

55,0

60,4

65,9

71,3

76,8

110,5

127,1

143,6

160,1

176,7

193,2

209,8

К6-160

К7-160

К8-160

К9-160

К10-160

К11-160

К12-160

12

148,7

173,6

198,4

223,3

248,1

278,0

297,9

59,9

67,3

74,7

82,1

89,5

96,9

104,3

208,6

240,9

273,1

305,4

337,6

369,9

402,2

14. Форма, номинальные размеры наконечников должны соответствовать указанным на черт. 6, 7 и в табл. 1. Марки каркасов наконечников приведены в табл. 2.

Для армирования наконечника свай следует применять арматурную сталь класса A-I по ГОСТ 5781-82 и листовую сталь по ГОСТ 19903-74.

Ведомость стержней и выборка стали на каркас наконечника приведены в табл. 6 и 7.

Наконечники свай СК4-40н¸СК12-80н

Черт. 6

Каркасы наконечников КН40-КН80

Черт. 7

Таблица 6

Ведомость стержней на один каркас наконечника

Марка каркаса наконечника

Поз.

Эскиз

Диаметр, мм, класс

Размеры, мм

Длина, мм

Кол.

c1

c2

d1

d2

a

R

КН40

1

8AI

150

170

310

190

-

-

1932

2

2

8AI

-

-

-

-

148

-

592

1

3

-

-

-

-

-

-

223

-

1

КН50

1

8AI

200

220

410

238

-

-

2154

2

2

8AI

-

-

-

-

183

-

732

1

3

-

-

-

-

-

-

279

-

1

КН60

1

8AI

250

270

490

288

-

-

2371

2

2

8AI

-

-

-

-

225

-

900

1

3

-

-

-

-

-

-

335

-

1

КН80

1

8AI

350

370

690

388

-

-

2818

2

2

8AI

-

-

-

-

298

-

1192

1

3

-

-

-

-

-

-

446

-

1

Таблица 7

Выборка стали на каркас наконечника

Марка каркаса

Арматурная сталь по ГОСТ 5781-82, диаметр 8 мм, класс A-I

Листовая сталь по ГОСТ 19903-74, толщина 1 мм

Всего масса

кг

КН40

1,8

0,6

2,4

КН50

2,0

0,9

2,9

КН60

2,2

1,3

3,5

КН80

2,7

2,2

4,9

Арматурные выпуски наконечников следует скреплять с продольной арматурой сваи точечной сваркой или вязальной проволокой. Наконечник следует устанавливать по шаблону.

15. Концы сваи без наконечника и сваи-оболочки должны быть усилены спиралями из проволоки класса B-I или Вр-I диаметром 5 мм по ГОСТ 6727-80.

Марки, ведомость стержней и выборка стали на спирали приведены в табл. 8.

Таблица 8

Ведомость стержней и выборка стали на спираль головы

Марка спирали

Эскиз

Диаметр, мм, класс

Длина заготовки l, мм

D2, мм

Кол. витков

Масса, кг

СГ40-1

СГ40-2

5ВI

7450

5100

395

270

6

1,2

0,8

СГ50-1

СГ50-2

10890

8140

495

370

7

1,7

1,3

СГ60-1

СГ60-2

114950

10810

595

430

8

2,3

1,7

СГ80-1

СГ80-2

24970

19790

795

630

10

3,8

3,1

СГ100-1

СГ100-2

37500

29770

995

790

12

5,8

4,6

СГ120-1

СГ120-2

52540

43530

1195

990

14

8,1

6,7

СГ160-1

СГ160-2

90150

78570

1595

1380

18

13,9

12,1

16. Все сварные соединения должны удовлетворять требованиям ГОСТ 14098-91, ГОСТ 10922-90 и СН 393-78.

17. Подъем свай и свай-оболочек следует производить захватами в местах, отмеченных на поверхности свай и свай-оболочек краской: в виде одинарной полосы - при транспортировании и выемке из опалубки на расстоянии l1 от торца, в виде двойной полосы - при подъеме на копер на расстоянии l2 от торца. Отметки наносят на двух противоположных сторонах поверхности свай и свай-оболочек, длина отметки должна быть не менее 10 см для полых свай и 20 см для свай-оболочек. Разметку мест захвата производят в соответствии с черт. 1, 2 и табл. 1. Краски должны быть несмываемыми. Конструкции захвата должны удовлетворять требованиям техники безопасности.

Сваи и сваи-оболочки, для которых не указаны места подъема при транспортировании и выемке из опалубки, разрешается поднимать за торцы при помощи захватов специальной конструкции.

При складировании и транспортировании прокладки под такие сваи и сваи-оболочки следует располагать на расстоянии 0,5 м от торцов.

18. Сваи длиной 6 м и более должны быть испытаны на раскрытие трещин путем укладки их на две опоры, расположенные по схеме, указанной на черт. 8.

Схема испытания свай

Черт. 8

После укладки сваи на две опоры через 10 мин производят осмотр ее верхней поверхности над опорами. Сваю считают выдержавшей испытание, если ширина раскрытия трещин не превышает 0,2 мм. Ширину раскрытия трещин измеряют с точностью до 0,05 мм.

Сваи-оболочки, изготовленные по чертежам, приведенным в настоящем стандарте, на раскрытие трещин не испытывают.

ПРИЛОЖЕНИЕ
Справочное

УСЛОВИЯ РАСЧЕТА И ПРИМЕНЕНИЯ СВАЙ И СВАЙ-ОБОЛОЧЕК

1. Сваи и сваи-оболочки, предусмотренные настоящим стандартом, рассчитаны на изгиб от усилий, возникающих при подъеме на копер за одну точку, расположенную от торца на расстоянии, равном 0,294 длины цилиндрической части сваи и сваи-оболочки, по прочности и по кратковременному раскрытию трещин до ат.кр = 0,3 мм. Коэффициент перегрузки к нагрузке от собственного веса не учитывают.

Коэффициент динамичности принят равным:

1,5 - при расчете по прочности;

1,25 - при расчете по раскрытию трещин.

2. Сваи-оболочки рассчитаны также на вибропогружение. Рекомендуемые марки вибропогружателей приведены в таблице.

Размеры свай-оболочек

Марки вибропогружателя

Наружный диаметр,

Длина, м

1000

6-12

ВП-3М

11200

1600

ВУ-1,6

3. При проектировании свайных фундаментов сваи и сваи-оболочки должны быть рассчитаны по прочности и раскрытию трещин на нагрузки, передаваемые на сваю или сваю-оболочку в строительный и эксплуатационный периоды. При этом допустимую ширину раскрытия трещин принимают в соответствии с требованиями СНиП II-21-75.

4. При проверке свай и свай-оболочек по прочности и раскрытию трещин до ат.дл = 0,3 мм на внецентренное сжатие от эксплуатационных нагрузок М и N допускается пользоваться графиками, приведенными на черт. 1-5 настоящего приложения.

На графиках приняты обозначения: N - нормальная сила, тс и М - изгибающий момент относительно оси сваи или сваи-оболочки, т×см, передаваемые на сваю или сваю-оболочку при эксплуатации здания и сооружения. Предполагается, что свая или свая-оболочка по всей длине находится в грунте, и ее продольный изгиб не учитывают.

5. После выбора длины и сечения сваи и сваи-оболочки (по геологическим условиям) устанавливают класс, диаметр и количество стержней продольной арматуры в соответствии с настоящим стандартом.

6. Если точка с координатами М и N лежит ниже кривой, соответствующей принятому армированию сваи или сваи-оболочки, то выбранная свая или свая-оболочка удовлетворяет расчету по прочности и раскрытию трещин на эксплуатационные нагрузки М и N, если точка лежит выше - не удовлетворяет.

Сваи диаметром 400 мм. Бетон М300

Черт. 1

Сваи диаметром 500 мм. Бетон М300

Черт. 2

Сваи диаметром 600 мм. Бетон М300

Черт. 3

Сваи диаметром 800 мм. Бетон М400

Черт. 4

Сваи-оболочки диаметром 1000, 1200, 1600 мм. Бетон М400

Черт. 5

2008-2013. ГОСТы, СНиПы, СанПиНы - Нормативные документы - стандарты.