
ГОСУДАРСТВЕННЫЙ СТАНДАРТ СОЮЗА ССР
КАМНИ БЕТОННЫЕ СТЕНОВЫЕ
ТЕХНИЧЕСКИЕ УСЛОВИЯ
ГОСТ 6133-84
Комитет стандартизации и метрологии СССР
Содержание
|
1. ТИПЫ, ОСНОВНЫЕ ПАРАМЕТРЫ И РАЗМЕРЫ 5. МАРКИРОВКА, ХРАНЕНИЕ И ТРАНСПОРТИРОВАНИЕ 3. Химические добавки, рекомендуемые для приготовления бетонов 4. Пигменты для получения цветных камней
|
ГОСУДАРСТВЕННЫЙ СТАНДАРТ СОЮЗА ССР
|
КАМНИ БЕТОННЫЕ
СТЕНОВЫЕ Concrete wall stones. Specifications |
ГОСТ 6133-84 Взамен |
Постановлением Государственного комитета СССР по делам строительства от 30 декабря 1983 г. № 246 срок введения установлен
с 01.07.85
Настоящий стандарт распространяется на полнотелые и пустотелые, рядовые и лицевые стеновые камни (далее - камни), изготовленные вибропрессованием, литьем или другими способами из легких и тяжелых бетонов на цементном, известковом, шлаковом и гипсовом вяжущих, твердеющих в естественных условиях, при пропаривании или автоклавной обработке.
Камни применяют в соответствии со строительными нормами и правилами для несущих и ограждающих конструкций жилых, общественных, промышленных и сельскохозяйственных зданий, в основном при малоэтажном строительстве.
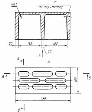
1.1. Камни изготавливают в виде полнотелых и пустотелых прямоугольных параллелепипедов и подразделяют на следующие типы:
СКЦ - на цементном вяжущем;
СКИ - на известковом вяжущем;
СКШ - на шлаковом вяжущем;
СКГ - на гипсовом вяжущем.
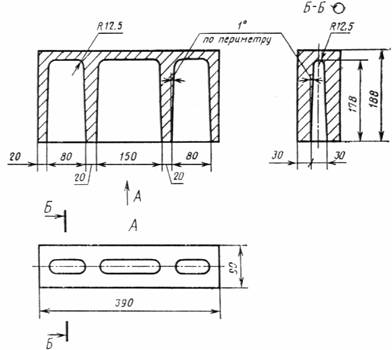
Камни подразделяют на целые (1), продольные половинки (2) и перегородочные (3).
|
Типоразмер камней |
Характеристика типа |
Марка камней по прочности на сжатие |
Размеры, мм |
Справочная масса камня, кг, при средней плотности бетона от 800 до 2200 кг/м3 |
Объем бетона, дм3 |
||
|
Длина |
Ширина |
Высота |
|||||
|
СКЦ-1, СКИ-1, СКШ-1 |
Целый камень |
25, 35, 50, 75, 100, 125, 150, 200 |
390 |
190 |
188 |
От 8,3 до 31,0 |
10,4-13,9 |
|
СКЦ-2 СКИ-2 СКШ-2 |
Продольная половинка |
390 |
90 |
188 |
От 4,3 до 15,0 |
5,4-6,6 |
|
|
СКЦ-3 СКИ-3 СКШ-3 |
Перегородочный камень |
25, 35, 50 |
590 |
90 |
188 |
От 6,0 до 22,0 |
7,7-10,0 |
|
СКГ-1 |
|
|
390 |
190 |
188 |
От 16,7 до 23,0 |
13,9 |
|
СКГ-1А |
Целый камень |
25,35, 50, |
410 |
215 |
190 |
» 20,0 » 27,6 |
16,75 |
|
СКГ-2 |
Продольная половинка |
75 |
390 |
90 |
188 |
От 7,9 до 11,0 |
6,6 |
Примечание. Камни типов СКЦ, СКИ и СКШ изготавливают полнотелыми и пустотелыми, камни типа СКГ - полнотелыми со средней плотностью от 1200 до 1650 кг/м3. Допускается по заказу потребителя, согласованному с проектной организацией, изготавливать камни типа СКГ пустотелыми.
Целый камень

Черт. 1
Продольная половинка
Черт. 2
Перегородочный камень
Черт. 3
1.2. Основные типы, размеры и справочная масса бетонных стеновых камней должна соответствовать приведенным в табл. 1 и на черт. 1-3. Допускается изготовление камней размерами 410´200´200; 288´288´138 и 288´138´138 мм.
По согласованию с потребителем и базовой организацией по стандартизации пустотелые камни допускаются изготовлять с другим числом, расположением и формой пустот при условии обеспечения средней плотности камней не более указанных в п. 1.7.
1.3. Толщина наружных стенок пустотелых камней не должна быть менее 20 мм.
Толщина горизонтальной диафрагмы в наиболее тонкой части не должна быть менее 10 мм.
1.4. По прочности на сжатие камни подразделяют на марки: 200, 150, 125, 100, 75, 50, 35, 25.
1.5. По морозостойкости камни подразделяют на марки: Мрз 50, Мрз 35, Мрз 25 и Мрз 15.
Морозостойкость перегородочных камней и камней на гипсовом вяжущем не регламентируют.
1.6. Камни подразделяют на рядовые (Р) и лицевые (Л). Лицевые камни изготовляют с неокрашенными или окрашенными лицевыми поверхностями с маркой по прочности на сжатие не менее 75, по морозостойкости не менее 25.
1.7. Средняя плотность пустотелых камней не должна быть более 1650 кг/м3, а полнотелых камней 2200 кг/м3.
1.8. По средней плотности и теплопроводности камни подразделяют на эффективные - плотностью до 1400 кг/м3, условно-эффективные - плотностью от 1401 до 1650 кг/м3 и тяжелые - плотностью более 1650 кг/м3.
Теплопроводность некоторых видов легких бетонов, а также эффективных и условно-эффективных камней (типов СКЦ, СКИ и СКШ), используемых при кладке наружных стен, приведена в табл. 1-3 справочного приложения 1.
1.9. Масса одного камня не должна быть более 31 кг.
1.10. В зависимости от типов, марок, плотности и морозостойкости бетонным камням присваивают условные обозначения.
Пример условного обозначения стенового бетонного лицевого камня на цементном вяжущем, размером 390´190´188 мм, марки 125, плотностью 1600 кг/м3, морозостойкостью Мрз 25:
СКЦ-1Л 125/1600/25 ГОСТ 6133-84
То же, рядового, па известковом вяжущем, размером 390´90´188, марки 75, плотностью 1500 кг/м2, морозостойкостью Мрз 15
СКИ-1Р 75/1500/15 ГОСТ 6133-84
То же, рядового, на гипсовом вяжущем, размером 410´215´190 мм, марки 75, плотностью 1300 кг/м3:
СКГ-2Р 75/1300 ГОСТ 6133-84
2.1. Стеновые бетонные камни изготавливают в соответствии с требованиями настоящего стандарта по технологическому регламенту, утвержденному в установленном порядке.
2.2. Отклонения от номинальных размеров камней и показателей их внешнего вида не должны превышать указанных в табл. 2.
|
Наименования показателей |
Значения отклонений |
|
|
Рядовые камни |
Лицевые камни |
|
|
Отклонения от размеров, мм: по длине |
± 4 |
± 4 |
|
по ширине |
± 3 |
± 3 |
|
по высоте |
± 4 |
± 4 |
|
Отклонения от прямолинейности ребер и плоскостности граней, мм |
6 |
4 |
|
Число отбитых и притупленных ребер и углов на одном изделии, глубиной до 20 мм и протяженностью по ребру до 100 мм |
3 |
2 |
|
Число камней с трещинами, пересекающими одно или два смежных ребра, а также половняка, % от партии, не более |
10 |
5 |
2.3. Размеры раковин, местных наплывов и впадин на бетонных поверхностях лицевых камней должны соответствовать требованиям ГОСТ 13015.0-83, ГОСТ 13015.1-81 для категории поверхности А6; диаметр раковин - не более 6 мм, глубина раковин, впадин и высота наплывов - не более 3 мм.
2.4. Цвет лицевых поверхностей лицевых камней должен соответствовать образцам-эталонам, утвержденным в установленном порядке.
Жировые или другие пятна размером более 10 мм на лицевых поверхностях камней не допускаются.
2.5. Предел прочности камней при сжатии в зависимости от марки по прочности не должен быть меньше значений, указанных в табл. 3.
2.6. Отпуск камней потребителю производят только по достижении ими отпускной прочности при сжатии, определяемой при испытании целых камней или контрольных образцов-кубов. При этом, отпускная прочность в процентах от проектной марки по прочности на сжатие не должна быть менее:
50 - для камней марок 100 и выше;
75 » » » 75 и ниже;
100 » » » марки 25 и камней из бетонов, изготовленных с автоклавной обработкой.
|
Марка камней |
Предел прочности при сжатии по сечению (без вычета площади пустот для пустотелых изделий), МПа (кгс/см2), не менее |
Марка камней |
Предел прочности при сжатии по сечению (без вычета площади пустот для пустотелых изделий), МПа (кгс/см2), не менее |
||
|
средний для трех образцов |
наименьший для отдельных образцов |
средний для трех образцов |
наименьший для отдельных образцов |
||
|
200 |
20,0 (200) |
15,0 (150) |
75 |
7,5 (75) |
5,0 (50) |
|
150 |
15,0 (150) |
12,5 (125) |
50 |
5,0 (50) |
3,5 (35) |
|
125 |
12,5 (125) |
10,0 (100) |
35 |
3,5 (35) |
2,8 (28) |
|
100 |
10,0 (100) |
7,5 (75) |
25 |
2,5 (25) |
2,0 (20) |
Предприятие-изготовитель при отпуске камней с прочностью ниже их проектной марки обязано гарантировать достижение ими проектной марки в возрасте 28 сут. со дня изготовления, а для гипсобетонных камней - в высушенном до постоянной массы состоянии.
2.7. В зависимости от марок по морозостойкости, указанных в п. 1.5, камни или образцы-кубы в насыщенном водой состоянии должны выдерживать без каких-либо признаков видимых повреждений (шелушения, расслоения, выкрашивания) не менее 50, 35, 25, 15 циклов замораживания и оттаивания соответственно.
Потеря прочности при сжатии образцов, испытанных на морозостойкости, не должна превышать 25 % марочной прочности контрольных образцов, а потеря массы не должна превышать 5 %.
2.8. Отпускная влажность гипсобетонных камней не должна быть более 12 %.
По согласованию изготовителя с потребителем допускается выпускать гипсобетонные камни с отпускной влажностью до 25 %.
2.9. Материалы, применяемые для изготовления камней, должны соответствовать требованиям стандартов и технических условий, перечень которых приведен в справочном приложении 2.
3.1. Камни принимают партиями. Размер партии устанавливают в количестве сменной выработки, но не более 250 м3.
Допускается при небольшой сменной выработке, не превышающей 30-50 м3, размер партии устанавливать в объеме недельной выработки, но не более 250 м3.
Каждая партия должна состоять из камней одного типа, одних марок по прочности и морозостойкости, изготовленных из материалов одного вида и качества.
3.2. Приемочный контроль камней проводят в сроки, указанные в табл. 4.
|
Определяемые параметры |
Периодичность испытаний |
|
Проверка геометрических размеров и внешнего вида |
Для каждой партии (по выборкам) |
|
Прочность камней (определение марки) |
Для каждой партии (п. 3.7) |
|
Средняя плотность камней |
Один раз в сутки |
|
Морозостойкость |
Один раз в 6 мес. для каждого вида камня каждый раз при изменении технологии |
|
Определение цвета для окрашенных лицевых камней |
Для каждой партии |
|
Определение отпускной влажности |
Один раз в 3 сут |
3.3. Внешний вид, точность геометрических размеров, прочность и другие параметры контролируют по результатам испытаний отдельных камней, составляющих выборку.
Выборочный контроль по ГОСТ 23616-79 проводят в соответствии с табл. 5.
Таблица 5
|
Объем партии, шт. |
Объем выборки, шт. |
Приемочное число |
Браковочное число |
|
91-280 |
13 |
3 |
4 |
|
281-500 |
20 |
5 |
6 |
|
501-1200 |
32 |
7 |
8 |
|
1201-3200 |
50 |
10 |
11 |
|
3201-10000 |
80 |
14 |
15 |
|
10001 -35000 |
125 |
21 |
22 |
3.4. В результате поштучной проверки входящих в выборку камней должно быть выявлено число дефектных камней по каждому показателю (внешний вид или геометрические размеры).
Камень следует считать дефектным по данному показателю, если он не отвечает требованиям настоящего стандарта по этому показателю.
3.5. Партию камней принимают по каждому из показателей, если число дефектных камней в выборке меньше или равно приемочному числу, и бракуют, если число дефектных камней больше или равно браковочному числу.
3.6. Камни из партии, не принятой в результате выборочного контроля, должны приниматься поштучно. При этом следует проверять соблюдение показателей, по которым партия не была принята.
3.7. Для определения предела прочности при сжатии и плотности используют из числа выбранных три камня. Допускается определять отпускную прочность и марку камней по трем образцам-кубам, применяя переходные коэффициенты (см. обязательное приложение 3).
Для определения морозостойкости используют шесть камней или образцов-кубов от одной или разных партий.
3.8. Потребитель имеет право проводить контрольную проверку соответствия камней требованиям настоящего стандарта, применяя для этой цели правила приемки, порядок отбора образцов и методы испытаний, предусмотренные настоящим стандартом.
4.1. Определение линейных размеров качества поверхности и внешнего вида
4.1.1. Длину, ширину и высоту камней, а также величину отбитости измеряют металлической линейкой по ГОСТ 427-75 с погрешностью измерения не более 1 мм. Длину, ширину и высоту камней измеряют по трем ребрам, сходящимся в одной вершине.
4.1.2. Отклонение от прямолинейности ребер и отклонение от плоскостности граней определяют измерением зазора штангенглубиномером по ГОСТ 162-90 с погрешностью измерения не более 1 мм между гранью (ребром) изделия и ребром приложенной к нему металлической линейки.
4.1.3. Глубину отбитых или притупленных углов камней определяют по наибольшему ее значению при помощи штангенглубиномера с погрешностью измерения не более 1 мм.
4.1.4. Размеры раковин, наплывов и впадин камней проверяют металлической измерительной линейкой с ценой деления 0,5 мм.
4.2. Определение равномерности окрашивания лицевых камней проводят методом сравнения их с двумя эталонами, из которых один окрашен в слабый тон, а другой - в насыщенный тон того же цвета. Сравнение с эталонами производят при дневном свете на открытой площадке на расстоянии 10 м от глаз наблюдателя. Камни устанавливают между эталонами. Камни, окрашенные слабее образца-эталона слабого тона и сильнее образца-эталона насыщенного тона, приемке не подлежат.
4.3. Плотность камней определяют по ГОСТ 12730.1-78.
4.4. Предел прочности на сжатие камней определяют по ГОСТ 8462-85.
Прочность на сжатие образцов-кубов определяют по ГОСТ 10180-90.
4.5. Отпускную влажность гипсобетонных камней определяют по ГОСТ 12730.2-78.
4.6. Морозостойкость камней определяют по ГОСТ 7025-91 после достижения ими проектной марки.
5.1. На торцевой поверхности камней должны быть нанесены несмываемой краской при помощи трафарета или штампа товарный знак предприятия-изготовителя. Камни должны маркироваться в каждом штабеле по одному в верхнем, среднем и нижнем рядах.
5.2. Предприятие-изготовитель обязано сопровождать каждую партию документами о качестве по ГОСТ 13015.3-81.
5.3. Камни должны храниться в штабелях уложенными на ровные площадки с водоотводами раздельно по типам и маркам. Высота штабеля не должна быть более 2,5 м. Верхний ряд пустотелых камней укладывают пустотами вниз.
5.4. Транспортируют камни на специализированных многооборотных плоских поддонах или пакетами с помощью полуавтоматических захватов автомобильным, железнодорожным, морским и речным транспортом в соответствии с Правилами перевозок грузов, действующими на этих видах транспорта, утвержденными в установленном порядке.
5.5. Камни на гипсовых вяжущих при хранении и транспортировании должны быть защищены от увлажнения атмосферными осадками.
6.1. Изготовитель должен гарантировать соответствие поставляемых камней требованиям настоящего стандарта при соблюдении правил транспортирования, хранения и условий применения, установленных настоящим стандартом.
1. Теплопроводность бетона камней
|
Наименование бетона |
Теплопроводность бетона камней, Вт/(м · °С), при средней плотности бетона, кг/м3 (для условий эксплуатации А/Б) |
|||||
|
1000 |
1200 |
1400 |
1600 |
1800 |
2000 |
|
|
Туфобетон |
- |
0,41/0,47 |
0,52/0,58 |
0,70/0,81 |
0,87/0,99 |
- |
|
Пемзобетон |
0,30/0,34 |
0,40/0,43 |
0,49/0,54 |
0,62/0,68 |
- |
- |
|
Бетон на вулканическом шлаке |
0,29/0,35 |
0,41/0,47 |
0,52/0,58 |
0,64/0,70 |
- |
- |
|
Бетон на доменных гранулированных шлаках |
- |
0,47/0,52 |
0,52/0,58 |
0,58/0,64 |
0,70/0,81 |
0,83/0,99 |
|
Бетон на топливных (котельных) шлаках |
0,38/0,44 |
0,48/0,54 |
0,59/0,65 |
0,72/0,78 |
0,85/0,93 |
0,92/1,08 |
|
Керамзитобетон на керамзитовом песке |
0,33/0,41 |
0,44/0,52 |
0,56/0,65 |
0,67/0,79 |
0,80/0,92 |
- |
|
Керамзитобетон на кварцевом песке |
- |
0,48/0,55 |
0,63/0,69 |
0,72/0,83 |
0,85/0,9 |
0,99/1,13 |
|
Шунгизитобетон |
0,33/0,38 |
0,44/0,50 |
0,56/0,64 |
- |
- |
- |
Примечания:
1. Условия эксплуатации А и Б по СНиП II-3-79.
2. В табл. 1 приведены показатели теплопроводности ряда бетонов, применяемых для изготовления эффективных и условно-эффективных камней типов СКЦ, СКИ и СКШ.
3. При расчете сопротивления теплопередачи наружной стены из полнотелых камней необходимо значение теплопроводности бетонов увеличивать на 3 %.
2. Теплопроводность целых камней
Таблица 2
|
Наименование бетона |
Теплопроводность целых камней, Вт/(м · °С), при средней плотности камня (с учетом щелей), кг/м3 (для условий эксплуатации А/Б) |
|||||
|
750 |
900 |
1050 |
1200 |
1350 |
1450 |
|
|
Туфобетон |
- |
0,31/0,34 |
0,37/0,39 |
0,44/0,49 |
0,51/0,55 |
- |
|
Пемзобетон |
0,27/0,29 |
0,31/0,33 |
0,34/0,37 |
0,41/0,43 |
- |
- |
|
бетон на вулканическом шлаке |
0,27/0,29 |
0,31/0,34 |
0,37/0,39 |
0,42/0,44 |
- |
- |
|
Бетон на доменных гранулированных шлаках |
- |
0,34/0,37 |
0,37/0,39 |
0,39/0,42 |
0,44/0,49 |
0,50/0,57 |
|
Бетон на топливных (котельных) шлаках |
0,30/0,32 |
0,35/0,37 |
0,39/0,42 |
0,45/0,48 |
0,50/0,55 |
0,57/0,62 |
|
Керамзитобетон на керамзитовом песке |
0,28/0,31 |
0,33/0,37 |
0,38/0,42 |
0,43/0,48 |
0,49/0,53 |
- |
|
Керамзитобетон на кварцевом песке |
- |
0,35/0,39 |
0,41/0,45 |
0,46/0,51 |
0,54/0,58 |
0,65/0,69 |
|
Шунгизитобетон |
0,28/0,30 |
0,33/0,38 |
0,38/0,41 |
- |
- |
- |
Примечания:
1. Условия эксплуатации А и Б по СНиП II-3-79.
2. В табл. 2 приведены значения теплопроводности отдельных эффективных и условно-эффективных камней, применяемых для кладки наружных стен.
3. Значения теплопроводности приведены для пустотелых камней с размерами и формой пустот, указанных на черт. 1 и 2. Теплопроводность камней, изготовленных из других видов бетонов и с другой пустотностью, следует определять путем теплотехнических испытаний.
4. При расчете сопротивления теплопередачи наружной стены из целых пустотелых камней необходимо значение теплопроводности увеличивать на 10 %.
3. Теплопроводность продольных половинок камней
|
Наименование бетона |
Теплопроводность продольных половинок камней, Вт/(м · °С), при средней плотности продольных половинок (с учетом щелей), кг/м3 (для условий эксплуатации А/б) |
|||||
|
820 |
980 |
1150 |
1310 |
1470 |
1600 |
|
|
Туфобетон |
- |
0,33/0,36 |
0,39/0,41 |
0,48/0,53 |
0,90/0,60 |
- |
|
Пемзобетон |
0,29/0,31 |
0,33/0,35 |
0,37/0,40 |
0,45/0,47 |
- |
- |
Бетон на вулканическом шлаке |
0,29/0,31 |
0,33/0,36 |
0,40/0,42 |
0,46/0,48 |
- |
- |
|
Бетон на доменных гранулированных шлаках |
- |
0,36/0,39 |
0,39/0,41 |
0,43/0,46 |
0,49/0,54 |
0,56/0,63 |
|
Бетон на топливных (котельных) шлаках |
0,32/0,34 |
0,37/0,39 |
0,42/0,45 |
0,49/0,53 |
0,55/0,60 |
0,61/0,68 |
|
Керамзитобетон на керамзитовом песке |
0,30/0,33 |
0,35/0,39 |
0,41/0,45 |
0,47/0,52 |
0,54/0,56 |
- |
|
Керамзитобетон на кварцевом песке |
- |
0,37/0,41 |
0,43/0,47 |
0,49/0,54 |
0,59/0,63 |
0,70/0,75 |
|
Шунгизитобетон |
0,30/0,32 |
0,35/0,38 |
0,41/0,43 |
- |
- |
- |
Примечания:
1. Условия эксплуатации А и Б по СНиП II-3-79.
2. В табл. 3 приведены значения теплопроводности отдельных эффективных и условно-эффективных половинок камней, применяемых для кладки наружных стен.
3. Значения теплопроводности приведены для пустотелых камней с размерами и формой пустот, указанных на черт. 3. Теплопроводность камней, изготовленных из других видов бетонов и с другой пустотностью, следует определять путем теплотехнических испытаний.
4. При расчете сопротивления теплопередачи наружной стены из пустотелых камней необходимо значение теплопроводности увеличивать на 10 %.
ПЕРЕЧЕНЬ
СТАНДАРТОВ НА МАТЕРИАЛЫ, ПРИМЕНЯЕМЫЕ
ДЛЯ ИЗГОТОВЛЕНИЯ БЕТОННЫХ СТЕНОВЫХ КАМНЕЙ
Цемент и шлакопортландцемент по ГОСТ 10178-85, ГОСТ 965-89 и ГОСТ 15825-80.
Цемент сульфатостойкий по ГОСТ 22266-76.
Строительная известь по ГОСТ 9179-77.
Гипсовые вяжущие по ГОСТ 125-79.
Щебень, гравий и песок из горных пород по ГОСТ 8267-82, ГОСТ 23254-78, ГОСТ 20260-80, ГОСТ 8268-82, ГОСТ 8736-85, применяемые в соответствии с ГОСТ 26633-91.
Щебень из доменного шлака и заполнители из золы и золошлаковой смеси по ГОСТ 5578-76, ГОСТ 25818-91 и ГОСТ 25593-91.
Пористые заполнители по ГОСТ 9757-90, применяемые по ГОСТ 25280-90.
Допускается применять другие пористые или плотные заполнители, удовлетворяющие требованиям нормативных документов, стандартов и технических условий.
3.1. Воздухововлекающие
Смола древесная омыленная СДО по ТУ 81-05-02-78.
Смола нейтрализованная воздухововлекающая СНИ по ТУ 81-05-75-74.
Пенообразователь ПО-1 по ГОСТ 6948-81.
3.2. Пенообразующие
Клееканифольный пенообразователь на основе костного клея по ГОСТ 2067-80. сосновой канифоли по ГОСТ 19113-84 и едкого натра по ГОСТ 2263-79.
Смолосанониновый пенообразователь на основе мыльного корня по ОСТ 1308.
Алкилсульфатная паста по ТУ 30-10755-75.
3.3. Пластифицирующие
Сульфитно-дрожжевая бражка СДБ по ОСТ 81-79-71 или ТУ 81-04-225-73.
Поверхностно-активный щелок ПАЩ-1 по ТУ 6-03-26-77.
Синтетическая пластифицирующая добавка СПД по ТУ 88-101-253-77
Суперпластификатор С-3 по ТУ 6-14-29-258-79.
Этилсиликонат натрия ГКЖ-10 и метилсиликонат натрия ГЖК-11 по ТУ 6-02-6978-72.
Полигидросилоксан ГЖК-94 по ГОСТ 10834-76.
3.4. Ускорители твердения
Хлорид кальция ХК по ГОСТ 450-77.
Нитрат кальция НК по ТУ 6-08-867-79.
Нитрит-нитрат-хлорид НИХК по ТУ 6-18-194-76.
|
Наименование пигмента |
Нормативно-технический документ |
Цвет пигмента |
Расход, % к массе сухой смеси |
|
Железноокисный желтый |
Желтый |
1,0 |
|
|
Охра |
- |
То же |
5,0 |
|
Отходы алапаевской руды |
- |
» |
10,0 |
|
Железноокисный красный (редоксайд) |
- |
Красный |
3,0 |
|
Железный сурик |
То же |
3,0 |
|
|
Железная лазурь |
Синий |
2,5 |
|
|
Окись хрома |
Зеленый |
3,0 |
|
|
Пигмент хрома |
То же |
0,1 |
|
|
Сажа |
ТУ 14/71-110-77 |
Черный |
1,0 |
|
Зола ТЭЦ |
Серый |
10,0 |
|
|
Пиритные огарки |
- |
Сиреневый |
5,0 |
|
Отходы марганцевой руды |
- |
То же |
3,0 |
ОПРЕДЕЛЕНИЕ ПЕРЕХОДНЫХ КОЭФФИЦИЕНТОВ ОТ ПРОЧНОСТИ ОБРАЗЦОВ-КУБОВ К ПРОЧНОСТИ КАМНЕЙ
1. Переходные коэффициенты определяют экспериментально параллельным испытанием образцов-кубов и камней отдельно для каждой марки, формы, вида пустот и типоразмеров камня и вида вяжущего, изготовленных по единой технологии.
2. Для установления значений переходных коэффициентов испытывают 8 серий базового размера кубов и камней. Каждая серия состоит из 3 камней и 3 образцов-кубов.
3. Образцы базового размера кубов (150 мм) и камней изготавливают из одной пробы (замеса) бетона и выдерживают в одинаковых условиях. После окончания твердения вое образцы испытывают в одном возрасте.
Средняя плотность бетона в каждой серии образцов камней и образцов-кубов в момент испытания не должна отличаться более чем на 3 %.
4. Для жаждой пары серий вычисляют частное значение переходного коэффициента Kj для определения прочности камня по формуле
![]()
где
и R - средние
значения прочности камней и прочности бетона в образцах-кубах и сериях камней и
образцов-кубов.
Значение
для камней с
пустотами вычисляют по Fбр (Fбр - поперечное рабочее сечение камня, включая пустоты).
Переходный
коэффициент
вычисляют по всем 8 сериям по формуле

Коэффициент
может быть меньше или
равным 1.
5. Значения переходных коэффициентов устанавливают лабораториями предприятий или строительных организаций при участии центральных строительных лабораторий или научно-исследовательских институтов и утверждаются главными инженерами этих предприятий и организаций.
6. Проверку установленных экспериментальных значений переходных коэффициентов следует проводить не реже одного раза в год, а также при изменении технологии изготовления камней.