ГОСТ Р 51017-97
ГОСУДАРСТВЕННЫЙ СТАНДАРТ РОССИЙСКОЙ ФЕДЕРАЦИИ
ТЕХНИКА ПОЖАРНАЯ
ОГНЕТУШИТЕЛИ ПЕРЕДВИЖНЫЕ
ОБЩИЕ ТЕХНИЧЕСКИЕ ТРЕБОВАНИЯ.
МЕТОДЫ ИСПЫТАНИЙ
ГОССТАНДАРТ РОССИИ
Москва
Предисловие
1 РАЗРАБОТАН И ВНЕСЕН Техническим комитетом по стандартизации МТК 274/643 «Пожарная безопасность»
2 ПРИНЯТ И ВВЕДЕН В ДЕЙСТВИЕ Постановлением Госстандарта России от 28 января 1997 г. № 20
3 ВВЕДЕН ВПЕРВЫЕ
ГОСТ Р 51017-97
ГОСУДАРСТВЕННЫЙ СТАНДАРТ РОССИЙСКОЙ ФЕДЕРАЦИИ
Техника пожарная
ОГНЕТУШИТЕЛИ ПЕРЕДВИЖНЫЕ
Общие технические требования. Методы испытаний
Fire engineering. Wheeled fire extinguishers.
General technical requirements. Test methods
Дата введения 1998-01-01
Настоящий стандарт распространяется на передвижные огнетушители, имеющие полную массу не более 400 кг (далее - огнетушители), предназначенные для тушения пожаров классов А, В, С, и устанавливает общие технические требования и методы испытаний. Требования настоящего стандарта являются обязательными. Стандарт не распространяется на огнетушители специального (целевого) назначения.
В настоящем стандарте использованы ссылки на следующие стандарты:
ГОСТ 9.032-74 ЕСЗКС. Покрытия лакокрасочные. Группы, технические требования и обозначения
ГОСТ 9.104-79 ЕСЗКС. Покрытия лакокрасочные. Группы условий эксплуатации
ГОСТ 9.301-86 ЕСЗКС. Покрытия металлические и неметаллические неорганические. Общие требования
ГОСТ 9.302-88 ЕСЗКС. Покрытия металлические и неметаллические неорганические. Методы контроля
ГОСТ 9.303-84 ЕСЗКС. Покрытия металлические и неметаллические неорганические. Общие требования к выбору
ГОСТ 9.308-85 ЕСЗКС. Покрытия металлические и неметаллические неорганические. Методы ускоренных коррозионных испытаний
ГОСТ 9.311-87 ЕСЗКС. Покрытия металлические и неметаллические неорганические. Методы оценки коррозионных поражений
ГОСТ 9.401-91 ЕСЗКС. Покрытия лакокрасочные. Общие требования и методы ускоренных испытаний на стойкость к воздействию климатических факторов
ГОСТ 9.402-80 ЕСЗКС. Покрытия лакокрасочные. Подготовка металлических поверхностей перед отращиванием
ГОСТ 9.403-80 ЕСЗКС. Покрытия лакокрасочные. Методы испытаний на стойкость к статическому воздействию жидкостей
ГОСТ 9.407-84 ЕСЗКС. Покрытия лакокрасочные. Метод оценки внешнего вида
ГОСТ 9.408-86 ЕСЗКС. Покрытия лакокрасочные. Метод ускоренных испытаний на стойкость в условиях хранения
ГОСТ 9.409-88 ЕСЗКС. Покрытия лакокрасочные. Методы ускоренных испытаний на стойкость к воздействию нефтепродуктов
ГОСТ 12.1.033-81 ССБТ. Пожарная безопасность. Термины и определения
ГОСТ 12.2.003-91 ССБТ. Оборудование производственное. Общие требования безопасности
ГОСТ 12.2.037-78 ССБТ. Техника пожарная. Требования безопасности
ГОСТ 12.2.047-86 ССБТ. Пожарная техника. Термины и определения
ГОСТ 12.2.085-82 ССБТ. Сосуды, работающие под давлением. Клапаны предохранительные. Требования безопасности
ГОСТ 12.3.019-80 ССБТ. Испытания и измерения электрические. Общие требования безопасности
ГОСТ 12.4.009-83 ССБТ. Пожарная техника для защиты объектов. Основные виды. Размещение и обслуживание
ГОСТ 12.4.026-76 ССБТ. Цвета сигнальные и знаки безопасности
ГОСТ 15.001-88 Система разработки и постановки продукции на производство. Продукция производственно-технического назначения
ГОСТ 27.002-89 Надежность в технике. Основные понятия. Термины и определения
ГОСТ 949-73 Баллоны стальные малого и среднего объема для газов на Рр £ 19,6 МПа (200 кгс/см2). Технические условия
ГОСТ 1770-74 Посуда мерная лабораторная стеклянная. Цилиндры, мензурки, колбы, пробирки. Технические условия
ГОСТ 2084-77 Бензины автомобильные. Технические условия
ГОСТ 2405-88 Манометры, вакуумметры, мановакуумметры, напоромеры, тягомеры и тягонапоромеры. Общие технические условия
ГОСТ 2991-85 Ящики дощатые неразборные для грузов массой до 500 кг. Общие технические условия
ГОСТ 7502-89 Рулетки измерительные металлические. Технические условия
ГОСТ 8050-85 Двуокись углерода газообразная и жидкая. Технические условия
ГОСТ 8273-75 Бумага оберточная. Технические условия
ГОСТ 8486-86 Пиломатериалы хвойных пород. Технические условия
ГОСТ 9293-74 Азот газообразный и жидкий. Технические условия
ГОСТ 9909-81 Основные нормы взаимозаменяемости. Резьба коническая вентилей и баллонов для газов
ГОСТ 10157-79 Аргон газообразный и жидкий. Технические условия
ГОСТ 13837-79 Динамометры общего назначения. Технические условия
ГОСТ 14192-77 Маркировка грузов
ГОСТ 14249-89 Сосуды и аппараты. Нормы и методы расчета на прочность
ГОСТ 15150-69 Машины, приборы и другие технические изделия. Исполнения для различных климатических районов. Категории, условия эксплуатации, хранения и транспортирования в части воздействия климатических факторов внешней среды
ГОСТ 15899-93 Хладон 114В2. Технические условия
ГОСТ 16588-91 Пилопродукция и деревянные детали. Методы определения влажности
ГОСТ 18321-73 Статистический контроль качества. Методы случайного отбора выборок штучной продукции
ГОСТ 19729-74 Тальк молотый для производства резиновых изделий и пластических масс. Технические условия
ГОСТ 23170-78 Упаковка для изделий машиностроения. Общие требования
ГОСТ 23852-79 Покрытия лакокрасочные. Общие требования к выбору по декоративным свойствам
ГОСТ 24054-80 Изделия машиностроения и приборостроения. Методы испытаний на герметичность. Общие требования
ГОСТ 24297-87 Входной контроль продукции. Основные положения
ГОСТ 24705-81 Основные нормы взаимозаменяемости. Резьба метрическая. Основные размеры
ГОСТ 26952-86 Порошки огнетушащие. Общие технические требования и методы испытаний
ГОСТ 27331-87 Пожарная техника. Классификация пожаров
ГОСТ 28205-89 Основные методы испытаний на воздействие внешних факторов. Часть 2. Испытания. Руководство по испытанию на воздействие солнечной радиации
ГОСТ Р 50588-93 Пенообразователи для тушения пожаров. Общие технические требования и методы испытаний
ГОСТ Р 50599-93 Сосуды и аппараты стальные сварные высокого давления. Контроль неразрушающий при изготовлении и эксплуатации
В настоящем стандарте применяют следующие термины с соответствующими определениями, обозначениями и сокращениями:
3.1 газ вытесняющий: Сжатый или сжиженный газ, создающий избыточное давление в корпусе огнетушителя и используемый для подачи огнетушащего вещества из огнетушителя на очаг горения.
3.2 давление зарядки Рзар: Установившееся давление рабочего газа, при котором осуществляют зарядку закачного огнетушителя.
3.3 давление испытательное Рисп: Давление, при котором проводят гидравлическое испытание на прочность корпуса огнетушителя и на прочность и плотность сварных швов.
3.4 давление рабочее Рр: Установившееся давление вытесняющего газа, достигнутое в корпусе огнетушителя, заряженном огнетушащим веществом до номинального значения и выдержанном при температуре (20 ± 2) °С в течение 24 ч.
3.5 давление рабочее максимальное Рmax: Установившееся давление вытесняющего газа, достигнутое в огнетушителе, заряженном огнетушащим веществом до максимального предельного значения и выдержанном при температуре (50 ± 2) °С в течение 24 ч.
3.6 давление предельное (разрушения) Рпред: Минимальное значение избыточного давления, при котором в ходе контрольных испытаний допускается разрушение корпуса огнетушителя.
3.7 длина струи огнетушащего вещества: Расстояние по горизонтали от насадка-распылителя до границы распространения основной массы огнетушащего вещества при его выпуске из огнетушителя.
3.8 заряд огнетушителя: Количество огнетушащего вещества, находящегося в корпусе огнетушителя, выраженное в единицах массы или объема.
3.9 значение параметра номинальное (масса, объем, давление, температура и др.): Оптимальное значение параметра, используемое в расчетах и служащее началом отсчета предельных отклонений его значения.
3.10 корпус огнетушителя: Одна или несколько емкостей, установленных на тележку и предназначенных для загрузки и подачи огнетушащего вещества на очаг пожара под действием избыточного давления собственных паров или вытесняющего газа.
3.11 кратность пены: Отношение объема пены к объему раствора пенообразователя, содержащегося в пене (ГОСТ Р 50588).
3.12 масса огнетушителя конструкционная: Масса полностью укомплектованного огнетушителя, но без заряда огнетушащего вещества.
3.13 масса огнетушителя полная: Масса полностью укомплектованного огнетушителя с зарядом огнетушащего вещества.
3.14 наддув корпуса огнетушителя: Заполнение корпуса заряженного огнетушителя вытесняющим газом (до значения рабочего давления) без выпуска из него огнетушащего вещества.
3.15 огнетушащее вещество, ОТВ: Вещество, обладающее физико-химическими свойствами, позволяющими создать условия прекращения горения (ГОСТ 12.1.033).
3.16 огнетушитель: Переносное или передвижное устройство для тушения очага пожара за счет выпуска запасенного огнетушащего вещества (ГОСТ 12.2.047).
3.17 огнетушитель водный, ОВ: Огнетушитель с зарядом воды или поды с добавками (ГОСТ 12.2.047).
3.18 огнетушитель воздушно-пенный, ОВП: Огнетушитель с зарядом водного раствора пенообразующих добавок и специальным насадком, в котором за счет эжекции воздуха образуется и формируется струя воздушно-механической пены.
3.19 огнетушитель с газовым баллоном, О-(б): Огнетушитель, избыточное давление в корпусе которого создается сжатым или сжиженным газом, содержащимся в баллоне. Баллон может быть расположен как внутри, так и снаружи корпуса огнетушителя.
3.20 огнетушитель с газогенерирующим элементом, О-(г): Огнетушитель, избыточное давление в корпусе которого создается в результате выделения газа в ходе химической реакции между компонентами заряда, газогенерирующего элемента.
3.21 огнетушитель закачной, О-(з): Огнетушитель, заряд огнетушащего вещества и корпус которого постоянно находятся под давлением вытесняющего газа или паров огнетушащего вещества.
3.22 огнетушитель заряженный: Огнетушитель, имеющий номинальный заряд огнетушащего вещества, запас вытесняющего газа и укомплектованный всеми необходимыми для его применения элементами (опломбированное предохранительное устройство, шланг с насадком-распылителем и т.д.).
3.23 огнетушитель комбинированный, ОК: Огнетушитель с зарядом двух различных огнетушащих веществ, которые находятся в разных емкостях огнетушителя.
3.24 огнетушитель передвижной: Огнетушитель массой более 20 кг, смонтированный на колесах или на тележке (ГОСТ 12.2.047; 12.2.037).
3.25 огнетушитель порошковый, ОП: Огнетушитель с зарядом огнетушащего порошка.
3.26 огнетушитель углекислотный, ОУ: Огнетушитель с зарядом двуокиси углерода (ГОСТ 12.2.047).
3.27 огнетушитель хладоновый, ОХ: Огнетушитель с зарядом огнетушащего вещества на основе галоидированных углеводородов (ГОСТ 12.2.047).
3.28 очаг пожара модельный: Очаг пожара установленной формы и размеров.
3.29 продолжительность приведения огнетушителя в действие: Время с момента воздействия на рабочий орган запорно-пускового устройства огнетушителя до момента начала выхода огнетушащего вещества.
3.30 продолжительность подачи огнетушащего вещества минимальная: Время с момента начала выхода огнетушащего вещества из насадка огнетушителя при непрерывной работе и полностью открытом клапане запорно-пускового устройства до момента выброса не более 85 % массы заряда огнетушителя (для порошковых огнетушителей) или не более 90 % (для остальных типов огнетушителей).
3.31 продолжительность полного выхода огнетушащего вещества: Время от начала выхода заряда огнетушащего вещества из насадка-распылителя при непрерывной работе огнетушителя и полностью открытом клапане до момента выравнивания давления в корпусе огнетушителя с давлением окружающей атмосферы.
3.32 работоспособность огнетушителя: Состояние огнетушителя, при котором значения всех его основных параметров (продолжительность подачи, длина струи и остаток огнетушащего вещества после его полного выпуска), характеризующих способность огнетушителя тушить модельный очаг пожара определенного ранга, соответствуют требованиям нормативно-технической документации (по ГОСТ 27.002).
3.33 ранг очага пожара: Условное обозначение сложности модельного очага пожара.
3.34 способность огнетушащая: Способность огнетушителя тушить модельный очаг пожара определенного ранга при проведении специальных испытаний.
3.35 ток утечки: Электрический ток, проходящий за счет разности потенциалов по струе огнетушащего вещества и обусловленный ее диэлектрическими свойствами.
3.36 тушение очага пожара: Действия, направленные на прекращение горения и устранение условий для его самопроизвольного возникновения.
4.1 К передвижным огнетушителям относят огнетушители массой не менее 20 кг, но не более 400 кг, имеющие одну или несколько емкостей для зарядки ОТВ, которые смонтированы на тележке.
4.2 Передвижные огнетушители по виду применяемого огнетушащего вещества подразделяют на:
- водные (ОВ);
- воздушно-пенные (ОВП);
- порошковые (ОП);
- газовые, в том числе:
а) углекислотные (ОУ);
б) хладоновые (ОХ);
- комбинированные (ОК).
4.3 Водные огнетушители по виду выходящей распыленной струи ОТВ подразделяют на:
- огнетушители с мелкодисперсной распыленной струей (медианный диаметр капель спектра распыливания - 100 мкм и менее) - ОВ(М);
- огнетушители с распыленной струей (медианный диаметр капель спектра распыливания - более 100 мкм) - ОВ(Р).
4.4 Огнетушители воздушно-пенные по параметрам формируемой ими пенной струи подразделяют на:
- низкой кратности, кратность пены от 5 до 20 включительно, - ОВП(Н);
- средней кратности, кратность пены свыше 20 до 200 включительно - ОВП(С).
4.5 По принципу вытеснения огнетушащего вещества огнетушители подразделяют на:
- с баллоном сжатого газа (б);
- с газогенерирующим элементом (г);
- закачные (з).
4.6 По значению рабочего давления огнетушители подразделяют на:
- огнетушители низкого давления - рабочее давление равно или ниже 2,5 МПа при температуре, окружающей среды (20 ± 2) °С;
- огнетушители высокого давления - рабочее давление выше 2,5 МПа при температуре окружающей среды (20 ± 2) °С.
4.7 По возможности и способу восстановления технического ресурса передвижные огнетушители относятся к ремонтируемым изделиям.
4.8 В зависимости от вида заряженного ОТВ передвижные огнетушители можно использовать для тушения одного или нескольких классов пожаров горючих веществ (ГОСТ 27331):
- загорание твердых горючих веществ (класс А);
- загорание жидких горючих веществ (класс В);
- загорание газообразных горючих веществ (класс С);
- загорание электроустановок, находящихся под напряжением (класс Е).
4.9 Огнетушители ранжируют по эффективности тушения модельных очагов пожара классов А и В. Огнетушители, не предназначенные для тушения пожаров класса А, ранжируют по эффективности тушения модельных очагов пожара класса В.
4.10 Структура обозначения передвижного огнетушителя.

4.11 Примеры условных обозначений:
- воздушно-пенного огнетушителя, в выходном насадке которого формируется струя воздушно-механической пены средней кратности, имеющего корпус вместимостью 100 л, закачного типа, который может быть использован для тушения пожаров твердых веществ (тушит модельный очаг - 6А), горючих жидкостей (тушит модельный очаг - 233В); модель огнетушителя - 01, климатическое исполнение - У2, изготовлен по ГОСТ Р ...
ОВП(С)-100(з)-6А; 233В-(01) У2 ГОСТ Р ...
- порошкового огнетушителя, имеющего корпус вместимостью 50 л, рабочее давление вытесняющего газа в котором создается газогенерирующим элементом, огнетушитель может быть использован для тушения пожаров твердых веществ (тушит модельный очаг - 10А), горючих жидкостей (тушит модельный очаг - 233В) и горючих газов; модель огнетушителя - 02, климатическое исполнение - У2, изготовлен по ТУ ...
ОП-50(г)-10А; 233В; С-(02) У2 ТУ ...
5.1 Конструкция передвижного огнетушителя должна соответствовать требованиям ГОСТ 12.2.037, ГОСТ 949, ГОСТ 15150, настоящего стандарта, правилам [1] и технической документации, утвержденной в установленном порядке.
5.2 Качество покупных изделий и компонентов должно быть подтверждено необходимыми документами предприятий-поставщиков. Изделия и материалы, не прошедшие входной контроль (по ГОСТ 24297), для комплектации и монтажа огнетушителей не допускаются.
5.3 Огнетушащие вещества и газы для их вытеснения по своим параметрам, а также срокам сохраняемости в огнетушителе должны удовлетворять требованиям соответствующих нормативных документов.
5.4 В качестве газа для вытеснения ОТВ из огнетушителей и заряда для газовых баллонов огнетушителей следует использовать: воздух, азот, диоксид углерода, инертные газы или смеси перечисленных газов. Точка росы для газов, используемых в хладоновых и порошковых огнетушителях, должна быть не выше их минимальной температуры эксплуатации.
5.5 В огнетушителях для вытеснения ОТВ допускается применение газогенерирующих элементов, прошедших промышленные испытания, рекомендованных к применению государственными надзорными органами.
Конструкция газогенерирующего элемента должна исключать возможность попадания в ОТВ шлаков или каких-либо его отдельных частей.
5.6 Передвижные огнетушители должны сохранять свой внешний вид и работоспособность при температурах:
от плюс 05 до плюс 50 °С;
от минус 20 до плюс 50 °С;
от минус 40 до плюс 50 °С;
от минус 50 до плюс 50 °С.
5.7 Масса заряда ОТВ должна отличаться от номинальных значений не более чем:
- на ±5 % - для порошковых огнетушителей;
- от 0 до минус 5 % - для хладоновых и углекислотных огнетушителей.
Объем заряда ОТВ для водных и воздушно-пенных огнетушителей не должен отличаться от номинального более чем от 0 до минус 5 %.
5.8 Вместимость корпуса огнетушителя не должна отличаться от номинальной вместимости, указанной в технической документации на огнетушитель, более чем на ±5 %.
5.9 Закачные огнетушители (кроме углекислотных) и баллоны с вытесняющим сжатым газом, которые расположены снаружи корпуса огнетушителя, должны быть оснащены индикаторами давления или манометрами, позволяющими контролировать в них давление газа.
5.10 Утечка заряда газовых огнетушителей и вытесняющего газа не должна превышать:
- 5 % масс в год от первоначальной массы ОТВ или заряженного газа - для углекислотных и хладоновых огнетушителей закачного типа, а также для газовых баллонов;
- 10 % в год от давления зарядки - для закачных огнетушителей остальных типов и для газовых баллонов, расположенных снаружи корпуса огнетушителя (5.9).
5.11 Передвижной огнетушитель должен быть спроектирован таким образом, чтобы его могли транспортировать к месту загорания и приводить в действие один - два человека (если полная масса огнетушителя не превышает 200 кг) или два - три человека (если полная масса огнетушителя более 200 кг).
5.12 Усилия (во всем рабочем диапазоне температур) для снятия блокировочного устройства, приведения огнетушителя в действие, а также для перемещения огнетушителя, общая масса которого менее 200 кг, не должны превышать значений, указанных в таблице 1.
Таблица 1 - Усилия для приведения огнетушителя в действие
|
Максимально допустимое усилие |
|
|
Пальцем руки (снятие блокировочного устройства), Н (кгс) |
100 (10) |
|
Кистью руки, Н (кгс) |
230 (23) |
|
Ударом кисти руки (энергия удара), Дж |
3 |
|
Удерживание ручки тележки огнетушителя на высоте (900 ± 200) мм, Н (кгс) |
70 (7) |
|
Перевод огнетушителя из транспортного положения в вертикальное, Н (кгс) |
300 (30) |
|
Перемещение огнетушителя по горизонтальной поверхности с бетонным или асфальтовым покрытием, Н (кгс) |
250 (25) |
Чтобы получить максимально допустимое усилие для перемещения огнетушителя общей массой более 200 кг, следует значения, приведенные в таблице 1, увеличить в 1,5 раза.
5.13 Продолжительность приведения в действие и набора рабочего давления для огнетушителя с массой ОТВ до 150 кг должна составлять не более 20 с; для огнетушителя с массой ОТВ более 150 кг - не более 30 с.
5.14 В передвижном огнетушителе с газовым баллоном или с газогенерирующим элементом после наддува корпуса огнетушителя вытесняющим газом (при закрытом клапане на насадке-распылителе) падение давления за 15 мин не должно превышать 5 %.
5.15 Продолжительность подачи ОТВ должна быть не меньше значений, приведенных в таблице 2.
Таблица 2 - Минимальная продолжительность подачи ОТВ из огнетушителя
В секундах
|
Масса ОТВ, кг |
||
|
до 50 включ. |
св. 50 |
|
|
Углекислотный |
15 |
20 |
|
Хладоновый |
15 |
25 |
|
Порошковый |
20 |
30 |
|
Водный и воздушно-пенный |
40 |
60 |
5.16 Длина струи ОТВ должна быть:
- для углекислотного, хладонового, водного (с распыленной струей) и воздушно-пенного огнетушителя ... не менее 4 м;
- для порошкового огнетушителя ... не менее 6 м.
Для комбинированного огнетушителя длину струи определяют отдельно для каждого вида применяемого ОТВ (как для самостоятельного огнетушителя).
5.17 Остаток заряда огнетушащего вещества в огнетушителе после его полного срабатывания должен составлять не более 15 % (для порошковых) и не более 10 % (для остальных типов огнетушителей) от массы ОТВ в заряженном огнетушителе.
5.18 Запорно-пусковое устройство передвижного огнетушителя должно обеспечивать возможность многократно прерывать и вновь возобновлять подачу заряда ОТВ на очаг горения.
5.19 Передвижной огнетушитель должен обеспечивать тушение модельных очагов пожара классов А и (или) В рангом, не ниже указанного в таблице 3.
Для тушения пожаров класса С рекомендуется применять порошковый огнетушитель, который обеспечивает надежное тушение пожаров класса В.
Таблица 3 - Минимальный ранг модельных очагов пожара классов А и В для различных типов передвижных огнетушителей
|
Минимальный ранг модельного очага пожара в зависимости от массы ОТВ в огнетушителе, кг |
||||
|
менее 20 |
св. 20 до 50 включ. |
св. 50 до 100 включ. |
св. 100 |
|
|
Водный |
4А |
6А |
10А |
15А |
|
Воздушно-пенный*: |
3А |
4А |
6А |
6А |
|
- с углеводородным пенообразователем |
89В |
144В |
233В |
233В-2** |
|
- с фторсодержащим пенообразователем |
144В |
233В |
233В-2 |
233В-3** |
|
Порошковый |
4А |
6А |
10А |
15А |
|
|
144В |
233В |
233В-2 |
233В-3** |
|
Углекислотный |
55В |
89В |
144В |
233В |
|
Хладоновый |
3А |
4А |
- |
- |
|
144В |
233В |
- |
- |
|
|
* Параметры модельных очагов пожаров класса В приведены для воздушно-механической пены средней кратности. ** Обозначение сложных модельных очагов пожаров класса В, составленных из одного очага ранга 233В и нескольких (2 - 4) очагов ранга 21В, определенным образом расположенных вокруг центрального противня (см. приложение А) |
||||
5.20 Ток утечки по струе ОТВ для огнетушителя, предназначенного для тушения пожаров электрооборудования под напряжением, не должен превышать 0,5 мА в течение всего времени работы огнетушителя.
5.21 Корпус огнетушителя низкого давления при гидравлическом испытании на прочность его материала и плотность сварных швов должен выдерживать в течение 60 с испытательное давление:
- для закачного огнетушителя
Рисп = 1,8Р*max, но не менее 2,0 МПа (20 кгс/см2);
- для огнетушителя с баллоном со сжатым газом или с газогенерирующим элементом
Рисп = 1,3Р*max, но не менее 1,5 МПа (15 кгс/см2).
5.22 Корпус огнетушителя низкого давления должен выдерживать, не разрушаясь, предельное испытательное давление:
- для водного, воздушно-пенного и порошкового огнетушителя закачного типа
Рпред = 3,6Р*max;
- для хладонового огнетушителя и для огнетушителя с баллоном со сжатым газом или с газогенерирующим элементом
Рпред = 2,7Р*max;
* Значения давлений Рр и Рmах следует брать из технических условий на испытываемый огнетушитель.
5.23 Огнетушитель низкого давления должен сохранять прочность:
- при циклическом изменении давления;
- при транспортировании;
- при воздействии ударных нагрузок.
5.24 Конструкция корпуса огнетушителя высокого давления должна отвечать требованиям ГОСТ 14249, ГОСТ Р 50599 и правил [1].
5.25 Водный и воздушно-пенный огнетушители должны иметь на внутренней поверхности корпуса маркировку уровня их заполнения жидкостью.
5.26 Водный и воздушно-пенный огнетушители, как правило, должны иметь фильтрующие элементы до входа в самое узкое проходное сечение канала, размер ячейки которых должен быть меньше минимального сечения канала истечения. Общая площадь проходного сечения фильтра должна более чем в пять раз превышать площадь минимального сечения канала истечения.
У порошкового огнетушителя запорно-пусковое устройство с сифонной трубкой не должно вставляться в отверстие, предназначенное для загрузки порошкового состава.
Огнетушитель закачного типа должен иметь фильтрующий элемент перед индикатором давления, чтобы предохранить его от возможности попадания ОТВ.
5.29 Насадок-распылитель передвижного огнетушителя должен сохранять прочность при падении с высоты 0,9 м.
Раструб углекислотного огнетушителя должен выдерживать статическую нагрузку массой 25 кг в течение 5 мин.
5.30 Конструкция передвижного огнетушителя должна обеспечивать возможность сброса давления в корпусе в случае невыхода заряда ОТВ.
5.31 Запорно-пусковое устройство в сборе должно обеспечивать герметичность при давлении, равном Рmax для корпуса огнетушителя.
5.32 Передвижной огнетушитель должен быть оснащен гибким шлангом длиной не менее 3 м. Гибкий шланг в сборе с насадком, перекрывающим струю ОТВ, должен обеспечивать:
- герметичность при давлении Рmax для корпуса огнетушителя;
- прочность при давлении Рисп для корпуса огнетушителя (5.21) в течение 1 мин.
5.33 Гибкий шланг должен обеспечивать свободный проход ОТВ через насадок, крепиться на корпусе огнетушителя без переломов и перегибов, он не должен касаться пола, земли или колес при движении огнетушителя и должен сохранять гибкость во всем рабочем диапазоне температур.
5.34 Пластмассовые детали, постоянно находящиеся под избыточным давлением, должны выдерживать:
- предельное давление (5.22) при испытании их на прочность:
а) при минимальной температуре эксплуатации огнетушителя, но не выше минус 20 °С;
б) при максимальной температуре эксплуатации огнетушителя;
- испытание на ускоренное старение в печи.
5.35 Пластмассовые детали, находящиеся под избыточным давлением только в момент применения огнетушителя, должны выдерживать, не разрушаясь, испытание по ускоренному старению в печи.
5.36 Пластмассовые детали, расположенные с внешней стороны огнетушителя, дополнительно подвергают испытанию на облучение ультрафиолетовым излучением.
5.37 Детали из полимерных материалов, находящиеся в постоянном контакте с огнетушащим веществом, должны подвергаться испытанию на их стойкость к воздействию ОТВ.
5.38 Огнетушители в сборе должны быть стойки к наружному и внутреннему коррозионному воздействию. Металлические детали из некоррозионностойких материалов должны иметь защитные и защитно-декоративные покрытия в соответствии с требованиями ГОСТ 9.301 и ГОСТ 9.303.
Лакокрасочные покрытия должны быть выполнены в соответствии с требованиями ГОСТ 9.032, ГОСТ 9.104, ГОСТ 23852 и должны сохранять свои защитные и декоративные свойства в течение всего назначенного срока-службы огнетушителя.
Подготовка поверхности под окраску - по ГОСТ 9.402.
Наружная поверхность корпуса огнетушителя должна быть окрашена в красный цвет в соответствии с ГОСТ 12.4.026.
5.39 Значение максимального давления шкалы манометра должно составлять 135 - 250 % номинального рабочего давления при температуре (20 ± 5) °С, которое указано в технических условиях на огнетушитель.
Участок шкалы индикатора давления, охватывающий диапазон рабочего давления, должен быть окрашен в зеленый цвет.
Участки шкалы вне диапазона рабочего давления должны быть окрашены в красный цвет и иметь надпись:
- «Превышение давления» - для участка шкалы выше максимального рабочего давления;
- «Требуется зарядка» - для участка шкалы от нуля до минимального значения рабочего давления.
Участки шкалы манометра также рекомендуется выделять указанными цветовыми тонами путем нанесения окрашенной линии, полосы или сектора.
5.41 Допускаемая основная погрешность манометра во всем диапазоне шкалы должна соответствовать требованию ГОСТ 2405.
Максимальная допускаемая основная погрешность индикатора давления не должна превышать ±4 %.
5.42 Рекомендуется, при необходимости, чтобы шкала манометра или индикатора давления имела наименование или условное обозначение вида ОТВ, с которым он может использоваться.
5.43 Предприятию - изготовителю огнетушителей следует руководствоваться техническими характеристиками манометра, удостоверяющими возможность установки его на огнетушитель, которые приведены в паспорте на манометр и в протоколе его испытаний.
5.44 Резьбы на огнетушителе должны быть выполнены в соответствии с требованиями ГОСТ 9909 и ГОСТ 24705.
Резьбы должны быть полного профиля, чистыми, без вмятин, забоин, подрезов и сорванных ниток.
5.46 Рукоятка тележки при перемещении огнетушителя должна быть расположена на высоте (900 ± 200) мм.
5.47 Назначенный срок службы передвижного огнетушителя - не менее 10 лет.
5.48 Огнетушитель должен безотказно работать после десяти циклов эксплуатационных испытаний.
6.1 Огнетушитель должен соответствовать требованиям ГОСТ 12.2.003 и ГОСТ 12.2.037.
6.3 Огнетушитель и его отдельные узлы не должны иметь острых кромок, углов и выступающих элементов, которые могут стать причиной травмирования обслуживающего персонала.
6.4 Резьбовые соединения на корпусе огнетушителя должны иметь не менее четырех полных витков, чтобы обеспечить сброс давления при двух полных витках.
6.5 Раструб углекислотного огнетушителя с гибким шлангом должен иметь ручку для защиты руки оператора от переохлаждения.
6.6 Передвижной огнетушитель должен быть снабжен предохранительным устройством от превышения давления выше допустимого значения (ГОСТ 12.2.085).
6.7 На передвижном огнетушителе закачного типа (водном, воздушно-пенном и порошковом) допускается не устанавливать предохранительный клапан, если в процессе его эксплуатации исключена возможность повышения давления в корпусе огнетушителя более чем на 10 % его максимального значения.
6.8 На сборку огнетушителей допускаются:
- баллоны для вытесняющего газа, изготовленные в соответствии с требованиями ГОСТ 949, срок следующего освидетельствования которых органами Госгортехнадзора - не менее чем через 3,5 года;
- баллоны высокого давления со сжатым газом и газогенерирующие элементы, имеющие соответствующую маркировку;
- баллоны высокого давления с вытесняющим газом, прошедшие контроль массы или давления газа на соответствие требованиям нормативной документации.
6.9 Перед зарядкой ОТВ корпус порошкового и газового огнетушителя должен быть просушен. Наличие влаги не допускается.
6.10 Запрещается:
- эксплуатировать огнетушитель при появлении трещин на корпусе, на накидной гайке запорно-пусковой головки, при обнаружении негерметичности соединений или при неисправности индикатора давления;
- выполнять любые ремонтные работы при наличии давления в корпусе огнетушителя;
- заполнять корпус закачного огнетушителя вытесняющим газом вне защитного ограждения и от источника, не имеющего регулятора давления и манометра;
- наносить удары по закачному огнетушителю или по газогенерирующему элементу;
- направлять шланг при работе в сторону близко стоящих людей.
6.11 При эксплуатации, техническом обслуживании, испытаниях и ремонте огнетушителей должно обеспечиваться выполнение соответствующих требований ГОСТ 8050, ГОСТ 9293, ГОСТ 10157, ГОСТ 15899, ГОСТ 26952, ГОСТ Р 50588, требований безопасности, приведенных в технических условиях и в инструкции по эксплуатации обслуживаемых огнетушителей, а также требований технической документации на баллоны для вытесняющего газа и на газогенерирующие элементы.
6.12 К введению в эксплуатацию допускается только полностью заряженный и опломбированный передвижной огнетушитель, снабженный биркой с указанием даты (месяц и год) зарядки, даты очередного контроля параметров ОТВ и технического освидетельствования огнетушителя.
7.1 С целью проверки соответствия основных параметров огнетушителя требованиям настоящего стандарта, правил (1) и технической документации, утвержденной в установленном порядке, огнетушитель подвергают квалификационным, приемо-сдаточным, периодическим, типовым, сертификационным испытаниям и на безотказность срабатывания в ходе циклических эксплуатационных испытаний.
7.2 Правила приемки передвижного огнетушителя устанавливают в соответствии с требованиями ГОСТ 15.001 и настоящего стандарта.
7.3 Испытания проводят с целью установления соответствия основных параметров огнетушителя общим техническим требованиям, изложенным в разделе 5.
7.4 Приемо-сдаточные испытание проводят для принятия решения о пригодности огнетушителя к поставке и использованию его потребителем. Их проводит служба ОТК завода-изготовителя путем внешнего осмотра всех выпущенных огнетушителей и контроля их линейных и весовых параметров.
7.5 Квалификационные испытания проводят на образцах установочной серии (первой промышленной партии) с целью определения готовности предприятия к выпуску огнетушителей по программе, подготовленной разработчиком и изготовителем огнетушителей.
7.6 Периодические испытания проводят не реже одного раза в три года.
7.7 Сертификационные испытания проводят с целью подтверждения соответствия показателей огнетушителя требованиям, установленным в настоящем стандарте.
7.8 Объемы проведения приемочных, квалификационных, периодических и сертификационных испытаний приведены в таблице 4.
Таблица 4
|
Номер пункта настоящего стандарта |
Вид испытаний |
|||
|
Приемочные и квалификационные |
Периодические |
Сертификационные |
||
|
1 Комплектация, маркировка, внешний вид огнетушителя и защитных покрытий, соответствие огнетушителя конструкторской документации и требованиям безопасности |
+ |
+ |
+ |
|
|
2 Работоспособность огнетушителя в диапазоне температур эксплуатации и хранения |
+ |
+ |
+ |
|
|
3 Масса (объем) заряда ОТВ |
+ |
+ |
+ |
|
|
4 Вместимость корпуса огнетушителя |
+ |
+ |
+ |
|
|
5 Утечка заряда ОТВ или вытесняющего газа |
+ |
+ |
- |
|
|
6 Усилие приведения огнетушителя в действие |
+ |
+ |
+ |
|
|
7 Усилие передвижения огнетушителя |
+ |
+ |
+ |
|
|
8 Продолжительность приведения огнетушителя в действие |
+ |
+ |
+ |
|
|
9 Падение давления при наддуве огнетушителя |
+ |
+ |
+ |
|
|
10 Продолжительность подачи ОТВ |
+ |
+ |
+ |
|
|
11 Длина струи ОТВ |
+ |
+ |
+ |
|
|
12 Остаток заряда ОТВ после полной разрядки огнетушителя |
+ |
+ |
+ |
|
|
13 Возможность прерывистой подачи ОТВ |
+ |
+ |
+ |
|
|
14 Огнетушащая способность огнетушителя |
+ |
- |
+ |
|
|
15 Ток утечки по струе ОТВ* |
+ |
- |
+ |
|
|
16 Прочность корпуса при испытательном давлении |
+ |
+ |
- |
|
|
17 Прочность корпуса при испытании на разрыв |
+ |
- |
- |
|
|
18 Прочность корпуса при циклическом изменении давления* |
+ |
- |
- |
|
|
19 Прочность узлов огнетушителя при транспортировании |
+ |
+ |
- |
|
|
20 Прочность узлов огнетушителя при воздействии ударной и статической нагрузок |
+ |
+ |
+ |
|
|
21 Герметичность запорно-пускового устройства |
+ |
+ |
- |
|
|
22 Герметичность и прочность гибкого шланга в сборе с запорным устройством |
+ |
+ |
- |
|
|
23 Прочность пластмассовых деталей |
+ |
+ |
- |
|
|
24 Стойкость пластмассовых деталей: |
|
|
|
|
|
к старению в печи* |
+ |
- |
- |
|
|
к воздействию облучения ультрафиолетовым излучением* |
+ |
- |
- |
|
|
к воздействию ОТВ |
+ |
- |
- |
|
|
25 Стойкость огнетушителя к наружной и внутренней коррозии* |
+ |
- |
- |
|
|
* Испытания проводят при разработке нового огнетушителя и при внесении изменений в конструкцию и материалы, влияющие на контролируемые параметры огнетушителя. Примечания 1 Знак «+» означает, что испытания проводят, знак «- » - испытания не проводят. 2 Последовательность испытаний по усмотрению предприятия-изготовителя может быть изменена |
||||
7.9 Типовые испытания проводят при внесении конструктивных или иных изменений (в технологию изготовления, материалы и т.п.), которые способны повлиять на основные параметры, обеспечивающие работоспособность огнетушителя. Объем программы и последовательность проведения испытаний определяют в зависимости от характера внесенных изменений.
7.10 Проверку безотказного срабатывания огнетушителя при циклических эксплуатационных испытаниях (5.48) проводят не реже одного раза в три года.
7.11 Количественную выборку огнетушителей для испытаний следует проводить методом случайного отбора или методом систематического отбора единиц продукции (в соответствии с ГОСТ 18321).
Для каждого вида испытаний по определению одного технического показателя отбирают не менее трех огнетушителей одного типоразмера, изготовленных в одну смену, прошедших приемо-сдаточные испытания и оформленных одним документом.
Допускается объединять отдельные виды испытаний.
7.12 В случае получения отрицательных результатов по какому-либо виду испытаний число испытываемых образцов удваивают и испытания повторяют снова в полном объеме.
В случае повторного получения отрицательных результатов дальнейшее проведение испытаний должно быть прекращено до выявления ч устранения обнаруженных дефектов.
8.1 Соответствие огнетушителя требованиям 5.9, 5.27. 5.28, 5.39, 5.40, 5.45, 5.46 и частично 5.32, 5.33, его комплектность, качество изготовления огнетушителя и состояние нанесенных защитных покрытий устанавливают внутренним и внешним осмотром.
8.2 Проверку работоспособности огнетушителя в диапазоне температур эксплуатации и хранения (5.6) проводят не менее чем на двух заряженных огнетушителях (например, А и В) в порядке и в последовательности, указанных в таблице 5.
Таблица 5 - Порядок проверки работоспособности огнетушителей в диапазоне температур эксплуатации и хранения
|
Продолжительность воздействия, ч |
||
|
Огнетушитель А |
Огнетушитель Б |
|
|
Хранить при минимальной рабочей температуре |
Хранить при максимальной рабочей температуре |
24 |
|
Хранить при температуре (20 ± 5) °С |
24 |
|
|
Хранить при максимальной рабочей температуре |
Хранить при минимальной рабочей температуре |
24 |
|
Полностью разрядить огнетушитель при непрерывной подаче и полностью открытом клапане не более чем через 30 мин после извлечения его из камеры климатических испытаний. Длина струи и остаток ОТВ должны соответствовать требованиям 5.16 и 5.17. |
||
8.3 Массу заряда огнетушащего вещества (5.7) определяют как разность между полной массой заряженного огнетушителя и его конструкционной массой (после выпуска заряда ОТВ и очистки огнетушителя от его остатков) путем взвешивания на весах с ценой деления не более 0,5 кг.
Погрешность взвешивания не должна превышать ±0,5 %.
8.4 Определение вместимости пустого корпуса огнетушителя (5.8) осуществляют путем измерения с помощью мерного цилиндра или мензурки (ГОСТ 1770) объема воды, необходимого для его полного заполнения.
Допускается определять вместимость корпуса огнетушителя как разность между массой заполненного водой корпуса и массой пустого корпуса. Взвешивание производить на весах с ценой деления не более 0,5 кг.
Погрешность определения не должна превышать ±1 %.
8.5 Определение утечки заряда ОТВ и вытесняющего газа (5.10) в газовых огнетушителях и во всех типах баллонов к передвижным огнетушителям с вытесняющим газом, не имеющих индикатора давления, осуществляют путем взвешивания на весах с ценой деления не более 0,2 кг при температуре (20 ± 2) °С.
8.6 Контроль заряда вытесняющего газа (5.10) в передвижных закачных огнетушителях различного типа, не подпадающих под действие 8.5, и в баллонах со сжатым газом, которые располагаются снаружи корпуса огнетушителя, осуществляют прямым измерением внутреннего давления при температуре (20 ± 5) °С с помощью штатного манометра или индикатора давления.
8.7 Определение усилия приведения огнетушителя в действие (5.12) осуществляют с помощью динамометра (ГОСТ 13837), имеющего наибольший предел измерения не менее 500 Н и класс точности 1 или 2. Усилие прикладывают перпендикулярно к тому рабочему органу, эргономические показатели которого измеряют.
Усилие к пусковому рычагу прикладывают на расстоянии от свободного конца не менее одной трети его длины.
Усилия воздействия на органы управления огнетушителя не должны превышать значений, приведенных в таблице 1.
8.8 Энергию удара по рабочему органу (кнопке) запорно-пускового устройства, необходимую для наддува корпуса огнетушителя вытесняющим газом (5.12), определяют при свободном падении с высоты (50 ± 5) мм на этот орган стального цилиндра диаметром (75 ± 5) мм и массой (6,00 ± 0,05) кг.
В результате удара стального цилиндра должно произойти вскрытие газового баллона или срабатывание газогенерирующего устройства и осуществлен наддув корпуса огнетушителя.
8.9 Усилие передвижения заряженного огнетушителя (5.12) определяют путем передвижения его на колесах по горизонтальной площадке с бетонным или асфальтовым покрытием с помощью указанного динамометра.
Усилия перемещения огнетушителя не должны превышать значений, приведенных в таблице 1.
8.10 Продолжительность приведения огнетушителя в действие (5.13) определяют секундомером (с ценой деления не более 0,2 с) от момента воздействия на рабочий орган запорно-пускового устройства до набора рабочего давления и начала истечения ОТВ из насадка.
8.11 Проверку снижения давления при наддуве (5.14) проводят на заряженном огнетушителе, который оснащен газовым баллоном или газогенерирующим элементом. Перед проведением испытания на огнетушитель устанавливают манометр, имеющий класс точности не ниже 1,5 (ГОСТ 2405). Место установки и марка манометра определяются нормативной документацией на испытываемый огнетушитель.
Огнетушитель приводят в рабочее состояние, т.е. вскрывают баллон с вытесняющим газом или приводят в действие газогенерирующий элемент, осуществляют наддув корпуса огнетушителя вытесняющим газом, но не выпускают заряд ОТВ и ведут наблюдение в течение 15 мин за показаниями манометра.
Огнетушитель считают выдержавшим испытание, если падение рабочего давления не превышает 5 % его первоначального значения.
Одновременно проверяют время набора нижнего предельного значения рабочего давления в корпусе огнетушителя. Оно не должно превышать значения, приведенного в 5.13.
8.12 Продолжительность подачи ОТВ (5.15) определяют от момента начала выхода ОТВ из насадка-распылителя огнетушителя, при его непрерывной работе и полностью открытом клапане, до момента выхода из огнетушителя 85 % массы заряда ОТВ (для порошковых огнетушителей) или 90 % для остальных типов огнетушителей.
Заряженный огнетушитель предварительно выдерживают не менее 18 ч при температуре (20 ± 5) °С, взвешивают, затем устанавливают в рабочее положение, приводят в действие согласно инструкции по эксплуатации и выпускают заряд ОТВ (при полностью открытом клапане запорного устройства огнетушителя) до момента достижения нормируемой минимальной продолжительности подачи ОТВ, указанной для каждого типа огнетушителя в таблице 2. После чего прекращают выпуск ОТВ и вновь взвешивают огнетушитель). Масса остатка ОТВ в огнетушителе должна быть не менее 15 % первоначальной массы заряда ОТВ (для порошковых огнетушителей) и не менее 10 % (для остальных типов огнетушителей).
Погрешность измерения должна составлять не более ±5 %.
Допускается проводить испытание огнетушителя на открытом воздухе при условии, что скорость ветра не превышает 3 м/с, отсутствуют осадки, а температура воздуха составляет (10 ± 20) °С.
Перед проведением испытаний огнетушитель выдерживают не менее 18 ч при температуре (20 ± 5) °С.
Длину струи ОТВ определяют или путем визуального наблюдения, или по результату тушения модельных очагов пожара класса В.
8.13.1 Визуально длину струи определяют как расстояние по горизонтали от среза насадка огнетушителя до дальней границы распространения основной массы ОТВ (для газовых огнетушителей и для водных огнетушителей с мелкодисперсной струей) или до дальней границы участка оседания наибольшей массы заряда.
Огнетушитель устанавливают в рабочее положение, насадок - распылитель струи ОТВ располагают в горизонтальной плоскости на высоте (1 ± 0,1) м от поверхности пола или земли и разряжают огнетушитель при полностью открытом клапане запорного устройства.
Во время работы огнетушителя отмечают особенности выхода ОТВ из насадка огнетушителя. Длину струи определяют с помощью измерительной рулетки по ГОСТ 7502 (предел измерения 0 ... 10 м, цена деления 1 мм).
Рекомендуется при определении длины струи ОТВ осуществлять фото- или видеосъемку.
Если визуальное определение длины струи ОТВ затруднено, то следует воспользоваться дополнительными средствами, которые устанавливают вдоль проекции ее оси симметрии, такими как набор емкостей для сбора порошка, конденсационными плитами или другими средствами, указанными в нормативной документации.
8.13.2 В тех случаях, когда перечисленные методы не позволяют определить длину струи ОТВ, допускается определять ее путем тушения модельных очагов пожара класса В. Модельные очаги представляет собой круглые стальные противни диаметром (200 ± 10) мм, высотой борта (50 ± 5) мм и толщиной стенки до 1,5 мм, в которые сначала заливают 300 мл воды, а затем - 300 мл бензина марки А-76 (ГОСТ 2084).
Противни располагают на земле вдоль оси струи ОТВ. Первый противень (ближний к огнетушителю) устанавливают на расстоянии нормируемой минимальной длины струи ОТВ для данного огнетушителя (5.16), а остальные - на расстоянии одного метра друг от друга. Противни должны быть зафиксированы от возможного перемещения под воздействием струи ОТВ.
Огнетушитель устанавливают в рабочее положение, насадок - распылитель струи ОТВ располагают горизонтально на высоте (1 ± 0,1) м от поверхности земли. Допускается устанавливать угол наклона насадка-распылителя огнетушителя таким образом, чтобы обеспечить наиболее эффективное тушение как первого, так и последующих противней в одном опыте.
Допускается разделять эксперимент на две части:
- тушение ближнего к огнетушителю противня;
- тушение остальных противней.
С помощью факела поджигают горючее сначала в первом противне, а затем - в остальных. Выдерживают 30 с (время свободного горения бензина после поджига его в последнем противне) и полностью разряжают огнетушитель согласно инструкции по эксплуатации.
Эксперимент повторяют не менее трех раз.
За длину струи ОТВ принимают расстояние по горизонтали от проекции среза насадка-распылителя огнетушителя до середины наиболее удаленного от него противня, который был потушен во время работы огнетушителя.
8.14 Остаток заряда ОТВ (5.17) определяют как разность между массой огнетушителя после выпуска ОТВ и его конструкционной массой (или непосредственным взвешиванием остатка ОТВ). Полученный результат относят к начальной массе заряда ОТВ в огнетушителе.
Погрешность взвешивания не должна превышать ±0,5 %.
8.15 Испытания на прерывистую подачу ОТВ (5.18) проводят на огнетушителях предварительно, выдержанных в течение 24 ч:
а) при минимальной рабочей температуре - одна треть отобранных для испытания огнетушителей;
б) при температуре (20 ± 5) °С - вторая треть отобранных огнетушителей;
в) при максимальной рабочей температуре - оставшаяся треть огнетушителей.
После выдержки при заданной температуре огнетушители подлежат разрядке в циклическом режиме - пистолет (клапан на запорном устройстве огнетушителя) открывают на 5 с, затем закрывают на 5 с, снова открывают на 5 с и т.д. Этот цикл должен повторяться до полного выхода ОТВ из огнетушителя. Остаток ОТВ не должен превышать 15 % масс. В ходе испытания не должны наблюдаться: заклинивание пистолета (клапана) в процессе разрядки, пропуск ОТВ в моменты закрывания пистолета (клапана) огнетушителя, прекращение подачи ОТВ до его полного выхода.
8.16 Огневые испытания по определению огнетушащей способности (5.19) проводят при приемочных, квалификационных, типовых и сертификационных испытаниях, а также - по требованию заказчика. Методика их проведения приведена в приложении А.
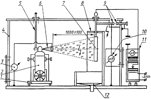
8.17 Испытание по определению тока утечки по струе ОТВ огнетушителя (5.20) проводят на специальном стенде, принципиальная схема которого приведена на рисунке 1.
1 - изолирующая подставка; 2 - испытываемый огнетушитель; 3 - измеритель тока утечки; 4 - защитный каркас испытательного стенда; 5 - устройство запуска огнетушителя; 6 - выпускной раструб огнетушителя с электропроводным элементом; 7 - мишень; 8 - экран; 9 - разрядник; 10 - киловольтметр; 11 - источник высокого напряжения; 12 - емкость для сбора отработанного ОТВ
Рисунок 1 - Принципиальная схема испытательного стенда по определению тока утечки по струе ОТВ огнетушителя
Метод испытания основан на измерении электрического тока, протекающего между насадком-распылителем ОТВ (раструбом) огнетушителя и землей, который возникает в результате взаимодействия струи заряда ОТВ с имитатором электроустановки. В качестве имитатора используют металлическую мишень размером (1000 ± 25´1000 ± 25) мм, которую устанавливают на опорах-изоляторах и соединяют со вторичной обмоткой трансформатора, обеспечивающего создание между пластиной и землей переменного напряжения (36 ± 4) кВ.
Для обеспечения безопасности при проведении испытаний стенд заключен в металлический короб с крышей из материала, не проводящего электрический ток. Конструкция короба должна отвечать требованиям безопасности ГОСТ 12.3.019.
Насадок - распылитель ОТВ огнетушителя располагают на расстоянии (1000 ± 100) мм от мишени под прямым углом, направляют на ее центр, закрепляют на нем элемент из электропроводного материала и заземляют через измеритель тока. Корпус огнетушителя тоже заземляют. Подают напряжение на мишень и выставляют его значение. С помощью дистанционного устройства приводят огнетушитель в действие и измеряют силу тока в цепи между насадком - распылителем огнетушителя и землей.
За ток утечки по струе ОТВ принимают его максимальное значение за время полного выпуска заряда огнетушителя.
Допускается порошковые и углекислотные огнетушители не проверять на ток утечки по струе ОТВ, если они рекомендованы для защиты электрооборудования с рабочим напряжением не выше 1,0 кВ (для порошковых огнетушителей) и 10,0 кВ (для углекислотных огнетушителей).
8.18 Испытание корпуса огнетушителя низкого давления вместе со съемными элементами (головкой, гайкой, заглушкой и др.) на прочность (5.21) проводят путем создания в нем гидравлического давления, равного Рисп, которое контролируют манометром, установленным на нагнетательном магистральном трубопроводе. Скорость подъема давления должна составлять не более 2,0 МПа/мин. Время выдержки корпуса огнетушителя при давлении Рисп не менее 1 мин. После чего необходимо снизить давление до рабочего значения и провести осмотр. Течи, отпотевание и деформация корпуса огнетушителя не допускаются.
В качестве рабочей жидкости можно использовать воду, масло. Разность температур стенок корпуса огнетушителя, испытательной жидкости и окружающего воздуха во время испытаний не должна вызывать появления влаги на стенках корпуса.
Допускается вместо гидравлического испытания корпуса огнетушителя проводить пневматическое испытание на стенде с бронекамерой, обеспечивающей безопасность работы.
8.19 Испытание корпуса огнетушителя низкого давления на разрушение (5.22) проводят путем заполнения его жидкостью (вода, масло) и повышением гидростатического давления в нем со скоростью не более 2,0 МПа/мин до разрушения корпуса. Давление разрушения корпуса огнетушителя должно быть не менее Рпред (5.22).
Разлом корпуса огнетушителя не должен выявить характерных дефектов металла и не должен проходить по месту сварки.
8.20 Испытание корпуса огнетушителя низкого давления на циклические изменения нагрузки (5.23) проводят путем заполнения его жидкостью и циклического изменения гидростатического давления. Корпус огнетушителя должен выдержать 5000 циклов со скоростью 6 циклов в минуту. Под циклом понимается изменение давления от 0 до Рисп и обратно до 0. Появление трещин и утечек не допускается.
Затем корпус огнетушителя должен быть подвергнут испытанию на разрушение (8.19).
8.21 Заряженный передвижной огнетушитель подвергают серии испытаний (по 5.23):
- буксировке огнетушителя на расстояние 8 км со скоростью 8 - 13 км/ч по дороге с твердым покрытием из щебня, гравия или бетона;
- трехкратному падению огнетушителя на бетонную поверхность с высоты 300 мм с приземлением на колеса;
- удару огнетушителя одним колесом о препятствие из бетона, стали или кирпича во время его транспортирования со скоростью 8 км/ч;
- падению огнетушителя после толчка с приземлением на раму.
После окончания серии испытаний огнетушитель должен удовлетворять следующим требованиям:
- колеса, оси и рама огнетушителя не должны иметь повреждений, не позволяющих перемещать его одним-двумя операторами;
- сварные швы не должны иметь дефектов;
- сифонная трубка не должна сместиться со своего места;
- не менее 85 % массы заряда ОТВ огнетушителя должно выходить из него в обычном рабочем режиме разрядки.
8.22 Параметры канала истечения и фильтра в водных и воздушно-пенных огнетушителях (5.26) определяют путем измерения диаметра канала и размеров ячеек фильтра с последующим вычислением и сравнением площади поперечного сечения канала истечения и общей площади фильтра.
Погрешность измерения не должна превышать ±0,1 мм.
8.23 Насадок-распылитель передвижного огнетушителя, подсоединенный к шлангу, подвергают испытанию на воздействие ударной нагрузки (5.29). Он три раза свободно падает на бетонную поверхность с высоты (900 ± 10) мм. Весь узел сбрасывают произвольно так, чтобы не прикладывались преднамеренные усилия, приводящие к падению насадка-распылителя какой-либо определенной частью (соплом, ручкой).
После испытаний насадок-распылитель не должен иметь дефектов и должен сохранять свою работоспособность.
8.24 Испытание раструба углекислотного огнетушителя на статическую нагрузку (5.29) проводят путем предварительного нагрева его до температуры (50 ± 2) °С, дальнейшим захолаживанием раструба путем выброса заряда СО2 при полностью открытом клапане и последующим прикладыванием к нему на 5 мин радиальной нагрузки (25,0 ± 0,1) кгс на выходном срезе раструба.
Раструб должен выдерживать нагрузку без получения каких-либо дефектов.
8.25 Испытание запорно-пускового устройства и гибкого шланга в сборе с запорным устройством на герметичность (5.31 и 5.32) проводят пневматическим давлением, равным Рmax для корпуса огнетушителя (методы испытания приведены в ГОСТ 24054) в течение времени, необходимого для осмотра, но не менее 1 мин. Давление контролируют по показанию манометра. Наличие утечек воздуха проверяют погружением испытываемого узла в ванну с жидкостью или обмыливанием контролируемых мест.
8.26 Испытание на прочность гибкого шланга в сборе с запорным устройством или с установленной на нем заглушкой (если запорное устройство отсутствует) на прочность (5.32) проводят гидростатическим давлением, равным Рисп для корпуса огнетушителя, в течение 60 с. Затем испытательное давление снижают до рабочего и проводят осмотр шланга и запорного устройства.
Появление трещин или пропусков жидкости не допускается.
8.27 Испытанию на разрушение гидростатическим давлением (8.19) подвергают не менее четырех пластмассовых деталей (5.34), которые предварительно выдерживают при следующей температуре:
- при минимальной температуре эксплуатации огнетушителя, но не выше минус 20 °С - одна половина деталей;
- при максимальной температуре эксплуатации огнетушителя - другая половина деталей.
Давление разрушения пластмассовых деталей должно быть не менее Рпред (5.22).
8.28 Испытанию на ускоренное старение в печи подвергают не менее трех пластмассовых деталей, которые выдерживают в печи при температуре (100 ± 5) °С в течение 180 дней (5.34) или в течение 70 дней (5.35), а затем - при температуре (20 ± 2) °С в течение 5 ч. После чего последовательно проверяют точность размеров и наличие трещин. Отклонения размеров и наличие трещин не допускаются. После проверки детали устанавливают на свои места на корпусе огнетушителя, который подвергают испытанию на прочность гидростатическим давлением (8.18) при температуре (20 ± 2) °С.
Деформация или появление следов жидкости не допускаются.
8.29 Испытания на воздействие облучения ультрафиолетового излучения (5.36) проводят в соответствии с ГОСТ 28205. Облучению подвергают не менее шести деталей, время облучения - 500 ч. После чего детали выдерживают в течение пяти часов при температуре (20 ± 2) °С и проводят проверку точности размеров и массы.
Отклонения массы, размеров или появление трещин не допускаются.
8.30 Испытания полимерных сифонных трубок на воздействие огнетушащих веществ (5.37) проводят путем нагрева трубок в течение 210 дней при температуре (90 ± 3) °С. После чего их помещают в корпус огнетушителя с зарядом ОТВ, с которым они будут использоваться. Образцы, нарезанные в виде колец высотой 13 мм, полностью погружают в ОТВ, они не должны соприкасаться между собой или с корпусом. Корпус огнетушителя с образцами помещают в предварительно нагретую печь до температуры (90 ± 3) °С на 210 дней. После выдержки в печи огнетушитель охлаждают на воздухе при температуре (20 ± 5) °С в течение 24 ч, после чего из него извлекают образцы полимерных трубок. Образцы подвергают испытанию на сдавливание между двумя параллельными плоскими пластинами при постоянной скорости 5 мм/мин. Допускается проводить испытания на растяжение.
Потеря прочности не должна превышать 40 %.
8.31 Проверку стойкости огнетушителей к наружной коррозии и контроль качества нанесенных защитных покрытий (5.38) на соответствие требованиям ГОСТ 9.301 проводят путем испытания огнетушителей в атмосфере с повышенной влажностью и температурой, но без конденсации влаги (ГОСТ 9.308, раздел 5).
Испытываемые огнетушители (без заряда ОТВ) устанавливают в камеру тепла и влаги так, чтобы расстояние между огнетушителями было не менее 50 мм, а между стенкой камеры и огнетушителем - не менее 100 мм.
В камере, в которой автоматически поддерживаются постоянные значения температуры и относительной влажности воздуха, устанавливают температуру (40 ± 2) °С. После прогрева камеры с огнетушителем в течение трех часов задают относительную влажность воздуха в ней (93 ± 3) %. Температуру и относительную влажность воздуха поддерживают постоянными в течение всего времени испытания.
Продолжительность испытаний - 720 ч.
После окончания испытаний металлические поверхности не должны иметь признаков коррозии, механическое взаимодействие всех рабочих элементов огнетушителей не должно быть нарушено.
Оценку коррозионных поражений проводят по ГОСТ 9.311. Контроль внешнего вида и параметров защитных покрытий осуществляют по ГОСТ 9.302.
8.32 Оценку стойкости корпуса огнетушителя к внутренней коррозии (5.38) проводят путем заполнения его до уровня номинального заряда ОТВ однопроцентным раствором хлорида натрия (NaCl) в дистиллированной воде.
После этого огнетушитель закрывают штатной крышкой и помещают на 720 ч в камеру тепла (допускается помещать огнетушитель в камеру тепла и влаги) с температурой воздуха (40 ± 2) °С. Температуру воздуха поддерживают постоянной в течение всего времени испытания.
После окончания испытания огнетушитель вскрывают, освобождают от солевого раствора и проводят осмотр внутренней поверхности корпуса (если осмотр внутренней поверхности корпуса затруднен, то допускается корпус огнетушителя разрезать на две части). На внутренней поверхности корпуса огнетушителя не должно быть видимых следов коррозии металла или разрушения защитного покрытия.
8.33 Качество нанесенных лакокрасочных покрытий (5.38) проверяют по ГОСТ 9.401, ГОСТ 9.403 и ГОСТ 9.408.
Жидкостные (в заряде которых используются поверхностно-активные вещества) и воздушно-пенные огнетушители дополнительно испытывают на стойкость лакокрасочных покрытий к воздействию растворов пенообразователей по методике, изложенной в ГОСТ 9.409.
Оценку внешнего вида лакокрасочных покрытий проводят по ГОСТ 9.407.
8.34 Подтверждение назначенного срока службы огнетушителей (5.47) осуществляют путем сбора и обработки статистических данных, полученных при подконтрольной эксплуатации огнетушителей.
8.35 Для проведения циклических эксплуатационных испытаний передвижных огнетушителей на работоспособность (5.48) произвольно отбирают один полностью укомплектованный огнетушитель, который прошел приемо-сдаточные испытания, и устанавливают на хранение. После одного года хранения в условиях, определенных в инструкции по эксплуатации, огнетушитель подвергают испытанию на работоспособность. Огнетушитель должен выдержать не менее 10 циклов эксплуатационных испытаний.
Каждый цикл включает в себя:
- зарядку огнетушителя ОТВ (кроме первого цикла, т.к. огнетушитель на испытание поступает заряженным);
- наддув корпуса огнетушителя вытесняющим газом и выдержку его в течение 30 мин (для закачного огнетушителя) или приведение огнетушителя в действие согласно инструкции по эксплуатации (для огнетушителей с газовым баллоном или газогенерирующим элементом);
- выпуск заряда ОТВ в режиме непрерывной подачи, а также - в режиме прерывистой подачи ОТВ по 8.15, перечисление б (при проведении четвертого и восьмого циклов);
- очистку огнетушителя от остатков ОТВ.
При проведении испытаний фиксируют:
- продолжительность подачи ОТВ;
- длину струи ОТВ по 8.13 (при проведении пятого и десятого циклов);
- остаток ОТВ по 8.14 (при проведении второго, четвертого, шестого, восьмого и десятого циклов).
Перечисленные показатели должны соответствовать требованиям настоящего стандарта. После завершения циклических эксплуатационных испытаний корпус огнетушителя подвергают испытанию на прочность (8.18).
9.1 Маркировка огнетушителя должна содержать:
а) наименование или товарный знак завода-изготовителя. Если данный тип огнетушителя выпускается несколькими заводами, то на огнетушителе должно быть четко обозначено, каким конкретным заводом он изготовлен;
б) тип (обозначение) огнетушителя (4.11);
в) пиктограммы (схематические изображения), обозначающие все классы пожаров по ГОСТ 27331. Пиктограммы классов пожаров, для которых огнетушитель не рекомендуется к использованию, должны быть перечеркнуты красной диагональной полосой, проведенной из верхнего левого угла в нижний правый угол;
г) диапазон температур эксплуатации, например, «Может применяться при температуре от ... до ...»;
д) способ приведения огнетушителя в действие с одной или несколькими пиктограммами, расположенными в цифровом порядке. Последовательность пиктограмм должна в картинках показывать рекомендуемые действия, необходимые для работы с огнетушителем:
- подготовка огнетушителя к действию путем выведения фиксатора из запорно-пускового устройства;
- действия, необходимые для заполнения корпуса огнетушителя (незакачного типа) вытесняющим газом;
- наведение насадка-распылителя огнетушителя на очаг пожара, включая рекомендуемое расстояние до пламени, на котором можно начинать выпуск огнетушащего вещества;
- действия, необходимые для подачи ОТВ на очаг пожара;
- особенности применения данного вида ОТВ;
е) надписи, предостерегающие об:
- электрической опасности, например, «Не пригоден для тушения электрооборудования под напряжением» или «Пригоден для тушения пожаров электрооборудования под напряжением ...» (с указанием допустимого напряжения);
- токсичности;
- возможности обморожения;
ж) указание о действии, предпринимаемом после использования огнетушителя, например:
- «Перезаряжать огнетушитель сразу после применения»;
- «Периодически проверять» с указанием частоты проверки;
з) массу и вид ОТВ, используемого при зарядке огнетушителя;
и) рабочее давление вытесняющего газа в огнетушителе;
к) массу-брутто с указанием допустимых пределов ее изменения или минимальную и максимальную массы брутто. Масса брутто должна включать массу заряда ОТВ и узла разрядки огнетушителя;
л) номер сертификата (при необходимости);
м) номер ГОСТа или нормативного документа, которому соответствует изделие;
н) месяц и год изготовления;
9.2 Рекомендуется объединять надписи перечислений а - г, д, е, ж, з - н, соответственно, в пять отдельных частей.
9.3 Надписи перечислений а - е пункта 9.1 должны быть хорошо видны при установке огнетушителя на защищаемом объекте.
Надписи перечисления ж пункта 9.1 должны быть расположены на противоположной стороне огнетушителя на уровне 2/3 его высоты.
Данные перечислений з - н пункта 9.1 допускается располагать на противоположной стороне огнетушителя, а при невозможности - эти данные приводят в паспорте.
9.4 Относительные размеры шрифта надписей перечислений а - е пункта 9.1 должны быть такими, чтобы в экстренной ситуации внимание концентрировалось на надписи перечисления д.
Схема приведения огнетушителя в действие должна быть такого размера, чтобы внимание привлекалось к ней сильнее, чем к надписям.
9.5 На газовых баллонах для вытесняющего газа должны быть выбиты:
- масса пустого баллона;
- рабочее давление;
- дата (месяц, год) изготовления и год следующего освидетельствования баллона;
- наименование завода-изготовителя баллона.
9.6 Маркировка на корпусе огнетушителя должна, как правило, быть выполнена методами шелкографии, декалькомании или наклейкой этикеток на синтетической основе (ГОСТ 12.4.009).
Маркировка должна сохраняться в течение всего срока службы огнетушителя.
9.7 Упаковка огнетушителя, заряда ОТВ (если он поставляется отдельно), деталей и сопроводительных документов должна отвечать требованиям ГОСТ 23170. Для упаковки следует использовать материалы по ГОСТ 2991, ГОСТ 8273 и ГОСТ 19729.
9.8 Транспортная маркировка - по ГОСТ 14192.
10.1 Условия транспортирования и хранения передвижных огнетушителей должны соответствовать условиям их эксплуатации и требованиям ГОСТ 15150.
Допускается транспортирование передвижных огнетушителей всеми видами транспорта на любое расстояние в соответствии с Правилами перевозки грузов, действующими на конкретном виде транспорта.
Транспортирование огнетушителей воздушным транспортом допускается только в герметичных отсеках самолетов.
10.2 При транспортировании и хранении огнетушителей должны быть обеспечены условия, предохраняющие огнетушители от механических повреждений, нагрева, попадания на них прямых солнечных лучей, атмосферных осадков, воздействия влаги и агрессивных сред.
(обязательное)
Огневые испытания следует проводить в специально предназначенном для этого помещении: объемом не менее 1600 м3, высотой не менее 7 м, имеющем необходимый запас кислорода воздуха, хорошую освещенность и вентиляцию. Скорость потока воздуха в помещении должна быть не более 3 м/с. Допускается проведение испытаний на открытом воздухе при его температуре от минус 10 до плюс 30 °С, при скорости ветра не более 3 м/с и при отсутствии осадков.
Перед испытаниями огнетушители должны быть выдержаны в течение 24 ч при температуре (20 ± 5) °С.
Для проведения огневых испытаний допускаются операторы, имеющие опыт тушения не менее 3 - 5 раз каждым типом огнетушителей.
А.1 Огневые испытания огнетушителей на модельных очагах пожара класса А
A.1.1 Модельный очаг пожара
А.1.1.1 Модельный очаг пожара класса А представляет собой деревянный штабель в виде куба, помещенный на металлическое основание высотой (400 ± 10) мм и размерами в плане, равными длине бруска (рисунок A.1).
1 - деревянные бруски; 2 - стальной уголок; 3 - бетонный (металлический) блок
Рисунок А.1 - Устройство деревянного штабеля (модельного очага) для проведения испытаний по тушению пожара класса А
А.1.1.2 В качестве горючего материала используют бруски хвойных пород дерева (ГОСТ 8486) сечением (39 ± 1) мм и длиной, указанной в таблице A.1. Влажность древесины должна быть от 10 до 14 % (ГОСТ 16588).
Таблица A.1 - Конструктивные параметры штабеля для модельных очагов пожара класса А различных рангов
|
Ранг модельного очага |
Количество деревянных брусков в штабеле, шт. |
Длина бруска, мм |
Количество брусков в слое, шт. |
Количество слоев, шт. |
|
1А |
72 |
500 |
6 |
12 |
|
2А |
112 |
635 |
7 |
16 |
|
3А |
144 |
735 |
8 |
18 |
|
4А |
180 |
800 |
9 |
20 |
|
6А |
230 |
925 |
10 |
23 |
|
10А |
324 |
1100 |
12 |
27 |
|
15А |
450 |
1190 |
15 |
30 |
|
20А |
561 |
1270 |
17 |
33 |
A.1.1.3 Бруски, образующие наружные грани штабеля, могут скрепляться для прочности скобами или гвоздями. Штабель выкладывают так, чтобы бруски каждого последующего слоя были перпендикулярны к брускам ниже лежащего слоя таким образом, чтобы по всему объему образовались каналы прямоугольного сечения.
А.1.1.4 Металлический поддон, предназначенный для горючей жидкости и помещаемый под штабель, должен иметь размеры, указанные в таблице А.2.
Таблица А.2 - Размеры поддонов для модельных очагов пожара
|
L´В´Н, мм |
Количество бензина, л |
|
|
1А |
400´400´100 |
1,1 |
|
2А |
535´535´100 |
2,0 |
|
3А |
635´635´100 |
2,8 |
|
4А |
700´700´100 |
3,4 |
|
6А |
825´825´100 |
4,8 |
|
10А |
1000´1000´100 |
7,0 |
|
15А |
1090´1090´100 |
7,6 |
|
20А |
1170´1170´100 |
8,2 |
A.1.2 Подготовка к испытаниям
A.1.2.1 Выкладывают штабель (рисунок А.1) размером, соответствующим массе ОТВ в испытываемом огнетушителе (5.19).
А.1.2.2 Помещают поддон соответствующего размера под штабель и выставляют его дно горизонтально.
А.1.2.3 Заливают слой воды толщиной (30 ± 2) мм. На слой воды наливают бензин А-76 (ГОСТ 2084) в количестве, указанном в таблице А.2.
А.1.2.4 Огнетушитель размещают от модельного очага пожара на безопасном и удобном для работы оператора расстоянии.
А.1.3 Проведение испытаний
А.1.3.1 Поджигают горючее в поддоне. После его выгорания противень убирают из-под штабеля.
A.1.3.2 В процессе свободного горения фиксируют: время выгорания бензина в поддоне, наличие падающих тлеющих углей.
А.1.3.3 Время свободного горения штабеля должно быть равно (7 ± 1) мин, после чего приступают к тушению.
А.1.3.4. Вскрытие газового баллона или приведение в действие газогенерирующего элемента осуществляют заранее, перед началом тушения. Тушение начинают при достижении в корпусе огнетушителя рабочего давления.
А.1.3.5 Тушение начинают с фасада модельного очага при начальном расстоянии до него, равном минимальной длине струи ОТВ (5.17). В процессе тушения это расстояние уменьшают.
A.1.3.6 Во время тушения струю ОТВ направляют вверх и вниз вдоль каждой из сторон штабеля при обходе его с трех сторон, кроме стороны, противоположной фронтальной поверхности очага. Допускается прерывать подачу ОТВ на очаг горения для получения наилучших результатов тушения.
А.1.3.7 В процессе тушения фиксируют:
- время подачи огнетушащего вещества;
- результат тушения.
А.1.3.8 После окончания подачи ОТВ фиксируют:
- время до повторного воспламенения (если оно произошло);
- количество использованного огнетушащего вещества.
А.1.3.9 Очаг считается потушенным, если повторное воспламенение не произошло в течение 10 мин.
A.1.3.10 Огнетушитель испытывают не менее трех раз. При этом две попытки тушения из трех должны быть удачными.
А.1.3.11 При проведении испытаний на воздухе регистрируют погодные условия: скорость ветра и температуру воздуха.
А.2 Огневые испытания огнетушителей на модельных очагах пожара класса В
А.2.1 Конструкция модельного очага
А.2.1.1 Модельный очаг пожара класса В представляет собой круглый противень, изготовленный из листовой стали. Размеры противней приведены в таблице А.3.
Таблица А.3 - Параметры модельных очагов пожара класса В
|
Количество, л |
Размеры противня, мм |
Площадь очага, м2 |
|||||
|
воды |
горючего |
Диаметр |
Высота ±5 |
Толщина стенки |
|||
|
Номин. |
Пред. откл. |
||||||
|
13В |
26 |
13 |
720 |
±10 |
230 |
2,0 |
0,41 |
|
21В |
42 |
21 |
920 |
±10 |
2,0 |
0,66 |
|
|
34В |
68 |
34 |
1170 |
±10 |
2,5 |
1,07 |
|
|
55В |
110 |
55 |
1480 |
±15 |
1,73 |
||
|
89В |
178 |
89 |
1890 |
±20 |
2,80 |
||
|
144В |
288 |
144 |
2400 |
±25 |
4,52 |
||
|
233В |
466 |
233 |
3050 |
±30 |
7,32 |
||
А.2.1.2 В качестве горючего материала применяют бензин марки А-76 летний (ГОСТ 2084).
А.2.1.3 Число перед буквой В в обозначении модельного очага пожара указывает на количество бензина в противне, выраженное в литрах.
А.2.1.4 Для огнетушителей с массой ОТВ более 50 кг (50 л), которые могут тушить очаги, имеющие ранг выше 233В, испытания проводят на сложных очагах. Эти очаги состоят из базового очага, имеющего ранг 233В, и дополнительных очагов, которые имеют ранг 21В. Дополнительные очаги устанавливают вплотную (борт к борту) вокруг базового очага под различными углами (в плане), которые указаны в таблице А.4.
Таблица А.4 - Параметры сложных очагов пожара класса В
|
Количество очагов пожара ранга 233В, шт. |
Очаг пожара ранга 21 В |
||
|
Количество, шт. |
Углы в плане между очагами 21В |
||
|
233В |
1 |
- |
- |
|
233В-2 |
1 |
2 |
180° |
|
233В-3 |
1 |
3 |
120° |
|
233В-4 |
1 |
4 |
90° |
А.2.2 Подготовка к испытаниям
А.2.2.1 Противень устанавливают таким образом, чтобы обеспечить легкий доступ к нему со всех сторон.
А.2.2.2 Заливают в противень воду, а затем бензин в количестве, указанном в таблице А.3.
А.2.2.3 Устанавливают огнетушитель на безопасном и удобном для работы оператора расстоянии.
А.2.3 Проведение испытаний
А.2.3.1 Поджигают горючее в противне. Выдерживают время свободного горения 60 с.
А.2.3.2 Подают огнетушащее вещество в очаг пожара. Тушение начинают при достижении в корпусе огнетушителя рабочего давления вытесняющего газа и с расстояния, равного минимальной длине струи ОТВ (5.16). В процессе тушения расстояние может уменьшаться. В начальный момент тушения струю ОТВ направляют на дальний борт противня (в том случае, если тушение осуществляют воздушно-пенным огнетушителем). Если испытывают водный огнетушитель с тонким распылением ОТВ или порошковый огнетушитель, то необходимо создать облако ОТВ над поверхностью горючего с постепенным перемещением струи ОТВ от ближнего борта противня к дальнему.
Оператор может в процессе тушения перемещаться вокруг горящего противня, не подходя слишком близко к противню и не засыпая и него. Он может производить подачу ОТВ на очаг горения как в непрерывном, так и в прерывистом режиме, чтобы получить наилучшие результаты тушения.
А.2.3.3 В процессе тушения фиксируют:
- время подачи огнетушащего вещества;
- результат тушения.
A.2.3.4 После окончания тушения фиксируют:
- время до повторного воспламенения горючего в противне (А.1.3.9);
- количество использованного ОТВ.
А.2.3.5 Каждый тип огнетушителя испытывают не менее трех раз. Огнетушитель считают выдержавшим испытания, если в двух попытках из трех достигалось тушение.
А.2.3.6 После каждого опыта противень охлаждают до температуры ниже температуры самовоспламенения горючего и доливают его до объема, указанного в таблице А.3. В случае тушения модельного очага пенообразователями, образующими на поверхности топлива пленку, или газовыми составами, оказывающими ингибирующее воздействие (например, хладоны), горючую жидкость необходимо заменять после каждого испытания.
(справочное)
Ключевые слова: пожарная техника, передвижные огнетушители, огнетушащее вещество, тушение пожаров, ранг модельного очага пожара, технические требования, методы испытаний
СОДЕРЖАНИЕ
|
3 Определения, обозначения и сокращения. 3 4 Классификация передвижных огнетушителей. 5 5 Общие технические требования. 7 10 Транспортирование и хранение. 24 |