Нормативные документы размещены исключительно с целью ознакомления учащихся ВУЗов, техникумов и училищ.
Объявления:

МИНИСТЕРСТВО НЕФТЕПЕРЕРАБАТЫВАЮЩЕЙ И НЕФТЕХИМИЧЕСКОЙ ПРОМЫШЛЕННОСТИ СССР

Научно-производственное объединение "Леннефтехим"

ВЕДОМСТВЕННЫЕ УКАЗАНИЯ
ПО ПРОЕКТИРОВАНИЮ ЖЕЛЕЗНОДОРОЖНЫХ СЛИВО-НАЛИВНЫХ ЭСТАКАД ЛЕГКОВОСПЛАМЕНЯЮЩИХСЯ И ГОРЮЧИХ ЖИДКОСТЕЙ И СЖИЖЕННЫХ УГЛЕВОДОРОДНЫХ ГАЗОВ

ВУП СНЭ - 87

1987

 

Содержание

1 Общие положения

2 Основные требования к конструкции и устройству эстакад

3 Механизация, связь, контроль и автоматизация сливо-наливных операций

4 Водоснабжение и канализация

5 Пожаротушение

6 Электротехнические устройства

7 Требования к размещению и территории эстакад

8 Особые требования к устройству железнодорожных сливо-наливных эстакад

Приложение 1

Максимально допустимые сроки на слив и налив цистерн

Приложение 2

Характеристика основных типов железнодорожных цистерн, применяемых для перевозки легковоспламеняющихся жидкостей, горючих жидкостей и сжиженных углеводородных газов для предприятий нефтеперерабатывающей и нефтехимической промышленности и синтетического каучука

Приложение 3

Перечень вязких и застывающих продуктов

Приложение 4

Схема налива светлых нефтепродуктов с пневматическими ограничителями налива

Приложение 5

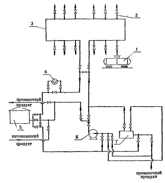
Принципиальная схема налива высоковязких продуктов

Приложение 6

Схема налива сжиженных углеводородных газов без компрессорной установки

Приложение 7

Принципиальная схема вакуумной системы слива

Приложение 8

Схема слива сжиженных углеводородных газов с компрессорной установкой

Приложение 9

Схема освобождения коллекторов на сливо-наливных эстакадах легковоспламеняющихся и горючих жидкостей

Приложение 10

Рекомендации по режимам налива железнодорожных цистерн светлыми нефтепродуктами на наливных эстакадах нефтеперерабатывающих заводов

Приложение 11

Удельное объемное электрическое сопротивление некоторых веществ

Приложение 12

Пример размещения пожарных проездов при параллельном расположении нескольких сливо-наливных эстакад

 

Ведомственные указания по проектированию железнодорожных сливо-наливных эстакад легковоспламеняющихся и горючих жидкостей и сжиженных углеводородных газов (ВУП СНЭ-87) разработаны НПО "Леннефтехим" впервые.

При разработке указаний учтены предложения проектных институтов ВНИПИНефти и его филиалов. Гипрокаучука и его филиалов, НПО "Масма", Башгипронефтехима и его филиала, Высшей инженерной пожарно-технической школы МВД СССР и ряда нефтеперерабатывающих заводов.

Указания внесены и подготовлены к утверждению Управлением ВЧОТ, Управлением проектирования и капитального строительства Миннефтехимпрома СССР.

Указания согласованы с ГУПО МВД СССР письмом № 7/6/1658 от 2 июля 1986 г.

Указания устанавливают основные требования к проектированию сливо-наливных железнодорожных эстакад легковоспламеняющихся и горючих жидкостей, а также сжиженных углеводородных газов, предназначенных для слива сырья и налива товарной продукции на предприятиях Министерства нефтеперерабатывающей и нефтехимической промышленности СССР и направлены на:

- унификацию проектных решений по сливо-наливным эстакадам;

- обеспечение снижения пожарной опасности при одновременном улучшении условий и производительности труда на эстакадах.

Указания предназначены для инженерно-технических работников и специалистов организаций, проектирующих сооружения и устройства для налива и слива легковоспламеняющихся и горючих жидкостей и сжиженных углеводородных газов.

Министерство нефтеперерабатывающей и нефтехимической промышленности СССР (Миннефтехимпром СССР)

Ведомственные указания по проектированию

ВУП СНЭ - 87

Ведомственные указания по проектированию железнодорожных сливо-наливных эстакад легковоспламеняющихся и горючих жидкостей и сжиженных углеводородных газов

Впервые

1. ОБЩИЕ ПОЛОЖЕНИЯ

1.1. Настоящие указания являются обязательными при разработке проектов вновь проектируемых и реконструируемых сливо-наливных железнодорожных эстакад легковоспламеняющихся и горючих жидкостей и сжиженных углеводородных газов, предназначенных для слива сырья и отправки (налива) товарной продукции на предприятиях Министерства нефтеперерабатывающей и нефтехимической промышленности СССР.

1.2. При разработке проектов реконструкции или расширения сливо-наливных железнодорожных эстакад легковоспламеняющихся и горючих жидкостей и сжиженных углеводородных газов допускаются обоснованные отступления от настоящих указаний при условии согласования объема отступлений проектной организацией с руководством предприятия, на котором предусматриваются данные отступления и органами Госпожнадзора.

Внесены НПО "Леннефтехим", Управлением ВЧОТ, Управлением проектирования и капитального строительства Миннефтехимпрома СССР

Утверждены приказом Миннефтехимпрома СССР от 17 июля 1986 г. № 685

Срок введения в действие 1 марта 1987 г.

1.3. При проектировании вновь возводимых в реконструируемых существующих сливо-наливных железнодорожных эстакад легковоспламеняющихся и горючих жидкостей и сжиженных углеводородных газов, а также железнодорожных эстакад для слива и налива специальных продуктов (этилированный бензин, метанол, бутадиен, изопрен и другие) наряду с настоящими указаниями должны учитываться дополнительные требования, содержащиеся в соответствующих правилах и нормах.

2. ОСНОВНЫЕ ТРЕБОВАНИЯ К КОНСТРУКЦИИ И УСТРОЙСТВУ ЭСТАКАД

2.1. Основной технологической характеристикой железнодорожной эстакады является объем единовременной сливо-наливной операции, т.е. максимальное количество продукта, сливаемое или наливаемое в один маршрут.

Объем единовременной сливо-наливной операции не должен превышать установленной весовой нормы железнодорожного маршрута.

Максимальные размеры маршрутов на разных железных дорогах различны и устанавливаются в каждом конкретном случае Управлением соответствующей железной дороги.

При поступлении сырья на предприятие в одиночных железнодорожных цистернах объем единовременной сливной операции согласовывается с местным отделением железной дороги и поставщиком сырья.

Объем единовременной операции слива или налива сжиженных углеводородных газов определяется проектной организацией и согласовывается с ВОО "Союзгазпром" Мингазпрома СССР.

Сроки слива и налива приведены в приложении 1.

Срок слива или налива всей единовременно поданной партии цистерн включает время с момента подачи их под погрузку или выгрузку на сливо-наливную железнодорожную эстакаду до момента получения станцией железной дороги уведомления о готовности к уборке со сливо-наливной эстокады всей одновременно поданной партии цистерн.

2.2. Эстакады для налива легковоспламеняющихся и горючих жидкостей должны оснащаться выпускаемыми промышленностью ограничителями налива, обеспечивающими автоматическое прекращение налива цистерн по мере их заполнения. Отсутствие автоматических ограничителей налива допускается при наливе герметичных железнодорожных цистерн.

2.3. При расчете производительности насосов наливной системы с применением автоматического ограничителя налива согласно п. 2.2 следует исходить из нормативного времени налива железнодорожных цистерн и необходимости перепускать часть наливаемого продукта с целью обеспечения требуемого давления перед автоматическими ограничителями налива.

Процент перепускаемого продукта зависит от технической характеристики насосов и выбирается, исходя из автоматического поддержания давления в коллекторах эстакады в процессе налива, которое должно обеспечивать максимально допустимую скорость налива, исключающую возможность накопления зарядов статического электричества при наливе и отказа в нормальном функционировании автоматических ограничителей уровня налива.

При расчете производительности насосов сливо-наливной системы без автоматических ограничителей налива следует исходить из нормативного времена слива и налива железнодорожных цистерн.

При определении производительности насосов, перекачивающих высоковязкие продукты (гудрон и другие) следует исходить из нормативного времени налива расчетного количества железнодорожных цистерн и необходимости обеспечения циркуляции наливаемого продукта в коллекторе эстакады, предотвращающей застывание последнего.

Для обеспечения циркуляции наливаемого продукта в коллекторе эстакады, производительность насоса должна быть на 30 % выше по сравнению с требуемой для налива продукта.

2.4. Максимальная безопасная скорость налива продуктов зависит от свойств наливаемого продукта, диаметра трубопровода наливного устройства и свойств материалов его стенок и не должна превышать следующих пределов:

- для продуктов с удельным объемным электрическим сопротивлением не более 105 ом×м - до 10 м/с;

- для продуктов с удельным объемным электрическим сопротивлением не более 109 ом×м - до 5 м/с;

- для продуктов с удельным объемным электрическим сопротивлением более 109 ом×м допустимые скорости истечения и транспортировки устанавливаются для каждого продукта отдельно, заведомо безопасной скоростью движения и истечения этих продуктов являются 1,2 м/с при диаметрах трубопроводов до 200 мм.

Требования данного пункта следует рассматривать совместно с требованиями "Правил защиты от статического электричества в производствах химической, нефтехимической и нефтеперерабатывающей промышленности" и рекомендациями по режимам налива железнодорожных цистерн светлыми нефтепродуктами на наливных эстакадах нефтеперерабатывающих заводов, приведенными в приложении 10.

Ограничение максимальной скорости налива легковоспламеняющихся и горючих жидкостей до безопасных пределов обеспечивается перепуском части продукта во всасывающий трубопровод насоса.

Автоматическое регулирование расхода перепускаемого продукта производится по поддержанию постоянного давления в напорном трубопроводе подачи продукта на железнодорожную сливо-наливную эстакаду.

2.5. Для каждого вида наливаемого продукта, когда недопустимо смешение его с другими продуктами должны быть предусмотрены самостоятельные наливные устройства.

Слив и налив нефти и нефтепродуктов должен проектироваться с учетом требований ГОСТ 1510-84.

Диаметр коллектора налива выбирается из условия обеспечения превышения суммарного сечения всех наливных устройств при одновременном их включении над сечением коллектора.

2.6. Топлива для реактивных двигателей, авиационные бензины, авиационные масла, присадки к маслам и другие легковоспламеняющиеся и горючие жидкости, в которые недопустимо попадание воды по технологическим соображениям должны наливаться или сливаться на сливо-наливных эстакадах, оборудованных навесами или герметичной системой слива-налива.

2.7. Температура жидкостей, подаваемых на налив, должна быть не выше температуры, установленной для их хранения.

Температура сжижения углеводородных газов, подаваемых на налив, не должна превышать температуры, при которой их упругость паров равна рабочему давлению в железнодорожной цистерне (кроме налива в криогенные цистерны, осуществляемого по специальным инструкциям).

Температура сжиженных углеводородных газов, подаваемых на излив в теплое время года не должна быть ниже плюс 4 °С (например, при наливе из изотермических хранилищ) и не ниже, чем температура окружающего воздуха зимой.

2.8. На сливо-наливных эстакадах для налива легковоспламеняющихся жидкостей допускается слив и налив этилированных бензинов при условии обязательного выделения для этой цели самостоятельных трубопроводов, коллекторов и сливо-наливных устройств.

2.9. Конструкция эстакад и сливо-наливные устройства должны обеспечивать техническую возможность слива и налива легковоспламеняющихся, горючих жидкостей в сжиженных углеводородных газов в железнодорожные цистерны всех типов, пригодные для перевозки данного продукта в соответствии с действующим каталогом подвижного железнодорожного состава МПС.

Допускается проектирование сливо-наливных эстакад на ограниченное количество типов (моделей) цистерн при наличии соответствующего согласования с Управлением железной дороги, обслуживающей предприятие, либо с заводом-поставщиком конкретного продукта, либо с предприятием-собственником железнодорожных цистерн.

При проектировании двухсторонней сливо-наливной эстакады и определении ее суточной загрузки следует исходить из запрещения маневров железнодорожных составов при сливе-наливе на одном пути до окончания всех сливо-наливных операций на другом пути.

Характеристика основных типов железнодорожных цистерн, применяемых для перевозки легковоспламеняющихся жидкостей, горючих жидкостей и сжиженных углеводородных газов для предприятий нефтеперерабатывающей и нефтехимической промышленности приведена в приложении 2.

2.10. Для слива-налива сжиженных углеводородных газов должны проектироваться самостоятельные сливо-наливные железнодорожные эстакады. Налив и слив сжиженных углеводородных газов совместно с легковоспламеняющимися и горючими жидкостями не допускается.

На эстакадах для слива и налива сжиженных углеводородных газов разрешается производить налив и слив нормального пентана, изопентана и других аналогичных жидкостей, перевозимых в специальных герметичных цистернах.

При этом для каждого сливаемого или наливаемого продукта сливо-наливные коллектора должны быть раздельными.

2.11. Для сливо-наливных железнодорожных эстакад сжиженных углеводородных газов и легковоспламеняющихся жидкостей, транспортируемых под давлением, должна предусматриваться эстакада для осмотра и подготовки цистерн под налив на которой производится проверка исправности и герметичности предохранительной, сливо-наливной и контрольной арматуры, также наличие остаточного давления в неиспаряющихся остатков в цистерне.

Эстакада подготовки цистерн сжиженных углеводородных газов под налив должна быть оборудована коллекторами инертного газа и водяного пара, а также дренажным коллектором с учетом требований п. 2.19.

2.12. Сливо-наливные эстакады сжиженных углеводородных газов и легковоспламеняющихся жидкостей, транспортируемых под давлением, должны быть оборудованы факельным коллектором, коллекторами инертного газа и водяного пара, а также самостоятельными коллекторами газоуравнительных систем для каждого вида сливаемого или наливаемого сжиженного углеводородного газа. Коллектор водяного пара может не предусматриваться при обосновании технологической части проекта.

2.13. В состав каждого сливо-наливного устройства сливо-наливной железнодорожной эстакады сжиженных углеводородных газов и легковоспламеняющихся жидкостей, транспортируемых под давлением должны входить:

- трубопровод жидкого продукта (жидкой фазы),

- газоуравнительная линия (трубопровод паровой фазы),

- линия сброса на факел.

Подключение всех трубопроводов сливо-наливного устройства к соответствующим коллекторам эстакады осуществляется через запорную арматуру.

Для обеспечения избыточного давления в цистерне до 0,07 МПа (0,7 кгс/см2) после слива продукта на эстакадах слива сжиженных углеводородных газов легковоспламеняющихся жидкостей, транспортируемых под давлением, следует предусматривать в составе каждого сливного устройства дополнительно трубопровод инертного газа (азота) с установкой на нем запорной арматуры и обратного клапана.

Схемы слива и налива сжиженных газов приведены в приложениях 6 и 8.

2.14. Подвод инертного газа или пара к трубопроводам для продувки иди пропарки необходимо производить с помощью съемных участков трубопроводов или гибких шлангов с установкой запорной арматуры с обеих сторон съемного участка.

По окончании продувки эти участки трубопроводов или шланги должны быть сняты, а на запорной арматуре установлены заглушки.

2.15. При проектировании новых и реконструкции действующих сливо-наливных эстакад сжиженных углеводородных газов, как правило, должна предусматриваться компрессорная установка для утилизации сжиженных углеводородных газов, находящихся в цистернах, перед подачей под налив и для снижения в цистерне избыточного давления до 0,07 МПа (0,7 кгс/см2) после окончания слива сжиженного углеводородного газа.

В случае отсутствия компрессорной установки для возможности утилизации сжиженных углеводородных газов, следует предусматривать на эстакадах подготовки цистерн под налив, слив жидкого продукта созданием давления в цистерне.

2.16. Сливо-наливные эстакады для легковоспламеняющихся и горючих жидкостей, за исключением нефти, мазута, битума, гудрона и масел, могут быть общими.

На сливо-наливных эстакадах для нефти допускается осуществлять слив и налив мазута.

2.17. Для слива неисправных цистерн, как правило, следует предусматривать отдельно расположенные стояки или эстакады с верхним и нижним сливом и, при необходимости, с коллекторами для сливаемых продуктов. В обоснованных случаях разрешается стояки для слива неисправных цистерн предусматривать непосредственно на сливо-наливных эстакадах при выполнении требований п. 7.7 настоящих указаний.

Слив сжиженного углеводородного газа можно осуществлять путем создания давления в неисправной цистерне.

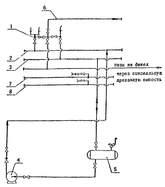
2.18. Коллекторы на сливо-наливных эстакадах легко воспламеняющихся, горючих жидкостей и сжиженных углеводородных газов должны иметь приспособления для освобождения от продуктов:

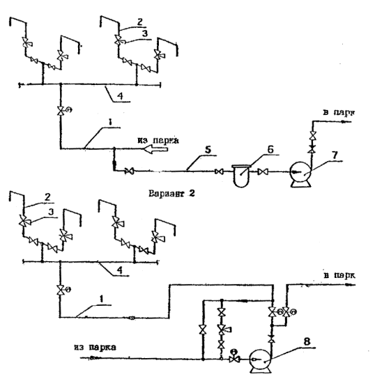
-для легковоспламеняющихся и горючих жидкостей из коллекторов - дренажный трубопровод к самовсасывающим насосам (см. приложение 9), или опорожнение при помощи вакуума, или другими эффективными методами;

- для сжиженных углеводородных газов путем сброса через специальную дренажную емкость с последующей перекачкой или передавливанием в резервуары (см. приложения 6, 8) или в железнодорожную цистерну на отгрузку.

2.19. На трубопроводах, по которым поступают на эстакаду для налива и отводятся из нее при сливе легковоспламеняющиеся, горючие жидкости и сжиженные углеводородные газы, должны быть установлены на случай аварии на расстоянии 20 - 50 м от сливо-наливных эстакад задвижки с дистанционным управлением со щита операторной и непосредственно со сливо-наливной эстакады.

Данную арматуру следует размещать в местах, удобных для управления и обслуживания.

Управление указанными электрозадвижками на железнодорожных сливо-наливных эстакадах должно располагаться на нулевых отметках в местах размещения эвакуационных лестниц.

Наливные коллекторы сжиженных углеводородных газов должны быть обеспечены предохранительными клапанами для закрытого сброса газа из коллекторов при температурном его расширении.

2.20. Слив легковоспламеняющихся и горючих жидкостей следует производить с помощью закрытой системы, состоящей из сливных устройств и коллекторов.

2.21. Система верхнего и нижнего слива продуктов выбирается в зависимости от конструкции сливных приборов железнодорожных цистерн, подлежащих сливу на эстакаде, свойств и количества сливаемого продукта.

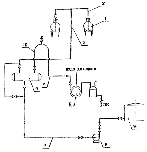
2.22. При сливе железнодорожных цистерн с верхним сливом, как правило, необходимо применять для маловязких низкозастывающих легковоспламеняющихся жидкостей вакуумную систему слива.

В составе вакуумной системы слива должен предусматриваться вакуумсборник, объем которого определяется расчетом.

Данное требование распространяется так же на слив неисправных цистерн, при этом объем сборника следует принимать не менее полезного объема одной сливаемой железнодорожной цистерны.

Принципиальная схема вакуумной системы слива приведена в приложение 7.

2.23. Слив вязких легкозастывающих при температуре выше 0 °С или кристаллизирующихся горючих жидкостей из цистерн, не имеющих обогрева, в каждом конкретном случае должен проектироваться в зависимости от климатических условий, количества стояков и сливаемых продуктов и периодичности сливных операций.

При этом должны предусматриваться дополнительные мероприятия по разогреву продуктов при сливе.

2.24. Разогрев высоковязких продуктов в железнодорожных цистернах при сливе разрешается производить:

- при помощи паровых передвижных подогревателей, опускаемых в железнодорожные цистерны;

- при помощи циркуляционной системы подогрева сливаемого продукта с установкой специальных стационарных теплообменных устройств за пределами железнодорожной эстакады.

Температура нагрева подогревателей должна быть не менее чем на 20 % ниже температуры самовоспламенения разогреваемого продукта.

2.25. Не допускается проектирование наливных коллекторов для высоковязких продуктов типа гудрона и аналогичных им по вязкости других горючих жидкостей на железнодорожных эстакадах налива по тупиковой схеме.

Система налива высоковязких продуктов в железнодорожные цистерны должна предусматривать техническую возможность циркуляции продукта по трубопроводам (коллекторам эстакады и т.д.) и прокачку маловязким не застывающим продуктом всех трубопроводов.

Циркуляция продукта направлена на предотвращение его застывания и обеспечения надежной работоспособности наливной системы.

Схема налива высоковязких продуктов приведена в приложении 5.

2.26. Наливные устройства на железнодорожных эстакадах для высоковязких, кристаллизирующихся продуктов и продуктов, способных образовывать твердые гидраты должны быть оборудованы обогревающими устройствами, поддерживающими температуру наливного устройства выше температуры кристаллизации или образования гидратов.

Участки наливных устройств, которые опускаются в горловину железнодорожной цистерны, не обогреваются.

2.27. Одоризация сжиженных углеводородных газов на сливо-наливных эстакадах не допускается.

2.28. Железнодорожные сливо-наливные эстакады могут быть односторонними с размещением сливо-наливных устройств с одной стороны пути и двухсторонними (эстакада размещается между двумя железнодорожными путями).

2.29. Налив легковоспламеняющихся и горючих жидкостей должен быть закрытым, а сжиженных углеводородных газов и легковоспламеняющихся жидкостей под давлением - герметичным.

Слив-налив легковоспламеняющихся и горючих жидкостей, относящихся к вредным веществам 1 и 2 класса опасности, должен быть герметичным. Классификация вредных веществ принимается по ГОСТ 12.1.007-76.

2.30. Коллекторы на наливных эстакадах, как правило, следует располагать на строительных конструкциях эстакады. Допускается прокладка коллекторов на собственных строительных конструкциях.

2.31. Технологический шаг между наливными устройствами должен приниматься в зависимости от конструкции этих устройств и обеспечивать налив продуктов в смешанный железнодорожный состав по всему фронту.

2.32. Для сливо-наливных эстакад легковоспламеняющихся и горючих жидкостей следует применять бесшланговые наливные и сливные устройства.

Для этих целей, как правило, должны применяться устройства в виде системы шарнирно-сочлененных труб и телескопических устройств.

Нижнее звено наливного устройства должно быть предусмотрено из металла, исключающего искрообразование при ударах.

Для верхнего слива, вакуумного слива и налива неисправных цистерн разрешается использование резинотканевых рукавов.

2.33. Наливные устройства для налива легковоспламеняющихся  и горючих жидкостей должны быть такой длины, чтобы расстояние от конца наливного устройства до нижней образующей цистерны не превышало 200 мм.

2.34. Для отключения наливных и сливных коллекторов от цистерны на наливных, сливных устройствах должны устанавливаться отключающие задвижки.

2.35. Коллекторы и трубопроводы наливных и сливных эстакад должны иметь компенсацию от температурных деформаций.

2.36. При применения в сливо-наливных устройствах сжиженных углеводородных газов резинотканевых рукавов, они должны испытываться на давление согласно ГОСТ, но не менее чем в 2 раза выше рабочего и быть рассчитаны не менее чем на 1,6 МПа (16 кгс/см2).

2.37. Гибкие рукава (шланги) должны иметь специальные приспособления для присоединения к штуцерам цистерны и трубопроводам из не искрящихся материалов.

2.38. На трубопроводах жидкой и паровой фаз при сливе и наливе сжиженных углеводородных газов от железнодорожных цистерн до отключающей задвижки должен устанавливаться штуцер с вентилем для удаления остатков газа из рукавов в факельную систему.

2.39. Трубопроводы слива сжиженных углеводородных газов из железнодорожных цистерн должны быть оборудованы обратными клапанами. Обратные клапаны должны устанавливаться в непосредственной близости от славного устройства, во избежание обратного хода продукта из коллектора.

2.40. Несущие конструкции сливо-наливных эстакад, лотки должны быть выполнены из несгораемых материалов с пределом огнестойкости не менее: для колонн - 2 часа, балок и ригелей - 1 час.

Несущие конструкции сливо-наливных эстакад следует проектировать, как правило, из типовых сборных железобетонных конструкций. При необходимости и соответствующем обосновании допускается проектирование несущих конструкций из металла.

При этом необходимо предусматривать защиту металлических конструкций от воздействия высоких температур до указанного предела огнестойкости.

Рабочие настилы на железнодорожных сливо-наливных эстакадах следует выполнять из просечно-вытяжного листа или полосовой стали, поставленной на ребро, без огнезащиты.

Навес над сливо-наливной эстакадой должен выполнятся из несгораемых материалов.

2.41. Сливо-наливные эстакады должны иметь лестницы из несгораемых материалов в торцах, а также по длине эстакад на расстоянии не более 100 м друг от друга. Ширина лестницы должна быть не менее 0,7 м, угол наклона - не более 45°. Ступени лестниц следует выполнять из просечно-вытяжного листа или полосовой стали, поставленной на ребро, без огнезащиты.

2.42. Шаг несущих конструкций (колонн) сливо-наливных железнодорожных эстакад должен быть равен 6,0 м. В отдельных случаях при соответствующем обоснования допускается увеличение шага несущих конструкций сливо-наливных железнодорожных эстакад до 12 м.

2.43. Территория, занятая сливо-наливной эстакадой, должна иметь твердое водонепроницаемое покрытие, усиленное в зоне железнодорожных путей.

Твердое покрытие должно выполняться из бетона, а под железнодорожными путями:

- в основании - железобетонные плиты,

- по верху плит - деревянные (допускаются также железобетонные) шпалы, к которым крепятся рельсы.

Для закрепления шпал между ними укладывается слой бетона, толщиной 100 мм на всю длину шпал.

Габариты сливо-наливной железнодорожной эстакады определяются длиной и шириной территории последней.

Для открытых сливо-наливных железнодорожных эстакад длина территории определяется строительными конструкциями, ширина - твердым покрытием, огражденным бортиком, которое должно быть не менее габарита приближения строений в соответствии с ГОСТ 9238-73.

При расположении сливо-наливных железнодорожных эстакад под навесом или в здании ширина и длина территории определяется строительными конструкциями навеса или здания.

2.44. Твердое покрытие территории сливо-наливных эстакад должно быть запроектировано с уклоном не менее 2 % в сторону лотков, которые в свою очередь должны иметь уклон 0,5 % к сборным колодцам, располагаемым на расстоянии не более 30 м друг от друга.

Твердое покрытие должно ограждаться бортиком, высотой 200 мм.

2.45. Отводные лотки, как правило, должны располагаться с внешней стороны железнодорожных путей. При этом лотки необходимо перекрывать съемными металлическими решетками. Лотки, как правило, следует проектировать из монолитного железобетона, для застывающих продуктов лотки дополнительно должны обогреваться.

2.46. При размещении эстакады для слива высоковязких продуктов в отапливаемом здании разрешается размещать в этом здании изолированные помещения: насосной, венткамеры, электрощитовой, помещения КИП и санузла.

2.47. При проектировании слива-налива продуктов 1 и 2 классов опасности совместно с продуктами 3,4 классов опасности (ГОСТ 12.1.007-76) сливо-наливные устройства для продуктов 1 и 2 классов опасности следует размещать в торцовой части железнодорожной эстакады и отделять от остальной части эстакады бортиком, высотой 200 мм.

2.48. Конденсат от переносных и стационарных подогревателей, имеющих удовлетворительное качество, разрешается возвращать во внутризаводские сети конденсатопроводов.

Загрязненный конденсат, очистка которого невозможна, следует охлаждать с последующим сбросом в соответствующую производственную канализацию по анализу.

2.49. Обогрев технологических трубопроводов на железнодорожных эстакадах, в которых температура перекачиваемого продукта не превышает 333К (60 °С) следует производить, как правило, водой промтеплофикации с температурой до 423К (150 °С).

Обогрев трубопроводов (коллекторов и стояков) для слива и налива высоковязких горючих жидкостей рекомендуется производить водяным паром, давление до 1,3 МПа (13 кгс/см2).

2.50. На железнодорожной эстакаде слива высоковязких застывающих продуктов при применении передвижных подогревателей для разогрева продуктов в цистернах должен предусматриваться коллектор водяного пара с отводами к каждой цистерне.

На отводах обязательна установка запорной арматуры. На подводящем паропроводе должна предусматриваться установка контрольно-измерительных приборов, измеряющих параметры и количество теплоносителя.

2.51. Все паропроводы и конденсатопроводы, прокладываемые на эстакадах, теплоизолируются несгораемыми материалами.

2.52. Прокладка паропроводов и конденсатопроводов должна осуществляться в соответствии с "Правилами устройства и безопасной эксплуатации трубопроводов пара и горячей воды" и СНиП II-36-73.

3. МЕХАНИЗАЦИЯ, СВЯЗЬ, КОНТРОЛЬ И АВТОМАТИЗАЦИЯ СЛИВО-НАЛИВНЫХ ОПЕРАЦИЙ

Механизация

3.1. Наливные железнодорожные эстакады для легковоспламеняющихся и горючих жидкостей, на которых налив производится с помощью бесшлангового телескопического устройства, должны быть оборудованы механизмами подъема и спуска телескопического патрубка и перемещения, телескопического устройства.

На сливо-наливных железнодорожных эстакадах сжиженных углеводородных газов при использовании в качестве наливных и сливных приспособлений металлических уравновешенных плеч необходимо предусмотреть возможность их подсоединения к сливо-наливным угловым вентилям и к уравнительному вентилю вне зависимости от того, в каком положении по отношению к продольной оси цистерны будут находиться вентили.

3.2. Сливо-наливные железнодорожные эстакады сжиженных углеводородных газов, на которых налив в цистерны производятся с помощью гибких рукавов, должны быть оборудованы поворотными устройствами и приспособлениями для крепления шлангов.

Поворотное устройство должно обеспечить поворот рукавов на угол 120-180°.

3.3. На сливных железнодорожных эстакадах, где производится разогрев вязких продуктов в цистернах при помощи передвижных подогревателей, необходимо предусматривать поворотные укосины, снабженные устройством для подъема и спуска подогревателей.

Угол поворота укосины должен обеспечить попадание подогревателя в горловину цистерны с учетом неточности ее установки, а также установку подогревателя в гнездо для хранения.

3.4. На всех эстакадах должны предусматриваться подъемные устройства для ремонта наливных стояков, арматуры, ограничителей налива и т.п.

3.5. Для ремонта сливо-наливных железнодорожных эстакад следует предусматривать посты для подключения электросварочного оборудования и электроинструмента. Посты должны проектироваться с соблюдением требований Правил устройства электроустановок (ПУЭ-86), "Правил технической эксплуатации электроустановок потребителей" и "Правил техники безопасности при эксплуатации электроустановок потребителей", а также "Правил безопасности при эксплуатации нефтегазоперерабатывающих заводов" (ПТБ НП-73.) и других действующих нормативных документов.

Связь

3.6. На сливо-наливных железнодорожных эстакадах легковоспламеняющихся и горючих жидкостей, а также сжиженных углеводородных газов следует предусматривать двухсторонние переговорные устройства, обеспечивающие двухсторонние переговоры между сливо-наливщиком, машинистом и оператором.

При отсутствии указанных переговорных устройств, разрешается на сливо-наливных железнодорожных эстакадах легковоспламеняющихся и горючих жидкостей, а также сжиженных углеводородных газов, предусматривать громкоговорящую связь из операторной и прямую телефонную связь с эстакады между товарной операторной и насосной, а также пожарные извещатели. Исполнение оборудования связи, устанавливаемого на эстакадах, должно соответствовать категориям и группам взрывоопасных смесей согласно ПУЭ-86 или вынесено за пределы взрывоопасной зоны.

3.7. Для производственной громкоговорящей связи вдоль сливо-наливной железнодорожной эстакады во взрывоопасной зоне, как правило, следует устанавливать взрывобезопасные рупорные громкоговорители, которые должны крепиться к металлоконструкциям эстакады, столбам, прожекторным мачтам или иным сооружениям.

3.8. Подвод кабелей к громкоговорителям должен осуществляться в стальных трубах согласно ПУЭ-86.

Подвод кабелей к пожарным извещателям, при открытой прокладке, в целях защиты от механических повреждений должен выполняться в газовых трубах.

3.9. На сливо-наливных железнодорожных эстакадах следует устанавливать телефонные аппараты у лестниц на нулевой отметке и на площадке расположения узлов управления наливом с прокладкой к ним кабелей в металлических трубах.

Расстояние между ними не должно превышать 100 м, количество телефонных аппаратов на эстакаде должно быть не менее двух на каждой из указанных отметок.

3.10. Извещатели пожарной сигнализации общего назначения должны устанавливаться вдоль сливо-наливной железнодорожной эстакады через 100 м друг от друга, но не менее двух на каждую эстакаду в районе лестниц для обслуживания эстакад.

Размещать пожарные извещатели следует на расстояния 20 м  от сливо-наливных эстакад на колонках таким образом, чтобы нажимная кнопка была выше уровня земли не более, чем на 1,5 м и был обеспечен свободный доступ к ним и их достаточная освещенность.

Контроль и автоматизация

3.11. Наливные операции легковоспламеняющихся и горючих жидкостей должны автоматизироваться путем использования ограничителей уровня налива с учетом их применимости для различных сред.

3.12. В случае слива продукта из железнодорожных цистерн через промежуточные сливные емкости должна быть предусмотрена автоматическая откачка сливаемого продукта из промежуточных емкостей, предотвращая перелив последних.

Насосные агрегаты должны иметь блокировку на автоматическое включение по номинальному уровню и отключение по нижнему уровню от уровнемеров, устанавливаемых на промежуточных сливных емкостях. Одновременно в операторную должен поступать световой и звуковой сигнал о верхнем предельном уровне.

3.13. На эстакадах для налива легковоспламеняющихся, горючих жидкостей и сжиженных углеводородных газов приборы замера давления и температуры необходимо устанавливать на общем коллекторе подачи продукта на наливные устройства перед входом на эстакаду с выносом показаний на щит оператора.

3.14. При автоматическом прекращении налива продуктов в железнодорожные цистерны с целью исключения гидравлических ударов в трубопроводах и наливных устройствах, следует предусматривать байпаспрование насоса налива.

На байпасе насоса следует устанавливать регулирующий клапан, который должен открываться при увеличении давления наливаемого продукта в напорном коллекторе перед железнодорожной сливо-наливной эстакадой.

3.15. На площадке для обслуживания наливных устройств эстакад легковоспламеняющихся и горючих жидкостей, а также сжиженных углеводородных газов следует предусматривать кнопки дистанционного отключения насосных агрегатов, подающих продукт на железнодорожную эстакаду.

Расстояние между кнопками должно быть не более 50 м.

3.16. На сливо-наливных железнодорожных эстакадах легковоспламеняющихся жидкостей и сжиженных углеводородных газов должны устанавливаться сигнализаторы довзрывных концентраций согласно требованиям к установке сигнализаторов и газоанализаторов (ТУ-ГАЗ-86).

Один датчик сигнализатора довзрывных концентраций следует устанавливать на две цистерны на нулевой отметке вдоль каждого фронта налива и слива.

При двухстороннем фронте налива или слива датчики должны располагаться в "шахматном" порядке.

4. ВОДОСНАБЖЕНИЕ, КАНАЛИЗАЦИЯ

4.1. При проектировании водоснабжения и канализации сливо-наливных эстакад легковоспламеняющихся и горючих жидкостей следует предусматривать следующие мероприятия:

а) смыв проливов продуктов на сливо-наливных эстакадах производить водой с температурой не выше 75 °С в местах водоразбора с учетом температуры застывания продуктов. Для смывания мазута и других высоковязких продуктов допускается использование пара низких параметров;

б) отвод сточных (производственных и дождевых) вод от сливо-наливных эстакад на нефтеперерабатывающих и нефтехимических предприятиях предусматривается:

- от эстакад светлых нефтепродуктов - в первую систему канализации,

- от эстакад сырой нефти и темных нефтепродуктов - во вторую систему канализация,

- от эстакад токсичных веществ (фенол, синтетические жирные кислоты, метанол, этилированный бензин, тетраэтилсвинец в др.) при загрязнении стока в специальную канализацию с последующей подачей на установки локальной очистки или обезвреживания стоков;

- от эстакад сжиженных углеводородных газов C1-C2 в первую систему канализации,

- от эстакад сжиженных углеводородных газов C4, в специально-устанавливаемые емкости приема сточных и дождевых вод. Сточные воды в данных емкостях должны анализироваться на содержание углеводородов и затем направляться при необходимости на отпарку углеводородов или в первую систему канализации;

в) на предприятиях синтетического каучука отвод сточных вод от сливо-наливных эстакад предусматривается в специально устанавливаемые емкости приема сточных и дождевых вод. Сточные воды в данных емкостях должны анализироваться на содержание углеводородов и затем направляется на установки отпарки углеводородов или в промышленную канализацию;

г) в случае отсутствия на нефтехимическом предприятии указанных в п. 4.1б систем канализации отвод сточных вод от сливо-наливных эстакад следует выполнять по аналогии с предприятиями синтетического каучука согласно п. 4.1в.

4.2. Для смыва проливов продукта па сливо-наливных эстакадах необходимо использовать воду из производственного водопровода. Для подогрева воды, как правило, применять скоростные пароводоподогреватели с подключением к системе технологического пароснабжения промплощадки.

Расчетный расход горячей воды принимается две струи по 2,5 л/с в течение 30 мин. каждую смену.

Значение располагаемых (свободных) напоров в трубопроводах горячего водоснабжения в местах водоразборов следует принимать в соответствии с требованиями СНиП 2.04.01-85 по проектированию внутреннего водопровода и канализации зданий.

4.3. Разводка сети горячей воды и пара должна осуществляться сухотрубами, прокладываемыми открыто по конструкциям эстакады, с уклоном для возможности их опорожнения. На сухотрубах через каждый 30 м устанавливаются поливочные краны dу 25 с прорезиненными шлангами dу 25 длиной 15 м.

Необходимость теплоизоляции трубопроводов определяется теплотехническими расчетами, конструктивные решения прокладки трубопроводов и теплоизоляции должны приниматься в соответствии с требованиями СНиП II-36-73* по проектированию тепловых сетей.

4.4. Сборные колодцы должны присоединяться к сети промканализации через колодцы с гидравлическим затвором. Пропускная способность сети промканализации должна быть дополнительно рассчитана на прием наибольшего количества воды при пожаре, либо при дожде.

5. ПОЖАРОТУШЕНИЕ

5.1. Для пожаротушения открытых и расположенных под навесами сливо-наливных железнодорожных эстакад легковоспламеняющихся и горючих жидкостей следует предусматривать:

- стационарную установку пожаротушения воздушно-механической пеной средней кратности с дистанционным пуском,

- водяное орошение лафетными стволами конструкций эстакады и железнодорожных цистерн,

- установку стояков, с соединительными головками на магистральном (кольцевом) растворопроводе для подачи пены от переносных генераторов, на расстоянии 120 м друг от друга.

При размещении сливо-наливных эстакад легковоспламеняющихся и горючих жидкостей в зданиях должна предусматриваться стационарная установка пожаротушения воздушно-механической пеной средней кратности с дистанционным пуском и внутренний противопожарный водопровод, обеспечивающий подачу в любую точку помещения двух струй воды с расходом по 5 л/с каждой.

Для противопожарной защиты сливо-наливных железнодорожных эстакад сжиженных углеводородных газов следует предусматривать водяные лафетные стволы.

5.2. Инерционность системы пенного пожаротушения для сливо-наливных железнодорожных эстакад легковоспламеняющихся и горючих жидкостей должна быть не более 3 минут.

5.3. Расчетная площадь пенного пожаротушения для сливо-наливных железнодорожных эстакад принимается по внешнему контуру сооружения, включая железнодорожные пути, с учетом размещения на этой площади не менее 3 железнодорожных цистерн на каждой стороне налива.

Пеногенераторы следует располагать на строительных конструкциях эстакад с подачей пены сверху на железнодорожные цистерны и настил эстакады.

На каждую железнодорожную цистерну грузоподъемностью 60 т должна осуществляться подача пены не менее чем с одного пеногенератора.

5.4. Проектирование лафетных установок для противопожарной защиты железнодорожных сливо-наливных эстакад следует осуществлять в соответствии с отраслевыми нормативными документами.

5.5. Лафетные стволы системы орошения должны устанавливаться на расстоянии не менее 15.0 м от железнодорожного пути эстакады.

Если при реконструкции сливо-наливных эстакад невозможно обеспечить указанное расстояние, допускается его уменьшение до 10 м.

5.6. Расположение лафетных стволов определяется из условия орошения каждой точки эстакады двумя струями.

5.7. Сливо-наливная эстакада должна быть обеспечена первичными средствами пожаротушения в соответствии с правилами пожарной безопасности при эксплуатации нефтеперерабатывающих предприятий (ППБ-79).

5.8. Совместно с пожарными извещателями, размещаемыми в районе сливо-наливных эстакад следует предусматривать устройства для дистанционного включения пожарных насосов в насосной пенотушения. Устройства для дистанционного включения насосов пенотушения должны располагаться на расстоянии не более 100 м друг от друга, но не менее двух на каждую эстакаду с расположением в противоположных концах эстакады.

6. ЭЛЕКТРОТЕХНИЧЕСКИЕ УСТРОЙСТВА

6.1. Взрывоопасные и пожароопасные зоны на сливо-наливных эстакадах определяются в соответствии с "Правилами устройства электроустановок" (ПУЭ-86).

6.2. Исполнение электрооборудования и аппаратов, применяемых для освещения сливо-наливных эстакад, должно соответствовать местам их установок.

При установке электрооборудования во взрывоопасных зонах, его исполнение по взрывозащите должно соответствовать категориям и группам взрывоопасных смесей по классификации, приведенной в ГОСТ 12.2.020-76 и ГОСТ 12.1.011-78.

6.3. Открытые сливо-наливные железнодорожные эстакады легковоспламеняющихся и горючих жидкостей, а также сжиженных углеводородных газов должны освещаться прожектерами.

Использование светильников для электроосвещения открытых сливо-наливных эстакад в каждом случае должно быть обосновано.

Закрытые сливо-наливные эстакады и сливо-наливные эстакады под навесами должны освещаться светильниками, расположенными на строительных конструкциях навесов, зданий и в других местах, где исключается механическое повреждение электропроводки и светильников.

При необходимости контроля за состоянием и уровнем налива железнодорожных цистерн следует применять безопасные аккумуляторные фонари.

6.4. Управление освещением сливо-наливных эстакад должно быть централизованным и осуществляться дистанционно со щита оператора.

6.5. Защитное заземление должно быть выполнено в соответствии с требованиями действующих правил устройства электроустановок (ПУЭ-86).

6.6. Молниезащита (защита от прямых ударов и от вторичных проявлений молний) должна соответствовать требованиям инструкции по проектированию и устройству молниезащиты зданий и сооружений СН 305-77.

6.7. Сливо-наливные эстакады для легковоспламеняющихся жидкостей и сжиженных углеводородных газов должны быть защищены от прямых ударов молнии и от электрической индукции.

6.8. При разработке проекта молниезащиты следует учитывать зоны защиты, создаваемые прожекторными мачтами освещения сливо-наливных эстакад.

6.9. Защита от прямых ударов молнии должна, быть осуществлена отдельно стоящими молниеотводами (стержневыми или тросовыми).

6.10. В качестве токоотводов можно использовать металлические конструкции молниеприемников. При этом должна быть обеспечена непрерывная электрическая связь.

6.11. В зону защиты молниеотводов должно входить пространство над горловинами цистерн, в которые производится открытый налив продукта на наливной эстакаде.

6.12. Защита от электростатической индукции обеспечивается присоединением всего оборудования и аппаратов к защитному заземлению.

6.13. Как правило, должно предусматриваться объединение заземлителей защиты от прямых ударов молнии, защитного заземления электрооборудования и заземлителя защиты от электростатической индукции.

6.14. Сливо-наливные эстакады (в металлическом в железобетонном вариантах), относящиеся по классификации ПУЭ к пожароопасным зонам классов II-I и II-III, являются сооружениями III категории по устройству молниезащиты и должны быть защищены от прямых ударов молнии и от заноса высоких потенциалов.

6.15. Защита от статического электричества должна выполняться в соответствии с требованиями правил защиты от статического электричества в производствах химической, нефтехимической и нефтеперерабатывающей промышленности.

6.16. Металлическое и электроприводное неметаллическое оборудование, трубопроводы должны представлять собой на всем протяжении непрерывную электрическую цепь, которая в пределах сливо-наливной эстакады должна быть присоединена к контуру заземления не менее, чем в двух точках.

6.17. Металлические кожухи термоизоляции трубопроводов в пределах сливо-наливной эстакады должны обеспечивать непрерывность электрической цепи и быть заземлены через каждые 40-50 м с помощью стальных проводников или путем присоединения непосредственно к заземленным трубопроводам, на которых они смонтированы.

6.18. Наливные и сливные устройства эстакад должны быть заземлены.

6.19. Рельсы железнодорожных путей в пределах сливо-наливного фронта должны быть электрически соединены между собой и присоединены к заземляющим устройствам в двух местах по торцам эстакады. При этом заземляющие устройства должны быть не связаны с заземлением электротяговой сети.

6.20. Заземляющие устройства для защиты от статического электричества следует, как правило, объединить с заземляющими устройствами для электрооборудования и молниезащиты.

7. ТРЕБОВАНИЯ К РАЗМЕЩЕНИЮ И ТЕРРИТОРИИ ЭСТАКАД

7.1. Сливо-наливные эстакады должны располагаться на прямом горизонтальном участке железнодорожного пути.

Расположение эстакад на уклоне до 1,5 % допускается в исключительных случаях при соответствующем обосновании.

На складах III категории сливо-наливные эстакады, оборудованные сливо-наливными устройствами с одной стороны допускается располагать на кривых участках пути радиусом не менее 200 м.

7.2. Количество железнодорожных сливо-наливных эстакад определяется объемом сливо-наливных операций с учетом коэффициента неравномерности по прибытию и отправлению цистерн.

7.3. Расстояние между путями двухсторонней сливо-наливной эстакады определяется размерами конструкции эстакады и габаритом приближения строений по ГОСТ 9238-73.

7.4. Железнодорожные пути, на которых располагаются сливо-наливные эстакады должны иметь съезд на параллельный обгонный путь, позволяющий вывод с эстакад цистерн в обе стороны.

Если при реконструкции действующих эстакад невозможно устройство съезда на параллельный обгонный путь, позволяющий вывод с эстакад цистерн в обе стороны, длину тупикового железнодорожного пути со сливо-наливных эстакад следует увеличить не менее чем на 30 м от торца эстакады до упорного бруса, при этом на брусе необходимо устанавливать лебедку с тросом для растаскивания цистерн.

7.5. Вдоль каждой сливо-наливной железнодорожной эстакады легковоспламеняющихся и горючих жидкостей, а также сжиженных углеводородных газов должен предусматриваться пожарный проезд, который следует располагать на расстоянии не менее 20 м от крайнего рельса сливо-наливной эстакады.

Проезды должны иметь твердое покрытие шириной проезжей части 3,5 м.

Пожарные проезды должны быть оборудованы шлагбаумом, находящимся в закрытом положении.

Пример размещения пожарных проездов при параллельном расположении нескольких сливо-наливных эстакад приведен в приложения 12.

7.6. Расстояние между осями ближайших железнодорожных путей соседних сливо-наливных эстакад (расположенных на параллельных путях) должно быть не менее 30 м.

7.7. Расстояние от крайнего рельса железнодорожного пути предприятия, по которому предусматривается движение локомотивов, до крайнего рельса ближайшего пути со сливо-наливной эстакадой, должно быть не менее 20 м, если температура вспышки паров сливаемых или наливаемых легковоспламеняющихся и горючих жидкостей ниже 393К (120 °С) и не менее 10 м, если температура вспышки паров 393 К (120 °С) и выше.

Проезд локомотива через сливо-наливные эстакады не допускается.

7.8. Расстояние от железнодорожных путей до выступающих частей сливо-наливных эстакад следует принимать в соответствии с габаритами приближения строений согласно ГОСТ 9238-73.

7.9. К сливо-наливным эстакадам должны быть предусмотрены пешеходные дорожки с бетонным покрытием шириной не менее 1 м. Пешеходные дорожки проектируются к торцам каждой эстакады.

7.10. Сливо-наливные эстакады для крупнотоннажных продуктов должны проектироваться, как правило, для слива или налива не более 2-4 продуктов на одной эстакаде. При этом, к одному продукту могут быть отнесены несколько сортов последнего, перекачка которых может производиться по одному и тому же коллектору. При проектировании сливо-наливных эстакад для мелкотоннажных продуктов, количество последних определяется автором проекта.

7.11. Расстояние от сливо-наливных эстакад до других объектов парка (склада), в состав которых входят эстакады, должны быть не менее указанных в табл. 1.

8. ОСОБЫЕ ТРЕБОВАНИЯ К УСТРОЙСТВУ ЖЕЛЕЗНОДОРОЖНЫХ СЛИВО-НАЛИВНЫХ ЭСТАКАД

8.1. В местах пересечения пешеходных дорожек с рельсовыми путями предусматривать сплошные настилы в уровень с головками рельсов.

8.2. Переход с обслуживающей площадки эстакады на цистерну должен происходить через переходные мостики, рабочие настилы которого выполняются из просечно-вытяжного стального листа.

Перемещение и конструкция переходных мостиков должны исключать необходимость хождения сливщиков-наливщиков по верней образующей котла цистерны.

8.3. Переходные мостики в нерабочем положении должны быть не ближе габарита приближения строений, в соответствии с ГОСТ 9238-73 для сливо-наливных и погрузочно-разгрузочных устройств и снабжены приспособлением для фиксирования в нерабочем положении.

8.4. Настилы эстакад и переходных мостиков, должны быть оборудованы перилами высотой де менее 1 м, а также сплошным бортиком высотой не менее 140 мм.

8.5. В отдельных случаях по согласованию с органами Министерства путей сообщения допускается устройство эстакад без переходных мостиков. В этом случае приближение настила, конструкция эстакад и ее элементов должно быть таким, чтобы обеспечивалась безопасность при производстве сливо-наливных операций и при переходе с эстакады на цистерну, а также исключалась возможность соприкосновения цистерны или ее отдельных элементов с эстакадой.

8.6. При параллельном размещении двух сливо-наливных эстакад и при наличии между ними ходовых железнодорожных путей, а также трех и более эстакад, предусматривать между ними пешеходные мосты.

8.7. Для закрытых сливо-наливных эстакад мосты прокладываются с их одной торцовой стороны, более удобной для обслуживающего персонала, с учетом расположения насосных, диспетчерских пунктов, бытовых помещений и т.д.

8.8. Для открытых сливо-наливных эстакад при технической возможности прокладку мостов, как правило, следует проектировать равно удаленными от их торцов.

8.9. Длина моста должна обеспечивать переход с двух крайних или рядом параллельно расположенных сливо-наливных эстакад.

8.10. Опоры мостов должны устанавливаться с учетом габаритов приближений строений и не мешать проезжей части пожарных автомашин.

8.11. Несущие конструкции моста выполняется из железобетона или металла, ограждения разрешается выполнять без огнезащиты из металла, рабочие настилы - из просечно-вытяжного стального листа.

8.12. Пешеходные мосты должны иметь ширину 2,25 м, высоту перил 2,3 м, сплошную обшивку по низу высотой не менее 100 мм.

8.13. С торца мостов предусматривать маршевые лестницы шириной не менее 0,7 м и углом наклона не более 45°, а также промежуточные выходы с мостов на сливо-наливную эстакаду через маршевые лестницы шириной не менее 0,7 м и углом наклона не более 45°.

8.14. Пешеходные мосты должны иметь освещение 10 люкс и подлежат заземлению.

Таблица 1

№№ п.п.

Объект, до которого нормируется расстояние

Минимальное расстояние в м. от сливо-наливной железнодорожной эстакады

Легковоспламеняющихся жидкостей

Горючих жидкостей

Сжиженных углеводородных газов

1

2

3

4

5

1

Резервуары наземные и подземные сырьевых и товарных парков легковоспламеняющихся и горючих жидкостей независимо от емкости парков (от оси обвалования)

30

30

 

2

Резервуары наземные и подземные сырьевых и товарных парков легковоспламеняющихся и горючих жидкостей независимо от емкости парков (от оси обвалования):

 

 

 

 

А) при объеме сливо-наливных операций на эстакаде сжиженных углеводородных газов до 500 м3 включительно;

 

 

110

 

Б) при объеме сливо-наливных операций на эстакаде сжиженных углеводородных газов до 2000 м3 включительно;

 

 

200

 

В) при объеме сливо-наливных операций на эстакаде сжиженных углеводородных газов свыше 2000 м3;

 

 

300

3

Резервуары наземные сырьевые и товарных парков сжиженных углеводородных газов (до оси обвалования):

 

 

 

 

А) при общем объеме парка до 500м3 включительно;

110

110

40

 

Б) при общем объеме парка до 2000м3 включительно;

200

200

40

 

В) при общем объеме парка свыше 2000м3;

300

300

40

4

Товарные и сырьевые насосные, обслуживающие сливо-наливные эстакады

15

10

15

5

Насосные пенотушения парка

50

50

-

6

Бытовые помещения, лаборатории, проходная парка

60

40

60

7

Сооружения с применением открытого огня

100

100

300

8

Пруды-отстойники, нефтеловушки

100

100

-

9

Пожарные резервуары парка

60

40

60

10

Пожарные извещатели

20

20

20

11

Ограждение

30

30

30

12

Пункты подготовки и ремонта неисправных цистерн

100

100

300

13

Эстакада для слива неисправных цистерн

30

30

30

14

Отдельно стоящие закрытые РУ, ТП, ПП парка

60

30

80

15

Прожекторные мачты без распределительного щита

25

25

25

16

Кабельные эстакады парка

20

20

20

17

Автомобильные дороги, проезды

20

20

20

ПРИМЕЧАНИЯ: 1. Расстояния, указанные в таблице, определяются для крытых эстакад от наружных стен, для открытых эстакад - от оси железнодорожного пути.

2. Расстояния от сливо-наливных эстакад до объектов, на принадлежащих парку (складу) в состав которых входят эстакады, принимаются такими же, как и от парков, (складов) легковоспламеняющихся и горючих жидкостей и сжиженных углеводородных газов.

3. Под объемом сливо-наливных операции подразумевается количество (м3) одновременно сливаемого или наливаемого продукта в допустимые сроки слива-налива, определенные приложением I настоящих указаний.

Приложение 1

Максимально допустимые сроки на слив и налив цистерн

1. Железнодорожные цистерны, принадлежащие МПС СССР (выписка из Устава железных дорог Союза ССР и Правил перевозки грузов)

Срок налива или слива для всей одновременно поданной партии цистерн по фронту одновременного налива или слива не должен превышать:

для налива - независимо от рода продуктов и грузоподъемности цистерн - 2 часа.

для слива - для двухосных цистерн - 1 час.15 мин., для цистерн, имеющих четыре и более осей - 4 часа.

Указанный срок приведен для эстакад, где налив цистерн производится при помощи насосов с механическим приводом, а слив из цистерн производится при помощи таких же насосов или самотеком через нижнее сливное отверстие цистерны.

При сливе вязких легкозастывающих жидкостей, требующих предварительного разогрева их перед сливом, общий срок на разогрев и слив устанавливается в зависимости от вязкости или температуры застывания продукта.

По срокам, предоставляемым на слив, вязкие легкозастывающие продукты делятся на четыре группы по следующим данным:

вязкие продукты - по условной вязкости при 50 °С,

застывающие (невязкие) продукты - по температуре застывания.

К группе I относятся продукты с условной вязкостью от 5 до 15° или температурой застывания от минус 15 °С до 0 °С.

К группе II относятся продукта с условной вязкостью от 16 до 25° или с температурой застывания от плюс 1 °С до плюс 15 °С.

К группе III относятся продукты с условной вязкостью от 26 до 40° включительно или с температурой застывания от плюс 16 °С до плюс 30 °С включительно.

К группе IV относятся продукты с условной вязкостью выше 40° или с температурой застывания выше плюс 30 °С.

В случае затруднения слива и необходимости разогрева вязких и застывающих продуктов в холодный период года (с 15 октября по 15 апреля) общий срок на разогрев и слив последних не должен превышать для продуктов I группы - 4 часа, II группы - 6 часов, III группы - 8 часов и IV группы - 10 часов.

При сливе из цистерн с паровой рубашкой устанавливаются следующие сроки: для продуктов I и II групп - 3 часа, для продуктов III и IV групп - 4 часа.

При необходимости разогрева вязких и легкозастывающих продуктов в теплый период года вышеуказанный срок слива может быть дополнительно увеличен для продуктов I и II групп, а также при сливе из цистерн с паровой рубашкой - на 1 час, для продуктов III и IV групп - на 2 часа.

Перечень вязких и застывающих продуктов по указанным группам приведен в приложении 3.

2. Железнодорожные цистерны, принадлежащие ПО "Центргаз" (выписка из инструкции по наливу, сливу и перевозке сжиженных углеводородных газов в железнодорожных вагонах-цистернах)

Срок налива всей партии цистерн одной отправки на заводе-поставщике с момента их приемки от конторы сжиженного газа или товарно-транспортного пункта объединения "Центргаз" не должен превышать 6 часов.

Срок слива (время простоя) всей партии цистерн одной отправки у грузополучателя не должно превышать 24 часов с момента их прибытия на станцию назначения и до момента возвращения на станцию.

Приложение 2

Характеристика основных типов железнодорожных цистерн, применяемых
для перевозки легковоспламеняющихся и горючих жидкостей и сжиженных углеводородных газов для предприятий нефтеперерабатывающей и нефтехимической промышленности


№№
п/п

Техническая характеристика железнодорожного вагона-цистерны

Для нефти и бензина

Для вязких нефтепродуктов

Для фенола

Для этиловой жидкости

Для пропана

Для сжиженных углеводородных газов

Для пентана

Для спирта

Для винил-хлорида

1

2

3

4

5

6

7

8

9

10

11

12

13

1

Колея, мм

1520

1520

1520

1520

1520

1520

1520

1520

1520

1520

1520

2

Грузоподъемность, т

120

60

45.6

63,5

62

60,65

22,9

32,1

40

59

58,4

3

Тара, т

48,8

23,2

25,1

24,23

23,4

22,24

35,7

38,2

23,4

23,2

28,8

4

Объем котла, м3

 

 

 

 

 

 

 

 

 

 

 

 

полный

140

73,1

61,2

73,17

62,37

38,7

54

75,5

73,3

73,1

73,0

 

полезный

137,2

71,7

57

68,6

57,8

36,8

45

64,2

62,3

71,7

-

5

Длина, мм

 

 

 

 

 

 

 

 

 

 

 

 

по осям сцепления автосцепок

21120

12020

12020

12020

12020

12020

12020

12020

12020

12020

12020

 

по концевым блокам рамы

19990

10800

10800

10800

10800

10800

10800

-

10800

10800

10800

 

котла наружная, мм

20220

10770

10300

10770

10520

10490

10648

-

-

10770

10860

6

Ширина максимальная, мм

3275

3080

3020

3080

3080

3000

3020

3240

3220

3096

3240

7

Диаметр котла внутренний, мм

3000

3000

2800

3000

2800

2200

2600

3052

3000

3000

3000

8

Высота от уровня головок рельсов:

 

 

 

 

 

 

 

 

 

 

 

 

максимальная, мм

4830

4615

4600

4595

4615

4140

4593

5010

5017

4615

4990

9

Условное рабочее давление в котле, ати

1.5

1,5

2,5

1,5

1,5

1,0

20

20

3,0

1,5

8,0

10

Коэффициент тары

0,41

0,4

0,55

0,382

0,38

0,367

1,55

-

0,585

0,398

0,49

11

Удельный объем, м3

1,143

1,19

1,26

1,08

0,93

0,64

1,965

-

1,6

1,215

1,25

12

Нагрузка от оси на рельсы, т

21,1

20,8

17,6

21,625

21,35

20,7

14,65

-

15,85

20,55

21,8

13

Нагрузка на - 1 пог. м пути, т

8,0

6,9

5,86

7,3

7,1

6,89

4,87

-

5,27

6,86

7,25

14

Конструктивная скорость, км/ч

120

120

120

120

120

120

120

120

120

120

120

15

Габарит по ГОСТ 9238-73

1-Т

02-Т

02-Т

02-Т

02-Т

02-Т

02-Т

1-Т

1-Т

02-Т

1-Т

16

Характеристика вагонов-цистерн по сливо-наливным устройствам:

 

 

 

с паровой рубашкой

с тепевой защитой

 

 

 

 

 

 

Налив

Верхний через две горловины

Верхний

Верхний

Верхний

Верхний

Верхний

Верхний

Верхний

Верхний

Верхний

Верхний

 

Слив

нижний через два типовых универсальных сливных приборов (ГОСТ
9273-70)

нижний через типовой универсальный сливной прибор (ГОСТ
9273-70)

Верхний

нижний через типовой универсальный сливной прибор (ГОСТ
9273-70)

нижний через типовой универсальный сливной прибор (ГОСТ
9273-70)

Верхний

Верхний

Верхний

Верхний

нижний через типовой универсальный сливной прибор (ГОСТ
9273-70)

Верхний

17

Трафарет

"Бензин"

"Бензин"

огнеопасно

-

едкая жидкость "Опасно"

"этиловая" жидкость огнеопасно, ядовито"

"Пропан, сжиженный газ, огнеопасно, с горки не спускать"

"Пропан, сжиженный газ, огнеопасно, с горки не спускать"

"Пентан, огнеопасно, с горки не спускать"

"Спирт"

 

18

Номер модели

15-871

15-1443

15-1416

15-1566

15-898

15-1414

15-1407

15-1519

15-1520

15-1454

15-1421


ПРИМЕЧАНИЕ: 1. В настоящем приложении по материалам заводов-изготовителей указаны цистерны, которые находятся в серийном производстве, либо которые выпускается партиями по мере поступления заказов. Данные приведены на основании каталога ЦНИИТЭИТяжмаша 18-3-79.

2. При перевозке в вагоне-цистерне, указанной в гр.10 пропилена, изобутана, н-бутана и изопрена грузоподъемность цистерны будет равна соответственно 33,5 т, 35,6 т, 36,8 т и 43,0 т.

Приложение 3

Перечень вязких и легкозастывающих продуктов

№№
п.п.

Наименование продукта

К какой группе относится

1

2

3

1

Асидол и асидол-мыловафт

I

2

Бензол

 

3

Гудрон

VI

4

Депрессатор АЗНИИ

I

5

Деэмульгатор (НЧК)

II

6

Дистиллят вакуумный из нефтей восточных районов

III

7

Кислоты синтетические жирные (типа саломас)

IV

8

Мазут-мигчитель

II

9

Мазут прямой гонки

I

10

Мазут смазочный

II

11

Мазут флотский 12 и 20

II

12

Мазут флотский ФС-5

I

13

Масло авиационное МС-20, МС-14

II

14

Масло авиационное УК-22. УС-24

III

15

Масла автомобильные специальные с присадками НАКС или ЦИАТИМ-331

I

16

Масло автотракторное АК-15 (автол. № 18)

II

17

Масла автотракторные (автолы) АК-6, АКЗп-6, АКЗп-10, АК-10, АС-5, АС-8, АС-9,5

I

18

Масло автотракторное трансмиссионное

III

19

Масло антраценовое (шпалопропиточное)

II

20

Масло дизельное селективное с присадкой АЗНИИ

I

21

Масла дизельные Д-11, ДЛ-8, ДП-11

I

22

Масла дизельные ДП-14, В2-300

II

23

Масла для гипоидных передач и прессов

I

24

Масло для прокатных станов (брайтсток)

III

25

Масло для изготовления солидола

II

26

Масло кабельное

II

27

Масло компрессорное

II

28

Масло конденсаторное

I

29

Масло моторное для тихоходных дизелей

I

30

Масло осевое Л (летнее)

I

31

Масло пластификатор НП-6

IV

32

Масло судовое

I

33

Масло трансмиссионное (нигролы)

II

34

Масло трансмиссионное с присадкой

III

35

Масло турбинное

I

36

Масло цилиндровое 2

II

37

Масло цилиндровое 24 (вискозин)

III

38

Масло цилиндровое 38(6) и 52 (вапор)

IV

39

Мылонафт

I

40

Нефть битковская и долинская

II

41

Нефть ильская, мангышлакская и ухтинская

III

42

Нитробензол

II

43

Нитротолуол

II

44

Парафин спичечный (желтый)

IV

45

Петролатум

III

46

Пиробензол

II

47

Пирополимеры

I

48

Полидиены

II

49

Полигудрон

IV

50

Смола нефтяная

IV

51

Смолы сланцевые: мягчитель и флотационная

II

52

Сырье пиролизное из парафинистых нефтей

I

53

Термогазойль

II

54

Топливо дизельное Л

I

55

Топливо моторное, топливо для тихоходных дизелей

I

56

Топливо нефтяное (мазут) марки 20

II

57

Топливо нефтяное (мазут) марки 40

III

58

Топливо нефтяное (мазут) марок 80, 100

IV

59

Фенол жидкий

III

60

Формалин

I

61

Фракция керосина - газойлевая из парафинистых нефтей

I

62

Циклогексан

II

63

Экстракт ароматический (фенольный)

II

ПРИМЕЧАНИЕ: По требованию министерств, ведомств-грузополучателей Министерство путей сообщения может дополнять перечень вязких и застывающих продуктов при условии представления характеристики о вязкости и температуре застывания данного продукта.

Приложение 4

Схема налива светлых нефтепродуктов с пневматическим ограничителем уровня налива

1 - пневматический ограничитель, 2 - наливной стояк, 3 - напорный коллектор,
4 - цистерна, 5 - байпас, 6 - насос, 7 - резервуар

Приложение 5

Принципиальная схема налива высоковязких продуктов

1 - цистерна, 2 - наливной стояк, 3 - наливной коллектор, 4 - теплообменник; 5 - резервуар;
6 - центробежный насос, 7 - поршневой насос

Приложение 6

Схема налива сжиженных углеводородных газов без компрессорной установки

1 - наливной стояк, 2 - коллектор налива, 3 - газоуравнительная линия (трубопровод паровой фазы), 4 - насос, 5 - емкость для сжиженных углеводородных газов, 6 - трубопровод сброса на свечу, 7 - трубопровод азота, 8 - трубопровод водяного пара

Приложение 7

Принципиальная схема вакуумной системы слива

1 - цистерна; 2 - сливной стояк; 3 - всасывающий коллектор;
4 - вакуумсборник; 5 - вакуумная линяя; 6 - вакуум-насос;
7 - всасывающий трубопровод; 8 - насос; 9 - резервуар;
10-гидравлический затвор

Приложение 8

Схема слива сжиженных углеводородных газов с компрессорной установкой

1 - цистерна, 2 - фильтр, 3 - подогреватель, 4 - горизонтальная емкость для сжиженного углеводородного газа, 5 - насос, 6 - сепаратор, 7 - компрессор, 8 - маслоотделитель, 9 - сливной стояк, 10 - сливной коллектор жидкого продукта, 11 - трубопровод азота, 12 - трубопровод сброса на факел через дренажную емкость, 13 - трубопровод паров сжиженного углеводородного газа, 14 - трубопровод водяного пара

Приложение 9

Вариант 1

Схема освобождения коллекторов на сливо-наливных эстакадах легковоспламеняющихся и горючих жидкостей

1 - трубопровод подачи продукта на эстакаду; 2 - наливной стояк;
3 - ограничитель уровня налива; 4 - напорный коллектор;
5 - дренажный трубопровод; 6 - фильтр; 7 - самовсасывающий насос;
8 - насос подачи продукта на эстакаду

Приложение 10

РЕКОМЕНДАЦИИ
по режимам налива железнодорожных цистерн светлыми нефтепродуктами на наливных эстакадах нефтеперерабатывающих заводов

1. Рекомендации устанавливают по режимам налива железнодорожных цистерн светлыми нефтепродуктами на наливных эстакадах нефтеперерабатывающих заводов наибольшие допустимые значения скорости подачи светлых нефтепродуктов при одновременном заполнении не более 80 железнодорожных цистерн всех типов на наливных эстакадах через металлические наливные трубы или наливные шланги из прорезиненной ткани, опущенные до дна котла цистерны.

2. Рекомендации распространяются на операции по заполнению железнодорожных цистерн на наливных эстакадах НПЗ по трубопроводам, технологическая схема которых не содержит фильтрующих и других очистных аппаратов. Допустимые скорости налива определены для технически чистых светлых нефтепродуктов, удовлетворяющих требованиям ГОСТ.

3. Рекомендации распространяются на схемы загрузки светлых нефтепродуктов на наливных эстакадах (рис.1), включающие:

- магистральный трубопровод (1), диаметром 400-700 мм любой длины.

- коллектор (2) длиной не более 500 м и диаметров 200-600 мм.

- наливной пост, состоящий из раздаточного трубопровода - (3) и наливной трубы (4) диаметром 100 мм и суммарной длиной не более 20 м.

Железнодорожная цистерна и все технологическое оборудование наливной эстакады должно быть заземлено в соответствии с существующими требованиями.

4. Рекомендации не распространятся на загрузку железнодорожных цистерн нефтепродуктами, содержащими эмульсионную воду.

5. Допустимые режимы налива светлых нефтепродуктов в железнодорожные цистерны на наливных эстакадах нефтеперерабатывающих заводов

Диаметр магистрального трубопровода,
мм

Диаметр коллектора,
мм

Диаметр наливной трубы,
мм

Допустимая скорость налива в наливной трубе, м/с

Допустимая производительность налива через наливную трубу м3/час

Т, мин.

400

200

100

0,93

26,0

2,0

400

300

100

1,81

51,0

2,0

400

400

100

3,0

85,0

2,0

500

400

100

3,5

100,0

2,0

500

500

100

5,4

150,0

2,0

600

400

100

3,9

110,0

2,0

600

500

100

6,3

179,0

2,0

600

600

100

7,3

200,0

2,0

700

600

100

7,8

220,0

2,0

Где: Т - время, через которое можно извлекать наливную трубу из горловины железнодорожной цистерны, после окончания налива.

Технологическая схема заполнения железнодорожных цистерн светлыми нефтепродуктами на наливной эстакаде

рис.1

Условные обозначения:

1 -магистральные трубопроводы диаметром (dMT) 400-700 мм

2 -коллектор диаметром (dK) 200-600 мм

3 -раздаточный трубопровод диаметром (dPT) 100 мм

4 -наливная труба диаметром (dPT) 100 мм

LH-длина коллектора

LPT-суммарная длина раздаточного трубопровода и наливной трубы

UH-скорость продукта в наливной трубе

UK-скорость продукта в коллекторе

UMT- скорость продукта а магистральном трубопроводе

Приложение 11

Удельное объемное электрическое сопротивление некоторых веществ
ОМ
´М

 

Альдегид уксусный (апетальдегид)

104

Альфаметилстирол (технический)

1010-1011

Ангидрид уксусный

104

Анилин

0.5×108

Ацетон  

8×104

Бензин А-66, Б-70

1011-1012

Бензин Б-95

1010-1011

Бензол Технический

1010-1012

Бутилапетат (технический)

109

Буталбензол (технический)

1010-1011

Газойль

6×107

Глицерин

1.5×105(25°C)

Дибутилацетат

108

Дизельное топливо

108-1010

Диэтиламин

3×106(25°C)

Дяэтиленгликоль

106

Изопропилбензол (нумол) технический

1011-1012

Изооктан

1012

Ионол

2.7×1012

Керосин

109-1011

кислоты жирные технические C5-C6

4×104

C7-C20

108-109

ксилол

1010-1013

Масла: конденсаторное

1012

трансформаторное

1011

Нитробензол

5×107(0°C)

Нитротолуол

105

Парафин

1010-1016

Пентан

>1011

Реактивное топливо: Т-1

108-1011

ТС-1

1011-1014

Сероуглерод

106-1010

Скипидар

107-108

Стирол (технический)

1010-1012

Толуидин

104-106

Толуол (технический)

1010-1011

Триметиламин

0.5×106(-33°C)

Трихлорбензол (технический)

108-109

Триэтаноламин

106

Уайт-спирит

1011-1013

Углерод четыреххлористый

1012-1014

Фенол

(0.2-0.6)×106

Фурфурол

0.65×104

Фторорганические жидкости

1012

Хлорбензол (технический)

108-1010

Циклогексан (технический)

1010-1015

Циклогексанол (технический)

104-106

Этилбензол

1010-1011

Этилацетат

106-107

Этиленгликоль

0.5×105

Эфир этиловый

>1010

Удельное объемное электрическое сопротивление углеводородов и нефтепродуктов при 25 °С в концентрации присадки 0,01 %

Присадка

Удельное объемное электрическое сопротивление Ом. м.

Бензол

Циклогексан

изооктан

Бензин
Б-70

Бензин
А-66

Топливо
ТС-1

Керосин осветительный

1

2

3

4

5

6

7

8

Без присадки

0.2×1012

0.28×1012

1.0×1012

0.45×1012

0.17×1012

0.17×1012

0.48×1011

Элеат хрома

0.2×1012

0.12×109

0.4×109

0.59×108

0.32×108

0.56×108

0.9×108

Элеат кобальта

-

-

-

0.12×109

0.11×109

0.69×109

0.71×109

Нафтенат кобальта

-

-

0.18×1010

-

-

-

-

Нафтенат меди

0.14×1010

-

-

-

-

-

-

Соль хрома фр.C17-C20 синтетических жирных кислот

-

-

-

0.23×109

-

0.25×109

-

Соль хрома фр. синтетических жирных кислот

-

-

-

0.18×109

-

0.25×109

-

Элеатдисали-цилат хрома

-

-

-

0.77×108

-

0.12×108

-

Диолеат хрома дикетова ферроцена

-

-

-

0.63×108

-

0.13×109

-

Диолеатхрома дикетона ЦТМ

-

-

-

0.14×109

-

0.22×109

-

Нафтенат хрома

1.1×109

-

0.83×109

0.45×109

0.19×109

-

-

Элеат меди

-

-

-

0.38×109

0.4×109

-

-

Приложение 12

Пример размещения пожарных проездов при параллельном расположении нескольких сливо-наливных эстакад (для легковоспламеняющихся жидкостей)

1.Эстакада

2. Пожарный проезд

3. Шлагбаум

2008-2013. ГОСТы, СНиПы, СанПиНы - Нормативные документы - стандарты.