ГОСТ 21.101-93
МЕЖГОСУДАРСТВЕННЫЙ СТАНДАРТ
СИСТЕМА ПРОЕКТНОЙ ДОКУМЕНТАЦИИ ДЛЯ СТРОИТЕЛЬСТВА
ОСНОВНЫЕ
ТРЕБОВАНИЯ
К РАБОЧЕЙ ДОКУМЕНТАЦИИ
МЕЖГОСУДАРСТВЕННАЯ
НАУЧНО-ТЕХНИЧЕСКАЯ КОМИССИЯ
ПО СТАНДАРТИЗАЦИИ И ТЕХНИЧЕСКОМУ НОРМИРОВАНИЮ
В СТРОИТЕЛЬСТВЕ (МНТКС)
Предисловие
ВНЕСЕН Минстроем России
2 ПРИНЯТ Межгосударственной научно-технической комиссией по стандартизации и техническому нормированию в строительстве 10 ноября 1993 г.
За принятие стандарта проголосовали:
|
Наименование государства |
Наименование органа государственного управления строительством |
|
Азербайджанская Республика |
Госстрой Азербайджанской Республики |
|
Республика Армения |
Госупрархитехтуры Республики Армения |
|
Республика Беларусь |
Госстрой Республики Беларусь |
|
Республика Казахстан |
Минстрой Республики Казахстан |
|
Кыргызская Республика |
Госстрой Кыргызской Республики |
|
Республика Молдова |
Минархстрой Республики Молдова |
|
Российская Федерация |
Госстрой России |
|
Республика Таджикистан |
Госстрой Республики Таджикистан |
|
Украина |
Минстройархитектуры Украины |
3 ВВЕДЕН В ДЕЙСТВИЕ с 1 сентября 1994 г. в качестве государственного стандарта Российской Федерации Постановлением Минстроя России от 12 августа 1994 г. № 18-12
4 ВЗАМЕН ГОСТ 21.101-79, ГОСТ 21.102-79, ГОСТ 21.103-78, ГОСТ 21.104-79, ГОСТ 21.105-79, ГОСТ 21.201-78, ГОСТ 21.202-78
МЕЖГОСУДАРСТВЕННЫЙ СТАНДАРТ
|
Система проектной документации для строительства ОСНОВНЫЕ ТРЕБОВАНИЯ К РАБОЧЕЙ ДОКУМЕНТАЦИИ System of design documents for
construction. |
ГОСТ |
Дата введения 1994-09-01
Настоящий стандарт устанавливает основные требования к рабочей документации на строительство предприятий, зданий и сооружений различного назначения.
В состав рабочей документации на строительство здания и сооружения в общем случае входят:
1) рабочие чертежи, предназначенные для производства строительных и монтажных работ;
2) рабочая документация на строительные изделия по ГОСТ 21.501;
3) спецификации оборудования по ГОСТ 21.110;
4) ведомости и сводные ведомости потребности в материалах по ГОСТ 21.110*;
5) ведомости и сборники ведомостей объемов строительных и монтажных работ по ГОСТ 21.110*;
6) другая документация, предусмотренная соответствующими стандартами Системы проектной документации для строительства (СПДС);
7) сметная документация по установленным формам*.
* Выполняют при необходимости.
2.1. Рабочие чертежи, предназначенные для производства строительных и монтажных работ, объединяют в комплекты (далее - основные комплекты) по маркам в соответствии с приложением 1.
2.2. Основной комплект рабочих чертежей любой марки может быть разделен на несколько основных комплектов той же марки по любому признаку с добавлением к ней порядкового номера.
ПРИМЕРЫ: АС1; АС2; КЖ1; КЖ2.
2.3. Каждому основному комплекту рабочих чертежей присваивают обозначение, в состав которого включают базовое обозначение** и через дефис марку основного комплекта.
** До выхода соответствующего классификатора базовое обозначение присваивают по действующей в организации системе.
2.4. В состав основных комплектов рабочих чертежей включают общие данные по рабочим чертежам, чертежи и схемы, предусмотренные соответствующими стандартами СПДС.
2.5. Общие данные по рабочим чертежам
2.5.1. На первых листах каждого основного комплекта рабочих чертежей приводят общие данные по рабочим чертежам, включающие:
1) ведомость рабочих чертежей основного комплекта по форме 1;
2) ведомость ссылочных и прилагаемых документов по форме 2;
3) ведомость основных комплектов рабочих чертежей по форме 2;
4) ведомость спецификаций (при наличии нескольких спецификаций к схемам расположения в данном основном комплекте) по форме 1;
5) условные обозначения, не установленные государственными стандартами и значения которых не указаны на других листах основного комплекта рабочих чертежей;
6) общие указания;
7) другие данные, предусмотренные соответствующими стандартами СПДС.
Формы 1 и 2 приведены в приложении 2.
2.5.2. Ведомость ссылочных и прилагаемых документов составляют по разделам:
1) ссылочные документы;
2) прилагаемые документы.
В раздел «Ссылочные документы» включают следующие документы, на которые приведены ссылки в рабочих чертежах:
1) чертежи типовых конструкций, изделий и узлов с указанием наименования и обозначения серии, выпусков;
2) стандарты, в состав которых включены чертежи для изготовления изделий, с указанием их наименования в обозначения.
Ссылочные документы проектная организация заказчику выдает только по отдельному договору.
В раздел «Прилагаемые документы» включают документы, разработанные в дополнение к рабочим чертежам основного комплекта.
Прилагаемыми документами являются:
1) рабочая документация на строительные изделия;
2) спецификация оборудования;
3) ведомость потребности в материалах;
4) ведомость объемов строительных и монтажных работ;
5) локальные сметы*;
6) другая документация, предусмотренная соответствующими стандартами СПДС.
* Выполняют при необходимости.
Прилагаемые документы выдаются проектной организацией заказчику одновременно с основным комплектом рабочих чертежей.
2.5.3. Ведомость основных комплектов рабочих чертежи приводят на листах общих данных основного комплекта ведущей марки **.
** Основной комплект рабочих чертежей в качестве ведущей марки назначает генеральный проектировщик.
При наличии нескольких основных комплектов рабочих чертежей одной марки составляют ведомость подкомплектов этой марки по форме 2 приложения 2, которую приводят на листе общих данных каждого из этих комплектов.
2.5.4. В общих указаниях приводят:
1) основание для разработки рабочих чертежей, например, задание на проектирование, утвержденный проект;
2) отметку, принятую в рабочих чертежах здания или сооружения условно за нулевую (как правило, приводят на архитектурно-строительных чертежах);
3) запись о результатах проверки на патентоспособность и патентную частоту впервые применяемых или разработанных в проекте технологических процессов, оборудования, приборов, конструкций, материалов и изделий, а также номера авторских свидетельств и заявок, по которым приняты решения о выдаче авторских свидетельств на используемые в рабочей документации изобретения;
4) запись о том, что технические решения, принятые в рабочих чертежах, соответствуют требованиям экологических, санитарно-гигиенических, противопожарных, и других норм, действующих на территории Российской Федерации и обеспечивают безопасную для жизни и здоровья людей эксплуатацию объекта при соблюдении предусмотренных рабочими чертежами мероприятий;
5) другие необходимые указания.
В общих указаниях не следует повторять технические требования, помещенные на других листах основного комплекта рабочих чертежей, и давать описание принятых в рабочих чертежах технических решений.
3.1. При выполнении рабочей документации следует руководствоваться требованиями стандартов СПДС, а также требованиями стандартов системы конструкторской документации (ЕСКД), приведенными в приложении 3, которые дополняют и не противоречат стандартам СПДС.
Рабочая документация, предназначенная для репрографии, должна соответствовать требованиям системы стандартов «Репрография».
3.2. Чертежи выполняют в оптимальных масштабах с учетом их сложности и насыщенности информацией.
Масштабы на чертежах не указывают, за исключением чертежей изделий и других случаев, предусмотренных в соответствующих стандартах СПДС.
3.3. Размерную линию на ее пересечении с выносными линиями, линиями контура или осевыми линиями ограничивают засечками в виде толстых основных линий длиной 2 - 4 мм, проводимых с наклоном вправо под углом 45° к размерной линии, при этом размерные линии должны выступать за крайние выносные линии на 1 - 3 мм.
При нанесении размера диаметра или радиуса внутри окружности, а также углового размера размерную линию ограничивают стрелками. Стрелки применяют также при нанесении размеров радиусов и внутренних скруглений.
3.4. Сокращения слов в надписях на чертежах допускаются в случаях, указанных в ГОСТ 2.316 и в приложении 4.
3.5. Координационные оси
3.5.1. Каждому отдельному зданию или сооружению присваивают самостоятельную систему обозначений координационных осей.
3.5.2. Координационные оси наносят на изображения тонкими штрихпунктирными линиями с длинными штрихами, обозначают цифрами и прописными буквами русского алфавита (за исключением букв: Ё, З, Й, О, X, Ц, Ч, Щ, Ъ, Ы, Ь) в кружках диаметром 6 - 12 мм.
Пропуски в цифровых и буквенных (кроме указанных) обозначениях координационных осей не допускаются.
3.5.3. Цифрами обозначают координационные оси по стороне здания и сооружения с большим количеством осей. Если для обозначения координационных осей не хватает букв алфавита, последующие оси обозначают двумя буквами.
ПРИМЕРЫ: АА; ББ; ВВ.
3.5.4. Последовательность цифровых и буквенных обозначений координационных осей принимают по плану слава направо и снизу вверх.
3.5.5. Обозначение координационных осей, как правило, наносят по левой и нижней сторонам плана здания и сооружения. При несовпадении координационных осей противоположных сторон плана обозначения указанных осей в местах расхождения дополнительно наносят по верхней и/или правой сторонам.
3.5.6. Для отдельных элементов, расположенных между координационными осями основных несущих конструкций, наносят дополнительные оси и обозначают их в виде дроби, в числителе которой указывают обозначения предшествующей координационной оси, а в знаменателе - дополнительный порядковый номер в пределах участка между смежными координационными осями в соответствии с черт. 1.
Допускается координационным осям фахверковых колонн присваивать цифровые и буквенные обозначения в продолжение обозначений осей основных колонн без дополнительного номера.
Черт. 1
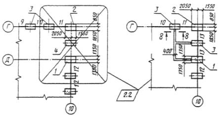
3.5.7. На изображении повторяющегося элемента, привязанного к нескольким координационным осям, координационные оси обозначают в соответствии с черт. 2а (при числе координационных осей не более трех), с черт. 2б (более трех координационных осей) и с черт. 2в (при всех буквенных и цифровых координационных осях).
При необходимости, ориентацию координационной оси, к которой привязан элемент, по отношению к соседней оси, указывают в соответствии с черт. 2г.
Черт. 2
3.5.8. Для обозначения координационных осей блок-секций жилых зданий применяют индекс «с».
ПРИМЕРЫ: 1с, 2с, Ас, Бс.
На пианах жилых зданий, скомпонованных из блок-секций, наносят обозначения крайних координационных осей блок-секций без индекса в соответствии с черт. 3.
Черт. 3
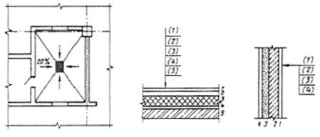
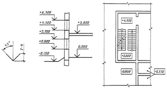
3.6. Отметки уровней (высоты, глубины) элементов конструкций, оборудования, трубопроводов, воздуховодов и др. от уровня отсчета (условной «нулевой» отметки) обозначают условным знаком в соответствии с черт. 4 и указывают в метрах с тремя десятичными знаками, отделенными от целого числа запятой.
«Нулевую» отметку, принимаемую, как правило, для поверхности какого-либо элемента конструкций здания или сооружения, расположенного вблизи планировочной поверхности земли, указывают без знака; отметки выше нулевой - со знаком «+»; ниже нулевой - со знаком «-».
На видах (фасадах), разрезах и сечениях отметки помещают на выносных линиях или линиях контура в соответствии с черт. 5.
На планах отметки наносят в прямоугольнике в соответствии с черт. 6, за исключением случаев, оговоренных в соответствующих стандартах СПДС.
Черт. 4; Черт. 5; Черт. 6
3.7. На планах направление уклона плоскостей указывают стрелкой, над которой, при необходимости, проставляют величину уклона в процентах в соответствии с черт. 7 или в виде отношения высоты и длины (например, 1:7).
Допускается, при необходимости, величину уклона указывать в промиллях, в виде десятичной дроби с точностью до третьего знака. На чертежах и схемах перед размерным числом, определяющим величину уклона, наносят знак «Ð», острый угол которого должен быть направлен в сторону уклона.
Обозначение уклона наносят непосредственно над линией контура или на полке линии-выноски.
3.8. Выносные надписи к многослойным конструкциям следует выполнять в соответствии с черт. 8.
Черт. 7; Черт. 8
3.9. Номера позиций (марки элементов) наносят на полках линий-выносок, проводимых от изображений составных частей предмета, рядом с изображением без линии-выноски или в пределах контуров изображенных частей предмета в соответствии с черт. 9.
При мелкомасштабном изображении линии-выноски заканчивают без стрелки и точки.
Черт. 9
3.10. Размер шрифта для обозначения координационных осей и позиций (марок) должен быть на один-два номера больше, чем размер шрифта, принятого для размерных чисел на том же чертеже.
3.11. Разрезы здания или сооружения обозначают арабскими цифрами последовательно в пределах основного комплекта рабочих чертежей.
Самостоятельная нумерация допускается только для разрезов отдельных участков здания, сооружения или установок, все чертежи которых размещены на одном листе или группе листов и если на этих чертежах отсутствуют ссылки на разрезы, расположенные на других листах основного комплекта рабочих чертежей.
Допускается разрезы обозначать прописными буквами русского алфавита.
Направление взгляда для разреза по плану здания и сооружения принимают, как правило, снизу вверх и справа налево.
3.12. Если отдельные части вида (фасада), плана, разреза требуют более детального изображения, то дополнительно выполняют выносные элементы - узлы и фрагменты.
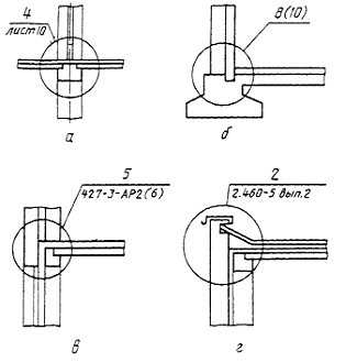
3.13. При изображении узла соответствующее место отмечают на виде (фасаде), плане или разрезе замкнутой сплошной тонкой линией (как правило, окружностью или овалом) с обозначением на полке линии - выноски порядкового номера узла арабской цифрой в соответствии с черт. 10.
Черт. 10
Черт. 11
Если узел помещен на другом листе, то номер листа указывают под полкой линии-выноски (черт. 10а) или на полке линии-выноски рядом, в скобках, в соответствии с черт. 10б.
При необходимости ссылки на узел, помещенный в другом основном комплекте рабочих чертежей, или на типовой узел, указывают обозначение и номер листа соответствующего основного комплекта рабочих чертежей в соответствии с черт. 10в или серию рабочих чертежей типовых узлов и номер выпуска - с черт. 10г.
При необходимости, ссылку на узел в сечении выполняют в соответствии с черт. 11.
Над изображением узла указывают в кружке его порядковый номер в соответствии с черт. 12а или 12б.
Узлу, являющемуся полным зеркальным отражением другого (основного) исполнения, присваивают тот же порядковый номер, что и основному исполнению, с добавлением индекса «н».
3.14. Фрагменты планов, разрезов, фасадов, как правило, отмечают фигурной скобкой в соответствии с черт. 13.
Под фигурной скобкой, а также над соответствующим фрагментом наносят наименование и порядковый номер фрагмента. Если фрагмент помещен на другом листе, то дают ссыпку на этот лист.
Допускается ссылку на фрагмент помещать на полке линии-выноски.
Черт. 12; Черт. 13
3.15. Изображения до оси симметрии симметричных планов и фасадов зданий и сооружений, схем расположения элементов конструкций, планов расположения технологического, энергетического, санитарно-технического и др. оборудования не допускаются.
3.16. Если изображение (например, план) не помещается на листе принятого формата, то его делят на несколько участков, размещая их на отдельных листах.
В этом случае на каждом листе, где показан участок изображения, приводят схему целого изображения с необходимыми координационными осями и условным обозначением (штриховкой) показанного на данном листе участка изображения в соответствии с черт. 14.
Черт. 14
3.17. Если планы этажей многоэтажного здания имеют небольшие отличия друг от друга, то полностью выполняют план одного из этажей, для других этажей выполняют только те части плана, которые необходимы для показа отличия от плана, изображенного полностью.
Под наименованием частично изображенного плана приводят запись: «Остальное см. план (наименование полностью изображенного плана)».
3.18. В названиях планов этажей здания и сооружения указывают отметку чистого пола этажа, номер этажа или обозначение соответствующей секущей плоскости.
ПРИМЕРЫ:
1. План на отм. 0,000.
2. План 2 - 9 этажей.
3. План 3-3.
Допускается в названии плана этажа указывать назначение помещений, расположенных на этаже.
3.19. В названиях разрезов здания и сооружения указывают обозначение соответствующей секущей плоскости.
ПРИМЕР: Разрез 1-1.
3.20. В названиях фасадов здания и сооружения указывают крайние оси, между которыми расположен фасад.
ПРИМЕР: Фасад 1-12.
3.21. Основные надписи
3.21.1. Каждый лист рабочего чертежа и текстового документа должен иметь основную надпись и дополнительные графы к ней.
3.21.2. Основные надписи оформляют в соответствии с приложением 5:
1 ) на листах основного комплекта рабочих чертежей - по форме 3;
2) на первом листе чертежа строительного изделия - по форме 4;
3) на первом листе текстового документа - по форме 5;
4) на последующих листах чертежей строительных изделий и текстовых документов - по форме 6.
Допускается на первом листе чертежа строительного изделия основную надпись выполнять по форме 5.
3.21.3. Расположение основной надписи и дополнительных граф к ней, а также размерных рамок на листах приведены в приложении 6.
3.21.4. Основные надписи, дополнительные графы к ним и рамки выполняют сплошными толстыми основными и сплошными тонкими линиями по ГОСТ 2.303.
4.1. К схеме расположения элементов сборной конструкции, монолитной железобетонной конструкции, к чертежам установок (блоков) технологического, санитарно-технического и др. оборудования составляют спецификацию по форме 7 приложения 7.
При выполнении чертежей групповым методом составляют групповые спецификации по форме 8 приложения 7.
4.2. Спецификации строительных изделий составляют по ГОСТ 21.501.
5.1. Под изменением рабочего документа, ранее выданного заказчику, понимают любое исправление, исключение или добавление в него каких-либо данных без изменения обозначения этого документа.
Обозначение документа допускается изменять только в случае, когда разным документам ошибочно присвоены одинаковые обозначения или в обозначении документа допущена ошибка.
5.2. Изменения вносят в подлинник документа. Внесение изменений в расчеты не допускается.
5.3. Копии измененных, дополнительных и выпущенных вместо замененных листов рабочей документации направляют организациям, которым ранее были направлены копии документов, совместно с копиями общих данных соответствующего основного комплекта рабочих чертежей, уточненных в соответствии с п. 5.5.
5.4. Разрешение на внесение изменений
5.4.1. Изменение документа выполняют на основании разрешения на внесение изменений (далее - разрешение), составленного по форме 9 приложения 8.
Разрешение утверждает руководитель организации-разработчика документа или по его поручению другое должностное лицо.
5.4.2. Основанием для получения подлинников документов для внесения в них изменений служит разрешение.
5.43. Изменения на каждый документ (основной комплект рабочих чертежей, спецификацию оборудования и т.п.) оформляют отдельным разрешением.
Допускается составлять одно общее разрешение на изменения, вносимые одновременно в несколько документов, если изменения взаимосвязаны или одинаковы для всех изменяемых документов.
5.5.1. Внесение изменений в подлинники документов производят зачеркиванием или подчисткой (смывкой). При этом учитывают физическое состояние подлинника.
5.5.2. После внесения изменений изображения, буквы, цифры, знаки должны быть четкими, толщина линий, величина просветов и т.п. должны быть выполнены по правилам, предусмотренным соответствующими стандартами ЕСКД и системы стандартов «Репрография».
5.5.3. Изменяемые размеры, слова, знаки, надписи и т.д. зачеркивают сплошными тонкими линиями и рядом проставляют новые данные.
5.5.4. При изменении изображения (части изображения) его обводят сплошной тонкой линией, образующей замкнутый контур, и крестообразно перечеркивают сплошными тонкими линиями. Новое изображение измененного участка выполняют на свободном поле листа или на другом листе без поворотов.
5.5.5. Изменяемым, аннулируемым и дополнительным участкам изображения присваивают обозначение, состоящее из порядкового номера очередного изменения документа и через точку порядкового номера изменяемого (аннулируемого, дополнительного) участка изображения в пределах данного листа. При этом новому изображению измененного участка присваивают обозначение изменения замененного изображения.
Если новое изображение измененного участка размещают на другом листе, то присвоенное ему обозначение изменения сохраняют и в таблице изменений этого листа не учитывают.
5.5.6. Около каждого изменения, в том числе около изменения, исправленного подчисткой (смывкой), за пределами изображения наносят в параллелограмме обозначение изменения в соответствии с черт. 15.
Черт. 15
От параллелограмма проводят сплошную тонкую линию к измененному участку.
5.5.7. Близко расположенные друг от друга измененные размеры, слова, знаки, надписи и т.д. обводят сплошной тонкой линией, образующей замкнутый контур, без перечеркивания в соответствии с черт. 16.
5.5.8. Если новое изображение измененного участка помещают на другом листе, то у замененного изображения, рядом с параллелограммом, указывают также номер листа, на котором находится новое изображение в соответствии с черт. 17.
5.5.9. Над новым изображением измененного участка помещают в параллелограмме обозначение изменения замененного изображения, а при параллелограмме указывают: "Взамен перечеркнутого".
Если новое изображение измененного участка помещают на другом листе, то при параллелограмме указывают: «Взамен перечеркнутого на листе (номер листа, на котором находится замененное изображение)» в соответствии с черт. 18.
5.5.10. Если новое изображение измененного участка помещают около замененного, то их соединяют линиями-выносками с обозначением изменения в соответствии с черт. 19.
Черт. 16; Черт. 17
Черт. 18
Черт. 19
Над дополнительным изображением помещают в параллелограмме обозначение изменения, а при параллелограмме указывают: «Дополнение» в соответствии с черт. 20.
Черт. 20
5.5.11. При аннулировании изображения (части изображения) при обозначении изменения указывают: «Аннулировано».
5.5.12. Если недостаточно места для внесения изменений или возможно нарушение четкости изображения при исправлении, то изготовляют новый подлинник с учетом вносимых изменений и сохраняют его прежнее обозначение.
Если заменяют или добавляют один или несколько листов подлинника, то на них сохраняют инвентарный номер, присвоенный подлиннику.
При замене всех листов подлинника ему присваивают новый инвентарный номер.
5.5.13. При внесении изменений в листы основного комплекта рабочих чертежей в ведомости рабочих чертежей этого комплекта на листах общих данных в графе «Примечание» указывают:
1) при внесении первого изменения - «Изм. 1».
При внесении последующих изменений - дополнительно очередные номера изменений, отделяя их от предыдущих точкой с запятой.
ПРИМЕР: «Изм. 1; 2; 3»;
2) на замененных листах при номере изменения - «(Зам.)».
ПРИМЕР: «Изм. 1 (Зам.)»;
3) на аннулированных листах при номере изменения - «Аннулирован».
ПРИМЕР: «Изм. 1 (Аннулирован)»;
4) на дополнительных листах при номере изменения - «(Нов.)».
ПРИМЕР: «Изм. 1 (Нов.)».
5.5.14. Если в основной комплект рабочих чертежей включают дополнительные листы, то им присваивают очередные порядковые номера и записывают в продолжение ведомости рабочих чертежей соответствующего основного комплекта.
При недостатке места в ведомости рабочих чертежей для записи дополнительных листов продолжение ведомости переносят на первый из дополнительных листов. При этом в конце ведомости рабочих чертежей, помещенной в «Общих данных», делают запись: «Продолжение ведомости см. на листе (номер листа)», а над ведомостью на дополнительном листе помещают заголовок: «Ведомость рабочих чертежей основного комплекта (Продолжение)».
Номера и наименования аннулированных листов в ведомости рабочих чертежей зачеркивают.
При изменении наименований листов вносят соответствующие изменения в графу «Наименование».
5.5.15. При изменении общего количества листов документа на его первом листе в основной надписи вносят соответствующие изменения в графу «Листов».
5.5.16. При выполнении дополнительных и аннулировании ранее выполненных прилагаемых документов вносят исправления в ведомость ссылочных и прилагаемых документов соответствующего основного комплекта рабочих чертежей.
5.5.17. При выполнении дополнительных и аннулировании ранее выполненных основных комплектов рабочих чертежей вносят исправления в ведомость основных комплектов рабочих чертежей.
5.5.18. Изменения, внесенные в подлинник, указывают в таблице изменений, помещенной в основной надписи.
Допускается таблицу изменений потешать вне основной надписи (над ней или слева от нее) по той же форме.
5.5.19. В таблице изменений указывают:
1) в графе «Изм.» - порядковый номер изменения документа;
2) в графе «Кол. уч.» - количество изменяемых участков изображения на данном листе в пределах очередного изменения;
3) в графе «Лист» - на листах, выпущенных вместо замененных, - «Зам.», на листах, добавленных вновь, - «Нов».
При замене всех листов подлинника на первом листе в графе «Лист» указывают «Все». При этом таблицу изменений на других листах этого подлинника не заполняют.
В остальных случаях в графе «Лист» ставят прочерк;
4) в графе «№ док. » - обозначение разрешения;
5) в графе «Подп.» - подпись лица, ответственного за правильность внесения изменения (подпись лица, ответственного за нормоконтроль, проставляют на поле для подшивки листа);
6) в графе «Дата» - дату внесения изменения.
5.5.20. В таблице изменений не учитывают исправления, внесенные в ведомости листа общих данных в связи с внесением изменений в листы основного комплекта и прилагаемые документы.
5.5.21. При внесении изменений в текстовые документы рекомендуется выполнять таблицу регистрации изменений по форме 10 приложения 9. Таблицу регистрации изменений размещают на титульном листе текстового документа.
5.5.22. Значительные изменения в текстовых документах вносят одним из следующих способов:
1) заменой всех или отдельных листов документа;
2) путем выпуска новых дополнительных листов.
При изменении подлинников текстовых документов допускается при добавлении нового листа присваивать ему номер предыдущего листа с добавлением очередной арабской цифры, отделяя ее от предыдущей точки.
ПРИМЕР: 3.1
В этом случае на первом листе изменяют общее количество листов.
В текстовых документах, содержащих в основном сплошной текст, допускается при добавлении нового пункта присваивать ему номер предыдущего пункта с добавлением очередной строчной буквы русского алфавита, а при аннулировании пункта - сохранять номера последующих пунктов.
5.5.23. При аннулировании или замене документа все аннулированные и замененные листы подлинника крестообразно перечеркивают сплошными тонкими линиями и проставляют штамп по форме 11 приложения 10.
6.1. Рабочая документация массового применения подлежит привязке к конкретной строительной площадке.
На каждом листе привязываемой документации ставят штамп привязки в соответствии с приложением 11:
1) на первом листе - по форме 12;
2) на последующих листах - по форме 13.
6.2. Обложки и титульные листы типовых проектов (типовых проектных решений), изданных полиграфически в виде альбомов или брошюр, как правило, не привязывают и заказчику не направляют.
6.3. Штамп привязки наносят на свободном поле листа, предпочтительно над основной надписью или слева от нее.
6.4. Допускается не наносить штамп привязки на неизменяемые рабочие чертежи конструкций, изделий и узлов в случае их повторного применения организацией, осуществившей разработку и утверждение этих чертежей. Указанные рабочие чертежи записывают в раздел прилагаемых документов без изменения обозначения.
6.5. Изменения при привязке вносят в соответствии с пп. 5.5.1 - 5.5.4, 5.5.14 - 5.5.17 и с учетом следующих дополнительных требований:
1) если изменяемых участков изображения два и более, то им присваивают порядковые номера, которые проставляют римскими цифрами на полке линии-выноски в соответствии с черт. 21;
2) над измененным участком указывают римской цифрой порядковый номер изменяемого участка изображения и надпись «Взамен перечеркнутого» в соответствии с черт. 22.
Черт. 21; Черт. 22
Если новое изображение (часть изображения) помещают на другом листе, то у замененного изображения указывают также номер листа, на котором находится новое изображение.
6.6. Основные надписи на листах привязываемой документации, а также обложки и титульные листы документации, изданной в виде альбомов и брошюр, оставляют без изменения.
6.7. Изменения при привязке рекомендуется вносить в один экземпляр документа, являющийся в дальнейшем подлинником, с которого изготовляют копии.
6.8. Аннулированные листы исключают из привязанной документации без изменения общей нумерации листов.
|
Наименование основного комплекта рабочих чертежей |
Марка |
Примечание |
|
Генеральный план и сооружения транспорта |
ГТ |
При объединении в одном основном комплекте рабочих чертежей генерального плана и сооружений транспорта |
|
Генеральный план |
ГП |
|
|
Сооружения транспорта |
ТР |
При объединении в одном основном комплекте рабочих чертежей на автомобильные дороги и пути железнодорожные |
|
Автомобильные дороги |
АД |
При объединении в один комплект чертежей всех технологических коммуникаций |
|
Пути железнодорожные |
ПЖ |
|
|
Технология производства |
ТХ |
|
|
Технологические коммуникации |
ТК |
|
|
Воздухоснабжение внутреннее |
ВС |
|
|
Электроосвещение внутреннее |
ЭО |
|
|
Электроосвещение наружное |
ЭН |
|
|
Электрооборудование силовое |
ЭМ |
|
|
Холодоснабжение |
ХС |
|
|
Тепловая изоляция |
ТИ |
|
|
Газоснабжение. Внутренние устройства |
ГСВ |
|
|
Газоснабжение. Наружные газопроводы |
ГСН |
|
|
Теплоснабжение |
ТС |
|
|
Наружные сети водоснабжения и канализации |
НВК (НВ, НК) |
|
|
Системы связи |
СС |
|
|
Архитектурно-строительные решения |
АС |
|
|
При разделении основного комплекта АС: |
|
|
|
АР |
||
|
- интерьеры |
АИ |
|
|
- конструкции железобетонные |
КЖ |
|
|
- конструкции деревянные |
КД |
|
|
Конструкции металлические деталировочные |
КМД |
|
|
Антикоррозионная защита конструкций |
АЗ |
|
|
Тепломеханическая часть котельных |
ТМ |
|
|
Отопление, вентиляция и кондиционирование воздуха |
ОВ |
|
|
Внутренние водопровод и канализация |
ВК |
|
|
Пожаротушение |
ПТ |
|
|
Пылеуборка |
ПУ |
|
|
Горные открытые работы |
ГОР |
|
|
Горные подземные работы |
ГПР |
|
|
Гидротехнические работы |
ГР |
|
|
Горномеханические работы |
ГМ |
|
|
Химическая защита |
ХЗ |
|
|
Электрохимическая защита |
ЭХЗ |
|
|
Автоматика и телемеханика движения поездов (СЦБ) |
АТД |
|
|
Телемеханика производственная |
ТЛМ |
|
|
Автоматизация... |
А... |
Многоточие заменяют наименованием и маркой соответствующего основного комплекта рабочих чертежей |
|
Электроснабжение. Подстанции |
ЭП |
|
|
Линии электропередачи воздушные |
ЭВ |
|
|
Линии электропередачи кабельные |
ЭК |
|
|
Молниезащита и заземление |
ЭГ |
|
|
Сети тяговые |
ЭТ |
|
Примечание. При необходимости могут быть назначены дополнительные марки основных комплектов рабочих чертежей. При этом для марок применяют прописные буквы (не более трех) русского алфавита, соответствующие, как правило, начальным буквам наименований основного комплекта рабочих чертежей.
ВЕДОМОСТЬ СПЕЦИФИКАЦИЙ

Указания о заполнении ведомости рабочих чертежей основного комплекта
В ведомости рабочих чертежей основного комплекте указывают:
1) в графе «Лист» - порядковый номер листа основного комплекта рабочих чертежей;
2) в графе «Наименование» - наименование изображений, помещенных на листе, в полном соответствии с наименованиями, приведенными в основной надписи соответствующего листа;
3) в графе «Примечание» - дополнительные сведения, например, об изменениях, вносимых в рабочие чертежи основного комплекта.
Указания о заполнении ведомости спецификаций
В ведомости спецификаций указывают:
1) в графе «Лист» - номер листа основного комплекта рабочих чертежей, на котором помещена спецификация;
2) в графе «Наименование» - наименование спецификации в полном соответствии с ее наименованием, указанным на чертеже;
3) в графе «Примечание» - дополнительные сведения, в т.ч. об изменениях, вносимых в спецификации.
ВЕДОМОСТЬ ОСНОВНЫХ КОМПЛЕКТОВ РАБОЧИХ
ЧЕРТЕЖЕЙ.
ВЕДОМОСТЬ ССЫЛОЧНЫХ И ПРИЛАГАЕМЫХ ДОКУМЕНТОВ

Указания о заполнении ведомости основных комплектов рабочих чертежей
В ведомости основных комплектов рабочих чертежей указывают:
1) в графе «Обозначение» - обозначение основного комплекта рабочих чертежей и, при необходимости, наименование или различительный индекс организации, выпустившей документ;
2) в графе «Наименование» - наименование основного комплекта рабочих чертежей;
3) в графе «Примечание» - дополнительные сведения, в т.ч. об изменениях в составе основных комплектов рабочих чертежей.
Указания о заполнении ведомости ссылочных и прилагаемых документов
В ведомости ссылочных и прилагаемых документов указывают:
1) в графе «Обозначение» - обозначение документа и, при необходимости, наименование или различительный индекс организации, выпустившей документ;
2) в графе «Наименование» - наименование документа в полном соответствии с наименованием, указанным на титульном листе или в основной надписи;
3) в графе «Примечание» - дополнительные сведения, в т.ч. об изменениях, вносимых в применяемые документы.
|
Обозначение и наименование стандарта |
Условия применения стандарта |
|
ГОСТ 2.004-88 ЕСКД. Общие требования к выполнению конструкторских и технологических документов на печатающих и графических устройствах вывода ЭВМ |
- |
|
ГОСТ 2.101-68 ЕСКД. Виды изделий |
- |
|
ГОСТ 2.102-68 ЕСКД. Виды и комплектность конструкторских документов |
С учетом требований ГОСТ 21.501, п. 1.3, а также ссылки на ГОСТ 2.601 и ГОСТ 2.602 не учитывают |
|
ГОСТ 2.105-95 ЕСКД. Общие требования к текстовым документам |
П. 1.8, а также требования к оформлению титульного листа не учитывают |
|
ГОСТ 2.108-68 ЕСКД. Спецификация |
С учетом требований разд. 4 настоящего стандарта и ГОСТ 21.501 |
|
ГОСТ 2.109-73 ЕСКД. Основные требования к чертежам ГОСТ 2.113-75 ЕСКД. Групповые и базовые конструкторские документы |
С учетом требований ГОСТ 21.501, пп. 1.1.11, 1.1.12, 1.3 и ссылки на ГОСТ 2.108 не учитывают |
|
ГОСТ 2.301-68 ЕСКД. Форматы |
С учетом требований ГОСТ 21.501 |
|
ГОСТ 2.302-68 ЕСКД. Масштабы |
- |
|
ГОСТ 2.303-68 ЕСКД. Линии |
С учетом требования п. 3.2 настоящего стандарта |
|
ГОСТ 2.304-81 ЕСКД. Шрифты чертежные |
- |
|
ГОСТ 2.305-68 ЕСКД. Изображения - виды, разрезы, сечения |
- |
|
ГОСТ 2.306-68 ЕСКД. Обозначения графические материалов и правила их нанесения на чертежах |
С учетом требований пп. 3.11, 3.13 - 3.20 настоящего стандарта |
|
ГОСТ 2.307-68 ЕСКД. Нанесение размеров и предельных отклонений |
- |
|
ГОСТ 2.308-79 ЕСКД. Указание на чертежах попусков форм и расположения поверхностей |
|
|
ГОСТ 2.309-73 ЕСКД. Обозначения шероховатости поверхностей |
С учетом требований ГОСТ 21.113 |
|
ГОСТ 2.310-68 ЕСКД. Нанесение на чертежах обозначений покрытий, термической и других видов обработки |
- |
|
ГОСТ 2.311-68 ЕСКД. Изображение резьбы |
- |
|
ГОСТ 2.312-72 ЕСКД. Условные изображения и обозначения швов сварных соединений |
- |
|
ГОСТ 2.313-82 ЕСКД. Условные изображения и обозначения неразъемных соединений |
|
|
ГОСТ 2.314-68 ЕСКД. Указания на чертежах о маркировании и клеймении изделий |
- |
|
ГОСТ 2.316-68 ЕСКД. Правила нанесения на чертежах надписей, технических требований и таблиц |
- |
|
ГОСТ 2.317-69 ЕСКД. Аксонометрические проекции |
- |
|
ГОСТ 2.410-68 ЕСКД. Правила выполнения чертежей металлических конструкций |
- |
|
ГОСТ 2.501-88 ЕСКД. Правила учета и хранения |
В части формы инвентарной книги, абонентской карточки и указаний по складыванию копий чертежей |
Примечание. Условия применения стандартов ЕСКД классификационной группы 7 определяются соответствующими стандартами СПДС.
(дополнение к ГОСТ 2.316)
|
Полное наименование |
Сокращение |
|
Директор |
Дир.* |
|
Главный инженер |
Гл. инж.* |
|
Главный архитектор проекта |
ГАП* |
|
Главный инженер проекта |
ГИП* |
|
Главный специалист |
Гл. спец.* |
|
Заведующий |
Зав.* |
|
Архитектор |
Арх.* |
|
Инженер (I, II, III категории) |
Инж. (I, II, III кат.)* |
|
Техник |
Техн.* |
|
Институт |
Ин-т* |
|
Мастерская (в проектных институтах) |
Маст.* |
|
Группа |
Гр. |
|
Выпуск |
вып. |
|
Раздел |
разд. |
|
Антисейсмический шов |
а.с.ш. |
|
Деформационный шов |
д.ш. |
|
Температурный шов |
т.ш. |
|
Отметка |
отм. |
|
Уровень земли |
ур.з. |
|
Уровень головки рельса |
ур.г.р. |
|
Уровень чистого пола |
ур.ч.п. |
|
Участок |
уч.* |
|
Документ |
док.* |
* Сокращения применяют только в основной надписи.

Основная надпись и дополнительные графы к ней для чертежей строительных изделий (первый лист)

Основная надпись и дополнительные графы к ней для текстовых документов (первый лист)

Основная надпись и дополнительные графы к ней для чертежей строительных изделий и текстовых документов (последующие листы)

Указания о заполнении основной надписи и дополнительных граф к ней
В графах основной надписи и дополнительных графах к ней (номера граф на формах показаны в скобках) указывают:
1) в графе 1 - обозначение документа (основного комплекта рабочих чертежей, чертежа изделия, текстового документа и др.);
2) в графе 2 - наименование предприятия (в т.ч. учреждения и предприятия обслуживания), в состав которого входит здание (сооружение), или наименование микрорайона;
3) в графе 3 - наименование здания (сооружения);
4) в графе 4 - наименование изображений, помещенных на данном листе, в точном соответствии с наименованиями изображений на чертеже.
Наименования спецификаций и других таблиц, а также текстовых указаний, относящихся к изображениям, в графе не указывают;
5) в графе 5 - наименование изделия и/или наименование документа;
6) в графе 6 - условное обозначение стадии «Рабочая документация» - «Р»;
7) в графе 7 - порядковый номер листа (страницы текстового документа при двусторонней печати). На документах, состоящих из одного листа, графу не заполняют;
8) в графе 8 - общее число листов документа.
Графу
заполняют только на первом листе. На первом листе текстового документа при
двусторонней печати указывают общее число страниц;
9) в графе 9 - наименование или различительный индекс организации, разработавшей документ;
10) в графе 10 - характер работы (разработал, проверил, нормоконтроль, утвердил); допускается свободные строки заполнять по усмотрению разработчика должностями лиц, ответственных за выпуск документа (гл. инженер (архитектор) проекта, начальник отдела, гл. специалист и т.п.);
11) в графах 11-13 - фамилии и подписи лиц, указанных в графе 10, и дату подписания.
Если необходимо согласование документа, то подписи должностных лиц, согласовывающих документ, размещают на поле для подшивки листа;
12) графах 14-19 - графы таблицы изменений, которые заполняют в соответствии с п. 5.5.19;
13) графе 20 - инвентарный номер подлинника;
14) графе 21 - подпись лица, принявшего подлинник на хранение, и дату приемки (число, месяц, год);
15) графе 22 - инвентарный номер подлинника документа, взамен которого выпущен подлинник;
16) графе 23 - обозначение материала детали (графу заполняют только на чертежах деталей);
17) графе 24 - массу изделия, изображенного на чертеже, в килограммах без указания единицы измерения. Допускается указывать массу в других единицах измерения с указанием их.
ПРИМЕР: 2,4 т;
18) в графе 25 - масштаб (проставляют в соответствии с ГОСТ 2.302);
19) в графе 26 - подпись лица, копировавшего чертеж.

* В скобках указаны размеры рамок на листах типовой проектной документации.
Черт. 12
СПЕЦИФИКАЦИЯ


Указания о заполнении спецификации и групповой спецификации
В спецификациях указывают:
1) в графе «Поз.» - позиции (марки) элементов конструкций, установок;
2) в графе «Обозначение» - обозначение основных документов на записываемые в спецификацию элементы конструкций, оборудование и изделия или стандартов (технических условий) на них;
3) в графе «Наименование» - наименования элементов конструкций, оборудования и изделий и их марки.
Допускается на группу одноименных элементов указывать наименование один раз и подчеркивать;
4) в графе «Кол.» формы 7 - количество элементов.
В графе «Кол...» формы 8 вместо многоточия записывают «по схеме», «на этаж» и т.п., а ниже - порядковые номера схем расположения или этажей;
5) в графе «Масса, ед. кг» - массу в килограммах. Допускается указывать массу в тоннах;
6) в графе «Примечание» - дополнительные сведения.

Указания о заполнении разрешения на внесение изменений
В графах разрешения указывают:
1) в графе 1 - обозначение разрешения, состоящее из порядкового номера разрешения по книге регистрации разрешений по ГОСТ 21.203 и через дефис двух последних цифр года.
ПРИМЕР: 15-92;
2) в графе 2 - обозначение документа, в который вносят изменение;
3) в графе 3 - наименование строящегося предприятия, здания (сооружения);
4) в графе 4 - очередной порядковый номер, присваиваемый изменениям, которые вносят в документ по одному разрешению. Его указывают для всего документа, независимо от того, на скольких листах он выполнен. Порядковые номера изменений обозначают арабскими цифрами;
5) в графе 5 - номера листов документа, в которые вносят изменения;
6) в графе 6 - содержание изменения в виде текстового описания и/или графического изображения;
7) в графе 7 - код причины изменения в соответствии с таблицей;
|
Код причины изменения |
Причины изменения |
|
1 |
Введение усовершенствований |
|
2 |
Изменение стандартов и норм |
|
3 |
Дополнительные требования заказчика |
|
4 |
Устранение ошибок |
8) в графе 8 - дополнительные сведения;
9) в графах 9-11 - фамилии лиц, подписывающих разрешение, их подписи и даты подписания;
10) в графе 12 - наименование проектной организации и подразделения (отдела), составившего разрешение;
11) в графах 13 - 16 - наименование соответствующих подразделений или организаций, должности и фамилии лиц, с которыми в установленном порядке согласовывается разрешение, их подписи и даты подписания, а также подпись нормоконтролера;
12) в графе 17 - порядковый номер листа разрешения. Если разрешение состоит из одного листа, графу не заполняют;
13) в графе 18 - общее число листов разрешения.

Указания о заполнении таблицы регистрации изменений
В графах таблицы регистрации изменений указывают:
1) в графах «Изм.», «Номер док.», «Подп.» и «Дата» - аналогично заполнению соответствующих граф таблицы изменений;
2) в графах «Номера листов (страниц): измененных, замененных, новых, аннулированных» - номера листов (страниц) соответственно измененных, замененных, добавленных и аннулированных по данному разрешению.
При замене всего документа в графе «Номера листов (страниц), замененных» указывают «Все»;
3) в графе «Всего листов (страниц) в док.» - число листов (страниц) в документе. Графу заполняют в случае заполнения граф «Номера листов (страниц), новых» и/или «Номера листов (страниц), аннулированных».

Указания о заполнении штампа аннулирования (замены) подлинника документа
В штампе указывают:
1) в строке 1 - порядковый номер очередного изменения документа, в соответствии с которым лист аннулирован или заменен (например, «Изм. 3»). При аннулировании листа слово «Заменен» в штампе зачеркивают;
2) в графах 2-5 - должность, фамилию, подпись лица, ответственного за внесение изменений, и дату подписания.

ШТАМП ПРИВЯЗКИ (ПОСЛЕДУЮЩИЕ ЛИСТЫ)

Указания о заполнении штампов привязки
В графах штампов привязки указывают:
1) в графе 1 - новое обозначение привязываемого документа;
2) в графе 2 - наименование организации, выполнившей привязку;
3) в графе 3 - наименование строящегося предприятия, здания или сооружения, для которых выполнена привязка;
4) в графах 4-7 - должности и фамилии лиц, ответственных за привязку, а также лица, осуществившего нормоконтроль, их подписи и даты подписания;
5) в графе 8 - инвентарный номер, присвоенный привязанному документу;
6) в графе 9 - число листов привязанного документа;
7) в графах 10, 11 - подпись лица, принявшего привязанный документ на хранение, и дату подписания.
ИНФОРМАЦИОННЫЕ ДАННЫЕ.
ССЫЛОЧНЫЕ НОРМАТИВНО-ТЕХНИЧЕСКИЕ ДОКУМЕНТЫ
|
Обозначение НТД, на который дана ссылка |
Номер раздела, пункта, перечисления, приложения |
|
Приложение 3 |
|
|
² |
|
|
² |
|
|
² |
|
|
ГОСТ 2.108-68 |
² |
|
² |
|
|
² |
|
|
² |
|
|
Приложение 3 |
|
|
² |
|
|
² |
|
|
² |
|
|
² |
|
|
² |
|
|
² |
|
|
² |
|
|
² |
|
|
² |
|
|
² |
|
|
Приложение 3 |
|
|
² |
|
|
Приложение 3 |
|
|
ГОСТ 2.601-68 |
² |
|
ГОСТ 2.602-68 |
² |
|
² |
|
СОДЕРЖАНИЕ