Система нормативных документов в строительстве
СВОД ПРАВИЛ
ПО ПРОЕКТИРОВАНИЮ И СТРОИТЕЛЬСТВУ
ОБЩИЕ ПОЛОЖЕНИЯ
ПО ПРОЕКТИРОВАНИЮ И СТРОИТЕЛЬСТВУ
ГАЗОРАСПРЕДЕЛИТЕЛЬНЫХ СИСТЕМ
ИЗ МЕТАЛЛИЧЕСКИХ
И ПОЛИЭТИЛЕНОВЫХ ТРУБ
СП 42-101-2003
ЗАО «ПОЛИМЕРГАЗ»
Москва
2003
ПРЕДИСЛОВИЕ
1 РАЗРАБОТАН коллективом ведущих специалистов ОАО «ГипроНИИгаз, АО «ВНИИСТ», ОАО «МосгазНИИпроект», ОИ «Омскгазтехнология», ЗАО «Надежность», Госгортехнадзора России, Госстроя России и ряда газораспределительных хозяйств России при координации ЗАО «Полимергаз»
2 СОГЛАСОВАН
Госгортехнадзором России, письмо от 16.06.2000 г. № 03-35/240 ГУГПС МЧС России, письмо от 20.06.2000 г. № 20/2.2/2229
3 ОДОБРЕН постановлением Госстроя России от 26.06.2003 г. № 112
ВВЕДЕН ВПЕРВЫЕ
4 ПРИНЯТ И ВВЕДЕН В ДЕЙСТВИЕ решением Межведомственного координационного совета по вопросам технического совершенствования газораспределительных систем и других инженерных коммуникаций, протокол от 8 июля 2003 г. № 32
СОДЕРЖАНИЕ
СП 42-101-2003 «Общие положения по проектированию и строительству газораспределительных систем из металлических и полиэтиленовых труб» разработан в соответствии с требованиями СНиП 10-01 в развитие основополагающего СНиП 42-01-2002 «Газораспределительные системы».
В положениях СП 42-101 приведены подтвержденные научными исследованиями, опробованные на практике и рекомендуемые в качестве официально признанных технические решения, средства и способы реализации обязательных требований по проектированию и строительству систем газораспределения, установленных СНиП 42-01.
Настоящий Свод правил содержит раздел 7 «Запорная арматура» взамен СП 42-104-97 «Свод правил по применению запорной арматуры для строительства систем газоснабжения».
В разработке настоящего Свода правил приняли участие:
Волков B.C., Вольнов Ю.Н., Габелая Р.Д., Голик В.Г., Гусева Н.Б., Зубаилов Г.И., Китайцева Е.Х., Красников М.А., Маевский М.А., Нечаев А.С., Пальчиков С.А., Сафронова И.П., Платонов О.В., Удовенко В.Е., Чирчинская Г.П., Шишов Н.А., Шурайц А.Л.
СВОД ПРАВИЛ ПО ПРОЕКТИРОВАНИЮ И СТРОИТЕЛЬСТВУ
ОБЩИЕ ПОЛОЖЕНИЯ ПО ПРОЕКТИРОВАНИЮ И СТРОИТЕЛЬСТВУ
ГАЗОРАСПРЕДЕЛИТЕЛЬНЫХ СИСТЕМ ИЗ МЕТАЛЛИЧЕСКИХ
И ПОЛИЭТИЛЕНОВЫХ ТРУБ
THE GENERAL PROVISION AND
CONSTRUCTION
GAS DISTRIBUTION SYSTEM FROM STEEL
AND POLYETHYELENE PIPES
Дата введения 2003-07-08
1.1 Положения настоящего СП распространяются на вновь сооружаемые и реконструируемые газораспределительные системы, нормы и правила на проектирование и строительство которых регламентированы СНиП 42-01.
1.2 В настоящем СП приведены общие положения в части применения стальных и полиэтиленовых труб. Особенности проектирования, строительства новых и реконструкции изношенных газопроводов приведены соответственно в СП 42-102 «Проектирование и строительство газопроводов из металлических труб» и СП 42-103 «Проектирование и строительство газопроводов из полиэтиленовых труб и реконструкция изношенных газопроводов».
2.1 В настоящем СП использованы ссылки на следующие документы:
СНиП 2.02.01-83*. Основания зданий и сооружений;
СНиП 2.03.11-85. Защита строительных конструкций от коррозии;
СНиП 2.03.13-88. Полы;
СНиП 2.04.01-85*. Внутренний водопровод и канализация зданий;
СНиП 2.04.05-91*. Отопление, вентиляция и кондиционирование;
СНиП 2.04.07-86*. Тепловые сети;
СНиП 2.05.02-85. Автомобильные дороги;
СНиП 2.05.03-84*. Мосты и трубы;
СНиП 2.05.06-85*. Магистральные трубопроводы;
СНиП 2.05.07-91*. Промышленный транспорт;
СНиП 2.06.09-84. Туннели гидротехнические;
СНиП 2.07.01-89*. Градостроительство. Планировка и застройка городских и сельских поселений;
СНиП 2.08.02-89*. Общественные здания и сооружения;
СНиП 2.09.03-85. Сооружения промышленных предприятий;
СНиП 3.01.01-85*. Организация строительного производства;
СНиП 3.05.07-85 Системы автоматизации;
СНиП 10-01-94. Система нормативных документов в строительстве. Основные положения;
СНиП 11-01-2003. Инструкция о порядке разработки, согласования, утверждения и составе проектной документации на строительство предприятий, зданий и сооружений;
СНиП 11-02-96. Инженерные изыскания для строительства. Основные положения;
СНиП 21-01-97*. Пожарная безопасность зданий и сооружений;
СНиП 23-01-99*. Строительная климатология;
СНиП II-22-81. Каменные и армокаменные конструкции;
СНиП II-35-76. Котельные установки;
СНиП II-89-80*. Генеральные планы промышленных предприятий;
СНиП III-42-80*. Магистральные трубопроводы;
СНиП 42-01-2002. Газораспределительные системы;
ГОСТ 9.602-89. ЕСЗКС. Сооружения подземные. Общие требования к защите от коррозии;
ГОСТ 356-80*. Арматура и детали трубопроводов. Давления условные, пробные и рабочие. Ряды;
ГОСТ 380-94*. Сталь углеродистая обыкновенного качества. Марки;
ГОСТ 495-92. Листы и полосы медные. Технические условия;
ГОСТ 481-80*. Паронит и прокладки из него. Технические условия;
ГОСТ 613-79. Бронзы оловянные литейные. Марки;
ГОСТ 1050-88*. Прокат сортовой, калиброванный со специальной отделкой поверхности из углеродистой качественной конструкционной стали. Общие технические условия;
ГОСТ 1215-79. Отливки из ковкого чугуна. Общие технические условия;
ГОСТ 1412-85. Чугун с пластинчатым графитом для отливок. Марки;
ГОСТ 1583-93. Сплавы алюминиевые литейные. Технические условия;
ГОСТ 4543-71. Прокат из легированной конструкционной стали. Технические условия;
ГОСТ 4666-75. Арматура трубопроводная. Маркировка и отличительная окраска;
ГОСТ 5520-79. Прокат листовой из углеродистой низколегированной и легированной стали для котлов и сосудов, работающих под давлением. Технические условия;
ГОСТ 6787-2001. Плитки керамические для полов. Технические условия
ГОСТ 7293-85. Чугун с шаровидным графитом для отливок. Марки;
ГОСТ 7338-90. Пластины резиновые и резинотканевые. Технические условия;
ГОСТ 7931-76. Олифа натуральная. Технические условия;
ГОСТ 8568-77. Листы стальные с ромбическим и чечевичным рифлением. Технические условия;
ГОСТ 8832-76. Материалы лакокрасочные. Методы получения лакокрасочного покрытия для испытаний;
ГОСТ 9238-83. Габариты приближения строений и подвижного состава железных дорог колеи 1520 (1524) мм;
ГОСТ 9544-93. Арматура трубопроводная запорная. Нормы герметичности затворов;
ГОСТ 10007-80Е. Фторопласт-4. Технические условия;
ГОСТ 10330-76. Лен трепаный. Технические условия;
ГОСТ 11262-80. Пластмассы. Метод испытания на растяжение;
ГОСТ 13726-97. Ленты из алюминия и алюминиевых сплавов. Технические условия;
ГОСТ 14202-69. Трубопроводы промышленных предприятий. Опознавательная окраска, предупреждающие знаки и маркировочные щитки;
ГОСТ 14254-96. Степени защиты, обеспечиваемые оболочками. Межгосударственный стандарт. (Код GP);
ГОСТ 15150-69. Машины, приборы и другие технические изделия. Исполнения для различных климатических районов. Категории, условия эксплуатации, хранения и транспортирования в части воздействия климатических факторов внешней среды;
ГОСТ 15180-86. Прокладки плоские эластичные. Основные параметры и размеры;
ГОСТ 15527-70. Сплавы медно-цинковые (латуни), обрабатываемые давлением. Марки;
ГОСТ 16337-77Е. Полиэтилен высокого давления. Технические условия;
ГОСТ 16338-85Е. Полиэтилен низкого давления. Технические условия;
ГОСТ 16350-80. Климат СССР. Районирование и статистические параметры климатических факторов для технических целей;
ГОСТ 16569-86. Устройства газогорелочные для отопительных бытовых печей. Технические условия;
ГОСТ 17494-87. Машины электрические вращающиеся. Классификация степеней защиты, обеспечиваемых оболочками вращающихся электрических машин;
ГОСТ 17711-93. Сплавы медно-цинковые (латуни) литейные. Марки;
ГОСТ 19151-73. Сурик свинцовый. Технические условия;
ГОСТ 19281-89. Прокат из стали повышенной прочности. Общие технические условия;
ГОСТ 20448-90. Газы углеводородные сжиженные топливные для коммунально-бытового потребления. Технические условия;
ГОСТ 21204-97. Горелки газовые промышленные. Общие технические требования;
ГОСТ 21488-97Е. Прутки прессованные из алюминия и алюминиевых сплавов. Технические условия;
ГОСТ 21552-84Е. Средства вычислительной техники. Общие технические требования, приемка, методы испытаний, маркировка, упаковка, транспортирование и хранение;
ГОСТ 21631-76Е. Листы из алюминия и алюминиевых сплавов. Технические условия;
ГОСТ 25100-95. Грунты. Классификация;
ГОСТ 25696-83. Горелки газовые инфракрасного излучения. Общие технические требования и приемка;
ГОСТ 28394-89. Чугун с вермикулярным графитом для отливок. Марки;
ГОСТ 2.601-95 ЕСКД. Эксплуатационные документы;
ГОСТ 8.143-75 ГСИ. Государственный первичный эталон и общесоюзная проверочная схема для средств измерений объемного расхода газа в диапазоне 1×10-6 ¸ 1×102 м3/с;
ГОСТ 8.563.1-97 ГСИ. Измерение расхода и количества жидкостей и газов методом переменного перепада давления. Диафрагмы, сопла ИСА 1932 и трубы Вентури, установленные в заполненных трубопроводах круглого сечения. Технические условия;
ГОСТ 8.563.2-97 ГСИ. Измерение расхода и количества жидкостей и газов методом переменного перепада давления. Методика выполнения измерений с помощью сужающих устройств;
ГОСТ 12.1.005-88 ССБТ. Общие санитарно-гигиенические требования к воздуху рабочей зоны;
ГОСТ 12.1.007-76 ССБТ. Вредные вещества. Классификация и общие требования безопасности;
ГОСТ 12.1.011-78* ССБТ. Смеси взрывоопасные. Классификация и методы испытаний;
ГОСТ 12.2.085-85 ССБТ. Сосуды, работающие под давлением. Клапаны предохранительные. Требования безопасности;
ГОСТ Р 12.3.048-2002 ССБТ. Строительство. Производство земляных работ способом гидромеханизации. Требования безопасности;
ГОСТ 12.4.059-89 ССБТ. Строительство. Ограждения предохранительные инвентарные. Общие технические условия;
ГОСТ 21.610-85. СПДС. Газоснабжение. Наружные газопроводы. Рабочие чертежи;
ГОСТ 34.003-90. Информационная технология. Комплекс стандартов на автоматизированные системы. Автоматизированные системы. Термины и определения;
ГОСТ 34.201-89. Информационная технология. Комплекс стандартов на автоматизированные системы. Виды, комплектность и обозначение документов при создании автоматизированных систем;
ГОСТ 34.601-90. Информационная технология. Комплекс стандартов на автоматизированные системы. Автоматизированные системы. Стадии создания;
ГОСТ 34.602-89. Информационная технология. Комплекс стандартов на автоматизированные системы. Техническое задание на создание автоматизированной системы;
ГОСТ Р 50571.3-94. Электроустановки зданий. Часть 4. Требования по обеспечению безопасности. Защита от поражений электрическим током;
ГОСТ Р 50670-94. Оборудование промышленное газоиспользующее. Воздухонагреватели. Общие технические требования;
ГОСТ Р 50838-95. Трубы из полиэтилена для газопроводов. Технические условия;
ГОСТ Р 51617-2000. Жилищно-коммунальные услуги. Общие технические условия;
МДС 41-2.2000. Инструкция по размещению тепловых агрегатов, предназначенных для отопления и горячего водоснабжения одноквартирных или блокированных жилых домов;
РД 34.21.122-90. Инструкция по устройству молниезащиты зданий и сооружений;
РД 50-34.698-90. Методические указания. Информационная технология. Комплекс стандартов и руководящих документов на автоматизированные системы. Требования к содержанию документов;
РД 50-680-88. Методические указания. Автоматизированные системы. Основные положения;
РД 50-682-89. Методические указания. Информационная технология. Комплекс стандартов и руководящих документов на автоматизированные системы. Общие положения.
ПБ 03-576-03. Правила устройства и безопасной эксплуатации сосудов, работающих под давлением;
ПБ 12-529-03. Правила безопасности систем газораспределения и газопотребления;
ПБ 12-609-03. Правила безопасности для объектов, использующих сжиженные углеводородные газы;
Правила плавания по внутренним судоходным путям;
Правила речного регистра;
Правила технической эксплуатации речного транспорта.
ПБ 13-407-01. Единые правила безопасности при взрывных работах;
ПУЭ. Правила устройства электроустановок;
Правила устройства и безопасной эксплуатации паровых котлов с давлением пара не более 0,07 МПа (0,7 кгс/см2), водогрейных котлов и водонагревателей с температурой нагрева воды не выше 388 К (115 °С);
ПБ 10-574-03. Правила устройства и безопасной эксплуатации паровых и водогрейных котлов.
3.1 Разработку проектов газораспределительных систем следует вести на основании технических условий на присоединение объекта газового хозяйства к источникам газораспределения, выдаваемых владельцем газовых сетей, и наличия согласования с организацией-разработчиком схемы газоснабжения объекта.
3.2 Порядок разработки, согласования, утверждения и состав проектной документации следует предусматривать в соответствии со СНиП II 11-01.
3.3 Газораспределительные системы подразделяются по:
- виду газа (природный, СУГ);
- числу ступеней регулирования давления газа (одно- и многоступенчатые);
- принципу построения (кольцевые, тупиковые, смешанные).
3.4 Выбор системы распределения газа рекомендуется производить в зависимости от объема, структуры и плотности газопотребления поселений, размещения жилых и производственных зон, а также источников газоснабжения (местоположение и мощность существующих и проектируемых магистральных газопроводов, газораспределительных станций (ГРС), газонаполнительных станций (ГНС) и т.д.).
Выбор той или иной газораспределительной системы в проекте должен быть техникоэкономически обоснован.
3.5 При использовании одно- или многоступенчатой системы распределения газ потребителям подается соответственно по распределительным газопроводам одной или нескольких категорий давления.
Для крупных и средних поселений, как правило, предусматривают многоступенчатые газораспределительные системы.
Для малых городов или отдельных жилых микрорайонов, а также для сельских поселений в качестве наиболее рациональной газораспределительной системы рекомендуется система распределения среднего давления с ШРП у потребителя или группы потребителей.
Одноступенчатые газораспределительные системы низкого давления из-за значительных материаловложений являются целесообразными лишь в малых поселениях с компактной застройкой, расположенных вблизи источника газоснабжения.
В зависимости от величины давления газа в распределительных газопроводах и климатических условий рекомендуется применение ГРП, ГРПБ, как правило, с местными приборами отопления.
3.6 Между газопроводами различных категорий давления, входящих в систему газораспределения, как правило, следует предусматривать газорегуляторные пункты (установки).
3.7 Принцип построения газораспределительных систем выбирается в зависимости от характера планировки и плотности застройки поселения. Предпочтительными являются смешанные или кольцевые газораспределительные системы, обеспечивающие наиболее равномерный режим давления во всех точках отбора газа из распределительных газопроводов, а также повышающие надежность систем газоснабжения.
3.8 При газоснабжении СУГ рекомендуются газораспределительные системы на базе резервуарных установок или станций регазификации.
Газораспределительные системы с использованием групповых или индивидуальных баллонных установок СУГ рекомендуется применять только при технической невозможности или экономической нецелесообразности использования резервуарных установок.
3.9 При решении вопросов газоснабжения поселений использование газа предусматривается на:
- индивидуально-бытовые нужды населения: приготовление пищи и горячей воды, а для сельских поселений также для приготовления кормов и подогрева воды для животных в домашних условиях;
- отопление, вентиляцию и горячее водоснабжение жилых и общественных зданий;
- отопление и нужды производственных и коммунально-бытовых потребителей.
3.10 Годовые расходы газа для каждой категории потребителей следует определять на конец расчетного периода с учетом перспективы развития объектов - потребителей газа.
Продолжительность расчетного периода устанавливается на основании плана перспективного развития объектов - потребителей газа.
3.11 Годовые расходы газа для населения (без учета отопления), предприятий бытового обслуживания населения, общественного питания, предприятий по производству хлеба и кондитерских изделий, а также для учреждений здравоохранения рекомендуется определять по нормам расхода теплоты, приведенным в ГОСТ Р 51617 (приложение А).
Нормы расхода газа для потребителей, не перечисленные в приложении А, следует принимать по нормам расхода других видов топлива или по данным фактического расхода используемого топлива с учетом КПД при переводе на газовое топливо.
3.12 При составлении проектов генеральных планов городов и других поселений допускается принимать укрупненные показатели потребления газа, м3/год на 1 чел., при теплоте сгорания газа 34 МДж/м3 (8000 ккал/м3):
- при наличии централизованного горячего водоснабжения - 120;
- при горячем водоснабжении от газовых водонагревателей - 300;
- при отсутствии всяких видов горячего водоснабжения - 180 (220 в сельской местности).
3.13 Годовые расходы газа на нужды предприятий торговли, бытового обслуживания непроизводственного характера и т.п. можно принимать в размере до 5 % суммарного расхода теплоты на жилые дома.
3.14 Годовые расходы газа на нужды промышленных и сельскохозяйственных предприятий следует определять по данным топливопотребления (с учетом изменения КПД при переходе на газовое топливо) этих предприятий с перспективой их развития или на основе технологических норм расхода топлива (теплоты).
3.15 Годовые и расчетные часовые расходы теплоты на нужды отопления, вентиляции и горячего водоснабжения определяют в соответствии с указаниями СНиП 2.04.01, СНиП 2.04.05 и СНиП 2.04.07.
3.16 Годовые расходы теплоты на приготовление кормов и подогрев воды для животных рекомендуется принимать по таблице 1.
Таблица 1
|
Показатель |
Нормы расхода теплоты на нужды одного животного, МДж (тыс. ккал) |
|
|
Приготовление кормов для животных с учетом запаривания грубых кормов и корне-, клубнеплодов |
Лошадь |
1700 (400) |
|
Корова |
4200 (1000) |
|
|
Свинья |
8400 (2000) |
|
|
Подогрев воды для питья и санитарных целей |
На одно животное |
420 (100) |
3.17 Система газоснабжения городов и других населенных пунктов должна рассчитываться на максимальный часовой расход газа.
3.18 Максимальный расчетный часовой расход газа Qhd, м3/ч, при 0 °С и давлении газа 0,1 МПа (760 мм рт. ст.) на хозяйственно-бытовые и производственные нужды следует определять как долю годового расхода по формуле
где Khmax - коэффициент часового максимума (коэффициент перехода от годового расхода к максимальному часовому расходу газа);
Qy - годовой расход газа, м3/год.
Коэффициент часового максимума расхода газа следует принимать дифференцированно по каждой обособленной зоне газоснабжения, снабжаемой от одного источника.
Значения коэффициента часового максимума расхода газа на хозяйственно-бытовые нужды в зависимости от численности населения, снабжаемого газом, приведены в таблице 2; для бань, прачечных, предприятий общественного питания и предприятий по производству хлеба и кондитерских изделий - в таблице 3.
Таблица 2
|
Коэффициент часового максимума расхода газа (без отопления) Khmax |
|
|
1 |
1/1800 |
|
2 |
1/2000 |
|
3 |
1/2050 |
|
5 |
1/2100 |
|
10 |
1/2200 |
|
20 |
1/2300 |
|
30 |
1/2400 |
|
40 |
1/2500 |
|
50 |
1/2600 |
|
100 |
1/2800 |
|
300 |
1/3000 |
|
500 |
1/3300 |
|
750 |
1/3500 |
|
1000 |
1/3700 |
|
2000 и более |
1/4700 |
Таблица 3
|
Коэффициент часового максимума расходов газа Khmax |
|
|
Бани |
1/2700 |
|
Прачечные |
1/2900 |
|
Общественного питания |
1/2000 |
|
По производству хлеба, кондитерских изделий |
1/6000 |
|
Примечание. Для бань и прачечных значения коэффициента часового максимума расхода газа приведены с учетом расхода газа на нужды отопления и вентиляции. |
|
3.19 Расчетный часовой расход газа для предприятий различных отраслей промышленности и предприятий бытового обслуживания производственного характера (за исключением предприятий, приведенных в таблице 4) следует определять по данным топливопотребления (с учетом изменения КПД при переходе на газовое топливо) или по формуле (1) исходя из годового расхода газа с учетом коэффициентов часового максимума по отрасли промышленности, приведенных в таблице 4.
Таблица 4
|
Коэффициент часового максимума расхода газа Кhmax |
|||
|
В целом по предприятию |
По котельным |
По промышленным печам |
|
|
Черная металлургия |
1/6100 |
1/5200 |
1/7500 |
|
Судостроительная |
1/3200 |
1/3100 |
1/3400 |
|
Резиноасбестовая |
1/5200 |
1/5200 |
- |
|
Химическая |
1/5900 |
1/5600 |
1/7300 |
|
Строительных материалов |
1/5900 |
1/5500 |
1/6200 |
|
Радиопромышленность |
1/3600 |
1/3300 |
1/5500 |
|
Электротехническая |
1/3800 |
1/3600 |
1/5500 |
|
Цветная металлургия |
1/3800 |
1/3100 |
1/5400 |
|
Станкостроительная и инструментальная |
1/2700 |
1/2900 |
1/2600 |
|
Машиностроение |
1/2700 |
1/2600 |
1/3200 |
|
Текстильная |
1/4500 |
1/4500 |
- |
|
Целлюлозно-бумажная |
1/6100 |
1/6100 |
- |
|
Деревообрабатывающая |
1/5400 |
1/5400 |
- |
|
Пищевая |
1/5700 |
1/5900 |
1/4500 |
|
Пивоваренная |
1/5400 |
1/5200 |
1/6900 |
|
Винодельческая |
1/5700 |
1/5700 |
- |
|
Обувная |
1/3500 |
1/3500 |
- |
|
Фарфоро-фаянсовая |
1/5200 |
1/3900 |
1/6500 |
|
Кожевенно-галантерейная |
1/4800 |
1/4800 |
- |
|
Полиграфическая |
1/4000 |
1/3900 |
1/4200 |
|
Швейная |
1/4900 |
1/4900 |
- |
|
Мукомольно-крупяная |
1/3500 |
1/3600 |
1/3200 |
|
Табачная |
1/3850 |
1/3500 |
- |
3.20 Для отдельных жилых домов и общественных зданий расчетный часовой расход газа Qhd, м3/ч, следует определять по сумме номинальных расходов газа газовыми приборами с учетом коэффициента одновременности их действия по формуле
(2)
где
- сумма произведений величин Ksim, qnom и ni от i до m;
Ksim - коэффициент одновременности, принимаемый для жилых домов по таблице 5;
qnom - номинальный расход газа прибором или группой приборов, м3/ч, принимаемый по паспортным данным или техническим характеристикам приборов;
ni - число однотипных приборов или групп приборов;
т - число типов приборов или групп приборов.
Таблица 5
|
Коэффициент одновременности Ksim в зависимости от установки в жилых домах газового оборудования |
||||
|
Плита 4-конфорочная |
Плита 2-конфо-рочная |
Плита 4-конфорочная и газовый проточный водонагреватель |
Плита 2-конфорочная и газовый проточный водонагреватель |
|
|
1 |
1 |
1 |
0,700 |
0,750 |
|
2 |
0,650 |
0,840 |
0,560 |
0,640 |
|
3 |
0,450 |
0,730 |
0,480 |
0,520 |
|
4 |
0,350 |
0,590 |
0,430 |
0,390 |
|
5 |
0,290 |
0,480 |
0,400 |
0,375 |
|
6 |
0,280 |
0,410 |
0,392 |
0,360 |
|
7 |
0,280 |
0,360 |
0,370 |
0,345 |
|
8 |
0,265 |
0,320 |
0,360 |
0,335 |
|
9 |
0,258 |
0,289 |
0,345 |
0,320 |
|
10 |
0,254 |
0,263 |
0,340 |
0,315 |
|
15 |
0,240 |
0,242 |
0,300 |
0,275 |
|
20 |
0,235 |
0,230 |
0,280 |
0,260 |
|
30 |
0,231 |
0,218 |
0,250 |
0,235 |
|
40 |
0,227 |
0,213 |
0,230 |
0,205 |
|
50 |
0,223 |
0,210 |
0,215 |
0,193 |
|
60 |
0,220 |
0,207 |
0,203 |
0,186 |
|
70 |
0,217 |
0,205 |
0,195 |
0,180 |
|
80 |
0,214 |
0,204 |
0,192 |
0,175 |
|
90 |
0,212 |
0,203 |
0,187 |
0,171 |
|
100 |
0,210 |
0,202 |
0,185 |
0,163 |
|
400 |
0,180 |
0,170 |
0,150 |
0,135 |
|
Примечания: 1. Для квартир, в которых устанавливается несколько однотипных газовых приборов, коэффициент одновременности следует принимать как для такого же числа квартир с этими газовыми приборами. 2. Значение коэффициента одновременности для емкостных водонагревателей, отопительных котлов или отопительных печей рекомендуется принимать равным 0,85 независимо от количества квартир. |
||||
3.21 Пропускная способность газопроводов может приниматься из условий создания при максимально допустимых потерях давления газа наиболее экономичной и надежной в эксплуатации системы, обеспечивающей устойчивость работы ГРП и газорегуляторных установок (ГРУ), а также работы горелок потребителей в допустимых диапазонах давления газа.
3.22 Расчетные внутренние диаметры газопроводов определяются исходя из условия обеспечения бесперебойного газоснабжения всех потребителей в часы максимального потребления газа.
3.23 Расчет диаметра газопровода следует выполнять, как правило, на компьютере с оптимальным распределением расчетной потери давления между участками сети.
При невозможности или нецелесообразности выполнения расчета на компьютере (отсутствие соответствующей программы, отдельные участки газопроводов и т.п.) гидравлический расчет допускается производить по приведенным ниже формулам или по номограммам (приложение Б), составленным по этим формулам.
3.24 Расчетные потери давления в газопроводах высокого и среднего давления принимаются в пределах категории давления, принятой для газопровода.
3.25 Расчетные суммарные потери давления газа в газопроводах низкого давления (от источника газоснабжения до наиболее удаленного прибора) принимаются не более 180 даПа, в том числе в распределительных газопроводах 120 даПа, в газопроводах-вводах и внутренних газопроводах - 60 даПа.
3.26 Значения расчетной потери давления газа при проектировании газопроводов всех давлений для промышленных, сельскохозяйственных и бытовых предприятий и организаций коммунально-бытового обслуживания принимаются в зависимости от давления газа в месте подключения с учетом технических характеристик принимаемого к установке газового оборудования, устройств автоматики безопасности и автоматики регулирования технологического режима тепловых агрегатов.
3.27 Падение давления на участке газовой сети можно определять:
- для сетей среднего и высокого давлений по формуле
где Pн - абсолютное давление в начале газопровода, МПа;
Рк - абсолютное давление в конце газопровода, МПа;
Р0 = 0,101325 МПа;
l - коэффициент гидравлического трения;
l - расчетная длина газопровода постоянного диаметра, м;
d - внутренний диаметр газопровода, см;
r0 - плотность газа при нормальных условиях, кг/м3;
Q0 - расход газа, м3/ч, при нормальных условиях;
- для сетей низкого давления по формуле
(4)
где Рн - давление в начале газопровода, Па;
Рк - давление в конце газопровода, Па;
l, l, d, r0, Q0 - обозначения те же, что и в формуле (3).
3.28 Коэффициент гидравлического трения l определяется в зависимости от режима движения газа по газопроводу, характеризуемого числом Рейнольдса,
где n - коэффициент кинематической вязкости газа, м2/с, при нормальных условиях;
Q0, d - обозначения те же, что и в формуле (3), и гидравлической гладкости внутренней стенки газопровода, определяемой по условию (6),
где Re - число Рейнольдса;
п - эквивалентная абсолютная шероховатость внутренней поверхности стенки трубы, принимаемая равной для новых стальных - 0,01 см, для бывших в эксплуатации стальных - 0,1 см, для полиэтиленовых независимо от времени эксплуатации - 0,0007 см;
d - обозначение то же, что и в формуле (3).
В зависимости от значения Re коэффициент гидравлического трения А определяется:
- для ламинарного режима движения газа Re £ 2000
- для критического режима движения газа Re = 2000 - 4000
l = 0,0025 Re0,333; (8)
- при Re > 4000 - в зависимости от выполнения условия (6);
- для гидравлически гладкой стенки (неравенство (6) справедливо):
- при 4000 < Re < 100000 по формуле
(9)
- при Re > 100000
(10)
- для шероховатых стенок (неравенство (6) несправедливо) при Re > 4000
где п - обозначение то же, что и в формуле (6);
d - обозначение то же, что и в формуле (3).
3.29 Расчетный расход газа на участках распределительных наружных газопроводов низкого давления, имеющих путевые расходы газа, следует определять как сумму транзитного и 0,5 путевого расходов газа на данном участке.
3.30 Падение давления в местных сопротивлениях (колена, тройники, запорная арматура и др.) допускается учитывать путем увеличения фактической длины газопровода на 5 - 10 %.
3.31 Для наружных надземных и внутренних газопроводов расчетную длину газопроводов определяют по формуле (12)
где l1 - действительная длина газопровода, м;
Sx - сумма коэффициентов местных сопротивлений участка газопровода;
d - обозначение то же, что и в формуле (3);
l - коэффициент гидравлического трения, определяемый в зависимости от режима течения и гидравлической гладкости стенок газопровода по формулам (7) - (11).
3.32 В тех случаях когда газоснабжение СУГ является временным (с последующим переводом на снабжение природным газом), газопроводы проектируются из условий возможности их использования в будущем на природном газе.
При этом количество газа определяется как эквивалентное (по теплоте сгорания) расчетному расходу СУГ.
3.33 Падение давления в трубопроводах жидкой фазы СУГ определяется по формуле (13)
где l - коэффициент гидравлического трения;
V - средняя скорость движения сжиженных газов, м/с.
С учетом противокавитационного запаса средние скорости движения жидкой фазы принимаются: во всасывающих трубопроводах - не более 1,2 м/с; в напорных трубопроводах - не более 3 м/с.
Коэффициент гидравлического трения l определяется по формуле (11).
3.34 Расчет диаметра газопровода паровой фазы СУГ выполняется в соответствии с указаниями по расчету газопроводов природного газа соответствующего давления.
3.35 При расчете внутренних газопроводов низкого давления для жилых домов допускается определять потери давления газа на местные сопротивления в размере, %:
- на газопроводах от вводов в здание:
до стояка - 25 линейных потерь
на стояках - 20 » »
- на внутриквартирной разводке:
при длине разводки 1 - 2 м - 450 линейных потерь
» » » 3 - 4 - 300 » »
» » » 5 - 7 - 120 » »
» » » 8 - 12 - 50 » »
3.36 При расчете газопроводов низкого давления учитывается гидростатический напор Нg, даПа, определяемый по формуле (14)
Hg = ±lgh(ra - r0), (14)
где g - ускорение свободного падения, 9,81 м/с2;
h - разность абсолютных отметок начальных и конечных участков газопровода, м;
rа - плотность воздуха, кг/м3, при температуре 0 °С и давлении 0,10132 МПа;
r0 - обозначение то же, что в формуле (3).
3.37 Расчет кольцевых сетей газопроводов следует выполнять с увязкой давлений газа в узловых точках расчетных колец. Неувязка потерь давления в кольце допускается до 10 %.
3.38 При выполнении гидравлического расчета надземных и внутренних газопроводов с учетом степени шума, создаваемого движением газа, следует принимать скорости движения газа не более 7 м/с для газопроводов низкого давления, 15 м/с для газопроводов среднего давления, 25 м/с для газопроводов высокого давления.
3.39 При выполнении гидравлического расчета газопроводов, проведенного по формулам (5) - (14), а также по различным методикам и программам для электронно-вычислительных машин, составленным на основе этих формул, расчетный внутренний диаметр газопровода следует предварительно определять по формуле (15)
(15)
где dp - расчетный диаметр, см;
А, В, т, т1 - коэффициенты, определяемые по таблицам 6 и 7 в зависимости от категории сети (по давлению) и материала газопровода;
Q0 - расчетный расход газа, м3/ч, при нормальных условиях;
DРуд - удельные потери давления (Па/м - для сетей низкого давления, МПа/м - для сетей среднего и высокого давления), определяемые по формуле (16)
DРдоп - допустимые потери давления (Па - для сетей низкого давления, МПа/м - для сетей среднего и высокого давления);
L - расстояние до самой удаленной точки, м.
Таблица 6
|
А |
|
|
Сети низкого давления |
106/(162p2) = 626 |
|
Сети среднего и высокого давления |
Р0/(Рт162p2), Р0 = 0,101325 МПа, Рт - усредненное давление газа (абсолютное) в сети, МПа. |
Таблица 7
|
В |
т |
m1 |
|
|
Сталь |
0,022 |
2 |
5 |
|
Полиэтилен |
0,3164 (9pn)0,25 = 0,0446, n - кинематическая вязкость газа при нормальных условиях, м2/с. |
1,75 |
4,75 |
3.40 Внутренний диаметр газопровода принимается из стандартного ряда внутренних диаметров трубопроводов: ближайший больший - для стальных газопроводов и ближайший меньший - для полиэтиленовых.
3.41 Автоматизированные системы управления технологическими процессами распределения газа (АСУ ТП РГ) имеют централизованную структуру, основными элементами которой являются контролируемые пункты (КП) на наружных сетях и сооружениях системы распределения газа (нижний уровень АСУ ТП РГ) и центральный диспетчерский пункт (ЦДП) (верхний уровень АСУ ТП РГ).
Верхний уровень АСУ ТП РГ реализуется в ЦДП в виде одного или нескольких автоматизированных рабочих мест (АРМ), связанных между собой локальной вычислительной сетью (ЛВС).
При необходимости создания многоуровневых АСУ ТП РГ предусматриваются промежуточные пункты управления (ППУ), координирующие работу КП. Работа ППУ координируется ЦДП. Допускается совмещение ППУ с одним из КП.
3.42 АСУ ТП РГ охватывают следующие газорегулирующие сооружения (ГС):
ГРС - связывающие магистральные газопроводы с городской (региональной) системой газораспределения (при соответствующем согласовании с организацией, эксплуатирующей данные магистральные газопроводы);
ГРП - обеспечивающие редуцирование давления газа в сетях высокого и среднего давления;
ГРП - питающие тупиковые сети низкого давления с часовым потреблением газа свыше 1000 м3/ч (при нормальных условиях);
ГРП потребителей с расчетным расходом газа свыше 1000 м3/ч (при нормальных условиях) - имеющие особые режимы газоснабжения или резервное топливное хозяйство;
ГРП - питающие кольцевые сети низкого давления;
ГРП - расположенные в удаленных населенных пунктах.
Количество потребителей, охваченных АСУ ТП РГ, должно, как правило, обеспечивать контроль потребления не менее 80 % объема газа, потребляемого городом (регионом) с учетом сезонных колебаний потребления.
3.43 АСУ ТП РГ содержат информационные функциональные подсистемы, реализующие комплексы задач (КЗ) в соответствии с таблицей 8.
3.44 Система газораспределения, содержащая более 50 газовых объектов и обслуживающая город (регион) с населением свыше 500 тыс. человек, может быть оснащена АСУ ТП РГ, включающими в себя помимо функциональных подсистем информационного характера, указанных в таблице 8, функциональные подсистемы, реализующие комплексы задач (задачи) в соответствии с таблицей 9.
Таблица 8
|
Комплекс задач, задачи |
Периодичность решения |
|
|
1. Оперативный контроль технологического процесса распределения газа |
1. Измерение, контроль и обработка технологических параметров по инициативе КП. |
При возникновении аварийной или предаварийной ситуации. |
|
2. Периодическое измерение и контроль технологических параметров КП. |
Устанавливается диспетчерским персоналом, но не реже одного раза в 2 ч. |
|
|
3. Измерение и контроль технологических параметров КП (выборочно) по инициативе диспетчерского персонала |
По инициативе диспетчерского персонала в любой момент времени |
|
|
2. Оперативный контроль состояния технологического оборудования |
1. Передача в ЦДП информации об аварийных и нештатных ситуациях. |
При возникновении за время не более 30 с. |
|
2. Периодический контроль состояния технологического оборудования КП. |
Один раз в час. |
|
|
3. Контроль и обработка показателей состояния технологического оборудования по инициативе диспетчерского персонала |
По инициативе диспетчерского персонала |
Таблица 9
|
Комплекс задач, задачи |
Периодичность решения |
|
|
1. Оперативный учет поступления и реализации газа |
1. Оперативный учет поступления газа в город (регион). |
Не реже, чем один раз в сутки. |
|
2. Оперативный учет расхода газа потребителями. |
То же |
|
|
3. Оперативный контроль за соответствием плану поставок газа поставщиком. |
» |
|
|
4. Оперативный контроль за соответствием плану расходов газа потребителями. |
» |
|
|
5. Оперативный баланс поступления газа в город (регион) и расхода газа потребителями |
Не реже, чем один раз в месяц, а в условиях дефицита подачи газа - не реже, чем один раз в сутки |
|
|
2. Прогнозирование технологического процесса газораспределения |
1. Прогнозирование потребности подачи газа в город (регион). |
Не реже, чем один раз в месяц, а в условиях дефицита подачи газа - не реже, чем один раз в сутки. |
|
2. Прогнозирование расхода газа крупными предприятиями (ТЭЦ, крупные котельные и промпредприятия). |
То же |
|
|
3. Прогнозирование суточного баланса поступления газа в город (регион) и расхода газа потребителями |
Один раз в сутки в условиях дефицита подачи газа |
|
|
3. Анализ технологического процесса распределения газа в сетях низкого, среднего и высокого давлений |
Анализ функционирования газовых сетей на основе гидравлической модели процесса распределения газа и электронной схемы газовых сетей, привязанной к карте (схеме) города (региона) |
При изменении конфигурации газовой сети, подключении или отключении потребителей газа, локализации аварийных ситуаций и в других случаях при необходимости |
|
4. Формирование и передача управляющих воздействий |
1. Выдача команд-инструкций на сокращение или увеличение потребления газа. |
При необходимости. |
|
2. Выдача команд на принудительное сокращение подачи газа потребителям, превышающим договорные объемы поставки газа. |
То же |
|
|
3. Телерегулирование давления газа на выходах ГС, кроме ГРП потребителей. |
» |
|
|
4. Телеуправление отключающими устройствами |
» |
|
|
5. Автоматизированный контроль функционирования комплекса технических средств АСУ ТП РГ |
1. Передача в ЦДП информации о состоянии датчикового оборудования. |
При возникновении неисправности или по вызову диспетчерского персонала за время не более 30 с. |
|
2. Передача в ЦДП информации о состоянии функциональных блоков КП, ППУ. |
То же |
|
|
3. Передача в ЦДП информации о состоянии линии связи |
» |
|
|
6. Связь АСУ ТП РГ с организационно-экономическими АСУ различного назначения |
1. Обеспечение обмена информацией между АСУ ТП РГ и организационно-экономической АСУ. |
По мере подготовки информации. |
|
2. Обеспечение передачи и приема информации между АСУ ТП РГ и общегородской (региональной) АСУ |
То же |
3.45 Для реализации функциональных подсистем АСУ ТП РГ, приведенных в таблицах 8 и 9, комплекс средств автоматизации (КСА) нижнего уровня АСУ ТП РГ должен, как правило, обеспечивать выполнение следующих функций:
а) измерение с периодичностью не более 5 с физических значений следующих параметров функционирования ГС:
- давление газа на каждом входе ГС (измеряется, если замерный узел расхода газа установлен после узла редуцирования давления газа);
- давление газа перед каждым замерным узлом расхода газа;
- перепад давления газа на каждом сужающем устройстве замерного узла расхода газа или объем газа по каждому замерному узлу расхода газа (при применении счетчиков расхода газа);
- температура газа по каждому замерному узлу;
- давление газа на каждом выходе ГС;
- положение регулирующего устройства;
б) сравнение измеренных значений параметров функционирования ГС с заданными минимальными и максимальными их значениями, фиксация и запоминание значений отклонений;
в) контроль с периодичностью не более 5 с следующих параметров состояния технологического оборудования ГС:
- положение запорного устройства;
- засоренность фильтра (норма/выше нормы/авария);
- состояние предохранительно-запорного клапана («закрыт/открыт»);
- загазованность помещения (норма/выше нормы);
- температура воздуха в помещении (норма/выше нормы/ниже нормы, пределы), устанавливается в соответствии с паспортными данными на приборы и оборудование;
- состояние дверей в технологическом и приборном помещении (открыты/закрыты);
- признак санкционированного доступа в помещение (свой/чужой);
г) контроль отклонений параметров состояния технологического оборудования от установленных значений в соответствии с паспортными данными на технологическое оборудование, фиксация и запоминание отклонений;
д) расчет расхода и количества газа через каждый замерный узел ГС, основанный на методе переменного перепада давления, в соответствии с ГОСТ 8.563.1, ГОСТ 8.563.2 при применении счетчиков;
е) расчет объемов газа по каждому замерному узлу за следующие периоды:
- 5 с (значение мгновенного расхода газа);
- 1 ч;
- 1 сут;
- 1 мес;
ж) ввод и хранение следующих нормативно-справочных данных:
- текущее время;
- дата (год, месяц, число);
- код (номер) замерного узла, название и код автоматизированного ГС;
- плотность газа в нормальных условиях;
- диаметр измерительного трубопровода;
- диаметр отверстия диафрагмы;
- тип устройства отбора давления;
- тип счетчика расхода газа;
- барометрическое давление;
- диапазоны измерения датчиков давления;
- диапазоны измерения датчиков температуры;
- диапазоны измерения перепада давления дифманометром (при применении сужающих устройств) или диапазон измерения расхода газа счетчиками;
- величины наименьшего перепада давления, при которых погрешность измерения расхода газа превосходит допустимую по ГОСТ 8.143 (при применении сужающих устройств);
- величины максимальных перепадов давления, при которых должны происходить переключения дифманометров (при применении сужающих устройств);
з) автоматическое фиксирование во времени и запоминание технологических параметров функционирования ГС при следующих нештатных ситуациях:
- изменение введенных в функциональный блок данных, влияющих на результаты вычисления расхода газа;
- поочередное переключение датчиков перепада давления, давления и температуры на режим калибровки;
- переключение датчиков перепада давления, давления и температуры в рабочий режим;
- отклонение значений перепада давления за пределы рабочего диапазона дифманометров (при применении сужающего устройства);
- отклонение давления газа за пределы значений, установленных договором с потребителем газа;
- отказ датчиков контроля состояния технологического оборудования;
- отказ датчиков перепада давления, датчиков давления и температуры газа, счетчиков расхода газа;
- замена текущих показаний датчиков перепада давления, давления и температуры константами;
- отклонение напряжения электропитания за допускаемые значения;
- отсутствие сетевого электропитания;
и) комплекс средств автоматизации ГС должен запоминать и передавать в ЦДП по каждому замерному узлу ГС информацию, необходимую для составления на верхнем уровне системы следующих видов отчетов: месячный, суточный, часовой, оперативный (по вызову). Каждый вид отчета должен содержать:
- название (код) КП;
- код (номер) замерного узла КП;
- дату и время составления отчета;
- значение всех введенных оператором констант и время их введения.
В месячном отчете представляются значения параметров потока газа за каждые сутки за последний контрактный месяц. Отчет должен, как правило, содержать следующие данные:
- дату (число, месяц, год);
- объем газа при нормальных условиях за каждые сутки, м3;
- суммарный объем газа при нормальных условиях за отчетный период, м3;
- средний суточный расход, м3/ч;
- среднесуточное значение перепада давления, МПа (для диафрагм);
- среднесуточное значение давления на входе замерного узла, МПа;
- среднесуточное значение атмосферного давления;
- среднесуточное значение температуры газа;
- изменение данных, которые могут повлиять на результаты расчета, и время их введения;
- нештатные ситуации и время их возникновения.
В суточном отчете должны быть представлены параметры потока газа за каждый час прошедших суток. Отчет содержит следующие данные:
- дату (число, месяц, год);
- время (часы, минуты);
- объем газа при нормальных условиях за каждый час, м3;
- суммарный объем газа при нормальных условиях за суточный период, м3;
- среднее часовое значение перепада давления (для сужающих устройств), среднее часовое значение давления на входе замерного узла, среднее часовое значение температуры газа;
- изменение данных, которые могут повлиять на результаты расчета, и время их введения;
- нештатные ситуации и время их возникновения.
Часовой отчет содержит:
- время (начало часа);
- средний расход газа за час, м3/ч;
- средний перепад давления за час (для сужающих устройств);
- среднее давление на входе замерного узла за час;
- среднюю температуру газа за час;
- записи о вмешательстве оператора и нештатных ситуациях.
Оперативный отчет содержит полученные в результате последнего расчета, предшествующего сигналу запроса (опроса), следующие данные:
- текущее время (время опроса);
- давление газа на каждом ЗУ, МПа;
- температура газа на каждом ЗУ;
- мгновенный расход газа на каждом ЗУ, м3/ч;
- интегральный расход газа на каждом ЗУ, м3/ч;
- изменение данных, которые могут повлиять на результаты расчета, и время их введения;
- нештатные ситуации и время их возникновения;
- давление газа на каждом входе ГС, МПа;
- давление газа на каждом выходе ГС (для сетевых ГРС, ГРП), МПа;
- данные о состоянии технологического оборудования;
- перепады давления на фильтрах.
3.46 Информация о расходе газа объектами газопотребления, контролируемыми АСУ ТП РГ, и информация об объеме газа, поступающем в систему газораспределения города (региона) через сетевую (сетевые) ГРС из магистральных газопроводов, должна быть пригодна для взаимных расчетов за поставленный газ по действующим нормативным документам.
Допускается не устанавливать регистрирующие приборы давления и расхода газа в ГС, охваченных АСУ ТП РГ.
3.47 Регулирование параметров технологического процесса газораспределения в АСУ ТП РГ производится по командным сигналам с ЦДП путем воздействия на управляющие и исполнительные устройства, установленные на газовых объектах газораспределительной системы.
Для управления отключающими устройствами применяются дистанционно управляемые задвижки или предохранительные клапаны, а для управления настройкой регуляторов давления газа - переключаемые или плавно настраиваемые регуляторы управления, при этом на ГРП низкого давления настройка должна осуществляться с установкой не менее трех уровней выходного давления.
3.48 Проектирование АСУ ТП РГ осуществляется в соответствии с ПУЭ, ГОСТ 34.003, ГОСТ 34.201, ГОСТ 34.601, ГОСТ 34.602, РД 50-34.698, РД 50-680, РД 50-682 и положениями настоящего раздела.
3.49 Проектирование и строительство АСУ ТП РГ рекомендуется производить по очередям.
Первая очередь внедрения АСУ ТП РГ должна предусматривать функционирование системы в информационном режиме централизованного контроля при ограниченном числе контролируемых объектов.
3.50 Параметры выходных электрических сигналов датчиков должны соответствовать параметрам входных электрических сигналов средств вычислительной техники по ГОСТ 21552.
3.51 КСА, устанавливаемые на ГС, должны иметь степень защиты от воздействия окружающей среды 1Р54 по ГОСТ 14254.
3.52 СА, устанавливаемые на ГС, должны быть рассчитаны на эксплуатацию во взрывоопасных зонах помещений классов В-1a, В-1г (ПУЭ), где возможно образование взрывоопасных смесей категорий 11A, 11В групп 1-ТЗ согласно ГОСТ 12.1.011.
3.53 По устойчивости к воздействию климатических факторов КСА, устанавливаемые на ЦДП, должны соответствовать второй группе, а КСА, устанавливаемые на ГС, третьей группе по ГОСТ 21552 для средств вычислительной техники.
3.54 ЦДП следует размещать в помещениях, обеспечивающих оптимальные условия эксплуатации аппаратуры и комфортные условия работы диспетчерского персонала.
3.55 КП, оборудуемые на ГРС, ГРП (ГРУ) и замерных пунктах систем газораспределения, должны иметь:
а) контур заземления;
б) отопительную систему, поддерживающую температуру в помещениях не ниже 5 °С;
в) телефонный ввод или каналообразующую аппаратуру радиоканала.
Для размещения аппаратуры АСУ ТП РГ на КП допускается устройство отдельного (аппаратного) помещения, которое, кроме указанных выше требований к обустройству КП, должно:
1) примыкать к технологическому помещению КП;
2) иметь отдельный вход;
3) иметь площадь не менее 4 м2.
4.1 Требования настоящего раздела распространяются на проектирование газопроводов от источников газораспределения до потребителей газа.
При прокладке наружных газопроводов в особых условиях дополнительно следует руководствоваться положениями подраздела «Требования к сооружению газопроводов в особых природных и климатических условиях» (СП 42-102, СП 42-103).
4.2 При проектировании подземных газопроводов рекомендуется предусматривать полиэтиленовые трубы, за исключением случаев, когда по условиям прокладки, давлению и виду транспортируемого газа эти трубы применить нельзя.
При проектировании газораспределительных систем следует учитывать планировку поселений, плотность и этажность застройки, объемы потребляемого газа, наличие и характеристики газопотребляющих установок, стоимость труб, оборудования, строительства и эксплуатации.
4.3 Выбор трассы газопроводов производится из условий обеспечения экономичного строительства, надежной и безопасной эксплуатации газопроводов с учетом перспективного развития поселений, предприятий и других объектов, а также прогнозируемого изменения природных условий.
4.4 Согласование и представление (отвод, передача в аренду) земельных участков для строительства газопроводов производятся органами местного самоуправления в пределах своих полномочий, руководствуясь при этом основными положениями Земельного кодекса России, земельного законодательства субъектов Российской Федерации, законами об основах градостроительства, охраны окружающей среды, а также нормативно-правовыми актами, регулирующими землеприродопользование, проектирование и строительство.
4.5 Проекты наружных газопроводов следует выполнять на топографических планах в масштабах, предусмотренных ГОСТ 21.610. Разрешается выполнение проектов газопроводов, прокладываемых между поселениями, на планах в масштабе 1:5000 при закреплении оси трассы в натуре.
Продольные профили составляются для газопроводов, прокладываемых на местности со сложным рельефом, а также для технически сложных объектов при применении новых технологий, для подземных газопроводов на территории поселений и т.д.
Для участков газопровода, прокладываемого на местности со спокойным рельефом и однородными грунтовыми условиями, за исключением участков пересечений газопровода с естественными и искусственными преградами, различными сооружениями и коммуникациями, продольные профили можно не составлять. Для таких участков в местах пересечения с коммуникациями рекомендуется составлять эскизы.
4.6 Возможность использования материалов топографических, гидрологических и геологических изысканий, срок давности которых превышает 2 года, должна быть подтверждена территориальными органами архитектуры.
4.7 На территории поселений прокладка газопроводов предусматривается преимущественно подземной, в соответствии с требованиями СНиП 2.07.01.
Прокладка надземного газопровода осуществляется при техническом обосновании, которое составляется проектной организацией исходя из сложившихся архитектурно-планировочных, грунтовых и других условий района строительства. Прокладку распределительных газопроводов по улицам рекомендуется предусматривать на разделительных полосах, избегая по возможности прокладки газопроводов под усовершенствованными дорожными покрытиями.
На территории производственных предприятий предусматривается подземный или надземный способ прокладки в соответствии с требованиями СНиП II-89.
Транзитную прокладку распределительных газопроводов через территории предприятий, организаций и т.п. (при отсутствии возможности иной прокладки) можно предусматривать для газопроводов давлением до 0,6 МПа при условии обеспечения постоянного доступа на эти территории представителей предприятия, эксплуатирующего данный газопровод.
4.8 Проектирование вводов газопроводов в здания рекомендуется вести с учетом обеспечения свободного перемещения газопровода в случаях деформаций зданий и (или) газопровода за счет компенсатора (как правило, П-, Г- или Z-образного, сильфонного и т.д.) на наружном газопроводе или размеров и конструкции заделки футляра в местах прохода через наружные стены здания и фундаменты.
Конструкция вводов должна предусматривать защиту труб от механических повреждений (футляр, защитная оболочка и т.д.).
4.9 Минимальные расстояния по горизонтали от подземных газопроводов до зданий и сооружений принимаются в соответствии с требованиями СНиП 2.07.01, СНиП II-89, приведенными в приложении В.
Расстояние от газопровода до наружных стенок колодцев и камер других подземных инженерных сетей следует принимать не менее 0,3 м (в свету) при условии соблюдения требований, предъявляемых к прокладке газопроводов в стесненных условиях на участках, где расстояние в свету от газопровода до колодцев и камер других подземных инженерных сетей менее нормативного расстояния для данной коммуникации.
4.10 Допускается укладка двух и более, в том числе стальных и полиэтиленовых газопроводов в одной траншее на одном или разных уровнях (ступенями). В этих случаях и также при прокладке проектируемого газопровода вдоль действующего газопровода высокого давления (св. 0,6 МПа до 1,2 МПа) расстояние между газопроводами следует принимать исходя из условий возможности производства строительно-монтажных и ремонтных работ для стальных газопроводов диаметром до 300 мм не менее 0,4 м, диаметром более 300 мм - не менее 0,5 м и не менее 0,1 м для полиэтиленовых газопроводов. При параллельной прокладке газопроводов расстояние между ними следует принимать как для газопровода большего диаметра.
При разнице в глубине заложений смежных газопроводов свыше 0,4 м указанные расстояния следует увеличивать с учетом крутизны откосов траншей, но принимать не менее разницы заложения газопроводов.
4.11 При прокладке газопровода неосушенного газа следует предусматривать установку конденсатосборников.
Прокладка газопроводов, транспортирующих неосушенный газ, должна предусматриваться ниже зоны сезонного промерзания грунта с уклоном к конденсатосборникам не менее 2 ‰.
Вводы газопроводов неосушенного газа в здания и сооружения должны предусматриваться с уклоном в сторону распределительного газопровода. Если по условиям рельефа местности не может быть создан необходимый уклон к распределительному газопроводу, допускается предусматривать прокладку газопровода с изломом в профиле с установкой конденсатосборника в низшей точке.
4.12 При прокладке газопроводов паровой фазы СУГ следует, как правило, дополнительно учитывать положения раздела 8.
4.13 Газопроводы, прокладываемые в футлярах, должны иметь минимальное количество стыковых соединений.
4.14 В местах пересечения газопроводов с дренажными трубами на последних предусматривают герметизацию отверстий и стыков на расстоянии по 2 м в обе стороны (в свету).
4.15 Глубину прокладки подземного газопровода следует принимать в соответствии с требованиями СНиП 42-01.
При прокладке газопроводов на пахотных и орошаемых землях глубину заложения рекомендуется принимать не менее 1,0 м до верха газопровода.
На оползневых и подверженных эрозии участках прокладка газопроводов предусматривается на глубину не менее 0,5 м ниже:
- для оползневых участков - зеркала скольжения;
- для участков, подверженных эрозии, - границы прогнозируемого размыва.
4.16 При прокладке газопроводов в скальных, гравийно-галечниковых, щебенистых и других грунтах с включениями вышеуказанных грунтов (свыше 15 %) по всей ширине траншеи предусматривают устройство основания под газопровод толщиной не менее 10 см из непучинистых, непросадочных, ненабухающих глинистых грунтов или песков (кроме пылеватых) и засыпку таким же грунтом на высоту не менее 20 см над верхней образующей трубы.
4.17 В грунтах с несущей способностью менее 0,025 МПа (неслежавшиеся насыпные или илистые грунты и т.п.), а также в грунтах с включением строительного мусора и перегноя (содержание больше 10 - 15 %) дно траншеи рекомендуется усиливать путем прокладки бетонных, антисептированных деревянных брусьев, устройства свайного основания, втрамбовыванием щебня или гравия или другими способами.
4.18 При прокладке газопроводов по местности с уклоном свыше 200 ‰ в проекте предусматриваются мероприятия по предотвращению размыва засыпки траншеи: устройство противоэрозионных экранов и перемычек как из естественного грунта (например, глинистого), так и из искусственных материалов (обетонирование, шпунтовое ограждение и т.п.), нагорных канав, обвалования или другие мероприятия для отвода поверхностных вод от трассы газопровода.
Выбор способа защиты определяется в каждом конкретном случае исходя из инженерно-геологических, топографических и гидрогеологических условий местности.
4.19 При наличии вблизи охранной зоны трассы газопровода растущих оврагов и провалов, карстов и т.п., которые могут повлиять на безопасную эксплуатацию газопроводов, рекомендуется предусматривать мероприятия по предотвращению их развития.
4.20 Для определения местонахождения газопровода на углах поворота трассы, местах изменения диаметра, установки арматуры и сооружений, принадлежащих газопроводу, а также на прямолинейных участках трассы (через 200 - 500 м) устанавливаются опознавательные знаки.
На опознавательный знак наносятся данные о диаметре, давлении, глубине заложения газопровода, материале труб, расстоянии до газопровода, сооружения или характерной точки и другие сведения.
Опознавательные знаки устанавливаются на железобетонные столбики или металлические реперы высотой не менее 1,5 м или другие постоянные ориентиры.
В местах перехода газопроводов через судоходные и лесосплавные водные преграды на обоих берегах предусматривается установка сигнальных знаков в соответствии с требованиями Устава внутреннего водного транспорта. На границе подводного перехода предусматривается установка постоянных реперов: при ширине преграды при меженном горизонте до 75 м - на одном берегу, при большей ширине - на обоих берегах.
4.21 Переходы газопроводов через водные преграды предусматривают на основании данных гидрологических, инженерно-геологических и топографических изысканий с учетом условий эксплуатации существующих и строительства проектируемых мостов, гидротехнических сооружений, перспективных работ в заданном районе и экологии водоема.
4.22 Место перехода через водные преграды следует согласовывать с бассейновыми управлениями речного флота, рыбоохраны, местными органами Минприроды России, местным комитетом по водному хозяйству и другими заинтересованными организациями.
4.23 Створы подводных переходов через реки выбираются на прямолинейных устойчивых плесовых участках с пологими неразмываемыми берегами русла при минимальной ширине заливаемой поймы. Створ подводного перехода следует предусматривать, как правило, перпендикулярным динамической оси потока, избегая участков, сложенных скальными грунтами. Устройство переходов на перекатах, как правило, не допускается.
4.24 Место перехода через реки и каналы следует выбирать, как правило, ниже (по течению) мостов, пристаней, речных вокзалов, гидротехнических сооружений и водозаборов.
4.25 При ширине водных преград при меженном горизонте 75 м и более подводные переходы следует предусматривать, как правило, в две нитки.
Вторая нитка не предусматривается при прокладке:
- закольцованных газопроводов, если при отключении подводного перехода обеспечивается бесперебойное снабжение газом потребителей;
- тупиковых газопроводов к потребителям, если потребители могут перейти на другой вид топлива на период ремонта подводного перехода;
- методом наклонно-направленного бурения или другом обосновании принятого решения.
Диаметр каждой нитки газопровода должен подбираться из условия обеспечения пропускной способности трубы по 0,75 расчетного расхода газа.
4.26 Для подводных газопроводов, предназначенных для газоснабжения потребителей, не допускающих перерывов в подаче газа, или при ширине заливаемой поймы более 500 м по уровню ГВВ 10 % обеспеченности и продолжительности подтопления паводковыми водами более 20 дней, а также для горных рек и водных преград с неустойчивым дном и берегами рекомендуется прокладка второй нитки.
4.27 При пересечении водных преград расстояние между нитками подводных газопроводов назначается исходя из инженерно-геологических и гидрологических изысканий, а также условий производства работ по устройству подводных траншей, возможности укладки в них газопроводов и сохранности газопровода при аварии на параллельно проложенном, но не менее расстояний, указанных в данном разделе.
На пойменных участках переходов на несудоходных реках с руслом и берегами, не подверженными размыву, а также при пересечении водных преград в пределах поселений разрешается предусматривать укладку ниток газопроводов в одну траншею.
Расстояние между газопроводами рекомендуется принимать не менее 30 м или не менее указанных в 4.10 данного СП при укладке в одну траншею.
4.28 Прокладка газопроводов на подводных переходах предусматривается с заглублением в дно пересекаемых водных преград. Величина заглубления принимается в соответствии с требованиями СНиП 42-01 с учетом возможных деформаций русла и перспективных дноуглубительных работ на русловых участках в течение 25 лет (углубление дна, расширения, срезки, переформирование русла, размыв берегов и т.п.).
На подводных переходах через несудоходные и несплавные водные преграды, а также в скальных грунтах разрешается уменьшение глубины укладки газопроводов, но верх газопровода (балласта, футеровки) во всех случаях должен быть не ниже отметки возможного размыва дна водоема на расчетный срок эксплуатации газопровода.
4.29 При проектировании подводных переходов и газопроводов, прокладываемых в водонасыщенных грунтах, производится расчет устойчивости положения (против всплытия) и необходимости балластировки газопровода в соответствии с разделом «Расчет газопроводов на прочность и устойчивость» (СП 42-102 и СП 42-103).
Газопроводы рассчитываются на всплытие в границах ГВВ 2 % обеспеченности (водные преграды) и максимального УГВ (водонасыщенные грунты).
Установка пригрузов на газопроводах, прокладываемых на сезонно подтопляемых участках, не требуется, если грунт засыпки траншеи обеспечивает проектное положение газопровода при воздействии на него выталкивающей силы воды.
При наличии напорных вод глубина траншеи под газопровод назначается с учетом недопущения разрушения дна траншеи напорными водами.
При проектировании газопровода на участках, сложенных грунтами, которые могут перейти в жидкопластичное состояние, при определении выталкивающей силы следует вместо объемного веса воды принимать объемный вес разжиженного грунта по данным инженерно-геологических изысканий.
4.30 Проектом предусматриваются необходимые решения по укреплению берегов русла в местах прокладки подводного перехода и по предотвращению размыва траншеи поверхностными водами (одерновка, каменная наброска, устройство канав и перемычек).
4.31 На обоих берегах судоходных и лесосплавных водных преград следует предусматривать опознавательные знаки установленных образцов. На границе подводного перехода необходимо предусматривать установку постоянных реперов: при ширине преграды при меженном горизонте до 75 м - на одном берегу, при большей ширине - на обоих берегах.
4.32 Выбор способа прокладки газопровода через болота основан на обеспечении надежности и безопасности, удобства обслуживания и экономических соображениях. Тип болот определяется в соответствии со СНиП III-42.
В болотах I типа (целиком заполненных торфом, допускающих работу и неоднократное передвижение болотной техники, с удельным давлением 0,02 - 0,03 МПа или работу обычной техники с помощью щитов, сланей или дорог, обеспечивающих снижение удельного давления на поверхность залежи до 0,02 МПа), а также в болотах II типа (допускающих работу и передвижение строительной техники только по щитам, сланям или дорогам, обеспечивающим снижение удельного давления на поверхность залежи до 0,01 МПа) можно применять любые способы прокладки газопровода (подземную, наземную или надземную).
В болотах III типа (заполненных растекающимся торфом и водой с плавающей торфяной коркой, допускающих работу только специальной техники на понтонах или обычной техники с плавучих средств) наиболее целесообразна надземная прокладка. Допускается подземная прокладка при условии заглубления газопровода на минеральный грунт и устройства балластировки, как для болот I - II типов.
Наземную прокладку рекомендуется предусматривать в следующих случаях:
- болота не примыкают к затопляемым поймам рек;
- продольный и поперечный уклон болот не превышает 10 %;
- болота не подлежат осушению;
- существует возможность укладки газопровода в горизонтальных и вертикальных плоскостях естественным изгибом.
При наземной прокладке обваловку газопровода следует выполнять торфом с откосами не менее 1:1,25 и устройством под газопроводом двухслойной хворостяной выстилки, уплотненной слоем торфа. Поверх торфяной присыпки допускается устраивать обвалование минеральным грунтом.
При подземной прокладке рекомендуется руководствоваться следующими положениями:
- откосы траншей принимаются для I типа болот не менее 1:0,75 (слаборазложившийся торф) и 1:1 (хорошо разложившийся торф), для II типа болот - соответственно 1:1 и 1:1,25;
- газопровод прокладывается в горизонтальной и вертикальной плоскостях с помощью естественного изгиба;
- балластировка газопровода осуществляется анкерами винтового типа или пригрузами, распределенными по всей длине газопровода.
4.33 Пересечения газопроводами железнодорожных и трамвайных путей и автомобильных дорог I - III категорий следует предусматривать под углом 90°. В стесненных условиях в обоснованных случаях разрешается уменьшать угол пересечения до 60°.
4.34 Пересечения газопроводом железных и автомобильных дорог, трамвайных путей предусматривают подземно (под земляным полотном) или надземно (на опорах или эстакадах). При этом необходимо учитывать перспективу развития дороги, оговоренную в технических условиях предприятия, в ведении которого находится пересекаемая дорога.
4.35 Прокладка газопровода в теле насыпи, а также под мостами и в искусственных сооружениях (водопропускных, водоотводных, дренажных трубах и т.д.) железной дороги не рекомендуется.
4.36 При подземном пересечении газопроводами железных дорог на участках насыпей высотой более 6 м, а также на косогорных участках (с уклоном более 200 ‰) в проекте предусматривают дополнительные мероприятия по обеспечению устойчивости земляного полотна.
4.37 Габариты приближения надземных переходов газопроводов через железные дороги общей сети, а также внутренние подъездные пути предприятий принимаются в соответствии с ГОСТ 9238 с учетом сохранения целостности земляного полотна при производстве работ.
4.38 Отключающие устройства на наружных газопроводах размещаются:
а) подземно - в грунте (бесколодезная установка) или в колодцах;
б) надземно - на специально обустроенных площадках (для подземных газопроводов), на стенах зданий, а также на надземных газопроводах, прокладываемых на опорах.
Полиэтиленовые краны устанавливаются подземно, с выводом узла управления под ковер или в колодцах.
4.39 Установку отключающих устройств предусматривают с учетом обеспечения возможности их монтажа и демонтажа. С этой целью при размещении отключающих устройств в колодце на газопроводах с условным диаметром менее 100 мм предусматривают преимущественно П-образные компенсаторы, при больших диаметрах - линзовые или сильфонные компенсаторы.
При установке в колодце стальной фланцевой арматуры на газопроводах допускается предусматривать вместо компенсирующего устройства косую фланцевую вставку.
При надземной установке арматуры и арматуры, изготовленной для неразъемного присоединения к газопроводу, компенсирующее устройство и косую вставку можно не предусматривать.
4.40 Отключающие устройства на ответвлениях от распределительных газопроводов следует предусматривать, как правило, вне территории потребителя на расстояниях не более 100 м от распределительного газопровода и не ближе чем на 2 м от линии застройки или ограждения территории потребителя.
4.41 Размещение отключающих устройств предусматривают в доступном для обслуживания месте.
Отключающие устройства, устанавливаемые на параллельных газопроводах, рекомендуется смещать относительно друг друга на расстояние, обеспечивающее удобство монтажа, обслуживания и демонтажа.
Для отключающих устройств (их управляющих органов), устанавливаемых на высоте более 2,2 м, в проекте предусматриваются решения, обеспечивающие удобство их обслуживания (лестницы, площадки из негорючих материалов и т.д.).
4.42 При надземной установке запорной арматуры с электроприводом рекомендуется предусматривать навес для защиты ее от атмосферных осадков.
4.43 В соответствии с требованиями СНиП 2.05.03 отключающие устройства, как правило, следует предусматривать на газопроводах давлением до 0,6 МПа при прокладке их по большим (длиной св. 100 м или с пролетами св. 60 м) и средним (длиной св. 25 м до 100 м) автомобильным, городским и пешеходным мостам с обеих сторон от моста. Длину моста определяют между концами береговых опор (закладных щитов), при этом длину переходных плит в длину моста не включают.
Размещение отключающих устройств следует предусматривать, как правило, на расстоянии в свету не менее 15 м от устоев моста.
4.44 На вводах и выходах газопроводов из здания ГРП установку отключающих устройств рекомендуется предусматривать на расстоянии не менее 5 м и не более 100 м от ГРП.
Отключающие устройства перед встроенными, пристроенными и шкафными ГРП допускается предусматривать на наружных надземных газопроводах на расстоянии менее 5 м от ГРП в удобном для обслуживания месте.
4.45 При пересечении газопроводами воздушных линий электропередачи отключающие устройства следует предусматривать вне охранной зоны ЛЭП, которым является участок земли и пространства, заключенный между вертикальными плоскостями, проходящими через параллельные прямые, отстоящие от крайних проводов (при неотклоненном их положении) на расстоянии, зависящем от величины напряжения ЛЭП, а именно: для линий напряжением до 1 кВ - 2 м; от 1 до 20 кВ включ. - 10 м; 35 кВ - 15м; 110 кВ- 20 м; 150 кВ и 220 кВ - 25 м, 330 кВ, 400 кВ и 500 кВ - 50 м; 750 кВ - 40 м; 800 кВ (постоянный ток) - 30 м.
4.46 На закольцованных газопроводах установку отключающих устройств предусматривают на обоих берегах, а на тупиковых газопроводах - на одном берегу до перехода (по ходу газа).
4.47 В случаях необходимости размещения отключающих устройств на подтопляемых участках при небольшой продолжительности подтопления (до 20 дней) и незначительной глубине этого подтопления (до 0,5 м) высота их установки принимается на 0,5 м выше прогнозируемой отметки подтопления за счет устройства специальных площадок, насыпей и т.д. В этих случаях необходимо предусматривать мероприятия по обеспечению доступа обслуживающего персонала к отключающим устройствам во время подъема воды (отсыпка грунтовых подходов, плавсредства и т.д.).
4.48 Отключающие устройства, предусмотренные к установке на переходах через железные и автомобильные дороги, следует размещать:
- на тупиковых газопроводах - не далее 1000 м от перехода (по ходу газа);
- на кольцевых газопроводах - по обе стороны перехода на расстоянии не далее 1000 м от перехода.
4.49 Колодцы для размещения отключающих устройств на газопроводах предусматривают из несгораемых материалов (бетон, железобетон, кирпич, бутовый камень и т.д.).
Для защиты конструкций колодцев от возможного проникновения поверхностных или грунтовых вод необходимо предусматривать устройство гидроизоляции.
С целью обеспечения возможности спуска обслуживающего персонала в колодце предусматриваются металлические стремянки или скобы.
В местах прохода газопровода через стенки колодцев следует предусматривать футляры, выходящие не менее чем на 2 см за стенки. Диаметр футляра принимается исходя из условий обеспечения выполнения строительно-монтажных работ, в том числе его герметизация, и с учетом возможных смещений газопровода.
4.50 Для защиты от механических повреждений контрольных трубок, контактных выводов контрольно-измерительных пунктов, водоотводящих трубок конденсатосборников, гидрозатворов и арматуры следует предусматривать коверы, которые устанавливают на бетонные железобетонные подушки, располагаемые на основании, обеспечивающем их устойчивость.
4.51 При прокладке газопровода под проезжей частью дороги с усовершенствованным дорожным покрытием отметки крышек колодца и ковера должны соответствовать отметке дорожного покрытия, в местах отсутствия проезда транспорта и прохода людей - быть не менее чем на 0,5 м выше уровня земли.
При отсутствии усовершенствованного дорожного покрытия вокруг колодцев и коверов предусматривают устройство отмостки шириной не менее 0,7 м с уклоном 50 ‰, исключающим проникновение поверхностных вод в грунт близ колодца (ковера).
Диаметр контрольной трубки должен быть не менее 32 мм.
При выведении контрольной трубки выше уровня земли ее конец должен быть изогнут на 180°.
Варианты установки контрольных трубок приведены на рисунке 1.
а - над поверхностью земли; б - под ковер
Рисунок 1 - Установка контрольных трубок
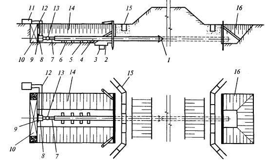
4.52 Для отбора проб из футляров предусматривают вытяжную свечу, изготовленную из стальных труб, с установкой на фундамент или иную опору.
Вариант установки вытяжной свечи приведен на рисунке 2.
4.53 Футляры для газопроводов следует предусматривать для защиты газопровода от внешних нагрузок, от повреждений в местах пересечения с подземными сооружениями и коммуникациями, а также для возможности ремонта и замены, обнаружения и отвода газа в случае утечки. Соединения составных частей футляра должны обеспечивать его герметичность и прямолинейность.
Футляры изготавливаются из материалов, отвечающих условиям прочности, долговечности и надежности (сталь, асбестоцемент, полиэтилен и т.д.). При этом в местах пересечения газопровода с каналами тепловых сетей, а также на переходах через железные дороги общей сети рекомендуется предусматривать металлические футляры.
1 - оголовник; 2 - вытяжная труба, 3 - отводная труба; 4 - фундамент
Рисунок 2 - Вытяжная свеча
Для газопровода, прокладываемого внутри футляра, можно предусматривать опоры (для стальных газопроводов - диэлектрические), которые должны обеспечивать сохранность газопровода и его изоляции при протаскивании плети в футляре. Шаг опор должен определяться расчетом в соответствии с разделом «Расчет газопроводов на прочность и устойчивость» (СП 42-102, СП 42-103).
Допускается размещение нескольких газопроводов внутри футляра при условии обеспечения свободного перемещения их относительно друг друга и сохранности их поверхности (изоляции), т.е. газопроводы не должны соприкасаться друг с другом.
Опоры могут быть скользящими, катковыми (роликовыми).
Катковые опоры рекомендуется применять при прокладке плети газопровода в футлярах длиной более 60 м.
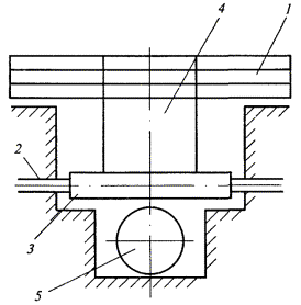
Вариант конструкции опор приведен на рисунке 3.
Диаметр футляра выбирается исходя из условий производства строительно-монтажных работ, а также возможных перемещений под нагрузкой и при прокладке его в особых условиях.
Концы футляра должны иметь уплотнение (манжету) (рисунок 4) из диэлектрического водонепроницаемого эластичного материала (пенополимерные материалы, пенополиуретан, битум, термоусадочные пленки, просмоленная пакля или прядь и т.д.).
1 - газопровод; 2 - опорно-направляющее кольцо; 3 - футляр; 4 - прокладочный материал
Рисунок 3 - Прокладка газопровода в футляре
1 - трубная плеть; 2 - защитный футляр; 3 - резиновая манжета; 4 - малый хомут; 5 - большой хомут
Рисунок 4 - Эластичное уплотнение на конце футляра
Конструкция уплотнений должна обеспечивать устойчивость от воздействия грунта и проникновения грунтовых вод, а также свободные перемещения газопровода в футляре от изменения давления и температуры без нарушения целостности.
Применение пенополиуретана (типа «Макрофлекс», «Пенофлекс») рекомендуется для полиэтиленовых газопроводов.
4.54 На участках с высоким уровнем грунтовых вод (пойменных, заболоченных), а также участках подводных переходов трассы следует предусматривать пригрузы для балластировки (предотвращения всплытия) газопроводов.
На русловых и морских участках подводных переходов рекомендуется применение кольцевых (чугунных, железобетонных и т.п.) пригрузов или сплошного покрытия (монолитное, армированное бетонное и т.п.), на пойменных, заболоченных участках, а также участках с высоким уровнем грунтовых вод - седловых, поясных, шарнирных, контейнерных пригрузов (чугунных, железобетонных, из нетканых синтетических материалов и т.п.), а также анкерных устройств.
Для предохранения изоляции стального газопровода или поверхности трубы полиэтиленового газопровода от повреждения под чугунными, железобетонными и т.п. пригрузами рекомендуется предусматривать защитное покрытие (футеровка деревянными рейками, резиновые, бризольные, гидроизольные и т.п. коврики и т.д.).
4.55 Опоры, эстакады, висячие, вантовые, шпренгельные переходы газопроводов должны выполняться из несгораемых конструкций.
4.56 Установку конденсатосборника рекомендуется предусматривать в характерных низших точках трассы, ниже зоны сезонного промерзания грунта с уклоном трассы газопровода к конденсатосборникам не менее 3 ‰.
Необходимость установки конденсатосборников должна оговариваться в технических условиях на проектирование газораспределительных систем.
Диаметр конденсатосборника, мм, рекомендуется определять по формуле (17)
где Qp - расчетный расход газа в газопроводе, м3/ч.
4.57 Компенсаторы на газопроводах устанавливают для снижения напряжений, возникающих в газопроводе в результате температурных, грунтовых и т.п. воздействий, а также удобства монтажа и демонтажа арматуры.
Установка сальниковых компенсаторов на газопроводах не допускается.
При проектировании и строительстве газопроводов следует использовать естественную самокомпенсацию труб за счет изменения направления трассы как в вертикальном, так и в горизонтальном направлении и установки в обоснованных случаях неподвижных опор.
4.58 Конструкцию защиты газопровода от механических повреждений в зависимости от грунтовых условий, сезона строительства, особенностей местности (наличия карьеров, обеспеченности транспортной сетью и т.п.) указывают в проекте.
4.59 На участках трассы, где газопровод прокладывают в скальных, полускальных и мерзлых грунтах, дно траншеи следует выравнивать, устраивая подсыпку из песчаного или глинистого грунта толщиной не менее 10 см над выступающими частями основания.
4.60 В качестве подстилающего слоя вместо сплошной подсыпки из указанных грунтов могут применяться различные эластичные изделия (например, резино-тканевые маты), рулонные материалы типа «скальный лист» или полотнища из геотекстильных материалов, сложенные в несколько слоев.
В этих случаях в рабочих чертежах должны быть указаны основные параметры подстилающих устройств, в частности их размеры.
4.61 Защиту от повреждений газопровода после его укладки обеспечивают, как правило, путем устройства присыпки из песчаного или глинистого грунтов на толщину не менее 20 см над верхней образующей трубы. Плюсовой допуск на толщину присыпки составляет 10 см; минусовой - равен нулю.
4.62 Грунт, используемый для создания постели и присыпки, не должен содержать мерзлые комья, щебень, гравий и другие включения размером более 50 мм в поперечнике.
4.63 Допускается в зимнее время применять для создания подсыпки и присыпки несмерзшийся грунт из отвала, разрабатывая и подавая его в траншею с помощью роторного траншеезасыпателя.
Возможно также для этих целей применять местный грунт (в частности, из отвала), если предварительно его просеять или подвергнуть сортировке с помощью грохота.
4.64 При формировании присыпки для исключения овализации труб диаметром более 500 мм желательно обеспечивать полное и плотное заполнение пазух между стенками траншеи и газопроводом. При необходимости для обеспечения этой цели следует применять трамбовку грунта, используя механические, электрические или пневматические трамбовки. В отдельных случаях можно проводить уплотнение грунта в пазухах за счет полива его водой.
4.65 На протяженных продольных уклонах во избежание выноса защитного слоя грунта потоками подземных вод необходимо устраивать поперек траншеи перемычки из слабодренирующих грунтов (например, глины).
4.66 Вместо присыпки из песчаного или глинистого грунтов в качестве средств механической защиты могут быть использованы рулонные материалы, обладающие высокими прочностными и защитными свойствами, в частности, эластичностью и долговечностью.
При использовании таких материалов пазухи между газопроводом и стенками траншеи заполняются (с послойным уплотнением) грунтом, не содержащим крупных обломочных включений.
4.67 Защита газопровода от повреждений в местах установки штучных балластирующих пригрузов или силовых поясов анкерных устройств должна производиться в соответствии с требованиями технических условий на применение указанных изделий.
4.68 Защиту изоляционного покрытия газопровода от механических повреждений можно также производить с применением пенополимерных материалов (ППМ), срок службы которых соответствует сроку службы газопровода.
Толщина слоя пенополимерного материала на дне траншеи при нанесении должна составлять 200 - 250 мм. После укладки на него газопровода ППМ уплотняется, и за счет этого толщина слоя уменьшается до 100 - 150 мм.
При формировании защитного слоя над уложенным газопроводом его толщина должна находиться в пределах 300 - 400 мм; под действием веса грунта засыпки эта величина уменьшается до 200 - 250 мм.
5.1 Для снижения давления газа и поддержания его на заданном уровне в системах газоснабжения должны предусматриваться газорегуляторные пункты (ГРП, ГРПБ, ШРП) или газорегуляторные установки (ГРУ).
5.2 По давлению газа ГРП, ГРПБ подразделяются на:
- с входным давлением до 0,6 МПа;
- с входным давлением св. 0,6 МПа до 1,2 МПа.
5.3 По давлению газа ШРП подразделяются на:
- с входным давлением газа до 0,3 МПа;
- с входным давлением газа св. 0,3 МПа до 0,6 МПа;
- с входным давлением газа св. 0,6 МПа до 1,2 МПа.
5.4 Отдельно стоящие ГРП, ГРПБ и ШРП размещают с учетом исключения их повреждения от наезда транспорта, стихийных бедствий, урагана и др. Рекомендуется в пределах охранной зоны ГРП, ГРПБ и ШРП устанавливать ограждения, например из металлической сетки, высотой 1,6 м.
5.5 При размещении отдельно стоящих, пристроенных и встроенных ГРП обеспечивают свободные подъездные пути с твердым покрытием для транспорта, в том числе аварийных и пожарных машин.
5.6 Для отдельно стоящих ГРП и ГРПБ, размещаемых вблизи зданий, особенно повышенной этажности, учитывают зону ветрового подпора при устройстве вентиляции.
5.7 Вентиляция помещений ГРУ должна соответствовать требованиям основного производства.
5.8 Размещение ШРП с входным давлением газа св. 0,6 до 1,2 МПа на наружных стенах здания не допускается.
ШРП с входным давлением газа до 0,6 МПа допускается устанавливать на наружных стенах газифицируемых производственных зданий не ниже III степени огнестойкости класса С0, зданий котельных, общественных и бытовых зданий производственного назначения, а также на наружных стенах действующих ГРП.
5.9 ГРУ размещают в свободных для доступа обслуживающего персонала местах с естественным и/или искусственным освещением. Основной проход между выступающими ограждениями и ГРУ должен быть не менее 1 м.
На промышленных предприятиях при наличии в них собственных газовых служб допускается подача газа одинакового давления от ГРУ, расположенного в одном здании, к другим отдельно стоящим зданиям.
При размещении ГРУ на площадках, расположенных выше уровня пола более 1,5 м, на площадку обеспечивают доступ с двух сторон по отдельным лестницам.
5.10 Оборудование, размещаемое в помещениях ГРП, должно быть доступно для ремонта и обслуживания, ширина основных проходов между оборудованием и другими предметами должна быть не менее 0,8 м, а между параллельными рядами оборудования - не менее 0,4 м.
5.11 В помещениях категории А полы должны быть безыскровыми, конструкции окон и дверей должны исключать образование искр.
Стены, разделяющие помещения ГРП, необходимо предусматривать противопожарными I типа, газонепроницаемыми, они должны опираться на фундамент. Швы сопряжения стен и фундаментов всех помещений ГРП перевязываются.
Вспомогательные помещения оборудуются самостоятельным выходом наружу из здания, не связанным с технологическим помещением.
Двери ГРП и ГРПБ предусматривают противопожарными и открывающимися наружу.
Устройство дымовых и вентиляционных каналов в разделяющих стенах, а также в стенах зданий, к которым пристраиваются ГРП (в пределах примыкания ГРП), не допускается.
Помещения, в которых расположены узлы редуцирования с регуляторами давления, отдельно стоящих, пристроенных и встроенных ГРП и ГРПБ должны отвечать требованиям СНиП 2.09.03 и СНиП 21-01 для помещений категории А.
5.12 При выносе из ГРП части оборудования наружу оно должно находиться в ограде ГРП высотой не менее 2 м.
5.13 Необходимость отопления помещений ГРП, ГРПБ и вид теплоносителя определяются в соответствии с требованиями СНиП 2.04.05 с учетом климатического исполнения и категорий применяемых изделий и оборудования по ГОСТ 15150.
При устройстве местного отопления ГРП и ГРПБ от газовых водонагревателей узел редуцирования на отопительную установку размещается в основном технологическом помещении.
5.14 При размещении в ГРП смежных с регуляторным залом помещений, где размещаются отопительные приборы, приборы КИП и др., отверстия для прохода коммуникаций из зала в смежные помещения при прокладке в них труб должны иметь уплотнения, исключающие возможность проникновения газовоздушной смеси из технологического помещения.
5.15 В состав оборудования ГРП, ГРУ, ГРПБ и ШРП входят:
- запорная арматура;
- регуляторы давления;
- предохранительно-запорные клапаны (далее - ПЗК);
- предохранительные сбросные клапаны (далее - ПСК);
- приборы замера расхода газа;
- приборы КИП.
5.16 Запорная арматура выбирается согласно требованиям раздела 7 «Запорная арматура» настоящего СП.
5.17 В качестве регулирующих устройств могут применяться:
- регуляторы давления газа с односедельным клапаном;
- клапаны регулирующие двухседельные;
- поворотные заслонки с электронным регулятором и исполнительным механизмом.
5.18 Для прекращения подачи газа к потребителям при недопустимом повышении или понижении давления газа за регулирующим устройством применяются ПЗК различных конструкций (рычажные, пружинные, с соляноидным приводом и др.), отвечающие приведенным ниже требованиям:
- ПЗК рассчитывают на входное рабочее давление, МПа, по ряду: 0,05; 0,3; 0,6; 1,2; 1,6 с диапазоном срабатывания при повышении давления, МПа, от 0,002 до 0,75, а также с диапазоном срабатывания при понижении давления, МПа, от 0,0003 до 0,03;
- конструкция ПЗК должна исключать самопроизвольное открытие запорного органа без вмешательства обслуживающего персонала;
- герметичность запорного органа ПЗК должна соответствовать классу «А» по ГОСТ 9544;
- точность срабатывания должна составлять, как правило, ±5 % заданных величин контролируемого давления для ПЗК, устанавливаемых в ГРП и ±10 % для ПЗК в ШРП и ГРУ.
5.19 Для сброса газа за регулятором в случае кратковременного повышения давления газа сверх установленного должны применяться предохранительные сбросные клапаны (ПСК), которые могут быть мембранными и пружинными.
5.20 Пружинные ПСК должны быть снабжены устройством для их принудительного открытия. ШРП пропускной способностью до 100 м3/ч, оснащенные регулятором с двухступенчатым регулированием, допускается не оснащать ПСК.
5.21 ПСК должны обеспечивать открытие при повышении установленного максимального рабочего давления не более чем на 15 %.
5.22 ПСК должны быть рассчитаны на входное рабочее давление, МПа, по ряду: от 0,001 до 1,6 с диапазоном срабатывания, МПа, от 0,001 до 1,6.
5.23 Трубопроводы, отводящие газ от ПСК в ШРП, устанавливаемые на опорах, следует выводить на высоту не менее 4 м от уровня земли, а при размещении ШРП на стене здания - на 1 м выше карниза или парапета здания.
5.24 Для ШРП пропускной способностью до 400 м3/ч допускается предусматривать вывод сбросного газопровода от ПСК за заднюю стенку шкафа.
5.25 При наличии телефонной связи установку телефонного аппарата предусматривают вне помещения регуляторов или снаружи здания в специальном ящике.
Допускается установка телефонного аппарата во взрывозащищенном исполнении непосредственно в помещении регуляторов.
5.26 Для очистки газа от механических примесей и пыли применяют фильтры заводского изготовления, в паспортах которых должны указываться их пропускная способность при различных входных рабочих давлениях и потери давления в фильтрах.
5.27 Фильтрующие материалы должны обеспечивать требуемую очистку газа, не образовывать с ним химических соединений и не разрушаться от постоянного воздействия газа.
5.28 Пропускную способность ГРП, ГРПБ, ШРП и ГРУ (регулятора давления) следует производить с увеличением на 15 - 20 % максимального расчетного расхода газа потребителями с учетом требуемого перепада давления.
5.29 Газовое оборудование в газорегулирующих блоках ГРП, ГРПБ и ГРУ располагают в следующей последовательности:
- общий запорный орган с ручным управлением для полного отключения ГРП и ГРУ;
- фильтр или группа фильтров с байпасами или без них;
- расходомер (камерная диафрагма с дифманометрами, газовый счетчик). Газовый счетчик может быть установлен после регулятора давления на низкой стороне в зависимости от принятой схемы газоснабжения;
- предохранительный запорный клапан (ПЗК);
- регулятор давления газа;
- предохранительный сбросной клапан (ПСК) после регулятора.
5.30 При устройстве байпаса газорегуляторного блока ГРП, ГРПБ, ШРП и ГРУ предусматривается установка последовательно двух отключающих устройств с установкой манометра между ними.
Диаметр байпаса должен быть не менее диаметра седла клапана регулятора давления газа.
В ШРП вместо байпаса рекомендуется устройство второй нитки редуцирования.
При отсутствии в ШРП расходомера установка регистрирующих приборов для измерения входного и выходного давления и температуры газа не обязательна.
Газопроводы ГРП, ГРПБ, ШРП, ГРУ следует окрашивать в цвет согласно ГОСТ 14202.
В ГРП, ГРПБ и ГРУ предусматривают продувочные газопроводы:
- на входном газопроводе - после первого отключающего устройства;
- на байпасе (обводном газопроводе) - между двумя отключающими устройствами;
- на участках газопровода - с оборудованием, отключаемым для производства профилактического осмотра и ремонта.
Условный диаметр таких газопроводов должен быть не менее 20 мм.
Условный диаметр сбросного газопровода, отводящего газ от ПСК, должен быть равен условному диаметру выходного патрубка клапана, но не менее 20 мм.
Продувочные и сбросные газопроводы должны иметь минимальное число поворотов. На концах продувочных и сбросных газопроводов предусматривают устройства, исключающие попадание атмосферных осадков в эти газопроводы.
5.31 При выборе оборудования ГРП, ГРПБ, ШРП и ГРУ необходимо учитывать:
- рабочее давление газа в газопроводе, к которому подключается объект;
- состав газа, его плотность, температуру точки росы, теплоту сжигания (Qн),
- потери давления на трение в газопроводе от места подключения до ввода его в ГРП или подвода к ГРУ;
- температурные условия эксплуатации оборудования и приборов КИП ГРП и ГРУ.
5.32 При подборе регулятора следует руководствоваться номенклатурой ряда регуляторов, выпускаемых промышленностью.
5.33 При определении пропускной способности регулятора необходимо определить располагаемое давление газа перед ним и после него с учетом потерь давления и дополнительных потерь давления в арматуре, фильтре, расходомере и ПЗК, установленных до регулятора давления.
5.34 Пропускная способность регуляторов с односедельным клапаном определяется согласно паспортным данным, а при их отсутствии может быть определена по формуле (18)
где Q - расход газа, м3/ч, при t = 0 °С и Ратм = 0,1033 МПа;
f - площадь седла клапана, см2;
L - коэффициент расхода;
Р1 - абсолютное входное давление газа, равно сумме Pизб и Ратм, где Ризб - рабочее избыточное давление, МПа, Ратм = 0,1033 МПа;
j - коэффициент, зависящий от отношения Р2 к Р1 где Р2 - абсолютное выходное давление после регулятора, равно сумме Р2 раб и Ратм, МПа, определяется по рисунку 5;
r0 - плотность газа, кг/м3, при t = 0 °С и Ратм = 0,1033 МПа.
К - показатель адиабаты газа при давлении 750 мм вод. ст. и температуре 0 °С, Ср - теплоемкость при постоянном давлении, ккал/(м3 × °С), Cn - теплоемкость при постоянном объеме, ккал/(м3 × °С)
Рисунок 5 - График определения коэффициента j в зависимости от Р2/Р1 при К = Cp/Cn = 1,32
Если в паспортных данных регулятора приведена величина расхода газа при максимальном давлении с соответствующей плотностью, то при других значениях Р - входного давления и r0 - плотности пропускная способность регулятора может быть определена по формуле (19)
где Q2 - расход газа, м3/ч, при t, °C, и Pбар = 0,1033 МПа со значениями Р11, j11 и r01, отличными от приведенных в паспорте на регулятор;
Q1 - расход газа при Р1 , j1, r0 согласно паспортным данным;
Р1 - входное абсолютное давление, Па;
j1 - коэффициент по отношению Р2/Р1;
r0 - плотность газа, кг/м3, при t = 0 °С и Ратм = 0,1033 МПа;
Р11, j11, и r01 - принятые данные при использовании других параметров газа.
5.35 Пропускная способность двухседельных регулирующих клапанов может быть определена по формуле (20)
где Q - расход газа, м3/ч, при температуре газа, равной t1 и Рбар = 0,1033 МПа;
В - коэффициент, учитывающий расширение среды и зависящий от отношения Р2/Р1;
Р1 и Р2 - входные и выходные давления, МПа;
Кnу - коэффициент пропускной способности;
DР - перепад давления на клапанах, DР = Р1 - Р2, МПа;
Р1 и Р2 - соответственно входные и выходные абсолютные давления, МПа;
r0 - плотность газа при t;
t1 - температура газа.

Рисунок 6 - Зависимость коэффициента В от Р2/Р1.
5.36 Пропускная способность фильтра должна определяться исходя из максимального допустимого перепада давления на его кассете, что должно быть отражено в паспорте на фильтр.
5.37 Фильтры, устанавливаемые в ГРП (ГРУ) для защиты регулирующих и предохранительных устройств от засорения механическими примесями, должны соответствовать данным, приведенным в таблице 10.
Таблица 10
|
Значение параметра |
|
|
Давление на входе (рабочее), МПа |
0,3 (3); 0,6 (6); 1,2 (12) |
|
Максимально допустимое падение давления на кассете фильтра, даПа: сетчатого |
500 (500) |
|
висцинового |
500 (500) |
|
волосяного |
1000 (1000) |
5.38 Выбор типа ПЗК определяется исходя из параметров газа, проходящего через регулятор давления, а именно: максимального давления газа на входе в регулятор; выходного давления газа из регулятора и подлежащего контролю; диаметра входного патрубка в регулятор.
5.39 Выбранный ПЗК должен обеспечивать герметичное закрытие подачи газа в регулятор в случае повышения или понижения давления за ним сверх установленных пределов.
5.40 Количество газа, подлежащего сбросу ПСК, следует определять:
- при наличии перед регулятором давления ПЗК - по формуле (21)
Q ³ 0,0005Qd, (21)
где Q - количество газа, подлежащее сбросу ПСК в течение часа, м3/ч, при t = 0 °С и Рбар = 0, 10132 МПа;
Qd - расчетная пропускная способность регулятора давления, м3/ч, при t = 0 °С и Рбар = 0,10132 МПа;
- при отсутствии перед регулятором давления ПЗК - по формулам (22) и (23);
- для регуляторов давления с золотниковыми клапанами
Q ³ 0,01Qd, (22)
- для регулирующих заслонок с электронными регуляторами
Q ³ 0,02Qd. (23)
При необходимости установки в ГРП (ГРУ) параллельно нескольких регуляторов давления количество газа, подлежащего сбросу ПСК, следует определять по формуле (24)
Q1 ³ Qn, (24)
где Q1 - необходимое суммарное количество газа, подлежащее сбросу ПСК в течение часа, м3/ч, при t = 0 °С и Рбар = 0,10132 МПа;
п - количество регуляторов, шт.;
Q - количество газа, подлежащее сбросу ПСК в течение часа каждым регулятором, м3/ч, при t = 0 °С и Р6ар = 0,10132 МПа.
5.41 Пропускную способность ПСК следует определять по данным заводов-изготовителей или расчетам.
5.42 При выборе типа ШРП следует руководствоваться указанием 5.28 - 5.32, а также учитывать следующие факторы:
- влияние климатической зоны, где будет эксплуатироваться ШРП;
- влияние отрицательных температур наружного воздуха;
- температуру точки росы природного газа, при которой из него выпадает конденсат.
6.1 Для внутренних газопроводов применяются стальные и медные трубы. Прокладка газопроводов из указанных труб должна предусматриваться согласно требованиям СНиП 42-01 с учетом положений настоящего СП и СП 42-102.
В качестве гибких рукавов рекомендуется применять сильфонные металлорукава, стойкие к воздействию транспортируемого газа при заданных давлении и температуре.
6.2 Гибкие рукава рекомендуется применять со сроком службы, установленным техническими условиями или стандартами, но не менее 12 лет. Импортные гибкие рукава должны иметь техническое свидетельство, подтверждающее их пригодность.
6.3 Гибкие рукава, используемые для присоединения бытового газоиспользующего оборудования, должны иметь маркировку «газ», внутренний диаметр - не менее 10 мм.
Гибкие рукава для присоединения бытовых приборов и лабораторных горелок КИП, баллонов СУГ не должны иметь стыковых соединений.
Не допускаются скрытая прокладка гибких рукавов, пересечение гибкими рукавами строительных конструкций, в том числе оконных и дверных проемов.
6.4 При подключении электрифицированного бытового газоиспользующего оборудования в помещениях, не отвечающих требованиям ГОСТ Р 50571.3 по устройству системы выравнивания потенциалов, на газопроводе следует предусматривать изолирующие вставки (после крана на спуске к оборудованию) для исключения протекания через газопровод токов утечки, замыкания на корпус и уравнительных токов. Роль изолирующих вставок могут выполнять токонепроводящие гибкие рукава.
6.5 Открытая прокладка газопроводов предусматривается на несгораемых опорах, креплениях к конструкциям зданий, каркасам и площадкам газоиспользующих установок, котлов и т.п.
Крепление газопроводов предусматривают на расстоянии, обеспечивающем возможность осмотра, ремонта газопровода и установленной на нем арматуры.
6.6 Расстояние от газопровода до строительных конструкций, технологического оборудования и коммуникаций следует принимать из условия обеспечения возможности его монтажа и их эксплуатации, до кабелей электроснабжения - в соответствии с ПУЭ.
Пересечение газопроводами вентиляционных решеток, оконных и дверных проемов не допускается.
6.7 При прокладке газопроводов через конструкции зданий и сооружений газопроводы следует заключать в футляр. Пространство между газопроводом и футляром на всю его длину необходимо заделывать просмоленной паклей, резиновыми втулками или другим эластичными материалами. Пространство между стеной и футляром следует тщательно заделывать цементным или бетонным раствором на всю толщину пересекаемой конструкции.
Края футляров должны быть на одном уровне с поверхностями пересекаемых конструкций стен и не менее чем на 50 мм выше поверхности пола.
Диаметр футляра должен уточняться расчетом, но кольцевой зазор между газопроводом и футляром должен быть не менее 10 мм, а для газопроводов условным диаметром до 32 мм - не менее 5 мм.
6.8 Не допускается прокладывать газопроводы в местах, где они могут омываться горячими продуктами сгорания или соприкасаться с нагретым или расплавленным металлом, а также в местах возможного разлива или разбрызгивания коррозионно-активных жидкостей.
Газопроводы необходимо защищать от воздействия открытого теплового излучения (изоляция, устройство экранов и т.д.).
6.9 В обоснованных случаях (при отсутствии возможности другой прокладки) допускается транзитная прокладка газопроводов в коридорах общественных, административных и бытовых зданий на высоте не менее 2 м при отсутствии разъемных соединений и арматуры.
6.10 Скрытая прокладка газопроводов предусматривается в соответствии со следующими требованиями:
а) в штрабе стены:
- размер штрабы принимается из условия обеспечения возможности монтажа, эксплуатации и ремонта газопроводов;
- вентиляционные отверстия в щитах, закрывающих штрабу, размещаются исходя из условия обеспечения ее полного проветривания;
б) в полах монолитной конструкции:
- толщина подстилающего слоя пола под газопроводом, а также расстояние от металлических сеток (или других конструкций, расположенных в полу) принимается не менее 5 см;
- толщина подстилающего слоя над газопроводом принимается не менее 3 см;
- газопровод замоноличивается в конструкцию пола цементным или бетонным раствором, марка которого определяется проектом;
- отсутствие воздействия на полы в местах прокладки газопровода нагрузок в соответствии с требованиями СНиП 2.03.13 (от транспорта, оборудования и т.п.) и агрессивных сред;
- газопроводы в местах входа и выхода из полов следует заключать в футляр, выходящий не менее чем на 5 см из пола и заанкерованный в конструкцию пола;
в) в каналах полов:
- конструкция каналов должна исключать возможность распространения газа в конструкции полов и обеспечивать возможность осмотра и ремонта газопроводов (каналы засыпаются песком и перекрываются съемными несгораемыми плитами);
- не допускаются прокладка газопроводов в местах, где по условиям производства возможно попадание в каналы агрессивных сред, а также пересечения газопроводов каналами других коммуникаций.
6.11 При прокладке газопроводов в штрабе предусматривают крепления его к конструкциям здания. Прокладка газопроводов в канале предусматривается на несгораемых опорах.
6.12 Защиту газопроводов от коррозии следует предусматривать в соответствии с требованиями СНиП 2.03.11 и СНиП 42-01.
6.13 На газопроводах производственных зданий (в том числе котельных), а также общественных и бытовых зданий производственного назначения предусматривают продувочные трубопроводы от наиболее удаленных от места ввода участков газопровода, а также от отводов к каждой газоиспользующей установке перед последним по ходу газа отключающим устройством.
Диаметр продувочного газопровода следует принимать не менее 20 мм.
Расстояние от концевых участков продувочных трубопроводов до заборных устройств приточной вентиляции должно быть не менее 3 м по вертикали.
После отключающего устройства на продувочном трубопроводе предусматривают штуцер с краном для отбора пробы, если для этого не может быть использован штуцер для присоединения запальника.
Допускается объединение продувочных трубопроводов от газопроводов с одинаковым давлением газа, за исключением продувочных трубопроводов для газов, имеющих плотность больше плотности воздуха.
При расположении здания вне зоны молниезащиты необходимо предусматривать молниезащиту продувочных трубопроводов в соответствии с требованиями РД 34.21.122.
6.14 На подводящих газопроводах к газоиспользующему оборудованию предусматривается установка отключающих устройств:
- к пищеварочным котлам, ресторанным плитам, отопительным печам и другому аналогичному оборудованию - последовательно два: одно для отключения прибора (оборудования в целом), другое - для отключения горелок;
- к оборудованию, у которого отключающее устройство перед горелками предусмотрено в конструкции, - одно.
6.15 Для отопления помещений без центрального отопления или, если центральная система не обеспечивает эффективного отопления, рекомендуется устанавливать, в том числе в жилых помещениях, отопительное газоиспользующее оборудование радиационного и конвективного действия (камины, калориферы, термоблоки, конвекторы и т.д.). Устанавливаемое оборудование должно быть заводского изготовления с отводом продуктов сгорания в атмосферу. Газогорелочные устройства данного оборудования должны быть оснащены автоматикой безопасности по отключению горелок при погасании пламени и нарушении тяги в дымоходе. Помещения для установки вышеуказанного оборудования должны иметь окно с форточкой (открывающейся фрамугой) или вытяжной вентиляционный канал. Для притока воздуха в помещение с вытяжным каналом следует предусматривать приточное устройство. Размер вытяжного канала и приточного устройства определяется расчетом.
При установке газоиспользующего оборудования конвективного действия в жилых помещениях забор воздуха на горение должен осуществляться снаружи помещения и отвод продуктов сгорания также через стену наружу или в дымоход.
6.16 Рекомендации по устройству дымовых и вентиляционных каналов приведены в приложении Г.
6.17 Помещения, предназначенные для установки газоиспользующего оборудования, должны отвечать требованиям СНиП 42-01 и других нормативных документов.
В помещении, где устанавливается отопительное газоиспользующее оборудование, в качестве легкосбрасываемых ограждающих конструкций допускается использование оконных проемов, остекление которых должно выполняться из условия: площадь отдельного стекла должна быть не менее 0,8 м2 при толщине стекла 3 мм, 1,0 м2 при - 4 мм и 1,5 м2 при - 5 мм.
6.18 Рекомендуется для помещений, предназначенных для установки отопительного газоиспользующего оборудования, соблюдать следующие условия:
- высота не менее 2,5 м (2 м - при мощности оборудования менее 60 кВт);
- естественная вентиляция из расчета: вытяжка - в объеме 3-кратного воздухообмена в час; приток - в объеме вытяжки и дополнительного количества воздуха на горение газа. Для оборудования мощностью св. 60 кВт размеры вытяжных и приточных устройств определяются расчетом;
- оконные проемы с площадью остекления из расчета 0,03 м2 на 1 м3 объема помещения и ограждающие от смежных помещений конструкции с пределом огнестойкости не менее REI 45 - при установке оборудования мощностью св. 60 кВт или размещении оборудования в подвальном этаже здания независимо от его мощности;
- выход непосредственно наружу - для помещений цокольных и подвальных этажей одноквартирных и блокированных жилых зданий при установке оборудования мощностью св. 150 кВт в соответствии с требованиями МДС 41-2.
6.19 В жилых зданиях рекомендуется установка бытовых газовых плит в помещениях кухонь, отвечающих требованиям инструкций заводов-изготовителей по монтажу газовых плит, в том числе и в кухнях с наклонными потолками, имеющих высоту помещения в средней части не менее 2 м, при этом установку плит следует предусматривать в той части кухни, где высота не менее 2,2 м.
6.20 Допускается установка газовых бытовых плит в летних кухнях или снаружи под навесом. При установке плиты под навесом горелки плиты должны защищаться от задувания ветром.
6.21 Допускается перевод на газовое топливо отопительного оборудования заводского изготовления, предназначенного для работы на твердом или жидком топливе. Газогорелочные устройства, устанавливаемые в оборудовании, должны соответствовать ГОСТ 21204 или ГОСТ 16569.
6.22 Расстояния от строительных конструкций помещений до бытовых газовых плит и отопительного газоиспользующего оборудования следует предусматривать в соответствии с паспортами или инструкциями по монтажу предприятий-изготовителей.
6.23 При отсутствии требований в паспортах или инструкциях заводов-изготовителей газоиспользующее оборудование устанавливают исходя из условия удобства монтажа, эксплуатации и ремонта, при этом рекомендуется предусматривать установку:
газовой плиты:
- у стены из несгораемых материалов на расстоянии не менее 6 см от стены (в том числе боковой стены). Допускается установка плиты у стен из трудносгораемых и сгораемых материалов, изолированных несгораемыми материалами (кровельной сталью по листу асбеста толщиной не менее 3 мм, штукатуркой и т.п.), на расстоянии не менее 7 см от стен. Изоляция стен предусматривается от пола и должна выступать за габариты плиты на 10 см с каждой стороны и не менее 80 см сверху;
настенного газоиспользующего оборудования для отопления и горячего водоснабжения:
- на стенах из несгораемых материалов на расстоянии не менее 2 см от стены (в том числе от боковой стены);
- на стенах из трудносгораемых и сгораемых материалов, изолированных несгораемыми материалами (кровельной сталью по листу асбеста толщиной не менее 3 мм, штукатуркой и т.д.), на расстоянии не менее 3 см от стены (в том числе от боковой стены).
Изоляция должна выступать за габариты корпуса оборудования на 10 см и 70 см сверху. Расстояние по горизонтали в свету от выступающих частей данного оборудования до бытовой плиты следует принимать не менее 10 см.
Оборудование для поквартирного отопления следует предусматривать на расстоянии не менее 10 см от стены из несгораемых материалов и от стен из трудносгораемых и горючих материалов.
Допускается установка данного оборудования у стен из трудносгораемых и сгораемых материалов без защиты на расстоянии более 25 см от стен.
При установке вышеуказанного оборудования на пол с деревянным покрытием последний должен быть изолирован несгораемыми материалами, обеспечивая предел огнестойкости конструкции не менее 0,75 ч. Изоляция пола должна выступать за габариты корпуса оборудования на 10 см.
6.24 Расстояние от выступающих частей газоиспользующего оборудования в местах прохода должно быть в свету не менее 1,0 м.
6.25 Газовые горелки, устанавливаемые в топках отопительных и отопительно-варочных печей, должны быть оснащены автоматикой безопасности по отключению горелок при погасании пламени и нарушении тяги в дымоходе (в соответствии с требованиями ГОСТ 16569).
Топки газифицируемых печей следует предусматривать, как правило, со стороны коридора или другого нежилого (неслужебного) помещения. Помещения, в которые выходят топки печей, должны иметь вытяжной вентиляционный канал, окно с форточкой (открывающейся фрамугой) и дверь, выходящую в нежилое помещение или тамбур. Перед печью должен быть предусмотрен проход шириной не менее 1 м.
В помещениях с печным газовым отоплением не допускается устройство вытяжной вентиляции с искусственным побуждением.
Топливники отопительных печей при переводе на газовое топливо следует футеровать тугоплавким и огнеупорным кирпичом.
6.26 Не допускается переводить на газ отопительно-варочные печи в помещениях, расположенных под спальными и групповыми комнатами детских учреждений, обеденными и торговыми залами кафе, столовых и ресторанов, больничными палатами, аудиториями, классами учебных заведений, фойе, зрительными залами зданий культурно-просветительных и зрелищных учреждений и других помещений с массовым пребыванием людей.
6.27 Допускается переводить на газовое топливо пищеварочные котлы и плиты, кипятильники и т.п., предназначенные для работы на твердом или жидком топливе. В пищеварочных плитах следует предусматривать замену съемных конфорочных колец сплошным настилом. Газогорелочные устройства, устанавливаемые в этом оборудовании, должны быть оснащены автоматикой безопасности по отключению горелок при погасании пламени и нарушении тяги в дымоходе.
6.28 Газоиспользующее оборудование для предприятий торговли, общественного питания и других аналогичных потребителей следует оснащать приборами автоматики безопасности, обеспечивающими отключение основных (рабочих) горелок в случае прекращения подачи газа, погасания пламени и прекращения подачи воздуха (для оборудования, оснащенного горелками с принудительной подачей воздуха). Для горелки или группы горелок, объединенных в блок, имеющих номинальную тепловую мощность менее 5,6 кВт, установка автоматики безопасности не обязательна.
6.29 Обвязка газовых горелок запорной арматурой и средствами автоматики безопасности должна отвечать требованиям ГОСТ 21204.
Для горелок котлов котельных с теплопроизводительностью единичного котлоагрегата 120 МВт и более перед каждой горелкой предусматривают два запорных устройства с электрическими приводами, а во вновь вводимых в эксплуатацию котельных - установку предохранительно-запорного клапана и запорного устройства с электроприводом.
Расстояние от выступающих частей газовых горелок или арматуры до стен или других частей здания, сооружения и оборудования должно быть не менее 1 м по горизонтали.
6.30 Газоиспользующее оборудование по комбинированной выработке электроэнергии и тепла размещают в изолируемом помещении с ограждающими конструкциями стен перекрытий не ниже II степени огнестойкости, с минимальными пределами огнестойкости 0,75 ч и пределом распространения огня по конструкциям, равным нулю.
Помещения установок по комбинированной выработке электроэнергии и тепла оборудуют:
- шумопоглощающими устройствами;
- постоянно действующей вентиляцией с механическим побуждением, сблокированной с автоматическим запорным органом, установленным непосредственно на вводе газопровода в помещение;
- системами по контролю загазованности и пожарной сигнализацией, сблокированной с автоматическим запорным органом на вводе в помещение, с выводом сигнала опасности на диспетчерский пульт.
При газоснабжении установок по комбинированной выработке электроэнергии и тепла обвязку отдельных двигателей предусматривают как для газовых горелок по ГОСТ 21204.
На газопроводах предусматривают систему продувочных трубопроводов.
6.31 Допускается размещение производственных газоиспользующих установок, а также газогорелочных устройств с обвязкой контрольно-измерительными приборами, арматурой, средствами автоматики, безопасности и регулирования на отметке ниже уровня пола первого этажа помещения (в техническом подполье), если это обусловлено технологическим процессом.
При этом автоматика безопасности должна прекращать подачу газа в случае прекращения энергоснабжения, нарушения вентиляции помещения, понижения или повышения давления газа сверх допустимого, понижения давления воздуха перед смесительными горелками.
Техническое подполье должно быть оборудовано системой контроля загазованности с автоматическим отключением подачи газа и должно быть открыто сверху. Допускается перекрывать подполье решетчатым настилом для обслуживания установки при условии полностью автоматизированного газового оборудования.
При размещении газоиспользующих установок с обвязкой в техническом подполье рекомендуется выполнить следующие требования:
- в техническом подполье следует предусматривать лестницу с поручнями, изготовленную из несгораемых материалов и устанавливаемую с уклоном не менее 45°;
- открытое сверху техническое подполье должно иметь защитное ограждение по периметру (перила), выполняемое по ГОСТ 12.4.059;
- для обслуживания газоиспользующих установок необходимо предусматривать свободные проходы шириной не менее 0,6 м, а перед газогорелочными устройствами - не менее 1,0 м. При полностью автоматизированном оборудовании ширина проходов принимается из расчета свободного доступа при техническом обслуживании.
Вентиляция технического подполья должна отвечать требованиям основного производства с учетом требований СНиП 2.04.05.
6.32 При переводе котлов на газовое топливо предусматривают устройство предохранительных взрывных клапанов на котлах и газоходах от них в соответствии с требованиями «Правил устройства и безопасной эксплуатации паровых котлов с давлением пара не более 0,07 МПа (0,7 кгс/см2), водогрейных котлов и водонагревателей с температурой нагрева воды не выше 388 К (115 °С)», утвержденных Минстроем России.
Для паровых котлов с давлением пара св. 0,07 МПа и водогрейных котлов с температурой воды выше 115 °С взрывные клапаны предусматривают в соответствии с требованиями ПБ 10-574 «Правил устройства и безопасной эксплуатации паровых и водогрейных котлов», утвержденных Госгортехнадзором России.
Для вновь устанавливаемых котлов необходимость устройства взрывных клапанов определяется конструкцией котла, а на газоходах - решается проектной организацией.
Необходимость установки взрывных клапанов на печах и других газоиспользующих установках (за исключением котлов) и газоходах, места установки взрывных клапанов и их число определяются нормами технологического проектирования, а при отсутствии указанных норм - решаются проектной организацией.
При невозможности установки взрывных клапанов в местах, безопасных для обслуживающего персонала, предусматривают защитные устройства на случай срабатывания клапана.
6.33 При наличии в котельной нескольких котлов, работающих с топкой под наддувом и подключенных к общей дымовой трубе, предусматривают контроль разрежения у основания дымовой трубы с выводом сигнала от датчика на автоматику безопасности всех котлов. При нарушении работы дымовой трубы по разрежению подача газа на горелки всех работающих котлов должна прекращаться автоматически.
6.34 Печи и другие газоиспользующие установки оборудуют автоматикой безопасности, обеспечивающей отключение подачи газа при отклонении заданных параметров от нормы.
6.35 Аварийное отключение подачи газа в системе автоматики безопасности может быть заменено сигнализацией об изменении контролируемых параметров, если технологический процесс не допускает перерывов в подаче газа.
6.36 Размещение КИП предусматривают у места регулирования измеряемого параметра или на специальном приборном щите.
На отводах к КИП предусматривают отключающие устройства.
При установке КИП на приборном щите допускается использование одного прибора с переключателем для измерения параметров в нескольких точках.
Присоединение КИП и приборов автоматики к газопроводам предусматривают с помощью металлических труб, если иного не предусмотрено требованиями паспорта на прибор или оборудование.
При давлении газа до 0,1 МПа допускается предусматривать присоединение КИП с помощью гибких рукавов длиной не более 3 м.
6.37 Для обеспечения стабильного давления газа перед газовыми горелками газоиспользующего оборудования и котлов производственных зданий и котельных рекомендуется установка на газовых сетях регуляторов-стабилизаторов.
При установке регуляторов-стабилизаторов наличия перед ними ПЗК, а после них ПСК не требуется.
6.38 Вентиляция производственных помещений и котельных должна соответствовать требованиям строительных норм и правил по размещенному в них производству.
6.39 Горелки инфракрасного излучения (ГИИ) должны соответствовать требованиям ГОСТ 25696 (ГИИ со светлыми излучателями), ГОСТ Р 50670 (ГИИ с темными излучателями) и требованиям технических условий на конкретный тип горелок в соответствии с областью их применения.
При использовании систем обогрева с ГИИ помимо положений настоящего документа следует руководствоваться требованиями ГОСТ 12.1.005, СНиП 2.04.05 и других нормативных документов.
6.40 ГИИ допускается применять для обогрева в соответствии с требованиями паспортов и инструкций заводов-изготовителей:
- рабочих мест и зон производственных помещений;
- рабочих мест и зон на открытых площадках (в том числе перронов, спортивных сооружений);
- помещений, конструкций зданий и сооружений и грунта в процессе строительства зданий и сооружений;
- общественных помещений с временным пребыванием людей:
а) торговых залов, кроме торговых залов и помещений для обработки и хранения материалов, содержащих легковоспламеняющиеся и взрывоопасные вещества;
б) помещений общественного питания, кроме ресторанов;
- животноводческих зданий и помещений;
- для технологического обогрева материалов и оборудования, кроме содержащих легковоспламеняющиеся и взрывоопасные вещества;
- в системах снеготаяния на открытых и полуоткрытых площадках, на кровлях зданий и сооружений.
6.41 Не допускается устанавливать ГИИ в производственных помещениях категорий А, Б, В1 по взрывопожарной и пожарной опасности, в зданиях категорий ниже III степени огнестойкости класса С0, а также в цокольных и подвальных помещениях.
6.42 Отопительные установки с ГИИ, предназначенные для отопления помещений без постоянного обслуживающего персонала, предусматривают с автоматикой, обеспечивающей прекращение подачи газа в случае погасания пламени горелки.
Необходимость оборудования автоматикой ГИИ, устанавливаемых вне помещений, определяется проектной организацией исходя из конкретных условий размещения и эксплуатации горелок (технологическое размещение ГИИ, розжиг горелок, установленных на высоте более 2,2 м, наличие обслуживающего персонала и др.).
6.43 Расстояние от ГИИ до ограждающих конструкций помещения из горючих и трудногорючих материалов (перекрытий, оконных и дверных коробок и т.п.) должно быть, как правило, не менее 0,5 м при температуре излучающей поверхности до 900 °С и не менее 1,25 м для температуры выше 900 °С при условии защиты или экранирования негорючими материалами (кровельной сталью по асбесту, асбестоцементным листом и т.п.).
Открытая электропроводка должна находиться на расстоянии не менее 1 м от ГИИ и поверхности облучения.
6.44 Расчет вентиляции помещений, где предусматривается установка ГИИ, следует выполнять, руководствуясь нормами предельно допустимых концентраций СО2 и NOх в воздухе рабочей зоны. Размещение вытяжных устройств следует предусматривать выше излучателей (горелок), а приточных устройств - вне зоны излучения горелок.
Системы обогрева с ГИИ должны быть сблокированы с системой местной или общеобменной вентиляции, исключая возможность пуска и работы системы обогрева при неработающей вентиляции.
6.45 Приборы (узлы) учета расхода газа рекомендуется устанавливать:
- в газифицируемом помещении;
- в нежилом помещении газифицируемого жилого здания, имеющем естественную вентиляцию;
- в смежном с газифицируемым помещением и соединенным с ним открытым проемом помещении производственного здания и котельной;
- в ГРП, ШРП, ГРПБ;
- вне здания.
6.46 В качестве приборов учета газа разрешается использовать бытовые газовые счетчики (далее - счетчики), размещение которых регламентируется данным подразделом.
6.47 Установка счетчиков предусматривается исходя из условий удобства их монтажа, обслуживания и ремонта. Высоту установки счетчиков, как правило, следует принимать 1,6 м от уровня пола помещения или земли.
6.48 С целью исключения коррозионного повреждения покрытия счетчика при его установке следует предусматривать зазор (2 - 5 см) между счетчиком и конструкцией здания (сооружения) или опоры.
6.49 Установку счетчика внутри помещения предусматривают вне зоны тепло- и влаговыделений (от плиты, раковины и т.п.) в естественно проветриваемых местах. Не рекомендуется устанавливать счетчики в застойных зонах помещения (участки помещения, отгороженные от вентиляционного канала или окна, ниши и т.п.).
Расстояние от мест установки счетчиков до газового оборудования принимают в соответствии с требованиями и рекомендациями предприятий-изготовителей, изложенными в паспортах счетчиков. При отсутствии в паспортах вышеуказанных требований размещение счетчиков следует предусматривать, как правило, на расстоянии (по радиусу) не менее:
- 0,8 м от бытовой газовой плиты и отопительного газоиспользующего оборудования (емкостного и проточного водонагревателя, котла, теплогенератора);
- 1,0 м от ресторанной плиты, варочного котла, отопительной и отопительно-варочной печи.
6.50 Наружная (вне здания) установка счетчика предусматривается под навесом, в шкафах или других конструкциях, обеспечивающих защиту счетчика от внешних воздействий. Разрешается открытая установка счетчика.
Размещение счетчика предусматривают:
- на отдельно стоящей опоре на территории потребителя газа;
- на стене газифицируемого здания на расстоянии по горизонтали не менее 0,5 м от дверных и оконных проемов.
Размещение счетчиков под проемами в стенах не рекомендуется.
6.51 Конструкция шкафа для размещения счетчика должна обеспечивать естественную вентиляцию. Дверцы шкафа должны иметь запоры.
7.1 При проектировании стальных и полиэтиленовых газопроводов рекомендуется предусматривать типы запорной арматуры, приведенные в таблице 11. Герметичность запорной арматуры должна соответствовать ГОСТ 9544.
Таблица 11
|
Область применения |
|
|
1. Краны конусные натяжные |
Наружные надземные и внутренние газопроводы природного газа и паровой фазы СУГ давлением до 0,005 МПа |
|
2. Краны конусные сальниковые |
Наружные и внутренние газопроводы природного газа давлением до 1,2 МПа, паровой и жидкой фазы СУГ давлением до 1,6 МПа |
|
3. Краны шаровые, задвижки, клапаны (вентили) |
Наружные и внутренние газопроводы природного газа давлением до 1,2 МПа, паровой и жидкой фазы СУГ давлением до 1,6 МПа |
На подземных газопроводах низкого давления, кроме прокладываемых в районах с сейсмичностью св. 7 баллов, на подрабатываемых и карстовых территориях в качестве запорных устройств допускается применять гидрозатворы.
7.2 Запорная арматура, устанавливаемая на наружных газопроводах в районах с очень холодным и холодным климатом (районы I1, и I2 по ГОСТ 16350), должна быть в климатическом исполнении 5 по ГОСТ 15150 УХЛ1, УХЛ2, ХЛ1, ХЛ2; на внутренних газопроводах в отапливаемых помещениях - У1, У2, У3, У5, УХЛ4, УХЛ5, ХЛ.
Запорная арматура, устанавливаемая в районах с умеренно холодным климатом (районы I1, и I2 по ГОСТ 16350) на наружных газопроводах и на внутренних газопроводах в неотапливаемых помещениях должна быть в климатическом исполнении по ГОСТ 15150 У1, У2, У3, УХЛ1, УХЛ2, УХЛ3.
7.3 Материал запорной арматуры, устанавливаемой на наружных газопроводах и на внутренних газопроводах в неотапливаемых помещениях, рекомендуется принимать с учетом температуры эксплуатации в зависимости от рабочего давления газа по таблице 12. За температуру эксплуатации принимается температура, до которой может охлаждаться газопровод при температуре наружного воздуха наиболее холодной пятидневки обеспеченностью 0,92 по СНиП 23-01.
На полиэтиленовых газопроводах преимущественно устанавливаются полиэтиленовые краны с выводом штока управления под ковер. Рабочее давление в полиэтиленовом кране не должно превышать допустимого давления, предусмотренного производителем для данной конструкции крана.
Таблица 12
|
Нормативный документ |
Давление в газопроводе, МПа |
Диаметр газопровода, мм |
Температура эксплуатации, °С |
Примечания |
|
|
Серый чугун |
Паровая фаза СУГ до 0,05, природный газ до 0,6 |
Без ограничения |
Не ниже минус 35 |
Не ниже минус 60 °С при диаметре до 100 мм и давлении до 0,005 МПа |
|
|
Ковкий чугун |
ГОСТ 1215, ГОСТ 28394 |
СУГ до 1,6, природный газ до 1,2 |
|||
|
Высокопрочный чугун |
ГОСТ 7293 |
||||
|
Углеродистая сталь |
ГОСТ 380, ГОСТ 1050 |
Не ниже минус 40 |
- |
||
|
Легированная сталь |
СУГ до 1,6, природный газ до 1,2 |
Без ограничения |
Не ниже минус 60 |
- |
|
|
Сплавы на основе меди |
ГОСТ17711, ГОСТ15527, ГОСТ 613 |
||||
|
Сплавы на основе алюминия * |
ГОСТ21488, ГОСТ 1583 |
До 100 |
|||
|
* Корпусные детали должны изготавливаться: - кованые и штампованные - из деформируемого сплава марки Д-16; - литые - гарантированного качества с механическими свойствами не ниже марки АК-7ч (АЛ-9) по ГОСТ 1583. |
|||||
7.4 В районах строительства с особыми грунтовыми условиями для подземных газопроводов всех давлений условным диаметром св. 80 мм рекомендуется предусматривать стальную арматуру. Для подземных газопроводов условным диаметром до 80 мм допускается применение запорной арматуры из ковкого чугуна.
Для подземных газопроводов давлением до 0,6 МПа, проектируемых для районов со среднепучинистыми, средненабухающими и I типа просадочности грунтами, допускается применять чугунную запорную арматуру, при этом арматуру из серого чугуна следует устанавливать с компенсирующим устройством, обеспечивающим вертикальное перемещение газопровода.
На подземных газопроводах, прокладываемых в районах с сейсмичностью 8 баллов и выше, следует применять только стальную запорную арматуру.
Полиэтиленовые краны на подземных газопроводах применяются вне зависимости от грунтовых условий.
7.5 Запорная арматура должна быть предназначена для природного (или сжиженного) газа и иметь соответствующую запись в паспорте.
При использовании запорной арматуры, предназначенной для жидких и газообразных нефтепродуктов, попутного нефтяного газа, а также для аммиака, пара и воды, уплотнительные материалы затвора и разъемов корпуса должны быть стойкими к транспортируемому газу (природному или СУГ).
7.6 Выбор рабочего давления запорной арматуры следует производить в соответствии с давлением газа в газопроводе в зависимости от величины нормативного условного давления арматуры по таблице 13.
Таблица 13
|
Условное давление запорной арматуры, МПа, по ГОСТ 356, не менее |
|
|
До 0,005 |
0,1 |
|
Св.0,005 до 0,3 |
0,4 |
|
» 0,3 » 0,6 |
0,6 (1,0 - для арматуры из серого чугуна) |
|
» 0,6 » 1,2 |
1,6 |
|
Для жидкой фазы СУГ св. 0,6 до 1,6 |
1,6 |
Для газопроводов обвязки надземных резервуаров СУГ и средств транспортировки СУГ (железнодорожные и автомобильные цистерны) условное давление запорной арматуры следует принимать не менее 2,5 МПа.
7.7 Запорная арматура в соответствии с ГОСТ 4666 должна иметь маркировку на корпусе и отличительную окраску. Маркировка должна содержать товарный знак завода-изготовителя, условное или рабочее давление, условный проход и указатель направления потока, если это необходимо. Окраска корпуса и крышки запорной арматуры должна соответствовать таблице 14. Полиэтиленовые краны не окрашиваются, их цвет зависит от цвета полиэтилена, из которого они изготовлены.
Таблица 14
|
Цвет окраски |
|
|
Чугун |
Черный |
|
Сталь углеродистая |
Серый |
|
Сталь коррозионностойкая (нержавеющая) |
Голубой |
|
Сталь легированная |
Синий |
|
Цветные металлы |
Не окрашивается |
7.8 Партия запорной арматуры, как правило, должна сопровождаться не менее чем двумя комплектами эксплуатационной документации, включающей в себя паспорт и техническое описание. Допускается объединение этих документов в один (паспорт). Для запорной арматуры с условным проходом св. 100 мм эксплуатационной документацией должно комплектоваться каждое изделие.
7.9 Паспорт на запорную арматуру должен соответствовать ГОСТ 2.601 и отражать, кроме того, следующие основные сведения:
- наименование и адрес завода-изготовителя;
- условное обозначение изделия;
- тип, марку, нормативный документ, по которому изготовлена арматура;
- номер и дату выдачи сертификата установленного образца;
- номер и дату выдачи лицензии Госгортехнадзора России на изготовление изделия;
- условный проход, условное и рабочее давление, вид привода, габариты и массу изделия;
- вид и температуру рабочей среды;
- класс герметичности в соответствии с ГОСТ 9544;
- материал основных деталей изделия и уплотнения.
7.10 Условное обозначение запорной арматуры должно соответствовать приложению Д.
7.11 Электропривод запорной арматуры выполняют во взрывозащищенном исполнении.
7.12 Для уплотнений фланцевых соединений применяют прокладки, стойкие к воздействию транспортируемого газа. Материалы для изготовления прокладок рекомендуется предусматривать по таблице 15.
Таблица 15
|
Толщина листа, мм |
Назначение |
|
|
1. Паронит по ГОСТ 481 (марка ПМБ) |
0,4 - 4,0 |
Для уплотнения соединений на газопроводах давлением до 1,6 МПа |
|
2. Резина маслобензостойкая по ГОСТ 7338 |
3 - 5 |
Для уплотнения соединений на газопроводах давлением до 0,6 МПа |
|
3. Алюминий по ГОСТ 21631 или ГОСТ 13726 |
1 - 4 |
Для уплотнения соединений на газопроводах всех давлений, в том числе транспортирующих сернистый газ |
|
4. Медь по ГОСТ 495 (марки M1, М2) |
1 - 4 |
Для уплотнения соединений на газопроводах всех давлений, кроме газопроводов, транспортирующих сернистый газ |
|
5. Пластмассы: полиэтилен высокой плотности (ВД) по ГОСТ 16338, низкой плотности (НД) по ГОСТ 16337, фторопласт-4 по ГОСТ 10007 |
1 - 4 |
Для уплотнения соединений на газопроводах давлением до 0,6 МПа |
|
Примечание. Прокладки из паронита должны соответствовать требованиям ГОСТ 15180. |
||
7.13 Технические характеристики выпускаемой отечественными заводами-изготовителями запорной арматуры и перечень заводов-изготовителей приведены соответственно в приложениях Е и Ж.
8.1 Требования настоящего раздела распространяются на проектирование систем газоснабжения СУГ от резервуарных и баллонных установок, а также на проектирование испарительных установок и установок по смешению СУГ с воздухом.
Для резервуарных установок следует применять стальные резервуары цилиндрической формы, устанавливаемые подземно или надземно.
В резервуарах следует предусматривать уклон не менее 2 ‰ в сторону сборника конденсата, воды и неиспарившихся остатков. При этом сборник конденсата не должен иметь выступов над нижней образующей резервуара, препятствующих полному сбору и удалению конденсата воды и неиспарившихся остатков.
Для надземной установки разрешается предусматривать как стационарные, так и транспортабельные (съемные) резервуары, наполняемые СУГ на ГНС.
8.2 Производительность резервуаров вместимостью 2,5 и 5 м3 при подземном расположении и естественном испарении следует определять по рисунку 7.
I - резервуар 5 м3, заполнение 85 %; II - резервуар 5 м3, заполнение 50 %; III - резервуар 5 м3, заполнение 35 % и резервуар 2,5 м3, заполнение 50 %; IV - резервуар 2,5 м3, заполнение 85 %; V - резервуар 2,5 м3, заполнение 35 %
Рисунок 7 - Номограмма для определения производительности резервуара сжиженного газа вместимостью 2,5 и 5 м3 (подземного)
Пример. Дано: давление газа - 0,04 МПа (0,4 кгс/см2); содержание пропана - 60 %; температура грунта - 270 К; теплопроводность грунта - 2,33 Вт/(м×К); заполнение 35 %.
Находим производительность резервуаров - 2 м3/ч по линии А-Б-В-Г-Д-Е-Ж (рисунок 7).
Примечание. Для резервуаров большей вместимости их производительность следует определять опытным путем.
8.3 Для учета теплового воздействия подземных резервуаров, расположенных на расстоянии не более 1 м один от другого, полученную по номограмме производительность следует умножить на коэффициент теплового воздействия т в зависимости от числа резервуаров в установке:
|
Число резервуаров в установке |
Значение коэффициента теплового воздействия т |
|
2 3 4 6 8 |
0,93 0,84 0,74 0,67 0,64 |
При числе резервуаров больше восьми значение коэффициента т определяется экстраполяцией.
8.4 Производительность резервуаров вместимостью 600, 1000, 1600 л при надземном расположении определяется теплотехническим расчетом исходя из условий теплообмена с воздухом или по таблице 16.
Таблица 16
|
600 л |
1000 л |
||||||||
|
Температура наружного воздуха, °С |
|||||||||
|
-30 |
-20 |
-10 |
0 |
10 |
20 |
-30 |
-20 |
-10 |
|
|
0 |
- |
- |
- |
- |
0,7 |
2,3 |
- |
- |
- |
|
10 |
- |
- |
- |
- |
1,4 |
3,0 |
- |
- |
- |
|
20 |
- |
- |
- |
0,3 |
2,0 |
3,7 |
- |
- |
- |
|
30 |
- |
- |
- |
1,1 |
2,7 |
4,3 |
- |
- |
- |
|
40 |
- |
- |
0,2 |
1,8 |
3,4 |
5,0 |
- |
- |
0,3 |
|
50 |
- |
- |
0,9 |
2,6 |
4,0 |
5,6 |
- |
- |
1,4 |
|
60 |
- |
- |
1,7 |
3,2 |
4,8 |
6,3 |
- |
- |
2,8 |
|
70 |
- |
0,7 |
2,4 |
4,0 |
5,4 |
7,0 |
- |
2,5 |
5,3 |
|
80 |
- |
1,5 |
3,3 |
4,7 |
6,1 |
7,6 |
- |
2,5 |
5,3 |
|
90 |
0,5 |
2,2 |
4,0 |
5,4 |
6,8 |
8,2 |
0,8 |
3,6 |
6,4 |
|
100 |
1,2 |
2,9 |
4,7 |
6,1 |
7,5 |
9,0 |
1,9 |
4,7 |
7,5 |
Окончание таблицы 16
|
Содержание пропана в сжиженных газах, % |
1000 л |
1600 л |
|||||||
|
Температура наружного воздуха, °С |
|||||||||
|
0 |
10 |
20 |
-30 |
-20 |
-10 |
0 |
10 |
20 |
|
|
0 |
- |
1,1 |
3,5 |
- |
- |
- |
- |
1,5 |
4,7 |
|
10 |
- |
2,3 |
4,7 |
- |
- |
- |
- |
3,0 |
6,4 |
|
20 |
0,5 |
3,4 |
5,9 |
- |
- |
- |
1,0 |
4,6 |
8,0 |
|
30 |
1,7 |
4,6 |
7,0 |
- |
- |
- |
2,8 |
6,3 |
9,3 |
|
40 |
2,8 |
5,6 |
8,2 |
- |
- |
0,4 |
4,3 |
7,8 |
11,4 |
|
50 |
4,0 |
6,8 |
9,3 |
- |
- |
1,9 |
5,9 |
9,4 |
13,2 |
|
60 |
5,0 |
8,0 |
10,6 |
- |
- |
3,8 |
7,5 |
11,1 |
14,8 |
|
70 |
7,3 |
10,2 |
13,0 |
- |
3,5 |
7,3 |
10,8 |
14,3 |
16,5 |
|
80 |
7,3 |
10,2 |
13,0 |
- |
3,5 |
7,3 |
10,8 |
14,3 |
18,2 |
|
90 |
8,6 |
11,5 |
14,2 |
1,1 |
5,0 |
8,9 |
12,4 |
15,8 |
19,8 |
|
100 |
9,6 |
12,5 |
15,1 |
2,7 |
6,6 |
10,4 |
14,0 |
17,5 |
21,8 |
|
Примечание. При температурах, отличающихся от приведенных в таблице 16, производительность следует определять экстраполяцией. |
|||||||||
8.5 Расчетный часовой расход сжиженных газов Qhd, кг/ч, при газоснабжении жилых зданий следует определять по формуле (25)
где п - число жителей, пользующихся газом, чел. При отсутствии данных п принимается по числу газифицируемых квартир и коэффициенту семейности, принятому по данным администрации газифицируемого района;
KJd - коэффициент суточной неравномерности потребления газа в течение года (при наличии в квартирах газовых плит KJd = 1,4; при наличии плит и проточных водонагревателей KJd = 2,0);
Qy - годовой расход газа на одного человека в тепловых единицах, кДж/год (ккал/год), принимается по ГОСТ 51617 (приложение А);
KJd - показатель часового максимума суточного расхода - 0,12;
Qe1 - теплота сгорания газа, кДж/год (ккал/год).
Расчетный часовой расход сжиженных газов для общественных, административных и производственных зданий определяется по тепловой мощности газоиспользующего оборудования.
8.6 На газопроводе паровой фазы, объединяющем подземные резервуары, предусматривают установку отключающего устройства между группами резервуаров на высоте не менее 0,5 м от земли. Арматуру и КИП резервуарных установок защищают от повреждений и атмосферных воздействий запирающимися кожухами.
8.7 Установку предохранительных сбросных клапанов (ПСК) предусматривают на каждом резервуаре, а при объединении резервуаров в группы (по жидкой и паровой фазам) - на одном из резервуаров каждой группы.
8.8 Пропускную способность ПСК следует определять расчетом в соответствии с ГОСТ 12.2.085.
8.9 Испарительные установки предусматривают в случаях, когда резервуарные установки с естественным испарением и резервуарные установки с грунтовыми испарителями не обеспечивают расчетную потребность в газе.
Испарительные установки необходимо оборудовать КИП, а также регулирующей и предохранительной арматурой, исключающей выход жидкой фазы из испарительной установки в газопровод паровой фазы и повышение давления паровой и жидкой фаз выше допустимого. Испарительные установки, для которых в качестве теплоносителя предусматривается горячая вода или водяной пар, должны быть оборудованы сигнализацией о недопустимом снижении температуры теплоносителя.
Температура паровой фазы не должна превышать температуру начала полимеризации непредельных углеводородов (70 °С) с отложением образовавшихся продуктов на поверхности испарителя, а жидкой фазы - минус 45 °С.
В элементах испарительной установки, включая регулятор давления, запорно-предохранительный клапан и трубопроводы, предусматривают мероприятия по предупреждению образования конденсата и кристаллогидратов.
8.10 Испарительные установки подразделяются на проточные, обеспечивающие получение паровой фазы постоянного состава в специальных теплообменных аппаратах (испарителях), и емкостные с испарением сжиженных газов непосредственно в расходных резервуарах с помощью специальных погружных нагревателей (регазификаторов).
Проточные и емкостные испарительные установки рекомендуется предусматривать с подземными резервуарами. Допускается использовать испарительные установки с надземными резервуарами при условии нанесения соответствующей тепловой изоляции на их наружную поверхность.
При испарении СУГ непосредственно в подземных резервуарах с помощью регазификаторов предусматривают систему автоматической защиты от снижения уровня жидкой фазы в резервуаре ниже минимально допустимой, а также от повышения температуры жидкой фазы в резервуаре по сравнению с температурой окружающего грунта сверх допустимой величины.
8.11 При использовании в испарительных установках электронагрева электрооборудование должно соответствовать требованиям ПУЭ в части взрывозащищенного исполнения. При этом система регулирования должна обеспечивать автоматическое включение электронагревателей после временных перебоев в подаче электроэнергии.
В электрических проточных испарительных установках с промежуточным теплоносителем (антифризом) должна предусматриваться система защиты от повышения температуры антифриза выше допустимого, предотвращения его вскипания и перегорания электронагревателей.
В районах особых грунтовых условий, а также в районах с сейсмичностью выше 6 баллов соединительную трубопроводную и электрическую обвязку рекомендуется устанавливать на крышках горловин подземных резервуаров с соблюдением соответствующих требований ПУЭ. Соединения подземных резервуаров с подземными распределительными газопроводами и линиями электропередачи в этих районах должны предусматривать компенсацию их взаимных, в том числе противоположно направленных, перемещений.
При использовании в испарительных установках в качестве теплоносителя горячей воды или пара из тепловых сетей следует предусматривать мероприятия (отстойники и т.д.), исключающие возможность попадания СУГ в тепловые сети.
8.12 Испарительные установки, для которых в качестве теплоносителя используются горячая вода или водяной пар, должны быть оборудованы сигнализацией о недопустимом снижении температуры теплоносителя.
Для испарителей, размещаемых вне помещений, следует предусматривать тепловую изоляцию корпуса и других элементов, теплопотери с наружных поверхностей которых могут нарушить их нормальный режим эксплуатации.
8.13 Испарительные установки в комплексе со смесительными установками (установки пропано-воздушной смеси) следует предусматривать в следующих случаях:
- при газоснабжении районов или объектов, которые в перспективе будут снабжаться природным газом;
- для покрытия пиковых нагрузок в сетях природного газа в периоды часового, суточного или сезонного максимума;
- в качестве резервного топлива для объектов и установок, требующих бесперебойного газоснабжения;
- при использовании в системах газоснабжения технического бутана.
8.14 Число квартир, которое целесообразно снабжать от одной резервуарной установки, допускается принимать при подаче паровой фазы СУГ по таблице 17.
Таблица 17
|
Оптимальная плотность газопотребления, кг/(ч×га) |
Число квартир в зависимости от типа испарителей газа |
||||
|
электрических |
водяных и паровых |
||||
|
оптимальное |
допустимое |
оптимальное |
допустимое |
||
|
При установке газовых плит |
|||||
|
2 |
1,65 |
735 |
513 - 1100 |
975 |
688 - 1563 |
|
3 |
2,15 |
1071 |
725 - 1700 |
1553 |
1068 - 2500 |
|
4 |
2,30 |
1189 |
775 - 2013 |
1765 |
1188 - 2813 |
|
5 |
2,60 |
1444 |
913 - 2475 |
2243 |
1563 - 3850 |
|
9 |
3,45 |
2138 |
1325 - 3825 |
3639 |
2238 - 5750 |
|
При установке газовых плит и проточных водонагревателей |
|||||
|
2 |
2,95 |
803 |
488 - 1338 |
956 |
588 - 1575 |
|
3 |
3,80 |
1355 |
788 - 2525 |
1580 |
975 - 2675 |
|
4 |
4,20 |
1570 |
900 - 2938 |
1818 |
1163 - 3200 |
|
5 |
4,60 |
2051 |
1075 - 4200 |
2349 |
1400 - 4225 |
8.15 Групповые баллонные установки размещают в запирающихся шкафах из негорючих материалов, при этом шкафы должны устанавливаться на опорах и иметь естественную вентиляцию.
8.16 Прокладку подземных газопроводов низкого давления от групповых баллонных и резервуарных установок с искусственным испарением газа следует предусматривать на глубине, где минимальная температура выше температуры конденсации газа.
8.17 Прокладку надземных газопроводов от групповых баллонных установок, размещаемых в отапливаемых помещениях, и от подземных резервуарных установок следует (при необходимости) предусматривать с тепловой изоляцией и обогревом газопроводов. Необходимость обогрева газопровода определяется проектной организацией. Тепловую изоляцию следует предусматривать из негорючих материалов.
8.18 Уклон газопроводов следует предусматривать не менее 5 ‰ в сторону конденсатосборников для подземных газопроводов. Вместимость конденсатосборников следует принимать не менее 4 л на 1 м3 расчетного часового расхода газа.
9.1 Раздел содержит положения по проектированию и реконструкции газонаполнительных станций (ГНС), газонаполнительных пунктов (ГНП), складов баллонов (СБ). Проектировать станции регазификации рекомендуется по нормам ГНС.
9.2 Территории ГНС, ГНП подразделяются на производственную и вспомогательную зоны, в пределах которых в зависимости от технологического процесса, транспортирования, хранения и поставки потребителям СУГ могут предусматриваться следующие основные здания, помещения и сооружения:
а) в производственной зоне:
- железнодорожный путь с эстакадой и сливными устройствами для слива СУГ из железнодорожных цистерн в резервуары базы хранения;
- база хранения с резервуарами для СУГ;
- насосно-компрессорное отделение;
- испарительное отделение;
- наполнительный цех;
- отделение технического освидетельствования баллонов;
- отделение окраски баллонов;
- колонки для наполнения автоцистерн, слива газа из автоцистерн при доставке газа на ГНС автомобильным транспортом, заправки газобаллонных автомобилей;
- теплообменные установки для подогрева газа;
- резервуары для слива из баллонов неиспарившегося газа и газа из переполненных и неисправных баллонов;
- прирельсовый склад баллонов и другие здания и сооружения, требуемые по технологии ГНС;
б) во вспомогательной зоне:
- цех вспомогательного назначения с размещением в нем административно-хозяйственных и бытовых помещений, лабораторий, насосной, механических мастерских по ремонту оборудования ГНС, баллонов и вентилей, аккумуляторной и других помещений;
- котельную (при невозможности подключения к существующим источникам теплоснабжения);
- трансформаторную подстанцию;
- резервуары для противопожарного запаса воды с насосной станцией;
- водонапорную башню;
- складские и другие помещения;
- очистные сооружения;
- мойку для автомобилей;
- здание для технического обслуживания автомобилей;
- пункт технического контроля;
- автовесы и другие здания и сооружения, связанные с функциональностью ГНС.
9.3 Во вспомогательной или производственной зоне допускается предусматривать:
- воздушную компрессорную;
- железнодорожные и автомобильные весы или заменяющие их весовые устройства.
9.4 В насосно-компрессорном и испарительном отделениях допускается предусматривать газорегуляторную установку для собственных нужд.
9.5 Подъездной железнодорожный путь к ГНС, как правило, не должен проходить через территорию других предприятий.
Допускается прохождение подъездного железнодорожного пути к ГНС через территорию не более одного предприятия (по согласованию с этим предприятием) с примыканием подъездного пути ГНС к существующей железнодорожной ветке предприятия.
9.6 Производственную и вспомогательную зоны и участок размещения автохозяйства следует разделять конструкциями облегченного типа из негорючих материалов, например металлической сеткой.
Территория ГНС и ГНП должна быть ограждена проветриваемой оградой из негорючих материалов.
9.7 На территории складов баллонов (СБ) в зависимости от технологического процесса могут размещаться:
- наполнительное отделение баллонов;
- резервуар (баллон) для слива неиспарившихся газов, переполненных и неисправных баллонов;
- отделение для пустых баллонов;
- административные и бытовые помещения.
9.8 Котельная и испарительное отделение предусматриваются при отсутствии централизованного теплоснабжения.
9.9 Территории СБ должны быть ограждены проветриваемой оградой облегченного типа, например, металлической сеткой.
9.10 Планировка территорий должна исключать возможность образования мест скопления сжиженных газов (застойных зон) и вместе с системой водостоков обеспечивать водоотвод и защиту территории от попадания извне талых и ливневых вод.
9.11 Планировку площадок и проектирование подъездных и внутриплощадочных дорог следует выполнять в соответствии с требованиями СНиП II-89, СНиП 2.05.02, СНиП 2.05.07, ГОСТ Р 12.3.048 с учетом рекомендаций настоящего Свода правил.
9.12 Участок железной дороги от места примыкания, включая территорию ГНС, следует относить к подъездной дороге V категории; подъездную автодорогу ГНС - к IV категории.
9.13 Железнодорожные пути ГНС в местах слива газа должны предусматриваться в виде горизонтальных или с уклоном не круче 2,5 % участков.
Для расцепки состава необходимо предусматривать дополнительный прямой участок пути со стороны тупика длиной не менее 20 м.
9.14 Территория ГНС, ГНП и СБ должна сообщаться с автомобильной дорогой общего назначения подъездной автодорогой IV категории.
Для резервуаров вместимостью свыше 500 м3 предусматривают два рассосредоточенных выезда: основной и запасной для аварийной эвакуации автотранспорта.
Присоединение запасного выезда к подъездной автодороге предусматривают на расстоянии не менее 40 м от основного выезда.
9.15 Автомобильные дороги для противопожарных проездов проектируются на две полосы движения для ГНС.
Автомобильные дороги на территориях предусматривают по IV категории.
Перед территорией рекомендуется предусматривать площадку для разворота и стоянки автомашин исходя из производительности объекта.
9.16 Между колонками для наполнения автоцистерн и заправки газобаллонных автомобилей предусматривают сквозной проезд шириной не менее 6 м.
На подъездах к колонкам необходимо предусматривать защиту от наезда автомобилей.
9.17 Для ГНС, размещаемых на территории промышленных предприятий, следует предусматривать один въезд на их территорию с разработкой регламента.
9.18 Проектирование зданий и сооружений должно выполняться в соответствии с требованиями СНиП 2.08.02, СНиП 2.09.03, СНиП 21-01, СНиП 42-01 и настоящих положений.
9.19 Насосно-компрессорное отделение размещают в отдельно стоящем здании, в котором, при необходимости, допускается предусматривать размещение испарительной (теплообменной) установки.
Допускается совмещение в отдельно выделенном помещении насосно-компрессорного отделения с наполнительным отделением (цехом), за исключением ГНС и ГНП.
9.20 В здании наполнительного отделения (цеха) предусматривают следующие основные помещения:
- наполнительное отделение с оборудованием для слива, наполнения, контроля герметичности и контроля заполнения баллонов;
- отделение дегазации баллонов (по назначению объекта);
- погрузочно-разгрузочную площадку для баллонов.
В помещении насосно-компрессорного и наполнительного отделений предусматривают порошковые огнетушители из расчета не менее 100 кг порошка при площади помещения до 200 м2 включительно и не менее 250 кг при площади помещения до 500 м2 включительно.
9.21 Отделение технического освидетельствования баллонов и отделение окраски баллонов могут размещаться в здании наполнительного отделения (цеха) или в отдельном здании, кроме ГНП, СБ.
9.22 Отделение окраски баллонов предусматривают сблокированным с отделением технического освидетельствования баллонов.
9.23 При реконструкции ГНС рекомендуется предусматривать размещение помещения для окраски баллонов в отдельном здании.
9.24 Для отделения технического освидетельствования баллонов предусматривают погрузочно-разгрузочную площадку для баллонов, поступающих на техническое освидетельствование.
Размеры площадки с учетом проходов и свободного проезда транспортных средств определяются из расчета обеспечения размещения баллонов в количестве двойной суточной производительности наполнительного отделения.
9.25 Площадку располагают на обособленном участке вне территории населенного пункта, преимущественно на возвышенном месте с подветренной стороны ветров преобладающего направления (по годовой «розе ветров») по отношению к жилым, общественным и производственным зданиям (сооружениям), а также к объектам с открытыми источниками пламени (котельные, факельные установки, печи и т.д.).
Территорию площадки следует планировать горизонтально с допустимым уклоном не более 2 %.
Дороги въезда - выезда и территория площадки должны иметь твердое покрытие из негорючих материалов.
Территория площадки, за исключением въездов и выездов, должна иметь ограждение, обозначающее площадь, закрытую для посещения посторонними лицами. Ограждение должно быть выполнено из негорючих материалов в виде продуваемых преград высотой от 0,5 до 0,7 м. Допускается предусматривать ограждение в виде шнура с красными флажками с фиксацией его посредством металлических штырей.
Для въезда на территорию площадки и выезда на дороги, открытые для общего пользования, предусматривают наличие ограничителей проезда (шлагбаумы, переносные барьеры или дорожные знаки и т.п.).
Площадка имеет две зоны:
- производственную, на которой осуществляется заправка бытовых баллонов;
- складскую, на которой осуществляется хранение бытовых баллонов (с момента разгрузки порожних баллонов и до момента их заполнения и погрузки на специальные транспортные средства для доставки потребителям).
Места расположения порожних и наполненных баллонов должны обозначаться соответствующими табличками.
В складской зоне баллоны устанавливаются в специальных устройствах (рамах), препятствующих падению и соударению баллонов друг с другом. Допускается горизонтальное размещение баллонов с СУГ для временного складирования в складской зоне площадки. При этом высота штабеля не должна превышать 1,5 м, а вентили баллонов должны быть обращены в одну сторону.
Над погрузочно-разгрузочной площадкой предусматривают навесы из негорючих материалов, а по периметру - сплошное решетчатое ограждение (при необходимости). Полы следует предусматривать с покрытиями из негорючих, не дающих искры материалов. Выбор материалов для изготовления полов и различных металлических конструкций следует производить в соответствии с приложением И.
При необходимости территория площадки может быть оборудована наружным освещением, обеспечивающим требуемую нормативными документами величину минимальной общей освещенности. Освещение выполняют с применением арматуры, соответствующей уровню взрывозащиты, определяемому по ПУЭ, или устанавливают вне взрывоопасных зон.
Предусматривать на площадке воздушные линии электропередачи не допускается.
При размещении площадки вблизи посадок сельскохозяйственных культур, по которым возможно распространение пламени, вдоль прилегающих к посадкам границ площадки должны предусматриваться наземное покрытие, выполненное из материалов, не распространяющих пламя по своей поверхности, или вспаханная полоса земли шириной не менее 5 м. На расстоянии ближе 20 м от площадки не допускается расположение кустарников и деревьев, выделяющих при цветении хлопья, волокнистые вещества или опушенные семена.
9.26 Число сливных устройств на железнодорожной эстакаде и сливных колонок определяют исходя из максимального суточного отпуска газа с ГНС с учетом неравномерности поступления газа в железнодорожных цистернах (коэффициент неравномерности принимают равным 2,0).
Для обслуживания сливных устройств необходимо предусматривать эстакады (колонки) из негорючих материалов с площадками для присоединения сливных устройств к цистернам (колонкам). В конце эстакады следует предусматривать лестницы шириной не менее 0,7 м, уклоном не более 45°. Лестницы, площадки эстакады должны иметь перила высотой 1 м со сплошной обшивкой понизу высотой не менее 90 мм.
9.27 На газопроводах для слива газа из железнодорожных цистерн в непосредственной близости от места соединения стационарных газопроводов ГНС со сливными устройствами транспортных средств предусматривают:
- на газопроводах жидкой фазы - обратный клапан;
- на газопроводах паровой фазы - скоростной клапан;
- до отключающего устройства - штуцер с запорным органом для удаления остатков газа в систему газопроводов или продувочную свечу (газопровод).
Допускается не предусматривать скоростной клапан при бесшланговом способе слива (налива) газа по металлическим газопроводам специальной конструкции при обеспечении безопасных условий слива (налива).
9.28 Для слива газа, поступающего на ГНС и ГНП в автоцистернах, следует предусматривать сливные колонки, обвязка которых должна обеспечивать соединение автоцистерны с газопроводами паровой и жидкой фаз резервуаров базы хранения через запорно-предохранительную арматуру аналогично сливным железнодорожным устройствам.
Колонки для заправки газобаллонных автомобилей следует оборудовать запорно-предохранительной арматурой и устройством для замера расхода газа.
9.29 Обвязку резервуаров, предназначенных для приема и хранения СУГ, предусматривают с учетом раздельного приема и хранения газа различных марок предусмотренных ГОСТ 20448.
9.30 Вместимость базы хранения СУТ на ГНС определяют в зависимости от суточной производительности станции (без пунктов), степени заполнения резервуаров и количества резервируемых для хранения СУГ на газонаполнительной станции. Количество резервируемого для хранения газа следует определять в зависимости от расчетного времени работы объекта без поступления газа t, сут, определяемого по формуле (26)
где L - расстояние от завода-поставщика сжиженных газов до объекта, км;
V - нормативная суточная скорость доставки грузов МПС повагонной отправки, км/сут (допускается 330 км/сут);
t1 - время, затрачиваемое на операции, связанные с отправлением и прибытием груза (принимается 1 сут);
t2 - время, которое следует предусматривать на эксплуатационный запас сжиженных газов на объекте (принимается в зависимости от местных условий в размере 3 - 5 сут). При соответствующем обосновании (ненадежность транспортных связей и др.) допускается увеличивать t2, но не более, чем до 10 сут.
9.31 При расположении объекта в непосредственной близости от предприятия, вырабатывающего сжиженные газы, транспортирование которых на объект осуществляется в автоцистернах или по трубопроводам, допускается сокращать запас газа до 2 сут.
При размещении ГНС на промышленном предприятии запас сжиженных газов следует определять в зависимости от принятого для промышленного предприятия норматива по хранению резервного топлива.
9.32 Надземные резервуары устанавливают с уклоном 2 - 3 % в сторону сливного патрубка.
Надземными считаются резервуары, у которых нижняя образующая находится на одном уровне или выше планировочной отметки прилегающей территории.
9.33 Надземные резервуары устанавливают на опоры из негорючих материалов (с пределами огнестойкости не менее 2 ч) с устройством стационарных металлических площадок с лестницами.
Площадки должны предусматриваться с двух сторон от арматуры, приборов и люков. К штуцеру для вентиляции следует предусматривать площадку с одной стороны.
При устройстве одной площадки для нескольких резервуаров лестницы следует предусматривать в концах площадки. При длине площадки более 60 м в средней ее части следует предусматривать дополнительную лестницу. Лестницы должны выводиться за обвалование.
9.34 Надземные резервуары защищают от нагрева солнечными лучами (например, окраска резервуаров в белый или серебристый цвет, водяное охлаждение).
9.35 Для подземного размещения базы хранения предусматривают только цилиндрические резервуары.
9.36 Подземные и наземные резервуары, засыпаемые грунтом, устанавливают на фундаменты из негорючих материалов.
Допускается устанавливать такие резервуары непосредственно на грунт при несущей способности грунта не менее 0,1 МПа.
Подземно расположенными резервуарами следует считать резервуары, у которых верхняя образующая резервуара находится ниже планировочной отметки земли не менее чем на 0,2 м.
К подземным резервуарам приравниваются надземные, засыпаемые грунтом на высоту не менее 0,2 м выше их верхней образующей и шириной не менее 6 м, считая от стенки резервуара до бровки насыпи, или защищенные иным негорючим материалом, обеспечивающим такую же теплоизоляцию от воздействия пожара. При этом следует обеспечить предотвращение образования пустот между резервуаром и защищающим его материалом в течение времени эксплуатации резервуара.
Засыпку резервуаров следует предусматривать песками или глинистым грунтом, не имеющим в своем составе органических примесей с дерном.
9.37 В местах с прогнозированным высоким стоянием грунтовых вод должны быть предусмотрены решения, исключающие всплытие резервуаров.
9.38 Резервуары следует защищать от коррозии:
- подземные - в соответствии с требованиями ГОСТ 9.602 и нормативно-технической документации, утвержденной в установленном порядке;
- надземные - покрытием, состоящим из двух слоев грунтовки и двух слоев краски, лака и эмали, предназначенной для наружных работ при расчетной температуре в районе строительства.
9.39 Соединение электродвигателей с насосами и компрессорами предусматривают муфтовым с диэлектрическими прокладками и шайбами.
9.40 Контроль степени наполнения баллонов предусматривают независимо от способа их наполнения путем взвешивания или другим методом, обеспечивающим не меньшую точность определения степени наполнения всех баллонов (100 %).
9.41 Испарители и теплообменники для подогрева СУГ (в дальнейшем - испарительные установки), размещаемые вне помещений, располагают на расстоянии не менее 10 м от резервуаров для хранения СУГ и не менее 1 м от стен здания насосно-компрессорного отделения или наполнительного цеха.
9.42 Испарительные установки производительностью до 200 кг/ч допускается размещать в насосно-компрессорном отделении или непосредственно на крышках горловин (на штуцерах) подземных и надземных резервуаров, а также в пределах базы хранения на расстоянии не менее 1 м от резервуаров.
9.43 Расстояние между испарителями принимают не менее диаметра испарителя, но не менее 1 м.
9.44 На вводе газопроводов в насосно-компрессорное и наполнительное отделения предусматривают снаружи здания отключающее устройство с электроприводом на расстоянии от здания не менее 5 м и не более 30 м.
9.45 Газопроводы жидкой и паровой фазы СУГ следует предусматривать из стальных труб в соответствии с требованиями СНиП 42-01 и СП 42-102.
9.46 Для присоединения сливных, наливных и заправочных устройств ГНС предусматривают резиновые и резинотканевые рукава, материал которых должен обеспечивать стойкость рукавов к транспортируемому газу при заданных давлении и температуре.
9.47 Прокладку газопроводов в производственной зоне ГНС и ГНП предусматривают надземной на опорах из негорючих материалов высотой не менее 0,5 м от уровня земли.
9.48 Допускается прокладка газопроводов по наружным стенам, кроме стен зданий III и ниже степени огнестойкости основных производственных зданий на расстоянии 0,5 м выше или ниже оконных проемов и на 0,5 м выше дверных проемов. В этих случаях размещать арматуру, фланцевые и резьбовые соединения над и под проемами не допускается.
9.49 Проходы газопроводов и других коммуникаций через стены, отделяющие помещения с взрывоопасными зонами класса В-1a от помещений невзрывоопасных зон, предусматривают в футлярах, уплотненных с двух сторон газонепроницаемым материалом.
9.50 Расчет пропускной способности газопроводов сжиженных газов производят в соответствии с разделом «Расчет диаметра газопровода и допустимых потерь давления» настоящего СП.
9.51 На участках надземных газопроводов жидкой фазы, ограниченных запорными устройствами, для защиты газопровода от повышения давления при нагреве солнечными лучами предусматривают установку предохранительного клапана, сброс газа которого осуществляется через свечу на высоту не менее 3 м от уровня газопровода.
9.52 В помещениях насосно-компрессорном, наполнения и слива, дегазации баллонов, окрасочном, а также в других помещениях категории А предусматривают установку сигнализаторов опасной концентрации газа в воздухе помещения.
9.53 Для подземных и надземных резервуаров СУГ предусматривают КИП и предохранительную арматуру в соответствии с ПБ 03-576.
9.54 Пропускная способность предохранительных клапанов (количества газа, подлежащего отводу через предохранительный клапан) для надземных резервуаров определяется из условий теплообмена между надземным резервуаром и окружающей средой в случае пожара при температуре окружающего воздуха 600 °С, а для подземных резервуаров принимается в размере 30 % расчетной пропускной способности, определенной для надземных резервуаров.
9.55 Отвод газа от предохранительных клапанов резервуаров предусматривают через сбросные газопроводы, которые должны быть выведены на высоту не менее 3 м от настила обслуживающей площадки надземных резервуаров или от поверхности засыпки подземных резервуаров. Допускается присоединение нескольких предохранительных клапанов к одному газопроводу.
На концах сбросных газопроводов предусматривают устройства, исключающие попадание атмосферных осадков в эти газопроводы и направление потока газа вниз.
На сбросных газопроводах от предохранительных клапанов установка отключающих устройств не допускается.
9.56 КИП, регулирующую, предохранительную и запорную арматуру подземных резервуаров устанавливают над засыпной частью и предусматривают защиту их от повреждений.
9.57 Система водоснабжения должна обеспечивать производственные и бытовые нужды, а также потребность в воде на тушение пожара.
Расход воды на пожаротушение для резервуаров сжиженных газов должен быть обеспечен в количестве, определенном СНиП 42-01.
9.58 При водоснабжении газовых объектов от артезианских скважин или открытых водоемов вода, идущая на бытовые нужды, должна хлорироваться и подвергаться бактериологическому анализу в сроки, установленные органами санитарного надзора.
9.59 В теплое (жаркое) время года рекомендуется проверять работу системы орошения резервуаров парка хранения сжиженных газов.
9.60 Задвижки водопровода, подающего воду в систему орошения резервуаров, располагаются в доступных местах на расстоянии не менее 25 м от резервуаров.
9.61 При проектировании канализации предусматривают производственно-ливневую, хозяйственно-фекальную канализации и повторное использование незагрязненных производственных стоков, а также загрязненных стоков после их локальной очистки.
9.62 Для улавливания жидкостей, не растворяющихся в воде, а также взвешенных частиц на производственно-ливневой канализации устанавливается специальный отстойник.
9.63 Вода после гидравлических испытаний или промывок резервуаров, автоцистерн и баллонов отводится в канализацию только через отстойник с гидрозатвором, исключающим возможность попадания сжиженных газов в канализацию.
9.64 Отвод поверхностных вод с территории базы хранения, станции и других объектов предусматривают за счет планировки территорий с выпуском воды через дождеприемник с гидрозатвором.
9.65 В производственных и вспомогательных зданиях и помещениях допускается устройство водяного, парового (низкого давления) или воздушного отопления.
9.66 Трубопроводы тепловых сетей предусматриваются надземными. Подземная бесканальная прокладка трубопроводов допускается на отдельных участках при невозможности осуществить надземную прокладку.
9.67 Прокладка трубопроводов системы отопления внутри производственных помещений категории А предусматривается открытой. Допускается прокладка трубопроводов отопления в штрабе пола, засыпанной песком.
9.68 Вентиляторы и электродвигатели вытяжных вентиляторов должны применяться только во взрывобезопасном исполнении.
Оборудование приточных систем вентиляции следует проектировать в соответствии с требованиями СНиП 2.04.05.
9.69 В помещениях, где располагается вытяжное вентиляционное оборудование (вентиляционные камеры), предусматривается вентиляция, обеспечивающая не менее однократного воздухообмена в 1 ч.
9.70 Системы вентиляции оборудуются устройствами для регулирования производительности.
9.71 Все шиберы на коробах вытяжной и приточной вентиляции выполняются из цветного металла.
9.72 Все воздуховоды выполняются из несгораемых материалов и подлежат заземлению. Мягкие вставки вентиляционных систем должны иметь металлические перемычки.
9.73 В помещениях категории А отверстия отсоса воздуха вытяжных вентиляционных систем закрывают сеткой, предотвращающей попадание в систему посторонних предметов.
9.74 В помещениях категории А устанавливают приборы, сигнализирующие об опасной концентрации газа в помещении.
9.75 Вентиляционная система блокируется с пусковыми устройствами технологического оборудования, причем блокировка должна обеспечивать возможность включения в работу оборудования не ранее, чем через 15 мин после начала работы вентиляторов, и исключать возможность работы оборудования при выключенной вентиляции.
Аварийная вентиляция должна быть сблокирована с газоанализаторами, установленными стационарно во взрывоопасных помещениях.
9.76 Выбор электрооборудования, электропроводок и кабельных линий для взрывоопасных зон производится в соответствии с требованиями «Правил устройства электроустановок» Министерства топлива и энергетики Российской Федерации.
9.77 Трансформаторные подстанции (ТП, КТП), питающие установки с сжиженными газами, сооружаются отдельно стоящими.
ТП, КТП, РУ, ПП, питающие электроустановки зданий и сооружений ГНС, ГНП и других объектов СУГ, проектируют в соответствии с требованиями ПУЭ.
Во взрывоопасных зонах класса В-1a применяют провода и кабели с медными жилами, в зонах класса В-1г допускается применять провода и кабели с медными жилами, а в зонах класса В-1г допускается применение проводов и кабелей с алюминиевыми жилами.
9.78 Во взрывоопасных зонах любого класса могут применяться провода и кабели с резиновой и поливинилхлоридной изоляцией.
Применение проводов и кабелей с полиэтиленовой изоляцией или оболочкой не допускается во взрывоопасных зонах всех классов.
9.79 Во взрывоопасных зонах любого класса могут применяться электрические машины при условии, что уровень их взрывозащиты или степень защиты оболочки соответствует ГОСТ 17494.
9.80 КИП и электрооборудование, размещаемое в категорийных объектах, должны быть во взрывозащищенном исполнении.
9.81 Во взрывоопасных зонах всех классов занулению (заземлению) подлежит электрооборудование переменного и постоянного тока, за исключением электрооборудования, установленного внутри зануленных (заземленных) корпусов шкафов и пультов.
9.82 Для зданий, сооружений, наружных технологических установок и коммуникаций в зависимости от класса взрывоопасных зон предусматривают молниезащиту в соответствии с требованиями РД 34.21.122.
9.83 Для ГНС и ГНП предусматривают внешнюю телефонную связь и диспетчерское оповещение через громкоговоритель на территории.
На ГНС также предусматривают внутреннюю связь.
На СБ предусматривается возможность выхода на внешнюю телефонную сеть.
10.1 Трассовые подготовительные работы включают:
- разбивку и закрепление пикетажа, геодезическую разбивку горизонтальных и вертикальных углов поворота, разметку строительной полосы;
- расчистку строительной полосы от леса и кустарника, корчевку пней; снятие и складирование в специально отведенных местах плодородного слоя земли;
- планировку строительной полосы, уборку валунов, устройство полок на косогорах;
- осушение строительной полосы, промораживание или защиту от промерзания (в зависимости от периода года), подготовку технологических проездов;
- устройство защитных ограждений, обеспечивающих безопасность производства работ, монтаж средств наружного освещения;
- проведение противоэрозионных мероприятий.
10.2 Осушение строительной полосы и площадок может осуществляться путем:
- устройства боковых, отводных, нагорных и дренажных канав;
- строительства водопропускных и водоотводных сооружений, которые служат для отвода поверхностных вод и понижения уровня грунтовых вод;
- строительства подземного дренажного трубопровода;
- устройства вертикальных иглофильтров. На участках с плывунными грунтами через каждые 50 - 60 м по створу будущей траншеи должны устраиваться водопонизительные колодцы глубиной по 3 - 4 м для откачки из них воды.
10.3 Планировку монтажной полосы для прохода строительной техники рекомендуется осуществлять, как правило, за счет устройства грунтовых насыпей из привозного грунта. Планировка микрорельефа со срезкой неровностей допускается только на полосе будущей траншеи. Зимой допускается планировка микрорельефа формированием уплотненного транспортными средствами снежного покрова.
10.4 Промораживание плохозамерзающих участков строительной полосы осуществляется проминкой растительного покрова гусеничной техникой с давлением на грунт не более 0,25 кгс/см2 и удалением оседающего на строительной полосе снежного покрова. При этом убираемый снег необходимо разравнивать. Снежные отвалы высотой более 1 м рекомендуется устраивать с откосом 1:6.
10.5 Расчистка трассы газопровода производится в границах строительной полосы, установленной проектом после получения заказчиком специального разрешения, - лесопорубочного билета (ордера).
10.6 При обнаружении в ходе земляных работ фрагментов древних зданий и сооружений, археологических древностей и других предметов, которые могут представлять исторический или научный интерес, работы следует приостановить и вызвать на место представителей НПЦ по охране памятников истории и культуры, управления культуры органов администрации.
10.7 При производстве работ, связанных с разработкой грунта на территории существующей застройки, строительная организация, производящая работы, обязана обеспечить проезд спецавтотранспорта и проход к домам путем устройства мостов, пешеходных мостиков с поручнями, трапов - по согласованию с владельцем территории.
10.8 Организация, выполняющая работы, должна обеспечивать уборку территории стройплощадки и пятиметровой прилегающей зоны. Бытовой и строительный мусор должен вывозиться своевременно в сроки и в порядке, установленные органом местного самоуправления.
10.9 Работы, связанные с разработкой грунта на улицах, тротуарах и дорогах, должны производиться с соблюдением следующих дополнительных правил.
Каждое место разрытия должно ограждаться защитными ограждениями установленного образца, а расположенное на транспортных и пешеходных путях, кроме того, оборудоваться красными габаритными фонарями, соответствующими временными дорожными знаками и информационными щитами с обозначениями направлений объезда и обхода, согласованными с ГИБДД.
10.10 Организационно-технологические решения должны быть ориентированы на максимальное сокращение неудобств, причиняемых строительными работами пользователям и населению. С этой целью коммуникации, прокладываемые вдоль улиц и дорог, должны выполняться и сдаваться под восстановление благоустройства участками длиной, как правило, не более одного квартала; восстановительные работы должны вестись в две-три смены; отходы асфальтобетона и другой строительный мусор должен вывозиться своевременно в сроки и в порядке, установленные органом местного самоуправления.
10.11 При необходимости складирования материалов и конструкций, а также устройства временного отвала грунта за пределами строительной площадки места для этого определяются стройгенпланом и подлежат согласованию с органами местного самоуправления. Лишний грунт, который не может быть использован на других объектах строительства, должен быть вывезен в постоянные отвалы, указанные в проектной документации, или заказчиком. По запросу заказчика территориальный орган по архитектуре и градостроительству муниципального образования обязан указать такое место.
10.12 Земляные работы при сооружении газопроводов должны производиться в соответствии с требованиями ГОСТ Р 12.3.048 и настоящего раздела.
10.13 Грунт, вынутый из траншеи и котлована, следует укладывать в отвал с одной стороны на расстоянии от бровки не ближе 0,5 м, оставляя другую сторону свободной для передвижения транспорта и производства монтажно-укладочных работ (рабочая полоса).
10.14 При прокладке газопроводов в поселениях под улицами или площадями следует применять преимущественно закрытые способы строительства с использованием установок наклонно-направленного бурения, продавливания или прокола.
10.15 При прокладке газопровода на разделительных полосах улиц используется открытый способ строительства; грунт по мере разработки траншеи сразу грузится на автосамосвал и вывозится для временного хранения. Если позволяет ширина разделительной полосы, то грунт может укладываться вдоль траншеи.
10.16 При строительстве газопровода вдоль действующего газопровода схема производства работ выбирается исходя из условия исключения наезда техники на действующий газопровод. Перед началом работ по оси действующего газопровода необходимо выставить через 10 м вешки с указанием глубины заложения газопровода.
10.17 Сроки выполнения работ на обрабатываемых землях и порядок проведения рекультивационных работ должны быть согласованы с землепользователем.
10.18 К моменту укладки газопровода дно траншеи должно быть очищено от веток, корней деревьев, камней, строительного мусора и выровнено в соответствии с проектом.
Если в траншее образовался лед или ее занесло снегом, перед укладкой газопровода траншею необходимо очистить.
10.19 Размеры и профили траншеи при строительстве газопроводов устанавливаются проектом.
10.20 При откосе траншей 1:0,5 и круче минимальную ширину траншеи можно принимать:
а) при соединении труб сваркой:
- для газопроводов диаметром до 0,7 м - D + 0,3 м, но не менее 0,7 м; диаметром св. 0,7 м - 1,5D
- при разработке траншеи экскаваторами непрерывного действия для газопроводов диаметром до 219 мм - D + 0,2 м;
- при укладке отдельными трубами для диаметров до 0,5 м - D + 0,5 м; от 0,5 до 1,2 м (включительно) - D + 0,8 м;
- на участках, балластируемых железобетонными грузами или анкерами, - 2,2D;
- на участках, пригружаемых неткаными синтетическими материалами или геотекстильными материалами, - 1,5D;
б) при соединении одиночных труб муфтами или фланцами:
- для газопроводов диаметром до 0,5 м - D + 0,8 м;
- то же, от 0,5 м до 1,2 м - D + 1,2 м.
10.21 При откосах положе 1:0,5 минимальная ширина траншеи принимается D + 0,5 м для укладки отдельными трубами и D + 0,3 м - для укладки плетями.
10.22 На участках кривых вставок ширина траншеи принимается не менее двукратной ширины траншеи на прямолинейных участках.
10.23 Если ширина ковша одноковшового экскаватора превышает приведенные ранее размеры, то ширина траншеи принимается:
- в песках и супесях - К + 0,15 м;
- в глинистых грунтах - К + 0,4 м;
- в скальных (разрыхленных) и мерзлых грунтах - К + 0,4 м,
где К - ширина ковша по режущим кромкам.
10.24 При разработке траншеи траншейными экскаваторами (роторным, цепным, фрезерным) ее ширина принимается равной ширине копания.
10.25 При бестраншейном трубозаглублении (длинномерных труб малых диаметров) ширина щели принимается равной ширине рабочего органа (щелереза).
10.26 Размеры приямков для заделки стыков в траншее для газопроводов всех диаметров должны быть следующими:
- для стальных труб - длина 1,0 м, ширина D + 2 м, глубина 0,7 м;
- для полиэтиленовых труб - длина 0,6 м, ширина D + 0,5 м, глубина 0,2 м.
10.27 Траншея и котлованы должны разрабатываться с откосами. Траншеи с вертикальными стенками без крепления разрешается разрабатывать в мерзлых и в грунтах естественной влажности с ненарушенной структурой при отсутствии грунтовых вод на следующую глубину, м:
- в насыпных песчаных и гравелистых грунтах - не более 1;
- в супесях - не более 1,25;
- в суглинках и глинах - не более 1,5.
Для рытья траншей и котлованов большей глубины необходимо устраивать откосы различного заложения в зависимости от состава грунта и его влажности в соответствии с требованиями СНиП III-42 и по таблице 18.
Таблица 18
|
Крутизна откоса (отношение его высоты к заложению) при глубине выемки, м, не более |
|||
|
1,5 |
3 |
5 |
|
|
Насыпные неуплотненные |
1:0,67 |
1:1 |
1:1,25 |
|
Песчаные и гравийные |
1:0,5 |
1:1 |
1:1 |
|
Супесь |
1:0,25 |
1:0,67 |
1:0,85 |
|
Суглинок |
1:0 |
1:0,5 |
1:0,75 |
|
Глина |
1:0 |
1:0,25 |
1:0,5 |
|
Лессы и лессовидные |
1:0 |
1:0,5 |
1:0,5 |
10.28 Крутизна откосов траншеи и котлованов, разрабатываемых на болотах, принимается в соответствии с требованиями ГОСТ Р 12.3.048 по таблице 19.
Таблица 19
|
Крутизна откосов на болотах типа I, II и III |
|||
|
Слаборазложившийся |
1:0,75 |
1:1 |
- |
|
Хорошо разложившийся |
1:1 |
1:1,25 |
По проекту |
В илистых и плывунных грунтах, не обеспечивающих сохранение откосов, траншеи и котлованы разрабатываются с креплением и водоотливом.
На дне котлована устраивается приямок для сбора и периодической откачки воды.
10.29 Наибольшая крутизна откосов траншеи и котлованов, устанавливаемых без крепления в грунтах, находящихся выше уровня поземных вод, следует принимать в соответствии с требованиями ГОСТ Р 12.3.048.
10.30 Крутизну откосов подводных траншей при ширине водной преграды более 30 м или глубине более 1,5 м (при среднем рабочем уровне воды) с учетом безопасных условий производства водолазных работ следует принимать по таблице 20.
Таблица 20
|
Крутизна откосов подводных траншей при глубине траншеи, м |
||
|
До 2,5 |
Более 2,5 |
|
|
Пески пылеватые и мелкие |
1:2,5 |
1:3 |
|
Пески средней крупности |
1:2 |
1:2,5 |
|
Пески неоднородного зернового состава |
1:1,8 |
1:23 |
|
Пески крупные |
1:1,5 |
1:1,8 |
|
Гравийные и галечниковые |
1:1 |
1:1,5 |
|
Супеси |
1:1,5 |
1:2 |
|
Суглинки |
1:1 |
1:1,5 |
|
Глины |
1:0,5 |
1:1 |
|
Предварительно разрыхленный скальный грунт |
1:0,5 |
1:1 |
|
Заторфованные и илы |
По проекту |
|
10.31 Наибольшую крутизну откосов обводненных береговых траншей рекомендуется принимать по таблице 21.
Таблица 21
|
Крутизна откосов обводненных береговых траншей при глубине траншеи, м |
||
|
До 2 |
Более 2 |
|
|
Пески мелкие |
1:1,5 |
1:2 |
|
Пески средней зернистости и крупные |
1:1,25 |
1:1,5 |
|
Суглинки |
1:0,67 |
1:1,25 |
|
Гравийные и галечниковые |
1:0,75 |
1:1 |
|
Глины |
1:0,5 |
1:0,75 |
|
Предварительно разрыхленный скальный грунт |
1:0,25 |
1:0,25 |
|
Примечание. Крутизна откосов дана с учетом грунтовых вод. |
||
10.32 Наибольшую высоту вертикальных стенок траншеи и котлованов в мерзлых грунтах, кроме сыпучемерзлых, при среднесуточной температуре воздуха ниже минус 2 °С допускается увеличивать по сравнению с величиной глубины промерзания грунта, но не более чем до 2 м.
10.33 Необходимость временного крепления стенок траншеи и котлованов устанавливается проектом в зависимости от глубины выемки, состояния грунта, гидрогеологических условий, величины и характера временных нагрузок на берме и других местных условий.
10.34 При невозможности применения инвентарных креплений стенок котлованов или траншей следует применять крепления, изготовленные по индивидуальным проектам, утвержденным в установленном порядке.
При установке креплений верхняя часть их должна выступать над бровкой выемки не менее чем на 15 см.
Устанавливать крепления необходимо в направлении сверху вниз по мере разработки выемки на глубину не более 0,5 м.
Разборку креплений следует производить в направлении снизу вверх по мере обратной засыпки выемки.
10.35 Разработка траншейными (роторным, цепным) экскаваторами в связных грунтах (суглинках, глинах) траншей с вертикальными стенками без крепления допускается на глубину не более 3 м. В местах, где требуется пребывание рабочих, должны устраиваться крепления траншей или откосов.
10.36 При производстве работ по разработке выемок состав контролируемых показателей, допустимые отклонения и методы контроля рекомендуются в соответствии с таблицей К.1 приложения К.
10.37 К началу работ по рытью траншеи и котлована должно быть получено письменное разрешение на право производства земляных работ в зоне расположения подземных коммуникаций, выданное организацией, ответственной за эксплуатацию этих коммуникаций.
10.38 Перед разработкой траншеи следует воспроизвести разбивку ее оси, а на вертикальных кривых через каждые 2 м геодезическим инструментом отметки, контролирующие проектную глубину прокладки газопровода (для диаметра св. 520 мм).
10.39 Разработку траншеи рекомендуется производить одноковшовым экскаватором:
- на участках с выраженной холмистой местностью (или сильно пересеченной), прерывающейся естественными преградами;
- в мягких грунтах с включением валунов;
- на участках повышенной влажности;
- в обводненных грунтах;
- при широких траншеях под многониточные газопроводы.
10.40 Разработку траншеи экскаваторами непрерывного действия рекомендуется производить на участках со спокойным рельефом местности, на отлогих возвышенностях, на участках с плотными, нескальными и мерзлыми грунтами крепостью до 400 ударов плотномера ДорНИИ. Траншея под газопровод диаметром 20 - 100 мм в глинистых и песчаных грунтах может разрабатываться плужным способом.
10.41 В мерзлых грунтах в зависимости от темпов строительства и объемов работ рекомендуются комбинированные способы разработки траншеи под отметку:
- поочередная работа по рыхлению с помощью гидромолотов на одноковшовых экскаваторах с последующей навеской ковша и выемкой грунта;
- послойная разработка с помощью рыхлителей на базах бульдозеров с последующей экскавацией одноковшовыми или непрерывного действия экскаваторами;
- нарезки щелей баровыми установками на бульдозерах с последующей экскавацией мерзлых блоков одноковшовыми экскаваторами.
10.42 Приямки под технологические захлесты и сооружения на газопроводах разрабатывают одновременно с рытьем траншеи, если позволяет устойчивость грунтов.
10.43 Разработку траншей одноковшовым экскаватором следует вести с устранением гребешков на дне в процессе копания, что достигается протаскиванием ковша по дну траншей в обратном копанию направлении после завершения разработки забоя.
10.44 На участках с высоким уровнем грунтовых вод разработку траншей следует начинать с более низких мест для обеспечения стока воды и осушения вышележащих участков.
10.45 Для районов с глубиной промерзания 0,4 м и более в ППР должны предусматриваться мероприятия по предохранению грунта от промерзания (рыхление поверхностного слоя, снежный валик, утепление древесными остатками и др.).
10.46 Технологический задел по рытью траншеи определяется ППР.
10.47 В зимнее время, когда слабые грунты проморожены недостаточно для прохода землеройных машин, траншею разрабатывают по технологии летнего строительства.
10.48 На участках с межболотными озерами при разработке траншеи в летнее время следует использовать понтоны и скреперные установки; в зимнее время при промерзании воды до дна озера разработку траншеи производят со льда. При непромерзании воды до дна устраивают майну и траншею разрабатывают экскаватором с понтона. Майну устраивают путем нарезки льда баровыми машинами. Лед удаляют одноковшовыми экскаваторами.
10.49 В скальных грунтах с полосы траншеи снимают вскрышной слой рыхлого минерального грунта на всю глубину до обнажения скального грунта при толщине вскрышного слоя более 0,2 м.
При меньшей толщине вскрышного слоя его можно не удалять.
Снятый грунт вскрыши укладывают на берме траншеи раздельно от скального и используют для подсыпки и присыпки газопровода.
Траншеи в скальных грунтах разрабатываются с предварительным рыхлением грунта механическим или взрывным способами.
10.50 По крутым продольным уклонам (св. 15°) планировка производится путем срезки грунта. Траншея должна быть выкопана не в насыпном грунте, а в материковом.
На участках с поперечным уклоном до 15° разработку выемок под полки рекомендуется производить поперечными проходами бульдозеров перпендикулярно к оси газопровода, если это позволяет условие прохождения газопровода.
10.51 На участках с поперечным уклоном более 15° для разработки разрыхленного или нескального грунта при устройстве полок рекомендуется применять одноковшовые экскаваторы, оборудованные прямой лопатой. Экскаватор разрабатывает грунт в пределах полувыемки и отсыпает его в насыпную часть полки. В процессе первоначальной разработки полки экскаватор необходимо якорить бульдозером. Окончательная доработка и планировка полки производится бульдозером.
10.52 Разработку траншей на продольных уклонах до 15°, если нет поперечных косогоров, следует выполнять одноковшовым экскаватором сверху вниз. Работа на продольных уклонах от 15° до 36° должна осуществляться с якорением экскаватора. Число якорей и метод их закрепления определяются расчетом.
10.53 Работа траншейных экскаваторов разрешается на продольных уклонах до 36° при движении их сверху вниз. При уклонах от 36° до 45° применяется якорение экскаватора. Работа бульдозера разрешается на продольных уклонах до 36°.
10.54 В зависимости от несущей способности болота разработку траншей осуществляют:
- на болотах с несущей способностью более 0,01 МПа - болотными одноковшовыми экскаваторами или обычными одноковшовыми экскаваторами, установленными на перекидных щитах или сланях;
- на болотах с несущей способностью менее 0,01 МПа - экскаваторами, установленными на понтонах или пеноволокушах.
При глубине торфяного слоя до 1 м с подстилающим основанием, имеющим высокую несущую способность, разработка траншеи осуществляется с предварительным удалением торфа бульдозером или экскаватором. При этом глубина траншеи должна быть на 0,15 - 0,2 м ниже проектной отметки. При использовании экскаватора для выторфовывания протяженность создаваемого фронта работ должна быть 40 - 50 м.
На болотах большой протяженности с низкой несущей способностью траншею следует разрабатывать зимой, после предварительного промораживания.
На участках с глубоким промерзанием болота работы должны выполняться с предварительным рыхлением мерзлого слоя.
10.55 При прокладке газопровода через межболотные озера шириной до 50 м и глубиной до 1 м траншеи разрабатывают одновременно с двух противоположных берегов одноковшовыми экскаваторами с дамбы, устанавливаемой с каждого берега пионерным способом. Дамба также используется для монтажа и укладки газопровода.
На озерах шириной более 50 м или глубиной более 2 м траншеи на дне этих водоемов разрабатывают одноковшовыми экскаваторами, установленными на понтонах. При этом понтоны якорятся.
10.56 Траншеи в песчаных грунтах с большими откосами разрабатываются бульдозерами, скреперами, одноковшовыми экскаваторами.
Неглубокие траншеи (до 1,2 м - в сыпучих грунтах и до 1,5 м - во влажных) допускается разрабатывать бульдозерами продольно-поперечным способом.
При устройстве глубоких траншей в сыпучих песках применяется комбинированный способ разработки грунта. Верхний слой грунта (глубиной до 1,0 м) разрабатывается бульдозерами, а остальная часть до проектной отметки - одноковшовыми экскаваторами.
10.57 При многониточной прокладке газопроводов в общей траншее широкие траншеи следует, как правило, разрабатывать бульдозерами продольно-поперечным способом.
10.58 Во влажных песках разработку траншеи следует, как правило, вести роторным экскаватором с откосниками или разрабатывать верхний слой бульдозерами с последующей доработкой траншеи одноковшовым или роторным экскаватором до проектной глубины.
10.59 Засыпку газопровода рекомендуется производить при температурах окружающего воздуха, близких к температуре его эксплуатации.
10.60 При засыпке газопровода необходимо обеспечить:
- сохранность труб и изоляции:
- плотное прилегание газопровода к дну траншеи;
- проектное положение газопровода.
При засыпке газопровода необходимо исключить подвижки.
Рекомендуемые предельные отклонения и методы контроля при засыпке траншей и котлованов приведены в таблице К.2 приложения К.
10.61 Засыпку траншей в непросадочных грунтах следует производить в три стадии:
- засыпка пазух немерзлым грунтом;
- присыпка на высоту 0,2 м над верхом трубы тем же грунтом с подбивкой пазух;
- окончательная засыпка после предварительного испытания с равномерным послойным уплотнением до проектной плотности с обеих сторон трубы.
Обратную засыпку (за исключением выполняемой в просадочных грунтах II типа) узких пазух, где невозможно обеспечить уплотнение грунта до требуемой плотности имеющимися средствами, рекомендуется выполнять малосжимаемыми (модуль деформации 20 МПа и более) грунтами (гравийно-галечниковыми и песчано-гравийными грунтами, песками крупными и средней крупности).
10.62 Засыпка газопровода диаметром более 500 мм производится с послойным уплотнением пазух траншеи во избежание овализации труб.
Уплотнение пазух производится гидравлическим одноковшовым экскаватором, специальными трамбовочными машинами или средствами малой механизации.
10.63 Обратную засыпку траншей, на которые не передаются дополнительные нагрузки (кроме собственного веса грунта), можно выполнять без уплотнения грунта, но, где это возможно, с отсыпкой по трассе траншеи валика, размеры которого следует определять с учетом последующей естественной осадки грунта. Наличие валика не должно препятствовать использованию территории в соответствии с ее назначением.
10.64 Траншеи и котлованы, кроме разрабатываемых в просадочных грунтах II типа, на участках пересечения с существующими дорогами и другими территориями, имеющими дорожные покрытия, засыпают на всю глубину песчаным грунтом или другими аналогичными малосжимаемыми (модуль деформаций 20 МПа и более) местными материалами, не обладающими цементирующими свойствами, с уплотнением. Допускается совместным решением заказчика, подрядчика и проектной организации использовать для обратных засыпок супеси и суглинки при условии обеспечения их уплотнения до проектной плотности.
10.65 Засыпку газопровода бульдозерами выполняют косопоперечными проходами с наращиванием отвала в траншее с целью исключения динамического воздействия падающих комьев грунта на газопровод.
10.66 На горизонтальных участках поворота газопроводов вначале засыпается участок поворота, а затем остальная часть. Засыпку участка поворота начинают с его середины, двигаясь поочередно к концам.
На участках с вертикальными поворотами газопровода (в оврагах, балках, на холмах и т.п.) засыпку следует производить сверху вниз.
10.67 Засыпка газопровода на протяженных продольных уклонах должна производиться бульдозером, который перемещается с грунтом сверху вниз под углом к траншее, а также может осуществляться траншеезасыпателем сверху вниз по склону с обязательным его якорением на уклонах крутизной свыше 15°.
10.68 Для предотвращения размыва грунта на крутых продольных уклонах (св. 15°) засыпка должна производиться после устройства перемычек в траншее.
10.69 Присыпку уложенного газопровода в мерзлых, скальных или полускальных грунтах осуществляют мелкогранулированным грунтом, как правило, из отвала специальной машиной, производящей рыхление и просеивание грунта. Допускается осуществлять присыпку газопровода разрыхленным грунтом из отвала роторным траншеезасыпателем или роторным экскаватором. При применении роторного экскаватора необходимо предварительно осуществить планировку отвала, а поток грунта с транспортера направлять на противоположную стенку траншеи, избегая прямого попадания грунта на уложенный газопровод.
10.70 При засыпке газопровода в зимнее время мерзлым грунтом поверх него должен устраиваться валик грунта с учетом последующей его осадки при оттаивании или последующей его отсыпки.
10.71 Способы засыпки газопровода в болотах I и II типов, выполняемой в летнее время, зависят от структуры болота. На болотах с несущей способностью более 0,01 МПа засыпку газопровода производят бульдозерами и экскаваторами на уширенных или болотных гусеницах или одноковшовыми экскаваторами, работающими с перекидных сланей, щитов и др.
Засыпка на болотах III типа производится экскаваторами, установленными на понтонах.
Засыпку траншей на болотах, промерзших в зимнее время и имеющих достаточную несущую способность, осуществляют так же, как при засыпке траншей в обычных мерзлых грунтах
При недостаточном промерзании болота и малой несущей способности для засыпки траншей используют бульдозеры и одноковшовые экскаваторы на уширенных или болотных гусеницах или экскаваторы на щитах, сланях и др.
При наземной (в насыпи) прокладке газопровода через болота I и II типов обваловка производится грунтом, забираемым из траншеи, разрабатываемой параллельно газопроводу, при этом траншея разрабатывается не ближе 5 м от газопровода. При отсутствии торфа для подсыпки и присыпки газопровода он доставляется из карьера, указанного в проекте.
10.72 Засыпку газопровода в песчаных грунтах необходимо осуществлять непосредственно вслед за изоляционно-укладочными работами.
10.73 Для подсыпки и присыпки газопровода, прокладываемого в многолетнемерзлых грунтах, применяется крупнозернистый песок, заготовка которого производится в течение летнего периода.
Заготовка грунта в карьерах производится без предварительного рыхления, путем снятия грунта бульдозером послойно по мере его естественного оттаивания и создания буртов для обезвоживания и высыхания.
Песок для подсыпки может заготавливаться со дна рек путем гидронамыва.
10.74 Насыпи для наземных газопроводов устраиваются из привозного грунта, добываемого в карьерах. Размеры насыпи указываются в проекте.
Насыпи следует отсыпать из однородных грунтов на всю их ширину во избежание образования внутри насыпи водяных линз и плоскостей скольжения.
Не допускается возводить и уплотнять насыпи при интенсивном выпадении осадков, а также возводить насыпь из грунта, включающего лед и снег.
10.75 В пучинистых, просадочных и набухающих грунтах дно траншей уплотняют с применением вибромеханических трамбовочных установок.
10.76 Подготовка химически закрепленного грунта производится для противоэрозионных перемычек в бетономешалках. При этом применяются только экологически чистые химические вещества, указанные в проекте.
10.77 Газопроводы могут укладываться в проектное положение методом бестраншейного заглубления с применением специальной машины - ножевого трубозаглубителя (рисунок 8).
1 - гусеничный тягач; 2 - режущий нож; 3 - щелезасыпщик; 4 - трубная плеть; 5 - роликоопоры
Рисунок 8 - Ножевой трубозаглубитель
Эффективность данного метода укладки может быть повышена путем создания предварительной прорези в грунте (пропорки) или проведения работ по его рыхлению.
Пропорку грунта осуществляют тракторным рыхлителем.
Плеть газопровода выкладывают по оси укладки, затем свободный ее конец с помощью трубоукладчика заводят на роликоопоры, после чего начинается движение трубозаглубителя, который прорезает в грунте щель, куда производится опуск плети. Завершающей операцией является подача на засыпку грунта с помощью грейдерных отвалов щелезасыпщика. Того объема грунта, который при создании щели выталкивается наружу режущим ножом, как правило, оказывается достаточно для ее полной засыпки.
10.78 При использовании данного метода на укладываемую плеть из стальных труб предварительно наносят изоляционное покрытие и проверяют его качество.
При работе на слабых грунтах трубозаглубитель работает без буксировки; на плотных - в сопровождении дополнительных тягачей.
Метод бестраншейного заглубления может быть применен также в случаях, когда трубы поставляются на трассы в бухтах (длинномерными отрезками). Для выполнения работ по укладке в этих условиях необходимо доукомплектовать трубозаглубитель кассетой, в которую помещают предназначенные для укладки бухты.
10.79 В работы по трубозаглублению входят следующие операции:
- отрывка котлована для первоначального заглубления рабочего органа трубозаглубителя;
- монтаж конической заглушки на конце трубной плети для ее заправки в кассету;
- заглубление рабочего органа;
- очистка рабочего органа от корней, комьев грунта и т.п.;
- укладка плети;
- отрывка котлована для выглубления рабочего органа.
10.80 Срезку крутых берегов для прохода трубозаглубителя на переходах с уклоном более 1:2 следует производить бульдозером в продольном направлении (по отношению к оси газопровода), при этом не допускается устраивать запруды и перемычки на оврагах, балках, ручьях срезанным грунтом. Переезды для трубозаглубителя, устроенные через ручьи, овраги и балки, следует после окончания строительных работ разобрать и произвести рекультивацию всех поврежденных площадей. На поливных землях после прохода трубозаглубителя следует немедленно восстанавливать поливные борозды.
10.81 Укладку длинномерных труб на переходах через естественные и искусственные препятствия можно осуществлять следующими способами:
- бестраншейным методом с использованием трубозаглубителя («сквозной проход»);
- непрерывной ниткой с укладкой трубозаглубителем в заранее отрытую через переход траншею.
10.82 При сооружении перехода бестраншейным способом с использованием трубозаглубителя следует:
- произвести шурфовку подземных коммуникаций под осью строящегося газопровода в точках пересечения для определения допустимого заглубления рабочего органа трубозаглубительной машины в тех случаях, когда сооружаемый газопровод пересекает существующие коммуникации «по верху»;
- верхние инженерные сооружения (дренажные или поливные лотки и т.п.) временно демонтировать, а насыпь срезать до уровня «черной» отметки земли.
10.83 Рекультивацию строительной полосы газопроводов осуществляют в соответствии с проектами на рекультивацию в процессе строительства газопроводов.
В проекте рекультивации земель должны быть определены:
- площади (по трассе газопровода - ширина полосы), на которых необходимо проведение технической и биологической рекультивации;
- глубина снимаемого плодородного слоя почвы;
- место расположения отвала для временного хранения плодородного слоя почвы;
- объем и способы вывозки лишнего минерального грунта после засыпки траншеи и котлованов.
10.84 Плодородный слой почвы должен быть, как правило, снят и перемещен в отвал хранения на одну или обе стороны от оси газопровода на расстояние, обеспечивающее раздельное размещение отвала минерального грунта, не допуская перемешивания его с плодородным слоем почвы.
10.85 На рекультивируемых землях засыпку газопровода производят с послойным уплотнением грунта и без устройства валика над газопроводом.
10.86 При сооружении временных дорог по сельхозугодиям плодородный слой почвы должен быть снят со всей полосы строительства с перемещением его в отвалы временного хранения.
10.87 Работы по снятию плодородного слоя почвы могут выполняться в любое время года, а работы по его возвращению - только в теплое время года.
10.88 При выполнении рекультивации на поливных землях следует восстанавливать поливные борозды, канавы и т.п.
10.89 При монтаже газопроводов должны быть приняты меры по предотвращению засорения полости труб, секций, плетей.
Укладывать газопроводы в траншею следует, преимущественно опуская с бермы траншеи плети (нитки).
После укладки газопровода в траншею должны быть проверены:
- проектная глубина, уклон и прилегание газопровода ко дну траншеи на всем его протяжении;
- состояние защитного покрытия газопровода;
- фактические расстояния между газопроводом и стенками траншеи, пересекаемыми им сооружениями и их соответствие проектным расстояниям.
Правильность укладки газопровода диаметром более 500 мм проверяют путем нивелировки уложенного газопровода и мест его пересечения с подземными сооружениями.
10.90 При вварке в газопровод фасонных частей, узлов, арматуры и прочих устройств обеспечивают соосность ввариваемых элементов с газопроводом. Перекосы в горизонтальной и вертикальной плоскостях не допускаются.
10.91 При надземной прокладке подъем и укладку плетей газопровода на опоры производят только после контроля качества сварных стыков.
10.92 Колодцы на газопроводах следует сооружать из несгораемых материалов: сборного или монолитного железобетона, монолитного бетона, обыкновенного керамического кирпича, камней, в редких случаях - из металла.
При строительстве колодцев из сборного железобетона под днищем устанавливают подготовку из песка или из тощего бетона.
Зазоры между днищем, стеновыми панелями и плитами перекрытия тщательно заделывают цементным раствором не ниже марки 400.
Крепление сборных элементов осуществляют с помощью сварки закладных металлических деталей.
Отверстия между футляром и газопроводом заделывают эластичным влагоустойчивым материалом, а отверстия за пределами футляра заделывают высокомарочным цементным или бетонным раствором.
Размер футляра и зазоры между ним и газопроводом принимают по проекту.
После монтажа элементов колодца выполняют засыпку пазух местным грунтом слоями толщиной 10 - 15 см с тщательным трамбованием в соответствии с ГОСТ Р 12.3.048 и устройство асфальтобетонной отмостки по периметру колодца, которая должна выступать за пределы котлована с каждой стороны не менее чем на 0,5 м и иметь уклон не менее 0,05.
Для защиты конструкций колодца от грунтовой воды и поверхностных вод наружные поверхности стен и перекрытий обмазывают горячим битумом по предварительной грунтовке раствором битума в бензине.
Перед нанесением битумного покрытия заделывают раковины в бетонных и железобетонных поверхностях стен колодцев, швы между сборными элементами, устраняют острые углы, срезают выступающие арматурные стержни, закладные детали для строповки, а в кирпичной кладке стены - затирают цементным раствором, поверхность должна быть сухой.
При высоком уровне грунтовых вод, агрессивности грунтовых вод и грунта по отношению к бетону следует выполнить дополнительные мероприятия, предусмотренные проектом (оклеечная гидроизоляция, использование сульфатостойкого цемента и т.д.).
10.93 Ковер устанавливают на опорную железобетонную подушку или перекрытие смотрового колодца.
Опорную железобетонную подушку устанавливают на грунтовое основание, утрамбованное щебнем.
Вокруг ковера устраивают асфальтовую или асфальтобетонную отмостку шириной 0,7 м с уклоном не менее 0,05.
10.94 Перед установкой контрольной трубки газопровод обваловывают слоем гравийно-песчаной подушки толщиной не менее 100 мм и закрывают металлическим кожухом из листовой стали толщиной 5 мм, к которому приваривают нюхательную трубку.
10.95 Конденсатосборник устанавливают ниже зоны промерзания на несущий грунт или утрамбованную песчаную подушку толщиной 10 - 15 см.
Конденсатоотводящую трубку устанавливают строго вертикально по отвесу.
10.96 Крепления опознавательных знаков заглубляют не менее чем на 1 м в грунт.
10.97 Строительство переходов через водные преграды шириной в межень более 30 м и глубиной более 1,5 м рекомендуется осуществлять с применением специальной техники.
Строительство переходов через водные преграды с глубинами до 1,5 м в межень, а также с глубинами более 1,5 м, но шириной не более 30 м осуществляют в общем потоке строительства.
10.98 На сооружение переходов через крупные водные преграды разрабатываются отдельные проекты производства работ (ППР), которые в дополнение к требованиям СНиП 3.01.01 должны содержать:
- календарный план выполнения подводных земляных работ, согласованный с соответствующими бассейновыми управлениями, органами охраны рыбных запасов, водных ресурсов и с другими организациями; в плане также должны быть указаны сроки рекультивации земель в пойме;
- устройство временных причалов при строительстве переходов на судоходных реках и водохранилищах (при необходимости);
- схемы разработки подводных и береговых траншей;
- способы укладки подводного газопровода.
Указанный в проекте организации строительства способ укладки подводного газопровода должен быть обоснован расчетом напряженного состояния газопровода при укладке.
10.99 До начала строительства заказчик (генподрядчик) передает по акту подрядной строительной организации створ подводного перехода, закрепленный геодезическими знаками, с необходимым числом реперов за пределами зоны производства земляных работ.
Строительная организация обеспечивает сохранность опорных геодезических знаков на время строительства и передает их заказчику после завершения строительства перехода.
В подготовительный период строительная организация осуществляет следующие мероприятия:
- проверку наличия основных реперов и установку временных реперов на период строительства перехода;
- выполняет контрольную нивелировку основных и привязку к ним временных реперов;
- выполняет нивелировку подводного участка трассы по створам подводных газопроводов;
- осуществляет проверку и разбивку углов поворота трассы;
- устанавливает временный водомерный пост с привязкой его к реперу.
10.100 При применении плавучих средств на строительстве подводных переходов необходимо руководствоваться «Правилами плавания по внутренним судоходным путям», «Правилами речного регистра» и «Правилами технической эксплуатации речного транспорта».
10.101 Буровзрывные работы при строительстве подводных переходов следует выполнять в соответствии с ПБ 13-407 «Единые правила безопасности при взрывных работах», утвержденными Госгортехнадзором России.
10.102 Строительство подводных переходов производится:
- открытым (траншейным) способом в соответствии с положениями настоящего раздела;
- закрытым (бестраншейным) способом наклонно-направленного бурения (ННБ).
10.103 Величина заглубления газопровода в дно реки или водоема, принимаемая в соответствии с требованиями СНиП 42-01, определяется от верха балластирующего устройства и указывается в проекте.
10.104 Для разработки подводной траншеи рекомендуется применять:
- одноковшовые экскаваторы, установленные на плавучих средствах;
- одноковшовые экскаваторы, перемещающиеся по льду;
- землечерпательные ковшовые снаряды;
- землесосные рефулерные снаряды;
- гидромониторные установки;
- канатно-скреперные установки и др.
10.105 Необходимость применения взрывных работ и методы взрыва устанавливаются проектом.
10.106 Места отвалов грунтов выбирают с учетом технологии разработки траншей, направления течения воды, судоходства и лесосплава.
10.107 При строительстве одновременно нескольких ниток газопроводов в общем коридоре разработку траншеи следует начинать с нижней по течению нитки газопровода.
10.108 Перед укладкой плети в подводную траншею должны быть сделаны промеры ее глубины по проектному створу (проверка отметок продольного профиля траншеи), а также составлен акт о готовности траншеи в соответствии с проектом продольного профиля трассы перехода.
10.109 Укладка трубных плетей в подводную траншею производится следующими способами:
- протаскиванием забалластированной плети по дну подводной траншеи;
- погружением плавающей на поплавках забалластированной плети на дно подводной траншеи;
- погружением плавающей плети путем залива полости водой с последующей ее балластировкой;
- опусканием плети в майну со льда.
10.110 Технологические параметры укладки (нагрузки на грузоподъемные средства, их расстановка вдоль газопровода, величина опуска) указываются в ППР исходя из допустимых строительных напряжений в стенке трубы и нагрузок.
При определении нагрузок учитываются масса трубы (с балластировкой или без балластировки), сила воздействия потока воды, грузоподъемность поплавков и их количество, усилия тяговых средств (при протаскивании).
10.111 Укладка способом протаскивания осуществляется при наличии пологих берегов, наличии площадки достаточных размеров для размещения протаскиваемой плети, достаточной прочности труб в следующей последовательности:
- установка тяговых средств;
- подготовка трубной плети к протаскиванию (приварка оголовка, навеска балластных грузов (при необходимости) и футеровка);
- установка спусковой дорожки (при необходимости);
- укладка плети в створ перехода (на спусковую дорожку);
- навеска поплавков (при необходимости);
- протяжка тяговых тросов;
- протаскивание всей плети или отдельных секций с их соединением в плеть;
- контроль положения уложенной плети в подводной траншее.
Поплавки навешиваются на плети больших диаметров для уменьшения веса труб (отрицательной плавучести) и после укладки подлежат отстроповке с помощью специальных устройств.
В качестве спускового пути может быть использована заполненная водой траншея, разработанная в пойменной части водоема.
В качестве тяговых средств используются лебедки или гусеничные тягачи, работающие в сцепе. Если тягачи не могут перемещаться в створе перехода, то используется заякоренный блок для изменения направления тягового троса. Если тяговых усилий тяговых средств недостаточно, то плеть на берегу приподнимают с помощью кранов-трубоукладчиков.
10.112 Укладка плети способом погружения плавающей на поплавках забалластированной плети осуществляется в следующей последовательности:
- подготовка трубной плети на берегу;
- навеска балластных грузов и поплавков;
- сплав плети с помощью кранов-трубоукладчиков;
- установка плети в створе перехода (якорение) с помощью плавсредств;
- погружение плети путем отстроповки поплавков;
- контроль положения плети в подводной траншее.
10.113 Укладка способом погружения плавающей плети путем залива полости водой с последующей балластировкой осуществляется в следующей последовательности:
- подготовка плети на берегу к сплаву;
- приварка вентилей на концах для залива воды и выпуска воздуха (на противоположном берегу);
- заполнение плети водой и ее погружение с одновременным выпуском воздуха через вентиль;
- окончательная балластировка плети;
- контроль положения плети;
- вытеснение воды сжатым воздухом (путем пропуска поршней);
- осушка полости плети.
10.114 Если водная преграда является судоходной, то по договоренности с судоходной компанией устанавливается перерыв в судоходстве на время укладки газопровода способом сплава.
Если из-за большой глубины водной преграды могут возникнуть недопустимые напряжения в стенках трубы при погружении, рекомендуется принять следующие меры:
- уменьшить начальную плавучесть плети за счет балластировки до требуемой расчетной величины;
- приложить продольное растягивающее усилие к укладываемой плети.
10.115 Технологический процесс укладки газопровода в майну со льда производится в следующей последовательности:
- проверка несущей способности льда по всей ширине водной преграды (при недостаточной несущей способности осуществляют искусственное наращивание толщины льда путем полива водой);
- выкладка трубной плети в створе перехода;
- балластировка трубной плети;
- разработка майны;
- опуск плети в майну грузоподъемными машинами или механизмами;
- контроль положения плети в подводной траншее.
10.116 Засыпка подводного газопровода производится после контрольных промеров положения газопровода и их сопоставления с проектными данными.
Засыпка подводной траншеи может выполняться рефулированием местного грунта земснарядами или землеройными машинами с плавучих средств.
10.117 При прокладке газопровода через водные преграды непосредственно по дну водоема в защитных футлярах применяются два способа производства:
- предварительная укладка футляра с последующим протаскиванием трубной плети;
- укладка на переходе уложенной в футляр на берегу плети.
10.118 Способ бестраншейной прокладки газопроводов рекомендуется к применению:
- при прокладке газопроводов через препятствия - реки, водоемы, овраги, автомобильные или железные дороги, улицы, парки, леса и т.д.;
- при прокладке газопроводов внутри жилых кварталов;
- при пересечении подземных коммуникаций;
- при необходимости прокладывать заглубленные газопроводы.
10.119 Применение данного способа при строительстве подводных переходов позволяет:
- прокладывать газопроводы ниже прогнозируемого уровня изменения русла;
- исключить выполнение дноуглубительных, подводных, водолазных и берегоукрепительных работ, которые составляют более 50 % стоимости строительства подводного перехода;
- снизить стоимость строительства подводного перехода;
- исключить необходимость балластировки газопровода;
- не нарушать рыболовный режим водоема;
- сохранить естественно-экологическое состояние водоема.
10.120 Прокладку газопроводов бестраншейным способом допускается выполнять в грунтах следующих классов по ГОСТ 25100:
- природных дисперсных, к которым относятся:
глинистые грунты: супеси, суглинки, глины;
песчаные грунты: крупный, средний, мелкий песок;
- техногенных дисперсных, к которым относятся отходы производственной и хозяйственной деятельности человека: шлаки, шламы, золы, золошламы.
Ограничением возможности применения способа наклонно-направленного бурения являются крупнообломочные грунты: гравийные, грунты с включениями валунов и гальки, а также песчаные и глинистые гравелистые грунты (содержание гравия более 30 %). Невозможна прокладка газопроводов в водонасыщенных грунтах (плывунах) (при коэффициенте текучести грунта IL > 1) из-за невозможности создать стабильный буровой канал. Затруднена прокладка газопроводов в рыхлых песках (при коэффициенте пористости е > 0,7) из-за сложности создания прочных стенок бурового канала.
10.121 При прокладке газопроводов в многолетнемерзлых грунтах необходимо предусмотреть технологические приемы, предупреждающие замерзание бурового раствора.
10.122 Инженерные изыскания для строительства газопровода бестраншейным способом включают комплексное и детальное изучение природных условий района строительства для получения необходимых, достаточных и достоверных материалов для проектирования и строительства перехода. Инженерные изыскания следует выполнять в соответствии с требованиями СНиП 11-02 с учетом дополнительных рекомендаций, изложенных в настоящем СП. В результате лабораторных исследований должны быть получены данные:
- о прочности грунта, его сопротивлении деформации и проницаемости;
- о гранулометрическом составе, плотности, удельном и объемном весе грунта;
- о пределах пластичности и текучести грунта;
- о коэффициентах трения режущего инструмента и материала трубы газопровода о сухой грунт, о влажный грунт, о грунт, смоченный буровым раствором;
- о пористости грунта.
Нормативные значения прочностных и деформационных характеристик грунтов принимают согласно СНиП 2.02.01.
10.123 Способ наклонно-направленного бурения позволяет прокладывать газопроводы из стальных и полиэтиленовых труб как по прямолинейной, так и по криволинейной трассе.
Минимально допустимые радиусы изгиба:
- для стальных газопроводов ³ 1200 dн;
- для газопроводов из полиэтиленовых труб ³ 25 dн, где dн - наружный диаметр газопровода.
10.124 Для газопроводов из полиэтиленовых труб следует применять трубы с SDR не более 11 по ГОСТ Р 50838. Для прокладки газопроводов диаметром до 160 мм включительно рекомендуется применять длинномерные трубы. При прокладке газопроводов сварку следует выполнять при помощи муфт с закладными нагревателями или встык нагретым инструментом согласно требованиям СП 42-103. Допускается использование импортных полиэтиленовых труб, разрешенных к применению в установленном порядке.
10.125 При строительстве стальных газопроводов способом наклонно-направленного бурения применяют изоляционные покрытия труб весьма усиленного типа, выполненные в заводских условиях в соответствии с ГОСТ 9.602 и состоящие из:
- адгезионного подслоя на основе сэвилена с адгезионно-активными добавками;
- слоя экструдированного полиэтилена:
для труб диаметром до 250 мм - толщина слоя не менее 2,5 мм, адгезия к стальной поверхности - не менее 35 Н/см, прочность при ударе - не менее 12,5 Дж, отсутствие пробоя при испытательном электрическом напряжении - не менее 12,5 кВ;
для труб диаметром до 500 мм - толщина слоя не менее 3,0 мм, адгезия к стальной поверхности - не менее 35 Н/см, прочность при ударе - не менее 15 Дж, отсутствие пробоя при испытательном электрическом напряжении - не менее 15,0 кВ;
для труб диаметром св. 500 мм - толщина слоя не менее 3,5 мм, адгезия к стальной поверхности - не менее 35 Н/см, прочность при ударе - не менее 17,5 Дж, отсутствие пробоя при испытательном электрическом напряжении - не менее 17,5 кВ.
Для изоляции стыковых сварных соединений в условиях трассы рекомендуется трехслойная изоляция (эпоксидная смола, твердоплавкий клеевой слой и армированный стекловолокном слой полиолефина) в виде термоусаживающихся манжет типа «Райхен», «Canusatube™», «Canusawrap™», «Wrapid Sleeve» и т.д., предназначенных для изоляции сварных стыков стальных газопроводов в полевых условиях.
Допускается изоляцию стыковых сварных соединений в условиях трассы выполнять:
- полимерными липкими лентами на основе поливинилхлорида, состоящими из слоев:
грунтовки битумно-полимерной типа ГТ-760ин или полимерной типа ГТП-831;
не менее трех слоев ленты поливинилхлоридной изоляционного типа ПВХ-БК, ПВХ-Л, ПВХ-СК общей толщиной не менее 1,2 мм;
не менее одного слоя защитной обертки типа ПЭКОМ или ПДБ, общей толщиной не менее 0,6 мм;
- полимерными липкими лентами на основе полиэтилена, состоящими из слоев:
грунтовки полимерной типа П-001;
не менее двух слоев ленты полиэтиленовой дублированной типа Полилен или НКПЭЛ общей толщиной не менее 1,2 мм;
не менее одного слоя защитной обертки на основе полиэтилена типа Полилен-0 толщиной не менее 0,6 мм.
Изоляционные покрытия липкими лентами должны отвечать следующим требованиям:
- прочность при разрыве при температуре 20 °С не менее 18,0 МПа;
- относительное удлинение при температуре 20 °С не менее 200 %;
- температура хрупкости не выше минус 60 °С;
- адгезия при температуре 20 °С к стали - не менее 20 Н/см, ленты к ленте - не менее 7 Н/см, обертки к ленте - не менее 5 Н/см.
10.126 При прокладке газопровода способом наклонно-направленного бурения применяются бурильные установки на пневмоколесном или гусеничном ходу, снабженные силовыми агрегатами, резервуарами и насосами для подачи бурового раствора, смонтированными непосредственно на установке или на специальных прицепах.
Кроме того, для прокладки трубопровода необходимы:
- набор буровых штанг;
- буровая головка для прокладки пилотной скважины с укрепленным на ней резцом (ножом);
- расширители различных типов для выполнения обратного расширения бурового канала;
- вертлюги и т.д.
Буровые штанги передают осевое усилие и крутящий момент от бурильной установки на буровую головку (расширитель). Внутренняя полость буровых штанг используется для подачи бурового раствора к зоне бурения, раствор служит для стабилизации стенок пилотной скважины (бурового канала), являясь своего рода смазкой, облегчающей разработку грунта и протаскивание труб с меньшими тяговыми усилиями. Разработанный грунт выносится буровым раствором в вырытые приямки.
10.127 Технология бестраншейной прокладки газопроводов включает:
- на первом этапе - бурение пилотной скважины вращающейся буровой головкой с закрепленным на ней резцом (рисунок 9, а);
- на втором этапе - расширение бурового канала вращающимся расширителем до нужного диаметра, таких предварительных расширений может быть несколько до сформирования бурового канала необходимого диаметра (рисунок 9, б);
- на третьем этапе - протаскивание газопровода по буровому каналу (рисунок 9, в).
При строительстве газопроводов незначительной длины (до 100 м) диаметром до 110 мм допускается протаскивание газопровода с одновременным расширением бурового канала.
Рисунок 9 - Технология прокладки газопровода через водную преграду методом ННБ
10.128 Обязательным условием бурения является применение бурового раствора. Буровой раствор представляет собой водную суспензию бентонита и химических добавок.
Основными функциями бурового раствора являются:
- охлаждение и смазка режущего инструмента и штанг;
- удаление грунта из буровой скважины;
- формирование прочных стенок пилотной скважины (бурового канала);
- создание избыточного давления внутри пилотной скважины (бурового канала) и тем самым предотвращение просачивания грунтовых вод в буровой раствор;
- стабилизация буровой скважины, предотвращающая ее обвал от давления окружающего грунта.
Состав бурового раствора выбирается в зависимости от типа грунтов; анализ грунтов для определения количественного и качественного состава бурового раствора, технология его приготовления и очистки, методики определения качества воды, бентонитовых порошков, химических добавок, следует выполнять согласно требованиям ведомственных норм.
10.129 Сваренный газопровод перед протаскиванием должен быть испытан на герметичность согласно требованиям проекта. После протаскивания газопровод должен быть повторно испытан на герметичность.
Перед протаскиванием стального газопровода по буровому каналу проверяют диэлектрическую сплошность изоляционного покрытия трубопровода искровым дефектоскопом на отсутствие пробоя при электрическом напряжении не менее 5 кВ на 1 мм толщины защитного покрытия.
10.130 После окончания протаскивания газопровода по буровому каналу выполняют контрольные измерения состояния изоляционного покрытия методом катодной поляризации с учетом следующих условий:
- трубопровод должен быть изолирован от всех токопроводящих объектов;
- неизолированные участки трубопровода не должны иметь контакта с землей;
- подключения к трубопроводу для электропитания и измерения потенциала должны быть всегда раздельны;
- во время проведения измерений любые другие работы возле трубопровода запрещаются.
Данные измерений следует сравнить с проектными. При обнаружении недопустимых отклонений следует уточнить местонахождение дефектного участка изоляции и принять меры по устранению дефекта.
Допускается использование импортных материалов в качестве защитных покрытий, разрешенных к применению в установленном порядке. Технология нанесения защитных покрытий на основе импортных материалов должна соответствовать требованиям фирм, выпускающих эти материалы.
10.131 Порядок проведения наклонно-направленного бурения (ННБ), а также методика расчета геометрических параметров скважины, усилий проходки и воздействий внешних нагрузок приводятся в приложении Л.
Примеры расчета параметров при строительстве газопровода методом даны ННБ даны в приложении М.
10.132 В проекте производства работ, как правило, должна быть разработана технологическая карта на монтаж трубной плети (с указанием мест технологических захлестов и последовательности их сборки и сварки).
10.133 Строительство переходов необходимо вести, как правило, без срезки грунта на строительной полосе (во избежание эрозии) с применением специальных способов производства работ (протаскивание плетей на крутых склонах, сварка одиночных труб в траншее, использование индивидуальных технологических схем, якорение машин и т.д.).
10.134 В местах пересечения траншеи с осушительными, нагорными, мелиоративными каналами (канавами) надлежит делать временные водопропуски с целью недопущения проникания воды в траншеи. После окончания работ каналы (канавы) необходимо восстановить.
10.135 Перед укладкой плети на переходе рекомендуется произвести контрольное нивелирование дна траншеи, а в случае необходимости дно траншеи доработать.
10.136 Монтаж плети на продольном уклоне во избежание ее сползания вниз по склону следует производить снизу вверх с подачей труб (секций) сверху вниз, чем облегчается процесс сборки стыков.
10.137 Монтаж технологических захлестов с целью минимизации остаточных напряжений производится после окончания балластировки и засыпки газопровода.
10.138 Организации, эксплуатирующие подземные коммуникации, должны до начала производства указанных работ обозначить на местности оси и границы этих коммуникаций хорошо заметными знаками.
Места пересечения, как правило, должны быть вскрыты шурфами (шириной, равной ширине траншеи, длиной по 2 м в каждую сторону от места пересечения) до проектных отметок дна траншеи и, при необходимости, раскреплены.
10.139 Разработка грунта экскаватором или другими землеройными машинами разрешается не ближе 2 м от боковой стенки и не ближе 1 м над верхом подземной коммуникации. Оставшийся грунт дорабатывается пневмовакуумными установками или вручную без применения ударов (ломом, киркой, лопатой, механизированным инструментом) и с принятием мер, исключающих повреждения коммуникаций при вскрытии. Мерзлый грунт должен быть предварительно отогрет.
10.140 При обнаружении действующих подземных коммуникаций и других сооружений, не обозначенных в имеющейся проектной документации, земляные работы приостанавливают, на место работы вызывают представителей организаций, эксплуатирующих эти сооружения, одновременно указанные места ограждаются и принимаются меры к предохранению обнаруженных подземных сооружений от повреждений.
10.141 Вскрытые электрические кабели и кабели связи защищают от механических повреждений и провисания с помощью футляров из полиэтиленовых или металлических труб, подвешиваемых к брусу (рисунок 10).
1 - деревянный брус; 2 - кабель; 3 - футляр; 4 - подвеска из скруток проволоки; 5 - прокладываемый газопровод
Рисунок 10 - Схема подвешивания инженерных коммуникаций при пересечении с газопроводом
Асбестоцементные и керамические трубы заключают в деревянные короба из досок толщиной 3 - 5 см и подвешивают. Концы бруса должны перекрывать траншею не менее чем на 0,5 м в каждую сторону.
При ширине разрабатываемой траншеи более 1 м в местах пересечения с водопроводом, газопроводом, теплопроводом (при бесканальной прокладке) необходимо в целях защиты этих трубопроводов от повреждения и провисания подвесить их к деревянному или металлическому брусу с помощью скруток из проволоки или стальных подвесок. При этом обеспечивают сохранность изоляции газопроводов, а в отношении водовода принимают меры против замораживания (при отрицательных температурах воздуха).
Во всех случаях тепловая изоляция защищается от увлажнения оберткой гидроизоляционными материалами. Толщина тепловой изоляции принимается в пределах 50 - 100 мм в зависимости от продолжительности вскрытия и температуры воздуха.
10.142 Укладка газопровода на переходе через подземные коммуникации производится продольным перемещением секции (трубы) в траншее под коммуникациями или соединением одиночных труб в нитку непосредственно на дне траншеи.
10.143 На участке пересечения траншей, кроме разрабатываемых в просадочных грунтах, с действующими подземными коммуникациями (газопроводами, кабелями и др.), проходящими в пределах глубины траншей, должна быть выполнена подсыпка под действующие коммуникации немерзлым песком или другим малосжимаемым (модуль деформаций 20 МПа и более) грунтом по всему поперечному сечению траншеи на высоту до половины диаметра пересекаемого трубопровода (кабеля) или его защитной оболочки с послойным уплотнением грунта. Размер подсыпки по верху должен быть, как правило, на 1 м больше диаметра пересекаемой коммуникации.
10.144 В местах пересечения газопроводом подземных осушительных систем (например, из керамических труб) они временно демонтируются и восстанавливаются после прокладки газопровода.
10.145 Открытый (траншейный) способ строительства переходов под автомобильными дорогами включает следующие способы организации работ:
- без нарушения интенсивности движения транспорта (с устройством объезда или переезда);
- с перекрытием движения транспорта в два этапа на одной половине ширины дороги, затем на другой;
- с краткосрочным перекрытием движения транспорта по дороге (без устройства объезда или переезда).
10.146 При закрытом (бестраншейном) способе прокладки применяют следующие способы:
- прокалывание;
- продавливание;
- горизонтальное бурение;
- щитовая проходка.
10.147 Прокалывание применяется в дисперсных грунтах для футляров малых диаметров (до 300 мм). Этот метод не рекомендуется применять при неглубоком заложении (менее 2 м) футляра во избежание образования вертикального выпора грунта и нарушения полотна дороги.
Прокалывание, как правило, осуществляется путем статического силового воздействия (гидродомкратами).
10.148 Горизонтальное бурение применяется для газопроводов средних и больших диаметров (530 - 1220 мм) в грунтах I - IV категорий.
Проходка скважины ведется установками горизонтального бурения. Этот метод не рекомендуется применять на слабых (водонасыщенных и сыпучих) грунтах во избежание просадки дорожного полотна.
10.149 Продавливание является наиболее универсальным способом прокладки футляров и наилучшим образом обеспечивает сохранность дорожных насыпи и полотна.
Как правило, продавливание футляров осуществляется гидродомкратами.
10.150 Щитовая проходка применяется в полускальных и скальных грунтах, где невозможно применить другие способы. При этом используются бетонные (железобетонные) трубы.
Щитовая проходка применяется также для прокладки футляров больших диаметров под пучок газопроводов.
10.151 При наличии высоких грунтовых вод на участке строительства перехода грунт следует осушить методом открытого водоотлива или способом закрытого понижения уровня грунтовых вод.
При закрытом способе понижения уровня грунтовых вод используются иглофильтры и водопонижающие установки. Для осушения мелкозернистых грунтов (пылеватых и глинистых песков, супесей, легких суглинков, илов и лессов) целесообразно применять одноярусную двухрядную установку типа УВВ-2.
10.152 При прокладке защитного футляра закрытым способом следует провести следующие подготовительные работы:
- геодезическую разбивку места перехода и установку предупредительных знаков;
- водопонижение грунтовых вод (не менее 0,5 м от низа защитного футляра);
- планировку участка по обе стороны дороги;
- рытье рабочего и приемного котлованов с устройством необходимых креплений.
Технология прокладки включает следующие операции:
- монтаж упорных стенок в котловане;
- сварку защитного футляра (или подготовку элементов сборного защитного футляра к монтажу с постепенным наращиванием в процессе проходки);
- монтаж буровой установки или оборудования для продавливания (прокола) защитного футляра;
- прокладку защитного футляра.
10.153 На переходах через железные дороги в песках, крупнообломочных водонасыщенных сыпучих грунтах необходимо перед началом прокладки защитного футляра устанавливать страховочные рельсовые пакеты.
10.154 Строительство переходов газопроводов под дорогами закрытым способом следует выполнять в соответствии с проектом производства работ (ППР), согласованным с владельцем дороги.
10.155 Во время прокладки защитного футляра под дорогами необходимо осуществлять постоянный геодезический надзор за осадками дорожной поверхности. Методика геодезических наблюдений устанавливается в ППР.
10.156 Для крепления вертикальных стенок котлованов глубиной до 3 м в связных грунтах оптимальной влажности при отсутствии или незначительном притоке грунтовых вод применяют инвентарные щиты сплошные или с прозорами. В несвязных грунтах и при сильном притоке грунтовых вод применяются сплошные деревянные шпунтовые крепления.
Крепление стенок котлованов глубиной более 3 м осуществляется по индивидуальным проектам.
В устойчивых грунтах нормальной влажности котлованы роют без устройства креплений, но с откосами стенок 1:1 или 1:1,5.
10.157 До начала работ необходимо:
- выбрать и обустроить объездную дорогу или переезд, по которым будет осуществляться движение транспорта;
- установить ограждения, препятствующие движению транспорта и посторонних лиц на участке производства работ;
- установить предупреждающие, запрещающие и предписывающие дорожные знаки, а также световые сигналы, видимые днем и ночью, которые запрещают движение транспорта на перекрытом участке дороги. Места установки всех знаков необходимо согласовать с ГИБДД;
- нанести в натуре границы разработки дорожной насыпи и рытья траншеи;
- уточнить места расположения подземных коммуникаций совместно с представителями организаций, владеющих этими коммуникациями;
- нанести в натуре границы разборки дорожных покрытий и разрытия насыпи, а также траншей за ее пределами, произвести разбивку трассы перехода.
10.158 Строительство объездной дороги для временного движения автотранспорта выполняют в пределах границ полосы, отведенной для дороги.
10.159 Дорожные покрытия разбирают на ширину, превышающую ширину разрытия насыпи: при асфальтовом покрытии на 0,2 м (или 0,1 м на сторону), при булыжном или брусчатом покрытии - на 0,6 м (или 0,3 м на сторону). Разборку дорожных покрытий допускается вести по линии границы разработки насыпи. Материалы от разобранных дорожных покрытий складывают в специально отведенных местах на сооружаемом переходе.
10.160 Разработку траншеи на участке перехода и раскапывание насыпи можно производить одноковшовыми экскаваторами и бульдозерами.
10.161 Ширина траншеи определяется в соответствии с требованиями ГОСТ Р 12.3.048.
10.162 Профиль траншеи ниже подошвы насыпи зависит от гидрогеологических условий и может иметь прямоугольную, трапециевидную или смешанную формы. Откосы выполняются в соответствии с требованиями ГОСТ Р 12.3.048 и настоящего СП.
10.163 Для крепления стенок глубоких траншей в грунтах повышенной влажности рекомендуются виды крепи, указанные в таблице 22.
Кроме распорной крепи, возможно применение крепи анкерного типа.
Таблица 22
|
Виды крепи траншей |
|
|
Грунты малого водонасыщения, за исключением песков |
Горизонтальная с прозором, сплошная горизонтальная |
|
Грунты высокого водонасыщения и пески |
Сплошная горизонтальная или вертикальная |
|
Грунты всех видов при сильном притоке грунтовых вод (более 1 м3/ч) |
Шпунтовая в пределах уровня грунтовых вод до глубины на 0,5 - 0,7 м ниже проектной отметки |
10.164 Укладка футляра и трубной плети на переходе может производиться двумя способами:
- отдельно футляра с последующим протаскиванием через него плети;
- совместно футляра с плетью; при этом на плеть «насаживают» футляр, предварительно оснастив ее опорами.
10.165 В траншею с креплеными стенками защитный футляр укладывают путем протаскивания кранами-трубоукладчиками вдоль траншей под нижними распорками крепи.
10.166 Футляр, уложенный на дно траншеи, засыпается в пределах насыпи дороги грунтом с послойным трамбованием. Толщина одного слоя засыпки составляет 0,25 - 0,3 м.
Для послойного трамбования грунта применяют пневматические трамбовки. Трамбование каждого слоя необходимо осуществлять до тех пор, пока степень уплотнения его не станет равной или большей плотности грунта дорожной насыпи. Засыпку защитного футляра сначала осуществляют в пределах насыпи дороги, а затем по всей его длине.
Эффективность уплотнения грунтов зависит от их влажности. Оптимальная влажность уплотняемых грунтов находится в следующих пределах:
- пески - 8 - 12 %;
- крупнообломочный грунт - 9 - 15 %;
- песок мелкий - 16 - 22 %;
- глинистый грунт - 12 - 15 %;
- тяжелый суглинок - 16 - 20 %.
Чтобы предотвратить повреждения изоляционного покрытия футляра, выполняют предварительную присыпку его мелкозернистым грунтом. Присыпка должна вестись одновременно с двух сторон, чтобы устранить возможный сдвиг защитного футляра с оси газопровода. Присыпка ведется с трамбовкой грунта в пазухах во избежание овализации футляра.
При необходимости сухие грунты следует увлажнять перед трамбовкой.
10.167 Одновременно с засыпкой защитного футляра производят разборку крепи траншеи в направлении снизу вверх.
10.168 После засыпки футляра и восстановления насыпи дороги восстанавливают покрытия. Верхний слой дорог (дорог без покрытий) восстанавливают интенсивной трамбовкой.
При этом следует учитывать возможную осадку грунта в процессе эксплуатации дороги и необходимость насыпки верхнего слоя несколько выше полотна дороги. Величина осадки зависит от вида грунта и способов засыпки или возведения насыпи (таблица 23).
Таблица 23
|
Осадка насыпей высотой до 4 м при засыпке машинами, % |
||
|
бульдозерами, самосвалами, автомобилями |
одноковшовыми экскаваторами, траншеезасыпателями |
|
|
Песок мелкий |
3 |
4 |
|
Песок крупный |
4 |
6 |
|
Крупноблочный, легкий суглинок |
4 |
6 |
|
Тяжелый суглинок |
8 |
10 |
|
Глинистый |
9 |
10 |
10.169 Прокладка защитного футляра в два этапа с перекрытием движения транспорта на половине ширины дороги рекомендуется при пересечении газопроводом автомобильных дорог III и IV категорий с шириной полотна не менее 6 м.
Прокладываемый защитный футляр монтируется из двух секций, примерно равных половине его общей длины.
10.170 Проезжую часть дороги делят на две зоны:
- на первой зоне перекрывают движение транспорта и производят работы, а по второй открывают двухстороннее движение с ограничением скорости;
- на закрытой для движения транспорта зоне дороги последовательно выполняют все работы, предусмотренные настоящим разделом.
Перед укладкой обе секции защитного футляра должны быть тщательно подогнаны между собой. Концы секций во избежание попадания грунта перед укладкой их в траншею закрываются заглушкой, которую снимают перед их стыковкой между собой.
По окончании работ по восстановлению насыпи на первой зоне дороги устраивают временное покрытие с учетом того, что грунт засыпки даст осадку в процессе работы на второй зоне (таблица 23).
10.171 Второй этап работы начинается одновременно с открытием движения по первой половине дороги. Все ограждения переносят на вторую половину дороги, закрывают по ней движение транспорта и приступают к прокладке второй секции защитного футляра.
Концы обеих секций сваривают, сварной стык изолируют.
10.172 Прокладка защитных футляров без нарушения интенсивности движения транспорта с устройством переезда рекомендуется под автомобильными дорогами I и II категорий путем устройства переездных или инвентарных мостов.
10.173 Укладку футляров под настилом (мостом) производят методом протаскивания.
10.174 Прокладка защитного футляра открытым способом без устройства объезда или переезда с временным перекрытием движения транспорта возможна при пересечении газопроводом автомобильных дорог с малой интенсивностью движения транспорта.
10.175 Для производства работ выбирается период в течение суток с наименее интенсивным движением транспорта.
10.176 До перекрытия движения ведутся разработка траншеи на прилегающих к дороге участках с обеих сторон дороги, подготовка защитного футляра и плети к укладке, заготовка грунта, щебня, гравия и др., обеспечивается наличие резервной техники и персонала.
10.177 Разработка траншей ведется без крепления стенок траншей с минимальными откосами. При этом нахождение людей в траншее запрещается.
10.178 Укладка защитного футляра производится с бермы траншеи краном-трубоукладчиком путем его надвижки и опуска на дно траншеи. Возможна укладка футляра с «продетой» через него трубной плетью.
10.179 Открытый способ строительства используется на переходах под железными дорогами с малой интенсивностью движения (лесовозные железные дороги; тупиковые, подъездные и т.п.).
10.180 Прокладку открытым способом осуществляют без устройства переезда или с применением временных переездных мостов, изготовленных из рельсовых пакетов, или инвентарных мостов, монтируемых на участке перехода из пакетов сварной конструкции. Наиболее простыми в изготовлении и монтаже являются инвентарные мосты с использованием рельсовых пакетов для подвески несущих шпал, на которые опираются путевые рельсы в границах длины расчетного пролета.
10.181 Временные инвентарные переездные мосты могут быть применены при условии ограничения скорости движения поезда до 25 км/ч. Переезды изготавливаются по типовым проектам или специальному проекту.
10.182 Работы по раскопке насыпи и рытью траншеи выполняются в присутствии представителей службы пути. Устройство креплений выполняют сверху вниз по мере углубления траншеи. Разрешается разрабатывать грунт без крепления только на глубину, равную ширине одной закладной доски.
10.183 При рытье траншей рекомендуется соблюдать следующий порядок выполнения операций по устройству крепления:
- крепление стенок траншеи осуществлять в пределах балластного слоя на глубину 1 - 1,5 м шпунтом, а ниже - досками толщиной 70 мм;
- доски закладывать за вертикальные стойки по мере углубления траншеи вплотную к грунту и укреплять распорками;
- стойки крепления траншеи устанавливать не реже, чем через 1,25 м;
- распорки крепления располагать на расстоянии одна от другой по вертикали не более 1 м; распорки закреплять на стойках бобышками сверху и снизу;
- верхние доски должны выступать, как правило, выше бровки траншеи на 10 см.
10.184 После укладки в траншею защитного футляра ее засыпают сначала в пределах насыпи, а затем по всей длине футляра. При этом траншеи, пересекающие железнодорожное полотно, засыпают песком с тщательным послойным уплотнением. При засыпке крепления разбирают в обратном порядке, т.е. снизу вверх. Толщина слоя засыпки 25 - 30 см. Порядок разборки креплений такой же, как при засыпке траншей, пересекающих автомобильные дороги. После засыпки траншеи и разборки крепления восстанавливают балластный слой. Затем осуществляют демонтаж переезда и засыпку щебнем углублений в тех местах, где находились несущие шпалы. Затем монтируют рельсы. Восстановление балластного слоя и верхнего строения железной дороги производится силами железнодорожной бригады.
10.185 При прокладке защитного футляра методом продавливания к его переднему концу приваривают кольцевой нож для уменьшения лобового сопротивления вдавливанию футляра в грунт (рисунок 11). Скосы режущих кромок ножей выполняют под углом 15 - 22°, при этом они могут быть изготовлены с наклоном внутрь или наружу.
Наиболее часто применяют расширительные ножи серпообразного или кольцевого сечения. Ножи серпообразного сечения позволяют создавать серпообразный зазор в верхней части горизонтальной скважины на 0,60 - 0,75 длины ее окружности, что способствует сохранению направления проходки.
1 - внутреннее кольцо; 2 - наружное кольцо; 3 - наплавка; 4 - прокладываемый футляр
Рисунок 11 - Устройство кольцевого ножа на конце футляра
Для уменьшения сил трения, возникающих между стенкой защитного футляра и грунта, необходимо обеспечить зазор между футляром и скважиной. Для формирования такого зазора наружный диаметр кольцевых ножей Dk принимают на 30 - 60 мм больше наружного диаметра прокладываемого защитного футляра (рисунок 11, таблица 24).
10.186 При продавливании особо уделяется внимание прочности задней (упорной) стенки, воспринимающей упорные реакции усилий подачи, развиваемых гидродомкратной установкой. Конструкции типовых упорных стенок (при расстоянии h от поверхности земли до оси трубы более 2,4 м) в различных грунтах приведены на рисунке 12.
10.187 По окончании отрывки рабочего котлована и крепления стенок дно котлована выравнивают и размещают направляющие конструкции, агрегаты и узлы установки продавливания футляра.
При монтаже направляющих конструкций в рабочем котловане особое внимание обращают на правильное их размещение в горизонтальной и вертикальной плоскостях, так как это обеспечивает сохранение заданного направления прокладки и минимальное отклонение фактического положения оси защитного футляра от проектного.
Для сохранения направления прокладки применяют вертикальные и горизонтальные рамы.
10.188 На рисунке 13 показана схема установки с гидродомкратами, предусматривающая ручную разработку грунта и транспортировку его из забоя по полости защитного футляра.
10.189 Разработка и транспортировка грунта могут производиться также механизированным устройством (грунтозаборной капсулой).
10.190 Процесс продавливания футляра включает следующие операции:
- укладка первого звена футляра длиной 3 - 6 м с лобовой обделкой (ножом);
- установка нажимной заглушки на торец звена;
- поэтапное задавливание звена в грунт гидродомкратами;
- разработка грунта в футляре и его транспортировка (вручную или механизировано);
- подъем грунта краном из котлована и укладка в отвал.
Таблица 24
|
Условный диаметр футляра Dy, мм |
Толщина стенки футляра S, мм |
Наружный диаметр футляра Dн, мм |
Наружный диаметр первого кольца D1, мм |
Наружный диаметр второго кольца D2, мм |
Длина первого кольца l1, мм |
Длина второго кольца l2 мм |
Длина сварного шва а, мм |
Масса кольцевых ножей, кг |
|
700 |
12 |
724 |
748 |
762 |
500 |
325 |
25 |
172 |
|
800 |
12 |
824 |
848 |
862 |
500 |
325 |
25 |
193 |
|
900 |
12 |
924 |
948 |
962 |
500 |
325 |
25 |
221 |
|
1000 |
14 |
1028 |
1056 |
1070 |
600 |
425 |
30 |
335 |
|
1200 |
14 |
1228 |
1256 |
1270 |
700 |
525 |
30 |
508 |
|
1400 |
14 |
1428 |
1456 |
1470 |
800 |
625 |
30 |
691 |
Тип I и II - для слабых грунтов (j £ 18°); тип III и IV - для средних грунтов (j £ 18 - 30°); тип V, VI и VII - для прочных грунтов (j > 30°)
1 - шпунт металлический шк-1; 2 - шпунтовая крепь; 3 - бревна диаметром 160 мм; 4 - опорный пакет; 5 - балка двутавровая № 16; 6 - сваи деревянные диаметром 200 мм; 7 - деревянные брусья 160 ´ 160 мм; 8 - бетонные блоки; 9 - опорный башмак
Рисунок 12 - Конструкции типовых упорных стенок в различных грунтах
После выбора хода штока гидродомкрата между нажимной заглушкой и домкратом вставляют нажимные патрубки.
Продвижение защитного футляра и смену нажимных патрубков осуществляют до тех пор, пока первое звено футляра не будет полностью вдавлено в грунт под насыпью. После этого штоки гидродомкратов отводят назад вместе с заглушкой, одновременно удаляют и нажимные патрубки.
На освободившееся от патрубков место укладывают второе звено, которое центрируют и присоединяют к первому звену защитного футляра сваркой.
10.191 Для производства сварочных работ в котловане сооружается приямок, в котором размещаются сварщики. Если в приямке накапливается вода, то ее время от времени удаляют насосом.
10.192 В наборе технологического оборудования необходимо иметь круг-заслонку, которая устанавливается в футляре и перекрывает его полость в случае опасности утечки обводненных грунтов дорожной насыпи через футляр.
1 - насосная станция; 2 - газопровод; 3 - рабочий котлован; 4 - водоотводной лоток; 5 - защитный футляр; 6 - лобовая обделка (нож); 7 - приемный котлован; 8 - приямок для сварки защитного футляра; 9 - направляющая рама; 10 - нажимной патрубок; 11 - нажимная заглушка; 12 - гидродомкраты; 13 - башмак; 14 - упорная стенка
Рисунок 13 - Схема установки с гидродомкратами
10.193 В принятой последовательности все операции повторяют до тех пор, пока лобовой конец первого звена не войдет в приемный котлован. При необходимости защитный футляр наращивают до проектной длины со стороны приемного котлована либо с обеих сторон дороги.
10.194 Прокладка защитных футляров прокалыванием осуществляется статическим и динамическим методами.
Методы прокалывания применяют для прокладки защитных футляров диаметром до 300 мм в суглинистых и глинистых грунтах нормальной влажности, не содержащих твердых включений. При этом прокладываемая труба-футляр или специальное устройство, снабженные наконечниками, вдавливаются в грунт под воздействием напорных усилий (рисунок 14).
10.195 Наконечники монтируются на переднем конце прокладываемой трубы-футляра и предназначены для уменьшения сопротивлений, возникающих при деформации грунта, и снижения сил трения при движении трубы-футляра в грунте. Это достигается тем, что наружный диаметр наконечника принимают на 20 - 50 мм больше диаметра прокладываемого футляра, благодаря чему между стенкой скважины и футляром создается некоторый зазор.
10.196 Для прокладки защитных футляров прокалыванием в основном применяются конусные наконечники (рисунок 15, а, б, в, г, д) и расширительные пояса с заглушками (рисунок 15, к, л).
При небольшой длине прокладки применяют прокалывание открытым концом прокладываемой трубы-футляра без какого-либо наконечника (рисунок 15, ж) или с расширительным кольцом, приваренным к трубе-футляру (рисунок 15, з). В этих случаях прокладываемый кожух открытым концом вдавливается в грунт, который в виде керна проникает в полость футляра, образуя плотную пробку.
Обычно после окончания прокладки конец футляра с грунтовой пробкой отрезают, так как для ее удаления требуются большие усилия.
10.197 Для прокладки футляров в глинистых и лессовых грунтах с пониженной влажностью применяют конусный наконечник с отверстиями (рисунок 15, е), который позволяет осуществлять предварительное увлажнение грунта в зоне прокола.
1 - конусный наконечник; 2 - приямок для сварки звеньев футляра в потолочном положении; 3 - приямок для стока грунтовых вод; 4 - труба-футляр; 5, 6 - направляющая рама; 7 - набор нажимных патрубков; 8 - гидродомкрат; 9 - опорный башмак; 10 - упорная стенка; 11 - насосная станция; 12 - трубки высокого давления; 13 - торцовая нажимная заглушка; 14 - рабочий котлован; 15 - водоотводной лоток; 16 - приемный котлован
Рисунок 14 - Схема прокладки защитных футляров прокалыванием
а, б, в - конусные наконечники; г - конусный наконечник с эксцентриситетом; д - конусный наконечник с направляющей иглой; е - конусный наконечник с отверстиями для увлажнения грунта; ж - открытый конец футляра без наконечника; з - открытый конец кожуха с кольцом из круглой стали; и - кольцевой нож с наружным скосом режущих кромок; к - кольцевой нож с наружным скосом режущих кромок и приварной заглушкой; л - нож серпообразного сечения с приварной заглушкой
Рисунок 15 - Конструкции конусных наконечников
Напорные усилия, необходимые для продвижения в грунте трубы-футляра с наконечником любой конструкции, создаются гидродомкратными установками, тяговыми лебедками, виброударными и вибрационными молотами.
Для сохранения направления прокладки применяют вертикальные и горизонтальные направляющие рамы.
Для монтажа установки на месте сооружения перехода по обе стороны дороги роют рабочий и приемный котлованы.
Процесс прокалывания аналогичен процессу продавливания с той разницей, что не требуется разрабатывать и удалять грунт из футляра, так как он туда не поступает. Оборудование применяется такое же, что при продавливании.
Диаграмма зависимости нажимных усилий от длины проходки при прокладке футляров разных условных диаметров Dy прокалыванием в песчаных и глинистых грунтах приведена на рисунке 16.
10.198 Динамические методы прокладки труб-футляров основаны на движении труб-футляров в грунте под воздействием знакопеременных колебательных нагрузок. Могут быть использованы высокочастотные вибрационные и низкочастотные виброударные установки.
Рисунок 16 - Диаграмма зависимости нажимных усилий от длины проходки при прокладке футляров
10.199 Основными видами работ при монтаже внутренних систем газопотребления зданий всех назначений являются:
- сборка внутренних газопроводов из трубных заготовок и монтажных узлов заводского (ЦЗЗ, ЦЗМ) изготовления;
- присоединение газоиспользующего оборудования к газопроводам;
- испытание смонтированной системы на герметичность.
10.200 Внутренние газопроводы рекомендуется монтировать из трубных заготовок, монтажных узлов и деталей, изготовленных в ЦЗЗ (ЦЗМ) строительно-монтажных организаций по проектам или схемам замеров с максимально возможным использованием типовых узлов и деталей. В таблице 25 приведен примерный перечень основного оборудования для производства стальных трубных заготовок.
Таблица 25
|
Марка |
|
|
Отмерное устройство |
РОА и др. |
|
Трубоотрезной механизм |
ВМС-35а |
|
Резьбонарезной механизм |
ВМС-2а |
|
Механизм для навертывания соединительных частей |
ВМС-48 |
|
Трубогибочный станок |
ВМС-23В ГСТМ-21М |
|
Шланговый полуавтомат |
А-547-У и др. |
|
Машина для стыковой сварки |
МСР-50, МСР-75, МТП-100 и др. |
10.201 Изготовление стальных трубных заготовок рекомендуется производить поточным методом в следующей технологической последовательности:
- разметка и отрезка труб;
- нарезка резьбы;
- сверление и обработка отверстий под сварные соединения;
- изготовление раструбов;
- выполнение гнутых деталей;
- сварка и сборка монтажных узлов;
- окраска узлов и деталей, комплектация;
- изготовление деталей крепления газопроводов к стенам здания.
10.202 При изготовлении деталей и сборке узлов мастер осуществляет пооперационный контроль за качеством работ при выполнении всех технологических операций.
10.203 Изготовленные детали и узлы должны быть, как правило, промаркированы по каждому объекту, при газификации жилых зданий - по каждому дому, подъезду, квартире.
10.204 Запорная арматура до установки в монтажный узел (или до поставки на объект) должна быть, как правило, расконсервирована и подвергнута ревизии. При этом производят полное удаление консервирующей смазки, проверяют сальниковые и прокладочные уплотнения.
Запорная арматура, не предназначенная для газовой среды, должна быть, как правило, притерта и испытана на прочность и плотность материала и герметичность затвора. Нормы испытаний приведены в таблице 26. Продолжительность испытаний - в течение времени, необходимого для выявления дефектов, но не менее 1 мин на каждое испытание.
Герметичность затвора должна соответствовать ГОСТ 9544.
Пропуск среды через металл, сальниковые и прокладочные уплотнения не допускается.
Таблица 26
|
На прочность |
На герметичность |
|||
|
Испытательное давление |
Испытательная среда |
Испытательное давление |
Испытательная среда |
|
|
Краны |
||||
|
Низкого давления |
0,2 МПа |
Воздух |
1,25 рабочего |
Воздух |
|
Среднего и высокого давления |
1,5 рабочего, но не менее 0,3 МПа |
Вода |
То же |
» |
|
Задвижки |
||||
|
Низкого давления |
0,2 МПа, 0,1 МПа |
Вода и воздух |
- |
Керосин |
|
Среднего и высокого давления |
1,5 рабочего, но не менее 0,3 МПа |
То же |
- |
» |
10.205 Монтаж внутреннего газооборудования рекомендуется производить после выполнения следующих работ:
- устройства междуэтажных перекрытий, стен, полов, перегородок, на которых будут монтироваться газопроводы, арматура, газовое оборудование и приборы;
- устройства отверстий, каналов и борозд для прокладки газопроводов в фундаментах, стенах, перегородках и перекрытиях;
- отштукатуривания стен в кухнях, топочных и других помещениях, в которых предусмотрена установка газового оборудования;
- установки ванн, моек, раковин и другого сантехнического оборудования;
- устройства отопительной системы (при установке автономного отопительного газоиспользующего оборудования);
- проверки и очистки дымоходов;
- устройства системы вентиляции;
- установки футляров для прокладки газопроводов через стены и перекрытия.
В подготовленном к монтажу здании или сооружении должна быть, как правило, обеспечена возможность подключения электроэнергии к электрифицированному инструменту и сварочным агрегатам.
10.206 Выполнение работ по монтажу внутренних газопроводов рекомендуется производить в следующей последовательности:
- прокладка вводов;
- разметка мест установки креплений газопроводов и газоиспользующего оборудования;
- пристрелка средств крепления газопроводов и газоиспользующего оборудования с помощью строительно-монтажного пистолета или сверление отверстий, установка средств крепления;
- сборка газопровода от ввода до мест присоединения к газоиспользующему оборудованию;
- испытание газопровода на герметичность на участке от отключающего устройства на вводе в здание до отключающего устройства перед газоиспользующим оборудованием;
- установка газоиспользующего оборудования;
- присоединение отопительного газоиспользующего оборудования к дымоходам;
- присоединение газоиспользующего оборудования к газопроводу и водопроводу (для отопительного газоиспользующего оборудования);
- испытание газопровода на герметичность совместно с установленным газоиспользующим оборудованием.
10.207 Прокладку газопроводов и способ соединения труб предусматривают в соответствии с требованиями СНиП 42-01, размещение газоиспользующего оборудования, а также отключающих устройств и арматуры - в соответствии с положениями настоящего СП.
10.208 Входной контроль качества труб и соединительных деталей производят в соответствии с положениями СП 42-102.
В общий объем входного контроля качества газоиспользующего оборудования входит проверка:
- наличия паспорта завода-изготовителя;
- комплектности поставки;
- наличия всех крепежных деталей и степени их затяжки;
- жесткости крепления газо- и водопроводов, наличия заглушек на их присоединительных концах;
- наличия и качества антикоррозионных и защитно-декоративных покрытий;
- возможности и надежности установки ручек на стержни кранов, легкости открытия и закрытия кранов, фиксирования кранов в закрытом положении, удобства пользования другими органами управления аппаратами;
- надежности крепления датчиков автоматики безопасности;
- установочных размеров и качества резьбы присоединительных патрубков газа и воды;
- отсутствия острых кромок и заусенцев на наружных и съемных деталях;
- герметичности газопроводных и водопроводных деталей;
- соответствия размеров диаметров сопел виду и давлению сжигаемого газа.
10.209 При установке газоиспользующего оборудования, присоединении его к газовым сетям и отопительным системам, а также при установке автоматики и контрольно-измерительных приборов, прокладке импульсных газопроводов, кроме требований проекта, следует выполнять требования по монтажу заводов-изготовителей.
10.210 Прокладку импульсных линий следует предусматривать в соответствии с требованиями СНиП 3.05.07.
10.211 При прокладке газопровода через стену расстояние от сварного шва до футляра должно быть, как правило, не менее 50 мм.
10.212 Футляр, устанавливаемый в перекрытии, должен, как правило, выступать выше пола на 50 мм и быть заподлицо с потолком; заделываемый в стену - заподлицо с обеих сторон стены.
10.213 Участок газопровода, прокладываемый в футляре, окрашивают до его монтажа.
Пространство между газопроводом и футляром заполняют битумом или промасленной паклей. Футляр закрывается алебастром, гипсом или цементом. Пространство между футляром и стеной или перекрытием плотно заделывают цементом или алебастром на всю толщину стены или перекрытия.
10.214 Участки газопроводов, проложенные в футлярах, не должны иметь стыковых, резьбовых и фланцевых соединений, а проложенные в каналах со съемными перекрытиями и в бороздах стен - резьбовых и фланцевых соединений.
10.215 Крепление открыто прокладываемых газопроводов к стенам зданий предусматривают кронштейнами, хомутами, крючьями.
10.216 Отклонение стояков и прямолинейных участков газопроводов от проектного положения допускается не более 2 мм на 1 м длины газопровода, если другие нормы не обоснованы проектом.
При отсутствии в проекте данных о расстоянии между трубой и стеной это расстояние должно быть, как правило, не менее радиуса трубы.
10.217 Расстояние между кольцевым швом газопровода и швом приварки патрубка должно быть, как правило, не менее 100 мм.
При врезках ответвлений диаметром до 50 мм на внутренних газопроводах (в том числе импульсных линиях), а также в ГРП и ГРУ расстояние от швов ввариваемых штуцеров до кольцевых швов основного газопровода должно быть не менее 50 мм.
10.218 Газопровод к плите допускается прокладывать на уровне присоединительного штуцера. При этом отключающий кран следует устанавливать на расстоянии не менее 0,2 м сбоку от плиты. При верхней разводке отключающий кран должен быть установлен на опуске к плите на высоте 1,5 - 1,6 м от пола.
10.219 При монтаже на внутридомовых газопроводах отключающих устройств (кранов) следует предусматривать после них (считая по ходу газа) установку сгонов.
10.220 Краны на горизонтальных и вертикальных газопроводах устанавливаются так, чтобы ось пробки крана была параллельна стене, установка упорной гайки в сторону стены не допускается.
10.221 Для уплотнения резьбовых соединений наряду с льняной прядью по ГОСТ 10330, пропитанной свинцовым суриком по ГОСТ 19151, замешанным на олифе по ГОСТ 7931, рекомендуется применять ФУМ-ленту, фторопластовые и другие уплотнительные материалы типа «Loctite» при наличии на них паспорта или сертификата соответствия.
Для фланцевых соединений рекомендуется использовать прокладочные листовые материалы типа паронит марки ПМБ по ГОСТ 481, алюминий по ГОСТ 13726 или ГОСТ 21631, медь M1 или М2 по ГОСТ 495 и др. при наличии на них паспорта или сертификата соответствия.
10.222 Газоиспользующее оборудование устанавливают на места, предусмотренные проектом. Менять места их установки без согласования с организацией, разработавшей проект, не рекомендуется.
Установку газоиспользующего оборудования производят строго вертикально по уровню и ватерпасу.
10.223 Проточные водонагреватели крепят к стенам на подвесках - металлических планках, заделываемых в стены на цементном растворе.
Расстояние от пола до горелки водонагревателя рекомендуется принимать 90 - 120 см.
10.224 Монтаж внутренних газопроводов и газоиспользующего оборудования при газоснабжении СУГ от резервуарных и групповых баллонных установок производят в соответствии с требованиями настоящего раздела.
Индивидуальные баллонные установки, устанавливаемые внутри зданий, размещают на расстоянии не менее 1 м от газового прибора, радиатора отопления, печи. Установка баллонов против топочных дверок печей и плит не допускается. Баллон рекомендуется прикрепить к стене скобами или ремнями.
10.225 Испытания внутренних газопроводов на герметичность и исправление обнаруженных дефектов производят в соответствии с требованиями СНиП 42-01.
При обнаружении утечек в резьбовых соединениях эти соединения следует разобрать и собрать вновь. Устранение утечек путем уплотнения льняной пряди или окраской не допускается.
10.226 В процессе монтажа производителю работ рекомендуется проводить пооперационный контроль проектных уклонов газопроводов, расстояний от стен и других газопроводов, вертикальность стояков, расстояний между креплениями, а также исправности действия арматуры, надежности крепления труб и газового оборудования, укомплектованности газового оборудования, качества резьбовых и сварных соединений.
10.227 Организацию контроля качества строительно-монтажных работ при сооружении систем газораспределения рекомендуется предусматривать в соответствии с требованиями СНиП 3.01.01, СНиП 42-01, «Правил безопасности в газовом хозяйстве» Госгортехнадзора России и положениями настоящего раздела.
10.228 Система контроля качества строительно-монтажных работ должна предусматривать:
- проведение производственного контроля качества работ;
- проведение ведомственного контроля за качеством работ и техникой безопасности;
- проведение технического надзора со стороны эксплутационной организации;
- контроль со стороны органов Госгортехнадзора России.
По решению заказчика в систему контроля качества работ могут быть включены технический надзор со стороны заказчика и авторский надзор организации, разработавшей проект газоснабжения.
10.229 Производственный контроль качества работ может производиться строительно-монтажной организацией на всех стадиях строительства.
Объемы и методы контроля выполняемых работ должны соответствовать требованиям СНиП 42-01, СП 42-102, СП 42-103 и данного СП.
10.230 Производственный контроль качества работ должен обеспечивать:
- ответственность специалистов и рабочих строительно-монтажной организации за качество выполняемых работ;
- выполнение работ в соответствии с проектом;
- соблюдение требований нормативных документов, утвержденных в установленном порядке;
- производство работ в соответствии с применяемыми при строительстве объекта технологиями;
- предупреждение брака при производстве работ;
- правильное и своевременное составление исполнительной документации;
- выполнение требований по охране труда и технике безопасности при производстве работ.
10.231 Производственный контроль качества должен включать:
- входной контроль рабочей документации, оборудования, материалов и технических изделий;
- операционный контроль технологических операций;
- приемочный контроль отдельных выполненных работ.
10.232 Входной контроль качества работ должен производиться лабораториями строительно-монтажных организаций, оснащенных техническими средствами, обеспечивающими достоверность и полноту контроля.
10.233 Операционный контроль качества должен производиться производителем работ (мастером, прорабом) в ходе выполнения технологических операций.
Операционный контроль качества должен производится при выполнении земляных, сварочных, изоляционных, монтажных работ, а также работ по испытанию газопроводов на герметичность.
Операционный контроль рекомендуется производить по схемам, составляемым для каждого из видов контролируемых работ.
Пример схемы операционного контроля приведен в приложении Н настоящего СП.
10.234 При приемочном контроле следует производить проверку качества выполненных работ. Результаты приемочного контроля оформляются записями в строительном паспорте, актами, протоколами испытаний.
11.1 Законченные строительством или реконструкцией наружные и внутренние газопроводы (далее - газопроводы) и оборудование ГРП испытываются на герметичность внутренним давлением воздухом в соответствии с требованиями СНиП 42-01 и настоящего раздела.
11.2 Испытания производят после установки арматуры, оборудования, контрольно-измерительных приборов. Если арматура, оборудование и приборы не рассчитаны на испытательное давление, то вместо них на период испытаний следует устанавливать катушки, заглушки, пробки.
11.3 Надземные участки длиной до 10 м на подземных газопроводах испытываются по нормам подземных газопроводов.
При совместном строительстве вводов диаметром до 100 мм с распределительными газопроводами их испытывают по нормам, предусмотренным для распределительных газопроводов.
11.4 Испытание газопроводов и оборудования ГРП и ГРУ производят по нормам испытаний на стороне входного давления газа или по частям:
- до регулятора давления - по нормам испытаний на стороне входного давления газа;
- после регулятора давления - по нормам испытаний на стороне выходного давления газа.
11.5 Испытания газопроводов паровой фазы СУГ производят по нормам, предусмотренным для испытаний газопроводов природного газа.
11.6 Для проведения испытания газопровод разделяют на участки длиной не более указанной в таблицах 27 - 37, ограниченные арматурой или заглушками. Арматура может быть использована в качестве ограничительного элемента, если она рассчитана на испытательное давление и имеет герметичность не ниже класса «А» по ГОСТ 9544.
11.7 Если испытываемый газопровод состоит из участков с разными внутренними диаметрами, величина диаметра определяется по формуле (27)
(27)
где d1, d2, ..., dn - внутренние диаметры участков газопровода, мм;
l1, l2, …, ln - длины участков газопроводов соответствующих диаметров, м.
В таблицах 27 - 37 указывается номинальное - усредненное значение величины внутреннего диаметра для стальных, медных и полиэтиленовых труб.
11.8 Подземные газопроводы до начала испытаний после их заполнения воздухом рекомендуется выдерживать под испытательным давлением в течение времени, необходимого для выравнивания температуры воздуха в газопроводе с температурой грунта, но не менее 24 ч.
Надземные и внутренние газопроводы, газопроводы и оборудование ГРП и ГРУ до начала испытаний после их заполнения воздухом рекомендуется выдерживать под испытательным давлением в течение времени, необходимого для выравнивания температуры воздуха внутри газопроводов с температурой окружающего воздуха, но не менее 1 ч.
11.9 Газопроводы жилых, общественных и бытовых непроизводственного назначения, административных зданий испытываются на участке от отключающего устройства на вводе в здание до кранов газовых приборов и оборудования.
При установке дополнительных газовых приборов испытание новых участков газопроводов к этим приборам при их длине до 5 м допускается производить газом (рабочим давлением) с проверкой всех соединений газоиндикаторами или мыльной эмульсией.
11.10 Внутренние газопроводы котельных, общественных и бытовых зданий производственного назначения, производственных зданий следует испытывать на участке от отключающего устройства на вводе до отключающих устройств у газовых горелок.
11.11 Газопроводы обвязки резервуара СУГ при раздельном испытании их с резервуаром СУГ допускается испытывать в соответствии с требованиями настоящего раздела.
11.12 Герметичность арматуры, газопроводов и присоединительных рукавов индивидуальных баллонных установок СУГ, а также присоединительные рукава газоиспользующего оборудования и контрольно-измерительных приборов разрешается проверять рабочим давлением газа с применением газоиндикатора или мыльной эмульсии.
11.13 Манометры класса точности 0,15 рекомендуется применять для проведения испытаний газопроводов всех диаметров и давлений.
11.14 Манометры класса точности 0,4 рекомендуется применять для проведения испытаний:
- подземных (наземных) газопроводов:
низкого и среднего давления;
высокого давления (св. 0,3 МПа до 0,6 МПа) в поселениях - диаметром не более 700 мм;
высокого давления (св. 0,6 МПа до 1,2 МПа) межпоселковых - диаметром не более 600 мм;
- надземных и внутренних газопроводов всех диаметров и давлений.
11.15 Манометры класса точности 0,6 рекомендуется применять для проведения испытаний:
- подземных (наземных) газопроводов:
низкого давления, среднего давления - диаметром не более 150 мм в поселениях и не более 200 мм для межпоселковых;
при давлении св. 0,3 МПа до 0,6 МПа - диаметром не более 125 мм в поселениях и не более 150 мм для межпоселковых;
при давлении св. 0,6 МПа до 1,2 МПа - не более 80 мм для поселений и не более 100 мм для межпоселковых газопроводов;
- надземных и внутренних газопроводов:
низкого давления - диаметром не более 100 мм;
среднего давления - диаметром не более 50 мм;
при давлении св. 0,3 МПа до 0,6 МПа - не более 40 мм в поселениях и не более 25 мм для межпоселковых.
11.16 Рекомендуется при проведении испытаний на герметичность не ограничивать максимально допустимую длину газопровода, диаметр которого не превышает значений, указанных в таблице 27.
Таблица 27
|
Испытательное давление |
Максимальный диаметр газопровода (мм), длину которого можно не ограничивать при проведении испытаний, в зависимости от класса точности манометра |
|||
|
0,15 |
0,4 |
0,6 |
||
|
Подземные (наземные) газопроводы |
||||
|
Низкое |
0,3 |
Не ограничивается |
||
|
0,6 |
200 |
|||
|
Среднее |
0,6 |
65 в поселениях |
100 в поселениях |
80 в поселениях |
|
1,5 |
150 межпоселковый |
150 межпоселковый |
125 межпоселковый |
|
|
Высокое |
0,75 |
50 в поселениях 100 межпоселковый |
100 в поселениях 80 межпоселковый |
50 в поселениях 80 межпоселковый |
|
1,5 |
||||
|
1,5 |
||||
|
Надземные и внутренние газопроводы |
До 0,3 |
50 |
||
|
0,45 |
50 межпоселковый |
25 межпоселковый |
||
|
0,75 |
25 межпоселковый |
|||
11.17 Максимальную длину подземных (наземных) газопроводов низкого давления в поселениях для проведения испытаний при величине испытательного давления 0,6 МПа рекомендуется принимать по таблице 28.
Таблица 28
|
Рекомендуемая максимальная длина, км, подземного газопровода при номинальном диаметре (мм) |
||||||||
|
250 |
300 |
350 |
400 |
500 |
600 |
700 |
800 и более |
|
|
0,15 |
13,3 |
9,2 |
6,7 |
5,2 |
3,4 |
2,4 |
1,8 |
1,0 |
|
0,4 |
5,0 |
3,4 |
2,5 |
2,0 |
1,3 |
1,0 |
1,0 |
1,0 |
|
0,6 |
3,3 |
2,3 |
1,7 |
1,3 |
- |
- |
- |
- |
|
Примечание. Знак «-» означает, что применение манометров класса точности 0,6 для испытания данных газопроводов не рекомендуется. |
||||||||
11.18 Максимальную длину надземных и внутренних газопроводов низкого давления в поселениях для проведения испытаний рекомендуется принимать по таблице 29.
Таблица 29
|
Рекомендуемая максимальная длина, км, надземного и внутреннего газопроводов при номинальном диаметре (мм) |
||||||
|
65 |
80 |
100 |
125 |
150 |
200 и более |
|
|
0,15 |
11,5 |
8,0 |
5,3 |
3,0 |
2,3 |
1,0 |
|
0,4 |
4,3 |
3,0 |
2,0 |
1,2 |
- |
- |
|
0,6 |
2,9 |
2,0 |
1,3 |
1,3 |
- |
- |
|
Примечание. Знак «-» означает, что применение манометров указанного класса точности для испытания данных газопроводов не рекомендуется. |
||||||
11.19 При использовании манометров класса точности 0,15 рекомендуется принимать максимальную длину испытуемого участка для газопроводов в поселениях по таблице 30, а для межпоселковых - по таблице 31.
Таблица 30
|
Испытательное давление, МПа |
Рекомендуемая максимальная длина, км, подземного газопровода в поселении при номинальном диаметре (мм) |
||||||||
|
65 |
80 |
100 |
125 |
150 |
200 |
250 |
300 |
||
|
0,005 - 0,3 |
0,6 |
|
16,8 |
11 |
6,4 |
4,8 |
2,6 |
1,6 |
1,1 |
|
1,5 |
|
15,3 |
10 |
5,9 |
4,4 |
2,3 |
1,5 |
1,0 |
|
|
0,3 - 0,6 |
0,75 |
16,6 |
11,7 |
7,7 |
4,5 |
3,4 |
1,8 |
1,1 |
1,0 |
|
1,5 |
12,5 |
8,8 |
5,8 |
3,4 |
2,5 |
1,3 |
1,0 |
1,0 |
|
|
0,6 - 1,2 |
1,5 |
6,7 |
4,7 |
3,1 |
1,8 |
1,4 |
1,0 |
1,0 |
1,0 |
|
Примечание. Для газопроводов среднего и высокого давления диаметром более 300 мм максимальная длина испытуемого участка равна 1,0 км. |
|||||||||
Таблица 31
|
Испытательное давление, МПа |
Рекомендуемая максимальная длина, км, подземного межпоселкового газопровода при номинальном диаметре (мм) |
|||||||
|
125 |
150 |
200 |
250 |
300 |
350 |
400 |
||
|
0,005 - 0,3 |
0,6 |
|
|
|
16,4 |
11,4 |
8,4 |
6,5 |
|
1,5 |
|
|
|
15,0 |
10,4 |
7,6 |
5,0 |
|
|
0,3 - 0,6 |
0,75 |
|
|
17,9 |
11,4 |
7,9 |
5,8 |
5,0 |
|
1,5 |
|
|
13,5 |
8,6 |
6,0 |
5,0 |
5,0 |
|
|
0,6 - 1,2 |
1,5 |
17,9 |
13,6 |
7,3 |
5,0 |
5,0 |
5,0 |
5,0 |
|
Примечание. Для газопроводов среднего и высокого давления диаметром более 400 мм максимальная длина испытуемого участка равна 5,0 км. |
||||||||
11.20 При использовании манометров класса точности 0,4 рекомендуется принимать максимальную длину испытуемого участка для газопроводов в поселениях по таблице 32, а для межпоселковых - по таблице 33.
Таблица 32
|
Испытательное давление, МПа |
Рекомендуемая максимальная длина, км, подземного газопровода в поселении, при номинальном диаметре (мм) |
|||||
|
65 |
80 |
100 |
125 |
150 |
||
|
0,005 - 0,3 |
0,6 |
|
|
|
2,4 |
1,8 |
|
1,5 |
|
|
|
2,2 |
1,7 |
|
|
0,3 - 0,6 |
0,75 |
|
|
|
1,7 |
1,3 |
|
1,5 |
|
|
|
1,3 |
1,0 |
|
|
0,6 - 1,2 |
1,5 |
2,5 |
1,8 |
1,2 |
1,0 |
1,0 |
|
Примечание. Для газопроводов среднего и высокого давления диаметром более 150 мм максимальная длина испытуемого участка равна 1,0 км. |
||||||
Таблица 33
|
Испытательное давление, МПа |
Рекомендуемая максимальная длина, км, подземного межпоселкового газопровода при номинальном диаметре (мм) |
|||||
|
100 |
125 |
150, |
200 |
250 |
||
|
0,005 - 0,3 |
0,6 |
|
|
|
9,6 |
6,2 |
|
1,5 |
|
|
|
8,8 |
5,6 |
|
|
0,3 - 0,6 |
0,75 |
|
16,7 |
12,6 |
6,7 |
5,0 |
|
1,5 |
|
12,6 |
9,5 |
5,0 |
5,0 |
|
|
0,6 - 1,2 |
1,5 |
11,7 |
6,8 |
5,1 |
5,0 |
5,0 |
|
Примечания: 1. Для газопроводов среднего давления диаметром св. 250 мм максимальная длина испытуемого участка равна 5,0 км. 2. Для газопроводов высокого давления (св. 0,3 МПа до 0,6 МПа) диаметром св. 200 мм до 800 мм максимальная длина испытуемого участка равна 5,0 км. 3 Для газопроводов высокого давления (св. 0,6 МПа до 1,2 МПа) диаметром св. 200 мм до 400 мм максимальная длина испытуемого участка равна 5,0 км, а диаметром 500 мм и 600 мм - 4,0 км. |
||||||
11.21 При использовании манометров класса точности 0,6 рекомендуется принимать максимальную длину испытуемого участка для газопроводов в поселениях по таблице 34, а для межпоселковых - по таблице 35.
Таблица 34
|
Испытательное давление, МПа |
Рекомендуемая максимальная длина, км, подземного газопровода в поселении при номинальном диаметре (мм) |
|||||
|
65 |
80 |
100 |
125 |
150 |
||
|
0,005 - 0,3 |
0,6 |
|
|
2,8 |
1,6 |
1,2 |
|
1,5 |
|
|
2,5 |
1,5 |
1,1 |
|
|
0,3 - 0,6 |
0,75 |
4,1 |
2,9 |
1,9 |
1,1 |
- |
|
1,5 |
3,1 |
2,2 |
1,4 |
- |
- |
|
|
0,6 - 1,2 |
1,5 |
1,7 |
1,2 |
- |
- |
- |
|
Примечание. Знак «-» означает, что применение манометров класса точности 0,6 для испытания данных газопроводов не рекомендуется. |
||||||
Таблица 35
|
Испытательное давление, МПа |
Рекомендуемая максимальная длина, км, подземного межпоселкового газопровода при номинальном диаметре (мм) |
||||||
|
65 |
80 |
100 |
125 |
150 |
200 |
||
|
0,005 - 0,3 |
0,6 |
|
|
|
|
12,1 |
6,4 |
|
1,5 |
|
|
|
14,6 |
11,0 |
5,9 |
|
|
0,3 - 0,6 |
0,75 |
|
|
|
11,2 |
8,4 |
- |
|
1,5 |
|
|
14,4 |
8,4 |
6,3 |
- |
|
|
0,6 - 1,2 |
1,5 |
16,8 |
11,8 |
7,8 |
- |
- |
- |
|
Примечание. Знак «-» означает, что применение манометров класса точности 0,6 для испытания данных газопроводов не рекомендуется. |
|||||||
11.22 Максимальную длину надземных и внутренних газопроводов среднего и высокого давления в поселениях для проведения испытаний рекомендуется принимать по таблице 36, а для межпоселковых - по таблице 37.
12.1 Приемку в эксплуатацию законченных строительством объектов систем газораспределения (газоснабжения) производят в соответствии с требованиями СНиП 42-01, «Правил безопасности систем газораспределения и газопотребления» Госгортехнадзора России и положениями настоящего раздела.
Таблица 36
|
Испытательное давление, МПа |
Рекомендуемая максимальная длина, км, надземного и внутреннего газопроводов в поселении при номинальном диаметре (мм) |
|||||||
|
25 |
40 |
50 |
65 |
80 |
100 |
125 и более |
||
|
При использовании манометров класса точности 0,15 |
||||||||
|
0,005 - 0,3 |
0,45 |
8,9 |
3,6 |
2,3 |
1,3 |
1,0 |
1,0 |
1,0 |
|
0,3 - 0,6 |
0,75 |
4,7 |
1,9 |
1,0 |
1,0 |
1,0 |
1,0 |
1,0 |
|
0,6 - 1,2 |
1,5 |
1,9 |
1,0 |
1,0 |
1,0 |
1,0 |
1,0 |
1,0 |
|
Св. 1,2 до 1,6 (для СУГ) |
2,0 |
1,9 |
1,0 |
1,0 |
1,0 |
1,0 |
1,0 |
1,0 |
|
При использовании манометров класса точности 0,4 |
||||||||
|
0,005 - 0,3 |
0,45 |
|
1,3 |
1,0 |
1,0 |
1,0 |
1,0 |
1,0 |
|
0,3 - 0,6 |
0,75 |
1,8 |
1,0 |
1,0 |
1,0 |
1,0 |
1,0 |
1,0 |
|
0,6 - 1,2 |
1,5 |
1,0 |
1,0 |
1,0 |
1,0 |
1,0 |
1,0 |
1,0 |
|
Св. 1,2 до 1,6 (для СУГ) |
2,0 |
1,0 |
1,0 |
1,0 |
1,0 |
1,0 |
1,0 |
1,0 |
|
При использовании манометров класса точности 0,6 |
||||||||
|
0,005 - 0,3 |
0,45 |
2,2 |
- |
- |
- |
- |
- |
- |
|
0,3 - 0,6 |
0,75 |
1,2 |
4,8 |
- |
- |
- |
- |
- |
|
Примечание. Знак «-» означает, что применение манометров данного класса точности для испытания данных газопроводов не рекомендуется. |
||||||||
Таблица 37
|
Испытательное давление, МПа |
Рекомендуемая максимальная длина, км, надземного и внутреннего межпоселкового газопроводов при номинальном диаметре (мм) |
||||||||||
|
25 |
40 |
50 |
65 |
80 |
100 |
125 |
150 |
200 |
250 и более |
||
|
При использовании манометров класса точности 0,15 |
|||||||||||
|
0,005 - 0,3 |
0,45 |
|
|
|
13,0 |
9,2 |
6,0 |
3,5 |
2,6 |
1,4 |
1,0 |
|
0,3 - 0,6 |
0,75 |
|
19,0 |
12,3 |
6,9 |
4,9 |
3,2 |
1,9 |
1,4 |
1,0 |
1,0 |
|
0,6 - 1,2 |
1,5 |
19,2 |
7,7 |
5,0 |
2,8 |
2,0 |
1,3 |
1,0 |
1,0 |
1,0 |
1,0 |
|
При использовании манометров класса точности 0,4 |
|||||||||||
|
0,005 - 0,3 |
0,45 |
|
13,4 |
8,7 |
5,0 |
5,0 |
5,0 |
5,0 |
- |
- |
- |
|
0,3 - 0,6 |
0,75 |
17,7 |
7,1 |
5,0 |
5,0 |
5,0 |
5,0 |
5,0 |
- |
- |
- |
|
0,6 - 1,2 |
1,5 |
7,2 |
5,0 |
5,0 |
5,0 |
5,0 |
5,0 |
5,0 |
- |
- |
- |
|
При использовании манометров класса точности 0,6 |
|||||||||||
|
0,005 - 0,3 |
0,45 |
|
9,0 |
5,8 |
- |
- |
- |
- |
- |
- |
- |
|
0,3 - 0,6 |
0,75 |
11,8 |
- |
- |
- |
- |
- |
- |
- |
- |
- |
|
Примечание. Знак «-» означает, что применение манометров данного класса точности для испытания данных газопроводов не рекомендуется. |
|||||||||||
12.2 Приемочная комиссия проверяет комплектность и правильность составления исполнительной документации, производит внешний осмотр объекта с целью определения соответствия выполненных строительно-монтажных работ проекту, СНиП 42-01, «Правилам безопасности систем газораспределения и газопотребления» Госгортехнадзора России и другим нормативным документам, утвержденным в установленном порядке.
12.3 Приемочная комиссия имеет право с привлечением исполнителей проверять любые участки газопроводов и качество сварки физическими методами или вырезкой их для механических испытаний, производить дополнительные испытания газопроводов и оборудования, образовывать при необходимости подкомиссии с привлечением требуемых специалистов для проверки отдельных сооружений и оборудования.
12.4 Не допускается принимать в эксплуатацию объекты, не полностью законченные строительством, с несогласованными в установленном порядке отступлениями от проекта или состава пускового комплекса, без проведения комплексного опробования оборудования (если оно необходимо), а также без принятой в эксплуатацию ЭХЗ газопроводов (если она предусмотрена проектом), испытаний газопроводов на герметичность, проверки качества изоляционных покрытий, комплекта исполнительной документации в соответствии с требованиями СНиП 42-01.
12.5 Результаты работы приемочной комиссии оформляются актом приемки законченного строительством объекта системы газораспределения, являющимся основанием для ввода объекта в эксплуатацию. Форма акта приемки приведена в приложении Б СНиП 42-01.
12.6 В тех случаях, когда после монтажа системы газоснабжения требуется проведение пуско-наладочных работ, приемочной комиссии рекомендуется произвести приемку смонтированных газопроводов и установленного газоиспользующего оборудования с автоматикой безопасности и регулирования для проведения комплексного опробования, результаты которой оформляются актом по форме приложения П настоящего СП, на основании которого заказчик получает разрешение на пуск газа для проведения пуско-наладочных работ.
В период производства пуско-наладочных работ объект строительства передается заказчику, который несет ответственность за его безопасность. После представления заказчиком приемочной комиссии результатов комплексного опробования производится приемка объекта в эксплуатацию, которая оформляется актом приемки по приложению Б СНиП 42-01, являющимся основанием для пуска газа и ввода объекта системы газораспределения в эксплуатацию.
12.7 При приемке в эксплуатацию объекта системы газораспределения генеральный подрядчик должен представить приемочной комиссии комплект исполнительной документации в соответствии с требованиями СНиП 42-01.
Из перечня исполнительной документации, предусмотренной СНиП 42-01, в комплект исполнительной документации на конкретный объект строительства должны быть включены документы, соответствующие видам строительно-монтажных работ, выполненных на этом объекте.
12.8 В приложениях к настоящему СП приведены следующие рекомендуемые формы исполнительной документации:
- строительный паспорт подземного (надземного) газопровода, газового ввода - приложение Р;
- строительный паспорт внутридомового (внутрицехового) газооборудования - приложение С;
- строительный паспорт ГРП (ГРУ) - приложение Т;
- строительный паспорт резервуарной установки СУГ - приложение У;
- протокол проверки сварных стыков газопровода радиографическим методом - приложение Ф;
- протокол механических испытаний сварных стыков стального газопровода - приложение X;
- протокол механических испытаний сварных соединений полиэтиленового газопровода - приложение Ц;
- протокол проверки сварных стыков газопровода ультразвуковым методом - приложение Ш;
- протокол проверки параметров контактной сварки (пайки) газопроводов - приложение Щ.
Система сварных стыков стальных и полиэтиленовых газопроводов входит в состав строительного паспорта газопровода (газового ввода).
Пример оформления схемы приведен в приложении П. При строительстве межпоселковых подземных газопроводов разрешается указывать на схеме только стыки углов поворота газопроводов, выполненные фитингами, стыки на участках газопровода, прокладываемых в стесненных условиях, за пределами футляра (по одному стыку в каждую сторону от футляра), монтажные (замыкающие) стыки, стык врезки в существующий газопровод.
12.9 Исполнительная документация, представляемая генеральным подрядчиком в соответствии с требованиями СНиП 42-01, формы которой не приведены в настоящем СП, может составляться в соответствии с требованиями других нормативных документов, а при их отсутствии - в произвольной форме.
12.10 Журнал учета работ рекомендуется составлять в соответствии с требованиями СНиП 3.01.01.
12.11 При приемке в эксплуатацию систем газораспределения одно-, двухэтажного жилого дома с количеством квартир не более четырех допускается предъявлять приемочной комиссии исполнительную документацию на бланке по форме приложения Э.
12.12 Заказчик представляет приемочной комиссии результаты комплексного опробования газового оборудования, комплект документов в соответствии с требованиями ПБ 12-529 и ПБ 12-609, акты приемки работ, выполненных по договору с ним субподрядными организациями.
(справочное)
Таблица А.1
|
Потребители газа |
Показатель потребления газа |
Нормы расхода теплоты, МДж (тыс. ккал) |
|
1. Население |
||
|
При наличии в квартире газовой плиты и централизованного горячего водоснабжения при газоснабжении: природным газом |
На 1 чел. в год |
4100 (970) |
|
СУГ |
То же |
3850 (920) |
|
При наличии в квартире газовой плиты и газового водонагревателя (при отсутствии централизованного горячего водоснабжения) при газоснабжении: природным газом |
» |
10000 (2400) |
|
СУГ |
» |
9400 (2250) |
|
При наличии в квартире газовой плиты и отсутствии централизованного горячего водоснабжения и газового водонагревателя при газоснабжении: природным газом |
» |
6000 (1430) |
|
СУГ |
» |
5800 (1380) |
|
2. Предприятия бытового обслуживания населения |
||
|
Фабрики-прачечные: на стирку белья в механизированных прачечных |
На 1 т сухого белья |
8800 (2100) |
|
на стирку белья в немеханизированных прачечных с сушильными шкафами |
То же |
12600 (3000) |
|
на стирку белья в механизированных прачечных, включая сушку и глажение |
» |
18800 (4500) |
|
Дезкамеры: на дезинфекцию белья и одежды в паровых камерах |
» |
2240 (535) |
|
на дезинфекцию белья и одежды в горячевоздушных камерах |
» |
1260 (300) |
|
Бани: мытье без ванн |
На 1 помывку |
40 (9,5) |
|
мытье в ваннах |
То же |
50 (12) |
|
3. Предприятия общественного питания |
||
|
Столовые, рестораны, кафе: на приготовление обедов (вне зависимости от пропускной |
На 1 обед |
4,2 (1) |
|
способности предприятия) на приготовление завтраков или ужинов |
На 1 завтрак или ужин |
2,1 (0,5) |
|
4. Учреждения здравоохранения |
||
|
Больницы, родильные дома: на приготовление пищи |
На 1 койку в год |
3200 (760) |
|
на приготовление горячей воды для хозяйственно-бытовых нужд и лечебных процедур (без стирки белья) |
То же |
9200 (2200) |
|
5. Предприятия по производству хлеба и кондитерских изделий |
||
|
Хлебозаводы, комбинаты, пекарни: на выпечку хлеба формового |
На 1 т изделий |
2500 (600) |
|
на выпечку хлеба подового, батонов, булок, сдобы |
То же |
5450 (1300) |
|
на выпечку кондитерских изделий (тортов, пирожных, печенья, пряников и т.п.) |
» |
7750 (1850) |
|
Примечания: 1. Нормы расхода теплоты на жилые дома, приведенные в таблице, учитывают расход теплоты на стирку белья в домашних условиях. 2. При применении газа для лабораторных нужд школ, вузов, техникумов и других специальных учебных заведений норму расхода теплоты следует принимать в размере 50 МДж (12 тыс. ккал) в год на одного учащегося. |
||
(рекомендуемое)
Абсолютная шероховатость внутренней поверхности газопроводов принята: из стальных труб п = 0,01 см; из полиэтиленовых труб п = 0,0007 см.
Наружные диаметры и толщины стенок стальных и полиэтиленовых газопроводов, использованные при построении номограмм, приведены в таблице Б.1.
В номограммах приняты следующие условные обозначения:
буквенные:
- СТ108 - газопровод из стальных труб диаметром D = 108 мм;
- ПЭ110 - газопровод из полиэтиленовых труб диаметром D = 110 мм;
линейные:
- сплошная линия - для новых труб;
- штриховая линия «экс» - для труб после годичной эксплуатации с учетом увеличения эквивалентной абсолютной шероховатости до 0,02 см для стальных труб и увеличения диаметра до 5 % под воздействием внутреннего давления для полиэтиленовых труб;
- штриховая линия «экс 10» - для стальных труб после 10-летней эксплуатации с учетом увеличения эквивалентной абсолютной шероховатости до 0,1 см.
Таблица Б.1
|
Газопроводы из стальных труб низкого, среднего и высокого давления |
||||||||||||||||||||||||||||||||||||||||||
|
Диаметр D, мм |
32 |
38 |
45 |
57 |
76 |
89 |
108 |
133 |
159 |
194 |
219 |
273 |
325 |
375 |
426 |
530 |
630 |
|||||||||||||||||||||||||
|
Толщина стенки D, мм |
2,5 |
2,5 |
2,5 |
3,0 |
3,0 |
3,5 |
5,0 |
5,5 |
5,5 |
6,0 |
7,0 |
9,0 |
5,0 |
6,0 |
6,0 |
6,0 |
6,0 |
|||||||||||||||||||||||||
|
Газопроводы из полиэтиленовых труб низкого и среднего давления (SDR11 £ 63 мм и SDR 17,6 ³75 мм) |
||||||||||||||||||||||||||||||||||||||||||
|
Диаметр D, мм |
32 |
40 |
50 |
63 |
75 |
90 |
110 |
125 |
140 |
160 |
180 |
200 |
225 |
|||||||||||||||||||||||||||||
|
Толщина стенки D, мм |
3,0 |
3,7 |
4,6 |
5,8 |
4,3 |
5,2 |
6,3 |
7,1 |
8,0 |
9,1 |
10,3 |
11,4 |
12,8 |
|||||||||||||||||||||||||||||
|
Газопроводы из полиэтиленовых труб высокого давления (SDR11) |
||||||||||||||||||||||||||||||||||||||||||
|
Диаметр D, мм |
32 |
40 |
50 |
63 |
75 |
90 |
110 |
125 |
140 |
160 |
180 |
200 |
225 |
- |
||||||||||||||||||||||||||||
|
Толщина стенки D, мм |
3,0 |
3,7 |
4,6 |
5,8 |
6,8 |
8,2 |
10,0 |
11,4 |
12,7 |
14,6 |
16,4 |
18,2 |
20,5 |
- |
||||||||||||||||||||||||||||
Удельные потери давления для стальных и полиэтиленовых труб (новых и бывших в эксплуатации) низкого давления (Q 500 - 3000 м3/ч, r = 0,73 кг/м3, n = 1,4 ´ 10-6 м2/с)

Удельные потери давления для стальных и полиэтиленовых труб (новых и бывших в эксплуатации) низкого давления (Q 50 - 500 м3/ч, r = 0,73 кг/м3, n = 1,4 ´ 10-6 м2/с)

Удельные потери давления для стальных и полиэтиленовых труб (новых и бывших в эксплуатации) низкого давления (Q 10 - 150 м3/ч, r = 0,73 кг/м3, n = 1,4 ´ 10-6 м2/с)

Удельные потери давления для стальных и полиэтиленовых труб (новых и бывших в эксплуатации) среднего давления (Q 1000 - 5000 м3/ч, r = 0,73 кг/м3, n = 1,4 ´ 10-6 м2/с)

Удельные потери давления для стальных и полиэтиленовых труб (новых и бывших в эксплуатации) низкого давления (Q 250 - 1250 м3/ч, r = 0,73 кг/м3, n = 1,4 ´ 10-6 м2/с)

Удельные потери давления для стальных и полиэтиленовых труб (новых и бывших в эксплуатации) среднего давления (Q 0 - 300 м3/ч, r = 0,73 кг/м3, n = 1,4 ´ 10-6 м2/с)

Удельные потери давления для стальных и полиэтиленовых труб (новых и бывших в эксплуатации) среднего давления (Q 250 - 1000 м3/ч, r = 0,73 кг/м3, n = 1,4 ´ 10-6 м2/с)

Удельные потери давления для стальных и полиэтиленовых труб (новых и бывших в эксплуатации) среднего давления (Q 0 - 150 м3/ч, r = 0,73 кг/м3, n = 1,4 ´ 10-6 м2/с)

Удельные потери давления для стальных и полиэтиленовых труб (новых и бывших в эксплуатации) среднего давления (Q 0 - 300 м3/ч, r = 0,73 кг/м3, n = 1,4 ´ 10-6 м2/с)

Удельные потери давления для стальных и полиэтиленовых труб (новых и бывших в эксплуатации) высокого давления (Q 2000 - 10000 м3/ч, r = 0,73 кг/м3, n = 1,4 ´ 10-6 м2/с)

Удельные потери давления для стальных и полиэтиленовых труб (новых и бывших в эксплуатации) высокого давления (Q 500 - 2500 м3/ч, r = 0,73 кг/м3, n = 1,4 ´ 10-6 м2/с)

Удельные потери давления для стальных и полиэтиленовых труб (новых и бывших в эксплуатации) высокого давления (Q 0 - 550 м3/ч, r = 0,73 кг/м3, n = 1,4 ´ 10-6 м2/с)

Удельные потери давления для стальных и полиэтиленовых труб (новых и бывших в эксплуатации) высокого давления (Q 500 - 1000 м3/ч, r = 0,73 кг/м3, n = 1,4 ´ 10-6 м2/с)

Удельные потери давления для стальных и полиэтиленовых труб (новых и бывших в эксплуатации) высокого давления (Q 0 - 200 м3/ч, r = 0,73 кг/м3, n = 1,4 ´ 10-6 м2/с)

Удельные потери давления для стальных и полиэтиленовых труб (новых и бывших в эксплуатации) высокого давления (Q 0 - 500 м3/ч, r = 0,73 кг/м3, n = 1,4 ´ 10-6 м2/с)

(справочное)
Таблица В.1
|
Здания, сооружения и коммуникации |
Расстояния по вертикали (в свету), м, при пересечении |
Расстояния по горизонтали (в свету), м, при давлении газопровода, МПа |
|||
|
до 0,005 |
св. 0,005 до 0,3 |
св. 0,3 до 0,6 |
св. 0,6 до 1,2 |
||
|
1. Водопровод |
0,2 |
1,0 |
1,0 |
1,5 |
2,0 |
|
2. Канализация бытовая |
0,2 |
1,0 |
1,5 |
2,0 |
5,0 |
|
3. Водосток, дренаж, дождевая канализация |
0,2 |
1,0 |
1,5 |
2,0 |
5,0 |
|
4. Тепловые сети: |
|
|
|
|
|
|
от наружной стенки канала, тоннеля |
0,2 |
0,2 |
2,0 |
2,0 |
4,0 |
|
от оболочки бесканальной прокладки |
0,2 |
1,0 |
1,0 |
1,5 |
2,0 |
|
5. Газопроводы давлением до 1,2 МПа |
0,2 |
0,5 |
0,5 |
0,5 |
0,5 |
|
6. Кабели силовые напряжением: |
|
|
|
|
|
|
до 35 кВ |
0,5 |
1,0 |
1,0 |
1,0 |
2,0 |
|
110 - 220 кВ |
1,0 |
1,0 |
1,0 |
1,0 |
2,0 |
|
Кабели связи |
0,5 |
1,0 |
1,0 |
1,0 |
1,0 |
|
7. Каналы, тоннели |
0,2 |
2,0 |
2,0 |
2,0 |
4,0 |
|
8. Нефтепродуктопроводы на территории поселений: |
|
|
|
|
|
|
для стальных газопроводов |
0,35 |
2,5 |
2,5 |
2,5 |
2,5 |
|
для полиэтиленовых газопроводов |
0,35* |
20,0 |
20,0 |
20,0 |
20,0 |
|
Магистральные трубопроводы |
0,35* |
|
По СНиП 2.05.06 |
||
|
9. Фундаменты зданий и сооружений до газопроводов условным диаметром: |
|
|
|
|
|
|
до 300 мм |
- |
2,0 |
4,0 |
7,0 |
10,0 |
|
св. 300 мм |
- |
2,0 |
4,0 |
7,0 |
20,0 |
|
10. Здания и сооружения без фундамента |
|
Из условий возможности и безопасности производства работ при строительстве и эксплуатации газопровода |
|||
|
11. Фундаменты ограждений, предприятий, эстакад, опор контактной сети и связи, железных дорог |
- |
1,0 |
1,0 |
1,0 |
1,0 |
|
12. Железные дороги общего пользования колеи 1520 мм: |
По СНиП 42-01 в зависимости от способа производства работ |
50 |
50 |
50 |
50 |
|
межпоселковые газопроводы: подошва насыпи или бровка откоса выемки (крайний рельс на нулевых отметках) железных дорог общей сети колеи 1520 мм |
|||||
|
газопроводы на территории поселений и межпоселковые газопроводы в стесненных условиях: |
|
|
|
|
|
|
ось крайнего рельса, но не менее глубины траншеи до подошвы насыпи и бровки выемки |
3,8 |
4,8 |
7,8 |
10,8 |
|
|
13. Ось крайнего пути железных дорог колеи 750 мм и трамвая |
По СНиП 42-01 в зависимости от способа производства работ |
2,8 |
2,8 |
3,8 |
3,8 |
|
14. Бортовой камень улицы, дороги (кромки проезжей части, укрепленной полосы, обочины) |
То же |
1,5 |
1,5 |
2,5 |
2,5 |
|
15. Наружная бровка кювета или подошва насыпи дороги |
» |
1,0 |
1,0 |
1,0 |
2,0 |
|
16. Фундаменты опор воздушных линий электропередачи напряжением: |
|
|
|
|
|
|
до 1,0 кВ |
- |
1,0 |
1,0 |
1,0 |
1,0 |
|
св. 1 кВ до 35 кВ |
- |
5,0 |
5,0 |
5,0 |
5,0 |
|
» 35 кВ |
- |
10,0 |
10,0 |
10,0 |
10,0 |
|
17. Ось ствола дерева с диаметром кроны до 5 м |
- |
1,5 |
1,5 |
1,5 |
1,5 |
|
18. Автозаправочные станции |
- |
20 |
20 |
20 |
20 |
|
19. Кладбища |
- |
15 |
15 |
15 |
15 |
|
20. Здания закрытых складов категорий А, Б (вне территории промпредприятий) до газопровода условным диаметром: |
|
|
|
|
|
|
до 300 мм |
- |
9.0 |
9,0 |
9,0 |
10,0 |
|
св. 300 мм |
- |
9,0 |
9,0 |
9,0 |
20,0 |
|
То же, категорий В, Г и Д до газопровода условным диаметром: |
|
|
|
|
|
|
до 300 мм |
- |
2,0 |
4,0 |
7,0 |
10,0 |
|
св. 300 мм |
- |
2,0 |
4,0 |
7,0 |
20,0 |
|
21. Бровка оросительного канала (при непросадочных грунтах) |
В соответствии со СНиП 42-01 |
1,0 |
1,0 |
2,0 |
2,0 |
|
Примечания: 1. Вышеуказанные расстояния следует принимать от границ, отведенных предприятиям территорий с учетом их развития, для отдельно стоящих зданий и сооружений - от ближайших выступающих их частей, для всех мостов - от подошвы конусов. 2. Допускается уменьшение до 0,25 м расстояния по вертикали между газопроводом и электрокабелем всех напряжений или кабелем связи при условии прокладки кабеля в футляре. Концы футляра должны выходить на 2 м в обе стороны от стенок пересекаемого газопровода. 3. Знак «-» обозначает, что прокладка газопроводов в данных случаях запрещена. 4. При прокладке полиэтиленовых газопроводов вдоль трубопроводов, складов, резервуаров и т.д., содержащих агрессивные по отношению к полиэтилену вещества (среды), расстояния от них принимаются не менее 20 м. 5. Знак «*» обозначает, что полиэтиленовые газопроводы следует заключать в футляр, выходящий на 10 м в обе стороны от места пересечения. |
|||||
Расстояние от газопровода до опор воздушной линии связи, контактной сети трамвая, троллейбуса и электрифицированных железных дорог следует принимать как до опор воздушной линии электропередачи соответствующего напряжения.
Минимальные расстояния от газопроводов до тепловой сети бесканальной прокладки с продольным дренажем следует принимать аналогично канальной прокладке тепловых сетей.
Минимальные расстояния в свету от газопровода до ближайшей трубы тепловой сети бесканальной прокладки без дренажа следует принимать как до водопровода.
Расстояние от анкерных опор, выходящих за габариты труб тепловой сети, следует принимать с учетом их сохранности.
Минимальное расстояние по горизонтали от газопровода до напорной канализации допускается принимать как до водопровода.
Минимальное расстояние от мостов железных и автомобильных дорог длиной не более 20 м следует принимать как от соответствующих дорог.
(рекомендуемое)
Г.1 В настоящем приложении приведены рекомендуемые положения к проектированию дымовых и вентиляционных каналов для газоиспользующего оборудования, бытовых отопительных и отопительно-варочных печей.
При проектировании дымовых каналов от газоиспользующих установок производственных зданий и котельных следует руководствоваться требованиями СНиП II-35.
При переводе существующих котлов, производственных печей и других установок с твердого и жидкого на газовое топливо должен выполняться поверочный расчет газовоздушного тракта.
Г.2 Устройство дымовых и вентиляционных каналов должно соответствовать требованиям СНиП 2.04.05.
Г.3 Дымовые каналы от газоиспользующего оборудования, устанавливаемого в помещениях предприятий общественного питания, торговли, бытового обслуживания населения, офисах, встроенных в жилое здание, запрещается объединять с дымовыми каналами жилого здания.
Вентиляция вышеуказанных помещений также должна быть автономной.
Г.4 Отвод продуктов сгорания от газоиспользующего оборудования, установленного в помещениях офисах, размещаемых в габаритах одной квартиры, а также вентиляцию этих помещений следует предусматривать как для жилых зданий.
Г.5 Отвод продуктов сгорания от бытовых печей и газоиспользующего оборудования, в конструкции которого предусмотрен отвод продуктов сгорания в дымовой канал (дымовую трубу) (далее - канал), предусматривают от каждой печи или оборудования по обособленному каналу в атмосферу.
В существующих зданиях допускается предусматривать присоединение к одному каналу не более двух печей, приборов, котлов, аппаратов и т.д., расположенных на одном или разных этажах здания, при условии ввода продуктов сгорания в канал на разных уровнях (не ближе 0,75 м один от другого) или на одном уровне с устройством в канале рассечки на высоту не менее 0,75 м.
В жилых зданиях допускается предусматривать присоединение к одному вертикальному дымовому каналу более одного газоиспользующего отопительного оборудования с герметичной камерой сгорания и встроенным устройством для принудительного удаления дымовых газов. Данное оборудование располагают на разных этажах здания. Количество оборудования, присоединяемого к одному каналу, определяется расчетом.
Не рекомендуется присоединение бытового оборудования к каналу отопительной печи длительного горения.
Г.6 Каналы от газового оборудования следует размещать во внутренних стенах здания или предусматривать к этим стенам приставные каналы.
В существующих зданиях допускается использовать существующие дымовые каналы из несгораемых материалов в наружных стенах или предусматривать к ним приставные каналы.
Г.7 Допускается присоединение газоиспользующего оборудования периодического действия (проточного водонагревателя и т.п.) к каналу отопительной печи с периодической топкой при условии разновременной их работы и достаточного сечения канала для удаления продуктов сгорания от присоединяемого оборудования.
Присоединение соединительной трубы газоиспользующего оборудования к оборотам дымохода отопительной печи не допускается.
Г.8 Площадь сечения канала не должна быть меньше площади сечения патрубка присоединяемого газоиспользующего оборудования или печи. При присоединении к каналу двух приборов, аппаратов, котлов, печей и т.п. сечение его следует определять с учетом одновременной их работы. Конструктивные размеры каналов определяются расчетом.
Г.9 Отвод продуктов сгорания от ресторанных плит, пищеварочных котлов и т.п. допускается предусматривать как в обособленный канал от каждого оборудования, так и в общий канал. Отвод продуктов сгорания от газоиспользующего оборудования, установленного в непосредственной близости друг от друга, допускается производить под один зонт и далее в сборный канал.
Допускается предусматривать соединительные трубы, общие для нескольких приборов (оборудования).
Сечения каналов и соединительных труб должны определяться расчетом исходя из условия одновременной работы всего оборудования, присоединенного к каналу и соединительным трубам.
Г.10 Дымовые каналы следует выполнять из обыкновенного керамического кирпича, глиняного кирпича, жаростойкого бетона, а также стальных и асбестоцементных труб для одноэтажных зданий. Наружную часть кирпичных каналов следует выполнять из кирпича, степень морозостойкости которого соответствует требованиям СНиП II-22.
Дымовые каналы также могут быть заводского изготовления и поставляться в комплекте с газовым оборудованием.
При установке асбестоцементных и стальных труб вне здания или при прохождении их через чердак здания они должны быть теплоизолированы для предотвращения образования конденсата. Конструкция дымовых каналов в наружных стенах и приставных к этим стенам каналов также должна обеспечивать температуру газов на выходе из них выше точки росы.
Не допускается выполнять каналы из шлакобетонных и других неплотных или пористых материалов.
Г.11 Каналы должны быть вертикальными, без уступов. Допускается уклон каналов от вертикали до 30° с отклонением в сторону до 1 м при условии, что площадь сечения наклонных участков канала будет не менее сечения вертикальных участков.
Для отвода продуктов сгорания от ресторанных плит, пищеварочных котлов и подобных газовых приборов допускается предусматривать размещенные в полу горизонтальные участки каналов общей длиной не более 10 м при условии устройства противопожарной разделки для сгораемых и трудносгораемых конструкций пола и перекрытия. Каналы должны быть доступны для чистки.
Г.12 Присоединение газоиспользующего оборудования к каналам следует предусматривать соединительными трубами, изготовленными из кровельной или оцинкованной стали толщиной не менее 1,0 мм, гибкими металлическими гофрированными патрубками или унифицированными элементами, поставляемыми в комплекте с оборудованием.
Суммарную длину горизонтальных участков соединительной трубы в новых зданиях следует принимать не более 3 м, в существующих зданиях - не более 6 м.
Уклон соединительной трубы следует принимать не менее 0,01 в сторону газового оборудования.
На соединительных трубах допускается предусматривать не более трех поворотов с радиусом закругления не менее диаметра трубы.
Ниже места присоединений соединительной трубы к каналам должно быть предусмотрено устройство «кармана» с люком для чистки, к которому должен быть обеспечен свободный доступ.
Соединительные трубы, прокладываемые через неотапливаемые помещения, при необходимости должны быть теплоизолированы.
Г.13 Не допускается прокладка соединительных труб от газоиспользующего оборудования через жилые комнаты.
Г.14 Расстояние от соединительной трубы до потолка или стены из несгораемых материалов следует принимать не менее 5 см, а из сгораемых и трудносгораемых материалов - не менее 25 см. Допускается уменьшение расстояния с 25 до 10 см при условии защиты сгораемых и трудносгораемых конструкций кровельной сталью по листу асбеста толщиной не менее 3 мм. Теплоизоляция должна выступать за габариты соединительной трубы на 15 см с каждой стороны.
Г.15 При присоединении к каналу одного газоиспользующего прибора (оборудования), а также оборудования со стабилизаторами тяги шиберы на соединительных трубах не предусматриваются.
При присоединении к сборному дымоходу газоиспользующего оборудования, не имеющего стабилизаторов тяги, на соединительных трубах от оборудования должны предусматриваться шиберы, имеющие отверстие диаметром не менее 15 мм.
Г.16 При установке в отопительной печи газогорелочного устройства периодического действия в конструкции печи должен быть предусмотрен шибер. Установка шиберов в печи с непрерывной топкой запрещается. Отопительно-варочная печь при переводе на газовое топливо должна иметь три шибера (один для летнего хода, другой - для зимнего, третий - вентиляционный).
Г.17 Дымовые каналы от газоиспользующего оборудования в зданиях должны быть выведены (рисунок Г.1):
- не менее 0,5 м выше конька или парапета кровли при расположении их (считая по горизонтали) не далее 1,5 м от конька или парапета кровли;
- в уровень с коньком или парапетом кровли, если они отстоят на расстоянии до 3 м от конька кровли или парапета;
- не ниже прямой, проведенной от конька или парапета вниз под углом 10° к горизонту, при расположении труб на расстоянии более 3 м от конька или парапета кровли;
- не менее 0,5 м выше границы зоны ветрового подпора, если вблизи канала находятся более высокие части здания, строения или деревья.
Во всех случаях высота трубы над прилегающей частью кровли должна быть не менее 0,5 м, а для домов с совмещенной кровлей (плоской) - не менее 2,0 м.
Устья кирпичных каналов на высоту 0,2 м следует защищать от атмосферных осадков слоем цементного раствора или колпаком из кровельной или оцинкованной стали.
Рисунок Г.1 - Схема вывода дымовых каналов на крышу здания
Допускается на каналах предусматривать ветрозащитные устройства.
Г.18 Дымовые каналы в стенах допускается выполнять совместно с вентиляционными каналами. При этом они должны быть разделены по всей высоте герметичными перегородками, выполненными из материала стены, толщиной не менее 120 мм. Высоту вытяжных вентиляционных каналов, расположенных рядом с дымовыми каналами, следует принимать равной высоте дымовых каналов.
Г.19 Не допускаются отвод продуктов сгорания в вентиляционные каналы и установка вентиляционных решеток на дымовых каналах.
Г.20 Разрешается отвод продуктов сгорания в атмосферу через наружную стену газифицируемого помещения без устройства вертикального канала от отопительного газоиспользующего оборудования с герметичной камерой сгорания и устройством для принудительного удаления продуктов сгорания.
Г.21 Отверстия дымовых каналов на фасаде жилого дома при отводе продуктов сгорания от отопительного газоиспользующего оборудования через наружную стену без устройства вертикального канала следует размещать в соответствии с инструкцией по монтажу газоиспользующего оборудования предприятия-изготовителя, но на расстоянии не менее:
- 2,0 м от уровня земли;
- 0,5 м по горизонтали до окон, дверей и открытых вентиляционных отверстий (решеток);
- 0,5 м над верхней гранью окон, дверей и вентиляционных решеток;
- 1,0 м по вертикали до окон при размещении отверстий под ними.
Указанные расстояния не распространяются на оконные проемы, заполненные стеклоблоками.
Не допускается размещение отверстий каналов на фасаде зданий под вентиляционной решеткой.
Наименьшее расстояние между двумя отверстиями каналов на фасаде здания следует принимать не менее 1,0 м по горизонтали и 2,0 м по вертикали.
При размещении дымового канала под навесом, балконами и карнизами кровли зданий канал должен выходить за окружность, описанную радиусом R (рисунок Г.2).
Рисунок Г.2 - Схема размещения дымового канала под навесом или балконом
Не рекомендуется предусматривать выход дымового канала через наружную стену в проезды (арки), туннели, подземные переходы и т.п.
Г.22 Длину горизонтального участка дымового канала от отопительною газоиспользующего оборудования с герметичной камерой сгорания при выходе через наружную стену следует принимать не более 3 м.
Г.23 Газоиспользующее оборудование тепловой мощностью до 10 кВт с отводом продуктов сгорания в газифицируемое помещение размещается таким образом, чтобы обеспечивался свободный выход продуктов сгорания через вытяжные вентиляционные устройства (канал, осевой вентилятор) данного помещения.
Г.24 В жилых зданиях вентиляционные каналы из помещений, в которых установлено отопительное газоиспользующее оборудование для поквартирного отопления, не допускается объединять с вентиляционными каналами других помещений (санузлов, кладовых, гаражей и т.п.).
Г.25 В качестве вентиляционных каналов могут использоваться существующие дымовые каналы, не связанные с другими действующими дымовыми каналами.
Решетки с устройствами для регулирования расхода воздуха, исключающими возможность полного их закрытия, предусматривают на вытяжных вентиляционных каналах газифицируемых помещений.
(справочное)
(Система Центрального Конструкторского Бюро Арматуры - ЦКБА)

Для арматуры с электроприводом во взрывозащитном исполнении в конце условного обозначения добавляется буква Б, например: 30ч906брБ.
(справочное)
Таблица Е.1
|
Наименование, марка запорной арматуры |
Обозначение нормативного документа |
РN, МПа |
Рабочая среда |
Материал корпуса |
Материал уплотнения |
Присоединение |
Привод |
Диаметр Dн, мм |
Длина L, мм |
Масса, кг |
Изготовитель |
|
|
Задвижки |
||||||||||||
|
1 |
Задвижка параллельная с выдвижным шпинделем 30Ч7бк |
ТУ 26-07-1247-80 |
0,6 |
нг |
ч |
бк |
ф |
р |
300 |
500 |
238 |
9 |
|
2 |
Задвижка клиновая с выдвижным шпинделем 31Ч7бк |
ТУ 26-07-1150-77 |
0,4 |
нг |
ч |
бк |
ф |
р |
50 |
180 |
17 |
9 |
|
|
|
|
|
ф |
р |
80 |
210 |
26,6 |
9 |
|||
|
|
|
|
|
ф |
р |
100 |
230 |
36,7 |
9 |
|||
|
|
|
|
|
ф |
р |
150 |
280 |
72,1 |
9 |
|||
|
ТУ 26-07-1250-80 |
|
|
|
|
ф |
р |
200 |
330 |
121 |
9 |
||
|
3 |
Задвижка клиновая с невыдвижным шпинделем 30Ч47бк |
ТУ 26-07-1150-77 |
0,6 |
нг |
ч |
бк |
ф |
р |
50 |
180 |
18,91 |
29 |
|
|
|
|
|
ф |
р |
80 |
210 |
34,1 |
29 |
|||
|
|
|
|
|
ф |
р |
100 |
230 |
44,92 |
12, 29 |
|||
|
|
|
|
|
ф |
р |
150 |
280 |
72,87 |
29 |
|||
|
4 |
Задвижка клиновая с выдвижным шпинделем 30С46нж |
ТУ 26-07-1137-76 |
0,6 |
г |
с |
нж |
ф |
р |
400 |
310 |
273 |
26 |
|
|
|
|
|
ф |
р |
500 |
350 |
412 |
26 |
|||
|
|
|
|
|
ф |
р |
600 |
390 |
523 |
26 |
|||
|
5 |
Задвижка клиновая с выдвижным шпинделем 30нж46нж |
ТУ 26-07-1137-76 |
0,6 |
г |
нж |
нж |
ф |
р |
400 |
310 |
273 |
26 |
|
|
|
|
|
ф |
р |
500 |
350 |
412 |
26 |
|||
|
|
|
|
|
ф |
р |
600 |
390 |
523 |
26 |
|||
|
6 |
Задвижка клиновая с выдвижным шпинделем 30С946нж |
ТУ 26-07-1137-76 |
0,6 |
г |
с |
нж |
ф |
эд |
400 |
310 |
320 |
26 |
|
|
|
|
|
ф |
эд |
500 |
350 |
502 |
26 |
|||
|
|
|
|
|
ф |
эд |
600 |
390 |
612 |
26 |
|||
|
7 |
Задвижка клиновая с выдвижным шпинделем 30нж946нж |
ТУ 26-07-1137-76 |
0,6 |
г |
нж |
нж |
ф |
эд |
400 |
310 |
320 |
26 |
|
|
|
|
|
ф |
эд |
500 |
350 |
502 |
26 |
|||
|
|
|
|
|
ф |
эд |
600 |
390 |
612 |
26 |
|||
|
8 |
Задвижка параллельная с выдвижным шпинделем 30Ч6бк11 30Ч906бк11 |
ГЛ 16003.03 |
1,0 |
нф, |
ч |
бк |
ф |
р |
80 |
210 |
28 |
27 |
|
ГЛ 16003.09 |
|
мс |
|
|
ф |
р |
100 |
130 |
39 |
27 |
||
|
ГЛ 16003.09 |
|
|
|
|
ф |
р |
150 |
280 |
74 |
27 |
||
|
ГЛ 16003.12 |
|
|
|
|
ф |
р |
300 |
500 |
242 |
9 |
||
|
ГЛ 16003.03 |
|
|
|
|
ф |
р |
350 |
550 |
327 |
9 |
||
|
ГЛ 16003.15 |
|
|
|
|
ф |
эд |
300 |
500 |
287 |
9 |
||
|
9 |
Задвижка клиновая с выдвижным шпинделем 30Ч12нж |
ТУ 26-07-1357-84 |
1,0 |
г |
ч |
нж |
ф |
р |
50 |
180 |
17 |
9 |
|
|
|
|
|
ф |
р |
80 |
210 |
26,6 |
9 |
|||
|
|
|
|
|
ф |
р |
100 |
230 |
36,7 |
9 |
|||
|
10 |
Задвижка клиновая с выдвижным шпинделем 30с42нж 30с942нж |
ТУ 26-07-1137-76 |
1,0 |
г |
с |
нж |
ф |
р |
150 |
210 |
70 |
26 |
|
|
|
|
|
ф |
р |
200 |
230 |
105 |
26 |
|||
|
|
|
|
|
ф |
р |
250 |
250 |
118 |
26 |
|||
|
|
|
|
|
ф |
р |
300 |
270 |
185 |
26 |
|||
|
|
|
|
|
ф |
эд |
200 |
230 |
182 |
26 |
|||
|
11 |
Задвижка клиновая с выдвижным шпинделем 30нж42нж |
ТУ 26-07-1137-76 |
1,0 |
г |
нж |
нж |
ф |
р |
150 |
210 |
70 |
26 |
|
|
|
|
|
ф |
р |
200 |
230 |
105 |
26 |
|||
|
|
|
|
|
ф |
р |
250 |
250 |
118 |
26 |
|||
|
|
|
|
|
ф |
р |
300 |
270 |
185 |
26 |
|||
|
12 |
Задвижка клиновая с выдвижным шпинделем 30с541нж 30с941нж |
ТУ 26-07-1125-77 |
1,6 |
г |
с |
нж |
ф |
р |
400 |
600 |
680 |
26 |
|
|
|
|
|
ф |
эд |
500 |
700 |
1265 |
26 |
|||
|
13 |
Задвижка клиновая с выдвижным шпинделем 30с41нж (ЗКЛ2-16) |
ТУ 3741-006-07533604-01 |
1,6 |
нп |
с |
нж |
ф |
р |
50 |
180 |
22 |
5 |
|
|
|
|
|
ф |
р |
80 |
210 |
38 |
5 |
|||
|
|
|
|
|
ф |
р |
100 |
230 |
42 |
5 |
|||
|
|
|
|
|
ф |
р |
125 |
255 |
60 |
5 |
|||
|
|
|
|
|
ф |
р |
150 |
280 |
80 |
5 |
|||
|
|
|
|
|
ф |
р |
200 |
330 |
145 |
5 |
|||
|
14 |
Задвижка клиновая с выдвижным шпинделем 30с41нж (ЗКЛ2-16) |
ТУ 26-07-1125-96 |
1,6 |
нг |
с |
нж |
ф |
р |
50 |
180 |
20 |
26 |
|
|
|
|
|
ф |
р |
80 |
210 |
35 |
26 |
|||
|
|
|
|
|
ф |
р |
100 |
230 |
45 |
26 |
|||
|
|
|
|
|
ф |
р |
150 |
350 |
98 |
26 |
|||
|
|
|
|
|
ф |
р |
200 |
400 |
220 |
26 |
|||
|
|
|
|
|
ф |
р |
250 |
450 |
320 |
26 |
|||
|
|
|
|
|
ф |
р |
300 |
500 |
451 |
26 |
|||
|
15 |
Задвижка клиновая с выдвижным шпинделем 30с941нж3 (ЗКЛПЭ-16) |
ТУ 3741-006-07533604-01 |
1,6 |
нг |
с |
нж |
ф |
эд |
50 |
180 |
26* |
5 |
|
|
|
|
|
ф |
эд |
80 |
210 |
40* |
5 |
|||
|
|
|
|
|
ф |
эд |
100 |
230 |
45* |
5 |
|||
|
|
|
|
|
ф |
эд |
150 |
280 |
84* |
5 |
|||
|
|
|
|
|
ф |
эд |
200 |
330 |
152* |
5 |
|||
|
16 |
Задвижка клиновая с выдвижным шпинделем 30с941нж3 (ЗКЛПЭ-16) |
ТУ 26-07-1125-96 |
1,6 |
нг |
с |
нж |
ф |
эд |
50 |
180 |
32 |
26 |
|
|
|
|
|
ф |
эд |
80 |
210 |
75 |
26 |
|||
|
|
|
|
|
ф |
эд |
100 |
230 |
85 |
26 |
|||
|
|
|
|
|
ф |
эд |
150 |
350 |
128 |
26 |
|||
|
|
|
|
|
ф |
эд |
200 |
400 |
290 |
26 |
|||
|
|
|
|
|
ф |
эд |
250 |
450 |
380 |
26 |
|||
|
|
|
|
|
ф |
эд |
300 |
500 |
513 |
26 |
|||
|
|
|
|
|
ф |
эд |
400 |
600 |
795 |
26 |
|||
|
|
|
|
|
ф |
эд |
500 |
700 |
1180 |
26 |
|||
|
17 |
Задвижка клиновая с выдвижным шпинделем 30с941нж2 (ЗКЛПЭ2-16) |
ТУ 26-07-1188-90 |
1,6 |
нг |
с |
нж |
ф |
эд |
50 |
180 |
64 |
42 |
|
|
|
|
|
ф |
эд |
80 |
210 |
79 |
42 |
|||
|
|
|
|
|
ф |
эд |
100 |
230 |
90 |
42 |
|||
|
|
|
|
|
ф |
эд |
150 |
280 |
176 |
42 |
|||
|
18 |
Задвижка клиновая с выдвижным шпинделем 30с41нж (ЗКЛ2-16) |
ТУ 26-07-1188-90 |
1,6 |
г |
с |
нж |
ф |
р |
50 |
180 |
25 |
4, 42 |
|
|
|
|
|
ф |
р |
80 |
210 |
38 |
4, 42 |
|||
|
|
|
|
|
ф |
р |
100 |
230 |
55 |
4, 42 |
|||
|
|
|
|
|
ф |
р |
150 |
280 |
97 |
42 |
|||
|
19 |
Задвижка клиновая с выдвижным шпинделем ЗКСН (ЗКСГ) |
ТУ 24.0387-3-91 |
1,6 |
г |
с |
нж |
ф |
р |
50 |
250 |
28 |
42 |
|
|
|
|
|
ф |
р |
80 |
280 |
42 |
42 |
|||
|
20 |
Задвижка клиновая с выдвижным шпинделем 30с41нж1 |
ТУ 26-07-1338-83 |
1,6 |
нп |
с |
нж |
ф |
р |
250 |
450 |
270 |
4 |
|
|
|
|
|
ф |
р |
300 |
500 |
310 |
4 |
|||
|
|
|
|
|
ф |
р |
350 |
550 |
480 |
1 |
|||
|
21 |
Задвижка клиновая с выдвижным шпинделем 31с92п |
ТУ 302-07-506-93 |
1,6 |
нг |
с |
п |
ф |
р |
50 |
250 |
32 |
23 |
|
|
|
|
|
ф |
р |
80 |
280 |
45 |
23 |
|||
|
|
|
|
|
ф |
р |
100 |
300 |
48 |
23 |
|||
|
22 |
Задвижка клиновая с выдвижным шпинделем 31с92п |
ТУ 302-07-492-92 |
1,6 |
нг |
с |
п |
ф |
р |
80 |
280 |
24 |
14 |
|
|
|
|
|
ф |
р |
100 |
300 |
26 |
14 |
|||
|
|
|
|
|
ф |
р |
150 |
350 |
67 |
14 |
|||
|
23 |
Задвижка клиновая с выдвижным шпинделем 30с94п |
ТУ 26-07-512-94 |
1,6 |
нг |
с |
п |
ф |
р |
50 |
178 |
22 |
32 |
|
|
|
|
|
ф |
р |
80 |
203 |
24 |
32 |
|||
|
|
|
|
|
ф |
р |
100 |
229 |
26 |
32 |
|||
|
24 |
Задвижка клиновая с выдвижным шпинделем МА11021.10 |
ТУ 26-07-1166-77 |
1,6 |
г |
с |
нж |
ф |
р |
350 |
550 |
450 |
1 |
|
|
|
|
|
ф |
р |
600 |
800 |
1940 |
1 |
|||
|
2,5 |
ам |
с |
нж |
ф |
р |
400 |
600 |
595 |
1 |
|||
|
25 |
Задвижка клиновая с выдвижным шпинделем МА11021.07 |
ТУ 26-07-1166-77 |
1,6 |
г |
с |
нж |
ф |
эд |
350 |
550 |
540 |
1 |
|
|
|
|
|
ф |
эд |
600 |
800 |
2160 |
1 |
|||
|
2,5 |
ам |
с |
нж |
ф |
эд |
400 |
600 |
670 |
1 |
|||
|
26 |
Задвижка клиновая с выдвижным шпинделем ЗКЛ2М-16 |
ТУ 95-4501-004-91 |
1,6 |
г |
с |
нж |
ф |
р |
50 |
180 |
25 |
5 |
|
|
|
|
|
ф |
р |
80 |
210 |
38 |
5 |
|||
|
|
|
|
|
ф |
эд |
100 |
230 |
55 |
5 |
|||
|
|
|
|
|
ф |
эд |
150 |
280 |
97 |
5 |
|||
|
27 |
Задвижка клиновая с выдвижным шпинделем ЗКЛ2-16ХЛ1 |
ТУ 95-4501-002-92 |
1,6 |
г |
нж |
нж |
ф |
р |
50 |
180 |
25 |
5 |
|
|
|
|
|
ф |
р |
80 |
210 |
38 |
5 |
|||
|
|
|
|
|
ф |
р |
100 |
230 |
55 |
5 |
|||
|
|
|
|
|
ф |
р |
150 |
280 |
97 |
5 |
|||
|
28 |
Задвижка клиновая с выдвижным шпинделем 30нж93нж |
ТУ 26-07-513-94 |
1,6 |
г |
нж |
нж |
ф |
р |
50 |
178 |
38 |
16 |
|
|
|
|
|
ф |
р |
80 |
203 |
60 |
16 |
|||
|
|
|
|
|
ф |
р |
100 |
229 |
67 |
16 |
|||
|
|
|
|
|
ф |
р |
150 |
267 |
115 |
16 |
|||
|
29 |
Задвижка клиновая с выдвижным шпинделем 30С82нж |
ТУ 26-07-1128-76 |
2,5 |
нф |
с |
нж |
ф/с |
р |
100 |
300 |
52 |
3 |
|
30 |
Задвижка Исмиева прямого действия ЗИС ПДУ 100 |
ТУ 306-104-25-96 |
0,6 |
г |
ч |
п |
ф |
р |
100 |
230 |
52 |
33 |
|
31 |
Задвижка Исмиева прямого действия 30Ч75п |
ТУ 3741-008-00218116-97 |
0,6 |
нг |
ч |
п |
ф |
р |
50 |
180 |
25 |
11 |
|
|
|
|
|
|
|
80 |
210 |
38 |
11 |
|||
|
|
|
|
|
|
|
100 |
230 |
48 |
11 |
|||
|
32 |
Задвижка клиновая с выдвижным шпинделем 30С42нж |
ТУ 501К-А001-001-89 |
2,5 |
г |
с |
нж |
ф |
р |
50 |
250 |
14 |
43 |
|
|
|
|
|
ф |
р |
80 |
280 |
21 |
43 |
|||
|
|
|
|
|
ф |
р |
100 |
300 |
27 |
43 |
|||
|
|
|
|
|
ф |
р |
150 |
350 |
47 |
43 |
|||
|
|
|
|
|
ф |
р |
200 |
400 |
75 |
43 |
|||
|
33 |
Задвижка клиновая с выдвижным шпинделем 31С90нж2 |
ТУ 302-07-498-92 |
2,5 |
нп |
с |
нж |
ф |
р |
150 |
350 |
104 |
22 |
|
Краны пробковые |
||||||||||||
|
34 |
Кран пробковый натяжной с пружиной 11Б12бк |
ТУ 26-07-410-87 |
0,01 |
г |
л |
бк |
м |
р |
15 |
55 |
0,25 |
10, 20, |
|
|
|
|
|
|
|
|
|
|
25, 39 |
|||
|
|
|
|
|
м |
р |
20 |
65 |
0,37 |
10, 20, |
|||
|
|
|
|
|
|
|
|
|
|
25, 39 |
|||
|
35 |
Кран пробковый натяжной 11Б34бк |
ТУ 26-23-16-92 |
0,01 |
нг |
л |
бк |
м |
р |
15 |
55 |
0,16 |
25 |
|
|
|
|
|
м |
р |
20 |
65 |
0,29 |
25 |
|||
|
36 |
Кран пробковый натяжной 11Б1бк |
ТУ 26-07-414-87 |
0,01 |
ж |
л |
бк |
м |
р |
20 |
65 |
0,36 |
39 |
|
|
|
|
|
м |
р |
25 |
80 |
0,63 |
39 |
|||
|
|
|
|
|
м |
р |
32 |
95 |
0,92 |
39 |
|||
|
|
|
|
|
м |
р |
40 |
110 |
1,65 |
20,39 |
|||
|
37 |
Кран пробковый натяжной сальниковый 11Б6бк |
ТУ 26-07-1396-87 |
1,0 |
вд |
л |
бк |
м |
р |
15 |
55 |
0,32 |
25 |
|
|
|
|
|
м |
р |
20 |
65 |
0,54 |
25 |
|||
|
|
|
|
|
м |
р |
32 |
95 |
1,44 |
25 |
|||
|
|
|
|
|
м |
р |
40 |
110 |
2,45 |
25 |
|||
|
38 |
Кран пробковый натяжной сальниковый 11ч6бк |
ТУ 26-07-1452-88 |
1,0 |
нф |
ч |
бк |
м |
р |
25 |
110 |
1,65 |
38 |
|
|
|
|
|
|
|
40 |
150 |
3,5 |
38 |
|||
|
39 |
Кран пробковый натяжной сальниковый 11ч8бк |
ТУ 26-07-1452-88 |
1,0 |
вд |
ч |
бк |
ф |
р |
25 |
110 |
3,4 |
38 |
|
|
нф |
|
|
|
|
40 |
150 |
7,3 |
38 |
|||
|
|
|
|
|
|
|
80 |
250 |
21,95 |
37 |
|||
|
40 |
Кран пробковый натяжной сальниковый 11ч6бк11 |
ТУ 26-07-1193-78 |
1,0 |
нф |
ч |
бк |
м |
р |
25 |
110 |
1,65 |
38 |
|
|
|
|
|
|
|
40 |
150 |
3,5 |
38 |
|||
|
Краны шаровые |
||||||||||||
|
41 |
Кран шаровой М39147 |
ТУ 26-07-250-79 |
0,05 |
нп |
нж |
п |
ф |
р |
15 |
120 |
0,75 |
16 |
|
|
|
|
|
ц |
р |
25 |
150 |
2,7 |
16 |
|||
|
|
|
|
|
с |
р |
40 |
200 |
8 |
16 |
|||
|
|
|
|
|
с |
р |
50 |
230 |
10,8 |
16 |
|||
|
42 |
Кран шаровой 11Б27п |
ТУ 26-07-1430-87 |
1,6 |
г |
л |
п |
м |
р |
15 |
60 |
0,26 |
6 |
|
|
|
|
|
|
|
20 |
70 |
0,44 |
6 |
|||
|
|
|
|
|
|
|
25 |
90 |
0,8 |
6 |
|||
|
|
|
|
|
|
|
40 |
120 |
1,6 |
6 |
|||
|
|
|
|
|
|
|
50 |
140 |
2,5 |
6 |
|||
|
43 |
Кран шаровой 11ч37п |
ТУ 26-07-1036-75 |
1,0 |
ж |
ч |
п |
ф |
р |
65 |
190 |
11,2 |
13 |
|
|
|
|
|
|
|
100 |
230 |
26 |
16 |
|||
|
44 |
Кран шаровой 11ч38п |
ТУ 26-07-1036-75 |
1,0 |
нф |
ч |
п |
м |
р |
15 |
80 |
0,75 |
13 |
|
|
|
|
|
|
|
20 |
100 |
1,2 |
13 |
|||
|
|
|
|
|
|
|
25 |
120 |
1,6 |
13 |
|||
|
|
|
|
|
|
|
32 |
130 |
2,35 |
13 |
|||
|
|
|
|
|
|
|
40 |
150 |
3,5 |
13 |
|||
|
|
|
|
|
|
|
50 |
170 |
6 |
13 |
|||
|
|
|
|
|
|
|
65 |
190 |
8,7 |
13 |
|||
|
|
|
|
|
|
|
80 |
200 |
12,8 |
13 |
|||
|
45 |
Кран шаровой М39254 |
|
1,6 |
г |
с |
п |
ф, с |
р |
50 |
283 |
18,2 |
7 |
|
|
|
|
|
|
|
80 |
412 |
22,6 |
7 |
|||
|
46 |
Кран шаровой м39257 |
|
1,6 |
г |
с |
п |
ф, с |
р |
100 |
368 |
48 |
7 |
|
|
|
|
|
|
|
150 |
564 |
95 |
7 |
|||
|
47 |
Кран шаровой 11с74п (11лс74п) |
ТУ 26-07-1548-90 |
1,6 |
нп |
с, лс |
п |
ф |
р |
50 |
180 |
13 |
17 |
|
|
|
|
|
ф |
р |
80 |
210 |
25 |
17 |
|||
|
|
|
|
|
ф |
р |
100 |
230 |
36 |
17 |
|||
|
48 |
Кран шаровой 11с35п |
ТУ 26-07-235-85 |
2,5 |
г |
с |
п |
с |
р |
100 |
350 |
78 |
21 |
|
|
|
|
|
с |
р |
150 |
420 |
80 |
21 |
|||
|
49 |
Кран шаровой МА 39010 |
МА 39010 |
1,6 |
г |
с |
п |
ф |
р |
50 |
90 |
7,1 |
1 |
|
|
|
|
|
ф |
р |
80 |
120 |
12,1 |
1 |
|||
|
|
|
|
|
ф |
р |
100 |
230 |
23 |
1 |
|||
|
|
|
|
|
ф |
р |
150 |
280 |
63 |
1 |
|||
|
|
|
|
|
ф |
р |
200 |
330 |
150 |
1 |
|||
|
|
|
|
|
ф |
р |
300 |
500 |
290 |
1 |
|||
|
50 |
Кран шаровой КШ-50 |
ТУ 3712-017-07508619-96 |
1,2 |
г |
а |
п |
ф |
р |
50 |
86 |
3 |
30 |
|
|
|
|
|
|
|
|
|
|
|
|||
|
51 |
Кран шаровой |
ТУ 3742-002-29237349-96 |
2,5 |
г |
с |
п |
м |
р |
15 |
50 |
|
44 |
|
|
|
|
|
м |
р |
20 |
60 |
|
44 |
|||
|
|
|
|
|
м |
р |
50 |
150 |
|
44 |
|||
|
|
|
|
|
ф |
р |
80 |
220 |
|
44 |
|||
|
52 |
Кран шаровой ГШК для газопроводов только природного газа |
ТУ 3712-009-12213528-94 |
2,5 |
нг |
с |
п |
м |
р |
15 |
80 |
0,72 |
41 |
|
|
|
|
|
м |
р |
20 |
106 |
1,45 |
41 |
|||
|
|
|
|
|
м |
р |
25 |
106 |
1,45 |
41 |
|||
|
|
|
|
|
м |
р |
32 |
120 |
2,2 |
41 |
|||
|
|
|
|
|
м |
р |
40 |
120 |
3,5 |
41 |
|||
|
|
|
|
|
м |
р |
50 |
148 |
3,8 |
41 |
|||
|
ТУ 3712-002-12213528-93 |
2,5 |
нг |
|
п |
ф |
р |
25 |
160 |
8,1 |
41 |
||
|
|
|
|
|
ф |
р |
32 |
180 |
9,4 |
41 |
|||
|
|
|
|
|
ф |
р |
40 |
200 |
11,5 |
41 |
|||
|
|
|
|
|
ф |
р |
50 |
200 |
12,5 |
41 |
|||
|
|
|
|
|
ф |
р |
80 |
220 |
29 |
41 |
|||
|
|
|
|
|
ф |
р |
100 |
240 |
42 |
41 |
|||
|
|
|
|
|
с |
р |
15 |
230 |
1,1 |
41 |
|||
|
|
|
|
|
с |
р |
20 |
260 |
1,3 |
41 |
|||
|
|
|
|
|
с |
р |
25 |
260 |
1.9 |
41 |
|||
|
|
|
|
|
с |
р |
32 |
300 |
2,6 |
41 |
|||
|
|
|
|
|
с |
р |
40 |
300 |
4,3 |
41 |
|||
|
|
|
|
|
с |
р |
50 |
330 |
5,2 |
41 |
|||
|
53 |
Кран шаровой для подземной установки |
ТУ 4220-004-05785572-99 |
1,6 |
нг |
с |
|
с |
р |
50 |
216 |
21 |
1 |
|
|
|
|
|
с |
р |
80 |
283 |
29 |
1 |
|||
|
|
|
|
|
с |
р |
100 |
305 |
34 |
1 |
|||
|
|
|
|
|
с |
р |
150 |
457 |
119 |
1 |
|||
|
|
|
|
|
с |
р |
200 |
521 |
130 |
1 |
|||
|
|
|
|
|
с |
р |
250 |
559 |
190 |
1 |
|||
|
|
|
|
|
с |
р |
300 |
635 |
280 |
1 |
|||
|
|
|
|
|
с |
р |
400 |
860 |
1441 |
1 |
|||
|
|
|
|
|
с |
р |
500 |
1020 |
2236 |
1 |
|||
|
54 |
Кран шаровой для надземной и подземной установки |
ТУ 3742-005-05749375-99 |
1,0 |
нг |
с |
п |
с |
р |
300 |
700 |
825 |
26 |
|
|
|
|
|
с |
р |
400 |
900 |
1620 |
26 |
|||
|
|
|
|
|
с |
р |
500 |
1000 |
2220 |
26 |
|||
|
ТУ 26-07-1366-00 |
|
|
|
|
с |
р |
300 |
700 |
1000 |
26 |
||
|
|
|
|
|
с |
р |
400 |
900 |
1960 |
26 |
|||
|
|
|
|
|
с |
р |
500 |
1000 |
2600 |
26 |
|||
|
55 |
Кран шаровой неполнопроходной МА 39015-050ТУ |
ТУ 4220-004-05785572-98 |
1,6 |
нг |
с |
п |
ф |
р |
50 |
90 |
7 |
1 |
|
|
|
|
|
ф |
р |
80 |
120 |
12 |
1 |
|||
|
|
|
|
|
ф |
р |
100 |
230 |
23 |
1 |
|||
|
|
|
|
|
ф |
р |
150 |
280 |
63 |
1 |
|||
|
|
|
|
|
ф |
р |
200 |
330 |
150 |
1 |
|||
|
|
|
|
|
ф |
р |
300 |
500 |
290 |
1 |
|||
|
56 |
Кран шаровой КШ-15Г(Ж) КШ-20Г(Ж) КШ-20Г(М) КШ-32Г(Ж) КШ-50Г(Ж) КШ-80Г(Ж) КШ-100(Ж) |
ТУ 3712-031-36214188-2001 |
1,6 |
нг |
|
|
м |
р |
15 |
98 |
0,2 |
15 |
|
|
|
|
|
м |
р |
20 |
65 |
0,3 |
15 |
|||
|
|
|
|
|
м |
р |
20 |
75 |
0,37 |
15 |
|||
|
|
|
|
|
ф |
р |
32 |
90 |
2,2 |
15 |
|||
|
|
|
|
|
ф |
р |
50 |
110 |
4,2 |
15 |
|||
|
|
|
|
|
с |
р |
80 |
158 |
8,0 |
15 |
|||
|
|
|
|
|
с |
р |
100 |
180 |
14,5 |
15 |
|||
|
57 |
Кран шаровой КШ КШИ |
ТУ 37 12-002-04606952-99 |
1,6 |
нг |
|
|
м |
р |
15 |
65 |
0,9 |
19,31 |
|
|
|
|
|
м |
р |
20 |
75 |
1,0 |
19,31 |
|||
|
|
|
|
|
м |
р |
25 |
100 |
1,2 |
19,31 |
|||
|
|
|
|
|
м |
р |
32 |
105 |
1,9 |
19,31 |
|||
|
|
|
|
|
м |
р |
40 |
110 |
2,4 |
19,31 |
|||
|
|
|
|
|
м |
р |
50 |
130 |
3,9 |
19,31 |
|||
|
|
|
|
|
с |
р |
15 |
80 |
1,0 |
19,31 |
|||
|
|
|
|
|
с |
р |
20 |
90 |
1,2 |
19,31 |
|||
|
|
|
|
|
с |
р |
25 |
290 |
1,6 |
19,31 |
|||
|
|
|
|
|
с |
р |
32 |
320 |
2,6 |
19,31 |
|||
|
|
|
|
|
с |
р |
40 |
350 |
3,3 |
19,31 |
|||
|
|
|
|
|
с |
р |
50 |
450 |
5,7 |
19,31 |
|||
|
|
|
|
|
с |
р |
65 |
500 |
11,0 |
19,31 |
|||
|
|
|
|
|
с |
р |
80 |
500 |
12,0 |
19,31 |
|||
|
|
|
|
|
с |
р |
100 |
500 |
14,0 |
19,31 |
|||
|
|
|
|
|
с |
р |
125 |
500 |
30,0 |
19,31 |
|||
|
|
|
|
|
с |
р |
150 |
500 |
66,0 |
19,31 |
|||
|
|
|
|
|
с |
р |
200 |
600 |
90,0 |
19,31 |
|||
|
|
|
|
|
с |
р |
250 |
600 |
93,0 |
19,31 |
|||
|
|
|
|
|
ф |
р |
25 |
173 |
3,4 |
19,31 |
|||
|
|
|
|
|
ф |
р |
32 |
180 |
5,0 |
19,31 |
|||
|
|
|
|
|
ф |
р |
40 |
200 |
6,7 |
19,31 |
|||
|
|
|
|
|
ф |
р |
50 |
203 |
8,8 |
19,31 |
|||
|
|
|
|
|
ф |
р |
65 |
222 |
14,0 |
19,31 |
|||
|
|
|
|
|
ф |
р |
80 |
241 |
16,0 |
19,31 |
|||
|
|
|
|
|
ф |
р |
100 |
230 |
19,0 |
19,31 |
|||
|
|
|
|
|
ф |
р |
125 |
381 |
36,0 |
19,31 |
|||
|
|
|
|
|
ф |
р |
150 |
394 |
76,0 |
19,31 |
|||
|
|
|
|
|
ф |
р |
200 |
502 |
101,0 |
19,31 |
|||
|
58 |
Краны шаровые ФБ |
ТУ 3742-001-21738891-2002 |
1,6 |
нг |
|
п |
ф |
р |
15 |
130 |
2,4 |
40 |
|
|
|
|
|
ф |
р |
20 |
150 |
2,9 |
40 |
|||
|
|
|
|
|
ф |
р |
25 |
160 |
3,1 |
40 |
|||
|
|
|
|
|
ф |
р |
32 |
180 |
7,1 |
40 |
|||
|
|
|
|
|
ф |
р |
40 |
200 |
7,9 |
40 |
|||
|
|
|
|
|
ф |
р |
50 |
230 |
9,9 |
40 |
|||
|
|
|
|
|
ф |
р |
65 |
290 |
16,4 |
40 |
|||
|
|
|
|
|
ф |
р |
80 |
310 |
21,5 |
40 |
|||
|
|
|
|
|
ф |
р |
100 |
350 |
31,0 |
40 |
|||
|
|
|
|
|
ф |
р |
125 |
400 |
42,5 |
40 |
|||
|
|
|
|
|
ф |
р |
150 |
480 |
72,0 |
40 |
|||
|
|
|
|
|
м |
р |
15 |
75 |
0,7 |
40 |
|||
|
|
|
|
|
м |
р |
20 |
80 |
0,9 |
40 |
|||
|
|
|
|
|
м |
р |
25 |
90 |
0,9 |
40 |
|||
|
|
|
|
|
м |
р |
32 |
120 |
2,4 |
40 |
|||
|
|
|
|
|
м |
р |
40 |
130 |
3,1 |
40 |
|||
|
|
|
|
|
м |
р |
50 |
140 |
3,9 |
40 |
|||
|
|
|
|
|
с |
р |
25 |
127 |
1,8 |
40 |
|||
|
|
|
|
|
с |
р |
40 |
165 |
5,4 |
40 |
|||
|
|
|
|
|
с |
р |
50 |
178 |
6,6 |
40 |
|||
|
|
|
|
|
с |
р |
65 |
190 |
10,4 |
40 |
|||
|
|
|
|
|
с |
р |
80 |
220 |
13,5 |
40 |
|||
|
|
|
|
|
с |
р |
100 |
305 |
22,0 |
40 |
|||
|
|
|
|
|
с |
р |
125 |
356 |
29,5 |
40 |
|||
|
|
|
|
|
с |
р |
150 |
394 |
56,0 |
40 |
|||
|
Клапаны (вентили) |
||||||||||||
|
59 |
Вентиль запорный проходной 15с65п |
ТУ 26-07-177-85 |
1,6 |
аг |
с |
п |
ф |
р |
50 |
230 |
18,2 |
16 |
|
|
|
|
|
ф |
р |
80 |
310 |
37,5 |
16 |
|||
|
|
|
|
|
ф |
р |
100 |
350 |
50,5 |
16 |
|||
|
60 |
Вентиль запорный проходной 15Б1п |
ТУ 26-07-1392-86 |
0,6 |
п |
л |
п |
м |
р |
15 |
55 |
0,38 |
5, 24, |
|
|
|
|
|
|
|
|
|
|
34, 38 |
|||
|
|
|
|
|
м |
р |
20 |
65 |
0,47 |
5, 34, 38 |
|||
|
|
|
|
|
м |
р |
25 |
80 |
0,78 |
5 |
|||
|
ТУ 3712-001-04606952 |
|
|
|
|
м |
р |
15 |
|
|
6 |
||
|
|
|
|
|
м |
р |
20 |
|
|
6 |
|||
|
|
|
|
|
м |
р |
25 |
|
|
6 |
|||
|
|
|
|
|
м |
р |
32 |
|
|
6 |
|||
|
|
|
|
|
м |
р |
40 |
|
|
6 |
|||
|
|
|
|
|
м |
р |
50 |
|
|
6 |
|||
|
ТУ 3712-017-05749381 |
|
|
|
|
м |
р |
15 |
|
|
25 |
||
|
|
|
|
|
м |
р |
20 |
|
|
25 |
|||
|
|
|
|
|
м |
р |
25 |
|
|
25 |
|||
|
|
|
|
|
м |
р |
32 |
|
|
25 |
|||
|
61 |
Вентиль запорный проходной 15ч8п |
ТУ 3722-001-00218087 |
0,6 |
вд, п |
ч |
п |
м |
р |
15 |
|
|
9 |
|
|
|
|
|
м |
р |
20 |
|
|
9 |
|||
|
|
|
|
|
м |
р |
25 |
|
|
9 |
|||
|
|
|
|
|
м |
р |
32 |
|
|
9 |
|||
|
|
|
|
|
м |
р |
40 |
|
|
9 |
|||
|
62 |
Вентиль запорный проходной 15ч8п2 |
ТУ 26-07-1464-88 |
0,6 |
вд, п |
ч |
п |
м |
р |
15 |
90 |
0,75 |
35 |
|
|
|
|
|
м |
р |
20 |
100 |
0,9 |
35 |
|||
|
|
|
|
|
м |
р |
25 |
120 |
1,75 |
35 |
|||
|
|
|
|
|
м |
р |
32 |
140 |
2,7 |
35 |
|||
|
|
|
|
|
м |
р |
40 |
170 |
4,15 |
35 |
|||
|
|
|
|
|
м |
р |
50 |
200 |
5,8 |
35 |
|||
|
63 |
Вентиль запорный проходной 15ч8п1 |
ТУ 26-07-1464-88 |
0,6 |
вд, п |
ч |
п |
м |
р |
15 |
90 |
0,75 |
38 |
|
|
|
|
|
м |
р |
20 |
100 |
0,9 |
38 |
|||
|
|
|
|
|
м |
р |
25 |
120 |
1,75 |
38 |
|||
|
64 |
Вентиль запорный проходной 15ч9п2 |
ТУ 26-07-1464-88 |
0,6 |
вд, п |
ч |
п |
ф |
р |
40 |
170 |
7,7 |
38 |
|
|
|
|
|
|
ф |
р |
50 |
200 |
10,3 |
38 |
||
|
65 |
Вентиль запорный проходной 15ч14п |
ТУ 26-07-1473-88 |
0,6 |
вд, п |
ч |
п |
ф |
р |
65 |
290 |
22 |
12 |
|
|
|
|
|
ф |
р |
80 |
310 |
29 |
12 |
|||
|
|
|
|
|
ф |
р |
100 |
350 |
40 |
35 |
|||
|
|
|
|
|
ф |
р |
125 |
400 |
58 |
35 |
|||
|
|
|
|
|
ф |
р |
150 |
480 |
83 |
35 |
|||
|
|
|
|
|
ф |
р |
200 |
600 |
135 |
35 |
|||
|
66 |
Вентиль запорный проходной 15кч18п2 |
ТУ 3732-001-00218137 |
1,6 |
вд, п |
кч |
п |
м |
р |
15 |
90 |
0,7 |
28 |
|
|
|
|
|
м |
р |
20 |
100 |
0,9 |
28 |
|||
|
|
|
|
|
м |
р |
25 |
120 |
1,4 |
28 |
|||
|
|
|
|
|
м |
р |
32 |
140 |
2,1 |
28 |
|||
|
|
|
|
|
м |
р |
40 |
170 |
3,7 |
28 |
|||
|
|
|
|
|
м |
р |
50 |
200 |
5 |
28 |
|||
|
67 |
Вентиль запорный проходной 15кч19п2 |
ТУ 3732-002-00218137 |
1,6 |
вд, п |
кч |
п |
ф |
р |
25 |
120 |
2,7 |
28 |
|
|
|
|
|
ф |
р |
32 |
140 |
4,3 |
28 |
|||
|
|
|
|
|
ф |
р |
40 |
170 |
5,8 |
28 |
|||
|
|
|
|
|
ф |
р |
50 |
200 |
8 |
28 |
|||
|
68 |
Вентиль запорный проходной 15с18п |
ТУ 26-07-12397-86 |
2,5 |
г |
с |
п |
ф |
р |
40 |
200 |
14,6 |
9 |
|
|
|
|
|
ф |
р |
50 |
230 |
16,4 |
9 |
|||
|
|
|
|
|
ф |
р |
80 |
310 |
38 |
9 |
|||
|
|
|
|
|
ф |
р |
100 |
350 |
50 |
9 |
|||
|
|
|
|
|
ф |
р |
150 |
480 |
97 |
26 |
|||
|
|
|
|
|
ф |
р |
200 |
600 |
160 |
29 |
|||
|
69 |
Вентиль запорный проходной 15с51п4 |
ТУ 26-07-1566-91 |
2,5 |
г |
с |
п |
ф |
р |
20 |
150 |
7 |
18 |
|
|
|
|
|
ф |
р |
25 |
160 |
7,8 |
18 |
|||
|
|
|
|
|
ф |
р |
32 |
180 |
11,4 |
18 |
|||
|
* Масса без электропривода. Примечания: 1. В графе «Изготовитель» указан порядковый номер предприятия-изготовителя согласно приложению И. 2. В графах «Материал корпуса» и «Материал уплотнения» условные обозначения соответствуют приложению Е. 3. В графе «Рабочая среда» приняты следующие условные обозначения: ам - аммиак, аммиак с маслами, азотоводородоаммиачная смесь; вд - вода дистиллированная, вода, вода минеральная, вода оросительных систем, вода техническая и пластовая; г - газы, газообразные среды; ж - жидкости, жидкие среды; мс - масло, масла с растворителями; нг - природный или попутный нефтяной газ; нп - нефтепродукты, дизельное топливо, керосин, бензин, коксующиеся нефтепродукты; нф - нефть; п - пар. 4. В графе «Присоединение» приняты следующие условные обозначения: м - муфтовое; ф - фланцевое; ц - цапковое; с - под приварку. 5. В графе «Привод» приняты следующие условные обозначения: р - ручной, в том числе редукторный; эд - электропривод. |
||||||||||||
(справочное)
Таблица Ж.1
|
№ п. п. |
Наименование предприятия |
Код ОКПО |
Адрес предприятия |
|
1 |
Алексинский завод «Тяжпромарматура» |
5785579 |
301340, г. Алексин Тульской области, ул. Некрасова |
|
2 |
Ангарский ремонтно-механический завод ПО «Ангарскнефтеоргсинтез» |
5742742 |
665805, г. Ангарск Иркутской области |
|
3 |
Бакинский завод нефтепромыслового машиностроения |
0218708 |
370025, г. Баку, ул. Степная, 11 |
|
4 |
Бежицкий сталелитейный завод |
0210850 |
241038, г. Брянск, Стальзавод |
|
5 |
Благовещенский арматурный завод АО БАЗ |
0218231 |
452220, Респ. Башкортостан, г. Благовещенск, ул. Седова, 1 |
|
6 |
Бологовский арматурный завод |
4606955 |
171060, г. Бологое Тверской области, ул. Горская, 88 |
|
7 |
Бугульминский механический завод |
5749221 |
423200, Респ. Татарстан, г. Бугульма-9 |
|
8 |
ОАО «157 металлообрабатывающий завод» |
07610434 |
188350, г. Гатчина Ленинградской области |
|
9 |
Георгиевский арматурный завод АО АрЗиЛ |
2180840 |
357806, г. Георгиевск Ставропольского края, ул. Чугурина, 18 |
|
10 |
Гродненское УПП БелОГ |
3973235 |
230005, Беларусь, г. Гродно, ул. Дзержинского, 94 |
|
11 |
Гусь-Хрустальный арматурный завод АО АР-МАГУС |
2181160 |
601550, г. Гусь-Хрустальный Владимирской области, ул. Рудницкая, 4 |
|
12 |
Душанбинский арматурный завод |
0218399 |
734036, Таджикистан, г. Душанбе, ул. Джами, 2/1 |
|
13 |
Елабужский арматурный завод |
5749234 |
423630, Респ. Татарстан, г. Елабуга, ул. Ленина, 24 |
|
14 |
Завод газового оборудования |
03218952 |
427870, Удмуртия, г. Камбарка, ул. Маяковского, 2 |
|
15 |
ООО «Завод Газпроммаш» |
36214188 |
410026, г. Саратов |
|
16 |
АО «Знамя труда» им. Лепсе |
0218163 |
197061, Санкт-Петербург, ул. Дивенская, 3 |
|
17 |
ПО «Казтяжпромарматура» |
0219460 |
492000, г. Усть-Каменогорск |
|
18 |
Курганский арматурный завод АО Икар |
0218142 |
640647, г. Курган, ул. Химмашевская, 24 |
|
19 |
ЗАО «Мален» |
35506687 |
197061, Санкт-Петербург |
|
20 |
ТОО «Металл» |
20668970 |
453350, Респ. Башкортостан, г. Кумертау, ул. Ленина, 4 |
|
21 |
Новгородское АО «Контур» |
7541304 |
173021, г. Новгород, ул. Нежинская, 61 |
|
22 |
АООТ «Новочеркасскнефтемаш» |
00217627 |
346427, г. Новочеркасск Ростовской области |
|
23 |
ОАО «Оренбургский завод бурового оборудования» |
01423045 |
460462, г. Оренбург, пр. Победы, 118 |
|
24 |
Осинский машиностроительный завод |
0238001 |
618120, г. Оса Пермской области, ул. Крыловская, 5 |
|
25 |
АО «Пензенский арматурный завод» |
5749381 |
440007, г. Пенза, ул. Транспортная, 1 |
|
26 |
НПО «Пензатяжпромарматура» |
0218198 |
440020, г. Пенза, п/о 20 |
|
27 |
Первоуральский завод сантехизделий треста «Уралсантехмонтаж» |
1217291 |
623108, г. Первоуральск Свердловской области |
|
28 |
Семеновский арматурный завод |
0218137 |
606600, г. Семенов Нижегородской области, ул. Володарского, 1 |
|
29 |
Семипалатинский арматурный завод |
5604194 |
490047, Казахстан, г. Семипалатинск, п/о 47 |
|
30 |
ОАО «Сигнал» |
07508919 |
413119, г. Энгельс Саратовской области |
|
31 |
ООО «СПб Газарматура» |
47990116 |
197061, Санкт-Петербург |
|
32 |
ЗАО «Строммаш» |
12547324 |
432072, г. Ульяновск, а/я 5936 |
|
33 |
ОАО «Строммашина» |
00239296 |
155110, г. Кохма Ивановской области, ул. Кочетовой, 2 |
|
34 |
ПО «Туласантехника» |
0288466 |
300002, г. Тула, ул. Октябрьская, 48 |
|
35 |
АО «Урал-арма» |
2183830 |
417815, Казахстан, г. Уральск, ул. Магистральная, 5 |
|
36 |
Учреждение УБ 14/3 |
08550255 |
656905, г. Барнаул, пос. Куета |
|
37 |
Учреждение УФ 91/14 |
8556547 |
633420, г. Тогучин Новосибирской области |
|
38 |
Учреждение УШ-349/13 |
8558392 |
622013, г. Нижний Тагил Екатеринбургской области |
|
39 |
НПФ «Фанат» |
47156152 |
450015, г. Уфа, а/я 79 |
|
40 |
ЗАО «Фобос» |
12213528 |
152903, г. Рыбинск |
|
41 |
ПКФ «ЭКС-Форма» |
0021753 |
410026, г. Саратов, а/я 1497 |
|
42 |
Юго-Камский машиностроительный завод им. Лепсе |
21492266 |
618026, п. Юго-Камский Пермской области, ул. Труда, 1 |
|
43 |
АО «Южураларматура-Сантехник» |
52838824 |
456313, г. Миасс Челябинской области, Тургоярское шоссе |
|
44 |
ООО ИК «Энергопред-Ярдос» |
|
103527, Москва, Мосэнерго, 686 |
(рекомендуемое)
Таблица И.1
|
№ п. п. |
Конструктивные элементы |
Рекомендуемые материалы |
|
1 |
Покрытия полов |
Бетон марок М100, М150, М200, М250 с неискрящим (известняковым) наполнителем. Бетон марок М100, М150, М200, М250 с наполнителем из мраморной крошки фракции 0-20 мм и коротковолокнистой асбестовой мелочи. Асфальт с мелким (диаметром до 5 мм) наполнителем для взрывоопасных помещений и зон системы газоснабжения природным газом (не рекомендуется для систем газоснабжения углеводородными сжиженными газами из-за возможности нарушения сплошности покрытия полов при утечке газа, а также из-за необходимости проведения многократных восстановительных работ). Неглазурованная керамическая плитка по ГОСТ 6787 (с изменениями). Бетонно-мозаичная плитка |
|
2 |
Ступени лестниц, пешеходные и другие площадки, эстакады |
Рифленая сталь ромбическая, толщиной 4,0; 8,0 мм по ГОСТ 8568. Специальный металлический настил типа ВИСЛ. Углеродистые конструкционные стали обыкновенного качества марок с содержанием углерода не более 0,22 % по ГОСТ 380. Углеродистые конструкционные стали обыкновенного качества марок с содержанием углерода не более 0,24 % по ГОСТ 1050 |
|
3 |
Ограждения, оконные переплеты, механизмы закрывания и открывания фрамуг |
Сортовой и листовой горячекатаный прокат (швеллер, уголок, полоса, лист, пруток, тавр и др.) из низкоуглеродистых сталей марок 10, 20 по ГОСТ 1050 и Ст3кп. Ст3сп по ГОСТ 380. Профили стальные гнутые. Скорость скольжения в узлах трения «вал-втулка» не должна превышать 2,0 м/с |
|
4 |
Двери и ворота |
Низкоуглеродистая сталь без специальных защитных покрытий при наличии окраски и отсутствии следов ржавчины на их поверхности |
|
Примечания: 1. Не допускаются к применению для устройства полов материалы из гранита и других облицовочных материалов со сходными характеристиками по твердости, износостойкости и абразивности. 2 Для предупреждения образования коррозии на поверхности металлических конструкций рекомендуются окраска их перхлорвиниловыми лаками и эмалями (ПВХ), масляными красками (МА), а также металлизация цинком и другими неискрящими металлами. Подготовка поверхности и окраска в два слоя с грунтовкой в два слоя толщиной 55 - 60 мкм - по ГОСТ 8832. |
||
(рекомендуемое)
Таблица К.1
|
Предельные отклонения, см |
Контроль (метод и объем) |
|
|
1. Отклонения отметок дна выемок от проектных (кроме выемок в валунных, скальных и многолетнемерзлых грунтах) при черновой разработке: а) одноковшовыми экскаваторами, оснащенными ковшами с зубьями: |
Для экскаваторов с механическим приводом по видам рабочего оборудования: |
Измерительный, точки измерений устанавливаются случайным образом; число измерений на принимаемый участок должно быть не менее: |
|
драглайн |
+25 |
20 |
|
прямого копания |
+10 |
15 |
|
обратная лопата |
+15 |
10 |
|
для экскаваторов с гидравлическим приводом |
+10 |
10 |
|
б) одноковшовыми экскаваторами, оснащенными планировочными ковшами, зачистным оборудованием и другим специальным оборудованием для планировочных работ, экскаваторами-планировщиками |
+5 |
5 |
|
в) бульдозерами |
+10 |
15 |
|
г) траншейными экскаваторами |
+10 |
10 |
|
2. Отклонения отметок дна выемок от проектных при черновой разработке в скальных и многолетнемерзлых грунтах, кроме планировочных выемок: |
|
Измерительный, при числе измерений на сдаваемый участок не менее 20 в наиболее высоких местах, установленных визуальным осмотром |
|
недоборы |
Не допускаются |
|
|
переборы |
Не более 0,3 м |
|
|
3. То же, планировочных выемок: |
|
|
|
недоборы |
+10 |
То же |
|
переборы |
+20 |
» |
|
4. То же, без рыхления валунных и глыбовых грунтов: |
|
|
|
недоборы |
Не допускаются |
» |
|
переборы |
Не более величины максимального диаметра валунов (глыб), содержащихся в грунте в количестве св. 15 % по объему, но не более 0,4 м |
» |
Таблица К.2
|
Предельные отклонения |
Контроль (метод и объем) |
|
|
1. Гранулометрический состав грунта, предназначенного для обратных засыпок (при наличии специальных указаний в проекте) |
Должен соответствовать проекту. Выход за пределы диапазона, установленного проектом, допускается не более чем в 20 % определений |
Измерительный и регистрационный по указаниям проекта |
|
2. Содержание в грунте, предназначенном для обратных засыпок: |
|
|
|
древесины, волокнистых материалов, гниющего или легко сжигаемого строительного мусора |
Не допускается |
Ежесменный, визуальный |
|
растворимых солей в случае применения засоленных грунтов |
Количество не должно превышать указанного в проекте |
Измерительный по указаниям проекта, но не реже чем 1 определение на 10 тыс. м2 грунта |
|
3. Содержание мерзлых комьев в обратных засыпках от общего объема грунта: для пазух траншей с уложенными газопроводами |
Не должно превышать, % 20 |
Визуальный, периодический (устанавливается в ППР) |
|
для насыпей, уплотняемых трамбованием (на переходах дорог) |
30 |
|
|
для грунтовых подушек |
15 |
|
|
4. Размер твердых включений, в том числе мерзлых комьев, в обратных засыпках |
Не должен превышать 2/3 толщины уплотненного слоя, но не более 15 см для грунтовых подушек и 30 см для прочих насыпей и обратных засыпок |
То же |
|
5. Наличие снега и льда в обратных засыпках |
Не допускается |
» |
|
6. Температура грунта, отсыпаемого и уплотняемого при отрицательной температуре воздуха |
Должна обеспечивать сохранение немерзлого или пластичного состояния грунта до конца его уплотнения |
Измерительный, периодический (устанавливается в ППР) |
(рекомендуемое)
Л.1.1 До начала строительства необходимо уточнить на местности проектное положение газопровода.
Л.1.2 Строительство газопроводов способом наклонно-направленного бурения должны выполнять специализированные организации, имеющие необходимое оборудование и соответствующую лицензию.
Л.1.3 Работы по бурению рекомендуется выполнять при положительных температурах окружающего воздуха. Работа по прокладке протяженных газопроводов при отрицательных температурах окружающего воздуха должна выполняться круглосуточно при непрерывной работе всех систем, бурильная установка и резервуары с буровым раствором должны находиться в укрытии с температурой воздуха не ниже плюс 5 °С. Не рекомендуется планировать работы на период, когда возможно понижение температуры до минус 20 °С. При строительстве газопроводов незначительной длины (до 100 м) и диаметром до 110 мм допускается протаскивание газопровода с одновременным расширением бурового канала.
Л.1.4 Напряжения в стенке трубы при ее протаскивании по буровому каналу не должны превышать:
для стальных труб - 70 % sт; (1)
для полиэтиленовых труб - 50 % sт (2)
Л.1.5 Максимально допустимое усилие протаскивания Ргп стального газопровода по буровому каналу рассчитывается по формуле
(3)
где Ргп - усилие протаскивания стального газопровода, Н;
sт - предел текучести применяемой стальной трубы, Н/мм2;
dн - наружный диаметр трубы газопровода, мм;
dв - внутренний диаметр трубы газопровода, мм.
Л.1.6 Максимально допустимое усилие протаскивания газопровода Ргп из полиэтиленовых труб по буровому каналу не должно превышать величин, указанных в таблице Л.1.
Таблица Л.1
|
Диаметр и толщина стенки трубы газопровода, мм |
Максимально допустимое усилие протаскивания газопровода из полиэтиленовых труб Ргп, Н |
||
|
Материал трубы газопровода |
|||
|
SDR 11 |
ПЭ 80 |
ПЭ 100 |
|
|
1 |
20 ´ 3 |
1200 |
2000 |
|
2 |
25 ´ 3 |
1500 |
2500 |
|
3 |
32 ´ 3 |
2000 |
3400 |
|
4 |
40 ´ 3,7 |
3000 |
5000 |
|
5 |
50 ´ 4,6 |
4900 |
8000 |
|
6 |
63 ´ 5,8 |
7800 |
13000 |
|
7 |
75 ´ 6,8 |
11000 |
18000 |
|
8 |
90 ´ 8,2 |
15700 |
26000 |
|
9 |
110 ´ 10 |
23000 |
39000 |
|
10 |
125 ´ 11,4 |
30400 |
50600 |
|
11 |
140 ´ 12,7 |
38000 |
63000 |
|
12 |
160 ´ 14,6 |
50000 |
83000 |
|
13 |
180 ´ 16,4 |
63000 |
105000 |
|
14 |
200 ´ 18,2 |
78000 |
130000 |
|
15 |
225 ´ 20,5 |
98000 |
164000 |
Усилия протаскивания газопровода рассчитаны исходя из следующих прочностных характеристик полиэтилена:
ПЭ 80 - sт - 15,0 МПа;
ПЭ 100 - sт - 25,0 МПа.
Для предупреждения повреждения полиэтиленового газопровода при протаскивании соединение расширителя с газопроводом следует изготавливать таким, чтобы оно разрывалось при возникновении усилия протаскивания газопровода Ргп, большего, чем приведенное в таблице Л.1.
Л.1.7 Выбор бурильной установки производится по результатам расчета общего усилия протаскивания Р согласно разделу Л.4 настоящего приложения. Примеры расчета общего усилия протаскивания Ргп и усилия протаскивания газопровода из полиэтиленовых труб Ргп диаметром 110 мм при строительстве подводного перехода приведены в приложении М.
Л.1.8 Диаметр бурового канала для протаскивания стального газопровода определяется проектом и зависит от возможностей бурильной установки, применяемого оборудования, длины и диаметра прокладываемого газопровода.
Л.1.9 Соотношения диаметра бурового канала, диаметра трубы и длины газопровода из полиэтиленовых труб приведены в таблице Л.2.
Таблица Л.2
|
Диаметр бурового канала |
|
|
Меньше 50 м |
³ 1,2 диаметра трубы |
|
50 - 100 м |
³ 1,3 » » |
|
100 - 300 м |
³ 1,4 » » |
|
Более 300 м |
³ 1,5 » » |
Для твердых почв - сухой глины и плотного, слежавшегося песка диаметр бурового канала должен быть ³ 1,5 диаметра трубы.
Л.1.10 Для контроля трассы бурения (определения местонахождения буровой головки в грунте) применяются различные системы локации.
Л.2.1 Основными геометрическими параметрами трассы газопровода являются (рисунки Л.1 - Л.3):
- l - длина пилотной скважины (длина бурового канала; длина трассы газопровода);
- L - длина пилотной скважины в плане;
- d - диаметр бурового канала;
- D1 - заглубление пилотной скважины от точки забуривания;
- D2 - заглубление пилотной скважины от точки выхода буровой головки из земли;
- Ds - глубина (по вертикали) точки забуривания во входном приямке от поверхности земли;
- Н1 - заглубление пилотной скважины от поверхности земли при забуривании;
- H2 - заглубление пилотной скважины от поверхности земли при выходе буровой головки из земли;
- a1 - угол забуривания (входной угол);
- a1-i(расч) - средний расчетный текущий угол для вычислений при переходе от точки забуривания до точки максимального заглубления;
- a2 - угол на выходе буровой головки из земли;
- a2-i(расч) - средний расчетный текущий угол для вычислений при переходе от максимального заглубления до выхода буровой головки из земли.
Рисунок Л.1 - Основные геометрические параметры трассы
Л.2.2 Расстояние Ls от лафета бурильной установки до точки входа буровой головки в землю (точки забуривания) во входном приямке (рисунок Л.2) определяется по формуле
(4)
где Ls - расстояние по горизонтали от лафета буровой установки до точки входа буровой головки в землю во входном приямке, м;
Ds - глубина точки входа бура в землю во входном приямке (определяется проектом), м;
a1 - угол входа бура в землю (угол забуривания) (характеристика буровой установки), град.
Л.2.3 Радиус кривизны пилотной скважины R1 при забуривании (рисунок Л.1) определяется при переходе от максимального угла при забуривании к нулевому на максимальной глубине (пилотная скважина выполняется по плавной дуге) и по формуле
(5)
где R1 - радиус кривизны пилотной скважины при забуривании, м;
D1 - заглубление пилотной скважины от точки забуривания (определяется проектом).
Длина пилотной скважины l1 при переходе от максимального угла при забуривании к нулевому углу (рисунки Л.1, Л.2) рассчитывается по формуле
(6)
где l1 - расчетная длина пилотной скважины от точки забуривания до точки максимального заглубления (от точки М до точки A1), м.
Л.2.4 Количество буровых штанг n1 необходимое для выполнения пилотной скважины длиной l1 определяется по формуле
(7)
где lш - длина одной штанги;
n1 - количество буровых штанг, необходимое для бурения пилотной скважины длиной l1.
Рисунок Л.2 - Схема забуривания пилотной скважины
Рисунок Л.3 - Схема перехода пилотной скважины от максимального угла забуривания к нулевому углу
Л.2.5 Величина изменения текущего угла Da1 на каждой штанге при выполнении пилотной скважины на длине l1 рассчитывается по формуле
(8)
где Da1 - изменение угла на каждой штанге.
Л.2.6 Для упрощенных расчетов величины заглубления буровой головки в земле при переходе от максимального угла при забуривании (рисунки Л.2, Л.3) к нулевому при горизонтальном положении буровой головки необходимо определить средний расчетный текущий угол a1-i(расч) по формуле
(9)
где a1-i(расч) - средний расчетный текущий угол для вычислений;
ai - текущий угол (в пределах от a1 при забуривании до 0°), рассчитывается по формуле
ai = a1 - iDa1, (10)
где i - текущее число штанг, необходимое для проходки пилотной скважины длиной l1 (i = 1; 2; 3, ..., n1).
Л.2.7 Расчет текущего заглубления пилотной скважины D1-i (рисунки Л.2, Л.3)
D1-i = l1-isina1-i(расч), (11)
где l1-i - текущая длина пилотной скважины (от 0 до l1);
a1-i(расч) - средний текущий расчетный угол.
На рисунке Л.3 графически показаны:
- текущая длина пилотной скважины: li = l1-1; l1-2; l1-3, …, l1;
- текущее заглубление пилотной скважины:
Di = D1-1; D1-2; D1-3; …, D1.
При этом расчет текущего заглубления на выходе газопровода (на длине l2) выполняется аналогично расчету на входе (на длине l1).
Л.2.8 Радиус кривизны пилотной скважины R2 на выходе пилотной скважины из грунта (рисунок Л.1) рассчитывается по формуле
(12)
где R2 - радиус кривизны пилотной скважины на выходе, м;
a2 - угол на выходе, град;
D2 - заглубление пилотной скважины на выходе, определяется по формуле
D2 = D1 - h2, (13)
где h2 - перепад по высоте точки выхода пилотной скважины относительно точки забуривания, м.
Л.2.9 Длина пилотной скважины l2 при переходе от нулевого угла на максимальной глубине к углу на выходе в выходном приямке (рисунок Л.1) определяется по формуле
(14)
где l2 - теоретическая длина пилотной скважины от точки максимальной глубины до точки выхода в выходном приямке (от точки А2 до точки Н), м.
Л.2.10 Общая длина пилотной скважины l от точки входа до точки выхода (рисунок Л.1) состоит из:
l = l1 + lпр + l2, (15)
где lпр - длина прямолинейного участка;
l - общая длина пилотной скважины от точки входа до точки выхода (от точки М до точки Н).
Рисунок Л.4 - Расчетные параметры пилотной скважины
При наличии нескольких прямолинейных и криволинейных участков общую длину пилотной скважины рассчитывают по формуле
l = l1 +l1пр + l1кр + l2пр + l2кр + l3пр + … + l2, (16)
где l1пр; l1кр; l2пр; l2кр; l3пр - длины различных прямолинейных и криволинейных участков.
Л.2.11 Длина пилотной скважины в плане L1 от точки входа в грунт до точки максимального заглубления (рисунок Л.1) определяется по формуле
(17)
где L1 - длина пилотной скважины в плане от точки М до точки A1¢.
Л.2.12 Длина пилотной скважины в плане L2 от точки максимального заглубления до точки выхода из земли определяется по формуле
(18)
где L2 - длина пилотной скважины в плане от точки А2¢ до точки Н.
Л.2.13 Общая длина пилотной скважины в плане L от точки забуривания до точки выхода пилотной скважины из земли состоит из
L = L1 + Lпр + L2, (19)
где Lпр - длина прямолинейного участка в плане;
L - общая длина пилотной скважины в плане от точки М до точки H.
При наличии нескольких прямолинейных и криволинейных участков длину трассы рассчитывают по формуле
L = L1 +L1пр + L1кр + L2пр + L3кр + L3пр + … + L2, (20)
где L1пр, L1кр, L2пр, L3кр, L3пр и т.д. - длины конкретных криволинейных и прямолинейных участков пилотной скважины в плане.
По результатам расчетов параметров трассы газопровода оформляют профиль бурения (форма Г) и карту бурения (форма Д).
Л.2.14 Для расчета тяговых усилий при горизонтальном направленном бурении необходимо определить общий теоретический радиус кривизны бурового канала (рисунок Л.1):
а) для простых трасс, выполненных по плавной дуге, общий теоретический радиус равен фактическому радиусу кривизны бурового канала и рассчитывается по формуле
(21)
б) для сложных трасс за радиус кривизны пилотной скважины принимают радиус вписанной окружности, наиболее приближенной к проектному профилю пилотной скважины, который рассчитывают по формуле (рисунок Л.1)
(22)
Л.2.15 Длина плети газопровода, необходимая (и достаточная) для протаскивания, определяется по формуле
lг = l + d + 2а, (23)
где lг - длина трубы прокладываемого газопровода, м;
l - расчетная длина, м;
d - отклонение фактической длины бурового канала от расчетного размера: 10 - 20 % для газопровода из полиэтиленовых труб, 3 - 5 % для стального газопровода, м;
а - участки газопровода вне бурового канала: 1,5 - 2,5 м, м.
Л.2.16 Объем грунта Vг, удаляемого из скважины, определяется по формуле
(24)
где d - диаметр бурового канала (пилотной скважины), м;
l - теоретическая длина бурового канала, м.
Л.2.17 Потребность в буровом растворе Vр, необходимом для качественного бурения, зависит от типа грунта и колеблется в значительных пределах. В среднем для того чтобы вывести из скважины на поверхность один объем грунта, требуются 3 - 5 объемов бурового раствора (для сыпучего песка - 6 - 10 объемов).
Л.2.18 Минимальное время tmin бурения пилотной скважины (бурового канала) составляет
(25)
где Vр - объем бурового раствора, который необходим для качественного бурения, л;
Qж - производительность насоса бурильной установки, л/мин (характеристика бурильной установки).
Л.2.19 Максимальная скорость бурения vmax
(26)
Л.3.1 Исходя из закона равновесия сил взаимодействия усилие проходки пилотной скважины определяют как сумму всех видов сил сопротивления движению буровой головки и буровых штанг в пилотной скважине:
(27)
где P1* - лобовое сопротивление бурению (сопротивление движению буровой головки в грунте) с учетом искривления пилотной скважины;
P2* - сила трения от веса буровых штанг (в скважине);
P3* - увеличение силы трения от силы тяжести грунта зоны естественного свода равновесия (по М.М. Протодьяконову);
P4* - увеличение силы трения от наличия на буровых штангах выступов за пределы наружного диаметра;
P5* - дополнительные силы трения от опорных реакций;
P6* - сопротивление перемещению буровых штанг в зоне забуривания за счет смятия стенки скважины;
P7* - сопротивление на выходе при переходе от криволинейного движения к прямолинейному.
Расчет усилия проходки пилотной скважины выполняется для двух пограничных состояний:
- при благоприятных условиях: при наличии качественного бурового раствора, отсутствии фильтрации раствора в грунт, при хорошо сформированной и стабильной пилотной скважине;
- при неблагоприятных условиях: при обрушении грунта по длине пилотной скважины и фильтрации бурового раствора в грунт.
Л.3.2 Лобовое сопротивления бурению P1* рассчитывается по формуле
(28)
где Рг* - сила сопротивления бурению, Н;
li - текущая длина пилотной скважины при бурении от точки забуривания до выхода пилотной скважины из земли (от 0 до 1), м;
R - радиус кривизны пилотной скважины, м;
fp* - условный коэффициент трения вращающегося резца о грунт, рассчитывается по формуле
(29)
где fp - коэффициент трения резца о грунт;
dг - диаметр буровой головки, м;
h - подача на оборот, рассчитывается по формуле
(30)
где v - скорость бурения, м/мин;
w - угловая скорость бурения, об/мин.
Сила сопротивления бурению Рг* при разрушении грунта вращающейся буровой головкой рассчитывается по формуле
(31)
где С0 - коэффициент сцепления грунта, Н/м2 (Па);
т - ширина резца, м;
еp - глубина врезания (вылет резца), м;
r - угол внутреннего трения грунта, рад.
Л.3.3 Силу трения от веса буровых штанг в пилотной скважине Р2* рассчитывают по формуле
(32)
где qш - погонный вес буровых штанг за вычетом выталкивающей силы бурового раствора, Н/м;
R - радиус кривизны бурового канала, м;
l - длина пилотной скважины, м;
li - текущая длина пилотной скважины, м.
- углы в радианах
(1 радиан - 57,3°);
fш* - условный коэффициент трения вращающихся буровых штанг о грунт, смоченный буровым раствором, рассчитывается по формуле
(33)
где dш - наружный диаметр буровых штанг, м;
fш - коэффициент трения штанг о грунт, смоченный буровым раствором.
Погонный вес штанг qш (за вычетом выталкивающей силы бурового раствора) рассчитывается по формуле
где gш - удельный вес материала штанг, Н/м3;
gж - удельный вес бурового раствора, Н/м3;
dш - толщина стенки штанги, м.
Л.3.4 Усилие увеличения силы трения от силы тяжести грунта зоны естественного свода равновесия (по М.М. Протодьяконову) Р3* рассчитывается по формуле
(35)
где qг - погонный вес грунта зоны естественного свода равновесия (по М.М. Протодьяконову), который рассчитывается по формуле
qг = 0,5kpgг*(1 + m)dн2, (36)
где m - коэффициент бокового давления;
k - коэффициент высоты свода равновесия (по М.М. Протодьяконову), который рассчитывается по формулам:
- при
благоприятных условиях; (37)
- при
неблагоприятных условиях, (38)
где r - угол внутреннего трения грунта, рад;
gг* - объемный вес грунта с учетом разрыхления при его обрушении на буровые штанги, который рассчитывается по формуле
(39)
где gг - удельный объемный вес грунта в естественном залегании, Н/м3.
Л.3.5 Увеличение силы трения от наличия на штангах выступов за пределы наружного диаметра Р4* рассчитывается по формуле
(40)
где qб* - погонная сила сопротивления буртов земли, образованных выступами, рассчитывается по формулам, Н/м:
а) при благоприятных условиях:
(41)
где аш - расстояние между выступами на штанге, м;
gв - удельный вес воды, Н/м3;
DP3* - потеря давления бурового раствора между выступом и стенкой скважины на длине выступа, рассчитывается по формуле
(42)
где Qж - расход бурового раствора, м3/с (характеристика установки);
L3*- длина выступа на штанге, м;
d3*- наружный диаметр выступа на штанге, м;
dг - наружный диаметр буровой головки, м;
DPш - потеря давления бурового раствора между штангами и стенкой скважины на длине выступа, которая рассчитывается по формуле
(43)
б) при неблагоприятных условиях:
(44)
dупл - напряжение уплотнения грунта, которое рассчитывается по формуле
- для песчаных
грунтов, Н/м2 (Па), (45)
Аг - площадь вертикального сечения бурта, рассчитывается по формуле
(46)
п0 - пористость грунта в естественном залегании;
Dn - приращение пористости грунта при обрушении грунта зоны свода равновесия, рассчитывается по формуле
(47)
Л.3.6 Дополнительные силы трения от опорных реакций при движении в криволинейной скважине P5* рассчитываются по формуле
(48)
Ри*- силы трения от опорных реакций, определяющих изгиб буровых штанг, рассчитываются по формуле
(49)
где Еш - модуль упругости материала штанг, Н/м2 (Па);
Вш - плечо опорных реакций буровых штанг, рассчитывается по формуле
(50)
Л.3.7 Сопротивление перемещению буровых штанг в зоне забуривания рассчитывается по формуле
(51)
где Рс*- сила смятия стенки скважины при забуривании, рассчитывается по формуле
(52)
Л.3.8 Сопротивление движению при переходе от криволинейного движения к прямолинейному рассчитывается по формуле
(53)
Л.3.9 Полное усилие прокладки пилотной скважины рассчитывается по формулам:
а) при благоприятных условиях:
(54)
б) при неблагоприятных условиях (обрушении грунта по всей длине пилотной скважины и полной фильтрации бурового раствора в грунт):
(55)
Фактическое усилие прокладки пилотной скважины в реальных условиях будет находиться между пограничными величинами Pп(а) и Pп(б).
Л.4.1 Общее усилие протаскивания Р определяется как сумма всех видов сопротивления движению газопровода и расширителя в буровом канале:
Р = Рp + Рп* + Ргп, (56)
где Р - общее усилие протаскивания;
Рр - лобовое сопротивление движению расширителя;
Рп* - усилие перемещения буровых штанг;
Ргп - усилие протаскивания газопровода, которое рассчитывается по формуле
(57)
где Р2 - сила трения от веса газопровода (в буровом канале);
Р3 - увеличение силы трения от силы тяжести грунта зоны естественного свода равновесия (по М.М. Протодьяконову);
P4 - увеличение силы трения от наличия на трубе газопровода выступов за пределы наружного диаметра;
Р5 - дополнительные силы трения от опорных реакций;
Р6 - усилие сопротивления перемещению газопровода в зоне заглубления в буровой канал;
Р7 - увеличенное сопротивление перемещению при переходе от прямолинейного движения к криволинейному;
P8 - сила трения от веса газопровода, находящегося вне бурового канала.
Расчет общего усилия протаскивания выполняется для двух пограничных состояний:
- при благоприятных условиях: при наличии качественного бурового раствора, отсутствии фильтрации раствора в грунт, при хорошо сформированном и стабильном буровом канале;
- при неблагоприятных условиях: при обрушении грунта по длине бурового канала и фильтрации раствора в грунт.
Л.4.2 Лобовое сопротивление движению расширителя Рp рассчитывается по формуле
(58)
где Рг - сила сопротивления бурению, Н;
li - текущая длина бурового канала от точки забуривания до точки выхода из земли (так как протаскивание газопровода начинается с конечной точки бурового канала, то текущая длина будет изменяться в интервале от 1 до 0), м;
R - радиус кривизны бурового канала, м;
fрш* - условный коэффициент трения вращающегося расширителя о грунт, смоченный буровым раствором, рассчитывается по формуле
(59)
где fрш - коэффициент трения стального расширителя о грунт, смоченный буровым раствором;
dрш - диаметр расширителя, м;
h - подача на оборот, м.
Сила сопротивления бурению Рг рассчитывается по формуле
(60)
где р - давление жидкости на выходе из сопел расширителя, Н/м2 (Па) (характеристика оборудования буровой установки);
d3* - диаметр выступа буровых штанг, м.
Л.4.3 Силу трения от веса газопровода Р2 рассчитывают по формуле
(61)
где q - погонный вес газопровода за вычетом выталкивающей силы бурового раствора, Н/м;
R - расчетный радиус кривизны бурового канала, м;
f - коэффициент трения газопровода о грунт, смоченный буровым раствором;
l - длина бурового канала;
li - текущая длина бурового канала (в интервале от 1 до 0), м;
- углы в радианах (1 рад. - 57,3°).
Погонный вес газопровода q (за вычетом выталкивающей силы бурового раствора) рассчитывается по формуле
(62)
где gт - удельный вес материала трубы газопровода, Н/м3;
gж - удельный вес бурового раствора, Н/м3;
dн - наружный диаметр трубы газопровода, м;
d - толщина стенки трубы газопровода, м.
Л.4.4 Увеличение силы трения от силы тяжести грунта зоны естественного свода равновесия (по М.М. Протодьяконову) Р3 рассчитывается по формуле
(63)
где qг - погонный вес грунта зоны естественного свода равновесия (по М.М. Протодьяконову), рассчитывается по формуле
qг = 0,5kpgг*(1 + m)dн2, (64)
где m - коэффициент бокового давления;
gг* - объемный вес грунта с учетом разрыхления при его обрушении на газопровод, рассчитывается по формуле
(65)
где gг - удельный объемный вес грунта в естественном залегании, Н/м3;
k - коэффициент высоты свода равновесия (по М.М. Протодьяконову), рассчитывается по формуле (34) для благоприятных условий. Погонный вес грунта зоны естественно свода равновесия будет рассчитываться по формуле
qг(а) = 0,5k(а)pgг*(1 + m)dн2, (66)
а усилие Р3(а) - по формуле
(67)
где k - коэффициент высоты свода равновесия (по М.М. Протодьяконову), рассчитывается по формуле (38) для неблагоприятных условий.
Погонный вес грунта зоны естественно свода равновесия будет рассчитываться по формуле
qг(б) = 0,5k(б)pgг*(1 + m)dн2, (68)
а усилие Р3(б) будет рассчитываться по формуле
(69)
Л.4.5 Увеличение силы трения от наличия на трубе газопровода выступов за пределы наружного диаметра Р4 рассчитывается по формуле
(70)
где qб - погонная сила сопротивления буртов земли, Н/м, образованных выступами, которая рассчитывается по формулам
а) при благоприятных условиях:
(71)
где а - расстояние между выступами на газопроводе, м;
gв - удельный вес воды, Н/м3;
DР3 - потеря давления бурового раствора между выступом и стенкой скважины на длине выступа, которая рассчитывается по формуле
(72)
где Qж - расход бурового раствора, м3/с;
L3 - длина выступа, м;
D3 - наружный диаметр выступа, м;
dрш - наружный диаметр расширителя, м;
DРт - потеря давления бурового раствора между газопроводом и стенкой скважины на длине выступа, рассчитывается по формуле
(73)
Усилие Р4(а) рассчитывается по формуле
(74)
б) при неблагоприятных условиях:
(75)
dупл - напряжение уплотнения грунта, которое рассчитывается по формуле
- для песчаных
грунтов, Н/м2 (Па),
А - площадь вертикального сечения бурта, рассчитывается по формуле
(76)
где п0 - пористость грунта в естественном залегании;
Dn - приращение пористости грунта при обрушении грунта зоны свода равновесия, которое рассчитывается по формуле
(77)
Усилие Р4(б) рассчитывается по формуле
(78)
Л.4.6 Дополнительные силы трения от опорных реакций Р5 рассчитываются по формуле
(79)
где Ри - силы трения от опорных реакций, определяющих изгиб газопровода, которые рассчитываются по формуле
(80)
где Е - модуль упругости материала газопровода, Н/м2 (Па);
В - плечо опорных реакций, рассчитывается по формуле
(81)
Л.4.7 Сопротивление перемещению в зоне заглубления газопровода в буровой канал за счет смятия стенки Р6 рассчитывается по формуле
(82)
где Рс - сила смятия стенки скважины при забуривании, которая рассчитывается по формуле
(83)
Л.4.8 Увеличенное сопротивление при переходе от прямолинейного движения к криволинейному перед выходом газопровода из земли Р7 рассчитывается по формуле
(84)
Л.4.9 Сила трения от веса газопровода, находящегося вне бурового канала, Р8 определяется по формуле
P8 = fгпqгпli, (85)
где fгп - коэффициент трения газопровода о грунт;
qгп - погонный вес 1 м трубы газопровода.
Л.4.10 Расчет усилия протаскивания газопровода Ргп по буровому каналу:
а) при благоприятных условиях:
(86)
б) при неблагоприятных условиях (обрушении грунта по всей длине бурового канала и при полной фильтрации бурового раствора в грунт):
(87)
Фактическое усилие протаскивания газопровода Ргп(факт) будет находиться между пограничными значениями Ргп(а) и Pгп(б).
Л.4.11 Усилие перемещения буровых штанг Рп* представляет собой суммарное усилие, рассчитанное для проходки пилотной скважины, за вычетом усилия Р1 (лобового сопротивления бурению):
а) для благоприятных условий:
(88)
б) для неблагоприятных условий:
(89)
Л.4.12 Расчет общего усилия протаскивания Р:
а) при благоприятных условиях:
Р(а) = Рp + Ргп(а) + Рп(а)*; (90)
б) при неблагоприятных условиях (обрушении грунта по длине бурового канала и фильтрации бурового раствора в грунт):
Р(б) = Рp + Ргп(б) + Рп(б)*. (91)
Фактическое общее усилие протаскивания Рфакт в реальных условиях будет находиться между пограничными значениями Р(а) и Р(б).
По максимальной величине усилия P(б) уточняется правильность выбора бурильной установки. Максимальное значение Р(б) всегда должно быть меньше тягового усилия выбранной бурильной установки.
Л.4.13 Суммарный крутящий момент для вращения буровой головки и штанг при прокладке пилотной скважины рассчитывается по формуле
SM* = Мк*+ Мкб* + Мкр*, (92)
где Мк* - крутящий момент на преодоление осевых сопротивлений;
Мкб* - крутящий момент на проворачивание буртов;
Мкр* - крутящий момент на разрушение забоя.
Л.4.14 Крутящий момент на преодоление осевых сопротивлений Мк* рассчитывается по формуле
- при благоприятных условиях; (93)
- при неблагоприятных условиях, (94)
где SPi(a)** - суммарное осевое усилие при благоприятных условиях, которое рассчитывается по формуле
(95)
SPi(б)** - суммарное осевое усилие при неблагоприятных условиях, которое рассчитывается по формуле
(96)
где
(97)
(условное обозначение величин - см. Л.3.2);
(98)
(условное обозначение величин - см. Л.3.3);
- при благоприятных
условиях; (99)
- при
неблагоприятных условиях (100)
(условное обозначение величин - см. Л.3.4);
- при
благоприятных условиях; (101)
- при
неблагоприятных условиях (102)
(условное обозначение величин - см. Л.3.5);
(103)
(условное обозначение величин - см. Л.3.6);
(104)
(условное обозначение - см. Л.3.7).
Л.4.15 Крутящий момент на проворачивание буртов Мкб* рассчитывается по формуле
- при благоприятных
условиях; (105)
- при
неблагоприятных условиях. (106)
В данном расчете применяется коэффициент f.
Обозначение величин - см. Л.3.2.
Л.4.16 Крутящий момент на разрушение забоя Мкр* при механическом разрушении забоя вращающейся буровой головкой рассчитывается по формуле
Мкр* = 0,25Крhdг2, (107)
где Kp - удельное сопротивление резанию грунта при прямолинейном движении резца, которое принимается согласно таблице Л.3; обозначение прочих величин - см. Л.3.5.
Таблица Л.3
|
Суглинок, Н/м2 |
Глина, Н/м2 |
|
|
(0,05 - 0,08)106 |
(0,1 - 0,15)106 |
(0,13 - 0,25)106 |
Л.4.17 Суммарный крутящий момент для вращения расширителя и штанг при протаскивании газопровода по буровому каналу:
SM = Mк + Мкб + Mкр, (108)
где Mк - крутящий момент на преодоление осевых сопротивлений;
Мкб - крутящий момент на проворачивание буртов;
Мкр - крутящий момент на разрушение забоя.
Л.4.18 Крутящий момент на преодоление осевых сопротивлений Mк* рассчитывается по формуле
- при благоприятных условиях; (109)
- при неблагоприятных условиях, (110)
где SPi(a)*1 - суммарное осевое усилие при благоприятных условиях, которое рассчитывается по формуле
(111)
SPi(б)*1 - суммарное осевое усилие при неблагоприятных условиях, которое рассчитывается по формуле
(112)
где ![]()
(условное обозначение величин - см. Л.4.2);
(113)
(условное обозначение величин - см. Л.3.3);
- при благоприятных
условиях; (114)
- при
неблагоприятных условиях (115)
(условное обозначение величин - см. Л.3.4);
- при
благоприятных условиях; (116)
- при
неблагоприятных условиях (117)
(условное обозначение величин - см. Л.3.5);
(118)
(условное обозначение величин - см. Л.3.6);
(119)
(условное обозначение - см. Л.3.7).
Л.4.19 Крутящий момент на проворачивание буртов Mкб рассчитывается по формуле
- при благоприятных
условиях; (120)
- при
неблагоприятных условиях. (121)
В данном расчете применяется коэффициент f. Условные обозначения величин - см. Л.4.5.
Л.4.20 Крутящий момент на разрушение забоя Мкр (при механическом разрушении забоя вращающейся буровой головкой) рассчитывается по формуле
Мкр* = 0,25Крhdр2, (122)
где Кр - удельное сопротивление резанию грунта при прямолинейном движении резца, которое принимается согласно таблице Л.3.
Условное обозначение величин - см. Л.4.2.
По максимальному значению SМ уточняют выбор бурильной установки по крутящему моменту.
Л.4.21 Перед протаскиванием газопроводов из полиэтиленовых труб по буровому каналу необходимо рассчитать эксплуатационные нагрузки на трубу газопровода по двум критериям:
- по предельной величине внешнего равномерного радиального давления;
- по условию предельной овализации поперечного сечения трубы.
Л.4.22 Несущую способность подземного газопровода из полиэтиленовых труб по предельной величине внешнего равномерного радиального давления следует проверять соблюдением неравенства
(123)
где Ркр - предельная величина внешнего равномерного радиального давления, при которой обеспечена устойчивость круглой формы стенки трубы, Н/м2;
k2 - коэффициент условий работы трубопровода на устойчивость, принимаемый < 0,6;
Рг - давление грунта свода обрушения;
Ргв - гидростатическое давление грунтовых вод;
Pтп - давление от веса транспортных потоков;
hтп, hг, hгв - коэффициенты перегрузки, принимаемые согласно таблице Л.4.
Таблица Л.4
|
Характер нагрузки |
Наименование нагрузки |
Коэффициент перегрузки h |
|
|
1 |
Постоянная |
Масса трубопровода |
1,1 |
|
2 |
» |
Давление грунта |
1,2 |
|
3 |
Постоянная |
Гидростатическое давление грунтовых вод |
1,2 |
|
Примечания: 1. Нагрузкой, создаваемой весом трубы газопровода, пренебрегаем из-за ее незначительности. 2. Давление газа в газопроводе не учитываем, так как оно разгружает стенку трубы. |
|||
Л.4.23 За критическую величину Ркр предельного внешнего радиального давления следует принимать меньшее из значений, вычисленных по формулам:
(124)
Ркр = Рл + 1,143Ргр, (125)
где Рл - параметр, характеризующий жесткость трубопровода, Н/м2, который вычисляется по формуле
(126)
где dн - наружный диаметр газопровода, м;
d - толщина стенки, м;
Е - модуль ползучести полиэтилена, Н/м2, который вычисляется по формуле
E = keE0, (127)
где Е0 - модуль ползучести в зависимости от срока службы газопровода и напряжения в стенке трубы, выбираемый по таблице Л.5;
Таблица Л.5
|
Материал трубы |
Срок службы, лет |
Напряжение в стенке трубы, МПА |
|||||||||
|
7 |
6 |
5 |
4 |
3 |
2,5 |
2 |
1,5 |
1 |
10,5 |
||
|
ПЭ |
50 |
- |
- |
100 |
120 |
140 |
150 |
160 |
180 |
200 |
220 |
|
25 |
- |
90 |
110 |
130 |
150 |
160 |
170 |
190 |
210 |
230 |
|
|
10 |
- |
100 |
120 |
140 |
160 |
170 |
190 |
210 |
230 |
250 |
|
|
5 |
- |
110 |
130 |
150 |
170 |
190 |
220 |
220 |
240 |
270 |
|
|
1 |
120 |
140 |
150 |
170 |
200 |
210 |
250 |
250 |
280 |
300 |
|
ke - коэффициент, учитывающий влияние температуры на деформационные свойства материла, определяемый из таблицы Л.6;
Таблица Л.6
|
Температура, °С |
|||||
|
20 |
30 |
40 |
50 |
60 |
|
|
ПЭ |
1 |
0,8 |
0,65 |
0,55 |
0,4 |
Ргр - параметр, характеризующий жесткость грунта, Н/м2, который вычисляется по формуле
Ргр = 0,125Егр, (128)
где Егр - модуль деформации грунта засыпки, Н/м2, определяемый по таблице Л.7.
Таблица Л.7
|
Егр, МПа |
|
|
Пески крупные и средней крупности |
12 - 17 |
|
Пески мелкие |
10 - 12 |
|
Пески пылеватые |
8 - 10 |
|
Супеси и суглинки |
2 - 6 |
|
Глины |
1,2 - 4 |
Л.5.1 Расчет вертикальной приведенной внешней нагрузки от давления грунта.
При бестраншейной прокладке давление грунта на газопровод создает так называемый свод обрушения. Очевидно, что максимальное давление грунта будет по вертикальной оси газопровода и будет равно:
(129)
где gг - удельный вес грунта;
hc - высота свода обрушения по СНиП 2.06.09;
d - диаметр бурового канала;
f¢ - коэффициент крепости грунта (по М.М. Протодьяконову), принимаемый согласно таблице Л.8.
Таблица Л.8
|
Грунт |
Коэффициент крепости грунта f¢ |
|
|
1 |
Песок, насыпной грунт |
0,5 |
|
2 |
Растительный грунт, торф, сырой песок, слабый глинистый грунт |
0,6 |
|
3 |
Глинистый грунт, лесс |
0,8 |
|
4 |
Плотный глинистый грунт |
1,0 |
|
5 |
Твердая глина |
1,5 |
|
6 |
Мягкий сланец, мягкий известняк, мерзлый грунт |
2,0 |
|
Примечание. Расчет давления грунта согласно вышеуказанной формуле производится, когда hс (высота свода обрушения) << Н (высоты заложения газопровода от поверхности грунта). |
||
Л.5.2 Расчет вертикальной приведенной внешней нагрузки от давления грунтовых вод.
Давление грунтовых вод рассчитывается по формуле
(130)
где gв - удельный вес воды с растворенными в ней солями;
S - площадь сечения трубы газопровода;
dн - наружный диаметр газопровода.
Л.5.3 Вертикальную приведенную внешнюю нагрузку давления грунта от подвижного состава железных дорог следует определять с учетом распределения нагрузки в грунте по формуле
(131)
где Qmax жт - максимальная нормативная погонная нагрузка от подвижного состава железных дорог, равная 19,62 кН/м ´ 14.
Л.5.4 Вертикальную приведенную внешнюю нагрузку давления грунта от автомобильного транспорта следует определять с учетом распределения нагрузки в грунте по формуле
(132)
где Qmax ат - максимальная нормативная погонная нагрузка от автомобильного транспорта (от четырехосной машины НК-80 общим весом 80 т), равная 186000 Н/м.
Л.5.5 Расчет несущей способности стенки газопровода по условию предельно допустимой овализации (укорочения вертикального диаметра) следует производить по формуле
(133)
где ej - относительное
укорочение вертикального диаметра
- не более 5 % для
полиэтиленовых труб;
x - коэффициент, учитывающий распределение нагрузки и опорные реакции;
q - коэффициент, учитывающий совместное действие отпора грунта и внутреннего (внешнего) избыточного давления;
Рл - параметр, характеризующий жесткость газопровода.
Л.6.1 Технология производства работ по бестраншейной прокладке газопроводов должна включать:
- подготовительные работы по доставке, расстановке, заземлению, закреплению буровой установки и оборудования;
- разметку трассы газопровода на поверхности земли, разметку входного и выходного приямков;
- подготовку входного и выходного приямков;
- подготовку нитки газопровода к протаскиванию (сварка, контроль, изоляция стыков - для стального газопровода, контроль изоляции, испытания);
- бурение пилотной скважины по трассе газопровода в соответствии с профилем бурения (форма Г), заполнение рабочего варианта протокола бурения (форма А);
- расширение бурового канала до необходимого диаметра;
- протаскивание газопровода по сформированному буровому каналу;
- отсоединение газопровода от бурильной установки;
- окончательное оформление протокола бурения и карты бурения (форма Д);
- контроль состояния изоляционного покрытия методом катодной поляризации (для стального газопровода);
- испытания газопровода на прочность и герметичность;
- сдачу газопровода приемочной комиссии.
Л.6.2 При сдаче газопровода комиссии предъявляются следующие документы:
- сертификаты заводов-изготовителей на трубы, сварочные и изоляционные материалы;
- акт разбивки и передачи трассы;
- журнал производства работ;
- документы, подтверждающие качество заводской изоляции стального газопровода;
- протокол проверки качества сварных стыков газопровода физическими методами;
- протоколы механических испытаний сварных стыков газопровода;
- протокол контроля изоляционного покрытия до протаскивания (для стального газопровода);
- акт предварительного испытания газопровода (перед протаскиванием) на прочность и герметичность;
- профиль бурения;
- протокол бурения;
- карта бурения;
- акт на протаскивание газопровода по буровому каналу;
- акт оценки состояния покрытия стального газопровода методом катодной поляризации (после протаскивания);
- акт испытания газопровода (после протаскивания) на прочность и герметичность;
- исполнительный паспорт газопровода, построенного способом наклонно-направленного бурения (форма Б);
- акт приемки перехода газопровода, выполненного бестраншейным способом (форма В);
Л.6.3 При сдаче подземного перехода газопровода под автомобильными и железными дорогами или подводного перехода дополнительно предъявляются:
- разрешение на производство работ в охранной зоне;
- акт приемки створа перехода;
- акт на протаскивание футляра;
- акт герметизации вводов и выпусков газопровода (при наличии футляра).
Л.7.1 Контроль качества строительства должен охватывать весь комплекс работ с обязательным пооперационным контролем, который заключается в систематическом наблюдении и проверке выполняемых работ на соответствие требованиям нормативной и проектной документации.
Л.7.2 В процессе подготовительных работ необходимо осуществлять входной контроль труб и соединительных деталей газопровода, наличие сертификатов, актов предварительных испытаний газопровода и т.д., контролировать на соответствие проекту:
- разметку трассы;
- угол наклона буровых штанг - расчетному углу забуривания;
- размеры и типы буровой головки, резца, расширителей;
- состав и качество бурового раствора.
Л.7.3 В процессе проходки пилотной скважины необходимо контролировать:
- угол наклона, положение и глубину расположения буровой головки;
- отклонение фактического расположения буровой головки от расчетного;
- скорость проходки;
- усилие проходки;
- давление и расход бурового раствора.
Л.7.4 В процессе расширения и протаскивания газопровода необходимо контролировать:
- скорость проходки;
- давление и расход бурового раствора;
- усилие протаскивания газопровода.
Л.8.1 К выполнению работ по прокладке газопроводов методом наклонно-направленного бурения допускаются рабочие и специалисты, обученные, аттестованные и имеющие соответствующие удостоверения.
Л.8.2 Персонал, участвующий в производстве работ, обязан получить:
- вводный (общий) инструктаж по охране труда;
- инструктаж по технике безопасности непосредственно на рабочем месте.
Л.8.3 Общие требования техники безопасности:
- запрещается посторонним лицам находиться на рабочей площадке;
- запрещается прикасаться к вращающейся штанге;
- работу производить только в специальной одежде и с применением средств защиты;
- запрещено использовать ручные инструменты для рассоединения штанг.
Л.8.4 При работе на бурильной установке существует опасность поражения электрическим током в случае повреждения силового электрического кабеля буровой головкой или расширителем, кабель может быть поврежден также при установке анкерных якорей.
Л.8.5 Бурильную установку следует заземлять до установки анкерных якорей. При установке заземляющих штырей и анкерных якорей необходимо пользоваться диэлектрическими перчатками и резиновыми сапогами. Анкерные и упорные устройства, фиксирующие положение бурильной установки, должны быть рассчитаны на двойное тяговое усилие, которое может развить установка.
Л.8.6 Перед началом работы необходимо проверить исправность звуковой аварийной системы бурильной установки.
Л.8.7 При повреждении силового электрического кабеля, находящегося под напряжением, запрещается:
- оператору - покидать установку (маты), рассоединять штанги;
- рабочим - двигаться с места, касаться находящихся рядом установки, смесителя и других механизмов.
Л.8.8 При повреждении силового электрического кабеля оператор должен:
- при бурении пилотной скважины - вытащить одну штангу назад;
- при обратном расширении - подать одну штангу вперед.
Л.8.9 К продолжению работ приступать только после получения разрешения организации - владельца электрического кабеля. Перед тем как продолжить бурение необходимо проверить работоспособность аварийной системы. В случае неисправности аварийной системы приступать к работе запрещается.
Л.8.10 Если при работе на установке произошло повреждение других смежных коммуникаций, необходимо сообщить их владельцу о происшедшей аварии и прекратить работу до получения разрешения на производство работ.
Л.8.11 При повреждении действующего газопровода необходимо:
- прекратить бурение, выключить установку и покинуть рабочее место;
- не курить;
- срочно эвакуировать всех людей, находящихся в опасной зоне;
- вызвать по телефону представителя организации, эксплуатирующей газопровод;
- приступить к продолжению работы после разрешения организации - владельца газопровода.
|
Протокол работ по бурению с помощью управляемой бурильной системы типа: __________________________________________________________________________ Подрядчик________________________________________________________________ Адрес строительства________________________________________________________ __________________________________________________________________________ Телефон___________________________________________________________________ Начальник строительства____________________________________________________ Руководитель буровых работ_________________________________________________ Задание___________________________________________________________________ __________________________________________________________________________ Длина прокладки __________м. Пилотное бурение: диаметр __________мм. Расширение: диаметр __________мм. Окончательное расширение: диаметр __________мм. Начало работ __________Окончание работ__________ Система локации буровой головки____________________________________________ Тип зонда___________________
R - вращение буровых штанг. Руководитель буровых работ________________ Начальник строительства___________________ |
|
№ п.п |
Наименование |
Техническая характеристика |
|
1 |
Общие данные: 1.1 Наименование перехода (наименование трассы, газопровода, водоема) 1.2 Владелец перехода 1.3 Начало перехода (пикетаж) 1.4 Конец перехода (пикетаж) 1.5 № рабочих чертежей 1.6 Генеральная проектная организация 1.7 Субподрядные проектные организации |
|
|
2 |
Проектные данные: 2.1 Кем и когда утвержден проект 2.2 Протяженность перехода 2.3 Характеристика газопровода (диаметр и толщина стенки трубы, марка материала, ГОСТ или ТУ) 2.4 Характеристика газопровода (диаметр и толщина стенки трубы, марка материала, ГОСТ или ТУ) |
|
|
3 |
Строительство: 3.1 Рабочий газопровод: сварка газопровода (№ акта, дата) марка электродов (ГОСТ, № партии) механические испытания швов (№ протокола, дата) контроль качества швов физическими методами (№ протокола, дата) первичное испытание газопровода (№ акта, дата) изоляция стыков (№ акта, дата, способ контроля) 3.2 Буровые работы: координаты входа и выхода (проектные и фактические) углы забуривания и выходной диаметр пилотной скважины система локации время бурения пилотной скважины типы и диаметры расширителей 3.3 Протаскивание газопровода (дата, № акта): способ и время протаскивания максимальное тяговое усилие контроль состояния изоляции методом катодной поляризации (№ акта, дата) испытания на прочность и герметичность (№ акта, дата) 3.4 Дата приемки газопровода |
|
от «____»_______________200__г.
|
Газопровод_____________________________________________________________ __________________________________________________________________________ (наименование и место расположения объекта) Комиссия в составе: представителя строительно-монтажной организации____________________________ __________________________________________________________________________ представителя технического надзора заказчика__________________________________ __________________________________________________________________________ представителя проектной организации (в случаях осуществления авторского надзора проектной организации)_____________________________________________________ __________________________________________________________________________ произвела осмотр работ, выполненных________________________________________ __________________________________________________________________________ (наименование строительно-монтажной организации) и составила настоящий акт о нижеследующем: 1. К освидетельствованию предъявлен металлический футляр диаметром _____ мм, длиной _________м, протяжка которого под____________________________________ выполнена способом наклонно-направленного бурения на установке_______________ __________________________________________________________________________ (марка установки) 2. К освидетельствованию предъявлен участок _________________газопровода давлением _________ МПа, диаметром _________мм, длиной __________м, выполненный способом наклонно-направленного бурения на установке типа_______ __________________________________________________________________________ (марка установки) Длина плети газопровода до прокладки _________м. Длина плети газопровода после прокладки _________м. 3. «____»_______________ 200_____г. участок газопровода испытан на герметичность в течение _______ч. До начала испытания подземный газопровод находился под давлением воздуха в течение __________ч для выравнивания температуры воздуха в газопроводе с температурой грунта. Замеры давления производились манометром (дифманометром) по ГОСТ ___________________, класс _______________. 4. Работы выполнены по проектно-сметной документации __________________________________________________________________________ (наименование проектной организации, номера чертежей и дата их составления) 5. При выполнении работ применены_______________________________________ __________________________________________________________________________ __________________________________________________________________________ (наименование материалов, конструкций, изделий со ссылкой на сертификаты __________________________________________________________________________ или другие документы, подтверждающие качество) 6. При выполнении работ отсутствуют (или допущены) отклонения от проектно-сметной документации______________________________________________________ __________________________________________________________________________ __________________________________________________________________________ (при наличии отклонений указываются, кем согласованы номера чертежей и дата согласования) 7. Дата начала работ______________________________________________________ Дата окончания работ____________________________________________________ Решение комиссии Работы выполнены в соответствии с проектно-сметной документацией, стандартами, строительными нормами и правилами и отвечают требованиям их приемки. На основании изложенного разрешается производство последующих работ по устройству (монтажу)_______________________________________________________ __________________________________________________________________________ (наименование работ и конструкций) Представитель строительно-монтажной организации__________________________ __________________________________________________________________________ Представитель технического надзора заказчика_______________________________ __________________________________________________________________________ Представитель проектной организации______________________________________ __________________________________________________________________________ |
|
Длина газопровода, м |
||||||||||||||||||||
|
0 |
3,6 |
7,2 |
10,8 |
14,4 |
18 |
21,6 |
25,2 |
28,8 |
32,4 |
36 |
39,6 |
43,2 |
46,8 |
50,4 |
54 |
57,6 |
61,2 |
64,8 |
68,4 |
72 |
|
25 |
|
|
|
|
|
|
|
|
|
|
|
|
|
|
|
|
|
|
|
|
|
50 |
|
|
|
|
|
|
|
|
|
|
|
|
|
|
|
|
|
|
|
|
|
75 |
|
|
|
|
|
|
|
|
|
|
|
|
|
|
|
|
|
|
|
|
|
100 |
|
|
|
|
|
|
|
|
|
|
|
|
|
|
|
|
|
|
|
|
|
125 |
|
|
|
|
|
|
|
|
|
|
|
|
|
|
|
|
|
|
|
|
|
150 |
|
|
|
|
|
|
|
|
|
|
|
|
|
|
|
|
|
|
|
|
|
175 |
|
|
|
|
|
|
|
|
|
|
|
|
|
|
|
|
|
|
|
|
|
200 |
|
|
|
|
|
|
|
|
|
|
|
|
|
|
|
|
|
|
|
|
|
225 |
|
|
|
|
|
|
|
|
|
|
|
|
|
|
|
|
|
|
|
|
|
250 |
|
|
|
|
|
|
|
|
|
|
|
|
|
|
|
|
|
|
|
|
|
275 |
|
|
|
|
|
|
|
|
|
|
|
|
|
|
|
|
|
|
|
|
|
300 |
|
|
|
|
|
|
|
|
|
|
|
|
|
|
|
|
|
|
|
|
|
325 |
|
|
|
|
|
|
|
|
|
|
|
|
|
|
|
|
|
|
|
|
|
350 |
|
|
|
|
|
|
|
|
|
|
|
|
|
|
|
|
|
|
|
|
|
375 |
|
|
|
|
|
|
|
|
|
|
|
|
|
|
|
|
|
|
|
|
|
400 |
|
|
|
|
|
|
|
|
|
|
|
|
|
|
|
|
|
|
|
|
|
425 |
|
|
|
|
|
|
|
|
|
|
|
|
|
|
|
|
|
|
|
|
|
450 |
|
|
|
|
|
|
|
|
|
|
|
|
|
|
|
|
|
|
|
|
|
475 |
|
|
|
|
|
|
|
|
|
|
|
|
|
|
|
|
|
|
|
|
|
500 |
|
|
|
|
|
|
|
|
|
|
|
|
|
|
|
|
|
|
|
|
|
525 |
|
|
|
|
|
|
|
|
|
|
|
|
|
|
|
|
|
|
|
|
|
550 |
|
|
|
|
|
|
|
|
|
|
|
|
|
|
|
|
|
|
|
|
|
575 |
|
|
|
|
|
|
|
|
|
|
|
|
|
|
|
|
|
|
|
|
|
600 |
|
|
|
|
|
|
|
|
|
|
|
|
|
|
|
|
|
|
|
|
|
625 |
|
|
|
|
|
|
|
|
|
|
|
|
|
|
|
|
|
|
|
|
|
650 |
|
|
|
|
|
|
|
|
|
|
|
|
|
|
|
|
|
|
|
|
|
675 |
|
|
|
|
|
|
|
|
|
|
|
|
|
|
|
|
|
|
|
|
|
Глубина, см:________________________ Строительство:_____________________ Адрес:_____________________________ Дата начала работ:___________________ |
№ проекта:_________________________ Подрядчик:_________________________ Дата окончания работ:_______________ |
|||||||||||||||||||
Профиль бурения
|
|
|
|
|
|
|
|
|
|
|
|
|
|
|
|
|
|
|
|
|
|
|
|
|
|
|
|
|
|
|
|
|
|
|
|
|
|
|
|
|
|
|
|
План бурения
|
Отметка земли, м |
|
|
|
|
|
|
|
|
|
|
|
|
|
|
|
|
|
|
|
|
|
Длина пилотной скважины, м |
|
|
|
|
|
|
|
|
|
|
|
|
|
|
|
|
|
|
|
|
|
Теоретическая глубина пилотной скважины, см |
|
|
|
|
|
|
|
|
|
|
|
|
|
|
|
|
|
|
|
|
|
Показания локатора, см |
|
|
|
|
|
|
|
|
|
|
|
|
|
|
|
|
|
|
|
|
|
Отклонение трассы от теоретического профиля, см |
|
|
|
|
|
|
|
|
|
|
|
|
|
|
|
|
|
|
|
|
|
Отклонение трассы от теоретического положения в плане, см |
|
|
|
|
|
|
|
|
|
|
|
|
|
|
|
|
|
|
|
|
|
Угол наклона буровой головки, % |
|
|
|
|
|
|
|
|
|
|
|
|
|
|
|
|
|
|
|
|
|
Ориентировочные признаки бурения R, ч |
|
|
|
|
|
|
|
|
|
|
|
|
|
|
|
|
|
|
|
|
(рекомендуемое)
Прокладка бестраншейным способом на установке «Навигатор» D 24 ´ 40 фирмы «Вермеер» (RABBINS HDD-30 TMSC, STRAIG-HTLINE DL-2462, TRACTO-TECHNIK Grudopit 10S) газопровода из полиэтиленовых труб ПЭ 80 ГАЗ SDR 11-110 ´ 10 ГОСТ Р 50838 через реку с меженным горизонтом 25 м (рисунок Л.4).
Технология строительства: прокладка пилотной скважины диаметром dн = 100 мм, затем протаскивание газопровода с одновременным расширением бурового канала до диаметра d = 140 мм. Трасса выполнена по плавной дуге с переходом от максимального угла 17°30¢ к нулевому углу на максимальной глубине и вновь с выходом в выходной приямок. Точка выхода газопровода в выходном приямке на 1 м ниже точки забуривания.
Исходные данные
Грунт: песок средней крупности, влажный с естественной пористостью n0 = 0,35.
Коэффициенты трения:
сталь по влажному песку - fp = 0,5;
сталь по влажному песку, смоченному буровым раствором, - fрш(fш) = 0,4;
полиэтилен по песку - fгп = 0,3;
полиэтилен по буровому раствору - f = 0,2.
Глубина заложения газопровода от горизонта забуривания D1 = 6 м.
Угол забуривания a1 = 17°30¢ (характеристика установки D 24 ´ 40 «Навигатор» и аналогичных установок других фирм).
Перепад по высоте точки выхода газопровода из земли относительно точки забуривания h2 = 1 м.
Диаметр полиэтиленовой трубы dн = 0,11 м.
Толщина стенки полиэтиленовой трубы d = 0,01 м.
Давление бурового раствора на выходе из сопел расширителя р = 106 Н/м2.
Расход бурового раствора Qж = 0,0012 м3/с.
Диаметр буровой головки dг = 0,1 м.
Диаметр расширителя dрш = 0,14 м.
Диаметр штанги dш = 0,052 м.
Диаметр замка штанги dз* = 0,066 мм.
Длина замка на штанге L3* = 0,4 м.
Расстояние между замками на штанге аш = 3 м.
Толщина стенки штанги dш = 0,0065 м.
Удельный вес:
полиэтилена gп = 0,93×104 Н/м3;
грунта gг = 1,7×104 Н/м3;
бурового раствора gж = 1,2×104 Н/м3;
воды gв = 1,0×104 Н/м3.
Погонный вес полиэтиленовой трубы диаметром 110 мм qгп = 31,6 Н/м.
Модуль ползучести полиэтилена Е = 140×106 Н/м2.
Модуль упругости стальных штанг Еш = 2,1×1011 Н/м2.
Угол внутреннего трения грунта r = 0,66 рад.
Коэффициент бокового давления m = 0,37.
Исходные данные указаны в единицах размерности, применяющихся при расчетах.
Исходные данные в примере расчета приняты на основании инженерных изысканий, проекта, СНиП 2.02.01, ГОСТ Р 50838, характеристик установки D 24 ´ 40 «Навигатор» фирмы «Вермеер».
1 Расчет трассы газопровода
Расчет угла a1расч:
![]()
Расчет длины трассы газопровода l1 от точки М до точки А:
l1 = D1 : sina1расч = 6 м : 0,15 = 40 м.
Расчет радиуса кривизны пилотной скважины.
Для выбранной трассы R1 = R2 = R и рассчитывается по формуле
![]()
cos 17°30¢ = 0,9537.
Расчет длины трассы l2 от точки А до точки Н:
![]()
![]()
a2 = 16°; a1расч = 16° : 2 = 8°;
l2 = D2: sina2 = 5 : 0,139 = 36 м.
Расчет общей длины трассы l от точки М до точки H:
40 + 36 = 76 м.
Расчет числа штанг для проходки длины трассы l1:
n1 = l1 : lш = 40 : 3 =
.
Расчет изменения угла Da1 на каждой штанге:
Da1 = a1 : n1 = 17°30¢ : 13,3 = 1°19¢.
Расчет заглубления газопровода на каждой штанге:

и т.д.
Полный расчет заглубления газопровода на каждой штанге приведен в таблице М.1.
Таблица М.1
|
Длина бурового канала, м |
Текущий угол ai |
Синус текущего угла sinai |
Заглубление Di газопровода от точки забуривания, см |
|
|
0 |
0 |
-17°30¢ |
0,3 |
0 |
|
1 |
3 |
-16°11¢ |
0,28 |
90 |
|
2 |
6 |
-14°53¢ |
0,26 |
170 |
|
3 |
9 |
-13°34¢ |
0,23 |
240 |
|
4 |
12 |
-12°15¢ |
0,21 |
300 |
|
5 |
15 |
-10°56¢ |
0,19 |
360 |
|
6 |
18 |
-9°38¢ |
0,16 |
410 |
|
7 |
21 |
-8°19¢ |
0,14 |
460 |
|
8 |
24 |
-7,0° |
0,12 |
500 |
|
9 |
27 |
-5°41¢ |
0,1 |
540 |
|
10 |
30 |
-4°23¢ |
0,08 |
560 |
|
11 |
33 |
-3°4¢ |
0,05 |
580 |
|
12 |
36 |
-1°45¢ |
0,03 |
600 |
|
13 |
39 |
-0°26¢ |
0,01 |
600 |
|
14 |
42 |
+0°52¢ |
0,01 |
600 |
|
15 |
45 |
+2°11¢ |
0,04 |
590 |
|
16 |
48 |
+3°30¢ |
0,06 |
580 |
|
17 |
51 |
+4°49¢ |
0,08 |
560 |
|
18 |
54 |
+6°07¢ |
0,1 |
530 |
|
19 |
57 |
+7°26¢ |
0,13 |
500 |
|
20 |
60 |
+8°44¢ |
0,15 |
450 |
|
21 |
63 |
+10°03¢ |
0,17 |
400 |
|
22 |
66 |
+11°22¢ |
0,19 |
340 |
|
23 |
69 |
+12°41¢ |
0,22 |
280 |
|
24 |
72 |
+14° |
0,24 |
220 |
|
25 |
75 |
+15°19¢ |
0,26 |
140 |
|
26 |
76 |
+15°45¢ |
0,27 |
100 |
Расчет объема удаленного грунта:
![]()
Расчет объема бурового раствора.
При бурении в песчаных грунтах требуется увеличенный объем бурового раствора - 1,2×6 = 7,2 м3.
Расчет минимального времени бурения:
![]()
Расчет максимальной скорости бурения:
nmax = l/tmin = 76/100 = 0,76 м/мин.
Примем скорость бурения равной 0,60 м/мин.
Расчет величины подачи на оборот:
h = u/w = 0,6/60 = 0,01 м.
2 Расчет общего усилия протаскивания при строительстве подводного перехода газопровода из полиэтиленовых труб диаметром 110 мм длиной 76 м по буровому каналу диаметром 140 мм
Так как газопровод выполнен из длинномерных полиэтиленовых труб, то он не имеет выступов за пределы наружного диаметра и усилие Р4 (увеличение силы трения от наличия на трубе газопровода выступов за пределы наружного диаметра) и усилие Р6 (сопротивление перемещению газопровода в зоне входа за счет смятия стенки бурового канала) равны нулю.
Проектируемая трасса не имеет прямолинейного участка и усилие Р7 (увеличенное сопротивление перемещению при переходе от прямолинейного движения к криволинейному) также равно нулю.
Общее усилие протаскивания Р рассчитывается по формулам:
а) для благоприятных условий:
Р(а) = Рp + Ргп(а) + Рп(а)*;
б) для неблагоприятных условий:
Р(б) = Рp + Ргп(б) + Рп(б)*;
Разбиваем трассу на равные интервалы для расчета текущих усилий:
li = 0; 9,5; 19; 28,5; 38; 47,5; 57; 66,5; 76.
Расчет усилия Рр - лобового сопротивления движению расширителя:
![]()
![]()

![]()
Расчет усилия протаскивания газопровода Ргп:
а) усилие протаскивания газопровода для благоприятных условий рассчитывается по формуле
![]()
б) усилие протаскивания газопровода для неблагоприятных условий рассчитывается по формуле
![]()
Расчет усилия Р2:
![]()


![]()
Расчет усилия Р3:
а) для благоприятных условий:
![]()
qг(а) = 0,5k(а)pgг(а)*(1 + m)dн2;


qг(а) = 0,5k(а)pgг(а)*(1 + m)dн2 = 0,5×1,315×3,14×1,38×104(1 + 0,37)0,112 =
= 2,85× 104×1,37×0,0121 = 0,047×104 Н/м;

![]()
б) для неблагоприятных условий:
![]()
qг(б) = 0,5k(б)pgг(б)*(1 + m)dн2;
![]()
![]()

qг(б) = 0,5k(б)pgг(б)*(1 + m)dн2 = 0,5×5,39×3,14×1,6×104(1 + 0,37)0,112 =
= 13,54× 104×1,37×0,0121 = 0,224×104 Н/м;

![]()
Расчет усилия P5:
![]()
![]()



![]()
Примечание - Усилием P5 можно пренебречь из-за его незначительной величины.
Расчет усилия P8:
P8 = 0,3×31,6×li = 9,5×li.
Расчет усилия перемещения буровых штанг Рп*.
Усилие перемещения буровых штанг Рп рассчитывается по формулам:
а) для благоприятных условий:
![]()
б) для неблагоприятных условий:
![]()
Расчет усилия Р2*
![]()



Расчет усилия P3*:
а) при благоприятных условиях:
![]()
qг(а) = 0,5k(а)pgг(а)*(1 + m)dш2 =
= 0,5×1,315×3,14×1,38×104×(1 + 0,37)×0,0522 =
= 0,011×104 Н/м;

б) при неблагоприятных условиях:
![]()
qг(б) = 0,5k(б)pgг(б)*(1 + m)dн2 =
= 0,5×5,39×3,14×1,6×104×(1 + 0,37)×0,0522 =
= 0,05×104;

Расчет усилия Р4*:
а) при благоприятных условиях:
![]()
![]()




б) при неблагоприятных условиях:
![]()





Расчет усилия Р5*:
![]()
![]()


![]()
Расчет усилия Р6*:
![]()

![]()
Расчет усилия Р7*:

Примечание - Усилием Р7* можно пренебречь из-за его незначительной величины в этом случае.
Таким образом, расчет усилия перемещения буровых штанг Рп*:
а) при благоприятных условиях бурения усилие перемещения буровых штанг рассчитывается по формуле
![]()
б) при неблагоприятных условиях усилие перемещения буровых штанг рассчитывается по формуле
![]()
Расчет общего усилия протаскивания газопровода из полиэтиленовых труб диаметром 110 мм, длиной 76 м, в буровом канале диаметром 140 мм:
а) при благоприятных условиях общее усилие протаскивания рассчитывается по формуле
![]()
б) при неблагоприятных условиях бурения (при обвале грунта, сухой скважине и т.д.) общее усилие протаскивания рассчитывается по формуле
![]()
На основании сделанных вычислений построены графики усилий:
Рp - лобовое сопротивление движению расширителя;
Р2 - сила трения от веса газопровода внутри бурового канала;
Р3(a) и Р3(б) - увеличение силы трения от силы тяжести грунта зоны естественного свода равновесия;
P8 - силы трения от веса газопровода, находящегося вне бурового канала;
Рп(a)* и Рп(б)* - усилие перемещения буровых штанг;
Ргп(a) и Ргп(б) - усилие протаскивания газопровода;
Р(a) и Р(б) - общее усилие протаскивания
Выполненные расчеты показывают, что выбранная бурильная установка D 24 ´ 40 «Навигатор» фирмы «Вермеер» по техническим характеристикам обеспечивает производство работ по бестраншейной прокладке данного газопровода (максимальное расчетное общее усилие протаскивания Р(б) = 47935,8 Н значительно меньше максимального усилия, развиваемого установкой D 24 ´ 40, которое равно 107960 Н (RABBINS HDD-30 TMSC - 149000 Н, STRAIGHTLINE DL-2462 - 108860 Н, TRACTO-TECHNIK Grudopit 10S - 400000 Н и аналогичные установки других фирм).
При благоприятных условиях усилие протаскивания газопровода Ргп(a) согласно расчету равно 6259,5 Н, что значительно меньше допустимого.
При неблагоприятных условиях (полный обвал грунта по длине бурового канала и фильтрация бурового раствора в грунт) усилие протаскивания газопровода Ргп(б) равно 34787 Н, что составляет » 85 % sт полиэтилена ПЭ80.
Для успешной прокладки газопровода через реку в принятых условиях необходимо предусмотреть технологические приемы, обеспечивающие стабильность и прочность стенок бурового канала, предупреждающие обвал грунта и фильтрацию бурового раствора в грунт, к которым относятся:
а) применение качественного бурового раствора;
б) правильный выбор буровой головки, ножа и расширителя;
в) технология производства работ.
(рекомендуемое)
|
Операции, подлежащие контролю |
Инструмент контроля |
Лицо, осуществляющее контроль |
|
Проверка наличия сертификатов, паспортов на изоляционное покрытие труб |
Визуально |
Мастер |
|
Проверка наличия сертификатов на изолирующие, армирующие, оберточные и другие материалы |
» |
» |
|
Определение состояния изоляционного покрытия труб, выявление повреждений изоляции при транспортировке и в процессе производства работ |
» |
» |
|
Контроль качества подготовки стыков и мест повреждений под изоляцию |
» |
Мастер, изолировщик |
|
Контроль качества нанесения грунтовки (равномерность, отсутствие пропусков, сгустков, проверка на отлип) |
» |
То же |
|
Контроль температурного режима мастики в битумоварочном котле |
» |
» |
|
Контроль качества нанесения изолирующих, армирующих и оберточных материалов, исключающих наличие складок и пустот, обеспечивающих нормальную толщину покрытия, внешний осмотр |
Визуально, толщиномер, вырезка на треугольник, дефектоскоп |
Мастер, электрометрист |
|
Проверка наличия мягких полотенец и инвентарных прокладок |
Визуально |
Мастер |
(рекомендуемое)
|
__________________________________________________________________________ (наименование и адрес объекта) г._________________________________ «____»_______________200___г. Приемочная комиссия в составе: председателя комиссии - представителя заказчика __________________________________________________________________________ (фамилия, имя, отчество, должность) членов комиссии, представителей: генерального подрядчика____________________________________________________ (фамилия, имя, отчество, должность) эксплуатационной организации______________________________________________ , (фамилия, имя, отчество, должность) органов Госгортехнадзора России_____________________________________________ , (фамилия, имя, отчество, должность) УСТАНОВИЛА: 1. Генеральным подрядчиком______________________________________________ (наименование организации) предъявлена к приемке для проведения пуско-наладочных работ газоиспользующая установка_________________________________________________________________ , (тип, количество, техническая характеристика) оборудованная автоматикой безопасности и регулирования_______________________ , __________________________________________________________________________ (тип автоматики) на законченном строительством объекте_______________________________________ __________________________________________________________________________ (наименование объекта) 2. Проект № __________разработан_________________________________________ (наименование организации) 3. Строительство системы газораспределения объекта осуществлялось в сроки: начало работ _______________________, окончание работ________________________ . (месяц, год) (месяц, год) 4. Документация на законченный строительством объект предъявлена в объеме, предусмотренном СНиП 42-01и СП 42-101 и «Правилами безопасности систем газораспределения и газопотребления» Госгортехнадзора России. 5. Объект укомплектован аттестованным обслуживающим персоналом, на рабочих местах вывешены утвержденные технологические схемы газоиспользующего оборудования и инструкции по эксплуатации. 6. Пуско-наладочные работы будут производиться____________________________ (наименование пуско-наладочной организации) по договору № ________________от «____»_________________200__г. Срок окончания работ «____»______________200__г. Приемочная комиссия рассмотрела представленную документацию, произвела внешний осмотр системы газоснабжения, определила соответствие выполненных строительно-монтажных работ проекту, провела при необходимости дополнительные испытания (кроме зафиксированных в исполнительной документации)_____________ __________________________________________________________________________ (виды испытаний) Решение приемочной комиссии: 1. Строительно-монтажные работы выполнены в полном объеме в соответствии с проектом и требованиями СНиП 42-01. 2. Предъявленное к приемке газооборудование считать принятым с «___»____________200__г. для проведения комплексного опробования (пуско-наладочных работ). 3. Настоящий акт приемки считать основанием для разрешения пуска газа для проведения пуско-наладочных работ. 4. Заказчику по окончании пуско-наладочных работ предъявить газоиспользующее оборудование для приемки объекта в эксплуатацию. Председатель комиссии___________________________________________________ (подпись) М. П. Представитель генерального подрядчика_____________________________________ (подпись) Представитель эксплуатационной организации_______________________________ (подпись) Представитель органа Госгортехнадзора России______________________________ (подпись) |
(рекомендуемое)
(ненужное зачеркнуть)
|
Построен_______________________________________________________________ (наименование строительно-монтажной организации и номер проекта) __________________________________________________________________________ по адресу:_________________________________________________________________ (город, улица, привязки начального и конечного пикетов) 1. Характеристика газопровода (газового ввода) Указываются длина (для ввода - подземного, наземного или надземного участков), диаметр, рабочее давление газопровода, материал труб, тип изоляционного покрытия линейной части и сварных стыков (для стальных подземных газопроводов и газовых вводов), число установленных запорных устройств и других сооружений. __________________________________________________________________________ __________________________________________________________________________ 2. Перечень прилагаемых сертификатов, технических паспортов (или их копий) и других документов, удостоверяющих качество материалов и оборудования __________________________________________________________________________ __________________________________________________________________________ 3. Данные о сварке стыков газопровода __________________________________________________________________________ __________________________________________________________________________
__________________________________________________________________________ (должность, подпись, инициалы, фамилия производителя работ) |
||||||||||||||||||||
Допускается прилагать распечатку процесса сварки полиэтиленовых труб, выдаваемую сварочным оборудованием.
Пример оформления плана (схемы) сварных стыков подземных газопроводов

Условные обозначения:
|
|
газопровод, законченный строительством; |
|
стык, проверенный физическими методами контроля; |
|
|
газопровод существующий; |
|
стык; в числителе - порядковый номер стыка, в знаменателе - номер (клеймо) сварщика, сварившего данный стык; |
|
|
колодец с задвижкой на газопроводе; |
2КЖ № 25 |
дом каменный жилой двухэтажный, № 25; |
|
|
водопровод; |
Æ |
диаметр газопровода; |
|
|
стык поворотный; |
l |
длина участка газопровода от стыка до стыка; |
|
|
стык неповоротный; |
a |
привязка газопровода к сооружениям |
Примечание - Схема должна быть составлена так, чтобы местоположение каждого стыка могло быть найдено с поверхности земли. Для этого должны быть сделаны привязки к постоянным наземным объектам (зданиям, сооружениям) как самого газопровода, так и его характерных точек (концевых, поворотных и др.); должны быть нанесены расстояния между стыками, а также между стыками и характерными точками, в том числе пересекаемыми коммуникациями. Строгое соблюдение масштаба схемы необязательно.
4. Проверка глубины заложения подземного газопровода, уклонов, постели, устройства футляров, колодцев, коверов
Установлено, что глубина заложения газопровода от поверхности земли до верха трубы на всем протяжении, уклоны газопровода, постель под трубами, а также устройство футляров, колодцев, коверов соответствуют проекту.
|
Производитель работ_______________________________________________________ |
|
(должность, подпись, инициалы, фамилия) |
|
Представитель эксплуатационной организации_________________________________ |
|
(должность, подпись, инициалы, фамилия) |
5. Проверка качества защитного покрытия газопровода (газового ввода)
1. Перед укладкой в траншею проверено защитное покрытие стальных труб и сварных стыков: на отсутствие механических повреждений и трещин - внешним осмотром; толщина - замером по ГОСТ 9.602 ______мм; адгезия к стали - по ГОСТ 9.602; сплошность - дефектоскопом.
2. Защитное покрытие стыков, изолированных в траншее, проверено внешним осмотром на отсутствие механических повреждений и трещин, по ГОСТ 9.602 (толщина, адгезия к стали, сплошность).
3. Проверка на отсутствие электрического контакта между металлом трубы и грунтом произведена после полной засыпки траншеи «____»_______________ 200 __ г.
Если траншея была засыпана при глубине промерзания грунта более 10 см, то строительно-монтажная организация должна выполнять проверку после оттаивания грунта, о чем должна быть сделана запись в акте о приемке законченного строительством объекта системы газоснабжения. При проверке качества защитного покрытия дефекты не обнаружены.
|
Начальник лаборатории_____________________________________________________ |
|
(подпись, инициалы, фамилия) |
|
Представитель эксплуатационной организации_________________________________ |
|
(должность, подпись, инициалы, фамилия) |
6. Продувка газопровода, испытание его на герметичность
1. «____»______________ 200___г. перед испытанием на герметичность произведена продувка газопровода воздухом.
2. «____»______________ 200___г. засыпанный до проектных отметок газопровод с установленной на нем арматурой и ответвлениями к объектам до отключающих запорных устройств (или подземная часть газового ввода) испытан на герметичность в течение __________ч.
До начала испытания подземный (наземный) газопровод находился под давлением воздуха в течение __________ч для выравнивания температуры воздуха в газопроводе с температурой грунта.
Замеры давления производились манометром (дифманометром) по ГОСТ ___________, класс ___________.
Данные замеров давления при испытании подземного (наземного) газопровода
|
Дата испытания |
Замеры давления, кПа (мм рт. ст.) |
Падение давления, кПа (мм рт. ст.) |
||||||
|
Месяц |
Число |
Часы |
манометрическое |
барометрическое |
допускаемое |
фактическое |
||
|
P1 |
Р2 |
B1 |
B2 |
|||||
|
|
|
|
|
|
|
|
|
|
Согласно данным вышеприведенных замеров давления подземный газопровод испытание на герметичность выдержал, утечки и дефекты в доступных для проверки местах не обнаружены.
«____»_____________200___г. произведено испытание надземного газопровода (надземной части газового ввода) на герметичность давлением _________МПа с выдержкой в течение _________ч, последующим внешним осмотром и проверкой всех сварных, резьбовых и фланцевых соединений. Утечки и дефекты не обнаружены. Надземный газопровод (надземная часть газового ввода) испытание на герметичность выдержал.
|
Производитель работ_______________________________________________________ |
|
(должность, подпись, инициалы, фамилия) |
|
Представитель газового хозяйства_____________________________________________ |
|
(должность, подпись, инициалы, фамилия) |
7. Заключение
|
Газопровод (газовый ввод) построен в соответствии с проектом, разработанным_____ |
|
__________________________________________________________________________ |
|
(наименование проектной организации, дата выпуска проекта) |
|
с учетом согласованных изменений, внесенных в рабочие чертежи № __________ |
|
Строительство начато «____»_______________ 200__г. |
|
Строительство закончено «____»_______________ 200__г. |
|
Главный инженер строительно-монтажной организации_________________________ |
|
(подпись, инициалы, фамилия) |
|
Представитель эксплуатационной организации_________________________________ |
|
(должность, подпись, инициалы, фамилия) |
(рекомендуемое)
|
Смонтировано___________________________________________________________ (наименование строительно-монтажной организации и номер проекта) по адресу:_________________________________________________________________ 1. Характеристика газоиспользующего оборудования Указывается для внутридомового газоиспользующего оборудования: число квартир, тип и число установленных газовых приборов, общая протяженность газопровода и число запорных устройств на них; для внутрицехового оборудования - общая протяженность газопровода, тип и число установленного газоиспользующего оборудования, рабочее давление газа__________________________________________ __________________________________________________________________________ __________________________________________________________________________ 2. Перечень прилагаемых сертификатов, технических паспортов (или их копий) и других документов, удостоверяющих качество материалов и оборудования __________________________________________________________________________ __________________________________________________________________________ Примечание - Допускается прилагать (или размещать в данном разделе) извлечения из указанных документов, заверенные лицом, ответственным за строительство объекта, и содержащие необходимые сведения (номер сертификата, марка (тип), ГОСТ (ТУ), размеры, номер партии, завод-изготовитель, дату выпуска, результаты испытаний). 3. Данные о сварке стыков газопровода
__________________________________________________________________________ (должность, подпись, инициалы, фамилия производителя работ) 4. Испытания газопровода на герметичность «____»______________ 200___г. газопровод испытан на герметичность давлением _________Мпа в течение __________ч, с подключенным газоиспользующим оборудованием. Фактическое падение давления __________МПа установлено при помощи манометра класса точности __________. Утечки и дефекты при внешнем осмотре и проверке всех соединений не обнаружены. Газопровод испытание на герметичность выдержал. |
||||||||||||||||||||||
|
Производитель работ_______________________________________________________ |
||||||||||||||||||||||
|
__________________________________________________________________________ |
||||||||||||||||||||||
|
(должность, подпись, инициалы, фамилия) |
||||||||||||||||||||||
|
Представитель эксплуатационной организации_________________________________ |
||||||||||||||||||||||
|
__________________________________________________________________________ |
||||||||||||||||||||||
|
(должность, подпись, инициалы, фамилия) |
||||||||||||||||||||||
|
5. Заключение Внутридомовое (внутрицеховое) газоиспользующее оборудование (включая газопровод) смонтировано в соответствии с проектом, разработанным |
||||||||||||||||||||||
|
___________________________________________________________________________ |
||||||||||||||||||||||
|
(наименование проектной организации и дата выпуска проекта) |
||||||||||||||||||||||
|
с учетом согласованных изменений, внесенных в рабочие чертежи № _________ |
||||||||||||||||||||||
|
Строительство начато «____»_______________ 200__г. |
||||||||||||||||||||||
|
Строительство закончено «____»_______________ 200__г. |
||||||||||||||||||||||
|
Главный инженер монтажной организации____________________________________ |
||||||||||||||||||||||
|
(подпись, инициалы, фамилия) |
||||||||||||||||||||||
|
Представитель эксплуатационной организации_________________________________ |
||||||||||||||||||||||
|
(должность, подпись, инициалы, фамилия) |
||||||||||||||||||||||
(рекомендуемое)
|
Построен_______________________________________________________________ (наименование строительно-монтажной организации, номер проекта) по адресу:_______________________________________________________________ 1. Характеристика ГРП Указываются давление газа (на входе и на выходе), тип и размеры установленного оборудования, число и площадь помещений, система отопления и вентиляции, данные об освещении, связи, телеуправлении_________________________________________ __________________________________________________________________________ __________________________________________________________________________ 2. Перечень прилагаемых сертификатов, технических паспортов (или их копий) и других документов, удостоверяющих качество материалов и оборудования _________________________________________________________________________ _________________________________________________________________________ Примечание - Допускается прилагать (или размещать в данном разделе) извлечения из указанных документов, заверенные лицом, ответственным за строительство объекта, и содержащие необходимые сведения (номер сертификата, марку (тип), ГОСТ (ТУ), размеры, номер партии, завод-изготовитель, дату выпуска, результаты испытаний). 3*. Данные о сварке стыков газопровода * Данная форма может быть использована для строительных паспортов испарительной и групповой баллонных установок СУГ, если они размещаются в отдельном здании (помещении).
|
||||||||||||
|
__________________________________________________________________________ (должность, подпись, инициалы, фамилия производителя работ) 4. Испытание газопровода и оборудования ГРП на герметичность «____»______________200___г. произведено испытание газопровода и оборудования ГРП на герметичность давлением ___________МПа в течение 12 ч при помощи манометра класса точности ___________. Падение давления ___________МПа при допускаемом падении давления ________МПа. Утечки и дефекты при внешнем осмотре и проверке всех соединений не обнаружены. Газопровод и оборудование ГРП испытание на герметичность выдержали. Производитель работ_______________________________________________________ (должность, подпись, инициалы, фамилия) Представитель эксплутационной организации__________________________________ (должность, подпись, инициалы, фамилия) Примечание - Если испытание газопроводов и оборудования ГРП на герметичность производится раздельно для высокой и низкой сторон давления, то в данном разделе паспорта следует сделать две записи - одну по испытанию на высокой стороне, другую - на низкой. 5. Заключение ГРП построен в соответствии с проектом, разработанным______________________ __________________________________________________________________________ (наименование проектной организации и дата выпуска проекта) с учетом согласованных изменений проекта, внесенных в рабочие чертежи № ____ Строительство ГРП начато «____»______________ 200___г. Строительство ГРП закончено «____»______________ 200___г. Главный инженер строительно-монтажной организации_________________________ (подпись, инициалы, фамилия) Представитель эксплуатационной организации_________________________________ (должность, подпись, инициалы, фамилия) |
||||||||||||
(рекомендуемое)
|
Построена и смонтирована________________________________________________ (наименование строительно-монтажной организации, номер проекта) по адресу:_________________________________________________________________ 1. Характеристика установки Указываются тип, число, заводы-изготовители и заводские номера резервуаров, испарителей и арматурных головок; регистрационные номера и тип защитного покрытия резервуаров и испарителей, вместимость каждого резервуара, производительность каждого испарителя, тип и число регуляторов давления арматурных головок________________________________________________________ __________________________________________________________________________ __________________________________________________________________________ __________________________________________________________________________ 2. Перечень прилагаемых сертификатов, технических паспортов (или их копий) и других документов, удостоверяющих качество материалов и оборудования __________________________________________________________________________ __________________________________________________________________________ Примечание - Допускается прилагать (или размещать в данном разделе) извлечения из указанных документов, заверенные лицом, ответственным за строительство объекта, и содержащие необходимые сведения (номер сертификата, марку (тип), ГОСТ (ТУ), размеры, номер партии, завод-изготовитель, дату выпуска, результаты испытаний). 3*. Данные о сварке стыков труб обвязки резервуаров * Данная форма может быть использована для строительных паспортов испарительной и групповой баллонных установок СУГ, если они размещаются в отдельном здании (помещении).
|
||||||||||||
|
__________________________________________________________________________ (должность, подпись, инициалы, фамилия производителя работ) 4. Приемка скрытых работ при монтаже резервуарной установки Фундаменты заложены___________________________________________________ (в соответствии с проектом, с отступлениями __________________________________________________________________________ от проекта, указать отступления и их обоснование) Основание и фундаменты резервуаров и испарителей соответствуют требованиям проекта. Производитель работ_______________________________________________________ (должность, подпись, инициалы, фамилия) Представитель эксплуатационной организации_________________________________ (должность, подпись, инициалы, фамилия) 5. Проверка качества защитного покрытия резервуаров, испарителей и газопроводов обвязки 1. Перед опусканием резервуара СУГ в котлован проверено качество защитного покрытия: отсутствие механических повреждений и трещин - внешним осмотром; толщина - замером по ГОСТ 9.602 _________мм; адгезии к стали - по ГОСТ 9.602; сплошность - дефектоскопом. 2. Стыки обвязки, изолированные в траншее, проверены внешним осмотром на отсутствие механических повреждений и трещин и по ГОСТ 9.602 (толщина, адгезия к стали, сплошность). Начальник лаборатории_____________________________________________________ (подпись, инициалы, фамилия) Представитель эксплуатационной организации_________________________________ (должность, подпись, инициалы, фамилия) 6. Проверка контура заземления резервуаров Контур заземления резервуаров и испарителей соответствует проекту. Сопротивление при проверке равно _________Ом. Проверку произвел представитель лаборатории_______________________________ __________________________________________________________________________ (наименование организации, должность, подпись, инициалы, фамилия) «_____» ___________________ 200__ г . 7. Испытание резервуарной установки на герметичность «____»_______________200__г. резервуарная установка, состоящая из резервуаров, испарителей с установленной аппаратурой и трубопроводов обвязки, была подвергнута испытанию на герметичность давлением _________МПа при помощи манометра класса точности __________. Фланцевые, сварные и резьбовые соединения, а также арматура головок емкостей, испарители СУГ, отключающие устройства и трубопроводы обвязки проверены. При проверке утечки и дефекты не обнаружены. Резервуарная установка испытание на герметичность выдержала. Производитель работ_______________________________________________________ __________________________________________________________________________ (подпись, инициалы, фамилия) Представитель эксплуатирующей организации__________________________________ (должность, подпись, инициалы, фамилия) Примечание - Если испытание на герметичность резервуаров и испарителей с установленной аппаратурой и трубопроводов их обвязки производится раздельно для высокой и низкой сторон давления, то в данном разделе паспорта следует сделать две записи - одну по испытанию на высокой стороне, другую - на низкой. 8. Заключение Резервуарная установка СУГ смонтирована в соответствии с проектом, разработанным_____________________________________________________________ __________________________________________________________________________ (наименование организации) с учетом согласованных изменений проекта, внесенных в рабочие чертежи №_______ Строительство начато «____»_______________ 200__г. Строительство закончено «____» ______________ 200__г. Главный инженер строительно-монтажной организации_________________________ (подпись, инициалы, фамилия) Представитель эксплуатационной организации_________________________________ (должность, подпись, инициалы, фамилия) |
||||||||||||
(рекомендуемое)
|
Лаборатория_______________________________ (наименование строительно- __________________________________________ монтажной организации) ПРОТОКОЛ ПРОВЕРКИ СВАРНЫХ СТЫКОВ ГАЗОПРОВОДА РАДИОГРАФИЧЕСКИМ МЕТОДОМ№ __________ «____» ______________ 200_ г. Произведена проверка сварных стыков газопровода ________давления, строящегося по адресу__________________________________________________________________ (улица, привязки начального и конечного пикетов) Газопровод сварен ____________сваркой из труб наружным диаметром ________мм, (вид сварки) толщиной стенки ______мм. Результаты проверки
|
||||||||||||||||
|
Начальник лаборатории_____________________________________________________ (подпись, инициалы, фамилия) Дефектоскопист____________________________________________________________ (подпись, инициалы, фамилия) |
(рекомендуемое)
|
Лаборатория_______________________________ (наименование строительно- __________________________________________ монтажной организации) ПРОТОКОЛ МЕХАНИЧЕСКИХ ИСПЫТАНИЙ СВАРНЫХ СТЫКОВ СТАЛЬНОГО ГАЗОПРОВОДА№ ________«____»_______________ 200_ г. Произведены испытания стыков стального газопровода, сваренного_____________ (вид сварки) из труб по ГОСТ (ТУ) _________________, марки стали ________________________, наружным диаметром ______________мм, толщиной стенки _________________мм, сварщиком _____________________________________________________, имеющим (фамилия, имя, отчество) номер (клеймо)_______________, по адресу:____________________________________ __________________________________________________________________________ (улица привязки начального и конечного пикетов) в период с «____»______________ 200___г. по «____»_____________ 200___г. Результаты механических испытаний сварных стыков стального газопровода
|
|||||||||||||||||||||||||||||||||||||||||||||||||||||
|
Начальник лаборатории_____________________________________________________ (подпись, инициалы, фамилия) Испытания проводил_______________________________________________________ (должность, инициалы, фамилия) |
|||||||||||||||||||||||||||||||||||||||||||||||||||||
Примечание - Протокол испытаний следует составлять на каждого сварщика отдельно и копию представлять в составе исполнительной документации на все объекты, на которых в течение календарного месяца работал этот сварщик.
(рекомендуемое)
|
Лаборатория_______________________________ (наименование строительно- __________________________________________ монтажной организации) ПРОТОКОЛ МЕХАНИЧЕСКИХ ИСПЫТАНИЙ СВАРНЫХ СТЫКОВ ПОЛИЭТИЛЕНОВОГО ГАЗОПРОВОДА№ ________«____»_______________200 _ г. Произведены испытания сварных соединений полиэтиленового газопровода, выполненных______________________________________________________________ (вид сварки) Из труб_________________________________________________________________ (маркировка) Сварщик________________________________________________________________ (фамилия имя отчество) Тип сварочной машины (аппарата):_________________________________________ Метод испытаний __________________________________________________________________________ Тип испытательной машины:______________________________________________ Газопровод построен (строится) по адресу:___________________________________ __________________________________________________________________________ __________________________________________________________________________ Период строительства: с «____»_________200___г. по «____»_________200___г. Результаты механических испытаний сварных соединений приведены в таблице. Форма таблицы при испытании на осевое растяжение по ГОСТ 11262
Форма таблицы при испытании деталей с закладными нагревателями на сплющивание или отрыв
|
||||||||||||||||||||||||||
|
Заключение:_____________________________________________________________ __________________________________________________________________________ __________________________________________________________________________ Начальник лаборатории___________________________________________________ (подпись, фамилия) Испытания проводил_____________________________________________________ (должность, подпись, фамилия) Примечание. Протокол испытаний следует составлять на каждого сварщика и копию представлять в составе исполнительной документации на все объекты, на которых сварщик работал. |
(рекомендуемое)
|
Лаборатория_______________________________ (наименование строительно- __________________________________________ монтажной организации) ПРОТОКОЛ ПРОВЕРКИ СВАРНЫХ СТЫКОВ ГАЗОПРОВОДА УЛЬТРАЗВУКОВЫМ МЕТОДОМ№ ________«____»_______________200__г. Произведена проверка сварных соединений газопровода_______________________ давления, строящегося по адресу______________________________________________ (улица привязки начального и _____________________ . Газопровод сварен встык из труб________________________ конечного пикетов) (маркировка) Контроль качества сварных соединений выполнен ультразвуковым дефектоскопом типа ____________, рабочая частота ___________МГц. Условия проведения испытаний___________________________________________ (полевые, лабораторные) Температура испытаний__________________________________________________ Заказчик________________________________________________________________ Результаты проверки
|
||||||||||||||||||||||||
|
Начальник лаборатории_____________________________________________________ (подпись, инициалы, фамилия) Дефектоскопист____________________________________________________________ (подпись, инициалы, фамилия) |
(рекомендуемое)
|
Лаборатория_______________________________ (наименование строительно- __________________________________________ монтажной организации) ПРОТОКОЛ ПРОВЕРКИ ПАРАМЕТРОВ КОНТАКТНОЙ СВАРКИ (ПАЙКИ) ГАЗОПРОВОДОВ№ _________ «____»________________ 200_ г. Адрес объекта___________________________________________________________ (улица привязки начального и конечного пикетов) __________________________________________________________________________ Газопровод сварен (спаян) из стальных труб ГОСТ (ТУ)________________________ наружным диаметром __________мм, толщиной стенки трубы __________мм. Результаты проверки
|
||||||||||||||
|
Начальник лаборатории_____________________________________________________ (подпись, инициалы, фамилия) Испытания проводил_______________________________________________________ (подпись, инициалы, фамилия) |
(рекомендуемое)
Схема сварных стыков подземного газопровода-ввода

Сведения о сварке стыков
|
Фамилия, имя, отчество сварщика |
Номер (клеймо) сварщика |
Сварено стыков |
Дата проведения сварочных работ |
Проверка качества |
||
|
Диаметр труб, мм |
Количество, шт. |
номер протокола и дата проведения |
номер протокола и дата контроля радиографированием или УЗК* |
|||
|
Наружный газопровод - ввод |
||||||
|
|
|
|
|
|
|
|
|
|
|
|
|
|
|
|
|
|
|
|
|
|
|
|
|
|
|
|
|
|
|
|
|
Внутренний газопровод - ввод |
||||||
|
|
||||||
|
|
|
|
|
|
|
|
|
|
|
|
|
|
|
|
|
|
|
|
|
|
|
|
|
|
|
|
|
|
|
|
|
* Для газопроводов из полиэтиленовых труб, соединенных стыковым способом. Качество сварных стыков проверено в соответствии с требованиями СНиП 42-01. |
||||||
Начальник лаборатории___________________ ____________________
(подпись) (ф. и. о.)
Производитель работ _____________________ ____________________
(подпись) (ф. и. о.)
Сведения о защите от коррозии подземного газопровода - ввода
Изоляционное покрытие подземного стального газопровода выполнено в соответствии с проектом. Качество изоляции проверено в соответствии с требованиями СНиП 42-01.
Производитель работ_______________________________________________________
(должность, подпись, инициалы, фамилия)
Представитель эксплуатационной организации_________________________________
(должность, подпись, инициалы, фамилия)
Сведения об испытании газопроводов на герметичность
Наружный и внутренний газопроводы испытаны на герметичность в соответствии с требованиями СНиП 42-01 при помощи манометра класса точности __________.
|
Газопровод |
Дата проведения испытаний на герметичность |
|
Наружный |
|
|
Внутренний |
|
Испытания на герметичность газопроводы выдержали.
Обнаружены дефекты и утечки________________________
(нет, устранены)
Производитель работ________________________ ________________________
(подпись) (ф. и. о.)
Представитель эксплуатационной организации___________ ________________
(подпись) (ф. и. о.)
Сведения о материалах и оборудовании
|
Материалы и оборудование |
Завод-изготовитель |
ГОСТ, ТУ, нормаль |
Марка, тип |
Номер сертификата |
Дата выпуска |
Количество, шт. |
|
Труба, d |
|
|
|
|
|
|
|
Труба, d |
|
|
|
|
|
|
|
Труба, d |
|
|
|
|
|
|
|
Изоляционное покрытие стальных труб |
|
|
|
|
|
|
|
Плита газовая 2-горел. |
|
|
|
|
|
|
|
Плита газовая 4-горел. |
|
|
|
|
|
|
|
Водонагреватель проточный |
|
|
|
|
|
|
|
Водонагреватель емкостной (котел) |
|
|
|
|
|
|
|
Горелка |
|
|
|
|
|
|
|
Счетчик |
|
|
|
|
|
|
|
Сигнализатор загазованности |
|
|
|
|
|
|
|
Изолирующий фланец |
|
|
|
|
|
|
|
Битум (мастика) |
|
|
|
|
|
|
|
Полимерные ленты |
|
|
|
|
|
|
|
Электроды |
|
|
|
|
|
|
|
Сварочная проволока |
|
|
|
|
|
|
|
Соединительные полиэтиленовые детали с ЗН |
|
|
|
|
|
|
|
Соединение «сталь-полиэтилен» |
|
|
|
|
|
|
|
Опоры ____________________шт. (материал, количество) Начальник лаборатории___________________ ____________________ (подпись) (ф. и. о.) Производитель работ _____________________ ____________________ (подпись) (ф. и. о.) |
||||||
Ключевые слова: газораспределительные системы, определение расчетных расходов газа, наружные газопроводы, строительство и испытания, исполнительная документация