ФЕДЕРАЛЬНОЕ АГЕНТСТВО
ПО ТЕХНИЧЕСКОМУ РЕГУЛИРОВАНИЮ И МЕТРОЛОГИИ
|
|
НАЦИОНАЛЬНЫЙ |
ГОСТ Р |
ЭЛЕКТРООБОРУДОВАНИЕ
ДЛЯ ВЗРЫВООПАСНЫХ ГАЗОВЫХ СРЕД
Конструкция, испытания и маркировка
электрооборудования с видом защиты «n»
IEC 60079-15:2005
Electrical apparatus for explosive gas atmospheres -
Part 15:
Construction, test and marking of type of protection «n» electrical apparatus
(IDT)
|
|
Москва Стандартинформ 2006 |
Цели и принципы стандартизации в Российской Федерации установлены Федеральным законом от 27 декабря 2002 г. № 184-ФЗ «О техническом регулировании», а правила применения национальных стандартов Российской Федерации - ГОСТ Р 1.0-2004 «Стандартизация в Российской Федерации. Основные положения»
1 ПОДГОТОВЛЕН Автономной некоммерческой национальной организацией «Ех-стандарт» (АННО «Ex-стандарт») на основе собственного аутентичного перевода стандарта, указанного в пункте 4
2 ВНЕСЕН Техническим комитетом по стандартизации ТК 403 «Взрывозащищенное и рудничное электрооборудование»
3 УТВЕРЖДЕН И ВВЕДЕН В ДЕЙСТВИЕ Приказом Федерального агентства по техническому регулированию и метрологии от 28 декабря 2005 г. № 431-ст
4 Настоящий стандарт идентичен международному стандарту МЭК 60079-15:2005 «Электрооборудование для взрывоопасных газовых сред. Часть 15. Конструкция, испытания и маркировка электрооборудования с видом защиты «n» (IEC 60079-15:2005 «Electrical apparatus for explosive gas atmospheres - Part 15: Construction, test and marking of type of protection «n» electrical apparatus»).
При применении настоящего стандарта рекомендуется использовать вместо ссылочных международных стандартов соответствующие им национальные стандарты Российской Федерации, сведения о которых приведены в дополнительном приложении А
5 ВВЕДЕН ВПЕРВЫЕ
Информация об изменениях к настоящему стандарту публикуется в указателе «Национальные стандарты», а текст изменений и поправок - в ежемесячно издаваемых информационных указателях «Национальные стандарты». В случае пересмотра (замены) или отмены настоящего стандарта соответствующее уведомление будет опубликовано в ежемесячно издаваемом информационном указателе «Национальные стандарты». Соответствующая информация, уведомление и тексты размещаются также в информационной системе общего пользования - на официальном сайте Федерального агентства по техническому регулированию и метрологии в сети Интернет
Настоящий стандарт содержит полный аутентичный текст третьего издания международного стандарта МЭК 60079-15, включенного в международную систему сертификации МЭК Ех и европейскую систему сертификации на основе директивы 94/9 ЕС; его требования полностью отвечают потребностям экономики страны и международным обязательствам Российской Федерации.
Настоящий стандарт разработан в обеспечение Федерального закона от 21 июля 1997 г. № 116-ФЗ «О промышленной безопасности опасных производственных объектов».
Настоящий стандарт является одним из комплекса стандартов по видам взрывозащиты для электрооборудования, применяемого во взрывоопасных средах.
Стандарт предназначен для нормативного обеспечения обязательной сертификации и испытаний.
Установленные настоящим стандартом требования обеспечивают вместе со стандартом МЭК 60079-0:2004 «Электрооборудование для взрывоопасных газовых сред. Часть 0. Общие требования» безопасность применения электрооборудования на опасных производственных объектах в угольной, газовой, нефтяной, нефтеперерабатывающей и других отраслях промышленности.
Примененный международный стандарт МЭК 60079-15 издания 2005 г. содержит ряд новых требований по сравнению с проектом 31/291/CDV МЭК 60079-15, на основе которого был разработан ГОСТ Р 51330.14-99.
Значительные технические изменения по сравнению с предыдущим изданием следующие:
- Определена связь стандарта с МЭК 60079-0 и добавлена таблица 1, в которой показано соотношение этих стандартов.
- Исключены ссылки на испытательные лаборатории, выступающие в качестве третьей стороны.
- Добавлено определение связанного искробезопасного электрооборудования [nL] или [Ex nL].
- Исключены те определения, которые также есть в МЭК 60079-0.
- Исключены n-продувка и все требования к продувке, описываемые в МЭК 60079-2.
- Добавлены требования по испытанию электрических машин мощностью свыше 100 кВт на возможность искрения воздушных зазоров.
- Добавлены таблицы для оценки риска для электрических машин напряжением более 1 кВ и мощностью более 100 кВт.
- Изменены требования к двигателям, работающим с преобразователями частоты.
- Обновлены ссылки на стандарты МЭК для светильников.
- Добавлены ссылки на МЭК 60079-0 для головных и ручных светильников.
- Добавлены в таблицу 10 требования к путям утечек и зазорам для оборудования малой мощности для напряжения от 60 до 250 В переменного тока.
- Более подробно описаны требования к соединителям для сохранения степени защиты.
- Исключено испытание крепления кабеля.
- Добавлены значения крутящего момента ввинчивания и вывинчивания для цоколей ламп Е 40/39, направленных вниз.
- Исключено испытание балластов высоким импульсным напряжением.
- Изменены критерии оценки результатов испытаний и оценки стартеров светильников и устройств зажигания.
- Добавлены испытания крупногабаритных или высоковольтных двигателей на воспламенение.
- Изменены разделы «Маркировка» и «Документация». В них отражены изменения, внесенные в стандарт.
- Раздел «Обязанности изготовителя» заменен разделом «Инструкции».
ГОСТ
Р 52350.15-2005
(МЭК 60079-15:2005)
ЭЛЕКТРООБОРУДОВАНИЕ ДЛЯ ВЗРЫВООПАСНЫХ ГАЗОВЫХ СРЕД
Конструкция, испытания и маркировка
электрооборудования с видом защиты «n»
Electrical apparatus for explosive gas
atmospheres.
Part 15. Construction, tests and marking of type of protection «n» electrical
apparatus
Настоящий стандарт устанавливает специальные требования к конструкции, испытаниям и маркировке электрооборудования группы II с защитой вида «n», предназначенного для применения во взрывоопасных газовых средах.
Настоящий стандарт применяют для обеспечения взрывозащиты неискрящего электрооборудования, а также электрооборудования, части которого могут создавать электрические дуги или искры или имеют нагретые поверхности, которые без применения какого-либо из способов защиты, указанных в стандарте, могут вызвать воспламенение окружающей взрывоопасной газовой среды. Настоящий стандарт описывает несколько различных методов, с помощью которых должна быть обеспечена безопасность и которые могут быть использованы вместе с методами, описанными в МЭК 60079-0.
Настоящий стандарт дополняет общие требования МЭК 60079-0. Соотношение требований настоящего стандарта и МЭК 60079-0 показано в таблице 1.
Таблица 1 - Соотношение требований настоящего стандарта и МЭК 60079-0
|
|
Пункт МЭК 60079-0 |
Применение пункта МЭК 60079-0 в настоящем стандарте |
||||
|
Номер |
Наименование |
Вид защиты nС |
Неискрящее оборудование nА и nA nL |
Оборудование с ограниченным пропуском газов nR |
Оборудование, содержащее электрические цепи с ограниченной энергией, nL |
Оборудование, содержащее электрические цепи с ограниченной энергией, [nL] и [Ex nL] |
|
4 |
Классификация электрооборудования по группам и температурным классам |
Да |
Да |
Да |
Да |
Да |
|
5 |
Температуры |
|
|
|
|
|
|
5.1 |
Воздействие окружающей среды |
Да |
Да |
Да |
Да |
Да |
|
5.2 |
Рабочая температура |
Да |
Да |
Да |
Да |
Да |
|
5.3 |
Максимальная температура поверхности |
Да |
Да |
Да |
Да |
Нет |
|
5.4 |
Температура поверхности и температура воспламенения |
Нет |
Нет |
Нет |
Нет |
Нет |
|
5.5 |
Малые компоненты |
Да |
Да |
Да |
Да |
Да |
|
6 |
Требования ко всему электрооборудованию |
|||||
|
6.1 |
Общие положения |
Да |
Да |
Да |
Да |
Да |
|
Механическая прочность оборудования |
Да |
Да |
Да |
Дас) |
Нет |
|
|
6.3 |
Время открытия |
Нет |
Нет |
Да |
Нет |
Нет |
|
6.4 |
Блуждающие токи |
Да |
Да |
Да |
Нет |
Нет |
|
6.5 |
Закрепление прокладки |
Да |
Да |
Да |
Да |
Нет |
|
7 |
Неметаллические оболочки и части |
|||||
|
7.1 |
Общие положения |
Да |
Да |
Да |
Да |
Нет |
|
7.2 |
Теплостойкость |
Нет |
Нет |
Нет |
Нет |
Нет |
|
7.3 |
Электростатические заряды на оболочках из пластмасс или их частях |
Да |
Да |
Да |
Да |
Нет |
|
7.4 |
Резьбовые отверстия |
Да |
Да |
Да |
Да |
Да |
|
8 |
Оболочки, выполненные из материалов, содержащих легкие металлы |
|||||
|
8.1 |
Состав материала |
Да |
Да |
Да |
Да |
Нет |
|
8.2 |
Резьбовые отверстия |
Да |
Да |
Да |
Да |
Нет |
|
9 |
Крепежные детали |
|||||
|
9.1 |
Общие положения |
Да |
Да |
Да |
Да |
Нет |
|
9.2 |
Специальные крепежи |
Нет |
Нет |
Нет |
Нет |
Нет |
|
9.3 |
Отверстия для специальных крепежей |
Нет |
Нет |
Нет |
Нет |
Нет |
|
10 |
Блокировки |
Нет |
Нет |
Нет |
Нет |
Нет |
|
11 |
Проходные изоляторы |
Да |
Да |
Да |
Да |
Нет |
|
12 |
Материалы, используемые в качестве герметиков |
Нет |
Нет |
Нет |
Нет |
Нет |
|
13 |
Ех-компоненты |
Нет |
Нет |
Нет |
Нет |
Нет |
|
14 |
Вводные устройства и соединительные контактные зажимы |
Нет |
Нет |
Нет |
Нет |
Нет |
|
15 |
Контактные зажимы для заземляющих или нулевых защитных проводников |
Да |
Да |
Да |
Да |
Нет |
|
16 |
Вводы в оболочках |
Да |
Да |
Да |
Да |
Нет |
|
17 |
Дополнительные требования к неискрящим вращающимся электрическим машинам |
Нет |
Нет |
Нет |
Нет |
Нет |
|
18 |
Дополнительные требования к коммутационным аппаратам |
Да |
Да |
Да |
Да |
Да |
|
19 |
Дополнительные требования к предохранителям |
Нет |
Нет |
Нет |
Нет |
Нет |
|
20 |
Дополнительные требования к соединителям |
Нет |
Нет |
Нет |
Нет |
Нет |
|
21 |
Дополнительные требования к светильникам |
Нет |
Нет |
Нет |
Нет |
Нет |
|
22 |
Дополнительные требования к головным и ручным светильникам |
Да |
Да |
Да |
Да |
Нет |
|
23 |
Оборудование, в состав которого входят элементы и батареи |
Да |
Да |
Да |
Да |
Нет |
|
24 |
Документация |
Да |
Да |
Да |
Да |
Да |
|
25 |
Соответствие прототипа или образца документации |
Да |
Да |
Да |
Да |
Да |
|
26 |
Виды испытаний |
|||||
|
26.1 |
Общие положения |
Да |
Да |
Да |
Да |
Да |
|
26.2 |
Форма испытаний |
Да |
Да |
Да |
Да |
Да |
|
26.3 |
Испытания во взрывоопасных испытательных смесях |
Да |
Да |
Да |
Да |
Да |
|
Испытания оболочек |
||||||
|
26.4.1 |
Порядок проведения испытаний |
Нет |
Нет |
Нет |
Нет |
Нет |
|
26.4.2 |
Испытание на стойкость к удару |
Да |
Да |
Да |
Да |
Нет |
|
26.4.3 |
Испытания сбрасыванием |
Нет |
Нет |
Нет |
Нет |
Нет |
|
26.4.4 |
Критерии оценки результатов испытаний на стойкость к удару и испытаний сбрасыванием |
Нет |
Нет |
Нет |
Нет |
Нет |
|
26.4.5 |
Проверка соответствия степени защиты (IP), обеспечиваемой оболочками |
Нет |
Нет |
Нет |
Нет |
Нет |
|
26.5 |
Тепловые испытания |
|||||
|
26.5.1 |
Измерение температуры |
Да |
Да |
Да |
Да |
Нет |
|
26.5.2 |
Испытание на тепловой удар |
Да |
Да |
Да |
Да |
Нет |
|
26.5.3 |
Испытание малых элементов на воспламенение взрывоопасных смесей |
Да |
Да |
Нет |
Да |
Нет |
|
26.6 |
Испытание крутящим моментом проходных изоляторов |
Да |
Да |
Да |
Да |
Да |
|
26.6.1 |
Процедура испытаний |
Да |
Да |
Да |
Да |
Да |
|
26.6.2 |
Критерии оценки результатов испытаний |
Да |
Да |
Да |
Да |
Да |
|
26.7 |
Неметаллические оболочки или части оболочек |
|||||
|
26.7.1 |
Общие положения |
Да |
Да |
Да |
Да |
Нет |
|
26.7.2 |
Температура окружающей среды при испытаниях |
Да |
Да |
Да |
Да |
Нет |
|
26.8 |
Теплостойкость |
Нет |
Нет |
Нет |
Нет |
Нет |
|
26.9 |
Холодостойкость |
Да |
Да |
Да |
Да |
Нет |
|
26.10 |
Светостойкость |
Да |
Да |
Да |
Да |
Нет |
|
26.11 |
Стойкость электрооборудования группы I к воздействию химических агентов |
Да |
Да |
Да |
Да |
Нет |
|
26.12 |
Проверка целости заземления |
Да |
Да |
Да |
Да |
Нет |
|
26.13 |
Испытание по определению сопротивления изоляции частей оболочек из неметаллических материалов |
Да |
Да |
Да |
Да |
Нет |
|
26.14 |
Оценка неспособности накапливать опасный заряд статического электричества путем определения значения этого заряда |
Да |
Да |
Да |
Да |
Нет |
|
26.15 |
Оценка неспособности накапливать опасный заряд статического электричества путем измерения емкости |
Да |
Да |
Да |
Да |
Нет |
|
26.15.1 |
Методика проведения испытаний |
Да |
Да |
Да |
Да |
Нет |
|
26.15.2 |
Критерии оценки |
Да |
Да |
Да |
Да |
Нет |
|
27 |
Контрольные проверки и испытания |
Да |
Да |
Да |
Да |
Да |
|
28 |
Ответственность изготовителя |
Да |
Да |
Да |
Да |
Да |
|
28.1 |
Сертификат |
Да |
Да |
Да |
Да |
Да |
|
28.2 |
Ответственность за маркировку |
Да |
Да |
Да |
Да |
Да |
|
29 |
Маркировка |
Да |
Да |
Да |
Да |
Да |
|
30 |
Руководства по эксплуатации |
Да |
Да |
Да |
Да |
Да |
|
Примечание 1 - В таблице «Да» означает, что требования соответствующего раздела или пункта МЭК 60079-0 применяют, «Нет» - что требования либо не применяют, либо заменяют требованиями настоящего стандарта. Примечание 2 - Защита вида nС означает устройства, залитые компаундом, контактные устройства, неподжигающие компоненты, устройства, заключенные в герметично плотные оболочки, и устройства, герметично запаянные в оболочку. Примечание 3 - В пункте 6.2 перечислены испытания пункта 26.4, различающиеся для переносного и стационарного оборудования. |
||||||
Примечание 1 - Применение неподжигающего компонента ограничивается конкретной цепью, при использовании с которой он является неподжигающим, поэтому он не может быть оценен на соответствие настоящему стандарту отдельно.
Примечание 2 - Соответствие требованиям настоящего стандарта не отменяет и не принижает требований любых других стандартов, которым соответствует электрооборудование.
Примечание 3 - Настоящий стандарт дополняет и может усиливать требования к оборудованию для нормального промышленного применения. Если указано соответствие стандартам МЭК, например МЭК 60034 для машин, МЭК 60598-2 для светильников, то подтверждать соответствие таким стандартам обычно должен изготовитель.
Следующие документы, на которые сделаны ссылки, обязательны при использовании настоящего стандарта. Для датированных ссылок применяют только указанное издание. Для недатированных ссылок применяют последнее издание указанного документа (со всеми поправками).
МЭК 60034 (все части) Вращающиеся электрические машины
МЭК 60034-1 Вращающиеся электрические машины - Часть 1: Номинальные и рабочие характеристики
МЭК 60034-5 Вращающиеся электрические машины - Часть 5: Степени защиты, обеспечиваемые оболочками вращающихся электрических машин (код IP) - Классификация
МЭК 60034-7 Вращающиеся электрические машины - Часть 7: Классификация типов конструкций и монтажных устройств и положения распределительной коробки (код IM)
МЭК 60034-25 Вращающиеся электрические машины - Часть 25: Руководство по конструкциям и эксплуатационным характеристикам асинхронных двигателей с короткозамкнутым ротором, специально предназначенным для электропитания через преобразователь
МЭК 60061 (все части) Цоколи и патроны ламповые, а также калибры для проверки их взаимозаменяемости и безопасности
МЭК 60068-2-27:1987 Основные методы испытаний на воздействие внешних факторов. Часть 2: Испытания. Испытание Еа и руководство. Одиночный удар
МЭК 60079-0:2004 Электрооборудование для взрывоопасных газовых сред - Часть 0: Общие требования
МЭК 60079-1 Электрооборудование для взрывоопасных газовых сред - Часть 1: Взрывонепроницаемые оболочки «d»
МЭК 60079-11:1999 Электрооборудование для взрывоопасных газовых сред - Часть 11: Искробезопасная цепь «i»
МЭК 60079-17 Электрооборудование для взрывоопасных газовых сред - Часть 17: Проверка и техническое обслуживание электроустановок во взрывоопасных зонах (кроме подземных выработок)
МЭК 60081 Лампы люминесцентные двухцокольные для общего освещения. Требования к рабочим характеристикам1)
МЭК 60112 Методы определения сравнительного и контрольного индексов трекингостойкости твердых изоляционных материалов во влажной среде
МЭК 60155 Стартеры для трубчатых люминесцентных ламп
МЭК 60238:1998 Патроны резьбовые для электрических ламп1)
МЭК 60269-3 Предохранители плавкие низковольтные - Часть 3: Дополнительные требования к плавким предохранителям, используемым неквалифицированным персоналом (главным образом, бытового и аналогичного назначения)
МЭК 60400 Патроны для трубчатых люминесцентных ламп и стартеров общего освещения1)
МЭК 60529:1989 Степени защиты, обеспечиваемые оболочками (Код IP)1)
МЭК 60598-1:1996 Светильники - Часть 1: Общие требования и испытания
МЭК 60598-2 (все части) Светильники - Часть 2: Частные требования
МЭК 60664-1 Координация изоляции для оборудования в низковольтных системах. Часть 1: Принципы, требования и испытания1)
МЭК 60927:1996 Устройства вспомогательные для ламп. Пусковые устройства (кроме стартеров тлеющего разряда). Требования к рабочим характеристикам1)
МЭК 60998-2-4: 1993 Устройства соединительные для низковольтных цепей бытового и аналогичного назначения. Часть 2-4: Частные требования к устройствам для соединения методом скрутки
МЭК 61048 Конденсаторы, используемые в цепях трубчатых люминесцентных и других разрядных ламп. Общие требования и требования техники безопасности1)
МЭК 61184 Патроны ламповые штыковые
МЭК 61347-1 Аппаратура управления ламповая - Часть 1: Общие требования и требования безопасности
МЭК 61347-2-1 Аппаратура управления ламповая - Часть 2-1: Частные требования к пусковым устройствам (кроме стартеров тлеющего разряда)
МЭК 61347-2-2 Аппаратура управления ламповая - Часть2-2: Частные требования к электронным понижающим преобразователям с питанием от постоянного или переменного тока для ламп накаливания
МЭК 61347-2-3 Аппаратура управления ламповая - Часть2-3: Частные требования к электронным балластным сопротивлениям, питаемым переменным током, для люминесцентных ламп1)
МЭК 61347-2-4 Аппаратура управления ламповая - Часть2-4: Частные требования к электронным балластным сопротивлениям, питаемым постоянным током, для освещения
МЭК 61347-2-7 Аппаратура управления ламповая - Часть2-7: Частные требования к электронным балластным сопротивлениям, питаемым постоянным током, для аварийного освещения
МЭК 61347-2-8 Аппаратура управления ламповая - Часть2-8: Частные требования к электронным балластным сопротивлениям для люминесцентных ламп
МЭК 61347-2-9 Аппаратура управления ламповая - Часть2-9: Частные требования к электронным балластным сопротивлениям для разрядных ламп (кроме люминесцентных)1)
EN 50262 Метрические кабельные вводы для электроизоляции
__________
1)Существует сводное издание этого стандарта.
В настоящем стандарте применены термины МЭК 60079-0, а также следующие термины с соответствующими определениями:
3.1 ящик (аккумуляторных батарей) [(battery) container]: Оболочка, в которой находится аккумуляторная батарея.
Примечание - Крышка является частью ящика аккумуляторной батареи.
3.2 переходная коробка (cable sealing box): Дополнительная оболочка, устанавливаемая для уплотнения изоляции кабеля (например, маслонаполненный кабель) в месте, где кабель подключается к электрооборудованию. Оболочка также может служить для подключения отдельных кабельных концов к кабелю.
3.3 электрический зазор (clearance): Самое короткое расстояние в воздухе между двумя электропроводящими деталями.
[МЭК 60664-1, статья 1.3.2]
3.4 путь утечки (creepage distance): Самое короткое расстояние по поверхности изоляционного материала между двумя электропроводящими деталями.
3.5 цикл нагрузки (duty cycle): Периодическое изменение нагрузки во времени, которое может повторяться или не повторяться, при этом длительность цикла недостаточна для установления теплового равновесия.
[МЭС 411-51-07] [1]
3.6 искробезопасная электрическая цепь «n» (energy limitation): Электрическая цепь, выполненная так, что электрический разряд или ее нагрев не может воспламенить взрывоопасную смесь при предписанных настоящим стандартом условиях испытаний.
3.7 разделение (separation): Минимальное расстояние между двумя электропроводящими деталями через твердый изоляционный материал.
3.8 залитое разделительное уплотнение (sealing device): Устройство, предотвращающее проникновение газа или жидкости между электрооборудованием и трубой, в которой проложен проводник, благодаря использованию уплотнения.
3.9 защита вида «n» (type of protection «n»): Вид взрывозащиты, заключающийся в том, что электрооборудование, при конструировании которого приняты дополнительные меры защиты в нормальном и некоторых ненормальных режимах работы, обусловленных в настоящем стандарте, не может вызвать воспламенение окружающей взрывоопасной газовой среды.
Примечания
1 В дополнение, требования настоящего стандарта предназначены обеспечивать условия, при которых появление неисправностей, способных вызвать воспламенение, маловероятно.
2 Пример ненормального режима работы - светильник с неисправной лампочкой.
3.9.1 неискрящее электрооборудование «nA» (non-sparking device «nA»): Устройство, у которого в условиях нормальной эксплуатации вероятность возникновения дуговых или искровых электрических разрядов минимальная.
Примечание - Согласно настоящему стандарту в условиях нормальной эксплуатации предполагается, что удаление отдельных частей или присоединение дополнительных частей исключается, если цепи электрооборудования находятся под напряжением.
3.9.2 устройства и дополнительные части «nC» (devices and components «nC»)
3.9.2.1 герметично запаянное в оболочку устройство «nC» (encapsulated device «nC»): Устройство, содержащее или не содержащее полостей, все части которого залиты компаундом для предупреждения проникновения в него окружающей взрывоопасной среды.
Примечание - Настоящий стандарт под герметично запаянным в оболочку устройством подразумевает частную форму герметизированного устройства. Это не обеспечивает равную защиту герметизированному оборудованию, выполненному в соответствии с МЭК 60079-18 [2].
3.9.2.2 контактное устройство во взрывонепроницаемой оболочке «nC» (enclosed-break device «nC»): Электрические контакты электрооборудования, могущие замыкаться и размыкаться, заключенные в оболочку, способную выдерживать без повреждения внутренний взрыв взрывоопасного газа или пара, который может в нее попасть, и не передать внутренний взрыв взрывоопасному газу или пару, находящемуся снаружи.
3.9.2.3 герметично запаянная оболочка «nC» (hermetically-sealed device «nC»): Оболочка электрооборудования, имеющая такую конструкцию, при которой находящаяся снаружи взрывоопасная среда не может проникнуть вовнутрь и герметичность которой достигается пайкой мягким или твердым припоем, сваркой или заливкой соединений расплавленным стеклом.
3.9.2.4 неподжигающий компонент «nC» (non-incendive component «nC»): Электрические контакты электрооборудования, могущие замыкаться или размыкаться и имеющие такую конструкцию, при которой электрические разряды при коммутации не могут вызвать воспламенения взрывоопасной газовой среды.
3.9.2.5 герметично плотная оболочка «nC» (sealed device «nC»): Оболочка, имеющая такую конструкцию, при которой она не может быть открыта при обслуживании и которая герметично закрыта для предупреждения проникновения внутрь среды, находящейся снаружи.
3.9.3 искробезопасное электрооборудование «nL» (energy-limited apparatus «nl»): Электрооборудование, у которого все цепи и компоненты выполнены в соответствии с концепцией искробезопасности.
3.9.4 связанное искробезопасное электрооборудование «[nL]» или «[Ex nL]» (associated energy-limited apparatus «[nL]» or «[Ex nL]»): Электрооборудование, в котором имеются как искробезопасные, так и искроопасные цепи и которое имеет такую конструкцию, что искроопасные цепи не могут отрицательно влиять на воспламеняющую способность искробезопасных цепей.
Связанным электрооборудованием с защитой вида «n» может быть:
а) электрооборудование, которое имеет защиту другого вида, указанную в настоящем стандарте, для использования в соответствующей взрывоопасной газовой смеси [nL];
b) электрооборудование, которое имеет защиту другого вида, указанную в МЭК 60079-0, для использования в соответствующей взрывоопасной газовой смеси [nL];
c) электрооборудование, не имеющее взрывозащиты, которое поэтому не должно быть использовано во взрывоопасной смеси, например регистрирующее устройство, которое само не находится во взрывоопасной смеси, но присоединено к термопаре, находящейся во взрывоопасной смеси. При этом только входная цепь регистрирующего устройства искробезопасна [Ex nL].
3.9.5 искробезопасное электрооборудование с внутренней защитой «nA nL» (self protected energy-limited apparatus «nA nL»): Электрооборудование, содержащее искробезопасные искрящие контакты (включая искробезопасные компоненты и устройства), на которые подается искробезопасная энергия, а также содержащее цепи с искроопасным источником энергии.
3.9.6 оболочка с ограниченным пропуском газов «nR» (restricted-breathing enclosure «nR»): Оболочка, имеющая такую конструкцию, при которой поступление вовнутрь газа, пара и тумана ограничено.
Электрооборудование должно быть классифицировано по группам и температурным классам в соответствии с разделом 4 МЭК 60079-0.
В нормальном и в некоторых ненормальных режимах работы, указанных в настоящем стандарте, электрооборудование не должно:
a) создавать дуговые или искровые разряды в рабочем режиме, если не приняты меры, указанные в соответствии с разделами 26 - 31, исключающие возможность воспламенения этими разрядами окружающей взрывоопасной среды;
b) иметь температуру поверхности, значение которой выше максимального значения для температурного класса электрооборудования, если поверхность или участок поверхности электрооборудования, имеющие высокую температуру, не защищены от воспламенения окружающей взрывоопасной среды одним из способов, указанных в разделах 26 - 31, или безопасность не подтверждена другим способом в соответствии с требованиями 5.5.
Примечание - Контакты, которые могут перемещаться (скользить), следует рассматривать как нормально искрящие, если не приняты специальные меры, например такие, как закрепление контакта на токопроводящей дорожке.
5.1.1 Температура окружающей среды
Требования к температуре окружающей среды - в соответствии с 5.1.1 МЭК 60079-0.
5.1.2 Внешние источники нагревания и охлаждения
Требования к внешним источникам нагревания и охлаждения - в соответствии с 5.1.2 МЭК 60079-0.
Требования к рабочей температуре - в соответствии с 5.2 МЭК 60079-0.
5.3.1 Определение максимальной температуры поверхности
Требования к максимальной температуре поверхности - в соответствии с 5.3.1 МЭК 60079-0, кроме электрооборудования [nL] и [Ex nL].
5.3.2 Ограничение максимальной температуры поверхности
Требования к ограничению максимальной температуры поверхности - в соответствии с 5.3.2 МЭК 60079-0, кроме электрооборудования [nL] и [Ex nL].
Требования 5.4 МЭК 60079-0 не применяют и заменяют следующим:
За исключением внешних частей оболочек вида nR и устройств и компонентов вида nС или компонентов, удовлетворяющих требованиям 5.5, поверхность любой части электрооборудования, включая внутренние части, в которые может проникнуть потенциальная взрывоопасная среда, не должны нагреваться выше максимальной температуры поверхности, указанной в 5.4 МЭК 60079-0.
Для оценки малых компонентов, за исключением оборудования [nL] и [Ex nL], применяют требования 5.5 и 5.6 МЭК 60079-0. К тонким проволокам и печатным проводникам допускается также применять требования температурной релаксации МЭК 60079-11, которые могут быть использованы в качестве дополнения к настоящему стандарту.
Электрооборудование с защитой вида «n» должно соответствовать требованиям настоящего стандарта и соответствующих частей МЭК 60079-0 по примененному(ым) методу(ам) защиты.
Механическая прочность оборудования должна соответствовать 6.2 МЭК 60079-0, кроме электрооборудования [nL] и [Ex nL].
Требования 6.3 МЭК 60079-0 не применяют, за исключением оболочек с ограниченным пропуском газов nR.
Применяют требования 6.4 МЭК 60079-0, кроме электрооборудования [nL] и [Ex nL].
Применяют требования 6.5 МЭК 60079-0, кроме электрооборудования [nl] и [Ex nL].
6.6.1 Минимальная степень защиты
За исключением случаев, особо обусловленных в настоящем стандарте, оболочка электрооборудования при испытаниях в соответствии с требованиями 33.3.4 должна обеспечивать, по меньшей мере, степень защиты, указанную ниже в перечислении а) или b), если безопасность применения электрооборудования не может быть нарушена контактом с твердыми посторонними предметами или водой (например, тензометры, термометры сопротивления, термопары). Случаи, когда это возможно, должны быть отражены в технической документации (см. раздел 36), и должны быть указаны специальные требования на установку электрооборудования, а в его маркировке должен содержаться знак «X» для обозначения специальных условий применения (см. раздел 29 МЭК 60079-0):
a) IP54 - в случаях, когда в электрооборудовании имеются неизолированные токоведущие части, или IP44 - в случаях, когда все токоведущие части электрооборудования изолированы;
b) IP4X - при наличии в оболочке неизолированных токоведущих частей или IP44 - при отсутствии в оболочке неизолированных токоведущих частей, в случаях, когда электрооборудование предназначено для установки только в местах, в которых в него невозможно попадание твердых посторонних предметов или воды, способных нарушить безопасное использование, и при этом в маркировке электрооборудования должен содержаться знак «X» (см. раздел 29 МЭК 60079-0).
Степень защиты защищенного оборудования должна быть маркирована в соответствии с разделом 35.
Примечание 1 - Требования к степени защиты оболочек вращающихся электрических машин содержатся в разделе 17.
Примечание 2 - Требования к степени защиты неискрящего оборудования малой мощности содержатся в разделе 23.
6.6.2 Степень защиты, обеспечиваемая инсталляцией
В случаях, когда оболочка становится замкнутой только после установки электрооборудования, в его маркировке должен содержаться знак «X» и в технической документации должна быть информация в соответствии с требованиями раздела 36.
Электрические зазоры, пути утечки и расстояния в твердом диэлектрике между токоведущими частями электрооборудования, находящимися под разным напряжением, должны быть такими, как указано в таблице 2. Это требование не распространяется на:
- устройства для присоединения нейтральной точки вращающихся электрических машин, соответствующие требованиям 17.3;
- светильники, соответствующие требованиям 21.2.7;
- части электрооборудования, которое подлежит испытаниям в соответствии с требованиями 6.8.2, находящиеся в герметичных оболочках, залитые компаундом или разделенные твердой изоляцией;
- искробезопасное электрооборудование, искробезопасные цепи и связанное электрооборудование (см. раздел 31), в котором не соответствующие требованиям таблицы 2 пути утечки и зазоры могут быть оценены или испытаны с использованием специальных методик на том основании, что проводящие части могут поочередно контактировать друг с другом и необходимо принимать во внимание последствия таких контактов;
- измерительные приборы и электрооборудование малой мощности, соответствующее требованиям раздела 24.
Электрическую цепь, которая не связана с землей в нормальном режиме работы, следует рассматривать как заземленную в точке, при заземлении в которой в цепи может возникнуть самое высокое напряжение U.
6.7.2 Определение рабочего напряжения
Значения электрических зазоров и путей утечки следует определять в зависимости от значения рабочего напряжения, указанного изготовителем электрооборудования. Если электрооборудование предназначено для работы при более чем одном номинальном напряжении или для работы в определенном диапазоне изменения номинального напряжения, для определения электрических зазоров и путей утечки необходимо использовать самое большое значение номинального напряжения.
Поверхностное покрытие, если оно нанесено, должно защищать уплотнение проводников и изоляционный материал от влаги. Покрытие должно плотно прилегать к поверхности токопроводящих частей и изоляционных материалов. Если покрытие наносят напылением, то должно быть нанесено два слоя. При использовании других методов нанесения покрытия достаточно одного слоя, например в случае покрытия погружением, окрашивания кистью или вакуумной пропитки. Покрытие должно быть нанесено так, чтобы оно было эффективным, долговечным и сохраняло целость изоляции. Покрытие, полученное при пайке, если оно не повреждено, можно рассматривать как один слой при двухслойном покрытии.
Если из покрытия выступают неизолированные проводники, требования таблицы 2 должны быть выполнены как для изоляции, так и для покрытия с учетом минимального сравнительного индекса трекингостойкости (СИТ).
6.7.4 Сравнительный индекс трекингостоикости (СИТ)
Пути утечки зависят от рабочего напряжения, трекингостоикости и профиля поверхности изоляционного материала.
В таблице 3 приведены данные, относящиеся к разделению электроизоляционных материалов на группы в соответствии с минимальным сравнительным индексом трекингостойкости, определенным по методике, содержащейся в МЭК 60112. Разделение на группы, приведенное в таблице 3, соответствует данным, содержащимся в МЭК 60664-1. Неорганические изоляционные материалы, например стекло и керамика, мало подвержены воздействию поверхностных разрядов, поэтому эти материалы следует относить к группе 1.
Примечание - Перенапряжения переходного процесса при определении пути утечки не учитывают, так как они обычно не оказывают влияния на трекингостойкость. Однако может возникнуть необходимость учета кратковременно действующих напряжений при работе электрооборудования в зависимости от их продолжительности и частоты. Информация об этом содержится в 21.2.7 и таблице 8 для импульсных напряжений в цепях светильников и, дополнительно, в МЭК 60664-1.
6.7.5 Измерение зазоров и путей утечки
Значения электрических зазоров, путей утечки и расстояний в твердом диэлектрике следует определять при таком положении движущихся частей, при котором эти значения наименьшие.
Соединительные контактные зажимы должны быть оценены измерениями, выполняемыми с проводниками и имеющими самую большую площадь поперечного сечения, указанную изготовителем, и без проводников.
Примечание 1 - Предполагается, что винты неиспользуемых соединительных контактных зажимов всегда должны быть полностью затянуты во время работы электрооборудования.
Электрические зазоры и пути утечки для внешних соединений должны соответствовать требованиям таблицы 2, но не должны быть менее 1,5 мм.
На рисунке 1 (примеры приведены из МЭК 60664-1) показано, какие особенности необходимо учитывать при определении пути утечки или электрического зазора.
Примечание 2 - Цемент в соединении твердых диэлектриков рассматривают как материал, прерывающий путь утечки или зазор.
Влияние ребер и бороздок учитывают при условии, что:
- ребра на поверхности имеют минимальную высоту 1,5 мм и минимальную толщину 0,4 мм при удовлетворительной механической прочности материала;
- бороздки на поверхности имеют минимальную глубину 1,5 мм и минимальную ширину 1,5 мм.
Примечание 3 - Выступы над поверхностью или углубления в ней считают ребрами или бороздками независимо от их геометрической формы.
Таблица 2 - Минимальные пути утечки, электрические зазоры и расстояния
|
Напряжение переменного (действующее значение)или постоянного тока, В (примечание 1) |
Минимальные пути утечки, мм (примечание 2) |
Минимальные зазоры и расстояния в твердом диэлектрике, мм |
|||||
|
Группа материала |
В воздухе |
Герметично закрытые (примечание 3) |
Залитые компаундом или с твердой изоляцией (примечание 4) |
||||
|
I |
II |
IIIa |
IIIb |
||||
|
≤ 10 (примечание 5) |
1 |
1 |
1 |
1 |
0,4 |
0,3 |
0,2 |
|
≤ 12,5 |
1,05 |
1,05 |
1,05 |
1,05 |
0,4 |
0,3 |
0,2 |
|
≤ 16 |
1,1 |
1,1 |
1,1 |
1,1 |
0,8 |
0,3 |
0,2 |
|
≤ 20 |
1,2 |
1,2 |
1,2 |
1,2 |
0,8 |
0,3 |
0,2 |
|
≤ 25 |
1,25 |
1,25 |
1,25 |
1,25 |
0,8 |
0,3 |
0,2 |
|
≤ 32 |
1,3 |
1,3 |
1,3 |
1,3 |
0,8 |
0,3 |
0,2 |
|
≤ 40 |
1,4 |
1,6 |
1,8 |
1,8 |
0,8 |
0,6 |
0,3 |
|
≤ 50 |
1,5 |
1,7 |
1,9 |
1,9 |
0,8 |
0,6 |
0,3 |
|
≤ 63 |
1,6 |
1,8 |
2 |
2 |
0,8 |
0,6 |
0,3 |
|
≤ 80 |
1,7 |
1,9 |
2,1 |
2,1 |
0,8 |
0,8 |
0,6 |
|
≤ 100 |
1,8 |
2 |
2,2 |
2,2 |
0,8 |
0,8 |
0,6 |
|
≤ 125 |
1,9 |
2,1 |
2,4 |
2,4 |
1 |
0,8 |
0,6 |
|
≤ 160 |
2 |
2,2 |
2,5 |
2,5 |
1,5 |
1,1 |
0,6 |
|
≤ 200 |
2,5 |
2,8 |
3,2 |
3,2 |
2 |
1,7 |
0,6 |
|
≤ 250 |
3,2 |
3,6 |
4 |
4 |
2.5 |
1,71 |
0,6 |
|
≤ 320 |
4 |
4,5 |
5 |
5 |
3 |
2,4 |
0,8 |
|
≤ 500 |
6,3 |
7,1 |
8 |
8 |
5 |
2,4 |
0,8 |
|
≤ 630 |
8 |
9 |
10 |
10 |
5,5 |
2,9 |
0,9 |
|
≤ 800 |
10 |
11 |
12,5 |
- |
7 |
4 |
1,1 |
|
≤ 1000 |
11 |
13 |
- |
8 |
5,8 |
1,7 |
|
|
≤ 1250 |
12 |
15 |
- |
10 |
- |
- |
|
|
≤ 1600 |
13 |
17 |
- |
12 |
- |
- |
|
|
≤ 2000 |
14 |
20 |
- |
14 |
- |
- |
|
|
≤ 2500 |
18 |
25 |
- |
18 |
- |
- |
|
|
≤ 3200 |
22 |
32 |
- |
22 |
- |
- |
|
|
≤ 4000 |
28 |
40 |
- |
28 |
- |
- |
|
|
≤ 5000 |
36 |
50 |
- |
36 |
- |
- |
|
|
≤ 6300 |
45 |
63 |
- |
45 |
- |
- |
|
|
≤ 8000 |
56 |
80 |
- |
56 |
- |
- |
|
|
≤ 10000 |
71 |
100 |
- |
70 |
- |
- |
|
|
≤ 11000 |
78 |
110 |
- |
75 |
- |
- |
|
|
≤ 13800 |
98 |
138 |
- |
97 |
- |
- |
|
|
≤ 15000 |
107 |
150 |
- |
105 |
- |
|
|
|
Примечание 1 - Для напряжений до 1000 В рабочее напряжение может превышать указанное в таблице на 10 %. Примечание 2 - Напряжения для соответствующих путей утечки взяты из МЭК 60664-1. При напряжении до 800 В указанные пути утечки соответствуют степени загрязнения 3 при напряжении от 2000 до 10000 В - степени загрязнения 2, другие приведенные значения получены или интерполяцией, или экстраполяцией. Примечание 3 - Защищено другим поверхностным покрытием (см. 6.7.3). Примечание 4 - Полностью залито компаундом на глубину не менее 0,4 мм или раздельно твердым диэлектрическим (например печатной платой). Примечание 5 - При напряжении 10 В и ниже значение сравнительного индекса трекингостойкости не характеризует свойства поверхности. Поэтому можно использовать материалы, не соответствующие требованиям группы IIIb. Примечание 6 - Указанные значения путей утечек и зазоров основаны на максимально номинальном напряжении с допустимым отклонением ± 10%. |
|||||||
Таблица 3 - Трекингостойкость изоляционных материалов
Группа материала |
Минимальный сравнительный индекс трекингостойкости СИТ |
|
I |
600 ≤ СИТ |
|
II |
400 ≤ СИТ < 600 |
|
IIIa |
175 ≤ СИТ < 400 |
|
IIIb |
100 ≤ СИТ < 175 |
6.7.6 Переходные коробки, залитые компаундом
Конструкция переходных коробок, залитых компаундом, для кабелей, имеющих номинальное напряжение более 750 В, должна быть такой, чтобы пути утечки и электрические зазоры, указанные в таблице 3, были обеспечены для токоведущих частей до заливки компаундом.
Примечание - Данные, приведенные в таблице 4, отличаются от данных, приведенных в таблице 2. Данные таблицы 2 учитывают свойства компаунда и более низкий уровень достоверности того, что требуемые расстояния фактически обеспечиваются в конкретном электрооборудовании.
Таблица 4 - Электрические зазоры и пути утечки для залитых компаундом переходных коробок
|
Номинальное напряжение U переменного или постоянного тока, В |
Пути утечки, мм |
Электрические зазоры, мм |
||
|
Между фазами |
между фазой и землей |
Между фазами |
между фазой и землей |
|
|
750 < U ≤ 1100 |
19 |
19 |
12,5 |
12,5 |
|
1100< U ≤ 3300 |
37,5 |
25 |
19 |
12,5 |
|
3300 < U ≤ 6600 |
63 |
31,5 |
25 |
19 |
|
6600 < U ≤ 11000 |
90 |
45 |
37,5 |
25 |
|
11000 < U ≤ 13800 |
110 |
55 |
45 |
31,5 |
|
13800 < U ≤ 15000 |
120 |
60 |
50 |
35 |
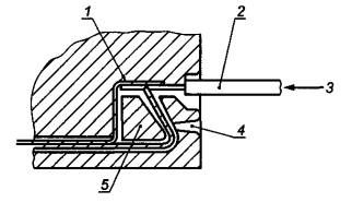
Пример 1

|
Условие - В промежутке имеется канавка с параллельными или сходящимися сторонами любой глубины, шириной менее 1,5 мм. |
Правило - Путь утечки и электрические зазоры измеряют непосредственно поперек паза, как показано. |
Пример 2

|
Условие - В промежутке имеется канавка с параллельными сторонами любой глубины d, шириной, равной или более 1,5 мм. |
Правило - Электрический зазор определяют по «линии прямой видимости». Путь утечки повторяет контур канавки. |
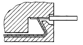
Пример 3

|
Условие - В промежутке имеется V-образная канавка шириной более 1,5 мм. |
Правило - Электрический зазор определяют по «линии прямой видимости». Путь утечки частично повторяет контур канавки и замыкается у ее основания прямым участком длиной 1,5 мм. |
Пример 4

|
Условие - В промежутке имеется ребро. |
Правило - Электрический зазор определяют по кратчайшему расстоянию в воздухе через вершину ребра. Путь утечки повторяет контур ребра. |
Пример 5

|
Условие - В промежутке имеется выступ, представляющий собой не скрепленное клеем соединение, с канавками шириной менее чем 1,5 мм с каждой стороны. |
Правило - Электрический зазор определяют по «линии прямой видимости», как показано на рисунке. |
Пример 6

|
Условие - В промежутке имеется выступ, представляющий собой не скрепленное клеем соединение, с канавками шириной, равной или более 1,5 мм с каждой стороны. |
Правило - Электрический зазор определяют по «линии прямой видимости». Путь утечки повторяет контур канавок. |
Пример 7

|
Условие - В промежутке имеется выступ, представляющий собой не скрепленное клеем соединение, с канавкой шириной менее 1,5 мм с одной стороны и с канавкой шириной, равной или более 1,5 мм с другой стороны. |
Правило - Электрический зазор и путь утечки определяют как показано на рисунке. |
Пример 8

|
Условие - Путь утечки через не скрепленное клеем соединение меньше пути утечки через барьер. |
Правило - Электрический зазор определяют по кратчайшему пути по воздуху через вершину барьера. |
Пример 9

Зазор между головкой винта и стенкой углубления достаточно широкий, поэтому его следует учитывать.
Пример 10

Зазор между головкой винта и стенкой углубления слишком узкий, чтобы его учитывать. Измерение пути утечки по поверхности следует начинать от точки на стенке углубления, отстоящей от винта на расстоянии 1,5 мм.
Пример 11

С' - проводник, расположенный в промежутке между двумя другими.
Электрический зазор равен d + D.
Путь утечки также равен d + D.
Условные обозначения:
|
|
|
|
1 - электрический зазор; |
2 - путь утечки |
Рисунок - Примеры определения путей утечки и электрических зазоров.
6.8.1 Изоляция относительно земли или корпуса
Если электрические цепи в электрооборудовании не соединены
непосредственно с корпусом или не должны быть соединены с ним во время работы,
изоляция или электрические зазоры должны выдерживать без пробоя следующие
испытательные напряжения в течение 60 с с относительным отклонением ![]()
500 В - действующее значение напряжения с относительным отклонением
для
электрооборудования, у которого амплитудное значение напряжения питания не
превышает 90 В и в котором амплитудное значение генерируемого напряжения также
не превышает 90 В;
(2U + 1000) В или 1500 В -
действующее значение напряжения с относительным отклонением
в зависимости от
того, что больше, для остального электрооборудования или в случаях, когда
амплитудное значение генерируемого напряжения превышает 90 В.
В качестве альтернативы испытательному напряжению переменного тока может быть использовано испытательное напряжение постоянного тока, и оно должно составлять 170 % указанного действующего значения испытательного напряжения переменного тока для изолированной обмотки или 140 % указанного действующего значения испытательного напряжения переменного тока, если воздушный или электрический зазор является изолирующей средой.
Примечание - U - большее из номинального напряжения питания или напряжения внутри электрооборудования.
Для гальванически не связанных между собой частей электрооборудования испытания должны быть проведены для каждой части с раздельным выбором испытательного напряжения.
6.8.2 Изоляция между токоведущими частями
Если части электрооборудования относятся к тем, на которые не распространяются требования 6.7.1, а именно заключенные в герметичные оболочки, залитые компаундом или разделенные твердым диэлектриком части, и если пробой электрических промежутков может вызвать появление дуги, искры или нагретой поверхности, способных воспламенить взрывоопасную смесь, изоляция или зазоры между токоведущими частями должны быть испытаны на электрическую прочность в соответствии с требованиями 6.8.1.
Примечание - В случаях, когда такие испытания могут повредить элементы электронных схем, например полупроводники, допускается проводить испытания на электрооборудовании, на котором они не установлены, за исключением случаев, когда эти элементы также должны быть испытаны на прочность изоляции (например, разряд может возникнуть при нарушении изоляции транзистора в металлическом корпусе, закрепленного винтами на корпусе электрооборудования).
На неметаллические оболочки и их части распространяются требования 7.1 МЭК 60079-0, за исключением оборудования с защитой [nL] и [Ex nL].
Требования 7.2 МЭК 60079-0 не применяют и заменяют следующим:
За исключением оборудования с защитой видов [nL] и [Ex nL], оболочки должны быть подвергнуты испытаниям на теплостойкость в соответствии с 33.3.2.1 и 33.3.2.2. Пластмасса должна иметь относительный температурный индекс RTI или TI, соответствующий точке 20000 ч, по меньшей мере на 10 К выше температуры самой нагретой поверхности оболочки или детали оболочки с учетом максимальной температуры окружающей среды при работе в пределах номинальных параметров.
Применяют требования 7.3 МЭК 60079-0, за исключением оборудования с защитой видов [nL] и [Ex nL].
Применяют требования 7.4 МЭК 60079-0.
За исключением оборудования с защитой видов [nL] и [Ex nL], к стеклянным частям светильников, окошек или других частей оболочек из стекла применяют требования 26.5.2 МЭК 60079-0.
На неметаллические оболочки и их части распространяются требования 26.10 МЭК 60079-0, за исключением оборудования с защитой [nL] и [Ex nL].
За исключением оборудования с защитой видов [nL] и [Ex nL], применяют требования 8.1 МЭК 60079-0.
За исключением оборудования с защитой видов [nL] и [Ex nL], применяют требования 8.2 МЭК 60079-0.
За исключением оборудования с защитой видов [nL] и [Ex nL], применяют требования 9.1 МЭК 60079-0.
Требования 9.2 и 9.3 МЭК 60079-0 не применяют.
Требования раздела 10 МЭК 60079-0 не применяют.
За исключением оборудования с защитой видов [nL] и [Ex nL], применяют требования разделан МЭК 60079-0.
Требования раздела 12 МЭК 60079-0 не применяют и заменяют следующим: Материалы, используемые в качестве герметиков, от которых зависит безопасность, должны обладать термической стабильностью, адекватной минимальной и максимальной температурам, при которых они будут работать, в пределах номинальных характеристик данного электрооборудования.
Термическую стабильность считают адекватной, если предельные значения продолжительной температуры для материала ниже или равны значению наименьшей рабочей температуры, указанному для материала, и продолжительная рабочая температура не менее чем на 10 К превышает максимальную температуру.
Требования раздела 13 МЭК 60079-0 не применяют и заменяют следующим:
Ex-компоненты с защитой вида «n» должны отвечать соответствующим требованиям настоящего стандарта и могут быть:
a) пустые оболочки;
b) отдельные детали или узлы из деталей.
Ex-компоненты могут быть установлены:
a) полностью внутри оболочки электрооборудования (например: соединительный контактный зажим, амперметр, ламповый патрон, нагреватель или индикатор);
b) полностью снаружи оболочки электрооборудования (например, заземляющий зажим);
c) частично внутри и снаружи оболочки электрооборудования (например, индикаторная лампа или кнопочный переключатель).
В случае установки полностью внутри оболочки дополнительно испытаны и оценены должны быть только те параметры работы или элементы конструкции компонентов, которые зависят от их установки внутри оболочки (например, температура поверхности, пути утечки и электрические зазоры и другие условия, которые зависят от установки компонента).
В случае установки снаружи оболочки или частично внутри и снаружи оболочки элементы границы раздела между Ex-компонентом и оболочкой должны быть испытаны или оценены на соответствие требованиям настоящего стандарта.
Требования раздела 14 МЭК 60079-0 не применяют и заменяют следующим:
В нормальном режиме работы в контактных электрических соединениях должно быть обеспечено требуемое контактное давление. В частности, на него не должны отрицательно влиять изменения размеров изоляционных материалов в процессе эксплуатации (вследствие изменений температуры, влажности и т.д.). Неискрящие электрические соединения должны иметь конструкцию, при которой возникновение искрения в условиях вибрации было бы невозможным.
Примечание 1 - Сведения о вибрационных испытаниях даны в МЭК 60068-2-6 [3] по условиям применения.
Примечание 2 - Требования к контактным электрическим соединениям для светильников приведены в разделе 21.
Электрооборудование, к которому должны быть присоединены внешние цепи, должно иметь соединительные устройства, такие как:
a) выводы;
b) устройства с постоянно присоединенным кабелем или устройства с постоянно присоединенным кабелем с незакрепленной концевой частью.
14.2.1.1 Выводы
Выводы должны быть надежно защищены от коррозии и обеспечивать присоединение проводников:
a) непосредственно к выводам;
b) без значительного сокращения площади поперечного сечения и исключать ослабление и скручивание проводников;
c) при сохранении требуемого контактного давления.
Для соединительных контактных зажимов, предназначенных для присоединения жил кабелей, имеющих кабельные наконечники, должны быть предусмотрены средства, исключающие недопустимое уменьшение зазоров.
Примечание - Например, это может быть обеспечено использованием барьеров из изоляционного материала достаточной высоты или изоляции хвостовой части кабельного наконечника.
14.2.1.2 Устройства с постоянно присоединенным кабелем с незакрепленной концевой частью Если электрооборудование имеет проводники с незакрепленной концевой частью, свободная часть должна быть достаточной длины, чтобы можно было сделать более одного повторного присоединения.
Примечание 1 - Незакрепленные проводники часто присоединяют таким образом, что всякий раз, когда проводят повторное присоединение, возникает необходимость в некотором укорачивании проводника. Для выбора длины свободной части предполагают, что электрооборудование должно быть присоединено по меньшей мере три раза, хотя может быть предусмотрена дополнительная длина проводника, если известно, что электрооборудование должно быть присоединено более трех раз.
Примечание 2 - Ответственность за выбор вида соединения, используемого для проводников с незакрепленными концами, обеспечение необходимой изоляции, путей утечки и электрических зазоров в соответствии с требованиями 6.7 несет производитель монтажных работ.
14.2.2 Присоединение проводника
Соединительные устройства должны соответствовать размеру проводников, выбираемому по номинальному току электрооборудования.
Примечание - В зависимости от характеристик системы, к которой должно быть присоединено электрооборудование (например, падение напряжения), может возникнуть необходимость в устройстве соединительных контактных зажимов для присоединения проводников большего поперечного сечения, чем это требуется по условиям тепловыделения.
14.2.3 Кабельные вводы
Кабельные вводы должны соответствовать требованиям МЭК 60079-0.
На внутренние вводные устройства не должно быть оказано чрезмерного механического давления. Допускаются следующие способы присоединения проводников:
- способы присоединения, допустимые для внешних соединений;
- изолированные рифленые соединительные устройства;
- запайка;
- пайка твердым припоем;
- сварка;
- поворачивающиеся соединительные устройства, отвечающие требованиям МЭК 60998-2-4;
- зажимные контакты, если муфта расположена на проводнике, и
- соединения, образуемые давлением контактных пружин. В электрических соединениях должно быть обеспечено требуемое контактное давление, и на него не должны отрицательно влиять изменения размеров изоляционных материалов в процессе эксплуатации вследствие изменений температуры или влажности.
Примечание - Если необходима сертификация (третьей стороной), по требованиям настоящего стандарта орган по сертификации не обязан подтверждать соответствие МЭК 60998-2-4. Изготовитель должен указать в документации основания для соответствия, см. раздел 36.
За исключением оборудования с взрывозащитой [nL] и [Ex nL], устройства для присоединения заземляющих или нулевых защитных проводников должны соответствовать требованиям раздела 15 МЭК 60079-0.
За исключением оборудования с взрывозащитой [nL] и [Ex nL], вводы в оболочках должны соответствовать требованиям раздела 16 МЭК 60079-0.
Требования настоящего раздела распространяются на вращающиеся электрические машины в пределах МЭК 60034 (все части). В документации в соответствии с разделом 36 должно быть указано основание такого соответствия МЭК 60034.
Для других вращающихся электрических машин, например часовых двигателей и серводвигателей, требования настоящего стандарта, включая требования настоящего раздела, должны быть применены, если они применимы.
Примечание 1 - Если необходима сертификация (третьей стороной), по требованиям настоящего стандарта орган по сертификации не обязан подтверждать соответствие стандартам МЭК 60034. Изготовитель должен указать в документации основания для соответствия, см. раздел 36.
Примечание 2 - Требования МЭК 60034-5 заменяют требования 6.6.
17.1.1 Оболочки вращающихся электрических машин
Оболочки вращающихся электрических машин, содержащие неизолированные токоведущие части, должны обеспечивать степень защиты не менее чем IP54, как установлено в соответствии с 33.3.4, и не менее IP20 в других случаях.
Примечание - При определении степени защиты оболочек стержни и кольца короткозамкнутых роторов не считают неизолированными токоведущими частями.
17.1.2 Вводные коробки
Вводные коробки, закрепленные на корпусе электрических машин номинальным напряжением до 1000 В, могут быть открытыми внутрь машины при условии, что оболочка обеспечивает степень защиты IP44 или выше. Степень защиты, обеспечиваемая вводной коробкой, должна быть не ниже IP54.
17.1.3 Концевые кабельные коробки, кабельные муфты и разделительные кабельные коробки
Концевые кабельные коробки, кабельные муфты и разделительные кабельные коробки должны обеспечивать степень защиты не менее IP54 в соответствии с 33.3.4.
Соединительные устройства вращающихся электрических машин должны соответствовать требованиям 14.2. Кроме этого, при любых формах присоединения кабеля должна быть предусмотрена возможность отсоединения машины без повреждения заливки кабеля (в случае применения заливочного компаунда) или ее замены без приложения к кабелю механического напряжения, которое могло бы повредить изоляцию или проводники. Указанное требование не распространяется на вращающиеся электрические машины, которые во время обслуживания не требуется присоединять и разъединять.
В случаях, когда устройство присоединения нейтрали не служит средством присоединения источника питания вращающейся электрической машины, минимальные зазоры и пути утечки должны соответствовать принимаемому рабочему напряжению, указанному в таблице 5.
Таблица 5 - Принимаемое рабочее напряжение нейтрали
|
Рабочее напряжение U переменного (действующее значение) или постоянного тока, В |
Принимаемое рабочее напряжение нейтрали, В |
|
≤ 1100 |
U |
|
1100 < U ≤ 3300 |
1100 |
|
3300 < U ≤ 6600 |
3300 |
|
6600 < U ≤ 11000 |
6600 |
|
11000 < U ≤ 15000 |
11000 |
Если оболочка вращающейся электрической машины не обеспечивает степень защиты от внешних воздействий, равную IP44 или выше, и электрическая машина не предназначена для работы в сети с заземленной нейтралью, то устройство для присоединения нейтральной точки, находящееся внутри оболочки, должно быть полностью изолировано.
Минимальное значение, мм, радиального зазора между статором и ротором вращающейся электрической машины, находящейся в состоянии покоя, не должно быть менее значения величины, рассчитанного по формуле
Минимальный
радиальный зазор = ![]()
где D = 75 (для диаметра ротора менее 75 мм), мм; или
D - диаметр ротора (для диаметра от 75 до 750 мм), мм;
D = 750 (для диаметра ротора более 750 мм), мм;
n = 1000 (для максимальной номинальной скорости вращения менее 1000 об/мин), об/мин; или
n - максимальная номинальная скорость вращения (для скорости свыше 1000 об/мин), об/мин;
r = 1 (в случаях, когда отношение длины сердечника к диаметру ротора менее 1,75); или
(в случаях,
когда рассчитанное по этой формуле значение более 1);
b = 1 (для машин с подшипниками качения) или
b = 1,5 (для машин с подшипниками скольжения).
Внутренние и внешние вентиляторы и кожухи должны соответствовать требованиям 17.1 МЭК 60079-0.
17.6.1 Несоприкасающиеся уплотнения и лабиринты
Для подшипников качения минимальный радиальный или осевой зазор между неподвижными и вращающимися частями любого уплотнительного элемента или лабиринта должен быть не менее 0,05 мм. Для подшипников скольжения этот зазор должен быть 0,1 мм. Минимальный зазор должен быть обеспечен при всех возможных положениях вала внутри подшипника.
Примечание 1 - Осевое перемещение в шариковом подшипнике может быть в 10 раз больше, чем радиальное.
Примечание 2 - Это требование не распространяется на подшипники с крышками, являющимися составной частью подшипников (подшипники «уплотненные на весь срок службы»).
17.6.2 Скользящие уплотнения
Если электрооборудование имеет скользящие уплотнения, они должны быть или смазываемыми, или изготовленными из материала, имеющего низкий коэффициент трения, например политетрафторэтилена. В первом случае конструкция подшипника должна обеспечивать принудительную подачу смазки к уплотнению.
Скользящие уплотнения оценивают в соответствии с требованиями раздела 5.
Примечание 1 - Для того чтобы при работе температура деталей уплотнения не превышала допустимую, изготовитель должен представить информацию о техническом обслуживании, которое необходимо выполнять, чтобы обеспечить соответствие требованиям 17.6 при длительной эксплуатации.
Примечание 2 - Скользящие уплотнения, поперечное сечение которых уменьшается при старении (например, фетровые уплотнительные кольца), считают удовлетворяющими требованиям, если их температура не выходит за установленные пределы при работе в условиях, когда их свойства изменились. Эластичные элементы уплотнений, которые изменяют свою форму во время вращения (например, V-образные кольца), также считают удовлетворяющими требованиям при аналогичных условиях.
17.7.1 «Беличьи клетки», состоящие из стержней, соединенных с замыкающими кольцами
В нормальном режиме работы вращающихся электрических машины должны быть приняты меры для предупреждения возникновения воспламеняющих дуговых или искровых электрических разрядов. В частности, соединения между стержнями и замыкающими кольцами должны быть выполнены пайкой или сваркой. Необходимо использовать материалы, обеспечивающие высокое качество соединений.
17.7.2 Литые «беличьи клетки»
Литые «беличьи клетки» должны быть изготовлены литьем под давлением или центробежным литьем или другим подобным способом, обеспечивающим полное заполнение паза.
17.7.3 Оценка возможности искрения воздушных зазоров
Вращающиеся электрические машины номинальной мощностью свыше 100 кВ оценивают на возможность искрения воздушных зазоров.
Это требование не распространяется на двигатели с режимом работы типов S1 и S2, которые работают постоянно со средней стартовой частотой при нормальном режиме работы не чаще чем с одним запуском в неделю.
Если общая сумма коэффициентов, определяемых по таблице 6, превышает 5, то электродвигатель необходимо подвергнуть испытанию согласно 33.14.1, или конструкция электродвигателя должна позволять применение специальных мер для обеспечения того, чтобы во время пуска оболочка не содержала взрывоопасную газовую среду. Маркировка двигателя должна включать в себя знак «X» в соответствии с МЭК 60079-0, а в документации должны быть указаны специальные условия, которые необходимо соблюдать, в соответствии с разделом 36.
Примечание - К специальным мерам, которые могут быть применены, относят предпусковую вентиляцию или использование средств обнаружения сорбированного газа внутри оболочки двигателя. Другие методы могут быть применены по согласованию с изготовителем или пользователем.
Таблица 6 - Оценка риска образования искрения в воздушном зазоре короткозамкнутого ротора
|
Характеристика |
Значение |
Коэффициент |
|
Конструкция «беличьей клетки» ротора |
Сборная «беличья клетка» ротора |
2 |
|
Литая «беличья клетка» ротора ≥ 200 кВт на полюс |
1 |
|
|
Литая «беличья клетка» ротора < 200 кВт на полюс |
0 |
|
|
Число полюсов |
2 |
2 |
|
От 4 до 8 |
1 |
|
|
Более 8 |
0 |
|
|
Номинальная выходная мощность |
> 500 кВт на полюс |
2 |
|
> 200 до 500 кВт на полюс |
1 |
|
|
≤ 200 кВт на полюс |
0 |
|
|
Радиальные вентиляционные каналы ротора |
Да: L < 200 мм (примечание 1) |
2 |
|
Да: L ≥ 200 мм (примечание 1) |
1 |
|
|
Нет |
0 |
|
|
Перекос статора или ротора |
Да: > 200 кВт на полюс |
2 |
|
Да: ≤ 200 кВт на полюс |
0 |
|
|
Нет |
0 |
|
|
Выступающие части ротора |
Неподатливые (примечание 2) |
2 |
|
Податливые (примечание 2) |
0 |
|
|
Температурный класс |
Т1/Т2 |
2 |
|
Т3 |
1 |
|
|
≥ Т4 |
0 |
|
|
Примечание 1 - L - длина крайнего пакета каналов сердечника. При проведении экспериментальных испытаний было выявлено, что искрение, в основном, возникает в каналах около концов сердечника. Примечание 2 - Конструкция выступающих частей ротора должна исключать неустойчивый контакт и отвечать требованиям температурной классификации. Этим требованиям соответствует коэффициент фактора риска, равный 0. В противном случае коэффициент фактора риска принимает значение, равное 2. |
||
Примечание - Соответствие требованиям раздела 5 МЭК 60079-0 подтверждают расчетами или испытаниями.
17.8.1 Защита от воспламенения, которое может быть вызвано нагретой поверхностью
Температура любой внешней или внутренней поверхности, к которой возможен доступ взрывоопасной смеси, не должна в нормальном режиме работы превышать предельную температуру, соответствующую требованиям раздела 5.
При определении температурного класса повышение температуры во время пуска не учитывают для режима работы S1 или S2 в соответствии с МЭК 60034-1.
Для режимов работы S3 - S10 учитывают изменение температуры при запуске и изменениях нагрузки.
Если вращающаяся электрическая машина должна быть использована более чем в одном режиме работы, допускается вследствие этого относить ее более чем к одному температурному классу. В этом случае машина должна иметь маркировку с указанием соответствующих режимов работы (S1 - S10) и температурных классов.
Примечание 1 - Для вращающихся электрических машин, которые запускают нечасто, при определении температурного класса разрешается не рассматривать условия запуска, так как в этом случае вероятность присутствия взрывоопасной газовой смеси во время запуска считают низкой.
Примечание 2 - При определении температурного класса синхронизацию генератора рассматривают как режим, эквивалентный запуску двигателя.
17.8.2 Работа с преобразователем частоты или несинусоидальным источником питания
17.8.2.1 Методы типовых испытаний
Для подтверждения соблюдения температурных пределов и рабочих характеристик при работе во всем диапазоне рабочих скоростей могут быть использованы два метода: типовые испытания и расчет.
17.8.2.2 Типовые испытания
Двигатели, питающиеся от преобразователей с изменяющейся частотой и напряжением, должны быть испытаны с указанным преобразователем или с преобразователем, имеющим подобные текущие характеристики и напряжение. Испытания должны быть проведены с использованием датчиков или измерительных устройств, предназначенных для защиты в нормальном режиме работы. В сопроводительной документации на двигатель должны быть указаны необходимые параметры и условия при использовании преобразователя.
Примечание - Дополнительную информацию о применении двигателей, работающих с преобразователем, можно найти в МЭК 60034-17 [4] и МЭК 60034-25. Особое внимание следует обратить на перегрев, воздействие высокой частоты или сверхнапряжения, подшипниковые токи и требования к заземлению от высокой частоты.
17.8.2.3 Альтернатива типовым испытаниям
В исключительных случаях, когда невозможно провести испытание по 17.8.2.2, допускается определять температурный класс расчетом.
Примечание 1 - Определение температурного класса расчетным путем должно быть согласовано между изготовителем и пользователем.
Примечание 2 - Разность температур статора и ротора двигателя, питающегося от источника питания несинусоидального напряжения или создающего тиристорную нагрузку, может значительно отличаться от разности температур статора и ротора такого же двигателя, питающегося от источника питания синусоидального напряжения. Поэтому следует учитывать температуру ротора, которая может быть предельной для машины, особенно в случае обмотки короткозамкнутых роторов.
Согласно настоящему стандарту предполагают, что появление взрывоопасного газа и запуск двигателя не могут быть одновременными, поэтому применение требований при одновременном выполнении двух этих условий невозможно.
Примечание - Высоковольтные двигатели с защитой вида «n» не должны быть использованы, если полностью не исключена возможность выпуска газа после запуска двигателя. Известно, что системы уплотнения центробежных компрессоров могут выпускать газ при запуске, и поэтому их необходимо проверять.
17.9.1.1 Оценка и испытания
Все машины номинальным напряжением свыше 1 кВ должны быть испытаны в соответствии с 17.9.2 и, если необходимо, в соответствии с 33.14.2.
Это требование не распространяется на машины типов S1 и S2, которые работают постоянно со средней стартовой частотой при нормальном режиме работы не чаще чем с одним запуском в неделю.
17.9.1.2 Новое оборудование
Все испытания и оценку машин, компонентов или опытных моделей следует проводить как на новом оборудовании.
17.9.1.3 Двигатели с высоким номинальным напряжением
Маркировка вращающихся электрических машин с высоким напряжением должна включать в себя знак «X» в соответствии с МЭК 60079-0, и в документации согласно разделу 36 МЭК 60079-0 должна быть представлена соответствующая информация о разрешенной стартовой частоте, рекомендуемом времени между проведением основных ремонтных работ (разборка и чистка) и предполагаемых условиях окружающей среды.
17.9.2 Потенциальная воспламеняемость системы изоляции обмотки статора
Примечание 1 - Может появиться небольшой разряд на поверхности обмотки высокого напряжения, не влияя на качество работы машины. Такое воздействие не всегда вызывает воспламенение. Воспламенение более возможно от краткосрочных разрядов, которые возникают при переходных процессах при коммутации, особенно тех, которые связаны с условиями запуска двигателя.
В таблице 7 представлены факторы риска воспламенения при потенциальных разрядах обмотки статора. Если суммарный коэффициент фактора риска будет больше б, то необходимо использовать нагревательные приборы против образования конденсата и
a) испытания следует проводить в соответствии с 33.14.2, и
b) конструкция двигателя должна позволять применение специальных мер для обеспечения отсутствия во время запуска в оболочке взрывоопасной газовой среды. В последнем случае в документации в соответствии с разделом 37 должны быть указаны специальные меры.
Примечание 2 - К специальным мерам, которые могут быть применены, относятся предпусковая вентиляция или использование средств обнаружения сорбированного газа внутри оболочки двигателя. Другие методы могут быть применены по согласованию с изготовителем или пользователем.
Таблица 7 - Оценка риска возможности возникновения разряда обмотки статора. Факторы риска воспламенения
|
Характеристика |
Значение |
Коэффициент фактора риска |
|
Номинальное напряжение |
> 11 кВ |
6 |
|
> 6,6 до 11 кВ |
4 |
|
|
> 3,3 до 6,6 кВ |
2 |
|
|
> 1 до 3,3 кВ |
0 |
|
|
Средняя частота запуска при эксплуатации |
> 1/ч |
3 |
|
> 1/день |
2 |
|
|
> 1/неделю |
1 |
|
|
< 1/неделю |
0 |
|
|
Промежуток времени между осмотрами (см. МЭК 60079-17) |
> 10 лет |
3 |
|
> 5 до 10 лет |
2 |
|
|
> 2 до 5 лет |
1 |
|
|
< 2лет |
0 |
|
|
Степень защиты (код IP) |
< IP44a) |
3 |
|
IP44 и IP54 |
2 |
|
|
IP55 |
1 |
|
|
> IP55 |
0 |
|
|
Условия окружающей среды |
Очень грязные и влажные b) |
4 |
|
Вне помещения, береговая зона c) |
3 |
|
|
Вне помещения |
1 |
|
|
Вне помещения, чистые условия |
0 |
|
|
a) Только в чистой атмосфере и при регулярном обслуживании обученным персоналом (см. 5.2.1). b) Расположение в «очень грязных и влажных местах» означает, что оборудование может находиться в сухотрубных системах и на открытой палубе в офшорных условиях. c) Находится в среде, содержащей соль. |
||
Коммутационные аппараты должны соответствовать требованиям МЭК 60079-0.
Требования раздела 19 МЭК 60079-0 не применяют и заменяют следующим: Неперезаряжаемые плавкие предохранители независимо оттого, снабжены они или не снабжены указателем срабатывания, рассматривают как неискрящее электрооборудование, если они соответствуют МЭК 60269-3 и используются в пределах номинальных параметров.
Примечание 1 - Разрыв плавкого предохранителя не считают нормальным режимом работы.
Примечание 2 - Если необходима сертификация (третьей стороной), по требованиям настоящего стандарта орган по сертификации не обязан подтверждать соответствие МЭК 60269-3. Изготовитель должен указать в документации основания для соответствия, см. раздел 36.
Температурный класс электрооборудования следует оценивать по температуре внешней поверхности патронов и указателей срабатывания, если таковые имеются, каждого плавкого предохранителя, установленного на оборудовании, на основании номинального тока электрооборудования.
При наличии нескольких источников нагрева для них могут быть установлены разные температурные классы, и в данном случае это должно быть указано в документации (см. раздел 36).
Плавкие предохранители должны быть смонтированы в неискрящих закрытых или пружинных держателях или должны быть припаяны на месте. Оценка свойств плавких вставок должна быть проведена в соответствии с 20.3.
Оболочки, содержащие плавкие предохранители, должны иметь блокировку, обеспечивающую проведение установки или демонтажа сменных деталей при отключенном питании и невозможность подачи на предохранитель напряжения, пока оболочка не закрыта, или на оболочке должна быть табличка с предупреждением в соответствии с перечислением а) таблицы 13.
Необходимо рядом с каждым держателем указывать тип и ток предохранителя для правильного выбора предохранителя при замене, за исключением случаев, когда предохранитель является незаменяемым.
Требования раздела 20 МЭК 60079-0 не применяют и заменяют следующим:
Электрические соединители для присоединения внешних цепей должны соответствовать требованиям а) или b):
a) иметь механическую или электрическую блокировку или иметь такую конструкцию, чтобы их нельзя было разъединить, когда контакты находятся под напряжением, и чтобы на контакты нельзя было подать напряжение при разъединенном соединителе. Переключатели, используемые для этой цели, должны соответствовать требованиям настоящего стандарта или иметь один или несколько видов защиты, указанных в МЭК 60079-0;
b) если они предназначены для подключения только к одному устройству, то должны быть предохранены механически для предупреждения непреднамеренного разъединения, и на электрооборудовании, в котором они установлены, должна быть предупредительная надпись в соответствии с перечислением b) таблицы 13.
Неподвижная часть электрического соединителя должна обеспечить требуемую степень защиты оболочки, на которой он установлен, даже при удалении съемной части. Если требуемый уровень защиты значительно снижается при накоплении пыли или влаги, необходимо обеспечить достаточную степень защиты от проникновения пыли и влаги для вилки и/или розетки. Электрические соединители для номинального тока не выше 10 А и номинального напряжения не выше 250 В постоянного тока или 60 В переменного тока могут не соответствовать требованиям 20.1, если выполняются следующие условия:
- часть, которая остается под напряжением, является штепсельной розеткой;
- вилка и розетка прерывают номинальный ток с выдержкой времени, что позволяет дуговому разряду погаснуть до разъединения;
- электрические соединители остаются взрывонепроницаемыми по МЭК 60079-1 во время гашения дуги;
- контакты, остающиеся под напряжением после разъединения, защищены одним из специальных видов защиты, указанных в настоящем стандарте или в МЭК 60079-0.
Вилки и розетки и им подобные соединители для соединения внутри оболочки цепей, способных создавать опасные в отношении воспламенения электрические разряды, следует рассматривать как нормально искрящие, если только для их разъединения не требуется прилагать силу по меньшей мере 15 Н, или если они не защищены механически от ослабления или разъединения. В случаях, когда розетка предназначена для установки элементов, имеющих малую массу (например, плавкого предохранителя или перемычки), разъединяющая сила (в ньютонах) должна быть не менее 100-кратной массы компонента (в килограммах).
Розетки в электрооборудовании, в которые в нормальном режиме работы вилки не вставлены и которые используются только для технического обслуживания и ремонта, следует рассматривать как неискрящие.
Требования раздела 21 МЭК 60079-0 не применяют и заменяют следующим:
Примечание - Переносные светильники также должны соответствовать требованиям этого раздела.
Светильники должны соответствовать относящимся к ним требованиям МЭК 60598-2 и дополнительным требованиям к светильникам, содержащимся в настоящем стандарте. Технические требования, относящиеся к светильникам по МЭК60598-2, должны быть указаны изготовителем и содержаться в документации, приведенной в разделе 36.
В дополнение к классификации в соответствии с МЭК 60598-1 светильники должны быть отнесены к устройствам с ограниченным пропуском газа, если в их составе имеется оболочка с ограниченным пропуском газа.
Настоящий стандарт не допускает использования светильников с лампами, содержащими свободный металлический натрий, т.е. светильников с натриевыми лампами низкого давления.
В цепях ламп с внутренними зажигающими электродами могут возникать неуправляемые напряжения, которые могут повредить балластное сопротивление или электронные устройства для зажигания. Такие лампы не допускается применять в светильниках с взрывозащитой «n», если не приняты специальные меры для ограничения возможного повреждения вспомогательных устройств.
Примечание 1 - Если необходима сертификация (третьей стороной), по требованиям настоящего стандарта орган по сертификации не обязан подтверждать соответствие МЭК 60598-1, МЭК 60598-2, МЭК 61184, МЭК 60238, МЭК 60400, МЭК 61347-1, МЭК 61347-2-1, МЭК 61347-2-2, МЭК 61347-2-3, МЭК 61347-2-4, МЭК 61347-2-7, МЭК 61347-2-8, МЭК 61347-2-9, МЭК 61048, МЭК 60155, МЭК 60297 [5] и МЭК 60998-2-4. Изготовитель должен указать в документации основания для соответствия, см. раздел 36.
Примечание 2 - Для того чтобы уменьшить время испытания и обеспечить проведение любых испытаний, следствием которых могут быть повреждения, испытания допускается проводить с использованием дополнительных светильников или частей светильников при условии, что они изготовлены из тех же материалов, что и первоначальный образец. Результаты испытаний в этом случае следует рассматривать как полученные с использованием одного образца.
21.2.1 Общие положения
Должны быть выполнены требования к конструкции в соответствии с разделами МЭК 60598-2, а также требования 5.3.1, 5.3.2 и 5.4 должны быть применены совместно с требованиями, установленными в 21.2.2 - 21.2.12.
Вся лампа или лампы должны быть заключены в светильник.
21.2.3 Монтажное устройство
Монтажное устройство для светильников в оболочке с ограниченным пропуском газа должно иметь такую конструкцию, при которой светильник удовлетворял бы требованиям при испытаниях на ограниченный пропуск газа вне зависимости от того, имеется ли монтажное устройство или нет. Любые уплотнения и/или специальные части, необходимые для проведения испытаний, должны быть поставлены вместе со светильником.
21.2.4 Патроны для ламп
21.2.4.1 Общие положения
Патроны для ламп должны соответствовать требованиям настоящего стандарта по безопасности и взаимозаменяемости, а также должны быть неискрящими согласно 21.2.4.2, 21.2.4.3 и 21.2.4.4.
Примечание - Нормальный режим работы не предполагает извлечение и установку ламп, когда их цепи находятся под напряжением.
21.2.4.2 Неискрящие байонетные ламповые патроны
Неискрящие байонетные ламповые патроны должны соответствовать требованиям МЭК 61184. Контакты байонетных ламповых патронов должны быть пружинные и иметь такую конструкцию, чтобы пружины не являлись основными токоведущими частями. Соединительные провода и их изоляция не должны быть повреждены при установке или извлечении лампы. Ламповый патрон не должен создавать искрение в условиях вибрации.
Примечание - Требования по испытаниям на устойчивость к вибрации указаны в МЭК 60068-2-6 [3] по отношению к условиям использования.
21.2.4.3 Неискрящие резьбовые ламповые патроны
Неискрящие резьбовые ламповые патроны при установке в светильнике должны соответствовать требованиям безопасности и взаимозаменяемости МЭК 60238. Они должны иметь такую конструкцию, чтобы была исключена возможность ослабления лампы в патроне в условиях вибрации и при изменении температуры. Испытания патронов должны быть проведены в соответствии с требованиями 33.8.
21.2.4.4 Неискрящие двухштырьковые ламповые патроны
Неискрящие двухштырьковые ламповые патроны при установке в светильнике должны соответствовать требованиям безопасности и взаимозаменяемости МЭК 60400. Патроны должны иметь конструкцию, позволяющую создавать и обеспечивать надежный контакт на катушках штырьков лампы. Патроны должны обеспечивать требуемое контактное давление. Штыри лампы должны удерживаться в гнезде таким образом, чтобы исключить их искривление при боковом контактном давлении. Конструкция лампового патрона и/или метод установки в светильнике должны соответствовать требованиям МЭК 60081 в части допусков по длине трубчатых люминесцентных ламп. Ламповые патроны не должны создавать искрения в условиях вибрации.
Примечание - Требования по испытаниям на устойчивость к вибрации указаны в МЭК 60068-2-6 [3] по отношению к условиям использования.
21.2.5 Пускорегулирующие аппараты
21.2.5.1 Общие положения
Установленные в светильнике пускорегулирующие аппараты должны соответствовать по электрической и механической безопасности требованиям МЭК 61347-1, МЭК 61347-2-1, МЭК 61347-2-2, МЭК 61347-2-3, МЭК 61347-2-4, МЭК 61347-2-7, МЭК 61347-2-8, МЭК 61347-2-9, МЭК 61048, МЭК 60155 или других стандартов, действие которых распространяется на светильники.
21.2.5.2 Стартеры тлеющего разряда
Стартеры тлеющего разряда должны иметь такую конструкцию, чтобы контакты были помещены в герметичную оболочку (к примеру, заключены в герметичный стеклянный сосуд, помещенный в металлическую или пластмассовую оболочку, которая не обязательно должна быть герметичной).
21.2.5.3 Электронные стартеры и устройства для зажигания
Электронные стартеры и устройства для зажигания спусковым импульсным напряжением, не превышающим 5 кВ, должны удовлетворять по безопасности и исполнению требованиям МЭК 61347-2-1 и МЭК 60927 соответственно, должны быть неискрящими электрическими устройствами и соответствовать требованиям 33.10. Если кожух аппарата изготовлен из металла, он должен быть соединен с заземляющим контактным зажимом светильника. Электронные стартеры и устройства для зажигания, залитые компаундом или запаянные в кожухе, должны соответствовать относящимся к ним требованиям 33.10 и 33.5.
Устройства для зажигания должны быть подвергнуты испытаниям на работоспособность по 33.10.4.1.
Примечание 1 - Требования 33.5 и 33.10 являются дополнительными к требованиям стандартов на пускорегулирующие аппараты. Электронные стартеры и устройства для зажигания, незалитые и незапаянные, следует оценивать на соответствие относящимся к ним требованиям настоящего стандарта.
Примечание 2 - При установлении температурного класса необходимо учитывать наличие или отсутствие отключающего устройства (см. 33.10).
21.2.5.4 Патроны стартеров
Патроны стартеров должны быть неискрящими и при установке в светильнике должны соответствовать требованиям по безопасности и взаимозаменяемости МЭК 60400.
Стартер и патрон должны быть установлены и закреплены внутри оболочки таким образом, чтобы была исключена их подвижность, способная вызвать появление электрического искрения в условиях вибрации.
В особенности, контакты должны быть упругими и обеспечивать требуемое контактное давление.
Испытания патронов следует проводить в соответствии с требованиями 33.9.
21.2.5.5 Балласты
Балласты должны иметь такую конструкцию, чтобы их срок службы не сокращался по причине возможных ненормальных режимов работы (например, отказ зажигания или проявление выпрямительного эффекта состарившихся ламп). Это может быть обеспечено применением для обмоток тепловых отключающих устройств (см. специальные отклонения от МЭК 60598-1 для обмоток, представленные в 21.2.10.3.2).
Используемые балласты в соответствии с требованиями МЭК 61347-2-8 и МЭК 61347-2-9 и устройства для зажигания, которые влияют на изоляцию балласта напряжением свыше 1500 В, не должны быть такого типа, который может быть применен только к устройствам для зажигания с установленным временем отключения. Такие балласты, которые подвергаются только типовому испытанию импульсного напряжения в течение 30 дней, следует использовать только с устройствами для зажигания с установленным временем отключения. Если устройство для зажигания не имеет времени прерывания, испытание импульсным напряжением по МЭК 61347-2-8 и МЭК 61347-2-9 следует проводить в течение 60 дней.
Электронные балласты в соответствии с МЭК 61347-2-3, МЭК 61347-2-4, МЭК 61347-2-7 не должны создавать температур выше температурного класса в ненормальных условиях работы, указанных в настоящем стандарте.
На печатные платы электронных балластов распространяются требования к путям утечки и зазорам таблицы 3 МЭК 61347-1 без исключений, допускаемых в настоящем стандарте.
21.2.6 Отражатели
Если в светильнике предусмотрены устройства для крепления отражателей, эти устройства не должны изменять характеристики ограниченного пропуска газов оболочек таких светильников.
21.2.7 Пути утечки и электрические зазоры
Пути утечки и электрические зазоры должны соответствовать требованиям МЭК 60598.
Дополнительно, в случаях, когда цепи имеют устройства для зажигания, при работе которых лампы, ламповые патроны и другие части могут быть подвержены воздействию импульсов высокого напряжения, амплитудное значение которых превышает 1,5 кВ, минимальные пути утечки и зазоры должны соответствовать указанным в таблице 8.
Таблица 8 - Пути утечки и электрические зазоры для амплитудных значений импульсного напряжения свыше 1,5 кВ
|
Часть светильника |
Амплитудное значение импульсного напряжения, кВ |
|||
|
Св. 1,5 до 2,8 |
Св. 2,8 до 5,0 |
Св. 1,5 до 2,8 |
Св. 2,8 до 5,0 |
|
|
Путь утечки, мм |
Электрический зазор, мм |
|||
|
Цоколь лампы |
4 |
6 |
4 |
6 |
|
Внутренние части ламповых патронов |
6 |
9 |
4 |
6 |
|
Внешние части ламповых патронов |
8 |
12 |
6 |
9 |
|
Другие встроенные части1), подверженные воздействию импульсного напряжения |
8 |
12 |
6 |
9 |
|
1) Если часть светильника не залита компаундом или не находится в герметичной оболочке. |
||||
21.2.8 Соединительные контактные зажимы
21.2.8.1 Общие положения
Соединительные контактные зажимы должны соответствовать требованиям относящегося к ним раздела МЭК 60598-2, а также требованиям, указанным в 21.2.8.2-21.2.8.4.
21.2.8.2 Параллельные соединения
Для светильников с более чем одним кабельным или трубным вводом, когда вводы должны быть использованы для параллельного присоединения проводников питания или заземления, изготовитель должен предусмотреть возможность присоединения параллельных цепей. Контактные зажимы могут быть одного из следующих типов:
a) неповоротные зажимы - шпильки диаметром не менее 4 мм. При этом каждая шпилька должна иметь необходимое число гаек и шайб для обеспечения надежного соединения;
b) зажимы с проводниками, закрепленными между нажимными пластинами, прижимаемыми винтами, при условии, что не более одного провода присоединено в каждом промежутке;
c) другие зажимы, соответствующие требованиям 14.1 и 14.2.1.
21.2.8.3 Внутренние соединения
Соединительные контактные зажимы для присоединения проводников, кроме проводников питания, должны быть одного из следующих типов:
a) зажимы, указанные в 21.2.8.2;
b) винтовые самозатягивающиеся зажимы, если на проводнике есть оконцеватель;
c) невинтовые зажимы следующих типов:
1) зажимы, соответствующие требованиям относящихся к ним пунктов МЭК 60598-1, за исключением лепестковых типов пружинных зажимов, показанных как тип а) на рисунке 18 того же стандарта, воспроизведенные как неприемлемый тип на рисунке 2b) настоящего стандарта;
2) «приемлемого» типа зажимы лепестковых пружин с проводником, закрепленным между металлическими поверхностями, как показано на рисунке 2а), для цепей, отвечающих соответствующим требованиям для разъединяемых электрических соединений с использованием пружинных зажимов, соответствующих требованиям 15.5 МЭК 60598-1. Такие зажимы должны быть подвергнуты дополнительным испытаниям, заключающимся в вытягивании проводника с приложением силы 15 Н в течение 1 мин. При этом проводник не должен отходить от зажима. Повреждение проводника не учитывают;
3) соответствующие требованиям МЭК 60998-2-4 зажимы для присоединения проводников скручиванием;
4) изолированные обжатые соединители.

Условные обозначения:1 - токоведущий проводник; 2 - проводник для испытания растягивающим усилием 15 Н; 3 - проводник, рассчитанный на максимальный ток 3 А; 4 - устройство разъединения; 5 - ограничитель
Рисунок 2а) - Пример допустимого для использования невинтового пружинного лепесткового зажима

Рисунок 2b) - Пример недопустимого для использования невинтового пружинного лепесткового зажима
21.2.8.4 Полярность резьбового лампового патрона
При использовании резьбового лампового патрона его центральный контакт должен быть подключен прямо или косвенно к находящемуся под напряжением выводу источника питания светильника.
21.2.9 Внешняя и внутренняя проводка
Внешняя и внутренняя проводка должна соответствовать требованиям относящихся к ней разделов МЭК 60598-1 со следующими дополнениями.
Проводка должна выдерживать возможные температуры и напряжения. Если в светильнике используется пускорегулирующая аппаратура, которая создает импульсы высокого напряжения, изоляция проводников должна быть стойкой к воздействию таких импульсов напряжения. Это должно быть подтверждено испытаниями на электрическую прочность в соответствии с требованиями 33.11.
21.2.10 Испытания на работоспособность и термостойкость
21.2.10.1 Общие положения
Испытания на работоспособность и термостойкость должны быть проведены согласно требованиям соответствующих разделов МЭК 60598-2 и требованиям 21.2.10.2 - 21.2.10.4.
21.2.10.2 Испытание на термостойкость (в нормальном режиме работы)
При испытаниях в соответствии с требованиями 12.4 МЭК 60598-1 температура в нормальном режиме работы не должна превышать указанную в таблицах 12.1 и 12.2 этого же стандарта.
21.2.10.3 Испытание на термостойкость (в ненормальных режимах работы)
21.2.10.3.1 Температура (кроме обмоток)
За исключением обмоток (см. 21.2.10.3.2), значения температуры в ненормальных режимах работы, не являющихся результатом дефекта светильника или неправильного его использования, не должны превышать значений, приведенных в 12.5 МЭК 60598-1, при следующих испытательных напряжениях:
a) для светильников с лампами накаливания - при напряжении, равном 1,10 значения напряжения, при котором обеспечивается номинальная мощность;
b) для светильников с трубчатыми люминесцентными или другими разрядными лампами - при напряжении, равном 1,10 номинального напряжения;
c) для светильников, содержащих электронные балластные сопротивления, - при напряжении в диапазоне 0,90-1,10 номинального напряжения, при котором создаются самые неблагоприятные условия по тепловому режиму.
21.2.10.3.2 Температура обмоток
Температура обмоток должна быть ниже на 20 °С по сравнению с данными таблицы 12.3 МЭК 60598-1 для максимальных температур обмоток.
Температура обмоток балластов, снабженных устройствами тепловой защиты, может превышать эти температуры не более чем на 15 К в течение промежутка времени не более 15 мин до момента срабатывания защитных устройств.
21.2.10.4 Температура поверхности
21.2.10.4.1 Светильники, заключенные в оболочки с ограниченным пропуском газа
Как в нормальном, так и в возможных ненормальных режимах работы температура любой части внешней поверхности светильника, заключенного в оболочку с ограниченным пропуском газа, не должна превышать температуры, определенной в соответствии с установленным температурным классом, или установленной максимальной температуры поверхности.
21.2.10.4.2 Другие светильники
Как в нормальном, так и в возможных ненормальных режимах работы температура любой части внутренней или внешней поверхности светильника не должна превышать температуры, определенной в соответствии с установленным температурным классом, или установленной максимальной температуры поверхности.
21.2.10.4.3 Освещенные поверхности
Для прожекторов и подобных светильников расстояние, при котором температура освещенной светильником поверхности превышает температуру, определенную в соответствии с установленным температурным классом, должно быть определено по результатам испытаний в соответствии с требованиями МЭК 60598-1. Если указанное расстояние превышает 0,3 м, это должно быть отражено в маркировке.
21.2.11 Защита от влаги и пыли
Светильники должны соответствовать требованиям МЭК 60598-2 в отношении зашиты от влаги и пыли.
Оболочка светильника должна обеспечивать защиту от внешних воздействий не ниже IP54, что должно быть отражено в маркировке в соответствии с требованиями раздела 35.
Примечание - Требования к степени защиты по МЭК 60598-1 не применяют.
21.2.12 Сопротивление изоляции и электрическая прочность
Должны соответствовать требованиям МЭК 60598-2.
Источники света, установленные в другом электрооборудовании, должны соответствовать относящимся к ним требованиям раздела 21.
За исключением оборудования [nL] и [Ex nL], должны быть применены требования МЭК 60079-0, как описано в 22.1-22.6.
По возможности выделения электролитических газов (например, водорода и/или кислорода) химические источники тока подразделяют на типы. Настоящий стандарт вводит ограничения на использование химических источников тока в соответствии с их типом (см. таблицу 9).
Таблица 9 - Типы и порядок использования химических источников тока
|
Тип |
Емкость, А·ч |
Действия, разрешенные во взрывоопасной зоне |
Замечания |
||
Разрядка |
Зарядка вторичных химических источников тока |
Наличие другого электрооборудования в том же отсеке |
|||
|
1 |
≤25 |
Да |
Да |
Да |
- |
|
2 |
≤25 |
Да |
Нет а) |
Да, только неискрящее электрооборудование |
Искрящее электрооборудование должно находиться в отдельном отсеке |
|
3 |
Без ограничения |
Да |
Нет а) |
Нет |
- |
|
а) Для зарядки во взрывоопасной зоне необходимо применять специальные меры защиты. |
|||||
22.1.1 Тип 1 химических источников тока
Тип 1 - химические источники тока, для которых маловероятно, что они будут выделять электролитические газы в предусмотренных условиях применения.
К этому типу относятся все первичные химические источники тока (элементы и батареи элементов) и такие герметичные вторичные химические источники тока (аккумуляторы и батареи аккумуляторов), для которых параметры при эксплуатации находятся в пределах, рекомендованных изготовителем, в результате или использования системы регулирования параметров, которая имеется в электрооборудовании, или выполнения рекомендаций для поддержания параметров в соответствующих пределах, которые содержатся в документации. Химические источники тока этого типа могут быть использованы в электрооборудовании с защитой вида «n» без дополнительных мер защиты.
Технические требования и специальные меры защиты указаны в 22.2 и 22.3, требования к проверкам и испытаниям - в 22.6.
22.1.2 Тип 2 химических источников тока
Тип 2 - аккумуляторы и аккумуляторные батареи, для которых маловероятно, что они будут выделять электролитические газы в нормальном режиме работы, но для которых это вероятно в ненормальном режиме работы.
Герметичные и герметичные с регулирующим клапаном аккумуляторы, если система регулирования их параметров не полностью определена в соответствии с требованиями изготовителя, могут быть использованы в электрооборудовании с защитой вида «n», не содержащем части, которые в нормальном режиме работы создают электрические дуговые или искровые разряды, как описано в разделах 26-31.
Эти аккумуляторы и аккумуляторные батареи могут быть установлены в электрооборудовании при условии, что они размещены в отдельном отсеке, сообщающемся с внешней атмосферой. При использовании таких аккумуляторов и аккумуляторных батарей должны быть применены специальные меры защиты.
Технические требования и специальные меры защиты указаны в 22.2 и 22.3, требования к проверкам и испытаниям - в 22.6.
22.1.3 Тип 3 химических источников тока
Тип 3 - аккумуляторы и аккумуляторные батареи, которые могут выделять электролитический газ в нормальном режиме работы, например свинцовые аккумуляторные батареи.
Аккумуляторы и аккумуляторные батареи этого типа должны иметь конструкцию, позволяющую исключить накопление газа в полостях и обеспечить его выход прямо во внешнюю атмосферу. В полостях не должно быть никаких других частей электрооборудования, за исключением тех, которые необходимы для присоединения аккумуляторов и аккумуляторных батарей.
Технические требования и специальные меры защиты указаны в 22.5, требования к проверкам и испытаниям - в 22.6.
Применяют требования раздела 23 МЭК 60079-0, за исключением пунктов, замененных на 22.2.1 - 22.2.14.
22.2.1 Максимальная емкость
Максимальная емкость химических источников тока не должна превышать 25 А·ч при номинальном времени разрядки, установленном изготовителем.
22.2.2 Вторичные элементы
Аккумуляторы или аккумуляторные батареи не должны быть использованы в оборудовании, предназначенном для работы с первичными элементами и батареями, и наоборот, если только оборудование не предназначено специально для использования источников тока обоих типов.
22.2.3 Соединение элементов
Элементы должны быть соединены последовательно, кроме специальных случаев, когда допускается параллельное соединение только двух элементов. При этом другие элементы не должны быть присоединены последовательно.
22.2.4 Режим разрядки
Элементы, аккумуляторы и батареи элементов и аккумуляторов в режиме разрядки следует использовать в соответствии с указаниями изготовителя.
22.2.5 Температура
Температура корпуса элемента или аккумулятора не должна превышать указанной изготовителем.
22.2.6 Пути утечки и электрические зазоры
Пути утечки и электрические зазоры между выводами полюсов элемента или аккумулятора должны соответствовать требованиям стандартов на электрооборудование для общего применения.
22.2.7 Соединения
Электрические соединения между элементами и батареями должны соответствовать требованиям раздела 6 и быть такого типа, рекомендуемого изготовителем элемента или батареи, чтобы была исключена передача недопустимых усилий на элементы или батареи элементов.
22.2.8 Последовательное присоединение
При соединении последовательно более трех аккумуляторов должны быть приняты меры для предупреждения изменения полярности отдельных аккумуляторов.
Примечание - Емкость аккумулятора со временем может понижаться. Если это происходит, то аккумуляторы с более высокой емкостью могут вызвать изменение полярности аккумуляторов с более низкой емкостью.
22.2.9 Защита от глубокой разрядки
Если для предупреждения изменения полярности аккумуляторов имеется устройство защиты от глубокой разрядки, минимальное напряжение отсечки должно быть выбрано в соответствии с указаниями изготовителя.
Примечание - Обычно одной цепью защиты от глубокой разрядки может быть защищено максимально шесть элементов. Если больше шести аккумуляторов соединено последовательно, защита может оказаться неэффективной из-за различий по напряжениям на отдельных аккумуляторах и различной чувствительности устройства защиты от глубокой разрядки.
22.2.10 Испытания температурных параметров
Для проверок и испытаний температурных параметров должен быть учтен самый высокий ток разрядки в нормальном режиме.
22.2.11 Общий источник питания
Аккумуляторы и аккумуляторные батареи должны быть объединены в общий источник питания.
Примечание - Это исключает нарушение соединений и совместное использование аккумуляторов, имеющих разный заряд или различный срок использования.
22.2.12 Присоединение общих источников питания
Если аккумуляторный источник питания не является неотъемлемой частью электрооборудования, должны быть приняты меры, исключающие его неправильное присоединение к зарядному устройству.
Примечание - Такой мерой может быть использование для присоединения зарядного устройства электрического соединителя с определенной полярностью разъемных частей или использование четкой маркировки соединительных контактных зажимов, обозначающей правильное присоединение.
22.2.13 Выделение электролита и газа
Если в ненормальном режиме работы из аккумуляторов может выделяться электролит, должны быть приняты меры для защиты частей электрооборудования, находящихся под напряжением. Защита частей электрооборудования не требуется, если аккумуляторы и аккумуляторные батареи не выделяют газ в ненормальном режиме работы.
22.2.14 Подача чрезмерной нагрузки
Если при разрядке чрезмерная нагрузка, подаваемая с аккумулятора или аккумуляторной батареи, может вызвать повреждение аккумулятора или аккумуляторной батареи и нарушить защиту вида «n», должна быть задана максимальная нагрузка безопасного устройства.
22.3.1 Диапазон температур
Конструкция зарядного устройства должна соответствовать диапазону температур окружающего воздуха, в котором электрооборудование эксплуатируют.
22.3.2 Характеристики зарядного устройства
Если аккумуляторы и аккумуляторные батареи, являющиеся неотъемлемой частью электрооборудования, должны быть заряжены во взрывоопасной зоне, зарядное устройство должно быть частью конструкции электрооборудования.
22.3.3 Зарядка отдельных аккумуляторов или аккумуляторных батарей
Отдельные аккумуляторы или аккумуляторные батареи не следует заряжать во взрывоопасной зоне.
22.3.4 Определенные характеристики зарядного устройства
Зарядное устройство должно быть таким, чтобы даже в ненормальном режиме работы значения напряжения и тока зарядки не превышали значений, установленных изготовителем исходя из температурного класса электрооборудования.
22.3.5 Зарядка за границами взрывоопасной зоны
Если аккумуляторы или аккумуляторные батареи, которые являются неотъемлемой частью электрооборудования или которые могут быть отделены от электрооборудования, заряжают за границами взрывоопасной зоны, зарядка должна быть осуществлена в пределах, заданных изготовителем электрооборудования.
22.4.1 Диапазон температур
Конструкция зарядного устройства должна соответствовать диапазону температур окружающего воздуха, в котором электрооборудование эксплуатируют.
22.4.2 Характеристики зарядного устройства
Если аккумуляторы и аккумуляторные батареи, являющиеся неотъемлемой частью электрооборудования, должны быть заряжены во взрывоопасной зоне, зарядное устройство должно быть частью конструкции электрооборудования.
22.4.2.1 Зарядка отдельных аккумуляторов или аккумуляторных батарей
Отдельные аккумуляторы или аккумуляторные батареи не следует заряжать во взрывоопасной зоне.
22.4.2.2 Определенные характеристики зарядного устройства
Зарядное устройство должно быть таким, чтобы даже в ненормальном режиме работы значения напряжения и тока зарядки не превышали значений, установленных изготовителем исходя из температурного класса электрооборудования.
22.4.2.3 Выделение газов при зарядке
Зарядное устройство должно иметь такие параметры, при которых в нормальном режиме работы не происходит выделение газов из аккумуляторов. Однако если выделение газов произойдет, конструкция ящика аккумуляторной батареи должна быть такой, чтобы концентрация Н2 в нем не превышала 2 % через 48 ч.
Для проверки соответствия этому требованию должно быть проведено следующее испытание: ящик должен быть заполнен смесью водорода с воздухом при концентрации водорода более 90 %. После этого концентрация Н2 должна снизиться до 2 % в течение не более 48 ч в результате естественного рассеяния в спокойном воздухе при постоянной температуре.
22.4.2.4 Зарядка за границами взрывоопасной зоны
Если аккумуляторы или аккумуляторные батареи, которые являются неотъемлемой частью электрооборудования или которые могут быть отделены от электрооборудования, перезаряжают за границами взрывоопасной зоны, уровень зарядки должен быть в пределах, заданных изготовителем электрооборудования.
22.5.1 Разновидности аккумуляторных батарей типа 3, допускаемые к использованию
Аккумуляторные батареи типа 3 могут быть свинцовые, железоникелевые или никель-кадмиевые.
Емкость аккумуляторных батарей типа 3 не ограничена. На герметичные моноблочные батареи, обычно используемые для запуска двигателей внутреннего сгорания или в качестве резервных источников питания малой мощности, распространяются требования соответствующих разделов к типам и конструкции отдельных аккумуляторов. Устройства для присоединения должны иметь такую же конструкцию, как и устройства для присоединения батарей, объединенных в блоки питания.
Требования к оценке и испытаниям приведены в 22.6.
Примечание - Соответствие этим требованиям не обеспечивает безопасности во время зарядки. Поэтому зарядку необходимо проводить за пределами взрывоопасной зоны, если только не предусмотрены специальные меры обеспечения безопасности.
22.5.2 Ящики аккумуляторных батарей
22.5.2.1 Внутренние поверхности
Внутренние поверхности ящика не должны быть повреждены электролитом.
22.5.2.2 Механические требования
Ящики, включая крышки, должны выдерживать без повреждения механические напряжения, возникающие при использовании аккумуляторных батарей, включая напряжения при транспортировании, погрузке и разгрузке. Они должны быть защищены от короткого замыкания в процессе работы.
22.5.2.3 Пути утечки
Пути утечки между выводами полюсов смежных аккумуляторов, а также между выводами полюсов и ящиком должны быть по меньшей мере 35 мм. Если номинальное напряжение между соседними аккумуляторами батареи превышает 24 В, путь утечки должен быть увеличен по меньшей мере на 1 мм на каждые 2 В свыше 24 В.
22.5.2.4 Крышки
Крышки ящиков аккумуляторных батарей должны быть закреплены таким образом, чтобы любое непреднамеренное открытие или смещение во время эксплуатации было исключено.
22.5.2.5 Установка элементов
Установка отдельных аккумуляторов должна быть такой, чтобы при эксплуатации не происходило их значительного смещения.
22.5.2.6 Удаление жидкости
Удаление жидкости, которая может попасть в ящики батарей, не имеющих дренажных отверстий, должно быть обеспечено без извлечения аккумуляторов.
22.5.2.7 Вентиляция
Ящик батареи должен обеспечивать степень защиты от внешних воздействий не ниже IP23 в соответствии с МЭК 60529 и иметь вентиляционные отверстия.
22.5.2.8 Электрические соединители
Электрические соединители должны соответствовать требованиям раздела 20. Это требование не распространяется на соединители, которые могут быть разъединены только с помощью специального инструмента и на которых имеется табличка с предупреждающей надписью, указанной в перечислении с) таблицы 13
Положительные и отрицательные вилки однополюсных электрических соединителей должны быть невзаимозаменяемыми.
22.5.2.9 Маркировка полярности
Маркировка полярности соединений аккумуляторной батареи и электрических соединителей (вилок и розеток) должна быть четкой и долговечной.
22.5.2.10 Другое электрооборудование
Любое другое электрооборудование, установленное в ящике или закрепленное на нем, должно соответствовать требованиям настоящего стандарта.
22.5.2.11 Сопротивление изоляции
Новые полностью заряженные и готовые к работе аккумуляторные батареи должны иметь сопротивление изоляции между токоведущими частями и ящиком по меньшей мере 1 МОм.
22.5.3 Аккумуляторы
22.5.3.1 Крышка аккумулятора
Крышка аккумулятора должна быть соединена с корпусом так, чтобы были исключены ее отделение и утечка электролита. Не должны быть использованы легковоспламеняющиеся материалы.
22.5.3.2 Закрепление
Положительные и отрицательные пластины должны быть надежно закреплены.
22.5.3.3 Поддержание уровня электролита
Каждый аккумулятор, в котором требуется поддерживать уровень электролита, должен быть снабжен устройством, показывающим, что уровень электролита находится между минимальным и максимальным допустимыми уровнями. Должны быть приняты меры, исключающие чрезмерную коррозию выступов пластин и шин при минимальном уровне электролита.
22.5.3.4 Свободное пространство
В каждом аккумуляторе должно быть достаточное свободное пространство для исключения вытекания электролита вследствие его расширения, а также достаточное свободное пространство для отложения шлама в том месте, где это вероятно. Общий объем свободного пространства должен быть установлен в зависимости от предполагаемого срока службы аккумулятора.
22.5.3.5 Пробки заливочных и вентиляционных отверстий
Пробки заливочных и вентиляционных отверстий должны иметь такую конструкцию и так расположены, чтобы выброс электролита в нормальном режиме работы был невозможен и чтобы они были легкодоступными для проведения технического обслуживания.
22.5.3.6 Уплотнение для предупреждения утечки электролита
Между каждым полюсным штырем и крышкой аккумулятора должно быть установлено уплотнение для предупреждения утечки электролита.
22.5.4 Перемычки
22.5.4.1 Перемычки между аккумуляторами
Перемычки между аккумуляторами, которые могут перемещаться относительно друг друга, должны быть гибкими. При использовании гибких перемычек каждый конец перемычки должен быть:
a) приварен или припаян к полюсному штырю, или
b) запрессован в медную трубку, соединенную сваркой с полюсным штырем, или
c) запрессован в медный наконечник, закрепленный с помощью резьбового крепления на медном основании, приваренном к полюсному штырю.
В случаях b) и с) проводник должен быть медным. В случае с) площадь контакта между наконечником и полюсным штырем аккумулятора должна быть по меньшей мере равна площади поперечного сечения проводника. При расчете площади контакта не учитывают площадь соприкосновения крепежных деталей по резьбе.
Примечание - Несмотря на использование термина «медный» в перечислении с), в случаях, когда необходимо улучшить механические свойства соединения (предотвратить задир резьбы в отверстии в медном основании), может быть использован сплав меди с небольшим количеством другого металла (хрома или бериллия). При этом может возникнуть необходимость увеличить контактную поверхность соединения для компенсации уменьшения электрической проводимости из-за присутствия постороннего металла.
22.5.4.2 Оценка температуры
Температура перемычек и наконечников при протекании рабочего тока не должна повышаться сверх допустимого значения. Если рабочий ток не может быть определен, батарею cледует оценивать по одночасовому току разрядки, указанному изготовителем.
22.5.4.3 Защита перемычек
Перемычки, подверженные воздействию электролита, должны иметь соответствующую защиту.
Примечание - Настоящие проверки и испытания относятся к батареям элементов и аккумуляторным батареям, которые должны соответствовать дополнительным требованиям 22.5.
22.6.1 Сопротивление изоляции
Условия испытаний указаны в 33.13.
22.6.2 Испытания на стойкость к удару
Батареи элементов и аккумуляторные батареи, которые подвержены воздействию ударов в нормальном режиме работы, должны быть испытаны в соответствии с требованиями 33.12. Остальные батареи не должны быть подвергнуты данному испытанию, но это должно быть указано в эксплуатационной документации. Испытание должно быть проведено на образцах элементов, аккумуляторов и их соединений. Если предусматривается использование элементов или аккумуляторов одинаковой конструкции, но различной емкости, не требуется проводить испытание образцов каждой емкости, но необходимо испытать такое число образцов одинаковой емкости, которое позволяет оценить их поведение во всем диапазоне емкости.
Электронные устройства и связанное с ними электрооборудование малой мощности, компоновочные узлы и их части, применяемые, например, для целей измерения, управления или связи, используемые в зоне с загрязнением степенью не выше 2, как указано в МЭК 60664-1, которые не соответствуют требованиям 6.7 и 6.8.2, должны удовлетворять следующим требованиям:
a) оболочка электрооборудования должна обеспечивать степень защиты не ниже IP54 в соответствии с МЭК 60529, если только эквивалентная защищенность от воздействия внешней среды не обеспечивается местом установки электрооборудования;
b) номинальное напряжение питания электрооборудования или рассматриваемой части электрооборудования не должно превышать 60 В переменного тока или 75 В постоянного тока, требования к минимальным путям утечки и зазорам не нормируют. Оборудование номинальным напряжением свыше 60 В переменного тока или 75 В постоянного тока до 275 В переменного тока или постоянного тока должно отвечать требованиям к путям утечки и зазорам, указанным в таблице 10;
c) электрооборудование должно иметь внутренние или внешние средства, исключающие повышение напряжения на нем более чем на 40 % в результате кратковременных изменений режима питания. Если такие средства являются внешними, маркировка электрооборудования должна включать в себя знак «X», (см. раздел 29 МЭК 60079-0), и соответствующая информация должна быть приведена в документации (см. раздел 36).
Примечание - Под малой мощностью обычно подразумевают мощность ниже или равную 20 Вт.
Таблица 10 - Минимальные пути утечки, зазоры и разделения для оборудования малой мощности
|
Напряжение постоянного или переменного (действующее значение) тока, В (примечание 1) |
Минимальный путь утечки, мм (примечание 2) |
Минимальные зазоры и разделения, мм |
||||
|
Группа материала |
По воздуху |
Уплотнение (примечание 3) |
Герметизация или твердая изоляция (примечание 4) |
|||
|
I |
II |
III |
||||
|
63 |
0,63 |
0,9 |
1,25 |
0,4 |
0,3 |
0,15 |
|
80 |
0,67 |
0,95 |
1,3 |
0,4 |
0,4 |
0,3 |
|
100 |
0,71 |
1 |
1,4 |
0,4 |
0,4 |
0,3 |
|
125 |
0,75 |
1,05 |
1,5 |
0,5 |
0,4 |
0,3 |
|
160 |
0,8 |
1,1 |
1,6 |
0,75 |
0,55 |
0,3 |
|
200 |
1 |
1,4 |
2 |
1 |
0,85 |
0,3 |
|
250 |
1,25 |
1,8 |
2,5 |
1,25 |
0,85 |
0,3 |
|
Примечание 1 - Действительное рабочее напряжение может быть выше значения, указанного в таблице, до 10 %. Примечание 2 - Значения путей утечки рассчитаны по МЭК 60664-1 на основе степени загрязнения 2. Примечание 3 - Уплотнен конформным покрытием, см. 6.7.3. Примечание 4 - Полностью герметизирован компаундом до минимальной глубины 0,4 мм, или разделение по твердому изоляционному материалу, например толщине печатной монтажной платы. Примечание 5 - Для печатных схемных плат, установленных в чистых сухих условиях в соответствии с МЭК 60664-1, минимальный путь утечки может быть уменьшен до значений зазора или разделения. |
||||||
Если вторичная цепь трансформатора тока выходит за пределы электрооборудования, в описательной документации должно быть предупреждение, запрещающее размыкание вторичной цепи во время работы.
Примечание - При размыкании вторичной цепи трансформаторов тока на разомкнутых зажимах может возникнуть напряжение, которое значительно превышает номинальное напряжение при работе. В зависимости от условий конкретной установки может потребоваться принятие мер, исключающих возможность возникновения опасных напряжений в разомкнутой цепи. В электрооборудовании, в котором трансформаторы тока подключены к согласующим трансформаторам в распределительном устройстве (например, дифференциальная токовая защита), необходимо учитывать влияние любого возможного отключения любого комплекта трансформаторов.
Электрооборудование, которое не упомянуто в разделах 17 - 24, должно соответствовать требованиям разделов 4 - 16 и относящимся к нему требованиям разделов 17 - 24.
Части электрооборудования, которые в нормальном режиме работы создают дуговые или искровые разряды или имеют нагретые поверхности, способные вызвать воспламенение взрывоопасной смеси, должны иметь взрывозащиту, обеспечиваемую одним или несколькими способами из приведенного ниже перечня:
a) контактное устройство во взрывонепроницаемой оболочке (см. раздел 28);
b) неподжигающий компонент (см. раздел 27);
c) герметично запаянная оболочка (см. раздел 27);
d) герметично плотная оболочка (см. раздел 28);
e) залитое компаундом электрооборудование (см. раздел 29);
f) искробезопасное оборудование и цепи (см. раздел 30);
g) оболочка с ограниченным пропуском газа (см. раздел 31).
Кроме способа взрывозащиты в соответствии с перечислением f), при определении температурного класса электрооборудования следует учитывать только максимальную температуру внешней поверхности оболочки.
Примечание - Температура поверхности внутри таких оболочек или устройств не оказывает влияния на температурный класс.
Части электрооборудования могут быть защищены с использованием взрывозащиты других приемлемых видов, указанных в МЭК 60079-0. В этом случае маркировка взрывозащиты электрооборудования должна содержать знак соответствующего вида взрывозащиты.
Контактные устройства во взрывонепроницаемой оболочке и неподжигающие компоненты должны быть испытаны в соответствии с требованиями 33.4. После испытаний устройство или компонент не должен(но) иметь заметных следов повреждения и не должно происходить воспламенения смеси снаружи устройств. При размыкании контактов между ними должен наблюдаться электрический разряд.
27.2.1 Контактное устройство во взрывонепроницаемой оболочке
Максимальные значения номинальных параметров для контактных устройств во взрывонепроницаемой оболочке не должны превышать 690 В постоянного тока или действующее значение переменного тока и 16 А постоянного тока или действующее значение переменного тока.
Примечание - Взрывозащищенность контактного устройства во взрывонепроницаемой оболочке обеспечивается конструкцией и точным изготовлением отдельных частей, образующих механические соединения, через которые пламя, могущее возникнуть во внутренних полостях, не будет проникать наружу и воспламенять смесь при испытании в соответствии с требованиями 33.4.
27.2.2 Неподжигающие компоненты
Максимальные значения номинальных параметров для неподжигающих компонентов не должны превышать 254 В и 16 А.
Примечание - Взрывозащищенность неподжигающих компонентов обеспечивается гашением пламени частями электрооборудования, между которыми возникает источник воспламенения. Использование неподжигающих компонентов ограничено цепями, имеющими электрические характеристики, одинаковые с цепью, в которую они были включены при испытании, или менее опасными с учетом напряжения, тока, индуктивности или емкости.
27.3.1 Свободный внутренний объем
Свободный внутренний объем не должен превышать 20 см3.
27.3.2 Требования к температуре продолжительной эксплуатации
Температура продолжительной эксплуатации заливочных компаундов и материалов для залитых уплотнений должна быть по меньшей мере на 10 К выше, чем температура, наблюдаемая при использовании в самом тяжелом режиме работы из предусмотренных условиями эксплуатации.
27.3.3 Защита соединений
Герметичность оболочки не должна быть нарушена при нормальном обращении и процессах сборки.
Электрооборудование в герметично запаянной оболочке соответствует требованию герметичности без испытаний.
Примечание - Скорость утечки, эквивалентная скорости утечки гелия менее 10-2 Па·л/с (10-4 мбар·л/с) при разнице давления 105 Па (1 бар), является достаточной.
Герметичность оболочки не должна быть нарушена при нормальном обращении и процессах сборки.
Если заливка компаундом образует часть внутренней оболочки оборудования, она должна соответствовать требованиям 7.2.
Если электрооборудование в герметично плотной оболочке содержит неметаллическую оболочку, то оболочка должна соответствовать требованиям 7.2. Уплотнения испытывают по 33.5.
Электрооборудование в герметично плотной оболочке должно иметь такую конструкцию, чтобы оболочка не могла быть открыта в предусмотренных условиях эксплуатации.
Свободный внутренний объем оборудования в герметично плотной оболочке не должен превышать 0,1 л, и оборудование должно иметь, если необходимо, внутренние соединения, например проводниковые гибкие выводные концы или внешние зажимы.
Такие компоненты как, например, реле и переключатели, могут быть размещены в толще компаунда в полостях со свободным объемом, не превышающим 0,1л при минимальной толщине слоя компаунда 3 мм между этими компонентами, если используют более одного компонента в толще компаунда.
Примечание - Если в полостях находятся переключающиеся контакты без дополнительного кожуха из неорганического материала, номинальный ток каждого контакта не должен превышать 6 А.
Устройство не должно быть повреждено при нормальной эксплуатации и монтаже.
Эластичные уплотнения, включая залитые уплотнения, должны быть установлены таким образом, чтобы они не могли быть механически повреждены в нормальных условиях эксплуатации; материалы уплотнений должны сохранять эластичность в течение ожидаемого срока службы устройства. Температура продолжительной эксплуатации заливочных компаундов и материалов для залитых уплотнений должна быть по меньшей мере на 10 К выше, чем температура, наблюдаемая при использовании в самом тяжелом режиме работы из предусмотренных условиями эксплуатации. Если оборудование предназначено для применения в светильнике, температура продолжительной эксплуатации должна быть по меньшей мере на 20 К выше, чем наблюдаемая при использовании в самом тяжелом режиме работы из предусмотренных условиями эксплуатации. Изготовитель должен предоставить спецификацию компаунда для установления температуры продолжительной эксплуатации.
Температура продолжительной эксплуатации заливочных компаундов и материалов для залитых уплотнений должна быть по меньшей мере на 10 К выше, чем температура, наблюдаемая при использовании в самом тяжелом режиме работы из предусмотренных условиями эксплуатации. Если оборудование предназначено для применения в светильнике, температура продолжительной эксплуатации должна быть по меньшей мере на 20 К выше, чем указанная в маркировке максимальная температура поверхности светильника tс, наблюдаемая при использовании в самом тяжелом режиме работы из предусмотренных условиями эксплуатации в соответствии с МЭК 61347-1.
Изготовитель должен предоставить спецификацию компаунда для установления температуры продолжительной эксплуатации. В случае, когда не имеется спецификации материала для использования его в светильниках, должны быть проведены испытания на термостойкость, как указано в разделе 13 МЭК 60598-1, при значении температуры на 20 К выше указанной в маркировке максимальной температуры поверхности.
Примечание - Если необходима сертификация (третьей стороной), по требованиям настоящего стандарта орган по сертификации не обязан подтверждать соответствие МЭК 61347-1. Изготовитель должен указать в документации основания для соответствия, см. раздел 36.
Минимальная толщина слоя компаунда между внутренней частью и открытой наружной поверхностью залитого компаундом электрооборудования должна составлять не менее 3 мм, за исключением электрооборудования малых размеров, имеющего свободную поверхность, не превышающую 200 мм2, для которого допускается минимальная толщина слоя 1 мм. Если заливка проводится в кожухе, то при определении толщины слоя должна быть учтена только открытая поверхность, а не толщина стенки кожуха.
Если электрооборудование заключено в металлический корпус, минимальная толщина слоя компаунда между внутренней поверхностью и любым компонентом или проводником должна быть по меньшей мере 1 мм. Если корпус электрооборудования изготовлен из неметаллического материала и минимальная толщина стенки корпуса превышает 1 мм, заливка между корпусом и любым компонентом или проводником не требуется. При толщине стенки корпуса менее 1 мм общая толщина стенки корпуса и слоя компаунда должна быть по меньшей мере 3 мм, а материал, из которого сделан корпус, должен соответствовать тем же требованиям, что и компаунд.
Примечание - Для обеспечения соответствия предписаниям 33.5.4.2 может потребоваться толщина слоя заливки более указанной.
Испытания должны быть проведены в соответствии с требованиями 33.5.
Для определения параметров электрических цепей, при которых возникающие в них дуговые или искровые электрические разряды или скопившаяся энергия не могут вызвать воспламенение при указанных в настоящем стандарте условиях, электрооборудование должно быть оценено аналитически или должно быть испытано в соответствии с требованиями 33.6.
Примечание 1 - Взрывозащита вида искробезопасная цепь «n» основана на том же физическом принципе, что и взрывозащита вида искробезопасная цепь «i» (см. МЭК 60079-11). Для того чтобы при взрывозащите такого вида нормально искрящие части электрооборудования не были способны воспламенить взрывоопасную смесь, они должны быть включены в цепи только с определенными параметрами. Компоненты, создающие ограничение энергии, могут быть частью электрооборудования или расположены снаружи.
Примечание 2 - Искробезопасные цепи позволяют соединять искробезопасное оборудование со связанным искробезопасным электрооборудованием, и такое соединение электрооборудования .может не быть подвергнуто специальной проверке как система, если выполнено одно из следующих условий:
a) максимальное напряжение или ток не контролируются искробезопасным оборудованием:
Ui ≥ Uo; Ii; ≥ Io; Co ≥ Ci + Скабеля; Lо ≥ Li + Lкабеля;
b) максимальный ток контролируется искробезопасным оборудованием (Ii искробезопасного электрооборудования не должен превышать Io связанного искробезопасного электрооборудования):
Ui ≥ Uo; Co ≥ Ci + Скабеля; Lо ≥ Li + Lкабеля;
c) максимальное напряжение контролируется искробезопасным оборудованием (Ui искробезопасного электрооборудования не должно превышать Uo связанного искробезопасного электрооборудования):
Ii ≥ Io; Co ≥ Ci + Скабеля; Lо ≥ Li + Lкабеля;
d) максимальный ток и напряжение контролируются искробезопасным оборудованием (Ii и Ui искробезопасного электрооборудования не должны превышать соответствующие параметры связанного искробезопасного электрооборудования):
Co ≥ Ci + Скабеля; Lо ≥ Li + Lкабеля.
Должны быть предусмотрены надежные средства для ограничения напряжения на запасающих энергию электрических элементах искробезопасного оборудования и тока, протекающего в них, или на выходных соединительных устройствах искробезопасных цепей связанного искробезопасного электрооборудования и на нормально искрящих контактах искробезопасного электрооборудования, например благодаря применению стабилитронов, последовательно включенных резисторов или активных токоограничителей.
При оценке или испытаниях электрооборудования необходимо учитывать разброс параметров таких компонентов. Если напряжение на электрооборудование подается от сети через трансформатор, при оценке или испытаниях оно должно быть увеличено на 10 % в отсутствие других указаний.
Примечание 1 - Рисунки А.1 и А.2 МЭК 60079-11 распространяются только на линейные цепи. Цепи с нелинейными выходами должны быть специально исследованы.
Примечание 2 - Нормальная эксплуатация может включать в себя открытие, замыкание, заземление цепей на выводных зажимах в зависимости от указанной кабельной системы.
При аналитической оценке или испытаниях искробезопасного электрооборудования «n» необходимо учитывать параметры искроопасных цепей, указанные изготовителем.
Аналитическая оценка или испытания оборудования должны включать в себя оценку и испытания такого оборудования как искробезопасного электрооборудования и связанного искробезопасного оборудования.
Примечание - Связанные искробезопасные цепи должны быть защищены другим видом защиты, таким как nА или nС. Само оборудование должно иметь маркировку nА или nС (пользователь не должен знать, имеет ли оборудование искрящие элементы, пользователь не должен применять контурную оценку).
Если электрооборудование не соответствует требованиям раздела 23, разделения между токоведущими частями:
- искробезопасных цепей «n» и искроопасных цепей или
- различных искробезопасных цепей «n»,
- искробезопасных цепей «n» - и заземленными или изолированными металлическими частями в случае, если это влияет на взрывозащиту, должны соответствовать требованиям таблицы 2.
Если искробезопасное электрооборудование «n» или связанное электрооборудование «n» имеет более одного электрического соединителя для присоединения внешних цепей и неправильное соединение электрических соединителей может привести к нарушению взрывозащиты, эти электрические соединители должны иметь такую конструкцию, чтобы их взаимная замена при присоединении была невозможна (например, с использованием в конструкции пазов и выступов), или вилки и розетки должны быть идентифицированы маркировкой или окраской так, чтобы ошибочное присоединение являлось очевидным.
В искробезопасном электрооборудовании «n» должны быть предусмотрены меры для предупреждения нарушения взрывозащиты в результате изменения полярности присоединения источника питания или на соединительных контактных зажимах для присоединения аккумуляторной батареи, в которой это может произойти. Достаточной мерой для защиты от изменения полярности считают последовательное включение в цепь питания одного диода.
30.8.1 Номинальные параметры
Любой элемент, от которого зависит взрывозащита искробезопасных цепей «n», за исключением таких элементов, как трансформаторы, предохранители, тепловые выключатели, реле и выключатели, должен отвечать одному из следующих условий:
- иметь режим отказа, при котором сохраняется защита, или
- не должен быть использован в режиме работы, при котором значение напряжения, тока или мощности составляет более 2/3 их максимальных номинальных значений. При определении режима работы должны быть учтены номинальные параметры элемента, условия монтажа и температурные условия. Максимальные значения номинальных параметров элементов должны быть указаны изготовителем элемента.
30.8.2 Предохранители
Для защиты отдельных элементов в электрооборудовании и для ограничения тока в искробезопасных цепях «n» допускается использование предохранителей. При использовании с такой целью предохранители должны быть рассчитаны на ток 1,7 In, где In - номинальный ток предохранителя. Времятоковая характеристика предохранителя должна быть такой, чтобы значения электрических параметров защищаемых элементов во время переходного процесса не превышали номинальных значений.
Замена предохранителей пользователем должна быть возможна только после открытия оболочки электрооборудования. Тип предохранителя, In или характеристики, имеющие значение для ограничения электрических параметров, должны быть обозначены в маркировке электрооборудования.
Предохранители не обязательно должны соответствовать требованиям таблицы 2, но их номинальное напряжение должно быть по меньшей мере равно Um в связанном электрооборудовании «n» (или (U1 в искробезопасном электрооборудовании «n» или в искробезопасных цепях «n»).
Предохранители в связанном электрооборудовании «n» должны быть способны прерывать ток 1500 А, если не используются дополнительные устройства ограничения тока. Эти устройства должны быть защитными элементами и соответствовать требованиям 30.8.1.
30.8.3 Искрозащитные элементы, используемые в качестве шунтов
Если только их поломка не является очевидной при работе электрооборудования, искрозащитные шунты, например диоды и устройства, ограничивающие напряжение, должны быть присоединены к защищаемому элементу таким образом, чтобы была исключена возможность их разъединения.
Электрооборудование, питаемое от батареи, должно быть проверено при:
- максимальном напряжении разомкнутой цепи по таблицам 6 и 7 МЭК 60079-0 для искрового зажигания и
- номинальном напряжении по таблицам 6 и 7 МЭК 60079-0 для температур.
Искробезопасное электрооборудование «n» должно иметь маркировку в соответствии с требованиями раздела 35, и в документации (см. раздел 36)должны быть указаны все необходимые условия, при которых обеспечивается его безопасная эксплуатация. Эта информация должна содержать, по меньшей мере, максимальные значения напряжения, тока, мощности, а также индуктивности и емкости, включая индуктивность и емкость кабеля, который может быть присоединен.
Взрывозащита с использованием оболочек с ограниченным пропуском газа может быть применена в двух следующих случаях при различных испытаниях и условиях технического обслуживания для конкретного вида защиты:
a) Если в оболочке имеются искрящие контакты, но рассеяние энергии происходит таким образом, что средняя температура воздуха в оболочке не превышает температуру воздуха снаружи более чем на 10 К. Однако температура воздуха внутри оболочки может превышать температуру воздуха снаружи на 20 К, если скорость спада температуры после отключения электрооборудования не более 10 К/ч.
b) Если в оболочке не имеется искрящих контактов и она соответствует требованиям настоящего стандарта, за исключением требований к температуре поверхности внутренних частей, и в этом случае применение оболочек ограничивается только предельной температурой внешней поверхности.
Примечание 1 - Оболочки с ограниченным пропуском газа не допускается использовать для взрывозащиты искрящих контактов в случаях, когда существует повышенная вероятность проникновения взрывоопасной смеси в оболочку после выключения устройства вследствие высокой температуры воздуха внутри оболочки.
Примечание 2 - Необходимо учитывать, что прямой нагрев солнечными лучами внешней поверхности оболочки может вызвать повышение температуры внутри оболочки более, чем на допустимые 10 К.
Примечание 3 - Оболочки с ограниченным пропуском газа не рассчитаны на применение для взрывозащиты электрооборудования, работающего с частыми перерывами, вследствие возрастания вероятности того, что электрооборудование может быть отключено в условиях, когда вокруг оболочки будет находиться взрывоопасная смесь.
Оборудование типа, описанного в 31.1, перечисление а), должно иметь контрольные точки для проведения контрольных испытаний оболочек с ограниченным пропуском газа после установки и при текущем техническом обслуживании. Типовые испытания должны быть проведены в соответствии с 33.7.1.
Оборудование типа, описанного в 31.1, перечисление b), должно либо иметь контрольные точки и быть испытано так же, как и оборудование типа, описанного в 31.1, перечисление а), либо при отсутствии контрольных точек оно должно быть подвергнуто типовым испытаниям в соответствии с 33.7.2.
Эластичные прокладки должны быть установлены таким образом, чтобы они не могли быть механически повреждены в предусмотренных условиях эксплуатации. Эти уплотнения должны сохранять свои свойства в течение ожидаемого срока службы устройства. В качестве альтернативы изготовители должны рекомендовать установленную частоту замены прокладок и указать это в документации (см. раздел 36).
Температура продолжительной работы материалов для залитых уплотнений и заливочных компаундов оборудования, описанного в 31.1, перечисление а), должна быть по меньшей мере на 10 К выше, чем температура, достигаемая в самых тяжелых условиях работы.
Температура продолжительной работы материалов для залитых уплотнений и заливочных компаундов оборудования, описанного в 31.1, перечисление b), должна быть по меньшей мере на 20 К выше, чем температура, достигаемая в самых тяжелых условиях работы.
Оболочки с ограниченным пропуском газа, для которых не предусмотрены проверки после установки или технического обслуживания, должны быть подвергнуты типовым испытаниям, включая испытания кабельных вводов.
Примечание - Инструкции по установке должны содержать информацию о выборе вводных устройств и кабелей.
При использовании внутри оболочки вентиляторов всасывание не должно приводить к понижению давления вблизи возможного источника утечки взрывоопасной смеси.
Испытания должны быть проведены в следующем порядке: испытания работоспособности, указанные в настоящем стандарте или соответствующем стандарте на электрооборудование, затем испытания на стойкость к удару, степень защиты IP и, если требуется, испытания на ограниченный пропуск газа.
Представительный образец должен быть испытан в соответствии с требованиями настоящего стандарта к испытаниям.
Испытания должны быть проведены при состоянии электрооборудования, которое рассматривается испытателем как самое неблагоприятное.
33.3.1 Порядок испытаний
33.3.1.1 Неметаллические оболочки и части оболочек (исключая оболочки из стекла) Два образца электрооборудования должны быть испытаны в следующем порядке: испытания на теплостойкость (см. 33.3.2.1); испытания на холодостойкость (см. 33.3.2.2); механические испытания (см. 33.3.2.3); испытания степени защиты оболочки (IP) (см. 33.3.2.2), - затем испытаны на ограниченный пропуск газа, если это необходимо (см. 33.7), и в конце должны быть проведены другие испытания, указанные в настоящем стандарте.
33.3.1.2 Металлические оболочки, металлические части оболочек, стеклянные и керамические части оболочек
Число образцов для испытаний выбирают в зависимости от вида испытаний, выполняемых в следующем порядке: механические испытания (см. 33.3.3); испытания степени защиты оболочки (33.3.4), затем испытания на ограниченный пропуск газа, если это необходимо (см. 33.7), и в конце должны быть проведены другие испытания, указанные в настоящем стандарте.
33.3.2 Испытания на стойкость к температурам
33.3.2.1 Испытания на теплостойкость
Для испытания теплостойкости оболочки или части оболочек, изготовленные из пластмасс, от которых зависит взрывозащита, должны быть выдержаны в течение четырех недель при относительной влажности (90 ± 5) % и температуре на (10 ± 2) К выше максимально возможной в условиях эксплуатации.
Если максимальная температура при эксплуатации выше 85 °С, продолжительность испытательного периода должна составлять не четыре недели, как указано выше, а две недели при температуре (95 ± 2) °С и относительной влажности (90 ± 5) %, после чего в течение двух недель проводят испытания при температуре, на (10 ± 2) К превышающей максимальную температуру в условиях эксплуатации.
33.3.2.2 Испытания на холодостойкость
Испытания должны быть проведены в соответствии с требованиями 26.9 МЭК 60079-0.
33.3.3 Испытания механической прочности
33.3.3.1 Испытания на устойчивость к удару
Испытания должны быть проведены в соответствии с требованиями 26.4.2 МЭК 60079-0.
33.3.3.2 Испытания сбрасыванием электрооборудования ручного использования
Электрооборудование ручного использования в дополнение к испытаниям согласно требованиям 33.3.3.1 должно быть испытано в соответствии с требованиями 26.4.3 МЭК 60079-0.
Примечание - Для светильников ручного использования при испытаниях допускается повреждение нити накаливания лампы.
33.3.3.3 Критерии соответствия
При осмотре после испытаний на оболочке не должно быть следов значительных повреждений. Любая деформация в результате испытаний не должна нарушать безопасность использования электрооборудования и приводить к уменьшению значений зазоров и путей утечки по сравнению с минимальными значениями, указанными в настоящем стандарте, или снижать степень защиты оболочки. Все аккумуляторные отсеки должны оставаться закрытыми, а аккумуляторные батареи не должны отделяться от электрооборудования.
Поверхностные повреждения, отслаивание краски, поломка охлаждающих ребер или других подобных частей электрооборудования, а также образование мелких выемок не следует рассматривать как нарушение взрывозащиты.
Допускается деформация защитных кожухов и экранов вентиляторов, однако трение о них подвижных частей из-за смещения или деформации недопустимо.
Оболочки с ограниченным пропуском газа после проведения указанных испытаний должны быть испытаны в соответствии с требованиями 33.7.
33.3.4 Испытания оболочек на степень защиты (IP)
33.3.4.1Испытание
33.3.4.1.1 Общие положения
Методы испытаний и оценка результатов должны соответствовать требованиям МЭК 60529, за исключением оболочек вращающихся электрических машин, описанных в разделе 17, на которые распространяются относящиеся к ним требования МЭК 60034-5.
Примечание - В МЭК 60529 содержатся требования к защите от попадания в опасные части твердых посторонних предметов или проникновения воды.
При оценке результатов испытаний в соответствии с МЭК 60034-5 всю пыль следует считать проводящей.
33.3.4.1.2 Положение
Электрооборудование при испытаниях следует устанавливать в положении, в котором оно должно работать. Ели этих положений несколько, следует выбирать такое, в котором условия в отношении воздействия внешних факторов будут самыми тяжелыми, что должно быть отражено в протоколе испытаний.
33.3.4.1.3 Определение категории
В случаях, когда электрооборудование должно соответствовать требованиям, указанным в МЭК 60529, оно должно относиться к категории 1 в соответствии с требованиями 13.4 того же стандарта.
33.3.4.1.4 Условия испытаний
При испытаниях в соответствии с требованиями МЭК 60529 на электрооборудование не должно подаваться электрическое питание и электрооборудование не должно быть в действии.
33.3.4.1.5 Испытание диэлектрических свойств
Если значение электрической прочности для испытания зазоров высоковольтного электрооборудования (номинальные напряжения более 1000 В переменного тока или 1200 В постоянного тока) не указано в стандарте на соответствующее электрооборудование, испытания диэлектрических свойств, указанные в 12.3.2 МЭК 60529, должны быть проведены при действующем значении напряжения (2UN ± 1000) В ± 10% в течение 10 - 12 с, где UN - максимальное значение номинального напряжения или напряжение внутри электрооборудования.
33.3.4.1.6 Дренажные или вентиляционные отверстия
Оболочки, имеющие дренажные или вентиляционные отверстия, признают соответствующими требованиям по степени защиты IP3X и IP4X при условии, что электрические проводники или механические валики не могут проникнуть в свободное пространство оболочки.
33.3.4.2 Критерии соответствия в дополнение к МЭК 60529
33.3.4.2.1 Проникновение пыли
Если нет других более жестких требований в стандарте на конкретное электрооборудование, оболочку считают соответствующей степени защиты по проникновению пыли IP5X, если по окончании испытаний порошок талька или какая-либо другая пыль, включая проводящую, не накопилась в каком-либо месте в таком количестве, чтобы была нарушена работоспособность механической и/или электрической части устройства.
33.3.4.2.2 Проникновение воды
Если нет других более жестких требований в стандарте на конкретное электрооборудование, соответствие степени защиты оболочки по проникновению воды IPXX (где второе число может быть от 1 до 7 включительно) устанавливают следующим образом.
По окончании испытаний проводят проверку внутренней части оболочки на наличие признаков проникновения в нее воды. Если признаки проникновения воды обнаружены, то:
a) количество воды не должно быть таким, чтобы была нарушена работоспособность механической или электрической части электрооборудования;
b) вода не должна попадать на детали под напряжением или обмотки, которые не рассчитаны на работу в условиях увлажнения;
c) вода не должна накапливаться вблизи кабельного ввода или проникать в кабель.
Примечание 1 - Конденсационная влага не должна быть ошибочно рассмотрена как проникновение воды внутрь оболочки.
Примечание 2 - Следы влаги на вращающихся механических частях не должны быть рассмотрены как неблагоприятный исход при испытаниях, если эта влага не может попасть на другие детали устройства при вращении.
Примечание 3 - Накопившуюся в оболочке воду, которая может быть разбрызгана механическими частями во время работы устройства, следует оценивать в соответствии с требованиями а), b) или с)
Примечание 4 - Приведенные критерии и пояснения соответствуют требованиям относящихся к данному фактору разделов МЭК 60034-5 и МЭК 60529.
33.4.1 Подготовка образцов устройств во взрывонепроницаемой оболочке к испытаниям
До начала испытаний любые части, изготовленные из эластомерных или термопластичных материалов, используемые для уплотнения крышек, которые должны открываться во время работы и которые не защищены от механического повреждения или повреждения из-за воздействия окружающей среды, должны быть удалены, если в результате удаления этих частей условия испытаний становятся более жесткими.
Примечание - Другие неметаллические части оболочки должны быть подготовлены как указано в 33.3.2.
33.4.2 Подготовка образцов неподжигающих компонентов к испытаниям
До испытаний контакты неподжигающих компонентов должны быть подвергнуты рабочему тренировочному циклу с числом переключений 6000 при частоте примерно 6 переключений в минуту и заданной электрической нагрузке.
Для проведения испытаний неподжигающий компонент должен быть установлен таким образом, чтобы был обеспечен доступ взрывоопасной испытательной смеси к контактам и чтобы происходящий взрыв можно было обнаружить. Для этого необходимо:
a) снять оболочку, закрывающую контакты, или
b) просверлить по меньшей мере два отверстия в оболочке, или
c) создать вакуум в испытательном отсеке, затем заполнить его взрывоопасной испытательной смесью и с помощью устройства для определения давления зарегистрировать взрыв.
33.4.3 Условия испытания устройств во взрывонепроницаемой оболочке и неподжигающих компонентов
33.4.3.1 Общие положения
Образец устройства или компонента, имеющий самые неблагоприятные размеры, допускаемые конструкторской документацией, должен быть заполнен и окружен взрывоопасной смесью следующего состава для соответствующих групп электрооборудования:
Группа IIА: (6,5 ± 0,5) % этилена в воздухе при атмосферном давлении;
Группа IIВ: (27,5 ± 1,5) % водорода в воздухе при атмосферном давлении;
Группа IIС: (34 ±2)% водорода, (17 ± 1) % кислорода и остальное азот при атмосферном давлении или (27,5 ± 1,5) % водорода в воздухе при избыточном давлении 500 мбар.
33.4.3.2 Устройства во взрывонепроницаемой оболочке
Воспламенение взрывоопасной смеси внутри устройств во взрывонепроницаемой оболочке должно быть проведено от разрядов размыкания и замыкания контактов во взрывонепроницаемой оболочке при подключении к источнику питания с максимальной нагрузкой с учетом напряжения, тока, частоты и коэффициента мощности. В каждом испытании должно быть проведено 10 опытов по замыканию и размыканию контактов в свежей взрывоопасной смеси, и при этом не должно произойти взрыва взрывоопасной смеси, окружающей устройство.
33.4.3.3 Неподжигающие компоненты
При испытании неподжигающих компонентов должно быть проведено 50 опытов по замыканию и размыканию контактов при 100 %-ной нагрузке, при этом компонент должен быть заполнен и окружен взрывоопасной смесью. Это испытание на замыкание и размыкание контактов должно быть повторено три раза в свежей взрывоопасной газовой смеси в каждом испытании, и при этом не должно произойти взрыва взрывоопасной смеси, окружающей устройство.
33.5.1 Подготовка к испытаниям
Устройство должно быть выдержано в сушильном шкафу в течение 7 дней при номинальном напряжении при температуре не менее чем на 10 К выше максимальной температуры окружающей среды Тс или при температуре, которая достигает Тс + 10 К, или устройство должно быть не под напряжением при температуре (80 ± 2) °С в зависимости от того, какая температура выше, а затем должно один день быть выдержано при температуре на 10 К ниже минимальной номинальной рабочей температуры.
Примечание - Может заменить подготовку к испытаниям по 7.2.
33.5.2 Испытание под напряжением
Соединительные контактные зажимы электрооборудования должны быть соединены между собой. Между контактными зажимами и внешней поверхностью корпуса электрооборудования прилагают и выдерживают в течение 1 мин синусоидальное напряжение. Действующее значение напряжения должно быть не менее Vaмп или (2U + 1000) В в зависимости от того, какое значение больше, где Vaмп - максимальное напряжение (амплитудное значение) на выходе; U - рабочее напряжение. В случаях, когда рабочее напряжение равно 42 В или менее, испытательное напряжение должно быть равно 500 В вместо (2U + 1000) В. Если корпус изготовлен из пластмассы, его обертывают металлической фольгой.
Электрооборудование считают выдержавшим испытание, если под действием напряжения не произошло электрического пробоя или повреждения корпуса и при осмотре не обнаружено видимых повреждений заливки, которые могли бы нарушить вид защиты, например трещин в компаунде или обнажения залитых компаундом частей.
33.5.3 Испытания устройств с пустотами
33.5.3.1 Установка для проведения испытаний на герметичность
Испытательная установка должна содержать сосуд, изготовленный из прозрачного материала, имеющий объем, достаточный для полного погружения испытуемого образца в жидкость. Установка в зависимости от выбранного изготовителем метода испытаний (метод 1 или 2) должна обладать следующими дополнительными свойствами.
В качестве испытательной жидкости используют водопроводную или деионизованную воду.
a) Метод 1
Установка должна нагревать испытательную жидкость в сосуде до температуры в соответствии с требованиями 33.5.3.2, перечисление а) и поддерживать одинаковую температуру в течение длительного периода с возможностью измерения температуры.
b) Метод 2
Установка должна позволять присоединять вакуумный насос для снижения давления в сосуде над поверхностью жидкости и поддерживать его на необходимом уровне в течение по меньшей мере 2 мин.
33.5.3.2 Испытание на герметичность
a) Образцы исходной температурой (25 ± 2) °С резко погружают в воду, температура которой (65 ± 2) °С, на глубину 25 мм и выдерживают 1 мин. Если при этом испытании не наблюдается выделение пузырьков, электрооборудование признают соответствующим требованиям настоящего стандарта.
b) Испытуемые образцы погружают в воду, содержащуюся в сосуде, которая может быть частично откачана, на глубину 75 мм. Давление воздуха в оболочке снижают до 120 мм рт. ст. (16 кПа). Электрооборудование признают соответствующим требованиям настоящего стандарта, если не обнаружено признаков утечки воздуха.
c) Любые другие испытания, которые обнаруживают утечку воздуха со скоростью не более чем 10-5 мл/с при перепаде давления в 1 атм (101,325 кПа).
33.5.4 Испытание залитого компаундом электрооборудования для светильников
33.5.4.1 Термоциклические испытания
Порядок проведения испытаний залитого компаундом электрооборудования светильников следующий:
a) при комнатной температуре на электрооборудование подают напряжение при номинальной нагрузке до тех пор, пока температура поверхности не стабилизируется. (Признаком стабилизации температуры является скорость ее изменения, не превышающая 1 К/ч.);
b) температуру окружающей среды медленно повышают до значения, при котором температура поверхности электрооборудования будет на 10 К выше указанной в маркировке максимальной температуры поверхности. В таком состоянии электрооборудование выдерживают до тех пор, пока температура поверхности вновь не стабилизируется (Признаком стабилизации температуры является скорость ее изменения, не превышающая 1 К/ч);
c) электрооборудование отключают и охлаждают до комнатной температуры;
d) температуру окружающей среды понижают в термостате до (-10 ± 2) °С, и электрооборудование выдерживают в нем до тех пор, пока температура поверхности не стабилизируется;
e) электрооборудование извлекают из термостата с низкой температурой, немедленно включают его на номинальную нагрузку, и испытания продолжают до тех пор, пока температура поверхности не стабилизируется вновь.
Испытания считают законченными после выполнения трех циклов.
После проведения термоциклических испытаний должны быть проведены испытания изоляции электрическим напряжением в соответствии с 33.5.2.
33.5.4.2 Испытания изоляции электрическим напряжением
Для этого соединительные контактные зажимы электрооборудования соединяют между собой. Между контактными зажимами и внешней поверхностью корпуса электрооборудования прилагают и выдерживают в течение 1 мин синусоидальное напряжение. Действующее значение напряжения должно быть не менее Vамп или (2U + 1000) В в зависимости оттого, какое значение больше, где Vамп - максимальное амплитудное значение напряжения на выходе; U - рабочее напряжение. В случаях, когда рабочее напряжение равно 42 В или менее, испытательное напряжение должно быть равно 500 В вместо (2U + 1000) В. Если корпус изготовлен из пластмассы, его обертывают металлической фольгой.
Электрооборудование считают выдержавшим испытания, если:
a) под действием напряжения не произошло электрического пробоя или повреждения корпуса, или
b) при осмотре не обнаружено видимых повреждений заливки, которые могли бы нарушить вид защиты, например трещин в компаунде или обнажения залитых компаундом частей.
33.5.5 Испытания заключенного в герметично плотные оболочки электрооборудования светильников
Если в электрооборудовании имеются залитые уплотнения или части его залиты термореактивным герметизирующим компаундом, образцы электрооборудования должны быть помещены в термостат и охлаждены до минус 10 °С или ниже в течение 1 ч. Затем образцы нагревают до температуры на 10 К выше максимальной рабочей температуры корпуса и выдерживают в течение 1 ч.
Если в электрооборудовании имеются прокладки или уплотнения из термопластичного или эластомерного материала, его выдерживают в течение 7 дней при температуре на 10 К выше температуры, которая достигается при номинальной нагрузке в самых тяжелых условиях эксплуатации, установленных испытательной лабораторией или указанных изготовителем.
Затем испытуемые образцы должны быть подвергнуты одному из следующих испытаний на герметичность:
a) образец с исходной температурой (25 ± 2) °С резко погружают в воду, температура которой (50 ± 2) °С, на глубину 25 мм и выдерживают 1 мин. Если при этом испытании не наблюдается выделение пузырьков, электрооборудование признают соответствующим требованиям настоящего стандарта;
b) испытуемые образцы погружают в воду, содержащуюся в сосуде, которая может быть частично откачана, на глубину 75 мм. Давление воздуха в оболочке снижают до 120 мм рт. ст. (16 кПа). Электрооборудование признают соответствующим требованиям настоящего стандарта, если не обнаружено признаков утечки воздуха;
c) любым другим испытаниям, которые обнаруживают утечку воздуха со скоростью не более чем 10-5 мл/с при перепаде давления в1 атм (101,325 кПа).
33.6.1 Общие положения
Искробезопасное электрооборудование «n» и искробезопасные цепи «n» оценивают и испытывают с использованием методов, приведенных в 10.1-10.4 МЭК 60079-11.
33.6.2 Условия испытаний
Требования 10.1-10.4 МЭК 60079-11 в отношении аварийных режимов и коэффициентов безопасности не применяют. Оценка и испытания искробезопасных цепей «n» и искробезопасного электрооборудования «n» должны быть проведены только в нормальном режиме работы. Для оценки путей утечки и электрических зазоров вместо данных таблицы 4 МЭК 60079-11 должны быть использованы данные таблицы 2 настоящего стандарта. В электрооборудовании, соответствующем требованиям раздела 23, должны быть оценены или испытаны только переключающиеся контакты или электрические соединители, не удовлетворяющие требованиям раздела 20.
33.6.3 Элементы с изменяющимися параметрами
Искробезопасные цепи «n», содержащие элементы с изменяющимися параметрами, должны быть испытаны при таких параметрах, при которых электрические разряды при коммутации цепей имеют самую высокую воспламеняющую способность.
33.7.1 Электрооборудование, для которого предусмотрена проверка свойств ограниченного пропуска газов при эксплуатации
В условиях постоянной температуры временной интервал, необходимый для того, чтобы внутреннее давление 300 Па (30 мм вод. ст.) увеличилось до 150 Па (15 мм вод. ст.), должен быть не менее 80 с.
33.7.2 Электрооборудование, для которого не предусмотрена проверка свойств ограниченного пропуска газов при эксплуатации
В условиях постоянной температуры временной интервал, необходимый для того, чтобы внутреннее давление 3 кПа (300 мм вод. ст.) увеличилось до 1,5 кПа (150 мм вод. ст.), должен быть не менее 3 мин.
Примечание - Если оболочка имеет такую конструкцию, при которой скорость пропускания воздуха зависит от направления истечения, испытания в соответствии с требованиями 33.7.1 или 33.7.2 могут быть выполнены при избыточном давлении в оболочке.
33.7.3 Оболочки электрооборудования, объем которых изменяется под воздействием давления
Избыточное давление воздуха в оболочке следует поддерживать на уровне 400 Па. Необходимо измерить скорость подачи воздуха в литрах в час (л/ч), требуемую для поддержания избыточного давления. Значение, полученное делением скорости подачи воздуха на первоначальный объем оболочки в литрах (л), не должно превышать 0,125.
Примечание 1 - Испытание на установку и снятие ламповых патронов Е10 можно не проводить.
Для ламповых патронов Е14, Е27 и Е40 цоколь лампы, имеющий размеры, соответствующие требованиям МЭК 60238, должен быть полностью вставлен в ламповый патрон с приложением крутящего момента в зависимости от типа патрона, как указано в таблице 11.
Для ламповых патронов Е13, Е26 и Е39 должно быть проведено подобное испытание на основании требований к размерам по МЭК 60238 с учетом изменений, вызванных разницей соответствующих цоколей ламп, указанных в МЭК 60061 (все части).
Примечание 2 - Если необходима сертификация (третьей стороной), по требованиям настоящего стандарта орган по сертификации не обязан подтверждать соответствие МЭК 60238. Изготовитель должен указать в документации основания для соответствия, см. раздел 36.
|
Цоколь |
Крутящий момент, Н·м |
|
Е14/Е13 |
1,0 ± 0,1 |
|
Е27/Е26 |
1,5 ± 0,1 |
|
Е40/Е39 |
2,25± 0,1 |
Затем цоколь должен быть частично вывернут поворотом на 15°.
Минимальный крутящий момент, необходимый для извлечения лампы, должен быть не менее указанного в таблице 12.
Таблица 12 - Минимальный крутящий момент для извлечения ламп, имеющих различные цоколи
|
Цоколь |
Крутящий момент, Н·м |
|
Е14/Е13 |
0,3 |
|
Е27/Е26 |
0,5 |
|
Е40/Е39 |
0,75 |
|
Примечание - При сильной вибрации должен быть предусмотрен специальный держатель. |
|
Три образца патрона должны быть выдержаны в термостате при температуре (85 ± 2) °С в течение 72 ч и затем охлаждены в течение 24 ч.
После этого должно быть измерено усилие нажатия контактов. Измерение проводят с помощью устройства, выполненного в соответствии с МЭК 60400.
Усилие нажатия контактов должно быть не менее 5 Н.
Примечание - Если необходима сертификация (третьей стороной), по требованиям настоящего стандарта орган по сертификации не обязан подтверждать соответствие МЭК 60400. Изготовитель должен указать в документации основания для соответствия, см. раздел 36.
33.10.1 Общие положения
Устройства зажигания распределяют по категориям в соответствии со следующими характеристиками:
a) амплитудное значение импульсного напряжения (Vамп), генерируемого на лампе, не должно превышать одного из следующих значений: 1,5; 2,8 или 5,0 кВ;
b) устройство зажигания может иметь или не иметь блокировку для предотвращения повторного запуска, если лампа или не включается, или отключилась во время работы;
c) устройство зажигания может создавать или не создавать высокое напряжение на обмотке балластного сопротивления.
33.10.2 Испытания на влагостойкость, испытания прочности изоляции электрическим напряжением
Испытания пускорегулирующих аппаратов с электронными стартерами и устройств зажигания на влагостойкость, испытания прочности изоляции электрическим напряжением должны быть проведены в соответствии с требованиями МЭК 61347-1. Длительность испытаний 168ч.
33.10.3 Испытания отключающего устройства
Если пускорегулирующее устройство или устройство зажигания имеет отключающее устройство, работоспособность должна быть испытана на трех образцах при температуре окружающего воздуха (-25 ± 2) °С, (25 ± 2) °С и при температуре, равной, по меньшей мере, максимальной заданной допустимой температуре корпуса плюс 10 К (если не заданы другие пределы рабочей температуры). Соответствие требованиям должно быть установлено следующим образом:
a) для пускорегулирующих аппаратов с электронными стартерами для трубчатых люминесцентных ламп должно быть проведено 10 последовательных попыток запуска с интервалом 15 с. Отключающее устройство должно действовать при отказе лампы (отсутствие разряда при неповрежденных катодах, что моделируется извлечением лампы и заменой ее эквивалентными катодными сопротивлениями) в течение 10 с, чтобы предупредить дальнейшие попытки включения лампы;
b) для устройств для зажигания натриевых, ртутных и металлогалогенных ламп высокого давления должно быть проведено 10 последовательных попыток запуска, пока устройство для отключения не будет действовать при каждом отказе лампы. Устройство для отключения должно действовать при отказе лампы (отсутствие разряда или зажигания в холодных условиях, что моделируется извлечением лампы) в течение 125 % времени, указанного на устройстве для зажигания.
Если все три образца соответствуют требованиям, устройство для зажигания должно быть отнесено к устройствам «с отключением». Если один из трех образцов не удовлетворяет требованиям, устройство для зажигания должно быть отнесено к устройствам «без отключения» и последующие испытания должны быть проведены на образцах с изолированным или недействующим устройством для отключения или после его извлечения, чтобы устройство для зажигания можно было рассматривать как непригодное для использования, если оно оказывает давление на обмотку балласта.
33.10.4 Испытания на долговечность (поломка лампы)
33.10.4.1 Испытания термостойкости устройства зажигания
Три устройства для зажигания должны быть испытаны на термостойкость в указанном порядке:
a) Без устройства для отключения:
1) устанавливают максимальное номинальное рабочее напряжение при наивысшей рабочей частоте (или при самой малой частоте, если при этом наблюдается самое высокое увеличение температуры внутри устройства). В цепи моделируют условия отказа лампы;
2) затем температуру в шкафу без вентиляции или в оболочке повышают до 60 °С;
3) в таких условиях устройство выдерживают 60 дней;
4) затем питание отключают и устройство охлаждают до комнатной температуры.
b) С устройством для отключения:
1) температуру в шкафу без вентиляции или в оболочке повышают до 60 °С;
2) устанавливают максимальное номинальное рабочее напряжение при наивысшей рабочей частоте (или при самой малой частоте, если при этом наблюдается самое высокое увеличение температуры внутри устройства). В цепи моделируют условия отказа лампы для номинального режима работы в течение 30 мин при 30-минутном цикле отключения;
3) продолжают испытание до завершения 500 циклов;
4) затем питание отключают и устройство охлаждают до комнатной температуры.
33.10.4.2 Критерии оценки
Устройство для зажигания/стартерное устройство должно быть проверено повторно и должно быть установлено либо:
a) что оно функционирует в пределах указанных электрических рабочих характеристик и температуры (если они обозначены) и не имеет признаков повреждений, которые бы делали его опасным в отношении поражения электрическим током;
b) что оно не является «безопасным» и не прошло испытания в воспламеняющих или искрящих условиях и имеет механические и структурные повреждения.
Испытательное напряжение при номинальной частоте 50 или 60 Гц подают на 1 мин между проводником и металлической фольгой шириной 25 мм, которой обертывают внешние поверхности изоляции испытательного образца проводника, но не ближе 25 мм от неизолированных проводников. Длина испытуемого образца должна быть не менее 500 мм.
Действующее значение испытательного напряжения должно составлять 3 кВ в цепях, использующих устройства для зажигания с маркировкой 2,8 кВ, или 5 кВ в цепях, в которых используются устройства для зажигания с маркировкой 5,0 кВ.
При испытаниях не должно быть поверхностных разрядов или пробоя.
33.12.1 Общие положения
Испытания должны быть выполнены на образце, состоящем по меньшей мере из четырех соединенных между собой (2 последовательно и 2 параллельно) новых полностью заряженных аккумуляторов, снабженных перемычками и установленных в ящике. Образец должен быть в состоянии полной готовности к использованию.
Образец должен быть установлен в нормальном рабочем положении на испытательном стенде и закреплен или жестко, или с использованием его собственных приспособлений для установки. Закрепление должно удовлетворять требованиям 4.3 МЭК 60068-2-27.
Испытательный стенд должен позволять создавать одиночные ударные импульсы в форме полуволны синусоиды, как указано на рисунке 2 МЭК 60068-2-27.
Допуски по неравномерности движения, поперечности движения и точности измерения должны удовлетворять требованиям 4.1.2, 4.1.3 и 4.2 МЭК 60068-2-27 соответственно. Амплитудное значение ускорения должно быть 5 gn, как указано в таблице 1 МЭК 60068-2-27.
33.12.2 Порядок испытаний
Порядок испытаний должен быть следующий:
a) определяют емкость батареи;
b) устанавливают и в течение всего времени испытаний выдерживают 5-часовой разрядный ток;
c) образец подвергают последовательно 15 одиночным ударам следующим образом:
1) три удара в направлении вертикально вверх;
2) по три удара в каждом направлении вдоль двух взаимно перпендикулярных осей в горизонтальной плоскости. Направления осей выбирают таким образом, чтобы выявить возможные слабые места;
d) после зарядки снова определяют емкость.
33.12.3 Критерии оценки
Результаты испытаний считают положительными при выполнении следующих трех условий:
a) во время испытаний не должно быть резких изменений напряжения;
b) не должно быть видимых повреждений или деформации;
c) емкость батареи не должна понизиться более чем на 5 %.
33.13.1 Условия испытания
a) Напряжение в измерительной цепи омметра должно составлять по меньшей мере 100 В.
b) Все электрические соединения между аккумуляторной батареей и внешними цепями, а также ящиком, если он имеется, должны быть разъединены.
c) Аккумуляторы должны быть залиты электролитом до максимального допустимого уровня.
33.13.2 Критерии оценки
Сопротивление изоляции считают удовлетворительным, если измеренная величина по меньшей мере равна указанной в 22.5.2.11.
33.14.1 Испытание конструкции ротора короткозамкнутой машины
33.14.1.1 Общие положения
Испытание проводят на электродвигателе со статором и ротором, полностью укомплектованном, т.е. с сердечником статора и обмоткой и сердечником ротора и короткозамкнутым ротором. В испытуемом образце должны быть проходы, центрирующие кольца, кольцевые прокладки под короткозамыкающими кольцами и, если необходимо, уравновешивающие кольца.
33.14.1.2 Испытания ротора короткозамкнутой машины на износ
Ротор короткозамкнутой машины следует испытать на износ, для чего проводят как минимум пять испытаний ротора в заторможенном состоянии. Максимальная температура ротора короткозамкнутой машины должна колебаться в пределах между максимальной расчетной температурой и температурой менее 70 °С. Подаваемое напряжение должно составлять не менее 50 % номинального.
33.14.1.3 Испытание на воспламенение
После испытания на износ по 33.14.1.2 электродвигатель следует погрузить (или заполнить) во взрывоопасную водородно-воздушную смесь, объемная доля водорода в которой составляет (21 ± 5) %. Затем следует выполнить десять прямых пусков от сети не подсоединенного к нагрузке электродвигателя или провести испытание при заторможенном роторе. Длительность этих испытаний должна составлять не менее 1 с.
Во время испытаний напряжение на выводах машины не должно быть ниже 90 % номинального. Концентрацию водорода следует проверять после каждого испытания.
Не должно произойти взрыва.
Примечание - Прохождение данного испытания не гарантирует, что на двигателе не будет появляться искр в опасных условиях и в рабочем режиме. См. 17.9.1.
33.14.2 Испытания невоспламеняемости системы изоляции обмотки статора
33.14.2.1 Общие положения
Испытания должны быть проведены на одном из следующих устройств:
- собранном статоре;
- статоре в корпусе электродвигателя;
- электродвигателе или
- статоре с неполной обмоткой, или
- группе катушек.
Во всех случаях испытуемая модель должна представлять собой собранный статор с противокоронной защитой, с маркировкой механической нагрузки, с уплотнением и креплением, с пропиткой и проводящими частями, например с сердечником статора. Все открытые проводящие части следует заземлить.
33.14.2.2 Условия испытаний
Типовая установка присоединения кабелей статора должна быть испытана либо на полностью собранном статоре, либо на представительной модели. Особое внимание следует уделить размещению кабеля относительно находящихся рядом проводящих частей и их размещению относительно друг друга. Все открытые проводящие части следует заземлить.
33.14.2.3 Испытание на воспламенение в устойчивых условиях
Системы изоляции и соединительные кабели следует испытать в течение 3 мин синусоидальным напряжением, в 1,5 раза превышающим номинальное действующее значение напряжения сети, во взрывоопасной водородно-воздушной смеси, объемная доля водорода в которой составляет (21 ± 5) %. Максимальная скорость повышения напряжения должна составлять 0,5 кВ/с. Напряжение следует подавать между одной фазой и землей, все другие фазы должны быть заземлены.
Взрыва произойти не должно.
Примечание - Прохождение данного испытания не гарантирует, что на двигателе не будет появляться искр в опасных условиях и в рабочем режиме. См. 17.9.1.
33.14.2.4 Испытание на воспламенение импульсным напряжением
Системы изоляции и подсоединяемые кабели следует испытать во взрывоопасной водородно-воздушной смеси, объемная доля водорода в которой составляет (21 ± 5) %, путем подачи 10 импульсов напряжения, амплитуда которых в три раза выше амплитуды фазного напряжения с допуском ± 3 %. Время повышения напряжения варьируют между 0,2 и 0,5 мкс, а время спада напряжения составляет не менее 20 мкс, но не более 30 мкс. Импульсы следует подавать пофазно и отдельно от фазы к земле. Взрыва не должно произойти.
Примечание - Это нестандартная форма волны. Однако предполагают, что для инициирования разряда нужно использовать короткое время повышения напряжения, а длительность импульса должна быть достаточной для получения энергии воспламенения. Данные результаты основаны на экспериментах, проведенных Физико-техническим федеральным учреждением (РТВ), Германия.
Взрыва произойти не должно.
Изготовитель должен выполнить контрольные проверки и испытания электрооборудования, необходимые для того, чтобы убедиться, что оно соответствует технической документации по требованиям МЭК 60079-0. Изготовитель должен также выполнить все испытания, указанные в 34.2.
34.2.1 Испытания электрической прочности
Испытания диэлектрических свойств должны быть выполнены в соответствии с требованиями 6.8.1. В качестве альтернативы испытание может быть проведено при напряжении в 1,2 раза выше, чем испытательное напряжение, продолжительность испытаний должна быть по меньшей мере 100 мс.
Примечание - В некоторых случаях фактическое время испытаний может значительно превышать 100 мс. Так, для электрооборудования, имеющего большую распределенную емкость, для установления испытательного напряжения может потребоваться больший промежуток времени.
34.2.2 Альтернативное испытание диэлектрических свойств
Для электрооборудования, являющегося исключением в соответствии с требованиями 6.7.1, испытания согласно требованиям 6.8.2 должны быть выполнены как испытания технических характеристик. При проведении испытания с 1, 2-кратным испытательным напряжением продолжительность испытания должна быть не менее 100 мс.
34.2.3 Оболочки с ограниченным пропуском газов
Для оболочек с ограниченным пропуском газов, не имеющих средств проверки ограниченного пропуска газов после установки, испытания в соответствии с требованиями 33.7.2 должны быть выполнены как испытания технических характеристик. Эти испытания могут быть сокращены по времени, если будет установлено, что время, необходимое для изменения давления от 3 до 2,7 кПа (от 300 до 270 мм вод. ст.), составляет более 27 с.
34.2.4 Испытания технических характеристик электронных стартеров и устройств зажигания
Для электронных стартеров пускорегулирующих аппаратов трубчатых люминесцентных ламп и для устройств зажигания натриевых или металлогалогенных ламп высокого давления испытания технических характеристик должны быть проведены в соответствии с требованиями 33.10.3 к испытаниям электрическим напряжением, но при длительности испытаний 3 с.
Маркировка должна включать в себя элементы, требуемые положениями МЭК 60079-0, а также настоящего стандарта и других стандартов, которым оборудование соответствует. Маркировка также должна содержать обозначения, которые обычно необходимы в соответствии с требованиями стандартов на электротехнические изделия определенных видов.
На искробезопасном оборудовании «n», связанном искробезопасном оборудовании и контактных устройствах во взрывонепроницаемой оболочке должны быть маркированы категории взрывоопасной смеси.
Если необходимо указать в маркировке один из видов защиты, перечисленных в МЭК60079-0, маркировка, которая требуется положениями настоящего стандарта, должна быть приведена на первом месте.
Примечание - Это необходимо, чтобы избежать сомнений в пригодности оборудования для применения на конкретной площадке.
Маркировка неискрящих элементов, искробезопасного оборудования и элементов должна содержать все электрические параметры, касающиеся взрывобезопасности (например, напряжение, ток, индуктивность и емкость).
На аккумуляторы должна быть нанесена маркировка со следующей информацией:
- тип конструкции аккумуляторов;
- число аккумуляторов и номинальное напряжение;
- номинальная емкость и соответствующее время разрядки.
Если меры безопасности не предусмотрены, на корпусе батареи или портативном источнике должна быть табличка с предупреждающей надписью, указанной в перечислении d) таблицы 13.
Если в оборудование или корпус аккумулятора можно поместить и первичные и вторичные элементы, то на них должна быть табличка с предупреждающей надписью, указанной в перечислении е) таблицы 13.
Примечание - Инструкции по эксплуатации (техническому обслуживанию) для использования на станции зарядки аккумулятора должны быть поставлены с каждым аккумулятором. В них должны содержаться все сведения, необходимые для использования, обслуживания и зарядки.
Инструкции по эксплуатации должны содержать, по меньшей мере, следующую информацию:
- наименование изготовителя или поставщика, или его зарегистрированную торговую марку;
- обозначение типа производимого электрооборудования;
- число аккумуляторов и номинальное напряжение аккумуляторной батареи;
- номинальную емкость и соответствующее время разрядки;
- инструкции по зарядке;
- любые другие сведения, касающиеся безопасной эксплуатации батареи, например необходимость снятия крышки во время зарядки, минимальное время до закрытия крышки после завершения зарядки, порядок проверки уровня электролита, требования к воде для доливки.
__________________
1) Сведения, содержащиеся в настоящем документе, могут быть субъектом прав на патент. МЭК не несет ответственности за установление одного или всех подобных прав на патент.
Примечание - Эти примеры не включают в себя маркировку, которая обычно необходима в соответствии с требованиями стандартов на электротехнические изделия определенных видов.
Пример 1 - Неискрящее электрооборудование, включающее в себя взрывонепроницаемое осветительное оборудование, предназначенное для использования при температуре окружающего воздуха от минус 20 °С до плюс 60 °С, безопасное использование которого возможно при выполнении особых условий и на которое не имеется сертификата независимого аккредитованного сертификационного органа:
Тип HXR
Ex nA d IIB T3
-20°C ≤ Та ≤ + 60°С
Номер сертификата: 045673Х
Пример 2 - Электрооборудование в оболочке с ограниченным пропуском газа, как Ex-компонент, на которое не имеется сертификата независимой испытательной организации:
XYZ Ltd
Ex nR II
Номер сертификата: 986U
Пример 3 - Искробезопасное электрооборудование со встроенной защитой, предназначенное для использования во взрывоопасных смесях газов категории IIC, имеющих температуру самовоспламенения менее 135 °С, устанавливаемое во взрывоопасной зоне:
Модель Fub69
Ex nA nL IIC T4
МЭКЕх-04.3412
Пример 4 - Искробезопасное оборудование, предназначенное для использования во взрывоопасных смесях газов категории ИВ, имеющих температуру поверхности менее 100 °С. Включены входные параметры оборудования.
G.Smith Inc
Ex nL IIB T5
Ui = 30 В; Ii = 20 мА; Рi = 1 Вт; Сi = 30 нФ; Li = 1 мГн
Номер сертификата: Ех 04.16542
Пример 5 - Неискрящее оборудование с неискрящим связанным энергетическим оборудованием с ограничением выхода энергии для газов категории IIС и температурой поверхности менее 100 °С. Приведены выходные параметры искробезопасного оборудования и кабеля.
К Чемберс LLC
PSU Тип 54
Ex nA [nL] IIC T5
Uo = 30 В; Io = 20 мА; Рo = 1 Вт; Сo = 30 нФ; Lo = 1 мГн
35.3.1 Предупредительная маркировка
Если на электрооборудовании должна содержаться предупредительная маркировка, за словом «ПРЕДОСТЕРЕЖЕНИЕ» должен следовать текст, приведенный в таблице 13, или он может быть заменен другим текстом с таким же техническим значением. Несколько предупредительных надписей могут быть объединены.
Таблица 13 - Текст предупредительной маркировки
|
Перечисление |
Пункт |
Предупредительная маркировка |
|
а) |
19.4 |
ПРЕДОСТЕРЕЖЕНИЕ - СНИМАТЬ ИЛИ ЗАМЕНЯТЬ ПРЕДОХРАНИТЕЛЬ, ТОЛЬКО ОТКЛЮЧИВ ОТ СЕТИ |
|
b)* |
20.1 (b) |
ПРЕДОСТЕРЕЖЕНИЕ - ОТКРЫВАТЬ, ОТКЛЮЧИВ ОТ СЕТИ |
|
с)* |
ПРЕДОСТЕРЕЖЕНИЕ - РАЗЪЕДИНЯТЬ ТОЛЬКО В БЕЗОПАСНОЙ ЗОНЕ |
|
|
d) |
«НЕ ЗАРЯЖАТЬ В ОПАСНОЙ ЗОНЕ» |
|
|
е) |
«НЕ ИСПОЛЬЗОВАТЬ ПЕРВИЧНЫЕ ЭЛЕМЕНТЫ» |
|
|
* Как в МЭК 60079-0. |
||
Документация, в дополнение к требованиям разделов 24 и 25 МЭК 60079-0, должна быть представлена, когда это указано настоящим стандартом. Требуемая дополнительная документация должна содержать следующее:
- информацию о сниженной защите IP элементов (см. 6.6.1);
- степень защиты, когда она обеспечена установкой (см. 6.6.2);
- информацию, на основании которой вращающиеся электрические машины соответствуют МЭК 60034 (см. 17.1);
- требуется ли применять специальные меры для обеспечения условия о том, что во время пуска в оболочке крупных вращающихся электрических машин мощностью более 100 кВт не должна содержаться взрывоопасная газовая среда (17.7.3);
- информацию о допустимой стартовой частоте, рекомендуемом времени между капитальными ремонтами (демонтаж и чистка) и предусмотренных условиях окружающей среды для применения вращающихся электрических машин напряжением более 1 кВ (17.9.1.3);
- требуется ли применять специальные меры для обеспечения условия о том, что во время пуска в оболочке крупных вращающихся электрических машин напряжением более 1 кВ не должна содержаться взрывоопасная газовая среда [(см. перечисление b) 17.9.2];
- информацию, на основании которой светильники соответствуют относящимся к ним требованиям МЭК 60598-2 (см. 21.1);
- указание о том, когда предусмотрены средства внешнего ограничения для неискрящего оборудования малой мощности (см. раздел 23);
- информацию о безопасной установке и использовании искробезопасного оборудования «n», включая, по меньшей мере, значения максимального напряжения, тока, мощности, индуктивности и емкости (включая индуктивность и емкость кабеля), которые могут быть присоединены (см. 30.10);
- информацию о частоте замены уплотнений оболочек с ограниченным пропуском газов (см. 31.4).
Инструкции должны быть представлены в соответствии с требованиями раздела 30 МЭК 60079-0.
Таблица А.1
|
Обозначение ссылочного международного стандарта |
Обозначение и наименование соответствующего национального стандарта |
|
МЭК 60034 (все части) |
|
|
МЭК 60034-1 |
* |
|
МЭК 60034-2 |
ГОСТ 25941-83 (МЭК 34-2-72, МЭК 34-2А-74) Машины электрические вращающиеся. Методы определения потерь и коэффициента полезного действия |
|
МЭК 60034-3 |
ГОСТ 533-2000 (МЭК 34-3-88) Машины электрические вращающиеся. Турбогенераторы. Общие технические условия |
|
МЭК 60034-4 |
* |
|
МЭК 60034-5 |
ГОСТ 17494-87 (МЭК34-5-81) Машины электрические вращающиеся. Классификация степеней защиты, обеспечиваемых оболочками вращающихся электрических машин |
|
МЭК 60034-6 |
* |
|
МЭК 60034-7 |
* |
|
МЭК 60034-8 |
* |
|
МЭК 60034-9 |
* |
|
МЭК 60034-11 |
* |
|
МЭК 60034-12 |
* |
|
МЭК 60034-14 |
* |
|
МЭК 60034-15 |
* |
|
МЭК 60034-16-1 |
* |
|
МЭК 60034-16-2 |
* |
|
МЭК 60034-16-3 |
* |
|
МЭК 60034-18-1 |
* |
|
МЭК 60034-18-21 |
* |
|
МЭК 60034-18-22 |
* |
|
МЭК 60034-18-31 |
* |
|
МЭК 60034-18-32 |
* |
|
МЭК 60034-18-33 |
* |
|
МЭК 60034-18-34 |
* |
|
МЭК 60034-19 |
* |
|
МЭК 60034-20-1 |
* |
|
МЭК 60034-22 |
* |
|
МЭК 60034-23 |
* |
|
МЭК 60034-25 |
* |
|
МЭК 60034-26 |
* |
|
МЭК 60050-411 |
* |
|
МЭК 60061 (все части) |
* |
|
МЭК 60068-2-27:1987 |
ГОСТ 28213-89 (МЭК 68-2-27-87) Основные методы испытаний на воздействие внешних факторов. Часть 2. Испытания. Испытания Еа и руководство. Одиночный удар |
|
МЭК 60079-0:2004 |
ГОСТ Р 52350.0-2005 (МЭК 60079-0:2004) Электрооборудование для взрывоопасных газовых сред. Часть 0. Общие требования |
|
МЭК 60079-1 |
ГОСТ Р 51330.1-99 (МЭК 60079-1-98) Электрооборудование взрывозащищенное. Часть 1. Взрывозащита вида «взрывонепроницаемая оболочка» |
|
МЭК 60079-11:1999 |
ГОСТ Р 51330.10-99 (МЭК 60079-11-95) Электрооборудование взрывозащищенное. Часть 11. Искробезопасная электрическая цепь i |
|
МЭК 60079-17 |
ГОСТ Р 51330.16-99 (МЭК 60079-17-96) Электрооборудование взрывозащищенное. Часть 17. Проверка и техническое обслуживание электроустановок во взрывоопасных зонах (кроме подземных выработок) |
|
МЭК 60079-18 |
ГОСТ Р 51330.17-99 (МЭК 60079-18-92) Электрооборудование взрывозащищенное. Часть 18. Взрывозащита вида «герметизация компаундом (т)» |
|
МЭК 60081 |
ГОСТ Р МЭК 61195-99 Лампы люминесцентные двухцокольные. Требования безопасности |
|
МЭК 60112 |
ГОСТ 27473-87 (МЭК 112-79) Материалы электроизоляционные твердые. Метод определения сравнительного и контрольного индексов трекингостойкости во влажной среде |
|
МЭК 60155 |
* |
|
МЭК 60238:1998 |
ГОСТ 2746-90 (МЭК 238-87) Патроны резьбовые для электрических ламп. Общие технические условия |
|
МЭК 60269-3 |
* |
|
МЭК 60400 |
ГОСТ 9806-90 (МЭК 400-87) Патроны для трубчатых люминесцентных ламп и стартеров. Общие технические условия |
|
МЭК 60529:1989 |
ГОСТ 14254-96 (МЭК 529-89) Степени защиты, обеспечиваемые оболочками (Код IP) |
|
МЭК 60598-1:1996 |
ГОСТ Р МЭК 60598-1-2003 Светильники. Часть 1. Общие требования и методы испытаний |
|
МЭК 60598-2-1 |
ГОСТ Р МЭК 598-2-1-97 Светильники. Часть 2. Частные требования. Раздел 1. Светильники стационарные общего назначения |
|
МЭК 60598-2-2 |
ГОСТ Р МЭК 60598-2-2-99 Светильники. Часть 2. Частные требования. Раздел 2. Светильники встраиваемые |
|
МЭК 60598-2-3 |
ГОСТ Р МЭК 60598-2-3-99 Светильники. Часть 2. Частные требования. Раздел 3. Светильники для освещения улиц и дорог |
|
МЭК 60598-2-4 |
ГОСТ Р МЭК 60598-2-4-99 Светильники. Часть 2. Частные требования. Раздел 4. Светильники переносные общего назначения |
|
МЭК 60598-2-5 |
ГОСТ Р МЭК 60598-2-5-99 Светильники. Часть 2. Частные требования. Раздел 5. Прожекторы запивающего света |
|
МЭК 60598-2-6 |
ГОСТ Р МЭК 598-2-6-98 Светильники. Часть 2. Частные требования. Раздел 6. Светильники со встроенными трансформаторами или преобразователями для ламп накаливания |
|
МЭК 60598-2-7 |
ГОСТ Р МЭК 598-2-7-98 Светильники. Часть 2. Частные требования. Раздел 7. Светильники переносные для использования в саду |
|
МЭК 60598-2-8 |
ГОСТ Р МЭК 598-2-8-97 Светильники. Часть 2. Частные требования. Раздел 8. Светильники ручные |
|
МЭК 60598-2-9 |
ГОСТ Р МЭК 598-2-9-98 Светильники. Часть 2. Частные требования. Раздел 9. Светильники для фото- и киносъемок (непрофессиональных) |
|
МЭК 60598-2-10 |
ГОСТ Р МЭК 598-2-10-98 Светильники. Часть 2. Частные требования. Раздел 10. Светильники переносные детские игровые |
|
МЭК 60598-2-17 |
ГОСТ Р МЭК 598-2-17-97 Светильники. Часть2. Частные требования. Раздел 17. Светильники для внутреннего и наружного освещения сцен, телевизионных, кино- и фотостудий |
|
МЭК 60598-2-18 |
ГОСТ Р МЭК 60598-2-18-98 Светильники. Часть 2. Частные требования. Раздел18. Светильники для плавательных бассейнов и аналогичного применения |
|
МЭК 60598-2-20 |
ГОСТ Р МЭК 598-2-20-97 Светильники. Часть 2. Частные требования. Раздел 20. Гирлянды световые |
|
МЭК 60598-2- |
ГОСТ Р МЭК 60598-2-22-99 Светильники. Часть 2-22. Частные требования. Светильники для аварийного освещения |
|
22 МЭК 60598-2-23 |
ГОСТ Р МЭК 60598-2-23-98 Светильники. Часть 2. Частные требования. Раздел 23. Системы световые сверхнизкого напряжения для ламп накаливания |
|
МЭК 60598-2-24 |
ГОСТ Р МЭК 60598-2-24-99 Светильники. Часть 2-24. Частные требования. Светильники с ограничением температуры поверхности |
|
МЭК 60598-2-25 |
ГОСТ Р МЭК 598-2-25-98 Светильники. Часть 2. Частные требования. Раздел 25. Светильники для использования в клинических зонах больниц и других медицинских учреждений |
|
МЭК 60664-1 |
* |
|
МЭК 60927:1996 |
ГОСТ Р МЭК 926-98 Устройства вспомогательные для ламп. Зажигающие устройства (кроме стартеров тлеющего разряда). Общие требования и требования безопасности |
|
МЭК 60998-2-4:1993 |
ГОСТ Р МЭК 998-2-4-96 Соединительные устройства для низковольтных цепей бытового и аналогичного назначения. Частные требования к устройствам для соединения проводников скручиванием |
|
МЭК 61048 |
* |
|
МЭК 61184 |
* |
|
МЭК 61347-1 |
* |
|
МЭК 61347-2-1 |
* |
|
МЭК 61347-2-2 |
* |
|
МЭК 61347-2-3 |
* |
|
МЭК 61347-2-4 |
* |
|
МЭК 61347-2-7 |
* |
|
МЭК 61347-2-8 |
* |
|
МЭК 61347-2-9 |
* |
|
EN 50262 |
* |
|
* Соответствующий национальный стандарт отсутствует. До его утверждения рекомендуется использовать перевод на русский язык данного международного стандарта. Перевод данного международного стандарта находится в Федеральном информационном фонде технических регламентов и стандартов. |
|
|
Международный электротехнический словарь - Глава 411: Вращающиеся машины |
|
|
Электрооборудование для взрывоопасных газовых сред - Часть 18: Герметизация компаундом «m» |
|
|
Климатические испытания - Часть 2: Испытания. Вибрации Fc (синусоидальные) |
|
|
Вращающиеся электрические машины - Часть 17: Асинхронные двигатели с короткозамкнутым ротором при питании от преобразователей. Руководство по применению |
|
|
Конструкции механические серии 482, 6 мм (19 дюймов) |
Ключевые слова: электрооборудование взрывозащищенное, зона класса 2, контактное устройство во взрывонепроницаемой оболочке, неподжигающий компонент, оболочка с ограниченным пропуском газов, искробезопасная цепь «n», залитое компаундом электрооборудование «n»