Система нормативных документов в строительстве
СВОД ПРАВИЛ ПО ПРОЕКТИРОВАНИЮ И СТРОИТЕЛЬСТВУ
ОГРАЖДАЮЩИЕ
КОНСТРУКЦИИ
С ПРИМЕНЕНИЕМ ГИПСОКАРТОННЫХ
ЛИСТОВ
СП 55-101-2000
ГОСУДАРСТВЕННЫЙ КОМИТЕТ РОССИЙСКОЙ ФЕДЕРАЦИИ
ПО СТРОИТЕЛЬСТВУ И ЖИЛИЩНО-КОММУНАЛЬНОМУ КОМПЛЕКСУ
(ГОССТРОЙ РОССИИ)
Москва
2000
ПРЕДИСЛОВИЕ
1 РАЗРАБОТАН Акционерным обществом Центральный научно-исследовательский и проектно-экспериментальный институт промышленных зданий и сооружений (АО «ЦНИИпромзданий»), Государственным предприятием Центр методологии, нормирования и стандартизации в строительстве (ГП ЦНС), СП «ТИГИ КНАУФ» ОАО
2 ОДОБРЕН Управлением стандартизации, технического нормирования и сертификации Госстроя России (письмо от 12.04.2000 № 19-22/168)
СОГЛАСОВАН Главным управлением Государственной противопожарной службы МВД России (письмо от 08.02.2000 г. № 20/2.2/460)
УТВЕРЖДЕН И ВВЕДЕН В ДЕЙСТВИЕ совместным приказом СП «ТИГИ КНАУФ» ОАО и АО «ЦНИИпромзданий» № 91/18 от 24.04.2000 г.
СОДЕРЖАНИЕ
Настоящий Свод правил содержит указания по конструктивным решениям различных ограждающих конструкций с обшивкой из гипсокартонных листов и способам их устройства, выполнение которых обеспечивает соблюдение обязательных требований к таким конструкциям, установленных действующими нормативными документами.
Выбор конструктивных решений и материалов для устройства различных конструкций зданий и сооружений относится к компетенции проектной или строительной организации.
В случае, если для реализации приняты решения и материалы, рекомендуемые настоящим документом, все установленные в нем правила являются обязательными. Частичное использование требований и правил по отдельным техническим решениям, приведенных в настоящем документе, не допускается.
В данном Своде правил рассмотрены конструктивные решения узлов и способы устройства каркасно-обшивных перегородок, облицовки стен, ограждений коммуникационных шахт, подвесных потолков, а также огнезащиты конструкций. Документ разработан на основе опыта устройства указанных ограждающих конструкций из материалов, производимых СП «ТИГИ КНАУФ» ОАО. В случае использования для устройства конструкций, предусмотренных настоящим Сводом правил, материалов других производителей их соответствие требованиям настоящего документа должно быть подтверждено в установленном порядке.
Свод правил предназначен для проектных и строительных организаций, а также служб эксплуатации.
Свод правил разработан АО «ЦНИИпромзданий» (зам. генерального директора, канд. техн. наук, Засл. строитель РФ С.М. Гликин), ГП ЦНС (директор Е.Г. Довгеля), «ТИГИ-КНАУФ Маркетинг» (технический директор А.И. Палиев).
СП 55-101-2000
СВОД ПРАВИЛ ПО ПРОЕКТИРОВАНИЮ И СТРОИТЕЛЬСТВУ
ОГРАЖДАЮЩИЕ КОНСТРУКЦИИ С ПРИМЕНЕНИЕМ
ГИПСОКАРТОННЫХ ЛИСТОВ
Дата введения 2000-06-01
Настоящий Свод правил устанавливает основные положения проектирования ограждающих конструкций с применением гипсокартонных листов и способов их устройства.
Перечень нормативных документов, на которые в тексте документа даны ссылки, приведен в обязательном приложении А.
3.1 Настоящим Сводом правил следует руководствоваться при проектировании, устройстве и эксплуатации ограждающих конструкций с применением гипсокартонных листов в жилых, общественных, административно-бытовых и промышленных зданиях с учетом требований СНиП 2.08.01, СНиП 2.08.02, СНиП 2.09.02, СНиП 2.09.04, СНиП 21-01, при наличии необходимой документации, подтверждающей соответствие параметров конструкций их нормативным значениям.
3.2 Все материалы и изделия, используемые при устройстве ограждающих конструкций с применением гипсокартонных листов, должны иметь гигиеническое заключение, выдаваемое центрами санитарно-эпидемиологического надзора Министерства здравоохранения Российской Федерации, а при их использовании в качестве огнезащиты иметь также пожарный сертификат, выдаваемый аккредитованным органом по сертификации МВД РФ.
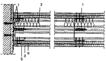
3.3 Каркасно-обшивные перегородки включают металлический или деревянный каркас и обшивку из гипсокартонных листов, закрепленную к нему на шурупах. Воздушная полость между обшивками может быть заполнена звукоизоляционным, теплоизоляционным, огнезащитным материалом или гипсокартонными листами (рисунок 1).
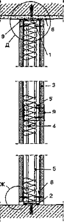
3.4 Подвесные потолки включают металлический или деревянный каркас, подвешенный к несущим конструкциям перекрытия или покрытия (базовому потолку), и подшивку из гипсокартонных листов или заполнение ячеек кассетами, выполненными из этих листов. Для повышения огнестойкости конструкции потолка в надпотолочном пространстве может быть размещен огнезащитный теплоизоляционный материал (рисунок 2).
3.5 Конструктивное решение ограждений коммуникационных шахт включает по аналогии с конструкцией перегородки металлический каркас и обшивку из гипсокартонных листов, закрепленную к нему на шурупах.
4.1.1 Номенклатура гипсокартонных листов (таблица 1) по ГОСТ 6266 в зависимости от назначения включает четыре вида изделий: ГКЛ - обычные; ГКЛВ - влагостойкие; ГКЛО - с повышенной сопротивляемостью воздействию открытого пламени; ГКЛВО - влагостойкие с повышенной сопротивляемостью воздействию открытого пламени. В соответствии с требованиями ГОСТ 30244 они относятся к группе горючести Г-1, к группе воспламеняемости В2 по ГОСТ 30402, к группе дымообразующей способности Д1 по ГОСТ 12.1.044, к группе токсичности Т1 по ГОСТ 12.1.044.
Разрушающая нагрузка и допускаемый прогиб гипсокартонных листов должны соответствовать данным таблицы 2.
Водопоглощение листов ГКЛВ и ГКЛВО не должно превышать 10 %.
4.1.2 Гипсокартонные листы (ГКЛ) рекомендуется применять для устройства перегородок, подвесных потолков и облицовки внутренних поверхностей стен в помещениях с сухим и нормальным температурно-влажностными режимами, в соответствии с требованиями СНиП II-3.
4.1.3 Гипсокартонные листы (ГКЛВ) рекомендуется применять для устройства перегородок, подвесных потолков и облицовки внутренних поверхностей стен в помещениях с влажным и мокрым режимами в соответствии с указаниями по применению ГОСТ 6266.
4.1.4 Гипсокартонные листы (ГКЛО) рекомендуется применять для устройства перегородок, подвесных потолков и облицовки внутренних поверхностей стен и огнезащиты конструкций, к которым предъявляются требования по огнестойкости.



1 - каркас; 2 - шурупы; 3 - обшивка из гипсокартонных листов; 4 - дюбели; 5 - звукоизоляционный материал; 6 - заполнение из гипсокартонных листов
Рисунок 1 - Конструктивные схемы каркасно-обшивных перегородок: с обшивкой из гипсокартонных листов с заполнением воздушной полости звукоизоляционным материалом (а), без заполнения воздушной полости (б) и с заполнением гипсокартонными листами (в)


1 - каркас; 2 - подвесы; 3 - обшивка из гипсокартонных листов; 4 - кассеты из гипсокартонных листов; 5 - огнезащитный теплоизоляционный материал; а - расстояние между подвесами; b - расстояние между несущими профилями; с - расстояние между основными профилями
Рисунок 2 - Конструктивные схемы подвесных потолков: с обшивкой из гипсокартонных листов (а), растрового (б) и повышенной огнестойкости (в)
Таблица 1
|
Толщина d, мм |
Ширина, мм |
Длина, мм |
Предельные отклонения от номинальных размеров для листов группы |
Масса 1 м2 листа, кг |
||||||
|
А |
Б |
|||||||||
|
по длине, мм |
по ширине, мм |
по толщине, мм |
по длине, мм |
по ширине, мм |
по толщине, мм |
|||||
|
1 |
2 |
3 |
4 |
5 |
6 |
7 |
8 |
9 |
10 |
11 |
|
ГКЛ |
6,5 |
600; 1200 |
2000 - 4000 с шагом 50 мм |
0 -5 |
0 -5 |
± 0,5 |
± 8 |
0 -5 |
± 0,5 |
£ 1,00d |
|
8,0 |
||||||||||
|
9,5 |
||||||||||
|
12,5 |
||||||||||
|
14,0 |
||||||||||
|
16,0 |
||||||||||
|
18,0 |
|
|
|
|
±0,9 |
|
|
±0,9 |
||
|
20,0 |
||||||||||
|
24,0 |
||||||||||
|
гклв |
То же |
То же |
То же |
0,8d £ 1,06d |
||||||
|
гкло |
||||||||||
|
гклво |
||||||||||
Таблица 2
|
Разрушающая нагрузка, Н (кгс), не менее, для образцов |
Прогиб, мм, не более, для образцов |
|||
|
продольных |
поперечных |
продольных |
поперечных |
|
|
До 10,0 включ. |
450 (45) |
150 (15) |
- |
- |
|
Св. 10 до 18,0 включ. |
600 (50) |
180 (18) |
0,8 |
1,0 |
|
Св. 18,0 |
500 (60) |
- |
- |
- |
4.1.5 Гипсокартонные листы (ГКЛВО) рекомендуется применять для устройства противопожарных перегородок, подвесных потолков и облицовки внутренних поверхностей стен и огнезащиты конструкций в помещениях зданий с влажным и мокрым режимами эксплуатации при относительной влажности воздуха до 90 % и температуре до 30 °С, при обработке поверхности листов водостойкими грунтовками, водостойкой шпаклевкой, водостойкими красками, защите керамической плиткой или покрытиями из ПВХ.
4.1.6 Гипсокартонные листы могут поставляться с кромкой по длинной стороне пяти типов (таблица 3).
4.1.7 Для устройства ограждающих конструкций с заделкой стыков между листами обшивки шпаклевкой рекомендуется применять гипсокартонные листы с утоненными кромками типа УК и ПЛУК; при этом листы с кромкой типа ПЛУК следует использовать при заделке стыков без армирующей ленты с применением шпаклевки «Унифлот», что позволяет снизить трудоемкость производства работ.
Листы с кромкой типа ПК рекомендуется использовать преимущественно в качестве внутренних слоев при многослойной обшивке или для формирования пакетов при заполнении внутренних полостей перегородок, а также в сборно-разборных ограждающих конструкциях с креплением их к каркасу при помощи раскладки.
4.1.8 Для декоративной отделки внутренних поверхностей стен и перегородок из железобетона, кирпича, дерева рекомендуется применять гипсокартонные отделочные панели (ПОГ) по ТУ 400-1-231 размером 2500´(500 - 600)´(10 - 12,5) мм, представляющие собой гипсокартонные листы с лицевой поверхностью, отделанной поливинилхлоридной декоративной пленкой ПДО или ПДСО, поливинилхлоридной пленкой на бумажной основе «Изоплен» или «Девилон», а также декоративным материалом «Плетекс» и другими материалами с учетом требований 6.25 СНиП 21-01.
4.1.9 Для повышения теплоизолирующей способности стен в эксплуатируемых и реконструируемых зданиях рекомендуется применять гипсокартонные комбинированные панели (ГКП) по ТУ 5772-002-04001508, представляющие собой двухслойное изделие полной заводской готовности, состоящее из гипсокартонного листа с наклеенным слоем теплоизоляции из пенополистирольной плиты ПСБ-С марок 15, 25 или 35 (ГОСТ 15588) или из минераловатной плиты на синтетическом связующем марок 175, 200 по ТУ 5762-010-04001485, а также по ГОСТ 9573 с учетом требований СНиП 21-01.
Таблица 3
|
Тип кромки |
Маркировка |
|
|
|
Утоненная кромка с лицевой стороны |
УК |
|
|
Прямая кромка |
ПК |
|
|
Закругленная кромка |
ЗК |
|
|
Полукруглая кромка с лицевой стороны |
ПЛК |
|
|
Полукруглая и утоненная кромка с лицевой стороны |
ПЛУК |
4.1.10 Для ограждения электрических кабелей, обшивки вентиляционных воздуховодов, облицовки металлических балок и колонн рекомендуется применять гипсокартонные листы с У-образными пазами в 90° или 120°, а для конструкций с изогнутой поверхностью листы с П-образными пазами.
4.1.11 Для обшивки акустических подвесных потолков следует использовать гипсокартонные листы с дырчатой или шлицевой перфорацией со слоем фильтровальной бумаги или нетканого полотна на тыльной стороне.
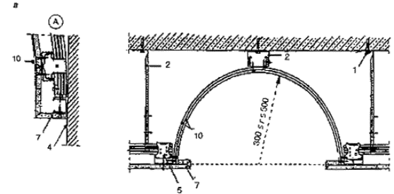
4.1.12 Для декоративного оформления мест примыкания подвесных потолков к стенам и перегородкам, а также сопряжении с криволинейными поверхностями потолков рекомендуется применять гипсокартонные элементы ломаной формы длиной до 2500 мм с длиной развертки сечения не более 500 мм, выполненные из листов толщиной К = 9,5 или 12,5 мм с У-образными пазами (рисунок 3).
4.1.13 Для устройства криволинейных циркульных поверхностей в подвесных потолках, перегородках или при облицовке стен рекомендуется использовать гипсокартонные изогнутые элементы, изготовленные в заводских или построечных условиях, предпочтительно двойные (рисунок 4). Минимальные радиусы гибки гипсокартонных листов во влажном состоянии (см. 6.2.10 и 6.2.11) при толщине листа 6,5; 9,5 и 12,5 мм составляют соответственно не менее 300, 500 и 1000 мм, а в сухом состоянии для тех же толщин - 1000, 2000 и 2750 мм.
4.1.14 Для образования криволинейных поверхностей подвесных потолков и перегородок с радиусом кривизны 100 - 400 мм рекомендуется применять гипсокартонные листы шириной от 150 до 520 мм со шлицевыми параллельными пазами (рисунок 4, 8).




1 - угловой; 2 - П-образные; 3 - ступенчатые а + г + е + б + д + ж £ 500 мм
Рисунок 3 - Варианты гипсокартонных элементов






1, 2 - с углом 90°; 3, 4 - с углом 180°; 5 - с любым углом до 180°; 6 - S-образный; 7 - изогнутый по длине; 8 - криволинейный элемент со шлицевыми пазами
Рисунок 4 - Гипсокартонные криволинейные элементы
4.2.1 Для устройства каркаса перегородок, потолков и огнезащиты конструкций гипсокартонными листами рекомендуется применять холодногнутые профили из листовой оцинкованной стали, изготовляемые в соответствии с требованиями ТУ 1111-004-04001508 (таблица 4).
4.2.2 При отсутствии стальных профилей для устройства каркаса перегородок, подвесных потолков и облицовки стен в помещениях с сухим и нормальным температурно-влажностными режимами могут быть использованы деревянные антисептированные бруски с влажностью 12 ± 3 %.
Рекомендуется для устройства каркаса подвесных потолков использовать бруски сечением 48´24, 50´30 или 60´40 мм, а для облицовки стен - сечением 40´25 мм.
4.2.3 Для устройства каркаса под криволинейные поверхности подвесных потолков и перегородок рекомендуется применять гнутые выпуклые и вогнутые металлические профили 60´27 мм длиной 2600, 3500 и 4000 мм с радиусами кривизны 500 - 1000; 1001 - 2000; 2001 - 3000; 3001 - 4000; 4001 - 5000 мм.
4.3.1 Для устройства ограждающих конструкций в комплекте с элементами каркаса и гипсокартонными листами поставляются: крепежные изделия, самонарезающие шурупы, клеевые и шпаклевочные составы, уплотнители, герметизирующие составы, звуко- и теплоизоляционные материалы в соответствии с проектом.
4.3.2 К крепежным изделиям относятся: подвесы для каркасов подвесных потолков, дюбели и анкерные элементы для крепления каркаса к несущим конструкциям, соединительные элементы для стыкования профилей каркаса, а также дюбели и крючки для крепления различных предметов к перегородкам и подвесным потолкам.
4.3.3 Номенклатура подвесов (таблица 5) включает изделия заводской готовности, предназначенные для крепления к несущим конструкциям перекрытия или покрытия металлических профилей или деревянных брусков (3) каркаса подвесного потолка.
Для подвешивания каркаса из металлических профилей ПП 60/27 рекомендуется применять подвесы с зажимом и тягой (4), комбинированный подвес (5) и нониусные подвесы (10, 11), для каркаса из профилей Т 24 - подвесы с зажимом и тягой (1, 2) и нониусный подвес (6).
Прямой подвес (7 - 9) рекомендуется использовать при относе подвесного потолка от базового менее чем на 130 мм.
4.3.4 Для соединения металлических профилей ПП 60/27 каркаса подвесного потолка в одном уровне рекомендуется использовать одноуровневый соединитель, а для соединения в различных уровнях - двухуровневый соединитель (рисунок 5).
Стыкование профилей ПП 60/27 по длине следует осуществлять с помощью специальных удлинителей, а профилей Т-образного типа Т 24 в кассетном потолке предусмотрено конструкцией самого профиля.
4.3.5 Для закрепления к обшивке подвесного потолка осветительных приборов и т.п., масса которых не превышает 6 кг на метр длины листа, рекомендуется использовать металлические и пластмассовые разжимающиеся дюбели и проходные анкеры (рисунок 6). В условиях возможного повышения влажности указанные грузы рекомендуется крепить к каркасу подвесного потолка.
4.3.6 Для навески на перегородку из гипсокартонных листов оборудования и различных предметов (картины, полки) следует использовать крючки, анкеры и разжимающиеся дюбели (для конструкций с воздушной полостью) (рисунок 7).
4.3.7 Допустимая нагрузка на анкер (рисунок 7, д) не должна превышать: 30 кг при обшивке толщиной 12,5 мм; 40 кг при обшивке толщиной 25 мм, а на анкер (рисунок 7, е) соответственно 20 и 30 кг.
Таблица 4
|
Марка профиля |
Размеры сечения, а´в, мм |
Толщина стали, мм |
Стандартная длина, мм |
Тип профиля |
Область применения |
|
|
|
ПС 50/50 ПС 65/50 ПС 75/50 ПС 100/50 |
50´50 65´50 75´50 100´50 |
0,55 - 0,8 |
От 2750 до 4500 |
Стоечный |
Стойки каркаса перегородок и облицовки стен |
|
|
ПН 50/40 ПН 65/40 ПН 75/40 ПН 100/40 |
50´40 65´40 75´40 100´40 |
Направляющий |
Направляющие профили каркаса перегородок и облицовки стен |
||
|
|
ПНП 28/27 |
28´27 |
0,55 - 0,8 |
Потолочный направляющий |
Каркас потолка и облицовки стен |
|
|
|
ПП 60/27 |
60´27 |
Потолочный |
|||
|
|
Т 24 |
24´28 24´32 24´38 |
До 4000 |
Потолочный Т-образный |
Каркас растрового потолка |
|
|
|
ПУ 31/31 |
31´31 |
0,4 - 0,55 |
От 2750 до 4500 |
Угловой |
Защита наружных углов перегородок и облицовок |
|
|
Т 20/40 |
20´40 |
0,55 - 0,8 |
Потолочный Т-образный |
Каркас растрового потолка |
|
|
|
ПА 60´27 60/27 |
60´27 с радиусом гибки ³ 500 мм |
До 6000 |
Арочный |
Каркас криволинейных потолков и перегородок |
4.3.8 Для крепления гипсокартонных листов к каркасу и металлических профилей и деталей между собой рекомендуется использовать самонарезающие шурупы с антикоррозионным покрытием (таблица 6) или самонарезающие, а также прокалывающие шурупы отечественного производства с антикоррозионным цинковым покрытием Ц6 типа СМ (таблица 7).
4.3.9 Для заделки стыков между гипсокартонными листами с кромками типа УК рекомендуется использовать шпаклевку «Фугенфюллер», изготавливаемую по ТУ 5745-011-04001508, на основе гипсового вяжущего и специальных добавок, разводимого водой в отношении 4:3.
Шпаклевка «Фугенфюллер» должна применяться в комплексе с армирующей лентой из высококачественной бумаги или стекловолокна с перфорацией или без перфорации.
4.3.10 Для заделки швов между гипсокартонными листами с кромками типа ПЛУК без применения армирующей ленты рекомендуется использовать шпаклевку «Унифлот» на основе гипсового вяжущего с добавками, разводимого водой в отношении 2,5:1.
Таблица 5
|
Каркас подвесного потолка |
|||
|
деревянный |
металлический |
Тяги, серьга |
|
|
Тип подвесок |
|||
|
0,15 |
- |
|
|
|
0,25 |
|
||
|
0,4 |
|
|
|



Рисунок 5 - Одноуровневый (а) и двухуровневые (б, в) соединители металлических профилей каркаса подвесного потолка

Рисунок 6 - Разжимающиеся дюбели (а) и проходные анкеры (б) для крепления к обшивке подвесного потолка светильников, штор и т.п.




Рисунок 7 - Крючки (а - г),
анкеры (д, е) и дюбели (ж) для навески на перегородки из гипсокартонных
листов предметов (картин и т.п.) и оборудования массой:
а - до 5 кг; б - до 5 кг (по ТУ
400-28-371); в - до 10 кг; г - до 15 кг; д - 30 - 40 кг
(по ТУ 400-28-369); е - 20 - 30 кг (по ТУ 400-28-370); ж - 20 кг
(по ТУ 36-941)
Таблица 6 - Номенклатура шурупов фирмы СП «ТИГИ КНАУФ» ОАО
|
Толщина ГКЛ, мм |
Тип |
Тип и эскиз шурупа |
Область применения |
|||
|
для дерева |
для профиля толщиной, мм |
|||||
|
до 0,7 |
0,7 - 2,25 |
|||||
|
Один |
До 12,5 |
TN35 |
TN25 |
ТВ25 |
Прокалывающий -TN
|
Для крепления гипсокартонных листов к каркасу перегородок |
|
15 |
TN35 |
TN25 |
ТВ35 |
|||
|
18 - 20 |
TN45 |
TN35 |
ТВ35 |
|||
|
24 |
TN45 |
TN35 |
ТВ45 |
|||
|
Два |
12,5 + |
TN35 + |
TN25 + |
ТВ25 + |
Сверлящий - ТВ
|
|
|
+ 12,5 |
+ TN45 |
+ TN35 |
+ ТВ45 |
|||
|
15 + |
TN35 + |
TN25 + |
ТВ35 + |
|||
|
+ 12,5 |
+ TN55 |
+ TN45 |
+ ТВ45 |
|||
|
18 + |
TN45 + |
TN35 + |
ТВ35 + |
|||
|
+ 15 |
+ TN55 |
+ TN45 |
+ ТВ45 |
|||
|
24 + 18 |
TN45 + TN70 |
TN35 + TN55 |
ТВ45 + ТВ55 |
|||
|
- |
- |
LN16 |
LN9,5 |
- |
Тип LN
|
Для соединения металлических профилей между собой |
Таблица 7 - Номенклатура шурупов отечественного производства с антикоррозийным цинковым покрытием
|
Тип шурупа |
Длина винта, мм |
Номинальный диаметр резьбы, мм |
Диаметр головки, мм |
Масса 1000 шт., кг |
Область применения |
|
|
|
СМ1-20 |
|
4,8 |
|
2,19 |
Для крепления гипсокартонных листов к профилю металлического каркаса с толщиной стенки до 0,7 мм |
|
CM1-25 |
4,8 |
2,51 |
||||
|
CM1-30 |
4,8 |
2,89 |
||||
|
CM1-35 |
20 |
4,8 |
9 |
3,28 |
||
|
CM1-45 |
25 |
4,8 |
9 |
4,06 |
||
|
CM1-55 |
30 |
4,8 |
9 |
4,84 |
||
|
|
CM2-20 |
35 |
4,2 |
9 |
2,18 |
То же, к профилям металлического каркаса с толщиной стенки от 0,7 до 2,5 мм |
|
CM2-25 |
45 |
4,2 |
9 |
2,5 |
||
|
CM2-30 |
55 |
4,2 |
9 |
2,88 |
||
|
CM2-35 |
|
4,2 |
|
3,27 |
||
|
CM2-45 |
4,2 |
4,05 |
||||
|
CM2-55 |
4,2 |
4,83 |
||||
|
|
СМ3-15 |
15 |
4,8 |
8 |
2,46 |
Как для СМ1 |
|
СМ3-20 |
20 |
4,8 |
8 |
2,86 |
||
|
СМ3-25 |
25 |
4,8 |
8 |
3,38 |
||
|
СМ3-30 |
30 |
4,8 |
8 |
3,90 |
||
|
СМ3-35 |
35 |
4,8 |
8 |
4,42 |
||
|
СМ3-40 |
40 |
4,8 |
8 |
4,92 |
||
|
|
СМ4-15 |
15 |
4,2 |
8 |
2,46 |
Как для СМ5, СМ6 |
|
СМ4-20 |
20 |
4,2 |
8 |
2,86 |
||
|
СМ4-25 |
25 |
4,2 |
8 |
3,38 |
Как для СМ2 |
|
|
СМ4-30 |
30 |
4,2 |
8 |
3,90 |
||
|
СМ4-35 |
35 |
4,2 |
8 |
4,42 |
||
|
СМ4-40 |
40 |
4,2 |
8 |
4,92 |
||
|
|
СМ5-16 |
16 |
4,2 |
9 |
1,13 |
Для крепления металлических дверных коробок к каркасу перегородок |
|
|
СМ6-16 |
8,5 |
4.3.11 Для окончательной отделки стыков между гипсокартонными листами обшивки поверхностей следует применять шпаклевочный состав «Финиш-паста» или «Борд-финиш».
4.3.12 Для бескаркасного крепления гипсокартонных листов к стенам при их облицовке рекомендуется применять монтажный клей «Перлфикс», изготавливаемый по ТУ 5745-011-04001508, на основе гипсового вяжущего с добавками, разводимого в воде в соотношении 2:1, шпаклевку «Фугенфюллер», или другие аналогичные составы.
4.3.13 Для повышения адгезии клея «Перлфикс» к бетонным поверхностям стен при их облицовке рекомендуется использовать грунтовку «Бетоконтакт», а для обработки гигроскопичных поверхностей грунтовку «Тифенгрунд» фирмы СП «ТИГИ КНАУФ» ОАО.
4.3.14 При подготовке поверхности обшивки из гипсокартонных листов под окраску с целью нормализации абсорбции рекомендуется использовать грунтовку «Тифенгрунд», поставляемую фирмой СП «ТИГИ КНАУФ» ОАО.
4.3.15 Для уплотнения зазоров между направляющими профилями металлического каркаса перегородок, полом и потолком и обеспечения требуемой звукоизоляции рекомендуется применять уплотнительную ленту «Дихтунгсбанд», поставляемую фирмой СП «ТИГИ КНАУФ» ОАО, или уплотнительные ленты из пенополиуретана и латексной пенорезины плотностью до 150 кг/м3 (ТУ 38.106569).
4.3.16 Для звукоизоляции перегородок рекомендуется применять минераловатные плиты на синтетическом связующем по ГОСТ 9573 и ТУ 5762-010-04001485 или стекловатные плиты на синтетическом связующем по ГОСТ 10499.
5.1.1 Настоящий раздел распространяется на проектирование каркасно-обшивных перегородок, облицовки стен гипсокартонными листами и теплоизолирующими гипсокартонными комбинированными панелями, ограждений коммуникационных шахт, подвесных потолков, а также огнезащиты строительных конструкций, вентиляционных и кабельных каналов.
5.1.2 Раздел содержит рекомендательные указания по проектированию и конструктивным решениям основных узлов перечисленных конструкций, области применения, а также их физико-технические характеристики.
5.1.3 Ограждающие конструкции с применением гипсокартонных листов могут применяться в зданиях различного назначения и степеней огнестойкости, этажности и конструктивных схем, возводимых в разных регионах страны, включая сейсмические районы, при удовлетворении соответствующих нормативных требований.
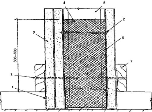
5.2.1 Перегородки из гипсокартонных листов рекомендуется проектировать преимущественно с металлическим каркасом, одинарным или двойным, звукоизоляционным заполнением из минераловатных или стекловатных плит, с одно-, двух- или трехслойной обшивкой ГКЛ (таблица 8). При необходимости прокладки трубопроводов и т.п. коммуникаций в толще перегородки рекомендуется использовать металлический каркас с двойными раздвинутыми стойками, а в качестве заполнителя использовать преимущественно материалы класса «НГ». При прокладке коммуникаций внутри перегородок с горючими материалами конструкция таких проходок не должна уменьшать огнестойкость и увеличивать пожарную опасность этих конструкций.
5.2.2 В помещениях с сухим и нормальным температурно-влажностными режимами рекомендуется проектировать перегородки с металлическим или деревянным каркасом и обшивкой из стандартных гипсокартонных листов ГКЛ.
5.2.3 В помещениях с влажным и мокрым режимами эксплуатации перегородки рекомендуется проектировать с металлическим каркасом и обшивкой из ГКЛВ или ГКЛВО, лицевую поверхность которых следует защищать водостойкими грунтовками, шпаклевками, красками, керамической плиткой или покрытиями из ПВХ.
Таблица 8 - Номенклатура каркасно-обшивных перегородок
|
№ схемы |
Общая толщина перегородки, мм |
Характеристика конструкции |
|
|
1 |
d = 12,5 - 15 мм
|
75 - 125 |
Одинарный металлический каркас с заполнением минплитой или без заполнения |
|
2 |
|
100 - 150 |
То же, с двухслойной обшивкой ГКЛ |
|
3 |
|
125 - 175 |
То же, с трехслойной обшивкой ГКЛ |
|
4 |
|
155 - 255 |
Двойной металлический каркас с заполнением минплитой или без заполнения и с обшивкой ГКЛ в два слоя |
|
5 |
|
> 220 |
То же |
|
6 |
d = 18 - 24 мм
|
80 |
Одинарный металлический каркас с заполнением минплитой или без заполнения |
|
7 |
|
100 - 150 |
То же |
|
8 |
64 - 79 |
То же, с 2 или 3-слойным заполнением каркаса |
|
|
9 |
|
155 - 255 |
Двойной металлический каркас с заполнением минплитой или без заполнения и с обшивкой ГКЛ в один слой |
|
10 |
d = 18 - 24 мм
|
> 220 |
Двойной металлический каркас с заполнением минплитой или без заполнения и с обшивкой ГКЛ в один слой |
|
5.2.4 Противопожарные перегородки рекомендуется проектировать с металлическим каркасом и обшивками из гипсокартонных листов ГКЛО и ГКЛВО при заполнении воздушной полости между обшивками минераловатной теплоизоляцией, относящейся к группе негорючих материалов по ГОСТ 30244.
5.2.5 В помещениях с ненормируемым индексом изоляции воздушного шума перегородки, кроме противопожарных, рекомендуется проектировать без заполнения воздушной полости между обшивками звукоизоляционным материалом.
5.2.6 Перегородки с повышенными требованиями к прочности, включая противопожарные, рекомендуется проектировать с металлическими стойками каркаса из спаренных в двутавр профилей ПН, заполнением из гипсокартонных листов толщиной 12,5 - 24 мм и дополнительной обшивкой с одной или двух сторон по типу обычных перегородок (таблица 8, схема 8).
5.2.7 Область применения перегородок до пересмотра СНиП на конкретные виды зданий и их инженерных систем может регламентироваться требованиями СНиП 2.01.02 (в части требований п. 2 Постановления Минстроя РФ от 13.02.97 № 18-7) в строящихся и вводимых в эксплуатацию объектах, запроектированных ранее в соответствии с требованиями указанного СНиП и действующих СНиП на конкретные виды зданий и их инженерных систем.
5.2.8 Перегородки с металлическим каркасом при пределе огнестойкости (EI) не менее 45 мин в соответствии со СНиП 21-01 допускается применять в качестве противопожарных перегородок I типа при классе их пожарной опасности К0.
5.2.9 Не рекомендуется применять каркасно-обшивные перегородки из гипсокартонных листов для шахт дымоудаления. Перегородки с индексом звукоизоляции менее 41 дБ не допускается применять в помещениях с нормируемым уровнем шума.
5.2.10 Перегородки должны рассчитываться на сочетание: вертикальных (собственный вес и от навески оборудования) и горизонтальных (от ветра, эксплуатационная нагрузка и сейсмическая) нагрузок.
При этом ветровая нагрузка принимается равной 0,2W0, где W0 - скоростной напор ветра.
Сейсмическая нагрузка составляет для районов с сейсмичностью 7, 8 и 9 баллов соответственно 6,5; 12,8 и 25,6 кгс/м2.
Для наиболее распространенных конструктивных схем, приведенных в таблице 8, высота перегородок с металлическим каркасом из профилей толщиной 0,6 мм не должна превышать указанной в таблицах 9 и 10.
Таблица 9 - Допускаемая высота, м, перегородок с обшивкой из гипсокартонных листов толщиной 12,5 мм
|
Сечение металлического профиля каркаса |
Шаг стоек, мм |
Номер конструктивной схемы перегородки с обшивками из гипсокартонных листов (по таблице 8) |
||||
|
1 |
2 |
3 |
4 |
5 |
||
|
50´50 |
|
3,0 |
4,0 |
4,5 |
4,5 |
4,5 |
|
4,0 |
5,0 |
5,5 |
- |
- |
||
|
5,0 |
6,0 |
6,5 |
- |
- |
||
|
75´50 |
600 |
4,5 |
5,5 |
6,0 |
6,0 |
5,5 |
|
400 |
6,0 |
6,5 |
7,0 |
- |
- |
|
|
300 |
7,0 |
7,5 |
8,0 |
- |
- |
|
|
100´50 |
|
5,0 |
6,5 |
7,0 |
6,5 |
6,0 |
|
6,5 |
7,5 |
8,0 |
- |
- |
||
|
8,0 |
9,0 |
9,5 |
- |
- |
||
Таблица 10 - Допускаемая высота, м, перегородок с обшивками из гипсокартонных листов толщиной 24 мм
|
Сечение металлического профиля каркаса |
Номер конструктивной схемы перегородки с обшивками из гипсокартонных листов (по таблице 8) |
||||
|
6 |
7 |
8 |
9 |
10 |
|
|
28´27 |
3,0 |
- |
- |
- |
- |
|
50´50 |
- |
3,0 |
3,0 |
3,0 |
4,0 |
|
75´50 |
- |
4,5 |
4,5 |
4,5 |
4,0 |
|
100´50 |
- |
5,0 |
5,0 |
5,0 |
4,0 |
5.2.11 При вертикальном (продольном) размещении гипсокартонных листов обшивки шаг стоек каркаса не должен превышать 600 мм, а при горизонтальном (поперечном) размещении гипсокартонных листов обшивки - не более 1250 мм (таблица 11).
Таблица 11 - Допускаемые пролеты гипсокартонных листов в перегородках
В миллиметрах
|
Допускаемые пролеты при креплении |
||
|
поперечном |
продольном |
|
|
12,5 |
650 |
600 |
|
15 |
750 |
600 |
|
18 |
900 |
600 |
|
24 |
1250 |
600 |
5.2.12 Допускается при необходимости предусматривать стыковку стоек каркаса по длине методом насадки или встык с дополнительным профилем.
При стыковании насадки длина нахлестки l должна приниматься не менее 10-кратной высоты h сечения стыкуемых профилей, а при использовании дополнительного профиля его длина должна быть не менее 20-кратной высоты стыкуемых профилей (рисунок 8).



1 - стыкуемые профили; 2 - шурупы; 3 - дополнительный профиль
Рисунок 8 - Стык металлических стоечных профилей, выполненный методом насадки (а) и встык с дополнительным профилем (б, в)
При этом стыки стоек каркаса должны располагаться с взаимным смещением (вразбежку) и условием, что в одной плоскости стыкуется не более 20 % стоек.
5.2.13 Крепление направляющих металлических профилей и деревянных брусков к полу и потолку следует предусматривать с помощью дюбелей, располагаемых с шагом не более 1000 мм. Рекомендуется принимать шаг дюбелей 400 - 600 мм.
5.2.14 В целях повышения звукоизоляции перегородок от воздушного шума следует предусматривать применение уплотнительной ленты между направляющими профилями каркаса, полом и потолком, а также герметизацию этих мест с одной стороны перегородки.
Уплотнительную ленту следует также предусматривать между спаренными стойками металлического каркаса, а также в местах сопряжения каркаса со стенами и металлической дверной коробкой (рисунок 9).
5.2.15 В случае закрепления стоек металлического каркаса к направляющим следует предусматривать метод «просечки с отгибом» или самонарезающими шурупами, а деревянных стоек - гвоздями или шурупами.
5.2.16 В перегородках с одинарной обшивкой гипсокартонными листами в местах их поперечных стыков (по ширине листа) следует предусматривать горизонтальные вставки из металлического профиля направляющего или стоечного типа, закрепляемые к стойкам каркаса (рисунок 10).
5.2.17 При прогибах перекрытия от временных нагрузок более 10 мм для обеспечения независимости деформации каркаса от перекрытия крепление стоек к верхним направляющим рекомендуется предусматривать методом подсечки (рисунок 11, Д1) или со скользящей верхней направляющей (рисунок 11, Д2 и Д3).
В перегородках площадью более 50 м2 необходимо предусматривать устройство деформационного шва (рисунок 11, а, б).
5.2.18 В местах сопряжения перегородки с колоннами и стенами должны предусматриваться дополнительные стойки, которые при отсутствии разности деформаций несущих конструкций следует закреплять дюбелями с шагом 600 мм.
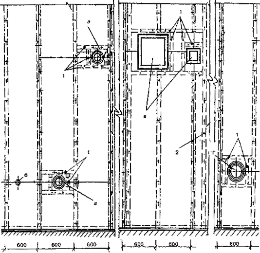
5.2.19 В местах сопряжения перегородок с коммуникационными трассами следует предусматривать установку между стойками обрамляющих элементов из профилей ПН и ПС с закреплением их к стойкам каркаса (рисунок 12).
5.2.20 В местах сопряжения перегородки с трубопроводами водоснабжения, парового и водяного отопления следует предусматривать установку гильзы из несгораемых материалов, обеспечивающей свободное перемещение труб при изменении температуры теплоносителя (рисунок 13).
5.2.21 При сопряжении перегородки огнестойкостью более 0,5 ч с трубопроводами диаметром более 60 мм следует предусматривать изоляцию трубопроводов кожухом с огнестойкостью не менее 0,5 ч на длине 0,5 м от плоскости перегородки (рисунок 13).
5.2.22 При пересечении воздуховодами противопожарных перегородок стенки воздуховодов должны иметь огнезащиту с пределом огнестойкости не менее 0,5 ч для зданий I и II степеней огнестойкости в соответствии со СНиП 2.04.05, при этом огнестойкость проходки должна, как правило, быть не менее огнестойкости пересекаемой конструкции.
Предел огнестойкости воздуховодов и проходок определяется по НПБ 239.
5.2.23 Гипсокартонные листы должны закрепляться к каркасу самонарезающими шурупами, располагаемыми с шагом 250 мм вразбежку на смежных листах на расстоянии не менее 10 мм от оклеенного картоном края листа и не менее 15 мм от обрезанного.
Вертикальный разрез
Горизонтальный разрез


1 - уплотнительная лента; 2 - минераловатная плита; 3 - профиль ПН; 4 - дюбель; 5 - профиль ПС; 6 - обшивка из ГКЛ; 7 - усиление стойки деревянным бруском у дверного проема
Рисунок 9 - Места установки уплотнительной ленты в конструкции перегородок из гипсокартонных листов

Вертикальный разрез


1 - дюбель; 2 - лента уплотнительная (герметик); 3 - обшивка из ГКЛ; 4 - минераловатная плита; 5 - профиль ПС; 6 - лента разделительная; 7 - самонарезающий шуруп; 8 - профиль ПН; 9 - шпаклевка; 10 - профиль ПУ
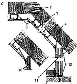
Рисунок 10 - Конструктивные решения узлов перегородки из гипсокартонных листов с примыканием к стене (А), стыка гипсокартонных листов (Б), Т-образного сопряжения (В), образования угла и торца стены (Г). Узлы (Д, Е, Ж) показаны на рисунке 11




1 - профиль ПН; 2 - профиль ПС; 3 - полосы из ГКЛ; 4 - шпаклевка; 5 - профиль ПТ; 6 - лента уплотнительная (герметик); 7 - обшивка из ГКЛ; 8 - лента разделительная; 9 - деформационный профиль; 10 - разогнутый профиль ПУ; 11 - самонарезающий шуруп; 12 - электротехнический плинтус; 13 - деревянный плинтус; 14 - дюбель; 15 - герметик
Рисунок 11 - Конструктивное решение узлов сопряжения перегородки из ГКЛ с перекрытием методом подсечки стоечного профиля (Д1) со скользящей верхней направляющей (Д2), то же, при подвесном потолке (Д3), деформационного скользящего шва (а), то же, с шовным профилем (б), стыкования под углом более 90о (Е) и примыкания к полу (Ж)
1 - обрамляющие элементы; 2 - дополнительная стойка
Рисунок 12 - Схема размещения воздуховодов диаметром больше 60 мм (а), технологических трубопроводов диаметром меньше 60 мм (б), воздуховодов (в) и трубопроводов водоснабжения и отопления (г)

1 - гильза; 2 - герметик; 3 - негорючий утеплитель; 4 - перегородка; 5 - обрамляющий профиль ПН или ПС; 6 - накладки из ГКЛ; 7 - кожух
Рисунок 13 - Схема устройства гильзы (а) и кожуха (б) при сопряжении перегородки из гипсокартонных листов с трубопроводами
В двухслойной обшивке при креплении первого (внутреннего) листа допускается увеличить шаг между шурупами до 750 мм в случае, если монтаж обоих слоев выполняется в один день.
При этом вертикальные стыки гипсокартонных листов должны предусматриваться в местах расположения стоек каркаса. Горизонтальные - вразбежку на дополнительных элементах из металлических профилей либо на дополнительных брусках - при деревянном каркасе. При двухслойной обшивке дополнительные элементы допускается не устанавливать.
5.2.24 В конструкциях сборно-разборных перегородок крепление гипсокартонных листов к стойкам каркаса следует предусматривать с помощью металлических или пластмассовых раскладок (рисунок 14) при равнозначном пределе огнестойкости узла крепления и перегородок.
5.2.25 В помещениях, отделываемых керамической плиткой, целесообразно предусматривать двухслойную обшивку перегородок гипсокартонными листами.
5.2.26 В помещениях складов пищевых продуктов для защиты от грызунов рекомендуется в нижнем уровне перегородки на высоту 0,5 - 0,6 м от уровня пола предусматривать установку стального листа толщиной 0,5 - 0,7 мм, закрепляемого к стойкам каркаса, а в пазухах - заполнение минераловатными или стекловатными материалами (рисунок 15).
5.2.27 В зоне возможных ударных нагрузок или навески тяжелого оборудования рекомендуется предусматривать цоколь высотой от 300 до 1800 мм из монолитного железобетона, полнотелого кирпича, металла и т.п.
5.2.28 При устройстве каркасно-обшивных перегородок в помещениях, где по условиям эксплуатации регулярно производится мокрая уборка покрытия пола, для предохранения нижней части гипсокартонных листов рекомендуется под нижней направляющей предусматривать применение полосы из рулонного гидроизоляционного материала, которая должна быть заведена на гипсокартонные листы (рисунок 15).
5.2.29 Для защиты наружных углов, образованных ГКЛ, от механических повреждений следует применять стальные угловые профили (рисунки 10, 11). При этом узлы сопряжения перегородок должны иметь предел огнестойкости не ниже предела огнестойкости сопрягаемой конструкции.
5.2.30 В местах сопряжения торцов гипсокартонных листов с поверхностью потолка и стен следует предусматривать применение разделительной ленты. При отсутствии разделительной ленты допускается применение герметика (рисунок 11). Узлы сопряжения должны иметь предел огнестойкости не ниже предела огнестойкости сопрягаемой конструкции.
5.2.31 Навеску предметов (картин, полок и т.п.) массой до 15 кг на обшивку из гипсокартонных листов перегородок следует предусматривать с помощью крючков (рисунок 16). При закреплении предмета в нескольких точках минимальное расстояние между точками крепления в см не должно превышать значения, соответствующего усилию в кг, приходящемуся на один крепежный элемент.
5.2.32 Навесное оборудование, стенные шкафы или полки, масса которых составляет от 15 до 40 кг на метр длины перегородки с центром тяжести, удаленным на расстояние не более 30 см от поверхности обшивки, должны закрепляться к последней не менее чем в двух точках с помощью пластмассовых или металлических дюбелей, предназначенных для конструкций с воздушной полостью (рисунок 16). При этом максимальная нагрузка на дюбель не должна превышать величин, указанных в таблице 12.

1 - стоечный профиль; 2 - обшивка панелей отделочных гипсокартонных (ПОГ); 3 - самонарезающий шуруп; 4 - раскладка
Рисунок 14 - Конструктивное решение стыка гипсокартонных листов - крепление ПОГ к каркасу при помощи раскладки в сборно-разборной перегородке
1 - гидроизоляция; 2 - самонарезающий шуруп; 3 - обшивка из ГКЛ; 4 - минераловатная плита; 5 - профиль ПС; 6 - оцинкованный лист, d = 0,06 мм; 7 - плинтус
Рисунок 15 - Конструкция узла примыкания перегородки к полу в помещениях складов


Рисунок 16 - Конструктивные решения навески предметов на обшивку из гипсокартонных листов перегородок с применением анкеров (а, б), крючков (в) и дюбелей (г)
Таблица 12 - Максимальная нагрузка на дюбель, кг
|
Пластмассовые дюбели диаметром, мм |
Металлические дюбели диаметром, мм |
|||
|
6 |
8 |
6 |
8 |
|
|
12,5 |
20 |
25 |
30 |
30 |
|
15 |
20 |
25 |
30 |
30 |
|
18 |
30 |
35 |
40 |
40 |
|
2´12,5 или 24 |
35 |
40 |
50 |
50 |
5.2.33 Навесное оборудование массой от 40 до 70 кг на метр по длине перегородки и удалением центра тяжести от поверхности обшивки не более 30 см может закрепляться к перегородке при общей толщине слоев обшивки не менее 18 мм.
5.2.34 Допустимую массу навесного оборудования высотой более 30 см, закрепляемого в двух и более точках в перегородке дюбелями при консольной нагрузке до 0,4 кН/м и до 0,7 кН/м на метр длины стены, в зависимости от глубины и ширины оборудования рекомендуется определять по графикам (рисунок 17).
5.2.35 Крепление тяжелого стационарного навесного оборудования (раковины, электрические щиты, навесные пожарные шкафы) рекомендуется предусматривать через закладные детали в виде полос или профиля ПС с закреплением их к стойкам каркаса.
5.2.36 В местах установки дверной коробки стойки металлического каркаса перегородки рекомендуется усилить деревянными брусками для двери массой до 30 кг или дополнительным металлическим профилем толщиной не менее 2 мм при массе двери более 30 кг (рисунок 9).
5.2.37 В таблице 13 приведены пределы огнестойкости перегородок из ГКЛ (ГКЛО) толщиной 12,5 мм со стыками между смежными листами, заделанными шпаклевкой «Фугенфюллер», полученные на основе испытаний конструкций по ГОСТ 30247.1.
Эти перегородки в соответствии с заключением ВНИИПО МВД РФ от 21.12.99 г. по оценке пожарной опасности перегородок «ТИГИ КНАУФ» с обшивками из гипсокартонных листов относятся к классу пожарной опасности К0 (45).
Область применения перегородок определяется с учетом требований СНиП 21-01 и нормативных документов на виды зданий.
5.2.38 В соответствии с требованиями СНиП 11-12 при выборе конструктивного решения перегородки по звукоизолирующей способности рекомендуется руководствоваться данными таблицы 14.
5.2.39 Номенклатура конструкций перегородок не ограничивается приведенной в таблице 8. В зависимости от условий эксплуатации и предъявляемых требований могут быть использованы другие конструкции с различными сочетаниями слоев гипсокартонных листов в обшивках, иным расположением профилей каркаса. При этом их физико-технические характеристики должны быть определены в установленном порядке.
5.3.1 Конструктивные схемы облицовки стен гипсокартонными листами и отделочными панелями типа ПОГ предусматривают крепление их на клею или самонарезающими шурупами к каркасу (рисунок 18).
5.3.2 Металлический каркас рекомендуется выполнять из профилей ПН 28/27 в комплекте с профилями ПП 60/27 или из комплекта профилей ПН и ПС.
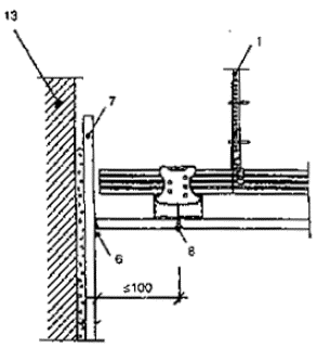
5.3.3 Каркас рекомендуется устанавливать с относом от стены. Каркас из профилей ПП 60/27 рекомендуется закреплять непосредственно к существующей стене на прямых подвесах (рисунок 19).
Крепление элементов каркаса к стенам, потолку и полу по периметру облицовки следует предусматривать на дюбелях, располагаемых с шагом не более 1 м, а при использовании для крепления стоек каркаса прямых подвесов, их шаг не должен превышать 1,5 м (рисунок 19).
5.3.4 Обшивка каркаса гипсокартонными листами осуществляется по аналогии с конструкциями перегородок.
5.3.5 Стыки между гипсокартонными листами и комбинированными панелями следует решать по аналогии с конструкциями перегородок с использованием шпаклевочных составов.
5.3.6 Стыки между отделочными гипсокартонными панелями типа ПОГ следует предусматривать с использованием раскладок.
5.3.7 Облицовку стен с усилением теплоизоляции гипсокартонными комбинированными панелями рекомендуется выполнять на клею (рисунок 20).
5.3.8 При облицовке стен гипсокартонными комбинированными панелями или гипсокартонными листами с усилением теплоизоляции стен в соответствии с требованиями раздела 6 СНиП II-3 в каждом конкретном случае должен быть выполнен поверочный расчет на условие недопустимости накопления влаги в стене за годовой период эксплуатации и ограничение влаги за период с отрицательными среднемесячными температурами.
Глубина навесного оборудования
Рисунок 17 - Графики для определения допустимой массы навесного оборудования высотой более 30 см при консольной нагрузке на перегородку до 0,4 кН/м (а) и до 0,7 кН/м (б) на метр длины стены
Таблица 13 - Пределы огнестойкости перегородок
|
Конструктивное решение |
Предел огнестойкости, мин |
||
|
ГКЛ |
ГКЛО |
||
|
doбщ = 100 мм |
Одинарный металлический каркас с заполнением негорючей минплитой плотностью 40 кг/м3, толщиной 50 мм и обшивкой одним слоем гипсокартонных листов с обеих сторон. Крепление листов к каркасу с помощью шурупов. Стык между смежными листами заделан специальной шпаклевкой |
EI45 |
EI60 |
|
doбщ = 125 мм |
Одинарный металлический каркас с заполнением негорючей минплитой плотностью 40 кг/м3, толщиной 50 мм и обшивкой двумя слоями гипсокартонных листов с обеих сторон. Крепление листов к каркасу с помощью шурупов. Стык между смежными листами заделан специальной шпаклевкой |
EI75 |
EI90 |
|
doбщ = 175 мм |
Двойной металлический каркас с заполнением негорючей минплитой плотностью 40 кг/м3, толщиной 50 мм и обшивкой двумя слоями гипсокартонных листов с обеих сторон. Крепление листов к каркасу с помощью шурупов. Стык между смежными листами заделан специальной шпаклевкой |
ЕI75 |
EI90 |
|
doбщ = 200 мм |
Одинарный металлический каркас с заполнением негорючей минплитой плотностью 60 кг/м3, толщиной 80 мм и обшивкой тремя слоями гипсокартонных листов с обеих сторон. Крепление листов к каркасу с помощью шурупов. Стык между смежными листами заделан специальной шпаклевкой |
ЕI240 |
- |
|
doбщ = 220 мм |
Двойной металлический каркас с заполнением негорючей минплитой плотностью g = 40 кг/м3, толщиной 50 мм и обшивкой двумя слоями гипсокартонных листов с обеих сторон. Крепление листов к каркасу с помощью шурупов. Стык между смежными листами заделан специальной шпаклевкой |
EI75 |
EI90 |
|
doбщ = 85 мм |
Одинарный деревянный каркас с заполнением негорючей минплитой g = 40 кг/м3, толщиной 50 мм и обшивкой одним слоем гипсокартонных листов с обеих сторон. Крепление листов к каркасу с помощью шурупов. Стык между смежными листами заделан специальной шпаклевкой |
ЕI60 |
EI75 |
|
doбщ = 110 мм |
Одинарный деревянный каркас с заполнением негорючей минплитой g = 40 кг/м3, толщиной 50 мм, обшитый двумя слоями гипсокартонных листов с обеих сторон. Крепление листов к каркасу с помощью шурупов. Стык между смежными листами заделан специальной шпаклевкой |
EI75 |
EI90 |
Таблица 14 - Расчетные характеристики звукоизоляции многослойных перегородок из гипсокартонных листов
|
Общая толщина, мм |
Толщина элементов перегородки, мм |
Звукопоглощающая плита в полости |
Расчетные значения индексов изоляции |
Область применения |
|
||||
|
одного наружного слоя |
воздушной полости |
плотность, кг/м3 |
толщина, мм |
||||||
|
RW,B (дин 4109), дБ |
IB (снип), дБ |
|
|||||||
|
|
75 |
12,5 |
50 |
40 |
40 |
45 |
43 |
В зданиях для ограждения с IB не более 43 дБ |
|
|
100 |
12,5 |
75 |
40 |
40 |
46 |
44 |
|||
|
125 |
12,5 |
100 |
40 |
40 |
47 |
45 |
|||
|
|
100 |
12,5´2 |
50 |
40 |
40 |
49 |
47 |
То же, но с IB не более 47 дБ |
|
|
125 |
12,5´2 |
75 |
40 |
40 |
51 |
49 |
|||
|
150 |
12,5´2 |
100 |
40 |
40 |
52 |
50 |
|||
|
|
155 |
12,5´2 |
105 |
100 |
40 |
55 |
53 |
В зданиях для ограждения, но с IB не более 53 дБ |
|
|
205 |
12,5´2 |
155 |
100 |
40 |
56 |
54 |
|||
|
255 |
12,5´2 |
205 |
100 |
40 |
57 |
55 |
|||
|
|
220 |
12,5´2 |
170 |
50 |
60 |
51 |
49 |
То же, но с IB не более 49 дБ |
|
|
|
85 |
12,5 |
60 |
40 |
40 |
38 |
36 |
То же, но с IB не более 36 дБ |
|
|
105 |
12,5 |
80 |
40 |
40 |
39 |
37 |
|||
|
|
110 |
12,5´2 |
60 |
40 |
40 |
46 |
44 |
То же, но с IB не более 44 дБ |
|
|
130 |
12,5´2 |
80 |
40 |
40 |
48 |
46 |
|||

1 - прямой подвес; 2 - стоечный профиль; 3 - однослойная обшивка ГКЛ; 4 - двухслойная обшивка ГКЛ; 5 - клей; 6 - раскладка; 7 - деревянный брусок каркаса; 8 - панель ПОГ; 9 - профиль ПП 60/27
Рисунок 18 - Схемы облицовки стен гипсокартонными листами (а) и декоративными гипсокартонными панелями ПОГ (б)
Вертикальный разрез

Горизонтальный разрез




1 - дюбель; 2 - каркас из профилей ПНП и ПП; 3 - минераловатная плита; 4 - прямой подвес; 5 - обшивка ГКЛ; 6 - самонарезающий шуруп; 7 - угловой профиль; 8 - каркас из профилей ПН и ПС
Рисунок 19 - Конструктивное решение узлов облицовки стен по каркасу на прямых подвесах (а) и на относе (б)


1 - герметик; 2 - гипсокартонная комбинированная панель; 3 - клей (шпаклевка) «Фугенфюллер»; 4 - кромочная лента; 5 - пол; 6 - клей «Перлфикс»; 7 - шпаклевка
Рисунок 20 - Конструктивное решение облицовки стен гипсокартонными комбинированными панелями на клею (шпаклевка) «Фугенфюллер» (а) и «Перлфикс» (б), в подоконной нише (в) и внутреннем углу стены (г)
5.3.9 Отделку стен и потолков в мансардных помещениях гипсокартонными листами рекомендуется предусматривать по обрешетке из деревянных брусков или металлических профилей, а при применении массивных гипсокартонных листов толщиной 24 мм без обрешетки (рисунок 21). Стыки между гипсокартонными листами следует выполнять с использованием шпаклевочных составов.
5.4.1 Конструктивное решение ограждения коммуникационных шахт, а также мест пропуска трубопроводов и т.п. выполняют по аналогии с облицовкой стен гипсокартонными листами, преимущественно по металлическому каркасу (рисунок 22).
5.4.2 В зависимости от требований тепло- и огнезащиты обшивка может быть предусмотрена в один или два слоя из гипсокартонных листов толщиной 12,5 мм или в один слой при листах толщиной 24 мм с применением минераловатной теплоизоляции толщиной от 30 до 80 мм.
5.4.3 Для обеспечения доступа к коммуникационным системам в ограждении шахты предусматривают ревизионный люк (рисунок 23), конструктивное решение которого должно обеспечивать тепло- и огнезащитные качества не ниже чем у ограждения.
5.4.4 Ограждения коммуникационных шахт должны иметь огнестойкость, регламентируемую СНиП 2.04.05 (до его пересмотра). После пересмотра этого СНиП огнестойкость конструкций ограждений коммуникаций должна определяться СНиП 21.01.
Огнестойкость конструкций ограждений определяется по ГОСТ 30247.1, а конструкций проводок в соответствии с 5.2.21 и 5.2.22 настоящего Свода правил.
5.5.1 Подвесные потолки из гипсокартонных листов предназначаются для декоративной отделки, скрытия электропроводки и сетей инженерного оборудования, а также с целью звукопоглощения, улучшения акустики и повышения огнестойкости конструкций перекрытий и покрытий.
5.5.2 В помещениях с сухим и нормальным температурно-влажностными режимами наряду с металлическим каркасом допускается применять деревянный из антисептированных, антиперированных брусков с влажностью не более 12 % (рисунки 24, 25).
5.5.3 В подвесных потолках помещений с влажным режимом эксплуатации (ванные комнаты, санузлы и т.п.), а также в потолках для повышения огнестойкости перекрытий и покрытий следует использовать каркас из оцинкованных стальных профилей (рисунки 26, 28, 30).


1 - обрешетка из деревянных брусков; 2 - стропильная нога; 3 - утеплитель; 4 - пароизоляция; 5 - шпаклевка; 6 - подвес прямой; 7 - гипсокартонный лист; 8 - брусок стоечный; 9 - брусок направляющий; 10 - потолочный профиль; 11 - профиль стоечный; 12 - профиль направляющий
Рисунок 21 - Конструктивные решения мансард при обшивке гипсокартонными листами по обрешетке из деревянных брусков (а), из металлических профилей (б) и без обрешетки (в)


1 - дюбель; 2 - металлический профиль; 3 - обшивка из ГКЛ; 4 - уплотнительная лента или герметик; 5 - самонарезающий шуруп; 6 - минераловатная плита
Рисунок 22 - Конструктивное решение обрамления из гипсокартонных листов трубопроводов, размещенных горизонтально вдоль капитальной стены (а), перегородки (б) и вертикально у перегородок (в)

1 - крышка ревизионного клапана; 2 - запор; 3 - металлический профиль каркаса; 4 - рама проема
Рисунок 23 - Общий вид (а) и конструктивное решение ревизионного люка с противопожарной защитой 30 мин (б) и 90 мин (в)



1 - с одноосным каркасом, закрепленным непосредственно к перекрытию или с помощью прямых подвесов с небольшим относом; 2 - то же, с двухосным каркасом; 3 - c двухосным каркасом на подвесах, со значительным относом; а - расстояние между подвесами; b - расстояние между несущими брусками; с - расстояние между основными брусками
Рисунок 24 - Конструктивные схемы подвесного потолка с деревянным каркасом



1 - разделительная лента; 2 - бруски каркаса; 3 - анкерный элемент; 4 - обшивка из ГКЛ; 5 - брусок; 6 - подвес; 7 - полоса из ГКЛ
Рисунок 25 - Общий вид (а) и узлы подвесного потолка с деревянным каркасом, закрепленным к несущим конструкциям перекрытия на анкерных элементах (б) и подвесах (в)
При применении подвесных потолков для повышения пределов огнестойкости перекрытий и покрытий предел огнестойкости перекрытия или покрытия с подвесным потолком следует определять как для единой конструкции по ГОСТ 30247.1, а класс пожарной опасности отдельно для перекрытия или покрытия и для подвесного потолка. При этом класс пожарной опасности по такому подвесному потолку должен быть не более установленного для защищаемой конструкции.
5.5.4 Огнестойкость подвесного потолка определяется в соответствии НПБ 231.
5.5.5 Применение подвесных потолков на путях эвакуации (в вестибюлях, лестничных клетках, лифтовых холлах, в общих коридорах, холлах, фойе) в соответствии с СНиП 21-01 регламентируется в зависимости от следующих пожароопасных характеристик заполнения подвесных потолков:
горючесть (Г) - ГОСТ 30244;
воспламеняемость (В) - ГОСТ 30402;
дымообразующая способность (Д) - ГОСТ 12.1.044;
токсичность продуктов горения (Т) - ГОСТ 12.1.044.
5.5.6 Каркас подвесного потолка следует проектировать преимущественно двухосным с размещением профилей в одном (рисунок 27) или двух (рисунок 29) уровнях. Одноосный каркас рекомендуется использовать при небольших площадях потолка.
5.5.7 В надпотолочном пространстве не допускается прокладка сгораемых элементов или материалов.
5.5.8 Для обеспечения возможности профилактического осмотра надпотолочного пространства в период эксплуатации в конструкции подвесного потолка следует предусматривать смотровые лючки огнестойкостью не ниже огнестойкости подвесного потолка.

а - расстояние между подвесами; b - расстояние между несущими профилями; с - расстояние между основными профилями
Рисунок 26 - Конструктивная схема подвесного потолка с двухосным в двух уровнях металлическим каркасом из профилей 60´27 мм



1 - анкерный элемент; 2 - кромочный защитный уголок; 3 - шуруп; 4 - потолочный профиль каркаса; 5 - клей на основе гипса; 6 - облицовка; 7 - профиль 28/27; 8 - перекрытие; 9 - подвес с зажимом; 10 - ГКЛ; 11 - прямой подвес
Рисунок 27 - Конструкции узлов подвесного потолка с металлическим каркасом из профилей 60´27 мм в одном уровне



1 - двухосный на подвесах с зажимом; 2 - двухосный на прямых подвесах; 3 - одноосный на прямых подвесах; а - расстояние между подвесами; b - расстояние между несущими профилями; с - расстояние между основными профилями
Рисунок 28 - Конструктивные схемы подвесного потолка с одноосным и двухосным в одном уровне с металлическим каркасом из потолочных профилей 60´27 мм


1 - подвес; 2 - потолочный профиль 60/27; 3 - направляющий профиль 28/27; 4 - кромочный защитный профиль; 5 - анкерный элемент; 6 - разделительная лента; 7 - штукатурка (облицовка) из ГКЛ; 8 - шуруп; 9 - планка из ГКЛ; 10 - два листа ГКЛ; 11 - двухуровневый соединитель; 12 - лист ГКЛ; 13 - стена; 14 - перекрытие
Рисунок 29 - Конструкции узлов подвесного потолка с двухосным в двух уровнях металлическим каркасом из профилей 60´27 мм

1 - металлические профили каркаса; 2 - подвес; 3 - потолочный элемент из ГКЛ; 4 - обрамляющий профиль; 5 - дюбель; а - расстояние между подвесами; b - расстояние между несущими профилями; с - расстояние между основными профилями
Рисунок 30 - Конструктивная схема (а) и узлы (б) подвесного растрового потолка следует предусматривать смотровые лючки огнестойкостью не ниже огнестойкости подвесного потолка.
5.5.9 Шаг подвесов и основных профилей или брусков каркаса для различных видов сплошных потолков в зависимости от класса нагрузки рекомендуется принимать по таблице 15.
Класс нагрузки подвесного потолка определяют по графику (рисунок 31).
5.5.10 Шаг несущих профилей или брусков каркаса рекомендуется принимать равным 500 мм при поперечном размещении гипсокартонных листов и 400 мм при продольном размещении их относительно несущих профилей или брусков каркаса.
5.5.11 В потолках для повышения огнестойкости перекрытий и покрытий рекомендуется применять каркас из металлических потолочных профилей сечением 60´27 мм.
Таблица 15 - Допускаемый шаг подвесов и основных профилей (брусков) каркаса в различных конструктивных схемах подвесных потолков
|
Каркас |
|||||||||||||||||
|
деревянный (рис. 24) |
металлический |
||||||||||||||||
|
Схема |
Рис. 26 |
Рис. 28 |
|||||||||||||||
|
Схема |
Шаг, мм, основных профилей, с |
Схема 3 |
|||||||||||||||
|
1 |
2 |
3 |
1 |
2 |
|||||||||||||
|
Шаг, мм |
Шаг, мм |
||||||||||||||||
|
подвесов, а |
основных брусков, с |
подвесов, а |
основных брусков, с |
подвесов, а |
основных брусков, с |
подвесов, а |
основных профилей, с |
подвесов, а при несущей способности, кН |
подвесов, a |
основных профилей, с |
|||||||
|
0,25 |
0,4 |
||||||||||||||||
|
< 0,15 |
850 |
- |
850 |
850 |
1000 |
850 |
900 |
1000 |
1000 |
1000 |
1200 |
1000 |
- |
||||
|
0,15 < Р < 0,3 |
750 |
- |
750 |
750 |
850 |
750 |
750 |
1000 |
650 |
650 |
1200 |
1000 |
- |
||||
|
0,3 < Р < 0,5 |
600 |
- |
600 |
600 |
700 |
600 |
600 |
600 |
400 |
650 |
1200 |
750 |
- |
||||
Рисунок 31 - График для определения класса нагрузки подвесного потолка
График приведен без учета дополнительных нагрузок (светильники, изоляционный слой и т.п.). С учетом дополнительных нагрузок прямая графика смещается вверх на величину, равную дополнительной нагрузке
5.5.12 В качестве огнезащитного теплоизолирующего материала в подвесных потолках рекомендуется использовать негорючие минераловатные или стекловатные плиты толщиной не менее 40 мм, размещаемые в один или два слоя.
5.5.13 Гипсокартонные листы в подвесных потолках рекомендуется располагать поперек несущих профилей каркаса (рисунок 32).


Рисунок 32 - Схемы размещения гипсокартонных листов в подвесных потолках поперек несущих профилей (а), вдоль несущих профилей (б) и смещения листов при двухслойной обшивке (в)
Продольное размещение их относительно несущих профилей требует уменьшение шага последних (большего числа профилей).
5.5.14 При двухслойной обшивке второй слой гипсокартонных листов следует располагать со смещением относительно первого с перекрытием швов.
5.5.15 Шаг шурупов не должен превышать 170 мм при однослойной обшивке ГКЛ и 500 мм - для первого слоя двухслойной обшивки в случае установки обоих слоев в один день (рисунок 33).
5.5.16 Криволинейные поверхности подвесных потолков, места оформления ступенчатого примыкания потолка к стенам, образование ниш для размещения светильников и т.п. рекомендуется выполнять с применением специальных гипсокартонных элементов заводской готовности или изготовленных в построечных условиях (рисунок 34).

Рисунок 33 - Схемы размещения шурупов крепления однослойной (а) и двухслойной (б) обшивки в подвесных потолках
5.5.17 Все швы лицевого слоя рекомендуется выполнять с применением армирующей ленты. Швы первого слоя в двухслойной обшивке допускается шпаклевать без армирующей ленты.
5.6.1 Огнезащита несущих конструкций гипсокартонными листами может применяться в жилых, общественных и производственных зданиях всех степеней огнестойкости, классов конструктивной и функциональной пожарной опасности, возводимых в любых регионах страны, вне зависимости от инженерно-геологических условий строительства, в том числе в сейсмических районах при соблюдении нормативных требований.
5.6.2 При проектировании огнезащиты несущих конструкций гипсокартонными листами необходимо учитывать требования СНиП 21-01, ГОСТ 12.1.004 и ГОСТ 30247.1, ГОСТ 30403 и НПБ 236.
5.6.3 Для огнезащитной обшивки металлических и деревянных несущих конструкций (колонн и балок) рекомендуется использовать гипсокартонные листы ГКЛО.



1 - анкерный элемент; 2 - подвес; 3 - потолочный профиль 60/27; 4 - разделительная лента; 5 - соединитель; 6 - светильник; 7 - ломаный элемент из ГКЛ; 8 - облицовка из ГКЛ; 9 - криволинейный элемент из ГКЛ со шлицевыми параллельными пазами; 10 - изогнутый элемент из ГКЛ (t = 6,5); 11 - изогнутый потолочный металлический профиль
Рисунок 34 - Конструктивные решения подвесных потолков с ломаным (а), криволинейным (б, в) и комбинированным (г) очертанием поверхности
5.6.4 Облицовку металлических балок следует выполнять с помощью металлических профилей или с использованием вкладышей из полос гипсокартонных листов различной толщины в зависимости от требуемого предела огнестойкости конструкций.
5.6.5 При применении металлических профилей их рекомендуется закреплять анкерными элементами к перекрытию и с помощью зажимов к нижней полке балки, а гипсокартонные листы обшивки к металлическим профилям самонарезающими шурупами (рисунок 35, а, б, в). При этом шаг зажимов не должен превышать 120 мм.
5.6.6 При облицовке металлических балок вкладыши из гипсокартонных листов шириной 150 мм следует размещать с шагом до 600 мм вдоль стенки и до 750 мм вдоль полки балки. Для крепления гипсокартонных листов обшивки к вкладышам и между собой рекомендуется использовать скобы, устанавливаемые с шагом 50 мм (рисунок 35, г, д).
5.6.7 Огнезащитную облицовку деревянных стоек и балок следует осуществлять гипсокартонными листами толщиной в зависимости от требуемой степени огнестойкости и класса пожарной опасности защищаемой строительной конструкции (рисунок 36).
5.6.8 Огнезащитная облицовка металлических колонн гипсокартонными листами может осуществляться с применением металлических профилей или без них (рисунок 37).
5.6.9 При использовании металлических профилей их рекомендуется закреплять к полкам колонн с помощью зажимов, располагаемых с шагом до 1000 мм, а обшивку к профилям - на самонарезающих шурупах.
5.6.10 При обшивке колонн без применения металлических профилей гипсокартонные листы между собой закрепляют стальными скобами, устанавливаемыми с шагом до 100 мм.
5.6.11 Для достижения требуемого предела огнестойкости металлических колонн и балок толщину обшивки можно принимать по таблице 17 в зависимости от соотношения P / F или 100 / d, определяемого в соответствии с данными таблицы 16.
5.6.12 Требуемую толщину огнезащитной обшивки из гипсокартонных листов можно также определять по графику (рисунок 38) в зависимости от приведенной толщины стали
![]()
где F - площадь сечения, мм2;
Р - обогреваемая часть периметра сечения, мм.
6.1.1 Металлические тонкостенные профили должны поставляться на объекты строительства пакетами, стянутыми лентами, любым видом транспорта при условии защиты от механических повреждений.
6.1.2 Пакеты с профилем должны храниться под навесом.
6.1.3 Поставщик профилей должен гарантировать соответствие их нормативным документам при соблюдении потребителем условий транспортировки и хранения. Срок хранения 12 мес. с даты изготовления.
6.1.4 Транспортирование ГКЛ должно выполняться централизованно в пакетированном виде в условиях, исключающих увлажнение, загрязнение и механическое повреждение листов. Габариты пакетов не должны превышать по длине 4100 мм, по ширине 1300 мм, по высоте 800 мм; масса пакета не должна быть более 3000 кг.
6.1.5 При транспортировке ГКЛ должны находиться в горизонтальном положении, пакеты должны быть уложены на прокладки или поддоны.
6.1.6 Для предотвращения увлажнения и загрязнения ГКЛ рекомендуется пачки (50 - 80 листов в пачке) упаковывать в водостойкие материалы (упаковочная бумага, полиэтиленовая пленка).
6.1.7 Хранить ГКЛ следует в сухом закрытом помещении при температуре окружающего воздуха не ниже +5 °С, на расстоянии 1,6 м от отопительных приборов. Пакеты могут быть установлены друг на друга в штабели общей высотой не более 3,5 м.
6.1.8 На строительной площадке допускается непродолжительное время (не более 6 ч) хранить ГКЛ упакованными в водонепроницаемую бумагу или пленку (при температуре не ниже 0 °С).
6.1.9 Перевозить звукоизоляционные материалы можно любыми видами транспорта при условии их защиты от увлажнения.
6.1.10 Хранение звукоизоляционных материалов должно производиться в закрытых складах или под навесом в упакованном виде при условии предохранения их от увлажнения.
6.1.11 Шурупы могут перевозиться любым видом транспорта, упакованными в ящики или коробки, снабженные ярлыками.
6.1.12 Шурупы следует хранить под навесом.
6.1.13 Срок гарантии для шурупов - 18 мес со дня поступления их к потребителю.
6.2.1 При раскрое гипсокартонных листов их резку следует производить на ровной поверхности ножом для ГКЛ, которым подрезают картон и часть гипсового сердечника (рисунок 39). Для отрезания полос шириной до 120 мм может быть использован резак для ГКЛ малый, а для полос шириной до 630 мм - резак для ГКЛ большой.
6.2.2 Надрезанный лист укладывают на край стола и надламывают надрезанный сердечник, после чего ножом для ГКЛ разрезают картон на обратной стороне листа.
6.2.3 Отрезанную кромку необходимо обработать ровно, без изломов обдирочным рубанком.



1 - вкладыш; 2 - металлический профиль; 3 - самонарезающий шуруп; 4 - обшивка из ГКЛО; 5 - анкерный элемент; 6 - стальной ригель; 7 - перекрытие; 8 - зажим; 9 - скоба
Рисунок 35 - Конструктивные решения огнезащиты стальных балок
гипсокартонными листами:
а - с металлическими профилями и одинарной
обшивкой ГКЛО; б - то же, с двухслойной обшивкой ГКЛО; в - с
металлическими профилями и вкладышами из ГКЛО; г - с вкладышами из ГКЛО
и однослойной обшивкой; д - то же, с двухслойной обшивкой
1 - балка; 2 - обшивка из ГКЛО; 3 - колонна; 4 - скобы; 5 - лента разделительная; 6 - уголковый защитный профиль
Рисунок 36 - Общий вид (а) и конструктивное решение огнезащиты колонны (б) и деревянной балки (в)
6.2.4 Если обрезанные кромки образуют шов с них следует снять фаску при помощи кромочного рубанка для возможности шпаклевания. Чтобы выполнить швы менее заметными, не обнажая сердечник, следует удалить картон вдоль кромки в области укладки армирующей ленты (рисунок 39, а, б).
6.2.5 Круглые отверстия в гипсокартонных листах следует выполнять специальной фрезой. Для круглых отверстий под электрические розетки рекомендуется использовать фрезы диаметром 60, 67, 74, 72, 80 и 95 мм.
6.2.6 Фигурные отверстия следует вырезать прокалывающим приспособлением или прокалывающей пилой.
6.2.7 При изготовлении изогнутых форм следует использовать гипсокартонные листы шириной не более 600 мм. При этом гипсокартонные листы должны сгибаться по длине.
6.2.8 Для придания листу изогнутой формы следует использовать шаблон, в котором боковины могут быть выполнены из гипсокартонных листов, обрезанных по заданному радиусу гибки. При этом радиус шаблона должен быть чуть меньше радиуса формируемой поверхности. Боковины присоединяют на винтах к деревянным брускам, к которым закреплены распорки, вырезанные из гипсокартонных листов. При этом ширина шаблона должна быть несколько меньше ширины изгибаемого листа (рисунок 40).
6.2.9 Игольчатым валиком (рисунок 40, в) прокатывают сжимаемую сторону листа, которая у выпуклых форм является тыльной стороной, а у вогнутых - лицевой.
6.2.10 Лист наколотой стороной вверх укладывают на прокладки во избежание попадания воды на обратную сторону при замачивании листа, что может вызвать разрыв картона при сгибании.
6.2.11 С помощью губки или кисти следует намочить заготовку водой до полного насыщения гипсового сердечника, когда вода перестает впитываться.
6.2.12 Устанавливают заготовку на шаблон с таким расчетом, чтобы ее центр совпадал с осью шаблона и аккуратно сгибают заготовку по шаблону с последующим закреплением ее концов с помощью зажимов из обрезков металлических профилей ПН или ПС.
6.2.13 Сгиб заготовки фиксируют с помощью клеящей ленты, снимают ее с шаблона и устанавливают в зафиксированном положении для сушки.
6.2.14 При изготовлении ломаных форм У-образные пазы в гипсокартонном листе фрезеруют с помощью специального оборудования, оснащенного фрезой соответствующей формы, позволяющего оставлять нетронутым тыльный или лицевой слой картона, обеспечивая тем самым возможность перелома листа с сохранением общей целостности элемента.
6.3.1 Монтаж перегородок в соответствии с указаниями ВСН 27 должен выполняться в период отделочных работ до производства электромонтажных, санитарно-технических, вентиляционных работ, включая трубные разводки в полах. При этом отделочные работы, связанные с мокрыми процессами и подготовкой под полы, должны быть закончены.
6.3.2 Монтаж перегородок должен осуществляться до устройства чистого пола.
6.3.3 В соответствии с проектом необходимо выполнить разметку перегородки, для чего отбойным шнуром на полу наносят положение всей толщины перегородки (рисунок 41). Затем с помощью магнитного отвеса разметку положения перегородки переносят на потолок.
Рекомендуется отмечать на полу опоры, толщину и тип гипсокартонного листа, а также дверные проемы с помощью специальных трафаретов и пульверизатора с краской.
6.3.4 На направляющие профили ПН и стоечные профили, примыкающие к стенам или к друг другу (при двойном каркасе), наклеивают уплотнительную ленту (рисунок 41, б).
6.3.5 В соответствии с разметкой устанавливают направляющие с закреплением их к полу и потолку дюбелями, длина которых должна быть не менее 35 мм, а затем крайние примыкающие к стенам стоечные профили, закрепив их дюбелями. При криволинейном очертании перегородки перед установкой направляющих профилей ножницами по металлу выполняют параллельные разрезы наружной полки и спинки ПН-профиля до внутренней полки.


1 - уголковый защитный профиль; 2 - самонарезающий шуруп; 3 - зажим; 4 - стальная колонна; 5 - потолочный профиль; 6 - обшивка из ГКЛО; 7 - скоба
Рисунок 37 -
Конструктивные решения огнезащиты стальных колонн гипсокартонными листами:
а - с металлическими профилями и одинарной
обшивкой ГКЛО; б - то же, с двухслойной обшивкой ГКЛО; в - на
скобах с одинарной обшивкой ГКЛО; г - то же, с двухслойной обшивкой ГКЛО
Таблица 16 - Функции P/F или 100/d для различных схем огнезащиты
|
Количество сторон защиты |
P / F или 100/d |
|
|
|
4 |
|
|
|
3 |
|
|
|
4 |
100 / d |
|
|
- |
|
|
Условные обозначения: P - периметр огнезащитной облицовки; F - площадь сечения колонны или балки; d - толщина стенок замкнутого сечения колонны |
||
Таблица 17 - Требуемые толщины огнезащитной обшивки для балок и колонн*
|
Толщина обшивки из ГКЛО, мм |
|||||||||||||||||||
|
для балок |
для колонн |
||||||||||||||||||
|
15 |
20 |
25 |
30 |
35 |
40 |
45 |
50 |
55 |
15 |
20 |
25 |
30 |
35 |
40 |
45 |
50 |
55 |
60 |
|
|
Величина P / F или 100 / d, м-1, см. табл. 15 |
|||||||||||||||||||
|
30 |
< 300 |
|
|
|
|
|
|
|
|
< 210 |
< 300 |
|
|
|
|
|
|
|
|
|
60 |
< 170 |
< 300 |
|
|
|
|
|
|
|
< 46 |
< 100 |
< 230 |
< 300 |
|
|
|
|
|
|
|
90 |
< 48 |
< 130 |
< 270 |
< 300 |
|
|
|
|
|
|
< 40 |
< 140 |
< 170 |
< 260 |
< 300 |
|
|
|
|
|
120 |
|
< 50 |
< 100 |
< 180 |
< 300 |
|
|
|
|
|
|
< 38 |
< 68 |
< 110 |
< 180 |
< 280 |
< 300 |
|
|
|
130 |
|
|
|
< 45 |
< 80 |
< 125 |
< 190 |
< 260 |
< 300 |
|
|
|
|
< 35 |
< 50 |
< 76 |
< 105 |
< 150 |
< 210 |
* Данные, приведенные в таблице и получаемые по графику (рисунок 38), являются оценочными.
Для получения фактического значения предела огнестойкости конструкции в каждом конкретном случае необходимо проведение испытаний по ГОСТ 30247.1.
Рисунок 38 - Зависимость предела огнестойкости стальных конструкций от количества слоев ГКЛ и приведенной толщины стали t



1 - резка; 2 - надлом; 3 - разрезка картона на обратной стороне ГКЛ; 4 - обработка обрезанной кромки рубанком; 5 - подготовка обрезанной кромки под шпаклевку шва с армирующей лентой
Рисунок 39 - Подготовка гипсокартонных листов

1 - стенки из ГКЛ; 2 - бруски; 3 - профиль ПН; 4 - шурупы; 5 - изгибаемый гипсокартонный лист
Рисунок 40 - Конструкция шаблона (а), схема гнутья ГКЛ (б) и общий вид игольчатого валика (в)





1 - ПН-профиль; 2 - ПС-профиль; 3 - надрезной ПН-профиль; 4 - дюбель; 5 - опорные стойки; 6 - вкладыш; 7 - деревянный брусок; 8 - горизонтальный элемент над проемом; 9 - дополнительный ПС-профиль
Рисунок 41 - Разметка положения перегородки на полу (а), наклейка уплотнительной ленты (б), закрепление профилей ПН и ПС (в), закрепление подрезного профиля ПН для криволинейной части перегородки (г), монтаж каркаса (д), устройство дополнительного каркаса у дверного проема (е), усиление опорных стоек (ж), схема размещения шурупов крепления ГКЛ (з) и направление установки ГКЛ (и)
6.3.6 По отвесу устанавливают стоечные профили с требуемым шагом и закрепляют их (если это необходимо) в направляющих с помощью просекателя или на шурупах. При этом высота стойки должна быть меньше высоты помещения на 10 мм, а профили, стыкуемые по высоте, должны быть соединены самонарезающими шурупами, число которых с каждой стороны нахлестки принимается не менее трех.
6.3.7 Дверные коробки должны устанавливаться одновременно с монтажом каркаса перегородок, для чего по дверной коробке монтируют опорные стоечные профили, перемычку над проемом и промежуточные стойки. При этом опорные стойки под дверь массой до 35 кг укрепляют вставкой деревянных брусков или дополнительным профилем, соединенным с основным вкладышем из того же профиля.
6.3.8 После устройства каркаса необходимо выполнить монтаж электротехнической и слаботочной проводки, а также санитарно-технических трубопроводов.
6.3.9 Не допускается размещать электропроводку вдоль стоек внутри их во избежание ее повреждения острыми краями обрезанных профилей каркаса или шурупами во время крепления гипсокартонных листов.
6.3.10 В местах размещения электрических и слаботочных коробок в полости перегородки между обшивками устанавливают экран из гипсокартонных листов размером 600´600 мм, закрепляя его к поперечному элементу каркаса на шурупах.
6.3.11 При необходимости устанавливают закладные детали, металлические траверсы и рамы для навески стационарного оборудования массой до 150 кг перегородки, закрепляя их к стойкам каркаса на винтах.
6.3.12 Перед монтажом гипсокартонных листов, в местах примыкания их кромок к поверхности потолка и стены, выполненных из другого материала, должна быть наклеена разделительная лента (рисунок 10, б).
6.3.13 Установку обшивки из гипсокартонных листов производят сначала с одной стороны, затем закрепляют звукоизоляционный материал, а затем выполняют обшивку с другой стороны перегородки.
Монтаж гипсокартонных листов должен вестись в направлении со стороны стенки стоечных профилей каркаса (рисунок 41, и).
При двухслойной обшивке рекомендуется второй слой устанавливать в тот же день, что позволит увеличить шаг между шурупами первого слоя до 750 мм.
6.3.14 При монтаже гипсокартонные листы плотно подгоняют друг к другу и потолку, закрепляют к каркасу самонарезающими шурупами, установку которых следует вести от угла гипсокартонного листа в двух взаимно-перпендикулярных направлениях или от середины его к краям. Самонарезающие шурупы следует устанавливать с отступлением от края облицованной картоном кромки не менее 10 мм и от края необлицованной кромки не менее чем на 15 мм.
В местах примыкания гипсокартонных листов обшивки к полу между кромкой листа и поверхностью пола следует оставлять зазор в 10 - 20 мм с последующей заделкой его герметиком.
6.3.15 Самонарезающие шурупы должны входить в гипсокартонный лист под прямым углом и проникать в полку профиля на глубину не менее 10 мм, а головки винтов должны быть утоплены в поверхность гипсокартонного листа на глубину около 1 мм, после чего эти места зашпаклевывают. Деформированные или ошибочно установленные шурупы должны быть удалены и заменены новыми с размещением их на расстоянии 50 мм от предыдущих.
6.3.16 Звукоизоляционный материал устанавливают между стойками каркаса и фиксируют с помощью вкладышей, после чего производят монтаж и закрепление обшивки из гипсокартонных листов с другой стороны перегородки в соответствии с указаниями 6.3.14 и 6.3.15.
6.3.17 На внешних углах перегородки для их защиты от механических повреждений устанавливают перфорированные металлические угловые профили, вдавливая их в предварительно нанесенный слой шпаклевки (рисунок 42, в).
В целях повышения производительности труда рекомендуется использовать механическую фиксацию уголков без предварительного нанесения шпаклевки с помощью специального приспособления.
6.3.18 Обработка швов между гипсокартонными листами должна производиться при стабильной температуре и влажности воздуха в помещении, соответствующих режиму эксплуатации. При этом температура воздуха в помещении должна быть не ниже 10 °С.
6.3.19 На стык, образованный утоненными кромками типа УК гипсокартонных листов, шпателем наносят слой шпаклевки, выравнивают уложенную массу, снимая излишки, после чего сразу укладывают армирующую ленту, плотно вдавливая ее в слой шпаклевки, и накрывают ее тонким слоем шпаклевки. После высыхания армированного слоя широким шпателем (200 - 300 мм) наносят накрывочный выравнивающий слой шпаклевки (рисунок 42, а). Заделку швов первого слоя в двухслойной обшивке допускается производить без армирующей ленты.
6.3.20 На стык, образованный утоненными кромками типа ПЛУК гипсокартонных листов, шпателем наносят сначала один слой шпаклевки, а после высыхания его накрывают выравнивающим слоем.
При формировании шва между листами с кромками ПЛУК без армирующей ленты следует использовать шпаклевку «Унифлот».
6.3.21 В обоих случаях шпаклевочная масса первого и второго слоя не должна оседать, выступая из шва.
6.3.22 Стыки, образованные обрезанными кромками с фаской, зашпаклевывают в соответствии с указаниями 6.3.19.
6.3.23 При необходимости выполнить выступающие швы менее заметными на них наносят шпаклевку широким слоем, выравнивая поверхность шва с поверхностью гипсокартонного листа.
Для повышения качества поверхности рекомендуется ее покрывать полностью тонким слоем шпаклевки «Финиш-паста» или «Борд-финиш».

1 - нанесение шпаклевки; 2 - укладка армирующей ленты; 3 - нанесение накрывочного выравнивающего слоя в шпаклевке; 4 - шлифовка шва
Рисунок 42 - Последовательность операций по заделке стыков продольных утоненных кромок (УК) (а), стыка торцевых (обрезанных) кромок (б) и заделки внешнего угла (в)
6.3.24 Внутренние углы следует шпаклевать с применением армирующей ленты, согнутой под заданный угол в соответствии с указаниями 6.3.19.
6.3.25 Устройство ограждений коммуникационных шахт, трубопроводов и т.п. выполняется аналогично конструкциям перегородок из гипсокартонных листов.
6.4.1 Работы по облицовке стен гипсокартонными листами должны выполняться с учетом указаний ВСН 36 по индустриальным методам отделки интерьеров.
Состав работ по устройству облицовки стен зависит от состояния их поверхности и может осуществляться путем крепления гипсокартонных листов и отделочных гипсокартонных панелей на клею или на шурупах к каркасу, а гипсокартонных комбинированных панелей (ГКП) - на клею.
6.4.2 При креплении облицовки на клею общая площадь, занимаемая клеем, должна составлять не менее 30 % площади гипсокартонного листа.
6.4.3 При креплении гипсокартонных листов и гипсокартонных комбинированных панелей на клею поверхность стен должна быть очищена от пыли и грязи и произведена разбивка стены на захватки с разметкой мест установки листов.
6.4.4 При ровной поверхности стен на гипсокартонные листы и панели клей (шпаклевку) «Фугенфюллер» наносят зубчатым шпателем сплошными продольными полосами и по периметру (рисунок 43, а).
6.4.5 При неровностях стены до 20 мм гипсокартонные листы устанавливают по маякам на клею «Перлфикс», который наносят лепками вдоль листов или панелей с интервалом 35 см и с минимальным интервалом по периметру. При этом опорные маяки следует располагать по поверхности стены вертикальными рядами с расстоянием между рядами 600 мм по 3 - 4 марки в ряду, из расчета 4 - 6 шт. на одну панель (рисунок 43, б).
6.4.6 При неровности стены более 20 мм на ее поверхность с помощью клея «Перлфикс» наклеивают полосы шириной 10 см из гипсокартонных листов, формирующие ровную плоскость. Полосы из гипсокартонных листов должны быть ориентированы по периметру листов облицовки (рисунок 43, в).
На листы облицовки клей (шпаклевка) «Фугенфюллер» наносится в соответствии с указаниями 6.4.4.
6.4.7 Установку гипсокартонных листов и панелей начинают от угла помещения, прижимая их по всей плоскости к стене и соблюдая вертикальность швов. Вертикальность и ровность поверхности облицовки контролируют с помощью отвеса и 2-метровой рейки.
6.4.8 Зазоры между облицовкой полом и потолком заделывают полосами эластичного материала с последующей герметизацией.

1 - облицовка; 2 - клей (шпаклевка) «Фугенфюллер»; 3 - ПН-профиль; 4 - ПС-профиль; 5 - клей «Перлфикс»; 6 - кронштейн; 7 - герметик; 8 - дюбель; 9 - стена; 10 - маяки; 11 - профиль Л-образного сечения
Рисунок 43 - Устройство облицовки при ровной поверхности стен (а), по маякам (б), по полосам из ГКЛ (в), по каркасу из ПН- и ПС-профилей (г) и по каркасу из профиля ПП-1 (д)
6.4.9 Устройство облицовки из гипсокартонных листов по каркасу из профилей ПН и ПС выполняется по аналогии с конструкциями перегородок. При использовании облицовочных панелей и профилей Л-образного сечения или деревянных брусков их закрепляют на дюбелях к стене с шагом, равным ширине панели, и устанавливают гипсокартонные листы, закрепляя к каркасу самонарезающими шурупами, которые должны проникать в металлический каркас на глубину не менее 10 мм, а в деревянный - не менее 20 мм (рисунок 43, г).
6.4.10 Заделка стыков между листами облицовки или панелей во всех случаях выполняется по аналогии с конструкциями перегородок из гипсокартонных листов с использованием шпаклевочных составов.
6.4.11 Устройство облицовки стен из отделочных гипсокартонных панелей выполняют по аналогии с облицовкой гипсокартонными листами на клею в соответствии с указаниями 6.4.4 - 6.4.6 или на каркасе (рисунок 18, б).
6.4.12 В процессе монтажа отделочных гипсокартонных панелей устанавливают в швах раскладки из ПВХ, алюминия и др.
6.5.1 В связи с тем, что конструктивное решение ограждений коммуникационных шахт базируется на устройстве каркаса с последующей обшивкой его гипсокартонными листами, способы их устройства включают те же операции, что и при монтаже облицовок:
разметку положения ограждения шахты на полу, стене, потолке;
установку и закрепление элементов каркаса к полу, стенам и потолку;
обшивку гипсокартонными листами каркаса и закрепление их шурупами;
заделку стыков между листами обшивки;
устройство ревизионного люка (при необходимости);
отделку поверхности обшивки.
6.6.1 До монтажа подвесных потолков в помещении должны быть закончены строительно-монтажные и специальные работы, указанные в 3.3 СНиП 3.04.01, в том числе и отделочные, кроме окраски или оклейки стен обоями, а также завершена прокладка инженерных коммуникаций. Работы по монтажу и отделке потолков следует выполнять с учетом указаний ВСН 28.
6.6.2 При устройстве подвесных потолков относительная влажность и температура воздуха в помещениях должны соответствовать эксплуатационным условиям. Влажность не должна превышать 70 %, а температура быть не ниже +10 °С при отсутствии агрессивной среды.
6.6.3 Перед монтажом элементов каркаса должна быть выполнена с помощью нивелира и отбойного шнура или специального лазерного устройства разметка уровня подвесного потолка, мест крепления основных профилей или брусков каркаса, а также мест крепления подвесов. Расстояние между профилями и брусками должно соответствовать проектному решению и не превышать указанных в таблице 15 и 5.5.10 настоящего Свода правил.
6.6.4 К базовому потолку с помощью шурупов (при деревянном перекрытии или покрытии) или анкерных элементов (при железобетонном перекрытии или покрытии) закрепляют подвесы, а затем к ним крепятся основные металлические профили или бруски каркаса.
6.6.5 После выравнивания по уровню с помощью регулируемых подвесов основных профилей или брусков в одной плоскости к ним должны быть закреплены несущие металлические профили или бруски.
6.6.6 На смонтированный каркас с помощью подпорок или телескопического подъемника устанавливают в проектное положение гипсокартонные листы, которые закрепляют к каркасу шурупами в соответствие с рекомендациями 6.3.14. Шаг шурупов принимают в соответствии с указаниями 5.5.15 настоящего Свода правил.
6.6.7 При двухслойной обшивке швы между гипсокартонными листами второго слоя смещают относительно первого.
Рекомендуется гипсокартонные листы обшивки располагать перпендикулярно к несущим профилям (поперечное размещение).
6.6.8 Для криволинейных поверхностей потолка произвольной формы с радиусом кривизны 100 - 400 мм рекомендуется использовать гипсокартонные листы с П-образными пазами, которые должны располагаться на тыльной стороне. При изготовлении такого элемента гипсокартонный лист фиксируют в форме с целью придания ему требуемой конфигурации, а затем пазы зачищают и шпаклюют шпаклевкой «Унифлот» за 2 раза и высушивают.
6.6.9 После установки и крепления такого элемента лицевая поверхность обрабатывается шпаклевкой «Борд-Финиш» или «Финиш-паста».
6.7.1 Устройство огнезащитной облицовки несущих конструкций следует осуществлять в период отделочных работ (в зимнее время при подключенном отоплении).
6.7.2 Предварительно все защищаемые металлоконструкции должны быть очищены от ржавчины, грязи, масел, жировых пятен и покрыты антикоррозийными составами в соответствии с требованиями СНиП 2.03.11.
6.7.3 Устройство огнезащитной облицовки целесообразно осуществлять заранее заготовленными укрупненными элементами, включающими металлические профили, к которым закреплены гипсокартонные листы обшивки на шурупах, полосы подшивки из гипсокартонных листов или зажимы.
Длину укрупненного элемента огнезащитной облицовки рекомендуется принимать равной длине гипсокартонного листа.
6.7.4 В процессе монтажа укрупненные элементы огнезащитной облицовки соединяют между собой на самонарезающих шурупах, или металлических скобах, а на углах устанавливают металлические ПУ профили, которые закрывают шпаклевкой по аналогии с устройством перегородок.
6.7.5 При огнезащите деревянных стоек и балок огнезащитную облицовку из гипсокартонных листов шурупами крепят непосредственно к деревянной конструкции или металлическими скобами, которые устанавливают с шагом 50 мм в местах стыкования листов облицовки.
6.8.1 До начала отделки поверхностей ограждающих конструкций из гипсокартонных листов должны быть закончены строительно-монтажные работы, в том числе отделочные, связанные с мокрыми процессами (штукатурные, устройство цементных стяжек и т.п.).
6.8.2 Температурно-влажностный режим в помещении при производстве отделочных работ должен соответствовать требованиям п. 3.1 СНиП 3.04.01.
6.8.3 После шпаклевания поверхность необходимо обработать с помощью затирки и удалить пыль.
6.8.4 В целях нормализации абсорбции влаги картоном и шпаклевкой поверхность обшивки должна быть обработана грунтовкой «Тифенгрунд» фирмы СП «ТИГИ КНАУФ» ОАО, которую наносят только кистью или специальной щеткой. Не допускается наносить ее валиком или краскопультом.
6.8.5 После промежуточной окраски, выявляющей различные оттенки поверхности из-за наличия на ней пятен и т.п., производится окончательная окраска поверхности обшивки красками, в качестве которых рекомендуется использовать масляные, водоэмульсионные, смоляные, полиуретановые, эпоксидные окрасочные составы с содержанием пластификаторов-полимеров и др. Не рекомендуется использовать для этих целей краски на кремниевой основе и побелки.
6.8.6 При повышенных требованиях к качеству отделки следует выполнить окончательную подготовку поверхности обшивки с помощью шпаклевки «Финиш-паста» или «Борд-Финиш». При этом под окраску должна быть обработана вся поверхность, на которую будет наноситься окрасочный состав.
6.8.7 Поверхность обшивки из ГКЛ при отделке обоями должна быть предварительно обработана грунтовкой, которая наносится щеткой или кистью. Оклейка обоями должна производиться по хорошо высохшему грунтовочному слою.
6.8.8 При облицовке обшивки из ГКЛ плиткой предъявляются повышенные требования к ровности поверхности и прочности обшивки. При обшивке ГКЛ толщиной 12,5 мм в один слой шаг стоек каркаса не должен превышать 400 мм.
Шпаклевание и окончательная отделка должны быть ограничены только областью швов, а вся облицовываемая плиткой поверхность обшивки из ГКЛ предварительно обрабатывается грунтовкой «Тифенгрунд», которую следует наносить только щеткой или кистью. Нанесение ее распылением или валиком не допускается. Особое внимание должно быть уделено тщательности огрунтования обрезанных краев ГКЛ и мест пропуска труб, отверстия под которые должны быть выполнены с припуском в 10 мм и загерметизированы силиконовыми составами. В качестве последних рекомендуется применять герметик «Бау-Силикон», а во влажных местах «Санитэр-Силикон» фирмы СП «ТИГИ КНАУФ» ОАО, клей-герметик кремнийорганический «Эластосил» 137-81 (ТУ 6-02-1-362).
6.8.9 Поверхности обшивки из гипсокартонных листов, которые подвержены непосредственному воздействию воды (в душе, ванне, у раковины), должны быть покрыты гидроизоляционным составом «Флэхендихт» фирмы СП «ТИГИ КНАУФ» ОАО, который наносится кистью или валиком. Предварительно в углах дополнительно приклеивается уплотнительная лента «Флэхендихтбанд» фирмы СП «ТИГИ КНАУФ» ОАО.
6.8.10 Облицовку обшивки из гипсокартонных листов плиткой рекомендуется производить с помощью клея для облицовочной плитки и природного камня (ТУ 5745-012-04001508), который наносят зубчатым шпателем горизонтальными рядами.
6.8.11 Заделку швов между плитками рекомендуется выполнять заполнителем швов «Фугенбунд» или «Фугенбрайт» фирмы СП «ТИГИ КНАУФ» ОАО, а внутренние углы между стенами и полом, стеной и ванной или умывальником должны быть заделаны герметизирующим составом «Санитэр-Силикон».
6.9.1 При повреждении гипсокартонных листов в процессе эксплуатации ограждающих конструкций в результате механических воздействий, протечек и т.п. их следует отремонтировать без разборки конструкций, предварительно установив и устранив причину возникновения повреждений.
6.9.2 При попадании воды в полости между обшивками гипсокартонных листов необходимо произвести слив стоячей воды, для чего в обшивке подвесного потолка или внизу перегородки сначала проделывают шилом контрольные отверстия, а затем при необходимости слива воды прорезают отверстие.
6.9.3 При ремонте следует использовать тот же тип гипсокартонного листа, что и восстанавливаемый.
6.9.4 При ремонте повреждений лицевого слоя ГКЛ устанавливают дополнительные крепежные элементы (шурупы) около поврежденного участка, удаляют крепеж на поврежденном участке, после чего универсальным ножом обрезают и удаляют все неплотно прилегающие и поврежденные части картона и гипса, а затем шпателем наносят тонкий слой шпаклевки, который зачищают шкуркой через 24 ч или протирают влажной губкой (рисунок 44).

Рисунок 44 - Последовательность операций по ремонту поврежденного лицевого слоя ГКЛ
При необходимости может быть нанесен второй слой шпаклевки.
6.9.5 При заделке малых отверстий (рисунок 45, 3) в гипсокартонных листах сначала вырезают из картона трафарет размером, несколько большим заделываемого отверстия, прикладывают его к отверстию и обводят карандашом (рисунок 45, 1).
6.9.6 С помощью универсального ножа вырезают в гипсокартонном листе отверстие по обведенному контуру (рисунок 45, 2), после чего из куска ГКЛ вырезают заплату, размер которой на 5 см превышает размер трафарета. Приложив трафарет к обратной стороне заплаты, обводят его карандашом. На обратной стороне заплаты выполняют надрез по обведенному контуру и, обломав край заплаты по обведенному контуру, оставляют по ее краю полосу лицевого картона шириной 5 см (рисунок 45, 3).
6.9.7 Шпателем наносят тонкий слой шпаклевки вокруг отверстия на поверхность ГКЛ, внутрь отверстия и по краям заплаты, после чего ее вставляют в отверстие, погружая лоскут лицевого картона в шпаклевку по краям отверстия (рисунок 45, 4).
6.9.8 Если заплата расположена вровень с поверхностью восстанавливаемого ГКЛ, разравнивают шпаклевку и через 24 ч выполняют зачистку шкуркой или протирку влажной губкой для удаления пятен шпаклевки (рисунок 45, 5).
При необходимости в той же последовательности могут быть нанесены второй и третий слои шпаклевки (рисунок 45, 6).




Рисунок 45 - Последовательность операций по заделке малых пробоин в ГКЛ
6.9.9 При заделке больших отверстий (рисунок 46) аналогично предыдущему изготавливают трафарет и наносят его контур на ГКЛ (рисунок 46, 1), а затем прорезают отверстие (рисунок 46, 2).
6.9.10 Из фанеры вырезают несколько полосок шириной 2,5 - 7,5 см и длиной, примерно на 15 см превышающей размер отверстия, которые накладывают на отверстие и прикрепляют их к обратной стороне ГКЛ с помощью нескольких шурупов (рисунок 46, 3), а затем в отверстие вставляют заплату из куска ГКЛ и закрепляют ее к фанерным полоскам с помощью шурупов.
6.9.11 После проверки ровности установленной заплаты с поверхностью восстанавливаемого ГКЛ шпателем наносят тонкий слой шпаклевки (рисунок 46, 4), а по стыку заплаты укладывают армирующую ленту, вдавливая ее в слой шпаклевки (рисунок 46, 5), и наносят тонкий накрывочный слой шпаклевки (рисунок 46, 6), который после 24 ч обрабатывают способом, изложенным в 6.9.4.





Рисунок 46 - Последовательность операций по заделке больших пробоин в ГКЛ
6.9.12 Для устранения пузырей (рисунок 47) на стыках ГКЛ их надрезают в ленте (рисунок 47, 1) с помощью универсального ножа, а мелкие пузыри ликвидируют, отрезая и удаляя образующую их ленту, после чего наполняют пузырь шпаклевкой, погружают участки ленты, образующие пузырь, в шпаклевку с помощью шпателя и разравнивают (рисунок 47, 2). Через 24 ч заделанную поверхность обрабатывают способом, изложенным в 6.9.4.

Рисунок 47 - Последовательность операций по устранению пузырей на стыках ГКЛ
6.9.13 При замене крепежа (рисунок 48), надавливая на гипсокартонный лист, вворачивают один винт на расстоянии 50 мм от выпадающего винта, который вытаскивают и удаляют отслоившуюся шпаклевку (рисунок 48, 1), а затем наносят шпаклевку (рисунок 48, 2) и выполняют операции в соответствии с 6.9.4.

Рисунок 48 - Последовательность операций по замене крепежа ГКЛ
6.9.14 Заделка трещин выполняется на внутренних углах, на ленте, наложенной на стык, и на угловой защитной накладке.
6.9.15 При заделке трещин на внутренних углах (рисунок 49, а) наносят шпателем тонкий слой шпаклевки по обе стороны угла (рисунок 49, а1), после чего, перегнув ленту вдоль ее продольной оси симметрии, накладывают ее симметрично на угол и слегка вдавливают в шпаклевку (рисунок 49, а2), а затем с помощью шпателя для внутренних углов вдавливают ленту в шпаклевку, начиная от середины трещины к ее концам (рисунок 49, а3). После разравнивания шпаклевки (рисунок 49, а4) и твердения операции выполняют в соответствии с указаниями 6.9.4.
6.9.16 При заделке трещин на ленте, наложенной на стык (рисунок 49, б), удаляют некоторое количество старой шпаклевки с поврежденного участка, наносят шпателем тонкий слой шпаклевки вокруг поврежденного участка и вдавливают им ленту (рисунок 49, б1) для заделки стыков в шпаклевку, а после разравнивания (рисунок 49, б2) и твердения операции выполняют в соответствии с указаниями 6.9.4.



Рисунок 49 - Последовательность операций по заделке трещин на внутренних углах (а), на ленте, наложенной на стык (б), на угловой защитной накладке (в) и по заделке выступов на стыках ГКЛ (г)
6.9.17 При заделке трещин на угловой защитной накладке (рисунок 49, в) очищают от шпаклевки отверстия в ней, предварительно укрепив ее винтами с шагом 150 мм, а затем шпателем наносят тонкий слой шпаклевки на трещину (рисунок 49, в1), разравнивают ее (рисунок 49, в2) и после твердения выполняют операции в соответствии с указаниями 6.9.4.
6.9.18 Заделку выступов на стыках гипсокартонных листов (рисунок 49, г) выполняют путем зачистки их (без повреждения ГКЛ и ленты) под уровень с поверхностью ГКЛ (рисунок 49, г1) с последующим нанесением тонкого слоя шпаклевки и разравниванием ее (рисунок 49, г2), а после твердения - с выполнением операций в соответствии с указаниями 6.9.4.
6.10.1 Устройство конструкций с применением гипсокартонных листов следует выполнять с соблюдением требований СНиП III-4-80* «Техника безопасности в строительстве».
6.10.2 К устройству ограждающих конструкций с применением гипсокартонных листов допускаются лица не моложе 18 лет, прошедшие инструктаж на рабочем месте по технике безопасности, производственной санитарии, обученные приемам работ и имеющие удостоверение на право производства работ.
6.10.3 Рабочие должны быть обеспечены спецодеждой со средствами индивидуальной защиты.
6.10.4 Работы по устройству конструкций из гипсокартонных листов должны выполняться специализированными бригадами, обладающими опытом по монтажу, при наличии специального инструмента, обеспечивающего механизацию процесса сборки конструкций и их высокое качество.
6.10.5 Используемое при производстве работ оборудование, оснастка и приспособления для монтажа конструкций должны отвечать условиям безопасности выполнения работ.
6.10.6 Зона, где производится монтаж перегородок, должна быть обозначена хорошо видимыми предупредительными надписями «Вход запрещен, идет монтаж».
6.10.7 При работе с монтажно-поршневым пистолетом обязательно выполнение требований «Инструкции по технике безопасности для оператора, работающего с монтажно-поршневым пистолетом ПЦ-52-1 на строительных объектах Главмосстроя».
6.10.8 При монтаже сборных гипсокартонных перегородок следует применять инвентарные сборно-разборные передвижные подмости.
6.10.9 Не допускается забивать дюбель-гвозди в хрупкие материалы, дающие большое количество осколков (чугун, керамика и другие), в легко пробиваемые строительные материалы, в материалы, вызывающие разрушение дюбель-гвоздя (гранит, базальт).
6.10.10 К работе с электроинструментом допускаются рабочие, имеющие первую квалификационную группу по технике безопасности при эксплуатации электроустановок.
6.10.11 Электроинструмент должен удовлетворять следующим требованиям:
- быстро включаться и отключаться от электросети (но не самопроизвольно);
- быть безопасным в работе, все токоведущие части должны быть хорошо изолированы.
Перед выдачей рабочему электроинструмента необходимо проверить исправность заземляющего провода и отсутствие замыкания на корпус.
6.10.12 Перед началом работы с электроинструментом рабочий должен:
- получить инструктаж о безопасных способах производства работ с электроинструментом;
- проверить исправность средств индивидуальной защиты;
- осмотреть и проверить электроинструмент на холостом ходу.
6.10.13 При монтаже ограждающих конструкций из гипсокартонных листов запрещается:
- работать электроинструментом с приставных лестниц;
- передавать электроинструмент другим лицам;
- разбирать и производить самим ремонт электроинструмента;
- держаться при работе за питающий электропровод;
- оставлять без надзора электроинструмент, присоединенный к электросети.
6.10.14 При высоте рабочего настила 1,3 м и более необходимо устраивать защитные ограждения. Высота защитных ограждений должна быть не менее 1,2 м.
6.10.15 При использовании электросварочных аппаратов и электрифицированного инструмента для обеспечения защиты людей от опасного и вредного действия электрического тока необходимо выполнять требования нормативно-технической документации, изложенные в СНиП III-4-80*.
6.10.16 Токоведущие части электроустановок должны быть изолированы, ограждены или размещены в местах, недоступных для прикосновения к ним.
6.10.17 Места производства электросварочных работ должны быть освобождены от сгораемых материалов в радиусе не менее 5 м, а от взрывоопасных материалов - 10 м.
Металлические части электросварочного оборудования, не находящиеся под напряжением, а также свариваемые элементы и конструкции на все время сварки должны быть заземлены.
7.1 При повышении влажности воздуха в помещении, вызванном изменением технологического режима, необходимо предусматривать дополнительные меры по защите ограждающих конструкций из гипсокартонных листов от увлажнения.
7.2 Не допускается производить окраску или другую отделку горючими материалами ограждающих конструкций из гипсокартонных листов на путях эвакуации.
7.3 В процессе эксплуатации необходимо исключить возможность повреждения ограждающих конструкций из гипсокартонных листов от механических и ударных воздействий.
7.4 Не допускается производить мокрую очистку поверхностей ограждающих конструкций из обычных, не облицованных плиткой гипсокартонных листов.
7.5 При необходимости крепления навесного оборудования к конструкциям из гипсокартонных листов должны строго соблюдаться указания, изложенные в данном Своде правил.
7.6 При замене светильников и необходимости подвешивания к потолку другого навесного оборудования должна быть проверена возможность использования имеющихся на потолке элементов крепления.
(обязательное)
СНиП 2.01.07-85* «Нагрузки и воздействия»
СНиП 2.03.11-85 «Защита строительных конструкций от коррозии»
СНиП 2.04.05-91* «Отопление, вентиляция и кондиционирование»
СНиП 2.08.01-89* «Жилые здания»
СНиП 2.08.02-89* «Общественные здания и сооружения»
СНиП 2.09.02-85* «Производственные здания»
СНиП 2.09.04-87* «Административные и бытовые здания»
СНиП II-3-79* «Строительная теплотехника»
СНиП II-12-77 «Защита от шума»
СНиП 21-01-97* «Пожарная безопасность зданий и сооружений»
СНиП 3.04.01-87 «Изоляционные и отделочные покрытия»
СНиП III-4-80* «Техника безопасности в строительстве»
ГОСТ 12.1.004-91* ССБТ. «Пожарная безопасность. Общие требования»
ГОСТ 12.1.044-89. ССБТ. «Пожаровзрывоопасность веществ и материалов. Номенклатура показателей и методы их определения»
ГОСТ 6266-97 «Листы гипсокартонные. Технические условия»
ГОСТ 9573-96 «Плиты из минеральной ваты на синтетическом связующем теплоизоляционные. Технические условия»
ГОСТ 10499-95 «Изделия теплоизоляционные из стеклянного штапельного волокна. Технические условия»
ГОСТ 15588-86 «Плиты пенополистирольные. Технические условия»
ГОСТ 30244-94 «Материалы строительные. Методы испытаний на горючесть»
ГОСТ 30247.0-94 «Конструкции строительные. Методы испытаний на огнестойкость. Общие требования»
ГОСТ 30247.1-94 «Конструкции строительные. Методы испытаний на огнестойкость. Несущие и ограждающие конструкции»
ГОСТ 30402-96 «Материалы строительные. Методы испытаний на воспламеняемость»
ГОСТ 30403-96 «Конструкции строительные. Метод определения пожарной опасности»
ТУ 6-02-1-362-84 «Клей-герметик кремний-органический «Эластосил»
ТУ 36-941 -79 «Дюбель разжимной»
ТУ 38.106569-88 «Пластина из пенорезины»
ТУ 400-1-231-90 «Панели отделочные гипсокартонные (ПОГ)»
ТУ 5767-019-04001508-99 «Плита ППГЗ»
ТУ 400-28-369-80 «Анкер проходной»
ТУ 400-28-370-80 «Анкер падающий»
ТУ 400-28-371-80 «Крючок»
ТУ 1111-004-04001508-95 «Профили оцинкованные металлические»
ТУ 5745-011-04001508-97 «Шпаклевка «Фугенфюллер». Клей «Перлфикс»
ТУ 5762-010-04001485-96 «Плиты минераловатные на синтетическом связующем»
ТУ 5772-002-04001508-94 «Гипсовая комбинированная панель»
ВСН 27-95 «Инструкция по технологии монтажа и отделке сборных гипсокартонных перегородок на металлическом каркасе поэлементной сборки»
ВСН 28-95 «Инструкция по технологии монтажа и отделке потолков индустриальными методами»
ВСН 36-95 «Инструкция по индустриальным методам отделки интерьеров. Облицовка стен»
НПБ 231-96 «Потолки подвесные. Метод испытания на огнестойкость»
НПБ 236-97 «Огнезащитные составы для стальных конструкций. Общие требования. Метод определения огнезащитной эффективности»
НПБ 239-97 «Воздуховоды. Методы испытаний на огнестойкость»
НПБ 244-97 «Материалы строительные. Декоротивно-отделочные и облицовочные материалы. Материалы для покрытия полов. Кровельные, гидроизоляционные и теплоизоляционные материалы. Показатели пожарной опасности»
Ключевые слова: перегородки, облицовка стен, подвесные потолки, каркасно-обшивные перегородки, ограждающие конструкции, гипсокартонные листы