Нормативные документы размещены исключительно с целью ознакомления учащихся ВУЗов, техникумов и училищ.
Объявления:

ГОСТ 6629-88

МЕЖГОСУДАРСТВЕННЫЙ СТАНДАРТ

Двери деревянные внутренние
для жилых и общественных зданий

Типы и конструкция

ИПК ИЗДАТЕЛЬСТВО СТАНДАРТОВ

Москва

МЕЖГОСУДАРСТВЕННЫЙ СТАНДАРТ

Двери деревянные внутренние
для жилых и общественных зданий

Типы и конструкция

Wooden inner doors for dwelling and public buildings.
Types and structure

ГОСТ
6629-88

Дата введения 01.01.89

Настоящий стандарт распространяется на деревянные внутренние двери для жилых и общественных зданий, а также для административных и вспомогательных зданий и помещений предприятий различных отраслей народного хозяйства.

Стандарт не распространяется на двери специального назначения (в т.ч. противопожарные и звукоизоляционные) и двери из древесины ценных пород.

1. ТИПЫ

1.1. Двери в зависимости от конструкции подразделяют на следующие типы:

Г - с глухими полотнами;

О - с остекленными полотнами;

К - с остекленными качающимися полотнами;

У - со сплошным заполнителем полотен, усиленные для входов в квартиры.

1.2. Двери типов Г и О изготовляют с одно- и двупольными полотнами, с мелкопустотным (решетчатым) заполнением полотен, с порогом и без порога, с наплавом и без наплава, с обкладками и без обкладок, с коробками и без коробок.

Двери типа К изготовляют с двупольными полотнами, с мелкопустотным заполнением полотен, без порога, без наплава, с обкладками и без обкладок, с коробками.

Двери типа У изготовляют с однопольными глухими полотнами, с порогом, без наплава, без обкладок, с усиленными коробками или без коробок.

1.3. Двери, изготовляемые по настоящему стандарту, относят к дверям нормальной влагостойкости.

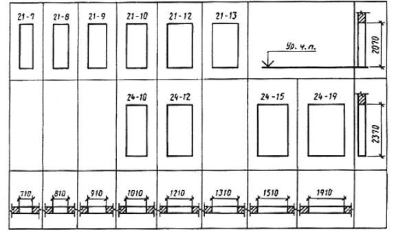
1.4. Габаритные размеры дверей должны соответствовать указанным на черт. 1. Размеры на чертежах стандарта даны для неокрашенных изделий и деталей в миллиметрах. Размеры проемов для дверей приведены в приложении 1.

По требованию потребителя допускается изготовление дверей типов О и К размерами 24-12, 24-15, 24-19, а также дверей типа Г размерами 24-15, 24-19 высотой 2071 мм.

Допускается изготовление двупольных дверей типов Г и О с неравными по ширине полотнами.

1.5. Устанавливается следующая структура условного обозначения (марки) дверей:

Пример условного обозначения двери остекленной однопольной для проема высотой 21 и шириной 10 дм, правой, с порогом:

ДО 21-10П ГОСТ 6629-88

То же, глухой двупольной для проема высотой 24 и шириной 15 дм, левой, с порогом:

ДГ 24-15ЛП ГОСТ 6629-88

То же, с качающимися полотнами для проема высотой 24 и шириной 19 дм:

ДК 24-19 ГОСТ 6629-88

То же, усиленной, со сплошным заполнением полотна, для проема высотой 21 и шириной 9 дм, правой:

ДУ 21-9 ГОСТ 6629-88

То же, полотно бескоробочной двери типа Г, однопольной для проема высотой 20 и шириной 7 дм, левой, с наплавом:

ПГ 20-7ЛН ГОСТ 6629-88

2. КОНСТРУКЦИЯ

2.1. Двери должны изготовляться в соответствии с требованиями ГОСТ 475, настоящего стандарта и по рабочим чертежам, утвержденным в установленном порядке.

2.2. Конструкция, форма и типоразмеры дверей должны соответствовать указанным на черт. 2, а размеры сечений - на черт. 3.

2.3. Полотна дверей типа У должны изготовляться со сплошным заполнением щита калиброванными по толщине деревянными рейками или ДСП, а также с применением калиброванных по ширине полос ДСП, уложенных на ребро.

Примеры заполнения щитов дверных полотен приведены в приложении 2.

2.4. Вертикальные бруски рамки полотна двери типа У должны иметь ширину не менее 90 мм. Допускается прорезать бруски по длине с обеих сторон. Глубина прорезей 5 - 6 мм, ширина 3 - 4 мм.

Допускается применение брусков шириной 45 - 60 мм, склеенных по боковой поверхности.

Горизонтальные бруски рамки должны иметь ширину не менее 45 мм и соединяться в углах с вертикальными на клею в шип или на шкантах, скобах, скрепах.

2.5. Двери облицовывают материалами в соответствии с ГОСТ 475 в части, относящейся к дверям нормальной влагостойкости.

2.6. Двери, применяемые для комплектации санитарно-технических кабин, допускается изготовлять с полотном толщиной 30 мм и высотой не менее 1800 мм, с шириной бруска коробки не менее 50 мм.

2.7. Двери типов О и К допускается изготовлять рамочной конструкции с шириной брусков рамки не менее 100 мм.

2.8. На нижней части полотен дверей типа У общественных зданий по требованию потребителя крепят с обеих сторон накладки из декоративного бумажнослоистого пластика толщиной 1,3 - 2,5 мм по ГОСТ 9590, сверхтвердых ДВП толщиной 3,2 - 4 мм по ГОСТ 4598, листового алюминия или окрашенной тонколистовой стали. Ширина накладок 220 мм.

2.9. Коробку без порога расшивают внизу монтажной доской с креплением гвоздями или шиповыми соединениями к торцам вертикальных брусков.

2.10. В дверях типов О и К общественных зданий устанавливают с двух сторон защитные ограждения, примеры которых приведены в приложении 3.

2.11. Двери типа У и бескоробочные двери типов Г и О должны быть укомплектованы уплотняющими прокладками по ГОСТ 10174 или др., обеспечивающими необходимую герметичность притворов.

2.12. Расположение приборов приведено в приложении 4. Двери должны поставляться с выбранными гнездами под корпуса замков (защелок) и отверстиями под ручки.

Полотна для бескоробочных дверей должны поставляться с установленными верхними полупетлями, нижние полупетли должны упаковываться и поставляться в комплекте.

2.13. Варианты установки бескоробочных дверей приведены в приложении 5.

Варианты коробок с облицовкой из поливинилхлорида для дверей типов Г, О без порога приведены в приложении 6.

Схемы определения левых и правых дверей приведены в приложении 7.

Спецификация стекол для дверей приведена в приложении 8.

2.14. В заказе на поставку дверей должно быть указано:

число дверей по маркам и обозначение настоящего стандарта;

вид и цвет отделки;

вид и толщина стекла;

спецификация приборов.

По требованию потребителя допускается поставка дверных полотен без коробок и коробок без полотен.

Габаритные размеры дверей

Черт. 1

Примечания:

1. Схемы дверей изображены со стороны открывания полотна.

2. Цифры над схемами дверей означают размеры проемов в дециметрах.

3. Размеры в скобках даны для дверей с качающимися полотнами.

Конструкция, форма и типоразмеры дверей

Черт. 2 (лист 1)

Черт. 2 (лист 2)

Примечание. Сечения деталей см. черт. 3.

Черт. 2 (лист 3)

Примечания:

1. Сечения деталей см. черт. 3.

2. Допускается изготовление дверей типа У с габаритными размерами дверей типа Г.

1 - монтажная доска; 2 - узорчатое стекло по ГОСТ 5533 или армированное стекло по ГОСТ 7481, или оконное стекло по ГОСТ 111 толщиной 4 - 5 мм

Черт. 3 (лист 1)

Примечания:

1. Сечения глухих дверей аналогичны остекленным, за исключением деталей остекления.

2. Допускается применение пластмассовых раскладок для крепления стекол.

3. Допускается применение монтажных досок иной конструкции.

1 - бруски каркаса щита; 2 - обкладка

Черт. 3 (лист 2)

Примечание. Ширина двупольной двери со средним притвором без притворной планки на 12 мм меньше указанной на черт. 1 и 2.

1 - петля ПН9-130 по ГОСТ 5088; 2 - оконное стекло по ГОСТ 111 толщиной 4 - 5 мм

Черт. 3 (лист 3)

1 - уплотняющая прокладка по ГОСТ 10174; 2 - облицовка ДВП марки СТ или Т группы А толщиной 3,2 - 5 мм по ГОСТ 4598 или клееная фанера марки ФК толщиной 4 - 6 мм по ГОСТ 3916.1 и ГОСТ 3916.2

Черт. 3 (лист 4)

Примечание. Допускается изготовление дверей типа У с шириной брусков коробки 74 мм для внутриквартирных дверей и дверей помещений общественных зданий.

ПРИЛОЖЕНИЕ 1
Справочное

РАЗМЕРЫ ДВЕРНЫХ ПРОЕМОВ В СТЕНАХ

Черт. 4

Примечание. Размеры проемов для бескоробочных дверей устанавливают с учетом приложения 5.

ПРИЛОЖЕНИЕ 2
Рекомендуемое

ПРИМЕРЫ ЗАПОЛНЕНИЯ ЩИТОВ ДВЕРНЫХ ПОЛОТЕН

1. Щит со сплошным заполнением деревянными брусками (рейками) или полосами ДСП

2. Щит с мелкопустотным заполнением деревянными брусками (рейками) или полосами ДСП

3. Щит с мелкопустотным заполнением из шпона

4. Щит с мелкопустотным заполнением из фанеры или твердой ДВП

1 - шип, скоба или скрепка; 2 - бруски для установки замка или ручек; h - ширина просвета, не более 40 мм; l - длина просвета, не более 400 мм; b - сдвиг реек относительно друг друга, не менее 50 мм

Черт. 5 (лист 1)

5. Щит с мелкопустотным заполнением из мягкой ДВП

6. Щит с мелкопустотным заполнением из твердой ДВП (вариант)

7. Щит с мелкопустотным заполнением из бумажных сот (рейками)

8. Щит с мелкопустотным заполнением деревянными брусками

Черт. 5 (лист 2)

Примечания:

1. Пример 1- для двери типа У, примеры 2 - 7 - для дверей типа Г.

2. Для полотна высотой 2300 мм длина брусков для установки замка и ручек - 700 мм. Установка брусков - см. пример 3.

3. При облицовке щитов дверей типа Г плитами ДВП толщиной 3,2 мм ширина просвета между элементами мелкопустотного заполнения не должна превышать 30 мм, а длина - 200 мм.

4. Заполнение глухой части остекленных полотен может выполняться по аналогии с примерами 3 - 7.

ПРИЛОЖЕНИЕ 3
Рекомендуемое

Примеры установки защитных ограждений

1 - деревянные планки

Черт. 6

Примечание. Допускается применение пластмассовых, металлических и деревянных ограждений иной конструкции.

ПРИЛОЖЕНИЕ 4
Рекомендуемое

РАСПОЛОЖЕНИЕ ПРИБОРОВ В ДВЕРЯХ

1 - петли ПН1-110, ПН1-85, ПН2-110, ПН2-85, ПН3-110, ПН4; 2 - ручки РС100, РС140, РК1, РК2, замки и защелки; 3 - задвижки ЗТ; 4 - петли ПВ1-100, ПВ2-125 или винтовые и накладные петли, изготовляемые по специальным ТУ; 5 - замки ЗВ7А, ЗВ4; 6 - петли ПН1-130, ПН1-150, ПН2-130, ПН3-130, ПН3-150.

Черт. 7

Примечания:

1. Приборы для дверей должны соответствовать ГОСТ 5087, ГОСТ 5088, ГОСТ 5089, ГОСТ 5090.

2. Типы приборов для дверей общественных зданий должны назначаться в проектах зданий.

3. В качающихся дверях устанавливают петли ПН9-130 по ГОСТ 5088.

ПРИЛОЖЕНИЕ 5
Справочное

БЕСКОРОБОЧНАЯ НАВЕСКА ПОЛОТНА

1 - деревянная пробка; 2 - стальная пластина; 3 - анкер; 4 - врезная петля; 5 - винтовая карта петли с гайкой; 6 - уплотняющая прокладка

Черт. 8 (лист 1)

1 - деревянная пробка; 2 - стальная пластина; 3 - анкер; 4 - накладная петля; 5 - уплотняющая прокладка; 6 - деревянный порог

Черт. 8 (лист 2)

ПРИЛОЖЕНИЕ 6
Справочное

КОРОБКИ С ОБЛИЦОВКОЙ ИЗ ПОЛИВИНИЛХЛОРИДА

Черт. 9

Примечание. Вертикальные элементы коробки соединяют с горизонтальными с помощью шипов и стальных нагелей или шурупов.

ПРИЛОЖЕНИЕ 7
Справочное

СХЕМЫ ОПРЕДЕЛЕНИЯ ЛЕВЫХ И ПРАВЫХ ДВЕРЕЙ

Черт. 10

ПРИЛОЖЕНИЕ 8
Справочное

СПЕЦИФИКАЦИЯ СТЕКОЛ ДЛЯ ДВЕРЕЙ

Марка двери

Размер, мм

Кол.

Высота

Ширина

ДО21-8

1300

475

1

ДО21-9

575

ДО21-10

675

ДО21-13,

375

2

ДК21-13

ДО24-10

1600

675

1

ДО24-12

875

ДО24-15,

475

2

ДК24-15

ДО24-19,

675

ДК24-19

ИНФОРМАЦИОННЫЕ ДАННЫЕ

1. РАЗРАБОТАН И ВНЕСЕН Государственным комитетом по гражданскому строительству и архитектуре при Госстрое СССР

РАЗРАБОТЧИКИ

Ю.А. Арго, канд. техн. наук (руководитель темы); И.В. Строков; Г.Г. Коваленко; З.А. Буркова; И.И. Киселева; Н.П. Сафонов, канд. техн. наук; В.Т. Соколова; Т.С. Сластенко, канд. техн. наук; И.Ф. Савченко; О.Л. Быковский; Н.Д. Попков; Н.И. Жуков; Л.В. Воронкова; Г.В. Левушкин; В.С. Ручкин; Н.Б. Жуковская; Н.В. Шведов

2. УТВЕРЖДЕН И ВВЕДЕН В ДЕЙСТВИЕ постановлением Государственного строительного комитета СССР от 31.12.87 № 325

3. ВЗАМЕН ГОСТ 6629-74

4. ССЫЛОЧНЫЕ НОРМАТИВНО-ТЕХНИЧЕСКИЕ ДОКУМЕНТЫ

Обозначение НТД, на который дана ссылка

Номер пункта, приложения

ГОСТ 111-90

2.2

ГОСТ 475-78

2.1, 2.5

ГОСТ 3916.1-96, ГОСТ 3916.2-96

2.2

ГОСТ 4598-86

2.2, 2.8

ГОСТ 5087-80

Приложение 4

ГОСТ 5088-94

2.2, приложение 4

ГОСТ 5089-97

Приложение 4

ГОСТ 5090-86

Приложение 4

ГОСТ 5533-86

2.2

ГОСТ 7481-78

2.2

ГОСТ 9590-76

2.8

ГОСТ 10174-90

2.2, 2.11

ГОСТ 19111-77

Приложение 6

5. ПЕРЕИЗДАНИЕ Март 1999 г.

СПИСОК СОКРАЩЕНИЙ

в т.ч. - в том числе

ДВП - древесноволокнистая плита

др. - другой

ДСП - древесностружечная плита

кол. - количество

номин. - номинальный

НТД - нормативно-техническая документация

откл. - отклонение

ОТК - отдел технического контроля

пред. - предельный

пр. - прочие

ТУ - технические условия

Ур. ч. п. - уровень чистого пола

ЦСП - цементностружечная плита

СОДЕРЖАНИЕ

1. Типы.. 1

2. Конструкция. 2

Приложение 1 Размеры дверных проемов в стенах. 11

Приложение 2 Примеры заполнения щитов дверных полотен. 12

Приложение 3 Примеры установки защитных ограждений. 13

Приложение 4 Расположение приборов в дверях. 13

Приложение 5 Бескоробочная навеска полотна. 14

Приложение 6 Коробки с облицовкой из поливинилхлорида. 16

Приложение 7 Схемы определения левых и правых дверей. 16

Приложение 8 Спецификация стекол для дверей. 17

 

2008-2013. ГОСТы, СНиПы, СанПиНы - Нормативные документы - стандарты.